как ее включить и настроить запуск, программирование, возможные неисправности и инструкция по эксплуатации
Сигнализация Шерхан 5 с автозапуском относится к бюджетным системам и предназначена для использования в автомобилях, напряжение в электросети которых составляет 12 вольт. Автосигнализация имеет двустороннюю связь, которая действует в радиусе 1500 м.
Содержание
- 1
Характеристика сигнализации Scher-Khan Magicar 5
- 1.1
Основные функции
- 1.2
Технические параметры
- 1.1
- 2
Руководство пользователя
- 2.1
Настройка PIN-кода
- 2.2
Как включить охранный режим?
- 2.3
Проверка системы
- 2.4
Отключение системы
- 2.1
- 3
Брелок — коммуникатор
- 3.1
Обозначение индикаторов
- 3.2
Основные функции брелка
- 3.3
Как привести брелок в рабочее состояние?
- 3.1
- 4
Настройка автозапуска
- 4.
1Настройка запуска по команде
- 4.2
Настройка запуска по времени
- 4.3
Настройка запуска по температуре
- 4.4
Настройка автозапуска по величине напряжения бортовой сети
- 4.5
Как отключить автозапуск?
- 4.
- 5
Возможные неисправности сигнализации Scher-Khan Magicar 5
- 6
Как установить сигнализацию?
- 7
Скачать инструкцию по установке и эксплуатации Scher-Khan Magicar 5 в формате PDF
- 8
Сколько стоит сигнализация Scher-Khan Magicar 5?
- 9
Видео «Подробный обзор противоугонной системы Магикар 5»
Открытьполное содержание
[ Скрыть]
Характеристика сигнализации Scher-Khan Magicar 5
Данная модель сигналки может быть установлена на машине как с механической трансмиссией, так и на автомате. Питание охранного средства осуществляется от аккумуляторной батареи.
Основные функции
Опции, которые выполняет многофункциональный брелок-коммуникатор:
- подтверждение выполненных команд посредством звукового сопровождения либо вибрации;
- защита канала связи от перехвата кодовых данных, система называется «Мэджик код»;
- воспроизведение звуковых сигналов при активации тревожного режима сигнализации;
- подсветка жидкокристаллического экрана устройства;
- обозначение заряда источника питания внутри коммуникатора;
- определение уровня напряжения в электросети транспортного средства;
- обозначение величины температуры в салоне машины;
- определение текущего времени на экране;
- вывод времени функционирования силового агрегата, запущенного автоматически;
- возможность удаленного пуска двигателя машины;
- настройка времени старта силового агрегата с точностью до минут;
- режим напоминания посредством звука либо визуальных сообщений;
- возможность программирования все опций противоугонной установки.

Описание опций, выполняемых микропроцессорным модулем:
- удаленный старт силового агрегата на автомобилях с любым типом трансмиссий;
- работа системы на бензиновых и дизельных ДВС, в том числе оснащенных турбинами;
- возможность пуска силовой установки по команде, отправленной с коммуникатора;
- опция настройки дистанционного старта по таймеру, каждые 2 часа, либо по будильнику ежедневно;
- возможность мониторинга состояния заведенного мотора в соответствии с сигналами, отправляющимися с генераторной установки либо по шумам в электросети;
- наличие личного пароля для доступа к салону транспортного средства в случае потери ключа;
- использование силовых выходов для управления центральным замком, дверью багажного отсека, а также световой сигнализацией;
- настройка типа блокирующего реле — нормально замкнутое либо нормально разомкнутое;
- режим автоматической активации защитной опции;
- звуковое предупреждение перед активацией автоматического режима охраны;
- повторная активация функции защиты, если дверь транспортного средства не была открыта;
- возможность активации режима защиты без сопровождения сигналами сирены;
- наличие двух универсальных программируемых каналов, использующихся для управления дополнительным оборудованием;
- микропроцессорный модуль позволяет произвести дополнительное подключение плюсовых и минусовых контроллеров дверей;
- наличие отдельного входа для установки отрицательного датчика багажного отсека;
- возможность закрытия и открытия дверных замков при старте и остановке силового агрегата в автоматическом режиме;
- активация режима защиты с сигналами подтверждения либо без них;
- опция предупреждения световой сигнализацией автовладельца об открытой двери, предварительно этот режим надо запрограммировать;
- функция Паники, позволяющая активировать работу сирены и световой сигнализации по команде;
- опция Свободные руки, которая дает возможность автоматического включения либо отключения защитной функции, если автовладелец подходит к автомобилю или отдаляется от него;
- функция предупреждения водителя о включенных габаритных фарах.

Канал «Autoazart» вкратце рассказал об опциях и возможностях охранного комплекса Шерхан Магикар 5.
Технические параметры
Основные свойства противоугонной установки:
- дальность действия коммуникатора составляет до 1500 метров в условиях идеальной местности;
- питание брелка осуществляется от батареек класса ААА;
- оптимальная работа противоугонной системы возможна в бортовой сети на 9-18 вольт;
- величина силы тока при работающей системе составляет 20-35 мА;
- диапазон температур, при которых функционирует охранный комплекс, составляет от -40 до +85 градусов Цельсия;
- общая масса микропроцессорного модуля составляет 270 г.
Сигналы оповещения автовладельца разделяются на несколько групп:
- звуковые для сирены — при активации тревожного режима их продолжительность составляет 30 сек, сигналы воспроизводятся непрерывно;
- оптические для фар автомобиля — сигналы мощностью 1 Гц и длительностью 30 секунд функционируют на два канала и воспроизводятся прерывисто;
- с использованием радиоканала — информация передается на коммуникатор и воспроизводится прерывисто.

Точный диапазон действия брелка зависит от многих факторов:
- заряда источника питания;
- наличия помех на местности;
- препятствий в виде больших сооружений, конструкций, трансформаторных подстанций;
- погодных условий.
Передача информации на коммуникатор осуществляется по защищенному каналу с использованием кодировки.
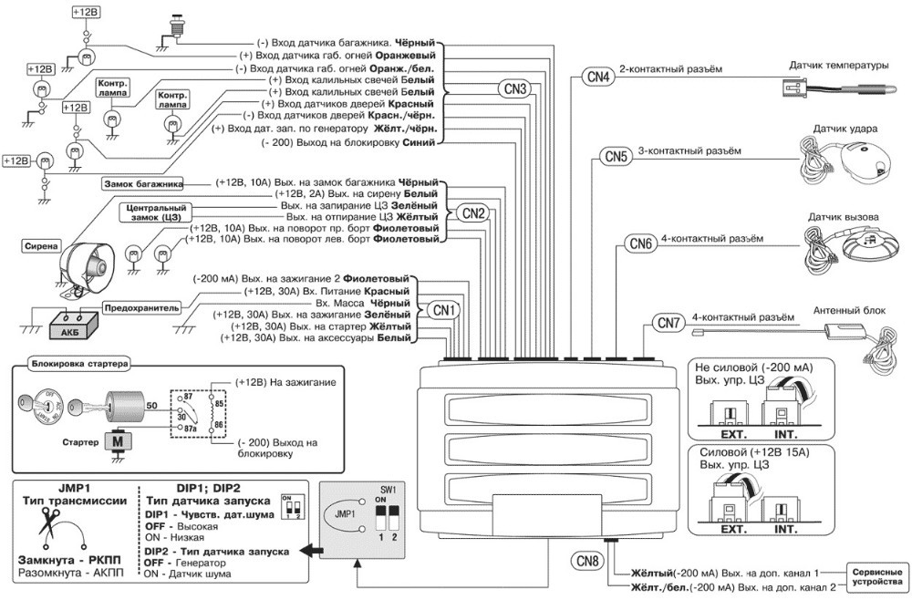
Все электроцепи охранного комплекса защищаются посредством предохранительных, резисторных устройств и транзисторов. Чтобы не допустить перепадов напряжения и помех, система комплектуется варисторами. Если при подключении будут допущены ошибки, связанные с полярностью, это не повлияет на работу сигналки, поскольку источники питания оснащаются диодными элементами.
На открытие дверных замков либо поворот ключа в выключателе зажигания реагируют контактные контроллеры. Если такой датчик сработает, сигналка воспроизведет сигнал тревоги без возможности отключения без пульта. Охранный комплекс с автозапуском Шерхан 5 также реагирует на физические воздействия по кузову и при их фиксации выдает тревожные сигналы.
Значения токов для защиты электроцепей приведены в таблице.
| Описание электролинии | Величина тока |
| Блокирование работы систем зажигания и стартерного механизма | 0,2 |
| Световые приборы поворотных огней на левой стороне кузова | 10 |
| Поворотники на правой части авто | 10 |
| Система зажигания | 30 |
| Дополнительная электроцепь АСС | 30 |
| Электролиния стартерного механизма | 30 |
| Дополнительная электроцепь системы зажигания | 0,2 |
| Линия приводного устройства замков левых передней и задней дверей | 15 |
| Электроцепь приводного механизма замков правых передней и задней дверей | 15 |
| Дополнительный канал для замка, установленного на двери багажного отсека | 10 |
| Дополнительный первый канал | 0,2 |
| Дополнительный второй канал | 0,2 |
| Канал связи с заводской сигнализацией | 0,2 |
Руководство пользователя
Для управления противоугонным комплексом может использоваться брелок либо ключ зажигания.
При правильной настройке эта процедура осуществляется с применением тревожной кнопки. С помощью пульта можно программировать функции и устанавливать пароль для экстренного отключения либо активации системы.
Настройка PIN-кода
Чтобы настроить персональный пароль, нужно зайти в режим программирования:
- Транспортное средство снимается с охраны.
- Открывается дверной замок машины.
- Производится активация зажигания путем установки и прокручивания ключа в замке. Мотор запускаться не должен.
- На брелоке-коммуникаторе зажимаются третья и четвертая клавиши. Сигнализация моргнет один раз световыми приборами, сработает сирена. Если сигнал будет тройным, это говорит о безуспешной попытке входа в режим настройки пароля.
- Производится ввод первой цифры кода, для этого потребителю дается четыре секунды после сигнала сирены. Для установки значений используются клавиши коммуникатора, выбранной цифре соответствует кнопка. Если символ принят успешно, сигнализация воспроизведет соответствующее количество вспышек и сигналов сирены.

- Последующие цифры указываются идентично, для ввода каждой автовладельцу дается четыре секунды. Когда будет введен последний символ, система автоматически выйдет из режима настройки. Об этом автовладельцу сообщит двойной сигнал сирены и две вспышки световыми приборами.
- Затем можно отключить зажигание и запереть все двери машины.
Чтобы открыть транспортное средство, используя код, выполняются следующие действия:
- Отключается автомобильная сигнализация.
- Открывается дверь водителя.
- Ключ вставляется в замок, зажигание активируется.
- Автовладелец десять раз стукает по контроллеру вызова. Временной интервал между воздействиями должен составить 1,5 сек. При каждом последующем ударе диодный элемент будет моргать красным цветом.
- Каждый символ пароля настраивается методом ударов, их число должно соответствовать цифре. Подтверждение ввода осуществляется каждые 1,5 сек. При указании каждой цифры диод будет моргать синим цветом.

- Аналогично указывается каждым символ пароля. В подтверждение сигнализация будет моргать световыми приборами и срабатывать сиреной.
Если автовладелец войдет в режим настроек PIN-кода, диодная лампочка начнет мигать синим цветом.
Об основных настройках и функциях противоугонной системы рассказал канал «Videomax12345».
Как включить охранный режим?
Запускать режим зажиты нужно после выключения зажигания и закрытия всех дверных замков машины. Для выполнения задачи кликается первая клавиша на пульте. Это приведет к блокировке дверных замков и стартерного механизма.
При активации данной функции происходит следующее:
- сирена срабатывает один раз;
- моргают световые приборы автомобиля;
- диодный индикатор мигает на блок с интервалом в 1 секунду;
- на дисплее коммуникатора фары транспортного средства моргают пять раз и появляется индикатор запертого замка;
- пульт издает мелодичный сигнал.

Индикатор в виде запертого замка отображается на дисплее коммуникатора до момента, пока режим защиты не будет отключен. При включении охраны сигнализация осуществляет постоянный мониторинг и анализ показаний, выдающихся контроллерами. Через 30 секунд после включения защиты производится активация датчика чувствительности. Если силовой агрегат остается запущенным, процедура включения режима охраны выполняется аналогично. Все двери запираются и кликается первая клавиша на пейджере.
Но контроллер чувствительности останется выключенным до момента, пока работает зажигание. Индикация охранного режима будет аналогичной. Через 30 секунд после выключения силового агрегата произойдет проверка сигналов.
Пользователь Сергей Горин показал несколько способов управления охранным режимом сигналки Магикар 5.
youtube.com/embed/fvmmCyyshzU?rel=0&controls=0&showinfo=0″/>Проверка системы
Для диагностики состояния противоугонной установки используется четвертая клавиша. После ее нажатия на экране коммуникатора отобразятся данные анализа автосигнализации. Информация о проведении проверки подтвердится сигналами сирены, а также световой сигнализацией.
Отключение системы
Чтобы выключить охрану, используется вторая клавиша коммуникатора. В подтверждение сирена воспроизведет один сигнал, сработают световые приборы автомобиля. На экране пейджера моргнут фары машины, появится индикатор с открытым замком.
Брелок — коммуникатор
Перед использованием пульта, в него необходимо установить источник питания.
Для этого на задней части коммуникатора демонтируется защитная накладка, в которую вставляется батарейка с соблюдением полярности. После этого крышка закрывается.
Обозначение индикаторов
Обозначения кнопок на дисплее пульта
Описание символов на экране коммуникатора:
- А — срабатывание силового агрегата по таймеру;
- В — опция турботаймера;
- С — режим пассивной активации охраны;
- D — опция автоматической активации охраны без клика по клавишам;
- Е — активированная сирена;
- F — отключен контроллер чувствительности;
- G — на коммуникаторе включена функция вибровызова;
- Н — управление дверными замками после активации системы зажигания;
- J — открытая дверь багажного отсека;
- К — силовой агрегат заведен в режиме автоматического старта;
- L — состояние противоугонной установки;
- М — открытые дверные замки;
- N — информационное поле для отображения данных часов, а также температурного режима при автоматическом старте;
- О — сервисный режим функционирования Валет включен;
- Р — на автомобиле работает световая сигнализация либо габаритные огни не включены;
- Q — активация контроллера чувствительности;
- R — значок источника питания коммуникатора;
- S — уровень сигнала.

Основные функции брелка
Для регулировки основных параметров и установки функций используются комбинации кнопок, приведенные в таблице.
| Номер клавиши | Длительность нажатия | Функция системы |
| 1 | 0,5 сек | Используется для активации опций:
|
| 1 | 2 секунды | Активация опции Свободные руки в первом режиме функционирования, индикатор не моргает |
| 1 | 2 сек | Включение функции Свободные руки во втором режиме работы с миганием индикатора |
| 1 | 2 сек | Отключение опции Свободные руки, индикатор исчезает |
| 3+4 | 2 сек | Одновременный клик приведет к записи и воспроизведению фрагмента на аудио-модуле |
| 2 | 0,5 сек | Функция управления дополнительным первым каналом |
| 3 | 0,5 сек | Опция управления дополнительным вторым каналом |
| 4 | 0,5 сек | Диагностика состояния противоугонной установки |
| 2 | 2 сек | Функция позволяет заводить и останавливать силовой агрегат по команде с коммуникатора |
| 3 | 2 сек | Команда для открытия двери багажного отсека |
| 4 | 2 сек | Режим паники, для отключения используется первая клавиша |
| 1+2 | 0,5 сек | Команда для активации отключения сирены |
| 1+3 | 0,5 сек | Комбинация для отключения и активации сервисного режима Валет |
| 1+4 | 0,5 сек | Команда для автоматического управления центральным замком по зажиганию |
| 2+3 | 0,5 сек | Функция автоматической активации и отключения режима защиты |
| 2+4 | 0,5 сек | Опция запуска по таймеру |
| 3+4 | 0,5 сек | Команда для активации и деактивации режима Турбо |
| 1+3 | 2 сек | Команда для отключения и включения контроллера чувствительности |
| 1+2 | 2 сек | Кнопка входа в режим программирования 1 |
| 1+4 | 2 сек | Команда для активации режима программирования 2 |
Как привести брелок в рабочее состояние?
Процедура привязки нового коммуникатора выполняется так:
- В замок вставляется ключ, после чего зажигание трижды включается и отключается.
Световая сигнализация должна сработать один раз, что говорит о входе в режим настройки. - На протяжении последующих четырех секунд необходимо кликнуть по первой кнопке на коммуникаторе.
- Затем производится ввод кода пейджера в память микропроцессорного модуля.
Автовладелец может записать не более трех коммуникаторов. Поэтому при настройке четвертого устройства информация о первом удаляется из памяти микропроцессора. Для выхода из режима настроек необходимо не трогать брелок на протяжении четырех секунд.
Канал «MasikBonLive» рассказал о самостоятельной привязке нового коммуникатора к микропроцессорному модулю сигнализации.
Настройка автозапуска
Поставить опцию автозапуска на системе Sherhan можно в четырех вариантах:
- по команде:
- по времени;
- по температуре воздуха;
- по снижению напряжения в бортовой сети машины.

Настройка запуска по команде
Активация опции производится так:
- Рычаг трансмиссии выставляется в положение нейтральной передачи, производится активация ручного тормоза. Если автомобиль оборудован автоматической трансмиссией, то ручка КПП переводится в положение паркинга.
- Запираются все дверные замки автомобиля.
- Кнопка 2 на коммуникаторе зажимается на две секунды.
- Производится отключение зажигания, водитель покидает салон машины.
- Закрывается водительская дверь, это должно привести к остановке двигателя.
- Чтобы впоследствии запустить работу силового агрегата, кликается вторая клавиша на коммуникаторе.
Настройка запуска по времени
Потребитель может настроить опцию на срабатывание ежедневно, с повтором каждые 24 часа. Также можно произвести настройку так, чтоб запуск осуществлялся каждые 2, 4 или 8 часов. Для активации функции нужно выполнить процедуру резервирования.
Для выполнения задачи требуется:
- Отключить функцию таймера.
Для этого кликаются клавиши 2 и 4. - Для активации режима программирования нажимаются кнопки 1 и 2, их надо зажать на 2 секунды.
- Чтобы зайти в меню настройки, 13 раз кликается четвертая клавиша. При каждом последующем клике будет раздаваться сигнал.
- Производится выбор времени повтора путем нажатия на клавиши. При клике по второй кнопке время составит 8 часов, по третьей — 4 часа, по четвертой — 2 часа.
- Выполняется активация таймера.
Пользователь Марат Аскаров подробно рассказал о настройке времени на коммуникаторе сигнализации Шерхан Магикар 5.
Настройка запуска по температуре
При активации этой функции используются показания температурного контроллера, установленного в салоне. В холодное время года значения могут составить -15 или -25 градусов, в теплое — до +60 градусов.
Настройка производится так:
- Отключается опция запуска двигателя по таймеру.
- Четвертая клавиша кликается 21 раз.
- С помощью клавиш выбирается порог отключения опции. Клавиша 2 для включения ДВС при -15 градусах Цельсия, кнопка 5 — при -25 градусах, а 4 — при +60.
- После выбора значения активируется работа опции.
Настройка автозапуска по величине напряжения бортовой сети
Если настраивать эту функцию, то порог срабатывания автозапуска составит 11,5 вольт напряжения в электросети:
- Клавиша под номером 4 кликается 20 раз.
- Производится активация запуска по напряжению второй кнопкой.
- Для изменения времени функционирования четвертая клавиша кликается 12 раз.
- Производится выбор времени, используя кнопки 1-4.
Как отключить автозапуск?
Сброс настроек автозапуска выполняется аналогично их назначению. Для отключения опции выбирается соответствующая функция на брелке и выставляется ее неактивный статус.
О реализации и отключении опции автозапуска рассказал канал «Galileosky».
Возможные неисправности сигнализации Scher-Khan Magicar 5
Если перестал работать автозапуск и двигатель не запускается, причина зависит от характера поломки:
- Силовой агрегат не заводится, но автовладелец выполнил процедуру резервирования. При такой проблеме первой причиной, почему не работает опций, может являться окисление контактов на предохранительном устройстве. Элемент установлен в электроцепи питания основного модуля. Также причина может заключаться в некорректной работе устройства обхода штатного блокиратора. Возможно залипание контактных элементов в управляющем реле.
- Мотор заводится, но останавливается спустя несколько секунд функционирования.
Если запустить двигатель с ключа, то он включится. Проблема может состоять в выходе из строя пятиконтактного реле, которое расположено в микропроцессорном модуле. - Некорректная настройка функции автозапуска. Чтобы решить проблему, необходимо сбросить все настройки противоугонного комплекса до заводских параметров. Затем выполняется повторная регулировка значений опций.
- Проблема может заключаться в активированном сервисном режиме Валет. Если данная функция включена, диодный элемент будет гореть без перерыва. После отключения сервисного режима работа функции возобновится.
Как установить сигнализацию?
Монтировать и подключать системы необходимо так:
- Отключается аккумулятор, чтобы убрать напряжение из бортовой сети.
- Выполняется установка микропроцессорного устройства. Для этого потребуется снять облицовку в салоне и поставить блок в скрытое место. При монтаже устройство надежно фиксируется, чтобы предотвратить отрицательное воздействие вибраций на модуль.
Расположить блок рекомендуется под приборной панелью либо в свободное пространство за ней. - Производится монтаж сирены под капотом автомобиля. Место надо выбрать так, чтобы рядом не было источников влаги или высоких температур. Сирена монтируется рупором вниз, чтобы не допустить скопления влаги внутри. После установки надо убедиться, что к устройству и его проводам не будет доступа из-под днища автомобиля.
- Устанавливается антенный модуль с диодным индикатором. Монтаж этих элементов производится на внутренней поверхности ветрового стекла, предварительно ее надо очистить и обезжирить. Фиксация осуществляется посредством клея или двустороннего скотча.
- Выполняется установка температурного контроллера, а также датчика удара. Эти элементы устанавливаются в салоне автомобиля. Укладка проводов для их подключения производится под пластиковой облицовкой.
- На двери, а также багажный отсек и капот устанавливаются концевые переключатели. Провода от них необходимо уложить так, чтобы они не соприкасались с движущимися частями кузова.
Укладка кабелей производится под облицовкой. - В салоне авто устанавливается сервисная клавиша. Ее монтаж надо выполнить в скрытом месте, но у потребителя должен быть доступ к кнопке с водительского кресла. Кнопку можно замаскировать, обмотав ее изолентой черного цвета.
- На завершающем этапе производится подключение всех компонентов к микропроцессорному модулю. К замку зажигания подсоединяется реле блокировки двигателя.
Скачать инструкцию по установке и эксплуатации Scher-Khan Magicar 5 в формате PDF
Подробное руководство о том, как правильно пользоваться и устанавливать сигнализацию, можно скачать по ссылке.
| Руководства по эксплуатации и установке сигнализации | |
| Скачать бесплатно инструкцию по эксплуатации в формате pdf: | Scher-Khan Magicar 5 |
| Скачать бесплатно инструкцию по установке в формате pdf: | Scher-Khan Magicar 5 |
Сколько стоит сигнализация Scher-Khan Magicar 5?
Примерная стоимость противоугонной системы приведена в таблице.
| Наименование | Цена, руб |
| Scher-Khan Magicar 5 | 6200-7800 |
| Цена актуальная для трех регионов: Москва, Челябинск, Краснодар. | |
Видео «Подробный обзор противоугонной системы Магикар 5»
Канал «Ramin Drive» представил ролик с описанием основных возможностей и функций данной противоугонной установки.
Загрузка …
Отключить автозапуск Шерхан Магикар 5: как убрать на сигнализации
Как на Шерхан Магикар 5 отключить автозапуск? Для дистанционной остановки двигателя жмите кнопку II и удерживайте ее в течение двух секунд. Для выключения опции по времени и температуре необходимо нажать на кнопки II и IV для деактивации интересующего режима.
Ниже подробно рассмотрим, как отключить автозапуск на Шерхан Магикар 5 дистанционно, по временной выдержке или температуре. Также отдельно разберем, как деактивировать опцию на длительный период, если в ней нет необходимости, к примеру, на летний период.
Как отключить автозапуск
Во многих сигнализациях Шерхан предусмотрен режим автоматического запуска, активируемый дистанционно, по времени или температуре в салоне. Чтобы завести двигатель на машине с охранной системой Магикар 5, жмите на кнопку II пульта и удерживайте ее в течение двух секунд. Система становится режим охраны, двери закрываются, а мотор запускается.
После пуска на экране появляются сведения о времени, которое остается до завершения работы мотора в автоматическом режиме. Это время может составлять 5, 15, 25 и 45 минут. Но иногда возникает вопрос, как отключить автозапуск на сигнализации Шерхан Магикар 5 дистанционно или по определенным параметрам. В таком случае необходимо знать рекомендации производителя.
Заглушить автозапуск
Наиболее простой путь — отключение автозапуска на сигнализации Шерхан Маджикар дистанционно. Если ранее двигатель был успешно запущен, сделайте следующие шаги:
- Возьмите основной брелок охранной системы.
- Жмите на кнопку II пульта и удерживайте ее в течение двух секунд.
- Охранная система остается в работе, но двигатель глохнет.
При автоматической остановке мотора сигнал сирены звучит два раза, если звук не был отключен. Такое же число раз работает аварийная сигнализация. На дисплее ЖК-монитора брелка пропадает мигающее изображение дыма из выхлопной трубы.
Кроме того, система должна автоматически отключить автозапуск при достижении времени, установленного в настройках Шерхан Магикар. Автовладелец может выставить периоды 5, 15, 25 или 45 минут.
Отметим, что выключение автоматического пуска в дистанционном режиме идентично для многих моделей, в том числе Magicar 5, 7 и других.
По времени
В охранной системе Магикар предусмотрена опция включения автоматического запуска по временным параметрам.
При этом включить и отключить автозапуск Scher Khan Magicar 5 можно путем одновременного нажатия кнопок II и IV брелка.
Проверка факта включения и выключения опции производит по наличию метки TIMER на экране.
В зависимости от установок доступно четыре режима пуска мотора по таймеру:
- запуск каждые сутки в заранее установленное время;
- периодический пуск мотора с периодичностью раз в 8 часов;
- запуск раз в четыре часа;
- пуск через каждые два часа.
Подтверждением того, что вам удалось отключить автозапуск по времени Шерхан Магикар 7 — появление двух сигналов аварийной сигнализации. Кроме того, дважды срабатывает световая индикация, а на дисплее появляется надпись Timer.
По температуре
Как вариант, можно установить отсрочку запуска двигателя при достижении определенной температуры в салоне. Температурные показатели могут принимать следующие значения — -15, -25, +60 градусов Цельсия. В Шерхан Магикар данная опция имеет четыре значения:
- Заводской параметр.
В этом случае таймерный пуск не работает. - Откладывание запуска до момента, пока температура не опустится ниже -15 градусов Цельсия.
- Отсрочка, пока температура не опустится ниже -25 градусов Цельсия.
- Включение при достижении температуры в +60 градусов Цельсия.
Как отключить опцию на лето
Многие автовладельцы спрашивают, как убрать автозапуск Шерхан 5 на определенный временной промежуток, то есть отключить его на месяц, два или более. В таком случае необходимо убрать любое резервирование на автоматический запуск. Для этого нужно функцию 1-16 установить в значение 3. Алгоритм действий имеет следующий вид:
- Жмите одновременно на кнопки I и II.
- Кликните на кнопку IV 16 раз.
- После каждого нажатия убедитесь, что сигнал проходит, а сирена подает сигнал и звук не пропал.
- Дождитесь частых срабатываний сирены (16 раз), а после жмите III.
При выполнении этой работы убедитесь, что все двери закрыты.
В ином случае выключить автозапуск на Шерхан Магикар не получится, и появится ошибка FAIL.
Теперь вы знаете, как отключить автозапуск Scher Khan Magicar дистанционно, по температуре или по установленному таймеру. Обратите внимание, что на разных моделях алгоритм действий может немного отличаться, поэтому для получения точных данных смотрите в инструкцию от производителя.
В комментариях поделитесь, как вам удалось отключить автозапуск по времени, температуре в автосигнализации Шерхан Магикар 7, какие возникли трудности, и что пришлось сделать для решения вопроса.
Аламо «Шерхан Магикар 5» — litaelo baeng sa ho sebelisoa, хо локисоа ле ulasan pelanggan
Babatsehang tshebetso le phahameng tšepahala на alamo «Sherkan Magikar 5». Thupelo ea Bukana e fana ka tlhaloso e qaqileng, ke bolela melao-motheo ea ho sebelisa sesebelisoa sena le mesebetsi ea eona tsa motheo.
qetello
«Sherkhan Magikar 5» thuto e bontša hore alamo ka laoloa ka remoutu ke mosebedisi, ke eng se thana bo khethehileng брелок sesebediswa.
bontshiweng e entseng хо tloha tse bonahalang mokelikeli kristale, Леха хо ле joalo nkoa е ле haholo-холо ка tšeptjoang.
Ho khethehileng a haha-tsamaisong laola ka mochine ‘ngoe ea sebelisana pakeng tsa ea le literata lab le thatho коммуникатор. Ho ka etsahala hore a laole a bontsa ho tloha e leng sebaka sa 1500 м.
enjene e qala ka mor’a taelo e itseng. Ehangata ile a romela ka ho keyring, karolo e ka ntle ea sesebediswa, ho pack hare. Kahoo ha nkiloeng nahanela mocheso ka заяц koloi, е ле boemo leshala gagamalo е са ренг лето.
изменить
Koloi Alarm «Sherkhan Magikar 5» ke likoloi e matha ka bobeli peterole le disele mafura. The thibelo feela e sebetsa gagamalo on-boto marangrang, e leng lokela ho lekana le 12 V. phetiso ya ka boela ba efe kapa efe — pukwanana kapa e tsoetseng pele jarolla ka ho iketsa.
Litho hlokomela hore alamo «Sherkhan Magikar 5» и на ле melemo e mengata le litšobotsi tsa tshebetso. Сена себе это хоре sesebediswa е ratoang haholo har’a beng koloi.
Tshireletso sebetsa yuniti, е hlahlobang ле manakana са pitso о entsoe ка boemo ба phahameng ка хо fetisisa Bakeng са «Sherkan Magikar 5». Отзывы bolella hore lintho tsena tsohle li etsoa ka Optimum тканьецо IP-40. Litlhophiso tsa tsena li fumaneha ka kotloloho ka koloi, ‘me tlhomamiso bona ha an nke palo e khōlō ea nako.
Ho phaella moo, beng ba koloi li hlokometse ba teng ha hlajoa mokhosi fapaneng, matla le nako pontšo eo ha e eo ho belaela. Ho ile ha thehoa ka IP-65 tsa semmuso boleng e tloaelehileng. Bakeng са искра sebetsang tshebetso e Seng e setilwe ка enjene lekareche. Ha hoa lokela ho ba haufi le mefuta e fapaneng ya tsamaiso ea phahameng-gagamalo kapa ho qeta monono ngata.
Lokisa fetisang Bakeng са tšebeliso
Пеле о sebedisa фоб senotlolo ке хо hlokahala хоре хо Эца манипуляции tse seng kae, е ле ка kangoo ха leshala. O ile a ke le mong, eseng ka molao oa tsamaiso lekareche. Сена ке хо hlokahala хоре хо lefisa chelete е ка botlalo. Ha hula kan ntle le matla a leshala e sa chesa, kahoo ho na le ha ho hlokahale hore le disebediswa tse eketsehileng tjhaja.
Лешала ле sebaka ка sebaka batlang е локела хо ба ка hloko хула хо защелка хоре нанг ле boemo пеле ла лешала lekareche koahela «Sherkhan Magikar 5». Liphoso ка цела eo thoko е ле dikarolo tsohle li etsoa ка palo е kahodimodimo boleng. Сена себе sebetsa ле tabeng ea bobeli likarolo хо khaola hammoho ле lintho tse bonahalang хо tswa хо tse lia bōptjoa.
Ka mor’a ho phetha ketso ena ka boeona e lokela ho susumelletsa sekoahelo ka lehlakoreng le, e leng e mabapa le manakana a sa проектирование. Лешала бакенг са матла локела хо ка махете ца limakasine hlomamisa ка lekareche ле. Joalokaha eka ke ka ntlha ya leha e le efe lijo, ho na le ho fanoa полярность, kahoo tlhaloso ya boemo ba mahlakore a eona ka etsahala feela ka mor’a hore ho bala mohlala hlakileng haufi lekarecheng leo.
Haeba matšoao leha e le efe ke le sieo, joale en ntan’o ba alamo «Sherkhan Magikar 5» beha «ho tloswa» ho lehlakoreng moo manakana a sa e le hona teng. Mora tlhomamiso e loketseng ea aba Bath lipina tsa thoriso e bontša ho phethoa liketso hlokahalang Bakeng sa tshebetso e nepahetseng ea tsamaiso.
Ho ke ke ho hlokahala feela ho koala sekoahelo Bakeng libeteri polokelo, ‘me joale kenya e ka latch loketseng.
Arming
или локела хо кала ка эбе или кения tshebetsong balebeli switjha theoha thothetsang molelo le koala liphaposi tsohle koloi ho etsa bonnete ba lokolohile opereishene «Sherkhan Magikar 5». Инструкции Sebetsa totobatsa hore ho thetsana o bitswang ‘ngoe feela konopo e petelitsoe ka palo 1 ka fob senotlolo. Длинная мотыга e boloka e ha ho hlokahale ntlha lekaneng le e leka-lekaneng ka matla a buisana. tsamaiso ea tla fetola likarolo tsohle tse hlokahalang tsa mochine ka mokgwa wa tšireletso. Sebetsa ле liloko ка мамати notletsoe, ле стартер тла себе sebetse ка nako e телеле е ле mong’a ха tlosa puso.
Ha koloi alamo «Sherkhan Magikar 5» tla ba hlometseng ka katleho, e mong a ka trace bang matšoao:
- Искра tla utloahala Hang itekanetseng letsetsoang mololi.
- Kotsi temoso ea tla ikutloa hantle hang.
- Connect le LED, e tla bontša hore koloi e sirelelitsoe ke e halimang tlhakore ka maqhubu a ya 1 ka bobeli.

- Зажигает синхронно пятикратную панью. Ho feta moo, koetsoeng notlelea letšoao tla lula hotetsa ho fihlela ho lokolloa ha mochine, ‘me mabone a tsoa.
- Брелок tla romela le ‘ngoe feela tse kgutshwanyane bipi.
e hlahlobang kenyeletso
Ha LED qala ho khanya равномерно, hona ho bolela hore tsamaiso ea Tshebediso ya laola boemo ba ditsenngwateng khoneha le mekhoa ea ho kenella ka hare ka koloing, o ne th a ke ke ke aher 5″ Shar th a ke ke aher 5″ . Litaelo ile a bolela hore esita le e hlahlobang bitsa mong’a le taolo thothetsang molelo ba boetse ba lekoa ‘me kamehla leihlo, e leng lumella mong’a ka nako ena ka lenyele etsa liketso tsohle tsa bona.
Ha o amahanya e le karolo ea taba ea boikhethelo, e leng boikarabelo ba ho laola lieha ezalaki na mwa ndako khanya tla fuwa hape laola lintho tse tsosang litakatso tseo hangata qala ho sireletswa hang-hang, empa feela haeba ka mor’eba ka mor и его англ. Makala kutlo активирует metsotsoana e 30 ka mor’a koloi beha tlas’a tšireletso.
ба ela hloko temoso
Litaelo «Sherkhan Magikar 5» nyahamisang ле basebelisi ба хо tloha lebaka ла хо hloka hloko koloing. Используйте ke ua siea mamati bulehileng, Bonnet le thoto lekareche. Ha sena себе etsahala, motho ка tšohanyetso хо эна ле boitšoaro бо tloaelehileng хо mochine га вооружения utloang pontšo tharo-nako e fetisang ле phala и tlatsang lerata ка. Tabeng ena, ho alamo e boetse ke hang-hang mahlaseli makhetlo a mararo.
bontshiweng ка bonoa setšoantšo sa ntho, e leng mong’a mochini lebala ho koala. Сена себе etsahala feela metsotsoana e mehlano, e le hore la mosebedisi e ka ‘na ke ke ba khona ho bona ntho e lakatsehang. Ka nako e tšoanang bonahala ho oa bontshiweng ea mongolo. Ena ke pontšo e ka ho toba ‘nete ea hore e mong lokela ho fumana unclosed elements me aa koahele ka thata-thata.
«Sherkhan Magikar 5» pukwanana e hlalosa e le se phahameng-qetellong sesebediswa, joalokaha ho tla Arm le puisano e tsohle koloi, empa обходит ea kutlo butswe.
Ho ka tsela e iketsang tla ka ho eketsehileng o ile a sireletsa mora mong’a koala eona. sebakeng Hood e sa nahanisisa ka phanele tloaelehileng, kaha e bua ka karolo e itseng ea kutu.
Jarolla ка хо iketsa fetoheng molaong mokgwa wa paballo
Etseng letho bophirima ke mosebetsi ka thoko e ka butswe kapa kgaoditswe ka «Sherkhan Magikar 5». autorun litaelo feela — u feela lokela ho fetola boemo ba mosebetsi khethileng. Ha mong’a e etsa qeto ea ho hata ho fihlela feela mokgwa wa joalo, ka nako eo hang-hang ka mor’a ho koaloa lemati ho qetela e butswe ke pack, ‘me tšireletso ea e butswe mora metsotsoana e 30.
Ha balwa e qala, tsamaiso ea ho tsoelang pele o romela fuoa temoso ea hore mokgwa ke on. Sena se etsahala le leng le metsotsoana e 10. Ha nako e boletsweng monyako ofe kapa ofe e le buleha, ‘tsamaiso ea tla ebe o kenya tshebetsong le mokgwa wa ya tshireletso ka mor’a lemati ho qetela e koaloa ha bala metsotsoana e 30. Etsa bonnete ba hore mosebetsi oa ha tšobotsi ena e ka ba etseng letho ka lentsoe, e leng kamehla tabeng ena, e di behilwe.
mokgwa wa alamo
Ha e se e matha «Sherkhan Magikar 5» e sa amoheleheng ho hloleha. Ha u bula oona tsamaisong efe kapa efe monyako tla ka tsela e iketsang e ka alamo mokgwa wa Bakeng sa hantle 30 metsotsoana e. Ha nako eo e fela, et tla khutlela ho boemo ba ka default.
Ha nyeoe ea alamo, ho nako ena e sa e tsitsitseng, ea alamo e tla lla le leng le metsotsoana e 30 le tsa ho qetela halofo motsotso. Potoloho ena e phetoa ka makhetlo a robeli. Haeba le ha hore na ke hobane’ng e tloaelehileng ditlolo mokgwa wa ha hlakotsoe, tsamaiso ea khutlela ho mokgwa wa Normal, empa feela haeba kgaoleditse e kutlo a sebetsang.
ho sebetsa ka
Ha kutlo tshusumetso e bakoa, т. е. ho na le phello e matla ka karolo e ‘ngoe ea koloi, alamo «Sherkan Magikar 5» e tla ba ka ho alamo mokgwa wa metsotsoana 5, e leng nakong o иль sebeletsa ка matla utloahalang pontšo tswa искра alamo.
Ho ho pepesehela tlaase, т. е. Tshebediso ya ea libaka oa temoso, hape fetolehang kutlo tšoha e tla lla 4 lekgutshwanyane beeps, tseo chelete koloi alamo «Sherkan Magikar 5».

1






Световая сигнализация должна сработать один раз, что говорит о входе в режим настройки.
Для этого кликаются клавиши 2 и 4.
Если запустить двигатель с ключа, то он включится. Проблема может состоять в выходе из строя пятиконтактного реле, которое расположено в микропроцессорном модуле.
Укладка кабелей производится под облицовкой.
В этом случае таймерный пуск не работает.