особенности конструкции, принцип действия, преимущества
Главная
Авто
ТНВД Моторпал: особенности конструкции, принцип действия, преимущества
kmsenaoКомментариев нет
Чешский производитель MOTORPAL специализируется на изготовлении топливной аппаратуры. Качественные ТНВД Моторпал созданы для использования в составе двигателей экскаваторов, комбайнов, генераторов.
Насосами этого производителя оснащаются дизельные установки локомотивов, судов, кранов. Топливная аппаратура чешского производства подходит для быстроходных моторов, устанавливающихся на магистральные тягачи, самосвалы, специальную технику.
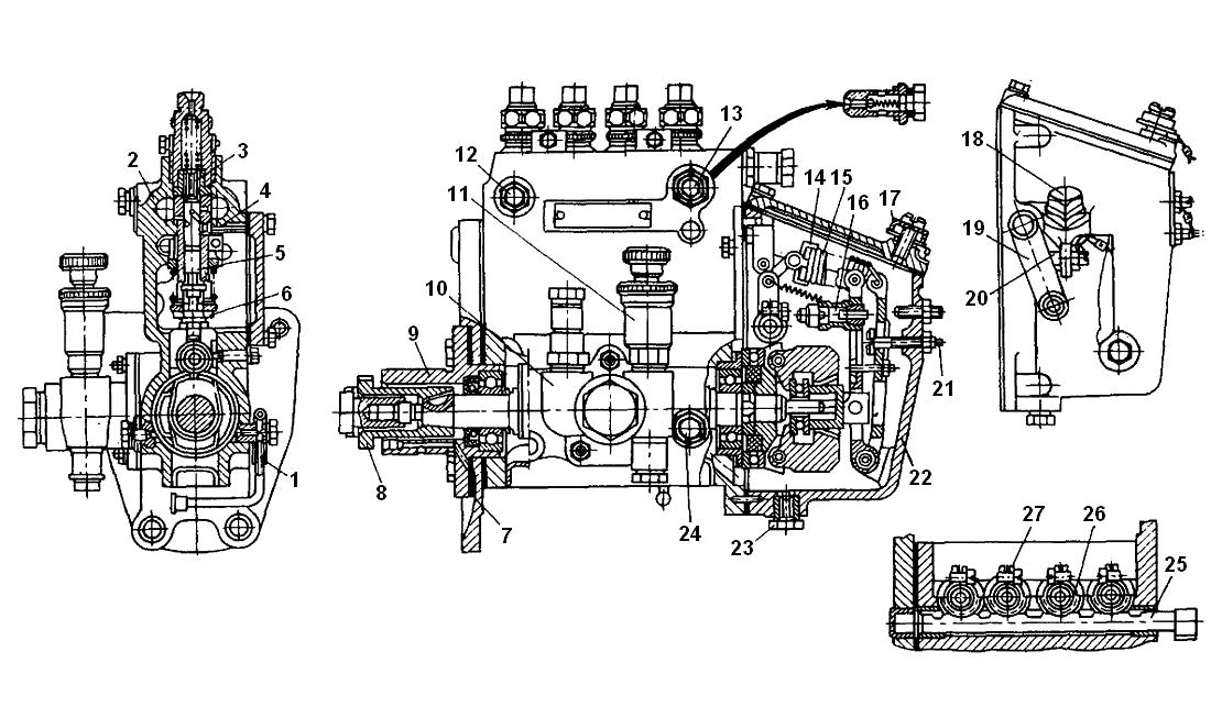
Особенности конструкции
Насос состоит из магистрали высокого давления, нагнетательного клапана, плунжерной пары, распределительного кулачкового вала, толкателя, управляющего стержня, впускного и выпускного клапана.
ТНВД оснащается электромагнитной системой дозирования топлива, фильтром тонкой очистки горючего, штуцерами обратного и впускного топливопровода. Насос MOTORPAL подает точно отмерянные порции солярки к форсункам, исходя из режима работы дизельного ДВС.
Принцип работы MOTORPAL
В зависимости от нагрузки, которую испытывает дизельный мотор, насос подкачивает к форсункам повышенное или пониженное количество солярки. Количество горючего регулируется поворотом плунжеров через регулятор.
Современные ТНВД оснащаются датчиками начала впрыска, температуры топлива и охлаждающей жидкости, частоты вращения коленвала. Электронное регулирование позволяет повысить эффективность насоса.
Плюсы ТНВД
Корпусы насосов отлиты из высокопрочного сплава, стойкого к высокой температуре. Насос герметичен, надежен в эксплуатации, долговечен. Можно выделить ключевые преимущества ТНВД Моторпал списком:
- обеспечение повышенной мощности двигателя;
- уменьшение выбросов благодаря эффективному сгоранию топливно-воздушной смеси;
- увеличение срока эксплуатации блока цилиндров;
- обеспечение плавной работы дизельного мотора;
- экономия горючего;
- длительный срок эксплуатации;
- возможность комплектации ускорителем пуска;
- стабильная работа дизельного агрегата в режиме холостого хода;
- простое техническое обслуживание и регулировка через 100 тысяч км пробега;
- безупречное качество комплектующих.

Топливные насосы высокого давления MOTORPAL поставляются заказчикам по доступной цене.
Рекомендуется регулярно промывать насос, проверять циклы подачи горючего секциями, тестировать функциональность регулятора и электромагнитного клапана для увеличения срока эксплуатации узла.
Далее на видео вы можете ознакомиться с инструкцией по установке ТНВД Моторпал.
Понравилась запись? Поделись с друзьями и поддержи сайт:
Регуляторы ТНВД дизелей тракторов МТЗ
Всережимный регулятор топливного насоса 773
Для обеспечения надежного пуска в регуляторе (рис. 1) предусмотрено пусковое устройство, которое обеспечивает увеличенную подачу топлива при пуске дизеля
Так как стартовая пружина 31 зацеплена за корпус регулятора (через планку), ее натяжение не зависит от положения рычага управления регулятора 29 (см.
рис. 2).
Если рычаг останова 22 (см. рис. 2) находится в исходном положении под действием возвратной пружины, то рычаги регулятора с рейкой под действием стартовой пружины устанавливаются в положение, соответствующее пусковой подаче топлива независимо от положения рычага управления регулятором.
После запуска дизеля центробежная сила грузов 7 (рис. 1), преодолевая натяжение стартовой пружины, перемещает муфту 8, рычаги регулятора 11, 12 вместе с тягой 30 и рейкой насоса в сторону уменьшения подачи и выключает пусковую подачу топлива.
Рейка насоса автоматически устанавливается снова в положении пусковой подачи только после остановки дизеля и перемещения рычага останова дизеля 22 (см. рис. 2) в исходное положение.
Всережимный регулятор (RV) насоса «Моторпал» (рис. 3)
Держатель грузов 1, с двумя качающимися грузами 2, опирается с помощью муфты 3, запрессованной в подшипник регулирующей втулки, на сухарь или ролик промежуточного рычага 5, который в нижней части шарнирно закреплен на оси 4, а в верхней — соединен с регулирующей рейкой 10 с помощью тяги 11.
Промежуточный рычаг опирается на корректор 6, встроенный в главный рычаг 7 и регулируемый в осевом направлении.
Главный рычаг в нижней части шарнирно закреплен на оси 4 совместно с промежуточным рычагом в корпусе регулятора.
В верхней части он соединен с эксцентриковым валом 14 через тягу 12 и нагрузочную пружину 13.
На эксцентриковом валу установлен наружный рычаг управления, который при повороте натягивает нагрузочную пружину регулятора.
Номинальная частота вращения регулятора (дизеля) задается настройкой упорного болта пальца рычага управления.
Максимальная подача у всережимного регулятора ограничивается регулируемым упором 9, ограничивающим ход главного рычага.
Главный рычаг снабжен корректором 6 и упором с пружиной 8, палец которого отжимает с помощью пружины промежуточный рычаг от главного рычага регулятора.
Эта пружина работает на холостом ходу и служит пружиной автоматического пуска. На холостом ходу работает как нагрузочная пружина, так и пружина в главном рычаге.
Для улучшения пуска, т.е. увеличения пусковой подачи топлива, предусмотрена дополнительная пружина растяжения (на рисунке не показана), которая частично работает и на холостом ходу.
Эта стартовая пружина закреплена одним концом в промежуточном рычаге, а вторым — в рычаге эксцентрикового вала регулятора.
При повороте рычага управления до касания в упорный болт пружина регулируемого упора отжимает промежуточный рычаг от главного и вместе со стартовой пружиной растяжения переводит промежуточный рычаг и регулирующую рейку в положение «Пуск».
Для исключения перегрузки рычажной системы регулятора и механизма регулирования топливного насоса в режиме максимальных оборотов холостого хода служит регулируемый упор 9 в корпусе регулятора, ограничивающий крайние положения промежуточного рычага.
Для обеспечения требуемых характеристик по дымности безнаддувных дизелей Д-242S/243S/244S предусмотрен механический отрицательный корректор топливоподачи, который в диапазоне низких рабочих оборотов обеспечивает снижение количества впрыскиваемого топлива в соответствии со снижающимися оборотами дизеля.
Следовательно, функция механического отрицательного корректора аналогична функции пневматического корректора (ПДК) для дизелей с турбонаддувом.
Всережимный центробежный регулятор насоса 4УТНМ или 4УТНИ (рис. 4)
Работа всережимного центробежного регулятора насоса 4УТНМ или 4УТНИ основана на действии центробежной силы, возникающей при вращении грузов 1.
Они расходятся или сходятся, воздействуя на зубчатую рейку 4 через упорный подшипник 11, рычаги 10, 6 и пружину 5.
При увеличении оборотов дизеля грузы 1 регулятора расходятся и заставляют рейку 4 сдвигаться вправо, т.е. в сторону уменьшения подачи топлива, регулируя скоростной режим.
Наоборот, при уменьшении оборотов под нагрузкой усилие, приложенное к пружине 5, превысит центробежную силу грузов 1, и рейка сдвинется влево — в сторону увеличения подачи топлива до тех пор, пока не наступит баланс сил, и обороты дизеля будут сохраняться на первоначальном уровне, устанавливаемом рычагом 12.
При пуске дизеля (рис. 4, а)рычаг управления регулятором 12 поворачивается до упора в винт 14. Натягиваются одновременно пружина регулятора 5 и пружина обогатителя 13.
Пружина регулятора прижимает основной рычаг 6 к головке болта номинала 8, а пружина обогатителя 13 сдвигает промежуточный рычаг 10 с тягой 15 и рейкой 4 в сторону увеличения (обогащения) подачи топлива.
После пуска дизеля (холостой ход) (рис. 4, б)грузы 1 регулятора под действием центробежных сил расходятся и через упорный подшипник 11 и муфту перемещают промежуточный рычаг 10, преодолевая сопротивление пружин 5, 13.
Промежуточный рычаг через тягу 15 передвигает рейку 4 до тех пор, пока не установится подача холостого хода дизеля.
При работе дизеля под нагрузкой (рис. 4, в)требуемый скоростной режим устанавливается рычагом управления 12.
При повороте рычага в сторону винта 14 растягивается пружина регулятора 5.
При этом рейка 4 перемещается в сторону увеличения подачи.
Частота вращения дизеля возрастает до тех пор, пока не уравновесятся центробежные силы грузов 1 и усилие пружины 5, т.е. установится заданный оператором скоростной режим, соответствующий нагрузке.
При кратковременной перегрузке дизеля (рис. 4, г)и неизменном положении рычага 12 частота вращения коленчатого вала снижается.
Это вызывает уменьшение центробежных сил грузов 1 и перемещение муфты 16 под действием пружины 5 в сторону насоса.
При этом рычаг 10 упирается в головку болта 8, а рычаг 6 под действием пружины корректора 17 перемещается в сторону увеличения подачи топлива, что обеспечивает увеличение крутящего момента дизеля для преодоления перегрузки.
Степень корректировки подачи зависит от выступания штока из корпуса корректора 17 и от затяжки пружины.
При остановке дизеля (рис. 4, д) рычаг 12 перемешается вперед по ходу трактора до отказа. При этом полностью сжатая пружина 5 перемещает рычаг 6 до упора в стенку регулятора.
Центробежная сила вращающихся грузов перемещает рычаг 10 и рейку 4 в крайнее положение, отключая подачу топлива.
При резком увеличении подачи топлива (дизели Д-245/245.5 с турбонаддувом) (рис. 5)
При резком повороте рычага 12 в сторону винта 14 (увеличение подачи) перемещение рычага 6 и рейки 4 сдерживается флажком 18 штока 19 пневмокорректора, соединенного с мембраной 20.
Полость «В» пневмокорректора соединена воздухопроводом с впускным коллектором дизеля после турбокомпрессора.
С увеличением частоты вращения дизеля растет давление в полости «В», что способствует ускорению перемещения рычага 6 и рейки 4.
Медленное увеличение подачи топлива приводит к снижению дымности дизеля.
Запчасти ТНВД Беларус МТЗ (.3 MOTORPAL)
Запчасти ТНВД Беларус МТЗ (.3 MOTORPAL)0
Ваша корзина на данный момент пуста.
Стоимость доставки
0,00 EUR
+ Наложенный платеж
0,00 EUR
Итого
0,00 EUR
Сортировать по: A -> ZСортировать по: Z -> AСортировать по: Цена от низкой к высокой Сортировать по: Цена от высокой к низкой
В наличии
31,32 евро / шт.
( 24,66 евро + НДС )
В наличии
2,25 евро / шт.
( 1,77 евро + НДС )
В наличии
1,03 евро
/ шт.
( 0,81 евро + НДС )
В наличии
1,77 евро / шт.
( 1,39 евро + НДС )
26,98 евро / шт.
( 21,24 евро + НДС )
В наличии
73,56 евро
/ шт.
( 57,92 евро + НДС )
В наличии
145,71 евро / шт.
( 114,73 евро + НДС )
В наличии
60,51 евро / шт.
( 47,65 евро + НДС )
В наличии
8,33 евро
/ шт.
( 6,56 евро + НДС )
В наличии
10,10 евро / шт.
( 7,95 евро + НДС )
В наличии
19,81 евро / шт.
( 15,59 евро + НДС )
В наличии
5,72 евро
/ шт.
( 4,51 евро + НДС )
В наличии13,31 евро / шт.
( 10,48 евро + НДС )
В наличии
19,16 евро / шт.
( 15,09 евро + НДС )
В наличии
8,94 евро
/ шт.
( 7,04 евро + НДС )
В наличии
3,83 евро / шт.
( 3,01 евро + НДС )
В наличии
36,14 евро / шт.
( 28,46 евро + НДС )
В наличии
21,22 евро
/ шт.
( 16,71 евро + НДС )
В наличии
0,39 евро / шт.
( 0,30 евро + НДС )
В наличии
82,60 евро / шт.
( 65,04 евро + НДС )
В наличии
0,45 евро
/ шт.
( 0,35 евро + НДС )
В наличии
0,32 евро / шт.
( 0,25 евро + НДС )
В наличии
0,77 евро / шт.
( 0,61 евро + НДС )
В наличии
0,64 евро
/ шт.
( 0,50 евро + НДС )
В наличии
5,34 евро / шт.
( 4,20 евро + НДС )
В наличии
5,85 евро / шт.
( 4,61 евро + НДС )
В наличии
153,24 евро
/ шт.
( 120,66 евро + НДС )
В наличии
0,19евро / шт.
( 0,15 евро + НДС )
В наличии
12,83 евро / шт.
( 10,10 евро + НДС )
В наличии
51,64 евро
/ шт.
( 40,66 евро + НДС )
В наличии
35,40 евро / шт.
( 27,87 евро + НДС )
В наличии
1,48 евро / шт.
( 1,16 евро + НДС )
В наличии
0,17 евро
/ шт.
( 0,13 евро + НДС )
33 товар
ПОДПИСАТЬСЯ здесь!
Узнайте о наших акциях и новинках.
Я хотел бы получать лучшие предложения от ООО «Келет-Агро» в рассылках. Я подтверждаю, что я старше 16 лет.
Вы успешно подписались на рассылку новостей!
Изменение успешно!
ТОПЛИВНЫЕ ТНВД В КОМПЛЕКТЕ | Marting
Топливный насос 1671 (316-961030)
Производитель: CZ-J (MOTORPAL)
Catalogue number: 9
1Delivery time: AVAILABLE
| 695,00 € (without VAT), 834,00 € (incl. VAT) |
Деталь кс
ТНВД 3195 (9
5, 13.009.095) Производитель: ЕС
Каталожный номер: 9
5Срок поставки: СЕЙЧАС НЕДОСТУПНО
| 760,21 € (без НДС), 912,25 € (включая НДС) |
Деталь шт
ТНВД PP3M10P3F 3426 (33.
009.906)
Производитель: CZ-J (MOTORPAL)
Каталожный номер: 9
6
Срок поставки: В НАЛИЧИИ
| 799,89 € (без НДС), 959,87 € (включая НДС) |
Деталь кс
ТНВД PP3M10P3f-3449 ECO (9
9, 33.009.905) Производитель: Чехия
Catalogue number: 9
9Delivery time: UNAVAILABLE NOW
| 700,00 € (without VAT), 840,00 € (incl. VAT) |
Деталь шт
ТНВД PP3M8K1E 3114 (50010882)
Производитель: CZ-J (MOTORPAL)
Catalogue number: 9
4
Delivery time: AVAILABLE
| 659,80 € (without VAT), 791,76 € (incl. VAT) |
Деталь кс
ТНВД PP3M9k3e-3075 (990-3075, 52030883)
Производитель: CZ-J (MOTORPAL)
Каталожный номер: 95
Срок поставки: В НАЛИЧИИ
| 715,49 € (без НДС), 858,59 € (с НДС) |
Деталь шт
ТНВД PP4M10P1F-3427 (13009596)
Производитель: CZ-J (MOTORPAL)
Номер каталога: 9
7
Время доставки: по требованию
711,12 € (без НДС), 853,34 € (ВКЛ. VAT) | 57589589589589589589588958958958958958895889589588958895889558958895889н588895889588958.|||||||||
| 1,199,61 € (без ВАТ), 1.439,53 € (ВВЕД. Деталь шт ТНВД PP4M85K1c-2468 (9 8) Производитель: Чехия Каталожный номер: 9 8Срок поставки: СЕЙЧАС НЕДОСТУПЕН
Деталь шт ТНВД PP4M9K1E 3137 (71010899) Производитель: CZ-J (MOTORPAL) Номер по каталогу: 9 7 Срок поставки: В НАЛИЧИИ
Деталь шт ТНВД ПП6М10К1ф-3165 УРИВ (9 5) Производитель: Чехия Номер каталога: 9 5Время доставки: Недоступно сейчас
Производитель: CZ-J (MOTORPAL) Каталожный номер: 9 |
Срок поставки: СЕЙЧАС НЕДОСТУПЕН
| 657,90 € (без НДС), 789,48 € (включая НДС) |
Деталь ks
Инжекторный комплект PP3M85K1E 3143/Топливный насос 5001-0883, 93
Производитель: CZ-J (MOTORPAL)
Catalogue number: 93
Delivery time: AVAILABLE
687,98 € (without VAT), 825,58 € (incl. VAT) |
Деталь шт
Набор для впрыска PP4A8K115g 2444 (6901-0861)
Производитель: CZ-J (MOTORPAL)
Catalogue number: 9
4Delivery time: AVAILABLE
| 699,89 € (without VAT), 839,87 € (incl. VAT) |
Деталь ks
Инжекторный комплект PP4M 2494/ Топливный насос (80.009.982)
Производитель: CZ-J (MOTORPAL)
Каталожный номер: 9
4
Срок поставки: В НАЛИЧИИ
| 712,85 € (без НДС), 855,42 € (с НДС) |
Деталь ks
Инжекторный комплект PP4M K1c 2478/ Топливный насос (80.009.907, 9
8)
Производитель: CZ-J (MOTORPAL)
Каталожный номер: 9
8
Срок поставки: В НАЛИЧИИ
| 657,90 € (без НДС), 789,48 € (включая НДС) |
Деталь кс
Инжекторный комплект PP4M10K1F 3150 (10.


VAT)
VAT)