Дроссельные устройства | Воздушные выключатели | Архивы
Страница 11 из 24
7-4. ДРОССЕЛЬНЫЕ УСТРОЙСТВА
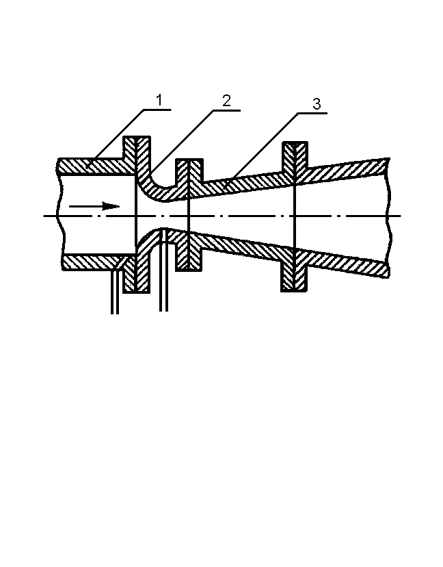
Общие сведения. Важными элементами пневматической системы воздушного выключателя являются дроссельные устройства, сокращенно называемые дросселями и предназначенные для создания сопротивления движению воздуха. Простейший дроссель представляет собой канал той или иной длины в перегородке, установленной в канале, по которому движется воздух (рис. 7-31). Поперечное сечение канала дросселя может иметь любую форму. Однако в большинстве случаев используются дроссели с поперечным сечением канала в виде круга 1 или кольца шириной образованного внутренней поверхностью канала 2 и наружной поверхностью цилиндрического 3 или конического стержня 4. Первые называются цилиндрическими дросселями, а вторые — щелевыми.
В щелевых дросселях проходное сечение канала может изменяться в тех или иных пределах путем перемещения стержня 3 или 4 при настройке дроссельного устройства.
одновременным изменением длины I и проходного сечения дросселя путем перемещения конического стержня 4 в таком же отверстии 2.
Дроссели, в которых поперечное сечение канала не может изменяться при работе, называются нерегулируемыми. Дроссели, в которых длина /, либо ширина щели 6, либо то и другое одновременно могут изменяться при работе, называются регулируемыми.
Изменение гидравлического сопротивления регулируемого дросселя может быть достигнуто изменением длины канала постоянного сечения. Например, на стержне 5 (рис. 7-31) может быть нарезана спиральная канавка прямоугольного, полукруглого или иного сечения. Для того чтобы весь воздух, поступающий в дроссель, проходил только через спиральную канавку, стержень 5 должен, плотно* но без натяга входить в канал 2.
Гидравлическое сопротивление дросселя увеличивается при перемещении стержня вглубь канала и уменьшается при перемещении его в обратном направлении.Рис. 7-31. Дроссели различных типов
Возможны и иные конфигурации дросселей, например с шариком, с заслонкой и т. д. Однако они не получили существенного применения в воздушных выключателях и в данной книге не рассматриваются. С их конструкцией можно ознакомиться в [5, 6, 7].
Прохождение воздуха через дроссель сопровождается необратимой потерей механической энергии воздуха, а именно переходом механической энергии воздуха в тепло.
Потери механической энергии, возникающие при движении воздуха через дроссель, характеризуются уменьшением полного давления. Они складываются из местных потерь при входе воздуха в канал дросселя, потерь полного давления при выходе из этого канала, потерь на трение в самом канале дросселя.
п.) и могут быть определены по формуле (2-45). Подробные данные о потерях на входе и выходе приведены в § 2-6.Потери полного давления, обусловленные трением воздуха о стенки канала, определяются по формуле (2-42), в которой wср представляет собой среднюю скорость движения воздуха по каналу дросселя, а р1 и р2 — соответственно абсолютные давления воздуха перед дросселем и за ним. Значения коэффициента местного сопротивления могут быть взяты из табл. П-2.
Потеря полного давления в дросселе равна сумме потерь давления на входе и выходе и потерь на трение в канале.
В дросселях с различными геометрическими данными в зависимости от значений давления до и после дросселя могут превалировать местные потери на входе и выходе или потери на трение при движении воздуха по каналу дросселя. Движение это может быть ламинарным или турбулентным, в зависимости от чего меняются основные характеристики дросселя. При турбулентном движении воздуха на характеристики дросселя в некоторых случаях оказывает влияние состояние стенок канала (шероховатость), в то время как при ламинарном движении воздуха влияние этого фактора не проявляется.
Качественно новые явления в дросселе возникают при достижении в его канале скорости движения воздуха, равной скорости звука. Хотя при этом расход воздуха через дроссель и зависит от температуры и давления воздуха перед дросселем, однако он сохраняется постоянным и при изменении давления за дросселем. В некоторых случаях, например при надкритическом истечении, в потоке воздуха на выходе из канала дросселя или в самом канале образуется система скачков уплотнения, в которой так же, как и от действия сил трения, при обычном движении происходит необратимый переход механической энергии потока в тепло. Возникающие при этом потери складываются с потерями, определяющими процесс прохождения воздуха через дроссель.
По условиям работы дроссели можно разделить на три типа:
Турбулентные дроссели, имеющие канал цилиндрической формы с малым отношением длины к диаметру, в которых эффект дросселирования вызывается местными сопротивлениями на входе и выходе из канала, а влияние сил трения при движении воздуха по каналу практически не сказывается.
Как правилу движение воздуха в этих дросселях оказывается турбулентным и обычно адиабатным.Ламинарные дроссели, имеющие цилиндрический канал с большим отношением длины к диаметру, при котором обеспечивается ламинарное движение воздуха и основное значение приобретают потери на трение при протекании воздуха по каналу дросселя. К ламинарным дросселям относятся дроссели и другой формы, в частности щелевые, при условии, что процесс течения воздуха в них удовлетворяет указанным выше признакам. Ламинарные дроссели работают в условиях под- критического режима.
3. Дроссели смешанного типа, работающие при любых других сочетаниях условий течения воздуха.
Каждый из трех указанных типов дросселей может быть выполнен регулируемым, т. е. предусматривается возможность измерения его гидравлического сопротивления, или нерегулируемым, т. е. с постоянным гидравлическим сопротивлением.
Основной характеристикой дросселя является характеристика расхода, т. е. изменение массового секундного расхода воздуха в зависимости от давления воздуха до и после дросселя.

При разработке ламинарных дросселей приходится преодолевать трудности, обусловленные тем, что движение воздуха в канале дросселя оказывается ламинарным только при очень малых перепадах давления до и после дросселя, очень малых проходных сечениях и больших отношениях длины канала дросселя к его диаметру. Если при этом необходимо получать достаточно большие расходы воздуха, приходится использовать элементы, состоящие из нескольких параллельно соединенных дросселей.
К регулируемым дросселям в ряде случаев предъявляется требование обеспечения неизменной характеристики расхода при перерегулировках дросселя. Например, если регулируемый дроссель снабжен шкалой, то после перестройки при повторных установках его в одно и то же положение характеристика расхода для него должна оставаться строго неизменной.
Опыт показывает, что при одних и тех же давлениях до и после дросселя расход через щелевой дроссель при повторных установках стержня может меняться в довольно широких пределах, если нарушается концентрическое положение стержня относительно стенок канала. Так, например, если стержень будет прижат к стенке канала, то расход воздуха будет примерно в 2,5 раза больше, чем при концентрическом расположении стержня относительно стенок канала, хотя диаметры стержня и канала в обоих случаях не меняются. Поэтому щелевой дроссель должен быть выполнен так, чтобы всегда было обеспечено концентрическое положение стержня относительно канала. Примеры такого конструктивного выполнения стержня дроссельного устройства приведены на рис. 7-32. Стержень имеет цилиндрическую головку / с четырьмя вырезами для прихода воздуха (см. разрез по А—А). Наружный диаметр головки и внутренний диаметр канала обрабатываются под ходовую посадку по первому или второму классу точности.
Рис. 7-32. Щелевые дроссели
Турбулентные дроссели.

При адиабатном турбулентном движении воздуха его расход через эти дроссели для подкритических и надкритических режимов определяется по формулам (2-54) и (2-55), где р1 — абсолютное давление перед дросселем, Рг — абсолютное давление за дросселем. Переход от подкритического режима истечения к надкритическому совершается при (Р1/Рй)кр=0,527.
Ламинарные дроссели.
При некоторых условиях эти дроссели могут иметь линейную характеристику расхода. Так, например, если разность давлений до и после дросселя мала по сравнению с абсолютными значениями этих давлений, то скорость воздуха в канале невелика и мало меняется по длине канала, а если не учитывать дополнительные потери при формировании ламинарного потока на начальном участке канала дросселя, то можно считать, что массовый секундный, расход воздуха и перепад давления в дросселе связаны между собой линейной зависимостью. Эта зависимость для канала круглого сечения определяется формулой Пуазейля:
где G — расход воздуха, кг/с; d — диаметр канала дросселя, м; р — плотность воздуха, кг/м*; ji —динамическая вязкость,
Па «с; 1 — длина канала; м; р\ и — абсолютное давление воздуха до и после дросселя, Па.
Линейность характеристики расхода дросселя нарушается с переходом от ламинарного течения к турбулентному. Однако и при ламинарном течении характеристика расхода дросселей этого типа может оказаться нелинейной вследствие влияния следующих факторов. Нелинейность характеристики расхода может вызываться увеличенными потерями на начальном участке канала дросселя, на котором происходит формирование ламинарного течения; длина этого участкд не остается постоянной, а меняется с- изменением разности Давлений до и после дросселя. При относительно больших, перепадах давления в дросселе, на характеристике расхода Может сказаться изменение плотностей воздуха по длине канала дросселя, его влияние может проявляться как при сравнительно малых, так и при больших скоростях движения воздуха, при больших изменениях скорости воздуха по длине канала дросселя на характеристики процесса движения воздуха, а в связи с этим и на потери, возникающие при дросселировании, могут оказать влияние силы инерции, обусловленные ускорением потока воздуха в канале дросселя.

Дроссели смешанного типа.
К ним могут быть отнесены дроссели с цилиндрическим каналом, когда потери полного давления на входе и выводе соизмеримы с потерями на трение в канале и, следовательно, ни теми, ни другими пренебрегать нельзя. Кроме того, к этой категории могут быть отнесены дроссели с каналом нецилиндрической формы (типа сопло — заслонка, шариковые дроссели и др.).
Рис, 7-33. Пневматические камеры
Пневматические камеры, представляющие собой замкнутые объемы, широко применяются в пневматических системах управления воздушными выключателями. Заполнение камеры воздухом или ее опоражнивание осуществляется через регулируемые или нерегулируемые дроссели. Камера обычно имеет цилиндрическую, форму, В зависимости от конструктивной компоновки системы управления дроссели могут размещаться на торцевых или боковых поверхностях камеры. Конструктивное Выполнение Камеры может быть различным.
Наиболее часто применяются (рис. 7-33):
единичная глухая пневматическая камера У с постоянным объемом;
единичная проточная (междроссельная) пневматическая камера 2 с постоянным объемом;
единичная проточная пневматическая камера 3 с переменным объемом;
наборная пневматическая камера 4, состоящая из нескольких одинаковых камер, соединенных между собой последовательно посредством дросселей.
Дроссели на входе и выходе камеры Могут иметь одинаковое или различное поперечное сечение, могут быть регулируемыми или нерегулируемыми.
Основной характеристикой пневматической камеры является изменение давления воздуха в камере р\ в зависимости от давления воздуха до камеры ро и после камеры /?2. Кроме того, характеристикой для камеры с регулируемым дросселем является изменение давления воздуха в камере в зависимости от положения дросселя.
Рис. 7-34. Статические характеристики Р1/р2 простейшей проточной камеры (2 на рис. 7-33) при турбулентных дросселях и различных значениях /i/f2
Определение давления воздуха в пневматической камере можно производить по кривым, приведенным на рис.
34. На этом рисунке указаны области, соответствующие различному сочетанию режимов истечения: область / охватывает режимы подкритического истечения в обоих дросселях (границы этой области cad) область II — режимы надкритического истечения в нервом дросселе и подкритического во втором (Оad), область lit— режимы под- критического истечения в первом дросселе и надкритического во втором (bас) и область IV — режимы надкритического истечения в обоих дросселях (ЬаО).
Пневматическая камера позволяет получить требуемую характеристику нарастания давления в каком-либо объеме за камерой во времени, замедляя нарастание давления в том или ином объеме. Кроме того, пневматическая камера, выполненная в виде дроссельного пакета, может выполнять роль редуктора для понижения давления (см. рис. 7-8).
- Назад
- Вперед
Дроссельное устройство
Изобретение относится к трубопроводной арматуре и предназначено в качестве дроссельного устройства для использования на ТЭС, ГРЭС, ТЭЦ, АЭС.
Дроссельное устройство содержит корпус в виде трубы. В отверстии корпуса в осевом направлении размещены с зазором друг относительно друга дроссельные элементы с каналом для прохода среды, образующие ступени дросселирования. Каждый дроссельный элемент выполнен в виде спирального элемента из профильного изделия, неподвижно связанного первым своим концом с заглушкой. Спиральный элемент и заглушка установлены соосно отверстию корпуса с зазором относительно последнего. Второй конец спирального элемента закреплен неподвижно относительно корпуса. Первый конец и витки спирального элемента установлены с возможностью осевого перемещения. Профильное изделие выполнено пористым и проницаемым. Изобретение направлено на расширение функциональных возможностей по настройке и изменению параметров дроссельного устройства, на также на уменьшение эрозионного износа, шума, на повышение технологичности изготовления дросселирующих элементов. 3 з.п. ф-лы, 4 ил.
Изобретение относится к трубопроводной арматуре, преимущественно к дроссельным устройствам для срабатывания перепада давления, и предназначено для использования на ТЭС, ГРЭС, ТЭЦ, АЭС.
Известно дроссельное устройство для многоступенчатого дросселирования, состоящее из дисковых дроссельных элементов, установленных в корпусе в виде трубы (см. Благов Э.Е., Ивницкий Б.Я. Дроссельно-регулирующая арматура ТЭС и АЭС. — М.: Энергоатомиздат, 1990, с.72-73, рис.4.20а, б). Причем отверстия в шайбах располагают со смешением друг относительно друга по ходу потока так, что выходы отверстий предыдущей шайбы несоосны с отверстиями последующей шайбы для того, чтобы не было прямого проскока рабочей среды, а потоки меняли направление для усиления их торможения.
Недостатками конструкции являются малый перепад на одной шайбе — не более 3 МПа, низкая технологичность изготовления — сверление отверстий в толстостенной шайбе. Уменьшение диаметра отверстий и увеличение их количества (при сохранении суммарной площади для прохода потока среды) улучшает дробление потока, несколько снижает уровень шума, т.к. энергия единичной струи уменьшается. Но это понижает технологичность изделия, т.
к. просверлить отверстия малого диаметра в толстостенных дисках, выполненных из труднообрабатываемых материалов (эрозионностойких), затруднительно. Точно рассчитать дроссель затруднительно. Возможности настройки таких конструкций нет.
Наиболее близким техническим решением (прототипом) к представленному изобретению является дроссельное устройство, содержащее корпус в виде трубы, в отверстии которого в осевом направлении размещены с зазором относительно друг друга дроссельные элементы с каналом для прохода среды, образующие ступени дросселирования, каждый дроссельный элемент выполнен в виде спирального элемента из профильного изделия, неподвижно связанного первым своим концом с заглушкой, установленными соосно отверстию корпуса с зазором относительно последнего, причем второй конец спирального элемента закреплен неподвижно относительно корпуса (см. а.с. SU 813063 А, кл. F16K 1/36, 15.03.1981).
Основным недостатком известного дроссельного устройства является то, что функциональные возможности по изменению характеристики дроссельного устройства ограничены.
Задача изобретения — расширение функциональных возможностей по настройке и изменению параметров дроссельного устройства, а также уменьшение эрозионного износа, шума, повышение технологичности изготовления дросселирующих элементов.
Технический результат достигается тем, что в дроссельном устройстве, содержащем корпус в виде трубы, в отверстии которого в осевом направлении размещены с зазором относительно друг друга дроссельные элементы с каналом для прохода среды, образующие ступени дросселирования, каждый дроссельный элемент выполнен в виде спирального элемента из профильного изделия, неподвижно связанного первым своим концом с заглушкой, которые установлены соосно отверстию корпуса с зазором относительно последнего, причем второй конец спирального элемента закреплен неподвижно относительно корпуса, первый конец и витки спирального элемента установлены с возможностью осевого перемещения, а профильное изделие выполнено пористым и проницаемым, кроме того
— спиральный элемент выполнен с упругими свойствами в виде пружины, например, сжатия,
— профильное изделие выполнено с упругими свойствами, например, из МР «металлорезины»,
— профильное изделие выполнено с упругими и эластичными свойствами, например, из открытопористой резины, открытоячеистого пенополиуретана.
На фиг.1 изображен разрез дросселя; на фиг.2 — вид А на фиг.1; на фиг.3 — формы поперечного сечения профильного изделия спирального элемента; на фиг.4 — разрез дросселя при полностью сжатых витках спирального элемента.
Дроссельное устройство содержит корпус 1 в виде трубы, в отверстии 2 которого размещены с зазором в осевом направлении друг относительно друга дроссельные элементы (ДЭ), каждый из которых выполнен в виде спирального элемента 3 (СЭ) из профильного изделия с каналом для прохода среды между витками СЭ 3. СЭ 3 неподвижно связан первым своим концом 4 с заглушкой 5. СЭ 3 и заглушка 5 установлены соосно отверстию 2 корпуса 1 с зазором 6 относительно последнего, причем второй конец 7 СЭ 3 закреплен неподвижно относительно корпуса 1.
Первый конец 4 и витки СЭ 3 установлены с возможностью осевого перемещения. Заглушка 5 может быть связана с приводом 8 ее перемещения вдоль оси корпуса 1. Заглушка 5 выполнена с обтекаемой внешней поверхностью 9, например, конической формы.
СЭ 3 связан с корпусом 1 через параллельно прикрепленные к корпусу 1 и вдоль его оси ребра 10, расположенные в образованном зазоре 6 между наружной поверхностью 11 витков СЭ 3 и внутренней поверхностью отверстия 2 корпуса 1. Профильное изделие выполнено в виде проволоки или полосы, или ленты с простой (фиг.3а — д): круглой, или квадратной, или треугольной, или эллипсной, или прямоугольной, или со сложной (фиг.3е — л): многоугольной или криволинейной формой в поперечном сечении. СЭ 3 может быть выполнен с упругими свойствами в виде пружины, например, сжатия. Профильное изделие СЭ 3 может быть выполнено пористым и проницаемым для рабочей среды (из спеченного изделия, из пористых пластмасс). Профильное изделие СЭ 3 может быть выполнено проницаемым и упругим, например, из МР «металлорезина» или проницаемым, упругим и эластичным, например, из пористой резины, открытоячеистого пенополиуретана.
Дроссельное устройство работает следующим образом.
Рабочая среда поступает через отверстие 2 к заглушке 5 и СЭ 3, проходит через щели между витками СЭ 3 и дросселируется.
Изменением зазора между витками СЭ 3 можно изменять сопротивление ступени дросселя, что приводит к изменению гидравлического сопротивления и расхода рабочей среды при постоянном перепаде давления. Выполнение в поперечном сечении профильного изделия разной формы позволяет организовывать вход и выход рабочей среды для увеличения гидравлического сопротивления и изменять гидравлическую характеристику. При больших перепадах давления целесообразно применение профильных изделий в виде эллипса, прямоугольника, ориентированных большой осью по направлению потока среды (между витками СЭ 3) перпендикулярно оси СЭ 3, зигзагообразного, волнообразного профиля (фиг.3б — л), обладающих повышенной жесткостью в направлении потока среды и действия перепада давления. При малых перепадах давления возможно применение простого круглого профиля (фиг.3, а, е). При использовании криволинейного профиля (фиг.3з — л) имеет место зигзагообразная поверхность, изменяя размеры которой (длины, углы, радиусы) можно влиять на гидравлическую характеристику.
СЭ 3 может быть настроен на специальном стенде путем изменения степени сжатия витков и зазора между ними, после чего положение фиксируется с помощью сварки или стопорных, крепежных элементов. СЭ 3 может быть установлен и с возможностью осевого перемещения в процессе работы его витков (кроме конца 7) и заглушки 5. Изменением профиля СЭ 3 возможно регулировать осевую и радиальную жесткость СЭ 3. Увеличение радиальной жесткости необходимо при повышенных перепадах давления.
Выполнение СЭ 3 в виде пружины сжатия позволяет автоматически изменять гидравлическую характеристику при увеличении на входе давления рабочей среды. Под действием набегающего потока рабочей среды на заглушку 5 и увеличивающегося перепада давления на СЭ 3 происходит сжатие витков СЭ 3. Этим процессом можно управлять путем изменения формы наружной поверхности 9 заглушки 5 (изменяется усилие гидродинамического сопротивления), при этом уменьшается зазор между витками СЭ 3, сопротивление потоку среды возрастает, расход рабочей среды уменьшается или поддерживается постоянным.
Это обеспечивается правильно подобранными характеристикой осевой жесткости и формы профильного изделия СЭ 3, что не обеспечивают известные конструкции дросселей. Таким образом, расширяются функциональные возможности дросселя. Струи потока рабочей среды входят в щели между витками СЭ 3 радиально, соударяются, что снижает уровень шума и увеличивает сопротивление, т.е. использован принцип инерционного сопротивления (потеря давления связана с инерционными силами и ударами струй среды). В регулирующих органах инерционного сопротивления потеря давления пропорциональна квадрату скорости потока.
Выполнение профильного изделия СЭ 3 пористыми и проницаемыми для рабочей среды позволяет при полном сжатии витков СЭ 3 (фиг.4) осуществлять процесс дросселирования через поровое пространство профильного изделия с использованием принципа вязкостного трения. Профильное проницаемое изделие с упругими свойствами, например, из МР «металлорезина», пенополиуретана позволяет сжимать и далее витки после соприкосновения, при этом сжимается профиль витка в осевом направлении, уменьшается размер пор, а сопротивление потоку рабочей среды увеличивается.
Витки СЭ 3 могут быть сжаты предварительно на специальном стенде до получения заданной гидравлической характеристики и зафиксированы сваркой или другими стопорными, крепежными элементами (когда СЭ 3 неподвижен в процессе работы).
Выполнение связи заглушки 5 с приводом 8 (привод может располагаться снаружи или изнутри корпуса 1) ее осевого перемещения позволяет сжимать или разжимать витки СЭ 3 и изменять гидравлическую характеристику в процессе работы, обеспечивать регулирование потока рабочей среды, что расширяет функциональные возможности дроссельного устройства.
Конструкция СЭ 3 проста в изготовлении, т.к. спиральный элемент технологичен и легко изготавливается на токарном, профильно-гибочном, пружинно-навивочном станке.
Представленное дроссельное устройство может быть использовано в качестве регулируемого и нерегулируемого дросселя в системах дросселирования жидких и газообразных сред энергетической, нефтегазовой промышленности.
1. Дроссельное устройство, содержащее корпус в виде трубы, в отверстии которого в осевом направлении размещены с зазором относительно друг друга дроссельные элементы с каналом для прохода среды, образующие ступени дросселирования, каждый дроссельный элемент выполнен в виде спирального элемента из профильного изделия, неподвижно связанного первым своим концом с заглушкой, установленными соосно отверстию корпуса с зазором относительно последнего, причем второй конец спирального элемента закреплен неподвижно относительно корпуса, отличающееся тем, что первый конец и витки спирального элемента установлены с возможностью осевого перемещения, а профильное изделие выполнено пористым и проницаемым.
2. Дроссельное устройство по п.1, отличающееся тем, что спиральный элемент выполнен с упругими свойствами в виде пружины, например, сжатия.
3. Дроссельное устройство по п.1, отличающееся тем, что профильное изделие выполнено с упругими свойствами, например, из «металлорезины».
4. Дроссельное устройство по п.1, отличающееся тем, что профильное изделие выполнено с упругими и эластичными свойствами, например, из открытопористой резины, открытоячеистого пенополиуретана.
Как регулировать пропускную способность для устройств в вашем доме
Пропускная способность обычно распределяется поровну между всеми устройствами в сети. К сожалению, не все устройства имеют одинаковые потребности в пропускной способности. Например, игровому устройству взрослого потребуется больше пропускной способности, чем детскому планшету. Следовательно, общее состояние всей вашей сети, вероятно, будет скомпрометировано.
Если вы пытаетесь выяснить, как ограничить пропускную способность, направляемую на устройства в вашем доме, вы попали в нужное место.
В этой статье вы узнаете, как выполнить процесс, чтобы все ваши устройства могли пользоваться справедливо распределенной пропускной способностью. Продолжайте читать, чтобы узнать больше.
Большинство маршрутизаторов позволяют регулировать пропускную способность, направленную на конкретное устройство, с помощью функции «Качество обслуживания».
Сначала вам необходимо определить Mac-адрес устройства или адрес интернет-протокола (IP), чтобы ограничить пропускную способность, которую оно может использовать. Например, чтобы найти IP-адрес вашего ПК, вы можете открыть «Командную строку» и ввести «ipconfig/all». Эта команда должна вывести всю сетевую информацию, относящуюся к вашему компьютеру, включая IPv4 и физические адреса.
Теперь, когда вы знаете IP-адрес или Mac-адрес устройства с пропускной способностью, которую вы хотите ограничить, вам необходимо определить IP-адрес вашего маршрутизатора, который также называется шлюзом по умолчанию. Шлюз по умолчанию используется для входа в административную учетную запись маршрутизатора.
Вот как узнать IP-адрес маршрутизатора с помощью компьютера:
- Подключите компьютер к сети маршрутизатора.
- На компьютере выполните поиск «Командная строка».
- Запустите приложение и введите «ipconfig».
- Найдите значение в разделе «Шлюз по умолчанию», и это IP-адрес вашего маршрутизатора.
Теперь давайте подробно рассмотрим, как можно регулировать пропускную способность для определенных маршрутизаторов.
Как ограничить пропускную способность для устройств с помощью маршрутизатора Linksys
Если вы используете маршрутизатор Linksys и хотите ограничить пропускную способность, направляемую на ваши домашние устройства, выполните следующие действия:
- Введите IP-адрес вашего маршрутизатора в браузере, чтобы войти на страницу администрирования маршрутизатора Linksys.
- Перейдите в раздел «Приложения и игры» и выберите «QoS».
В раскрывающемся меню «Входящий поток и пропускная способность» выберите параметр «Mac-адрес».
- В текстовом поле «Введите имя» введите имя соответствующего устройства. Затем введите Mac-адрес, который вы записали ранее, в текстовое поле.
- Выберите соответствующий «Приоритет» для вашего устройства в зависимости от ваших потребностей в пропускной способности.
- Когда вы закончите, нажмите кнопку «Сохранить настройки».
Для устройств с интенсивным использованием полосы пропускания, таких как игровые и потоковые устройства, рекомендуется установить для приоритета полосы пропускания значение «Высокий». Вы можете назначить детским устройствам «Нормальный» приоритет пропускной способности. Наконец, для устройств, которые редко нуждаются в доступе в Интернет, таких как устройства для умного дома, вы можете присвоить им «Низкий» приоритет.
Назначение полосы пропускания устройствам в соответствии с их потребностями в Интернете должно улучшить доступ к домашней сети и общее качество Интернета.
Как ограничить пропускную способность с помощью беспроводного маршрутизатора TP-Link
Если вы используете беспроводной маршрутизатор TP-Link и хотите ограничить пропускную способность для устройств в вашей домашней сети, выполните следующие действия:
- Перейдите на Портал маршрутизатора TP-Link и войдите в интерфейс управления маршрутизатором, используя учетные данные, указанные в нижней части этикетки устройства.
- Перейдите к «Карте сети».
- Выберите «Клиенты», чтобы просмотреть устройства, подключенные к этому маршрутизатору.
- Выберите домашнее устройство с пропускной способностью, которую вы хотите ограничить, и перейдите на вкладку «Ограничение скорости».
- Установите флажок «Ограничение скорости».
- Определите скорость загрузки и выгрузки устройства в соответствии с вашими потребностями в регулировании.
- Когда вы закончите, нажмите кнопку «Сохранить».
Как регулировать пропускную способность на маршрутизаторе Huawei
Маршрутизаторы Huawei медленно, но верно набирают популярность во всем мире. Если вы используете его, выполните следующие действия, чтобы ограничить пропускную способность для устройств в вашей домашней сети:
- Подключите устройство с полосой пропускания, которую вы хотите ограничить, к Wi-Fi маршрутизатора. Кроме того, вы можете подключить компьютер к локальной сети с помощью кабеля Ethernet.
- Войдите на административную страницу вашего маршрутизатора, используя IP-адрес по умолчанию, обычно указанный на табличке устройства.
- Перейдите на вкладку «Управление устройством» и выберите устройство с полосой пропускания, которую вы хотите регулировать.
- Включите тумблер «Ограничение скорости».
- Укажите скорость загрузки и выгрузки для рассматриваемого устройства.
Существует максимальное количество устройств, для которых можно установить ограничения пропускной способности, и они различаются в зависимости от используемой модели маршрутизатора. Как только это число будет достигнуто, вы больше не сможете устанавливать ограничения для дополнительных устройств в сети.
Как регулировать пропускную способность с помощью маршрутизатора D-Link
Если вы используете маршрутизатор D-Link и хотите регулировать пропускную способность для устройств в вашей домашней сети, выполните следующие действия:
- Откройте браузер и введите IP-адрес маршрутизатора в строке поиска.
- Войдите в панель управления маршрутизатора, используя учетные данные вашего маршрутизатора.
- Перейдите к «Дополнительно» и выберите «Управление трафиком».
- Перейдите в «Правила QoS», затем «Добавить».
- Введите IP-адрес вашего устройства в текстовом поле «Source IP».
- Введите ограничение пропускной способности устройства в текстовые поля «Нижний этаж» и «Верхний этаж».
- Нажмите кнопку «Добавить правила», чтобы сохранить изменения.
Как регулировать пропускную способность с помощью маршрутизатора Netgear
Чтобы регулировать пропускную способность с помощью маршрутизатора Netgear, выполните следующие действия.
Как ограничить пропускную способность в Google Chrome
Если вы используете браузер Chrome для доступа к Интернету и хотите ограничить собственное подключение к Интернету, выполните следующие действия:
- На компьютере запустите браузер Chrome.
- Щелкните окно правой кнопкой мыши и выберите параметр «Проверить».
- Откройте вкладку «Сеть».
- Откройте раскрывающееся меню «Дросселирование» и выберите «Медленный 3G» или «Быстрый 3G» в зависимости от ваших потребностей.
Обратите внимание, что описанный выше процесс может давать неточные или разные результаты, поскольку инструменты разработчика Chrome просто имитируют поведение дросселирования. Для получения точных результатов лучше использовать маршрутизатор.
Ограничение пропускной способности может существенно повлиять на общее состояние вашего интернет-соединения. К счастью, процесс ограничения пропускной способности, направленной на конкретное устройство, относительно прост. Просто войдите на административную страницу вашего маршрутизатора, найдите вкладку QoS и установите ограничения пропускной способности для ваших устройств. В конце концов, дросселирование — это полезный процесс, который повысит общую эффективность вашей домашней сети и обеспечит бесперебойное подключение к Интернету.
Пробовали ли вы регулировать полосу пропускания, направленную на устройства в вашей домашней сети? Как вы проходили процесс? Дайте нам знать в комментариях ниже.
Как имитировать медленное подключение к Интернету на iOS и Android
Шрея Бозе, автор технического контента в BrowserStack — 8 декабря 2022 г.
Содержание
не рождаются одинаковыми. Даже районы в пределах одной страны, города, поселка или даже улицы могут различаться.
Любое мобильное приложение, стремящееся привлечь максимально возможное количество пользователей, должно иметь возможность разумно работать на разных скоростях сети.
У пользователей нет причин сохранять приложения, которые не обеспечивают постоянно высокий уровень удобства работы пользователей. Поэтому разработчики должны создавать приложения, которые хорошо работают при разных скоростях сети — Edge, 2G, 3G, 4G, 5G и т. д.
приложение с помощью различных действий пользователя. Есть несколько способов сделать это, как будет показано в этой статье.
Как имитировать медленное подключение к Интернету на устройствах iOSЧтобы имитировать плохое подключение к Интернету на устройствах iOS, тестерам необходим доступ к настройкам разработчика.
Примечание: Для этого процесса требуется Mac и XCode, установленный на Mac.
Вот как имитировать медленное сетевое соединение на iPad или iPhone:
- Загрузите XCode на Mac.

- Подключите соответствующий iPhone или iPad к XCode.
- Устройство подскажет, доверяете ли вы своему компьютеру. Нажмите Да.
- Доступ к настройкам разработчика на устройстве из меню настроек. Это возможно, даже если устройство отключено.
- В настройках разработчика выберите «Кондиционер сетевых каналов».
- Отобразится список различных сетевых профилей. Выбери один. При необходимости добавьте пресеты. Убедитесь, что In Bandwidth, Out, Bandwidth и Latency соответствуют желаемым параметрам скорости сети.
- Нажмите Включить. Теперь пресеты активны.
Источник
Проблема с этим методом заключается в том, что тестировщику придется подключить несколько iPhone к Mac, если он собирается протестировать свое приложение на нескольких устройствах (что на данном этапе является обязательным). Это означает, что им потребуется физический доступ к каждому отдельному устройству, на котором они собираются тестировать, что отнимает много времени и усилий и определенно не является эффективным способом тестирования приложений на устройствах iOS.
Решение этой проблемы будет рассмотрено далее в статье, что позволяет масштабировать инфраструктуру тестирования на мобильные устройства и планшеты.
Как имитировать медленное подключение к Интернету на устройствах AndroidЧтобы имитировать плохое подключение к Интернету на устройствах Android, попробуйте использовать Charles Proxy:
- Загрузите и установите Charles Proxy
- Нажмите «Прокси» > «Настройки дроссельной заслонки»
- Выберите из предустановок дроссельной заслонки или вручную введите требуемые предустановки.
- Нажмите OK.
- Нажмите Прокси еще раз.
- Нажмите «Начать регулирование».
Сеть на локальном компьютере теперь регулируется до желаемой тестером скорости. Запустите необходимые тесты приложения на онлайн-эмуляторе Android или подключите устройство Android для тестирования реального устройства.
Конечно, при использовании эмулятора и прокси вопиющей проблемой является отсутствие реальных устройств.
Эмуляторы Android не могут воспроизвести собственные функции реальных устройств Android, особенно с учетом количества устройств Android, доступных на рынке. Для получения точных и надежных результатов приложения необходимо тестировать на реальных устройствах Android. Это не подлежащий обсуждению аспект процесса обеспечения качества.
Если подключены настоящие устройства Android, проблема остается такой же, как описанный выше метод дросселирования iOS. Тестировщику придется индивидуально подключать каждое устройство, на котором он хочет протестировать приложение, тратя время и усилия, которые ему на самом деле не нужны.
Как имитировать медленное подключение к Интернету в Chrome с помощью DevTools для тестирования веб-приложенийЧтобы имитировать медленное подключение к Интернету в Chrome, выполните следующие действия:
- Запустите браузер Chrome. В новой вкладке нажмите на Трехточечный значок в правом верхнем углу, чтобы открыть меню.

- Выберите Дополнительные инструменты >> Инструменты разработчика .
- Щелкните вкладку Сеть . Щелкните раскрывающийся список No Throttling .
- Выберите Slow 3G из раскрывающегося списка на ярлыке Presets, чтобы имитировать медленную сеть 3G.
- Чтобы создать пользовательское условие сети, нажмите Добавить под меткой Cutom.
- Нажмите кнопку «Добавить пользовательский профиль» и заполните такие данные, как «Профиль» (например, 2G), «Скорость загрузки/выгрузки» и «Задержка».
Решения проблем, описанные обоими методами, просты, удобны и исключительно надежны.
Тестируйте мобильные приложения на реальных устройствах в BrowserStack Real Device Cloud.
Вот как смоделировать условия медленной сети на реальных мобильных устройствах в облаке BrowserStack:
- Зарегистрируйтесь бесплатно в BrowserStack App Live.

- Войти
- Выберите нужную ОС (Android или iOS), выберите производителя устройства (Samsung, Google, OnePlus, Motorola и т. д.) и конкретную модель устройства (Galaxy S21, Galaxy S20, iPhone 7, iPhone X и т. д.) .) В этом примере используется Samsung Galaxy S21.
- После выбора устройства загрузите приложение для тестирования. Это можно сделать через URL или напрямую с рабочей станции тестировщика.
- После загрузки приложения и нажатия на выбранное устройство тестовый сеанс загрузится, как показано ниже:
- Обратите внимание на параметр Throttle Network слева, как показано ниже:
- После выбора он отобразит список различных скоростей сети, которые тестер может выбрать, как показано ниже:
- Выберите один из параметров и сеть Условия будут применены к устройству. Теперь запустите необходимые тесты в приложении, чтобы проверить его производительность на этой конкретной скорости.
BrowserStack позволяет тестировщикам регулировать скорость сети для тестирования мобильных приложений на тысячах реальных мобильных устройств Android и iOS.
Вся система размещена в облаке, поэтому нет необходимости подключать какие-либо устройства к рабочим станциям тестировщиков.
Тестирование мобильных приложений при низкой скорости сети на реальных устройствах
Как имитировать условия медленной сети для тестирования веб-приложений на реальных устройствах Android и iOS в облакеИспользуя BrowserStack Live, вы можете реальные устройства Android и iOS по вашему выбору, выполнив простые шаги, указанные ниже:
- Зарегистрируйтесь на BrowserStack Live или войдите, если у вас уже есть учетная запись
- После входа в систему перейдите к Live Dashboard
- Выберите операционную систему и браузер, в которых вы хотите протестировать.
- Нажмите на опцию Throttle Network, а затем выберите состояние сети, которое вы хотите имитировать.
Проверка веб-приложений при низкой скорости сети на реальных устройствах
Сравните BrowserStack с другими описанными выше методами.
