ΠΠ°ΠΊΠΈΠ΅ Π±ΡΠ²Π°ΡΡ Π΄Π²ΠΈΠ³Π°ΡΠ΅Π»ΠΈ? Π’ΠΈΠΏΡ ΡΠ»Π΅ΠΊΡΡΠΎΠ΄Π²ΠΈΠ³Π°ΡΠ΅Π»Π΅ΠΉ. ΠΡΠΈΠ½Ρ ΡΠΎΠ½Π½ΡΠ΅ Π΄Π²ΠΈΠ³Π°ΡΠ΅Π»ΠΈ
Π ΠΎΡΠ½ΠΎΠ²Ρ ΡΠ°Π±ΠΎΡΡ Π»ΡΠ±ΡΡ ΡΠ»Π΅ΠΊΡΡΠΎΠ΄Π²ΠΈΠ³Π°ΡΠ΅Π»Π΅ΠΉ ΠΏΠΎΠ»ΠΎΠΆΠ΅Π½ ΠΏΡΠΈΠ½ΡΠΈΠΏ ΡΠ»Π΅ΠΊΡΡΠΎΠΌΠ°Π³Π½ΠΈΡΠ½ΠΎΠΉ ΠΈΠ½Π΄ΡΠΊΡΠΈΠΈ. ΠΠ»Π΅ΠΊΡΡΠΎΠ΄Π²ΠΈΠ³Π°ΡΠ΅Π»Ρ ΡΠΎΡΡΠΎΠΈΡ ΠΈΠ· Π½Π΅ΠΏΠΎΠ΄Π²ΠΈΠΆΠ½ΠΎΠΉ ΡΠ°ΡΡΠΈ β ΡΡΠ°ΡΠΎΡΠ° (Π΄Π»Ρ Π°ΡΠΈΠ½Ρ ΡΠΎΠ½Π½ΡΡ ΠΈ ΡΠΈΠ½Ρ ΡΠΎΠ½Π½ΡΡ Π΄Π²ΠΈΠΆΠΊΠΎΠ² ΠΏΠ΅ΡΠ΅ΠΌΠ΅Π½Π½ΠΎΠ³ΠΎ ΡΠΎΠΊΠ°) Π»ΠΈΠ±ΠΎ ΠΈΠ½Π΄ΡΠΊΡΠΎΡΠ° (Π΄Π»Ρ Π΄Π²ΠΈΠΆΠΊΠΎΠ² ΠΏΠΎΡΡΠΎΡΠ½Π½ΠΎΠ³ΠΎ ΡΠΎΠΊΠ°) ΠΈ ΠΏΠΎΠ΄Π²ΠΈΠΆΠ½ΠΎΠΉ ΡΠ°ΡΡΠΈ β ΡΠΎΡΠΎΡΠ° (Π΄Π»Ρ Π°ΡΠΈΠ½Ρ ΡΠΎΠ½Π½ΡΡ ΠΈ ΡΠΈΠ½Ρ ΡΠΎΠ½Π½ΡΡ Π΄Π²ΠΈΠΆΠΊΠΎΠ² ΠΏΠ΅ΡΠ΅ΠΌΠ΅Π½Π½ΠΎΠ³ΠΎ ΡΠΎΠΊΠ°) Π»ΠΈΠ±ΠΎ ΡΠΊΠΎΡΡ (Π΄Π»Ρ Π΄Π²ΠΈΠΆΠΊΠΎΠ² ΠΏΠΎΡΡΠΎΡΠ½Π½ΠΎΠ³ΠΎ ΡΠΎΠΊΠ°). Π ΡΠΎΠ»ΠΈ ΠΈΠ½Π΄ΡΠΊΡΠΎΡΠ° Π½Π° ΠΌΠ°Π»ΠΎΠΌΠΎΡΠ½ΡΡ Π΄Π²ΠΈΠ³Π°ΡΠ΅Π»ΡΡ ΠΏΠΎΡΡΠΎΡΠ½Π½ΠΎΠ³ΠΎ ΡΠΎΠΊΠ° Π½Π΅ΡΠ΅Π΄ΠΊΠΎ ΠΈΡΠΏΠΎΠ»ΡΠ·ΡΡΡΡΡ ΠΏΠΎΡΡΠΎΡΠ½Π½ΡΠ΅ ΠΌΠ°Π³Π½ΠΈΡΡ.
ΠΡΠ΅ Π΄Π²ΠΈΠ³Π°ΡΠ΅Π»ΠΈ, Π³ΡΡΠ±ΠΎ Π³ΠΎΠ²ΠΎΡΡ ΠΌΠΎΠΆΠ½ΠΎ ΠΏΠΎΠ΄Π΅Π»ΠΈΡΡ Π½Π° Π΄Π²Π° Π²ΠΈΠ΄Π°:
Π΄Π²ΠΈΠ³Π°ΡΠ΅Π»ΠΈ ΠΏΠΎΡΡΠΎΡΠ½Π½ΠΎΠ³ΠΎ ΡΠΎΠΊΠ°
Π΄Π²ΠΈΠ³Π°ΡΠ΅Π»ΠΈ ΠΏΠ΅ΡΠ΅ΠΌΠ΅Π½Π½ΠΎΠ³ΠΎ ΡΠΎΠΊΠ° (Π°ΡΠΈΠ½Ρ
ΡΠΎΠ½Π½ΡΠ΅ ΠΈ ΡΠΈΠ½Ρ
ΡΠΎΠ½Π½ΡΠ΅)
ΠΠ²ΠΈΠ³Π°ΡΠ΅Π»ΠΈ ΠΏΠΎΡΡΠΎΡΠ½Π½ΠΎΠ³ΠΎ ΡΠΎΠΊΠ°
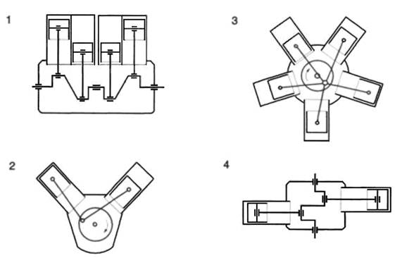
ΠΠΎ Π½Π΅ΠΊΠΈΠΌ ΠΌΠ½Π΅Π½ΠΈΡΠΌ Π΄Π°Π½Π½ΡΠΉ Π΄Π²ΠΈΠ³Π°ΡΠ΅Π»Ρ Π²ΠΎΠ·ΠΌΠΎΠΆΠ½ΠΎ Π΅ΡΠ΅ Π½Π°Π·Π²Π°ΡΡ ΡΠΈΠ½Ρ ΡΠΎΠ½Π½ΠΎΠΉ ΠΌΠ°ΡΠΈΠ½ΠΎΠΉ ΠΏΠΎΡΡΠΎΡΠ½Π½ΠΎΠ³ΠΎ ΡΠΎΠΊΠ° Ρ ΡΠ°ΠΌΠΎΡΠΈΠ½Ρ ΡΠΎΠ½ΠΈΠ·Π°ΡΠΈΠ΅ΠΉ. ΠΡΠΎΡΡΠΎΠΉ Π΄Π²ΠΈΠΆΠΎΠΊ, ΡΠ²Π»ΡΡΡΠΈΠΉΡΡ ΠΌΠ°ΡΠΈΠ½ΠΎΠΉ ΠΏΠΎΡΡΠΎΡΠ½Π½ΠΎΠ³ΠΎ ΡΠΎΠΊΠ°, ΡΠΎΡΡΠΎΠΈΡ ΠΈΠ· ΠΏΠΎΡΡΠΎΡΠ½Π½ΠΎΠ³ΠΎ ΠΌΠ°Π³Π½ΠΈΡΠ° Π½Π° ΠΈΠ½Π΄ΡΠΊΡΠΎΡΠ΅ (ΡΡΠ°ΡΠΎΡΠ΅), 1-Π³ΠΎ ΡΠ»Π΅ΠΊΡΡΠΎΠΌΠ°Π³Π½ΠΈΡΠ° Ρ ΠΎΡΠ΅Π²ΠΈΠ΄Π½ΠΎ Π²ΡΡΠ°ΠΆΠ΅Π½Π½ΡΠΌΠΈ ΠΏΠΎΠ»ΡΡΠ°ΠΌΠΈ Π½Π° ΡΠΊΠΎΡΠ΅ (Π΄Π²ΡΡ Π·ΡΠ±ΡΠΎΠ²ΠΎΠ³ΠΎ ΡΠΊΠΎΡΡ Ρ ΡΠ²Π½ΠΎ Π²ΡΡΠ°ΠΆΠ΅Π½Π½ΡΠΌΠΈ ΠΏΠΎΠ»ΡΡΠ°ΠΌΠΈ ΠΈ Ρ ΠΎΠ΄Π½ΠΎΠΉ ΠΎΠ±ΠΌΠΎΡΠΊΠΎΠΉ), ΡΡΡΠΎΡΠ½ΠΎΠΊΠΎΠ»Π»Π΅ΠΊΡΠΎΡΠ½ΠΎΠ³ΠΎ ΡΠ·Π»Π° Ρ 2-ΠΌΡ ΠΏΠ»Π°ΡΡΠΈΠ½Π°ΠΌΠΈ (Π»Π°ΠΌΠ΅Π»ΡΠΌΠΈ) ΠΈ 2-ΠΌΡ ΡΡΡΠΊΠ°ΠΌΠΈ.
ΠΡΠΎΡΡΠΎΠΉ Π΄Π²ΠΈΠ³Π°ΡΠ΅Π»Ρ ΠΈΠΌΠ΅Π΅Ρ 2 ΠΏΠΎΠ»ΠΎΠΆΠ΅Π½ΠΈΡ ΡΠΎΡΠΎΡΠ° (2 «ΠΌΡΡΡΠ²ΡΠ΅ ΡΠΎΡΠΊΠΈ»), ΠΈΠ· ΠΊΠΎΡΠΎΡΡΡ Π½Π΅ΠΎΡΡΡΠ΅ΡΡΠ²ΠΈΠΌ ΡΠ°ΠΌΠΎΠ·Π°ΠΏΡΡΠΊ, ΠΈ Π½Π΅ΡΠ°Π²Π½ΠΎΠΌΠ΅ΡΠ½ΡΠΉ ΠΊΡΡΡΡΡΠΈΠΉ ΠΌΠΎΠΌΠ΅Π½Ρ. Π ΠΏΠ΅ΡΠ²ΠΎΠΌ ΠΏΡΠΈΠ±Π»ΠΈΠΆΠ΅Π½ΠΈΠΈ ΠΌΠ°Π³Π½ΠΈΡΠ½ΠΎΠ΅ ΠΏΠΎΠ»Π΅ ΠΏΠΎΠ»ΡΡΠΎΠ² ΡΡΠ°ΡΠΎΡΠ° ΡΠ°Π²Π½ΠΎΠΌΠ΅ΡΠ½ΠΎΠ΅ (ΠΎΠ΄Π½ΠΎΡΠΎΠ΄Π½ΠΎΠ΅).
ΠΠ°Π½Π½ΡΠ΅ Π΄Π²ΠΈΠ³Π°ΡΠ΅Π»ΠΈ Ρ Π½Π°Π»ΠΈΡΠΈΠ΅ΠΌ ΡΡΡΠΎΡΠ½ΠΎ-ΠΊΠΎΠ»Π»Π΅ΠΊΡΠΎΡΠ½ΠΎΠ³ΠΎ ΡΠ·Π»Π° Π±ΡΠ²Π°ΡΡ:
ΠΠΎΠ»Π΅ΠΊΡΠΎΡΠ½ΡΠ΅ — ΡΠ»Π΅ΠΊΡΡΠΈΡΠ΅ΡΠΊΠΎΠ΅ ΡΡΡΡΠΎΠΉΡΡΠ²ΠΎ, Π² ΠΊΠΎΡΠΎΡΠΎΠΌ Π΄Π°ΡΡΠΈΠΊΠΎΠΌ ΠΏΠΎΠ»ΠΎΠΆΠ΅Π½ΠΈΡ ΡΠΎΡΠΎΡΠ° ΠΈ ΠΏΠ΅ΡΠ΅ΠΊΠ»ΡΡΠ°ΡΠ΅Π»Π΅ΠΌ ΡΠΎΠΊΠ° Π² ΠΎΠ±ΠΌΠΎΡΠΊΠ°Ρ
ΡΠ²Π»ΡΠ΅ΡΡΡ ΠΎΠ΄Π½ΠΎ ΠΈ ΡΠΎ ΠΆΠ΅ ΡΡΡΡΠΎΠΉΡΡΠ²ΠΎ β ΡΡΡΠΎΡΠ½ΠΎ-ΠΊΠΎΠ»Π»Π΅ΠΊΡΠΎΡΠ½ΡΠΉ ΡΠ·Π΅Π».
ΠΠ΅ΡΠΊΠΎΠ»Π΅ΠΊΡΠΎΡΠ½ΡΠ΅ — Π·Π°ΠΌΠΊΠ½ΡΡΠ°Ρ ΡΠ»Π΅ΠΊΡΡΠΎΠΌΠ΅Ρ
Π°Π½ΠΈΡΠ΅ΡΠΊΠ°Ρ ΡΠΈΡΡΠ΅ΠΌΠ°, ΡΠΎΡΡΠΎΡΡΠ°Ρ ΠΈΠ· ΡΠΈΠ½Ρ
ΡΠΎΠ½Π½ΠΎΠ³ΠΎ ΡΡΡΡΠΎΠΉΡΡΠ²Π° Ρ ΡΠΈΠ½ΡΡΠΎΠΈΠ΄Π°Π»ΡΠ½ΡΠΌ ΡΠ°ΡΠΏΡΠ΅Π΄Π΅Π»Π΅Π½ΠΈΠ΅ΠΌ ΠΌΠ°Π³Π½ΠΈΡΠ½ΠΎΠ³ΠΎ ΠΏΠΎΠ»Ρ Π² Π·Π°Π·ΠΎΡΠ΅, Π΄Π°ΡΡΠΈΠΊΠ° ΠΏΠΎΠ»ΠΎΠΆΠ΅Π½ΠΈΡ ΡΠΎΡΠΎΡΠ°, ΠΏΡΠ΅ΠΎΠ±ΡΠ°Π·ΠΎΠ²Π°ΡΠ΅Π»Ρ ΠΊΠΎΠΎΡΠ΄ΠΈΠ½Π°Ρ ΠΈ ΡΡΠΈΠ»ΠΈΡΠ΅Π»Ρ ΠΌΠΎΡΠ½ΠΎΡΡΠΈ. ΠΠΎΠ»Π΅Π΅ Π΄ΠΎΡΠΎΠ³ΠΎΠΉ Π²Π°ΡΠΈΠ°Π½Ρ Π² ΡΡΠ°Π²Π½Π΅Π½ΠΈΠ΅ Ρ ΠΊΠΎΠ»Π΅ΠΊΡΠΎΡΠ½ΡΠΌΠΈ Π΄Π²ΠΈΠ³Π°ΡΠ΅Π»ΡΠΌΠΈ.
ΠΠ²ΠΈΠ³Π°ΡΠ΅Π»ΠΈ ΠΏΠ΅ΡΠ΅ΠΌΠ΅Π½Π½ΠΎΠ³ΠΎ ΡΠΎΠΊΠ°
ΠΠΎ ΡΠΈΠΏΡ ΡΠ°Π±ΠΎΡΡ Π΄Π°Π½Π½ΡΠ΅ Π΄Π²ΠΈΠ³Π°ΡΠ΅Π»ΠΈ Π΄Π΅Π»ΡΡΡΡ Π½Π° ΡΠΈΠ½Ρ ΡΠΎΠ½Π½ΡΠ΅ ΠΈ Π°ΡΠΈΠ½Ρ ΡΠΎΠ½Π½ΡΠ΅ Π΄Π²ΠΈΠ³Π°ΡΠ΅Π»ΠΈ. ΠΡΠΈΠ½ΡΠΈΠΏΠ½ΠΎΠ΅ ΠΎΡΠ»ΠΈΡΠΈΠ΅ Π·Π°ΠΊΠ»ΡΡΠ°Π΅ΡΡΡ Π² ΡΠΎΠΌ, ΡΡΠΎ Π² ΡΠΈΠ½Ρ ΡΠΎΠ½Π½ΡΡ ΠΌΠ°ΡΠΈΠ½Π°Ρ 1-Π°Ρ Π³Π°ΡΠΌΠΎΠ½ΠΈΠΊΠ° ΠΌΠ°Π³Π½ΠΈΡΠΎΠ΄Π²ΠΈΠΆΡΡΠ΅ΠΉ ΡΠΈΠ»Ρ ΡΡΠ°ΡΠΎΡΠ° ΠΏΠ΅ΡΠ΅ΠΌΠ΅ΡΠ°Π΅ΡΡΡ ΡΠΎ ΡΠΊΠΎΡΠΎΡΡΡΡ Π²ΡΠ°ΡΠ΅Π½ΠΈΡ ΡΠΎΡΠΎΡΠ° (ΠΏΠΎ ΡΡΠΎΠΌΡ ΡΠ°ΠΌ ΡΠΎΡΠΎΡ ΠΊΡΡΡΠΈΡΡΡ ΡΠΎ ΡΠΊΠΎΡΠΎΡΡΡΡ Π²ΡΠ°ΡΠ΅Π½ΠΈΡ ΠΌΠ°Π³Π½ΠΈΡΠ½ΠΎΠ³ΠΎ ΠΏΠΎΠ»Ρ Π² ΡΡΠ°ΡΠΎΡΠ΅), Π° Ρ Π°ΡΠΈΠ½Ρ ΡΠΎΠ½Π½ΡΡ β Π΅ΡΡΡ ΠΈ ΠΎΡΡΠ°Π΅ΡΡΡ ΡΠ°Π·Π½ΠΈΡΠ° ΠΌΠ΅ΠΆ ΡΠΊΠΎΡΠΎΡΡΡΡ Π²ΡΠ°ΡΠ΅Π½ΠΈΡ ΡΠΎΡΠΎΡΠ° ΠΈ ΡΠΊΠΎΡΠΎΡΡΡΡ Π²ΡΠ°ΡΠ΅Π½ΠΈΡ ΠΌΠ°Π³Π½ΠΈΡΠ½ΠΎΠ³ΠΎ ΠΏΠΎΠ»Ρ Π² ΡΡΠ°ΡΠΎΡΠ΅ (ΠΏΠΎΠ»Π΅ ΠΊΡΡΡΠΈΡΡΡ Π±ΡΡΡΡΠ΅Π΅ ΡΠΎΡΠΎΡΠ°).
Π‘ΠΈΠ½Ρ
ΡΠΎΠ½Π½ΡΠΉ — Π΄Π²ΠΈΠ³Π°ΡΠ΅Π»Ρ ΠΏΠ΅ΡΠ΅ΠΌΠ΅Π½Π½ΠΎΠ³ΠΎ ΡΠΎΠΊΠ°, ΡΠΎΡΠΎΡ ΠΊΠΎΡΠΎΡΠΎΠ³ΠΎ ΠΊΡΡΡΠΈΡΡΡ ΡΠΈΠ½Ρ
ΡΠΎΠ½Π½ΠΎ Ρ ΠΌΠ°Π³Π½ΠΈΡΠ½ΡΠΌ ΠΏΠΎΠ»Π΅ΠΌ ΠΏΠΈΡΠ°ΡΡΠ΅Π³ΠΎ Π½Π°ΠΏΡΡΠΆΠ΅Π½ΠΈΡ. ΠΡΠΈ Π΄Π²ΠΈΠΆΠΊΠΈ ΡΡΠ°Π΄ΠΈΡΠΈΠΎΠ½Π½ΠΎ ΠΏΡΠΈΠΌΠ΅Π½ΡΡΡΡΡ ΠΏΡΠΈ ΠΎΠ³ΡΠΎΠΌΠ½ΡΡ
ΠΌΠΎΡΠ½ΠΎΡΡΡΡ
(ΠΎΡ ΡΠΎΡΠ΅Π½ ΠΊΠΈΠ»ΠΎΠ²Π°ΡΡ ΠΈ Π²ΡΡΠ΅).
ΠΡΡΡ ΡΠΈΠ½Ρ
ΡΠΎΠ½Π½ΡΠ΅ Π΄Π²ΠΈΠ³Π°ΡΠ΅Π»ΠΈ Ρ Π΄ΠΈΡΠΊΡΠ΅ΡΠ½ΡΠΌ ΡΠ³Π»ΠΎΠ²ΡΠΌ Π΄Π²ΠΈΠΆΠ΅Π½ΠΈΠ΅ΠΌ ΡΠΎΡΠΎΡΠ° β ΡΠ°Π³ΠΎΠ²ΡΠ΅ Π΄Π²ΠΈΠ³Π°ΡΠ΅Π»ΠΈ. Π£ Π½ΠΈΡ
Π΄Π°Π½Π½ΠΎΠ΅ ΠΏΠΎΠ»ΠΎΠΆΠ΅Π½ΠΈΠ΅ ΡΠΎΡΠΎΡΠ° ΡΠΈΠΊΡΠΈΡΡΠ΅ΡΡΡ ΠΏΠΎΠ΄Π°ΡΠ΅ΠΉ ΠΏΠΈΡΠ°Π½ΠΈΡ Π½Π° ΡΠΎΠΎΡΠ²Π΅ΡΡΡΠ²ΡΡΡΠΈΠ΅ ΠΎΠ±ΠΌΠΎΡΠΊΠΈ. ΠΠ΅ΡΠ΅Ρ
ΠΎΠ΄ Π² Π΄ΡΡΠ³ΠΎΠ΅ ΠΏΠΎΠ»ΠΎΠΆΠ΅Π½ΠΈΠ΅ ΠΈΡΠΏΠΎΠ»Π½ΡΠ΅ΡΡΡ ΠΏΡΡΡΠΌ ΡΠ½ΡΡΠΈΡ Π½Π°ΠΏΡΡΠΆΠ΅Π½ΠΈΡ ΠΏΠΈΡΠ°Π½ΠΈΡ Ρ ΠΎΠ΄Π½ΠΈΡ
ΠΎΠ±ΠΌΠΎΡΠΎΠΊ ΠΈ ΠΏΠ΅ΡΠ΅Π΄Π°ΡΠΈ Π΅Π³ΠΎ Π½Π° Π΄ΡΡΠ³ΠΈΠ΅ ΠΎΠ±ΠΌΠΎΡΠΊΠΈ Π΄Π²ΠΈΠ³Π°ΡΠ΅Π»Ρ.
ΠΡΠΈΠ½Ρ
ΡΠΎΠ½Π½ΡΠΉ — Π΄Π²ΠΈΠ³Π°ΡΠ΅Π»Ρ ΠΏΠ΅ΡΠ΅ΠΌΠ΅Π½Π½ΠΎΠ³ΠΎ ΡΠΎΠΊΠ°, Π² ΠΊΠΎΡΠΎΡΠΎΠΌ ΡΠ°ΡΡΠΎΡΠ° Π²ΡΠ°ΡΠ΅Π½ΠΈΡ ΡΠΎΡΠΎΡΠ° ΡΠ°Π·Π»ΠΈΡΠ°Π΅ΡΡΡ ΠΎΡ ΡΠ°ΡΡΠΎΡΡ ΠΊΡΡΡΡΡΠ΅Π³ΠΎ ΠΌΠ°Π³Π½ΠΈΡΠ½ΠΎΠ³ΠΎ ΠΏΠΎΠ»Ρ, ΡΠ²ΠΎΡΠΈΠΌΠΎΠ³ΠΎ ΠΏΠΈΡΠ°ΡΡΠΈΠΌ Π½Π°ΠΏΡΡΠΆΠ΅Π½ΠΈΠ΅ΠΌ, Π²ΡΠΎΡΠΎΠ΅ Π½Π°Π·Π²Π°Π½ΠΈΠ΅ Π°ΡΠΈΠ½Ρ
ΡΠΎΠ½Π½ΡΡ
ΠΌΠ°ΡΠΈΠ½ — ΠΈΠ½Π΄ΡΠΊΡΠΈΠΎΠ½Π½ΡΠ΅ ΠΎΠ±ΠΎΡΠ½ΠΎΠ²Π°Π½ΠΎ ΡΠ΅ΠΌ, ΡΡΠΎ ΡΠΎΠΊ Π² ΠΎΠ±ΠΌΠΎΡΠΊΠ΅ ΡΠΎΡΠΎΡΠ° ΠΈΠ½Π΄ΡΡΠΈΡΡΠ΅ΡΡΡ Π²Π΅ΡΡΡΡΠΈΠΌΡΡ ΠΏΠΎΠ»Π΅ΠΌ ΡΡΠ°ΡΠΎΡΠ°. ΠΡΠΈΠ½Ρ
ΡΠΎΠ½Π½ΡΠ΅ ΠΌΠ°ΡΠΈΠ½Ρ ΡΠ΅ΠΉΡΠ°Ρ ΠΎΡΠΎΡΠΌΠ»ΡΡΡ ΠΎΠ³ΡΠΎΠΌΠ½ΡΡ ΡΠ°ΡΡΡ ΡΠ»Π΅ΠΊΡΡΠΈΡΠ΅ΡΠΊΠΈΡ
ΠΌΠ°ΡΠΈΠ½.
Π Π³Π»Π°Π²Π½ΠΎΠΌ ΠΎΠ½ΠΈ ΠΈΡΠΏΠΎΠ»ΡΠ·ΡΡΡΡΡ Π² Π²ΠΈΠ΄Π΅ ΡΠ»Π΅ΠΊΡΡΠΎΠ΄Π²ΠΈΠ³Π°ΡΠ΅Π»Π΅ΠΉ ΠΈ ΡΡΠΈΡΠ°ΡΡΡΡ ΠΊΠ»ΡΡΠ΅Π²ΡΠΌΠΈ ΠΏΡΠ΅ΠΎΠ±ΡΠ°Π·ΠΎΠ²Π°ΡΠ΅Π»ΡΠΌΠΈ ΡΠ»Π΅ΠΊΡΡΠΈΡΠ΅ΡΠΊΠΎΠΉ ΡΠ½Π΅ΡΠ³ΠΈΠΈ Π² ΠΌΠ΅Ρ
Π°Π½ΠΈΡΠ΅ΡΠΊΡΡ, ΠΏΡΠΈΡΡΠΌ Π² ΠΎΡΠ½ΠΎΠ²Π½ΠΎΠΌ ΠΈΡΠΏΠΎΠ»ΡΠ·ΡΡΡΡΡ Π°ΡΠΈΠ½Ρ
ΡΠΎΠ½Π½ΡΠ΅ Π΄Π²ΠΈΠΆΠΊΠΈ Ρ ΠΊΠΎΡΠΎΡΠΊΠΎΠ·Π°ΠΌΠΊΠ½ΡΡΡΠΌ ΡΠΎΡΠΎΡΠΎΠΌ
ΠΠΎ ΠΊΠΎΠ»ΠΈΡΠ΅ΡΡΠ²Ρ ΡΠ°Π· Π΄Π²ΠΈΠ³Π°ΡΠ΅Π»ΠΈ Π±ΡΠ²Π°ΡΡ:
- ΠΎΠ΄Π½ΠΎΡΠ°Π·Π½ΡΠ΅
- Π΄Π²ΡΡ ΡΠ°Π·Π½ΡΠ΅
- ΡΡΠ΅Ρ ΡΠ°Π·Π½ΡΠ΅
Π‘Π°ΠΌΡΠ΅ ΠΏΠΎΠΏΡΠ»ΡΡΠ½ΡΠ΅ ΠΈ ΡΡΡΠΎΠΊΠΎΠ²ΠΎΡΡΡΠ΅Π±ΠΎΠ²Π°Π½ΡΠ΅ Π΄Π²ΠΈΠ³Π°ΡΠ΅Π»ΠΈ ΠΊΠΎΡΠΎΡΡΠ΅ ΠΏΡΠΈΠΌΠ΅Π½ΡΡΡΡΡ Π² ΠΏΡΠΎΠΈΠ·Π²ΠΎΠ΄ΡΡΠ²Π΅ ΠΈ Π±ΡΡΠΎΠ²ΠΎΠΌ Ρ ΠΎΠ·ΡΠΉΡΡΠ²Π΅:
ΠΠ΄Π½ΠΎΡΠ°Π·Π½ΡΠΉ Π°ΡΠΈΠ½Ρ ΡΠΎΠ½Π½ΡΠΉ Π΄Π²ΠΈΠ³Π°ΡΠ΅Π»Ρ Ρ ΠΊΠΎΡΠΎΡΠΊΠΎΠ·Π°ΠΌΠΊΠ½ΡΡΡΠΌ ΡΠΎΡΠΎΡΠΎΠΌ
ΠΠ΄Π½ΠΎΡΠ°Π·ΠΎΠ²ΡΠΉ Π°ΡΠΈΠ½Ρ ΡΠΎΠ½Π½ΡΠΉ Π΄Π²ΠΈΠΆΠΎΠΊ ΠΈΠΌΠ΅Π΅Ρ Π½Π° ΡΡΠ°ΡΠΎΡΠ΅ ΡΠΎΠ»ΡΠΊΠΎ 1 ΡΠ°Π±ΠΎΡΡΡ ΠΎΠ±ΠΌΠΎΡΠΊΡ, Π½Π° ΠΊΠΎΡΠΎΡΡΡ Π² Ρ ΠΎΠ΄Π΅ ΡΠ°Π±ΠΎΡΡ ΠΌΠΎΡΠΎΡΠ° ΠΏΠΎΠ΄Π°Π΅ΡΡΡ ΠΏΠ΅ΡΠ΅ΠΌΠ΅Π½Π½ΡΠΉ ΡΠΎΠΊ. Π₯ΠΎΡΡ Π΄Π»Ρ Π·Π°ΠΏΡΡΠΊΠ° ΠΌΠΎΡΠΎΡΠ° Π½Π° Π΅Π³ΠΎ ΡΡΠ°ΡΠΎΡΠ΅ Π΅ΡΡΡ ΠΈ Π²ΡΠΏΠΎΠΌΠΎΠ³Π°ΡΠ΅Π»ΡΠ½Π°Ρ ΠΎΠ±ΠΌΠΎΡΠΊΠ°, ΠΊΠΎΡΠΎΡΠ°Ρ ΠΊΡΠ°ΡΠΊΠΎΡΡΠΎΡΠ½ΠΎ ΠΏΠΎΠ΄ΠΊΠ»ΡΡΠ°Π΅ΡΡΡ ΠΊ ΡΠ΅ΡΠΈ ΡΠ΅ΡΠ΅Π· ΠΊΠΎΠ½Π΄Π΅Π½ΡΠ°ΡΠΎΡ Π»ΠΈΠ±ΠΎ ΠΈΠ½Π΄ΡΠΊΡΠΈΠ²Π½ΠΎΡΡΡ, ΠΈΠ»ΠΈ Π·Π°ΠΌΡΠΊΠ°Π΅ΡΡΡ Π½Π°ΠΊΠΎΡΠΎΡΠΊΠΎ ΠΏΡΡΠΊΠΎΠ²ΡΠΌΠΈ ΠΊΠΎΠ½ΡΠ°ΠΊΡΠ°ΠΌΠΈ ΡΡΠ±ΠΈΠ»ΡΠ½ΠΈΠΊΠ°. ΠΡΠΎ Π½ΡΠΆΠ½ΠΎ Π΄Π»Ρ ΡΠΎΠ·Π΄Π°Π½ΠΈΡ ΠΈΡΡ ΠΎΠ΄Π½ΠΎΠ³ΠΎ ΡΠ΄Π²ΠΈΠ³Π° ΡΠ°Π·, ΡΡΠΎΠ± ΡΠΎΡΠΎΡ Π½Π°ΡΠ°Π» ΠΊΡΡΡΠΈΡΡΡΡ, ΠΏΠΎ Π΄ΡΡΠ³ΠΎΠΌΡ ΠΏΡΠ»ΡΡΠΈΡΡΡΡΠ΅Π΅ ΠΌΠ°Π³Π½ΠΈΡΠ½ΠΎΠ΅ ΠΏΠΎΠ»Π΅ ΡΡΠ°ΡΠΎΡΠ° Π½Π΅ Π·Π΄Π²ΠΈΠ½ΡΠ»ΠΎ Π± ΡΠΎΡΠΎΡ Ρ ΠΌΠ΅ΡΡΠ°.
Π ΠΎΡΠΎΡ ΡΠ°ΠΊΠΎΠ²ΠΎΠ³ΠΎ ΠΌΠΎΡΠΎΡΠ°, ΠΊΠ°ΠΊ ΠΈ Π»ΡΠ±ΠΎΠ³ΠΎ ΠΈΠ½ΠΎΠ³ΠΎ Π°ΡΠΈΠ½Ρ
ΡΠΎΠ½Π½ΠΎΠ³ΠΎ ΠΌΠΎΡΠΎΡΠ° Ρ ΠΊΠΎΡΠΎΡΠΊΠΎΠ·Π°ΠΌΠΊΠ½ΡΡΡΠΌ ΡΠΎΡΠΎΡΠΎΠΌ, ΡΠ²Π»ΡΠ΅Ρ ΠΈΠ· ΡΠ΅Π±Ρ ΡΠΈΠ»ΠΈΠ½Π΄ΡΠΈΡΠ΅ΡΠΊΠΈΠΉ ΡΠ΅ΡΠ΄Π΅ΡΠ½ΠΈΠΊ Ρ Π·Π°Π»ΠΈΡΡΠΌΠΈ Π°Π»ΡΠΌΠΈΠ½ΠΈΠ΅ΠΌ ΠΏΠ°Π·Π°ΠΌΠΈ, Ρ ΡΡΠ°Π·Ρ ΠΎΡΠ»ΠΈΡΡΠΌΠΈ Π²Π΅Π½ΡΠΈΠ»ΡΡΠΈΠΎΠ½Π½ΡΠΌΠΈ Π»ΠΎΠΏΠ°ΡΡΡΠΌΠΈ.
Π’Π°ΠΊΠΎΠ²ΠΎΠΉ ΡΠΎΡΠΎΡ ΠΈΠΌΠ΅Π½ΡΠ΅ΡΡΡ ΠΊΠΎΡΠΎΡΠΊΠΎΠ·Π°ΠΌΠΊΠ½ΡΡΡΠΌ ΡΠΎΡΠΎΡΠΎΠΌ. ΠΠ΄Π½ΠΎΡΠ°Π·ΠΎΠ²ΡΠ΅ Π΄Π²ΠΈΠΆΠΊΠΈ ΠΈΡΠΏΠΎΠ»ΡΠ·ΡΡΡΡΡ Π² ΠΌΠ°Π»ΠΎΠΌΠΎΡΠ½ΡΡ ΡΡΡΡΠΎΠΉΡΡΠ²Π°Ρ , Π² ΡΠΎΠΌ ΡΠΈΡΠ»Π΅ ΠΊΠΎΠΌΠ½Π°ΡΠ½ΡΠ΅ Π²Π΅Π½ΡΠΈΠ»ΡΡΠΎΡΡ Π»ΠΈΠ±ΠΎ ΠΌΠ°Π»Π΅Π½ΡΠΊΠΈΠ΅ Π½Π°ΡΠΎΡΡ.
ΠΠ²ΡΡ ΡΠ°Π·Π½ΡΠΉ Π°ΡΠΈΠ½Ρ ΡΠΎΠ½Π½ΡΠΉ Π΄Π²ΠΈΠ³Π°ΡΠ΅Π»Ρ Ρ ΠΊΠΎΡΠΎΡΠΊΠΎΠ·Π°ΠΌΠΊΠ½ΡΡΡΠΌ ΡΠΎΡΠΎΡΠΎΠΌ
ΠΠ²ΡΡ ΡΠ°Π·Π½ΡΠ΅ Π°ΡΠΈΠ½Ρ ΡΠΎΠ½Π½ΡΠ΅ Π΄Π²ΠΈΠΆΠΊΠΈ Π±ΠΎΠ»Π΅Π΅ ΡΡΡΠ΅ΠΊΡΠΈΠ²Π½Ρ ΠΏΡΠΈ ΡΠ°Π±ΠΎΡΠ΅ ΠΎΡ ΠΎΠ΄Π½ΠΎΡΠ°Π·ΠΎΠ²ΠΎΠΉ ΡΠ΅ΡΠΈ ΠΏΠ΅ΡΠ΅ΠΌΠ΅Π½Π½ΠΎΠ³ΠΎ ΡΠΎΠΊΠ°. ΠΠ½ΠΈ ΡΠΎΠ΄Π΅ΡΠΆΠ°Ρ Π½Π° ΡΡΠ°ΡΠΎΡΠ΅ Π΄Π²Π΅ ΡΠ°Π±ΠΎΡΠΈΠ΅ ΠΎΠ±ΠΌΠΎΡΠΊΠΈ, Π½Π°Ρ ΠΎΠ΄ΡΡΠΈΠ΅ΡΡ ΠΏΠ΅ΡΠΏΠ΅Π½Π΄ΠΈΠΊΡΠ»ΡΡΠ½ΠΎ, ΠΏΡΠΈ ΡΡΠΎΠΌ ΠΎΠ΄Π½Π° ΠΈΠ· ΠΎΠ±ΠΌΠΎΡΠΎΠΊ ΠΏΠΎΠ΄ΠΊΠ»ΡΡΠ°Π΅ΡΡΡ ΠΊ ΡΠ΅ΡΠΈ ΠΏΠ΅ΡΠ΅ΠΌΠ΅Π½Π½ΠΎΠ³ΠΎ ΡΠΎΠΊΠ° Π½Π°ΠΏΡΡΠΌΡΡ, Π° Π²ΡΠΎΡΠ°Ρ β ΡΠ΅ΡΠ΅Π· ΡΠ°Π·ΠΎΡΠ΄Π²ΠΈΠ³Π°ΡΡΠΈΠΉ ΠΊΠΎΠ½Π΄Π΅Π½ΡΠ°ΡΠΎΡ, ΡΠ°ΠΊ Π²ΡΡ ΠΎΠ΄ΠΈΡ ΠΊΡΡΡΡΡΠ΅Π΅ΡΡ ΠΌΠ°Π³Π½ΠΈΡΠ½ΠΎΠ΅ ΠΏΠΎΠ»Π΅, Π° Π²ΠΎΡ Π±Π΅Π· ΠΊΠΎΠ½Π΄Π΅Π½ΡΠ°ΡΠΎΡΠ° ΡΠΎΡΠΎΡ Π±Ρ Π½Π΅ Π΄Π²ΠΈΠ½ΡΠ»ΡΡ Ρ ΠΌΠ΅ΡΡΠ°.
ΠΠ°Π½Π½ΡΠ΅ Π΄Π²ΠΈΠ³Π°ΡΠ΅Π»ΠΈ ΠΏΠΎΠΌΠΈΠΌΠΎ ΠΏΡΠΎΡΠ΅Π³ΠΎ ΠΈΠΌΠ΅ΡΡ ΠΊΠΎΡΠΎΡΠΊΠΎΠ·Π°ΠΌΠΊΠ½ΡΡΡΠΉ ΡΠΎΡΠΎΡ, Π° ΠΈΡ ΠΈΡΠΏΠΎΠ»ΡΠ·ΠΎΠ²Π°Π½ΠΈΠ΅ Π΅ΡΠ΅ ΠΎΠ±ΡΠΈΡΠ½Π΅Π΅, Π½Π΅ΠΆΠ΅Π»ΠΈ Ρ ΠΎΠ΄Π½ΠΎΡΠ°Π·ΠΎΠ²ΡΡ . Π’ΡΡ ΡΠΆΠ΅ ΠΈ ΡΡΠΈΡΠ°Π»ΡΠ½ΡΠ΅ ΠΌΠ°ΡΠΈΠ½ΠΊΠΈ, ΠΈ ΡΠ°Π·Π½ΡΠ΅ ΡΡΠ°Π½ΠΊΠΈ. ΠΠ²ΡΡ ΡΠ°Π·Π½ΡΠ΅ Π΄Π²ΠΈΠΆΠΊΠΈ Π΄Π»Ρ ΠΏΠΈΡΠ°Π½ΠΈΡ ΠΎΡ ΠΎΠ΄Π½ΠΎΡΠ°Π·ΠΎΠ²ΡΡ ΡΠ΅ΡΠ΅ΠΉ Π½Π°Π·ΡΠ²Π°ΡΡ ΠΊΠΎΠ½Π΄Π΅Π½ΡΠ°ΡΠΎΡΠ½ΡΠΌΠΈ Π΄Π²ΠΈΠ³Π°ΡΠ΅Π»ΡΠΌΠΈ, ΠΏΠΎΡΠΎΠΌΡ ΡΡΠΎ ΡΠ°Π·ΠΎΡΠ΄Π²ΠΈΠ³Π°ΡΡΠΈΠΉ ΠΊΠΎΠ½Π΄Π΅Π½ΡΠ°ΡΠΎΡ ΡΡΠΈΡΠ°Π΅ΡΡΡ ΡΠ°ΡΡΠΎ ΠΎΠ±ΡΠ·Π°ΡΠ΅Π»ΡΠ½ΠΎΠΉ ΠΈΡ ΡΠ°ΡΡΡΡ.
Π’ΡΠ΅Ρ ΡΠ°Π·Π½ΡΠΉ Π°ΡΠΈΠ½Ρ ΡΠΎΠ½Π½ΡΠΉ Π΄Π²ΠΈΠ³Π°ΡΠ΅Π»Ρ Ρ ΠΊΠΎΡΠΎΡΠΊΠΎΠ·Π°ΠΌΠΊΠ½ΡΡΡΠΌ ΡΠΎΡΠΎΡΠΎΠΌ
Π’ΡΠ΅Ρ ΡΠ°Π·Π½ΡΠΉ Π°ΡΠΈΠ½Ρ ΡΠΎΠ½Π½ΡΠΉ Π΄Π²ΠΈΠ³Π°ΡΠ΅Π»Ρ ΠΈΠΌΠ΅Π΅Ρ Π½Π° ΡΡΠ°ΡΠΎΡΠ΅ ΡΡΠΈ ΡΠ°Π±ΠΎΡΠΈΠ΅ ΠΎΠ±ΠΌΠΎΡΠΊΠΈ, ΡΠ΄Π²ΠΈΠ½ΡΡΡΠ΅ ΡΡΠ°Π²Π½ΠΈΡΠ΅Π»ΡΠ½ΠΎ Π΄ΡΡΠ³ Π΄ΡΡΠ³Π° ΡΠ°ΠΊ, ΡΡΠΎ ΠΏΡΠΈ ΠΏΠΎΠ΄ΠΊΠ»ΡΡΠ΅Π½ΠΈΠΈ Π² ΡΡΠ΅Ρ ΡΠ°Π·Π½ΡΡ ΡΠ΅ΡΡ, ΠΈΡ ΠΌΠ°Π³Π½ΠΈΡΠ½ΡΠ΅ ΠΏΠΎΠ»Ρ ΠΏΠΎΠ»ΡΡΠ°ΡΡΡΡ ΡΠΌΠ΅ΡΠ΅Π½Π½ΡΠΌΠΈ Π² ΠΏΡΠΎΡΡΡΠ°Π½ΡΡΠ²Π΅ ΡΡΠ°Π²Π½ΠΈΡΠ΅Π»ΡΠ½ΠΎ Π΄ΡΡΠ³ Π΄ΡΡΠΆΠΊΡ Π½Π° 120 Π³ΡΠ°Π΄ΡΡΠΎΠ².
ΠΡΠΈ Π²ΠΊΠ»ΡΡΠ΅Π½ΠΈΠΈ ΡΡΠ΅Ρ
ΡΠ°Π·Π½ΠΎΠ³ΠΎ ΠΌΠΎΡΠΎΡΠ° ΠΊ ΡΡΠ΅Ρ
ΡΠ°Π·Π½ΠΎΠΉ ΡΠ΅ΡΠΈ ΠΏΠ΅ΡΠ΅ΠΌΠ΅Π½Π½ΠΎΠ³ΠΎ ΡΠΎΠΊΠ°, ΠΏΠΎΡΠ²Π»ΡΠ΅ΡΡΡ ΠΊΡΡΡΡΡΠ΅Π΅ΡΡ ΠΌΠ°Π³Π½ΠΈΡΠ½ΠΎΠ΅ ΠΏΠΎΠ»Π΅, ΠΏΡΠΈΠ²ΠΎΠ΄ΡΡΠ΅Π΅ Π² ΠΏΠ΅ΡΠ΅ΠΌΠ΅ΡΠ΅Π½ΠΈΠ΅ ΠΊΠΎΡΠΎΡΠΊΠΎΠ·Π°ΠΌΠΊΠ½ΡΡΡΠΉ ΡΠΎΡΠΎΡ.ΠΠ±ΠΌΠΎΡΠΊΠΈ ΡΡΠ°ΡΠΎΡΠ° ΡΡΠ΅Ρ ΡΠ°Π·Π½ΠΎΠ³ΠΎ ΠΌΠΎΡΠΎΡΠ° Π²ΠΎΠ·ΠΌΠΎΠΆΠ½ΠΎ ΡΠΎΠ΅Π΄ΠΈΠ½ΠΈΡΡ ΠΏΠΎ ΡΡ Π΅ΠΌΠ΅ Β«Π·Π²Π΅Π·Π΄Π°Β» Π»ΠΈΠ±ΠΎ Β«ΡΡΠ΅ΡΠ³ΠΎΠ»ΡΠ½ΠΈΠΊΒ», ΠΏΡΠΈ ΡΡΠΎΠΌ Π΄Π»Ρ ΠΏΠΈΡΠ°Π½ΠΈΡ ΠΌΠΎΡΠΎΡΠ° ΠΏΠΎ ΡΡ Π΅ΠΌΠ΅ Β«Π·Π²Π΅Π·Π΄Π°Β» ΠΏΠΎΡΡΠ΅Π±ΡΠ΅ΡΡΡ Π½Π°ΠΏΡΡΠΆΠ΅Π½ΠΈΠ΅ Π²ΡΡΠ΅, ΡΠ΅ΠΌ Π΄Π»Ρ ΡΡ Π΅ΠΌΡ Β«ΡΡΠ΅ΡΠ³ΠΎΠ»ΡΠ½ΠΈΠΊΒ», ΠΈ Π½Π° Π΄Π²ΠΈΠΆΠΊΠ΅, ΠΏΠΎΡΠΎΠΌΡ, ΡΠΊΠ°Π·ΡΠ²Π°ΡΡΡΡ 2 Π½Π°ΠΏΡΡΠΆΠ΅Π½ΠΈΡ, ΠΊ ΠΏΡΠΈΠΌΠ΅ΡΡ: 127/220 Π»ΠΈΠ±ΠΎ 220/380. Π’ΡΠ΅Ρ ΡΠ°Π·Π½ΡΠ΅ Π΄Π²ΠΈΠΆΠΊΠΈ Π½Π΅Π·Π°ΠΌΠ΅Π½ΠΈΠΌΡ Π΄Π»Ρ ΠΏΡΠΈΠ²Π΅Π΄Π΅Π½ΠΈΡ Π² Π΄Π΅ΠΉΡΡΠ²ΠΈΠ΅ ΡΠ°Π·Π½ΡΡ ΡΡΠ°Π½ΠΊΠΎΠ², Π»Π΅Π±Π΅Π΄ΠΎΠΊ, ΡΠΈΡΠΊΡΠ»ΡΡΠ½ΡΡ ΠΏΠΈΠ», ΠΏΠΎΠ΄ΡΠ΅ΠΌΠ½ΡΡ ΠΊΡΠ°Π½ΠΎΠ², ΠΈ Ρ.ΠΏ.
Π’ΡΠ΅Ρ ΡΠ°Π·Π½ΡΠΉ Π°ΡΠΈΠ½Ρ ΡΠΎΠ½Π½ΡΠΉ Π΄Π²ΠΈΠ³Π°ΡΠ΅Π»Ρ Ρ ΡΠ°Π·Π½ΡΠΌ ΡΠΎΡΠΎΡΠΎΠΌ
Π’ΡΠ΅Ρ ΡΠ°Π·Π½ΡΠΉ Π°ΡΠΈΠ½Ρ ΡΠΎΠ½Π½ΡΠΉ Π΄Π²ΠΈΠΆΠΎΠΊ Ρ ΡΠ°Π·Π½ΡΠΌ ΡΠΎΡΠΎΡΠΎΠΌ ΠΈΠΌΠ΅Π΅Ρ ΡΡΠ°ΡΠΎΡ ΠΏΠΎΠ΄ΠΎΠ±Π½ΡΠΉ ΠΎΠΏΠΈΡΠ°Π½Π½ΡΠΌ Π²ΡΡΠ΅ ΡΠΈΠΏΠ°ΠΌ Π΄Π²ΠΈΠΆΠΊΠΎΠ², Β ΡΠΈΡ ΡΠΎΠ²Π°Π½Π½ΡΠΉ ΠΌΠ°Π³Π½ΠΈΡΠΎΠΏΡΠΎΠ²ΠΎΠ΄ Ρ 3-ΠΌΡ ΡΠ»ΠΎΠΆΠ΅Π½Π½ΡΠΌΠΈ Π² Π΅Π³ΠΎ ΠΏΠ°Π·Ρ ΠΎΠ±ΠΌΠΎΡΠΊΠ°ΠΌΠΈ, Π½ΠΎ Π² ΡΠ°Π·Π½ΡΠΉ ΡΠΎΡΠΎΡ Π½Π΅ Π·Π°Π»ΠΈΡΡ Π΄ΡΡΠ°Π»Π΅Π²ΡΠ΅ ΡΡΠ΅ΡΠΆΠ½ΠΈ, Π° ΡΠ»ΠΎΠΆΠ΅Π½Π° ΡΠΆΠ΅ Π½Π°ΡΡΠΎΡΡΠ°Ρ ΡΡΠ΅Ρ ΡΠ°Π·Π½Π°Ρ ΠΎΠ±ΠΌΠΎΡΠΊΠ°, Π² ΡΠΎΠ΅Π΄ΠΈΠ½Π΅Π½ΠΈΠΈ Β«Π·Π²Π΅Π·Π΄Π°Β». ΠΠΎΠ½ΡΡ Π·Π²Π΅Π·Π΄Ρ ΠΎΠ±ΠΌΠΎΡΠΊΠΈ ΡΠ°Π·Π½ΠΎΠ³ΠΎ ΡΠΎΡΠΎΡΠ° Π²ΡΠ²Π΅Π΄Π΅Π½Ρ Π½Π° ΡΡΠΈ ΠΊΠΎΠ½ΡΠ°ΠΊΡΠ½ΡΡ ΠΊΠΎΠ»ΡΡΠ°, Π½Π°ΡΠ°ΠΆΠ΅Π½Π½ΡΡ Π½Π° Π²Π°Π» ΡΠΎΡΠΎΡΠ°, ΠΈ ΡΠ»Π΅ΠΊΡΡΠΈΡΠ΅ΡΠΊΠΈ ΠΎΡΠ΄Π΅Π»Π΅Π½Π½ΡΡ ΠΎΡ Π½Π΅Π³ΠΎ.

ΠΠΎΡΡΠ΅Π΄ΡΡΠ²ΠΎΠΌ ΡΠ΅ΡΠΎΠΊ, Π½Π° ΠΊΠΎΠ»ΡΡΠ° ΠΏΠΎΠΌΠΈΠΌΠΎ ΠΏΡΠΎΡΠ΅Π³ΠΎ ΠΏΠΎΠ΄Π°Π΅ΡΡΡ ΡΡΠ΅Ρ
ΡΠ°Π·Π½ΠΎΠ΅ ΠΏΠ΅ΡΠ΅ΠΌΠ΅Π½Π½ΠΎΠ΅ Π½Π°ΠΏΡΡΠΆΠ΅Π½ΠΈΠ΅, ΠΈ Π²ΠΊΠ»ΡΡΠ΅Π½ΠΈΠ΅ ΠΌΠΎΠΆΠ΅Ρ Π±ΡΡΡ ΠΎΡΡΡΠ΅ΡΡΠ²Π»Π΅Π½ΠΎ ΠΊΠ°ΠΊ Π²ΠΏΡΡΠΌΡΡ, ΡΠ°ΠΊ ΠΈ ΡΠ΅ΡΠ΅Π· ΡΠ΅ΠΎΡΡΠ°ΡΡ. ΠΠ΅ΠΏΡΠ΅ΠΌΠ΅Π½Π½ΠΎ, Π΄Π²ΠΈΠΆΠΊΠΈ Ρ ΡΠ°Π·Π½ΡΠΌ ΡΠΎΡΠΎΡΠΎΠΌ ΡΡΠΎΡΡ ΠΏΠΎΠ΄ΠΎΡΠΎΠΆΠ΅, Ρ
ΠΎΡΡ ΠΈΡ
ΠΏΡΡΠΊΠΎΠ²ΠΎΠΉ ΠΌΠΎΠΌΠ΅Π½Ρ ΠΏΠΎΠ΄ Π½Π°Π³ΡΡΠ·ΠΊΠΎΠΉ Π·Π½Π°ΡΠΈΡΠ΅Π»ΡΠ½ΠΎ ΠΏΠΎΠ²ΡΡΠ΅, Π½Π΅ΠΆΠ΅Π»ΠΈ Ρ ΡΠΈΠΏΠΎΠ² Π΄Π²ΠΈΠΆΠΊΠΎΠ² Ρ ΠΊΠΎΡΠΎΡΠΊΠΎΠ·Π°ΠΌΠΊΠ½ΡΡΡΠΌ ΡΠΎΡΠΎΡΠΎΠΌ. ΠΠΌΠ΅Π½Π½ΠΎ Π² ΡΠ»Π΅Π΄ΡΡΠ²ΠΈΠ΅ Π·Π°Π²ΡΡΠ΅Π½Π½ΠΎΠΉ ΡΠΈΠ»Ρ ΠΈ ΠΎΠ³ΡΠΎΠΌΠ½ΠΎΠ³ΠΎ ΠΏΡΡΠΊΠΎΠ²ΠΎΠ³ΠΎ ΠΌΠΎΠΌΠ΅Π½ΡΠ°, Π΄Π°Π½Π½ΡΠΉ Π²ΠΈΠ΄ Π΄Π²ΠΈΠΆΠΊΠΎΠ² ΠΎΡΡΡΠΊΠ°Π» ΠΈΡΠΏΠΎΠ»ΡΠ·ΠΎΠ²Π°Π½ΠΈΠ΅ Π² ΠΏΡΠΈΠ²ΠΎΠ΄Π°Ρ
Π»ΠΈΡΡΠΎΠ² ΠΈ ΠΏΠΎΠ΄ΡΠ΅ΠΌΠ½ΡΡ
ΠΊΡΠ°Π½ΠΎΠ², Π΄ΡΡΠ³ΠΈΠΌΠΈ ΡΠ»ΠΎΠ²Π°ΠΌΠΈ ΡΠ°ΠΌ, Π³Π΄Π΅ ΠΏΡΠΈΠ±ΠΎΡ Π·Π°ΠΏΡΡΠΊΠ°Π΅ΡΡΡ ΠΏΠΎΠ΄ Π½Π°Π³ΡΡΠ·ΠΊΠΎΠΉ Π° Π½Π΅ Π² Ρ
ΠΎΠ»ΠΎΡΡΡΡ, ΠΊΠ°ΠΊ Ρ Π΄Π²ΠΈΠ³Π°ΡΠ΅Π»Π΅ΠΉ Ρ ΠΊΠΎΡΠΎΡΠΊΠΎΠ·Π°ΠΌΠΊΠ½ΡΡΡΠΌ ΡΠΎΡΠΎΡΠΎΠΌ.
ΠΠ²ΠΈΠ° Π΄Π²ΠΈΠ³Π°ΡΠ΅Π»ΠΈ. ΠΠΈΠ΄Ρ ΠΈ ΡΠΈΠΏΡ Π΄Π²ΠΈΠ³Π°ΡΠ΅Π»Π΅ΠΉ Π΄Π»Ρ ΡΠ°ΠΌΠΎΠ»Π΅ΡΠΎΠ² ΠΈ Π²Π΅ΡΡΠΎΠ»Π΅ΡΠΎΠ²
Β
ΠΠΌΠ΅Π½Π½ΠΎ Π±Π»Π°Π³ΠΎΠ΄Π°ΡΡ ΠΈΡΠΏΠΎΠ»ΡΠ·ΠΎΠ²Π°Π½ΠΈΡ Π°Π²ΠΈΠ° Π΄Π²ΠΈΠ³Π°ΡΠ΅Π»Π΅ΠΉ, ΠΏΡΠΎΠ³ΡΠ΅ΡΡ ΡΠ°Π·Π²ΠΈΡΠΈΡ ΡΠΎΠ²ΡΠ΅ΠΌΠ΅Π½Π½ΠΎΠΉ Π°Π²ΠΈΠ°ΡΠΈΠΈ ΠΏΡΠΎΠ΄ΠΎΠ»ΠΆΠ°Π΅Ρ ΡΠ°Π·Π²ΠΈΠ²Π°ΡΡΡΡ. ΠΠ΅ΡΠ²ΡΠ΅ ΡΠ°ΠΌΠΎΠ»ΡΡΡ ΠΊΠΎΡΠΎΡΡΠ΅ Π½Π΅ Π±ΡΠ»ΠΈ ΠΎΡΠ½Π°ΡΠ΅Π½Ρ Π΄Π²ΠΈΠ³Π°ΡΠ΅Π»ΡΠΌΠΈ ΠΏΡΠ°ΠΊΡΠΈΡΠ΅ΡΠΊΠΈ Π½Π΅ ΠΏΠΎΠ»ΡΡΠΈΠ»ΠΈ ΡΠ²ΠΎΠ΅Π³ΠΎ ΠΏΡΠ°ΠΊΡΠΈΡΠ΅ΡΠΊΠΎΠ³ΠΎ ΠΏΡΠΈΠΌΠ΅Π½Π΅Π½ΠΈΡ, ΡΠ°ΠΊ ΠΊΠ°ΠΊ Π½Π΅ ΠΌΠΎΠ³Π»ΠΈ ΠΏΠ΅ΡΠ΅Π²ΠΎΠ·ΠΈΡΡ Π±ΠΎΠ»Π΅Π΅ ΠΎΠ΄Π½ΠΎΠ³ΠΎ ΡΠ΅Π»ΠΎΠ²Π΅ΠΊΠ°, Π΄Π° ΠΈ Π·Π½Π°ΡΠΈΡΠ΅Π»ΡΠ½ΡΠ΅ ΡΠ°ΡΡΡΠΎΡΠ½ΠΈΡ ΠΏΡΠ΅ΠΎΠ΄ΠΎΠ»Π΅Π²Π°Π΅ΠΌΡΠ΅ ΡΠ°ΠΊΠΈΠΌΠΈ Π²ΠΎΠ·Π΄ΡΡΠ½ΡΠΌΠΈ ΡΡΠ΄Π°ΠΌΠΈ Π±ΠΎΠ»ΡΡΠΈΠΌΠΈ Π½ΠΈΠΊΠ°ΠΊ Π½Π΅ Π½Π°Π·ΠΎΠ²ΡΡΡ.
ΠΡΠ΅ Π°Π²ΠΈΠ° Π΄Π²ΠΈΠ³Π°ΡΠ΅Π»ΠΈ ΠΏΡΠΈΠ½ΡΡΠΎ ΡΠ°Π·Π΄Π΅Π»ΡΡΡ Π½Π° 9 ΠΎΡΠ½ΠΎΠ²Π½ΡΡ ΠΊΠ°ΡΠ΅Π³ΠΎΡΠΈΠΉ.
- ΠΠ°ΡΠΎΠ²ΡΠ΅ Π°Π²ΠΈΠ° Π΄Π²ΠΈΠ³Π°ΡΠ΅Π»ΠΈ;
- ΠΠΎΡΡΠ½Π΅Π²ΡΠ΅ Π°Π²ΠΈΠ° Π΄Π²ΠΈΠ³Π°ΡΠ΅Π»ΠΈ;
- ΠΡΠΎΠΌΠ½ΡΠ΅ Π°Π²ΠΈΠ° Π΄Π²ΠΈΠ³Π°ΡΠ΅Π»ΠΈ;
- Π Π°ΠΊΠ΅ΡΠ½ΡΠ΅ Π°Π²ΠΈΠ° Π΄Π²ΠΈΠ³Π°ΡΠ΅Π»ΠΈ;
- Π Π΅Π°ΠΊΡΠΈΠ²Π½ΡΠ΅ Π°Π²ΠΈΠ° Π΄Π²ΠΈΠ³Π°ΡΠ΅Π»ΠΈ;
- ΠΠ°Π·ΠΎΡΡΡΠ±ΠΈΠ½Π½ΡΠ΅ Π°Π²ΠΈΠ° Π΄Π²ΠΈΠ³Π°ΡΠ΅Π»ΠΈ;
- Π’ΡΡΠ±ΠΎΠ²ΠΈΠ½ΡΠΎΠ²ΡΠ΅ Π°Π²ΠΈΠ° Π΄Π²ΠΈΠ³Π°ΡΠ΅Π»ΠΈ;
- ΠΡΠ»ΡΡΠΈΡΡΡΡΠΈΠ΅ Π²ΠΎΠ·Π΄ΡΡΠ½ΠΎ-ΡΠ΅Π°ΠΊΡΠΈΠ²Π½ΡΠ΅ Π΄Π²ΠΈΠ³Π°ΡΠ΅Π»ΠΈ;
- Π’ΡΡΠ±ΠΎΠ²Π΅Π½ΡΠΈΠ»ΡΡΠΎΡΠ½ΡΠ΅ Π°Π²ΠΈΠ° Π΄Π²ΠΈΠ³Π°ΡΠ΅Π»ΠΈ.
Β
ΠΠ°ΡΠΎΠ²ΡΠ΅ Π°Π²ΠΈΠ° Π΄Π²ΠΈΠ³Π°ΡΠ΅Π»ΠΈ
Β
ΠΠ°ΡΠΎΠ²ΡΠ΅ Π°Π²ΠΈΠ° Π΄Π²ΠΈΠ³Π°ΡΠ΅Π»ΠΈ ΠΏΡΠ°ΠΊΡΠΈΡΠ΅ΡΠΊΠΈ Π½Π΅ Π½Π°ΡΠ»ΠΈ ΡΠ²ΠΎΠ΅Π³ΠΎ ΠΏΡΠ°ΠΊΡΠΈΡΠ΅ΡΠΊΠΎΠ³ΠΎ ΠΏΡΠΈΠΌΠ΅Π½Π΅Π½ΠΈΡ Π² Π°Π²ΠΈΠ°ΡΠΈΠΈ ΠΈΠ·-Π·Π° Π½ΠΈΠ·ΠΊΠΎΠ³ΠΎ ΠΠΠ ΡΠ²ΠΎΠ΅ΠΉ ΡΠ°Π±ΠΎΡΡ. ΠΠ»Π°Π²Π½ΡΠΌ ΠΏΡΠΈΠ½ΡΠΈΠΏΠΎΠΌ ΡΠ°Π±ΠΎΡΡ ΠΏΠ°ΡΠΎΠ²ΠΎΠ³ΠΎ Π°Π²ΠΈΠ°ΡΠΈΠΎΠ½Π½ΠΎΠ³ΠΎ Π΄Π²ΠΈΠ³Π°ΡΠ΅Π»Ρ ΡΠ²Π»ΡΠ΅ΡΡΡ ΠΏΡΠ΅ΠΎΠ±ΡΠ°Π·ΠΎΠ²Π°Π½ΠΈΠ΅ Π²ΠΎΠ·Π²ΡΠ°ΡΠ½ΠΎ-ΠΏΠΎΡΡΡΠΏΠ°ΡΠ΅Π»ΡΠ½ΠΎΠ³ΠΎ Π΄Π²ΠΈΠΆΠ΅Π½ΠΈΡ ΠΏΠΎΡΡΠ½Π΅ΠΉ Π²ΠΎ Π²ΡΠ°ΡΠ°ΡΠ΅Π»ΡΠ½ΠΎΠ΅ Π΄Π²ΠΈΠΆΠ΅Π½ΠΈΠ΅ Π²ΠΈΠ½ΡΠΎΠ² Π·Π° ΡΡΡΡ ΡΠ½Π΅ΡΠ³ΠΈΠΈ ΠΏΠ°ΡΠ°.
Β
Β
Π‘ΡΠΎΠΈΡ ΠΎΡΠΌΠ΅ΡΠΈΡΡ, ΡΡΠΎ ΠΏΠ΅ΡΠ²ΠΎΠ½Π°ΡΠ°Π»ΡΠ½ΠΎ ΠΏΠ°ΡΠΎΠ²ΡΠ΅ Π°Π²ΠΈΠ° Π΄Π²ΠΈΠ³Π°ΡΠ΅Π»ΠΈ ΠΏΡΠ΅Π΄ΠΏΠΎΠ»Π°Π³Π°Π»ΠΎΡΡ ΠΈΡΠΏΠΎΠ»ΡΠ·ΠΎΠ²Π°ΡΡ Π½Π° Π·Π°ΡΠ΅ Π°Π²ΠΈΠ°ΡΠΈΠΈ, ΠΊΠΎΠ³Π΄Π° ΠΈΡΡΠΎΡΠ½ΠΈΠΊ ΠΏΠ°ΡΠ° Π±ΡΠ» Π½Π°ΠΈΠ±ΠΎΠ»Π΅Π΅ Π΄ΠΎΡΡΡΠΏΠ½ΡΠΌ, ΠΎΠ΄Π½Π°ΠΊΠΎ ΠΈΠ·-Π·Π° ΠΌΠ°ΡΡΠΈΠ²Π½ΠΎΡΡΠΈ ΡΠ²ΠΎΠ΅ΠΉ ΠΊΠΎΠ½ΡΡΡΡΠΊΡΠΈΠΈ ΠΏΠ°ΡΠΎΠ²ΡΠ΅ Π΄Π²ΠΈΠ³Π°ΡΠ΅Π»ΠΈ Π½Π΅ ΡΠΌΠΎΠ³Π»ΠΈ ΠΏΠΎΠ΄Π½ΠΈΠΌΠ°ΡΡ Π²ΠΎΠ·Π΄ΡΡΠ½ΡΠ΅ ΡΡΠ΄Π°.
Β
ΠΠΎΡΡΠ½Π΅Π²ΡΠ΅ Π°Π²ΠΈΠ° Π΄Π²ΠΈΠ³Π°ΡΠ΅Π»ΠΈ
Β
ΠΠΎΡΡΠ½Π΅Π²ΠΎΠΉ Π°Π²ΠΈΠ° Π΄Π²ΠΈΠ³Π°ΡΠ΅Π»Ρ ΠΏΡΠ΅Π΄ΡΡΠ°Π²Π»ΡΠ΅Ρ ΡΠΎΠ±ΠΎΠΉ ΠΎΠ±ΡΡΠ½ΡΠΉ Π΄Π²ΠΈΠ³Π°ΡΠ΅Π»Ρ Π²Π½ΡΡΡΠ΅Π½Π½Π΅Π³ΠΎ ΡΠ³ΠΎΡΠ°Π½ΠΈΡ, Π² ΠΊΠΎΡΠΎΡΠΎΠΌ ΡΠ΅ΠΏΠ»ΠΎΠ²Π°Ρ ΡΠ½Π΅ΡΠ³ΠΈΡ ΡΠ°ΡΡΠΈΡΡΠ΅ΠΌΠΎΠ³ΠΎ Π³Π°Π·Π° ΠΏΡΠ΅Π²ΡΠ°ΡΠ°Π΅Ρ ΠΏΠΎΡΡΡΠΏΠ°ΡΠ΅Π»ΡΠ½ΠΎΠ΅ Π΄Π²ΠΈΠΆΠ΅Π½ΠΈΠ΅ ΠΏΠΎΡΡΠ½Ρ Π²ΠΎ Π²ΡΠ°ΡΠ°ΡΠ΅Π»ΡΠ½ΠΎΠ΅ Π΄Π²ΠΈΠΆΠ΅Π½ΠΈΠ΅ Π²ΠΈΠ½ΡΠ°. Π’Π°ΠΊΠΈΠ΅ Π°Π²ΠΈΠ° Π΄Π²ΠΈΠ³Π°ΡΠ΅Π»ΠΈ Π½Π°ΡΠ»ΠΈ ΡΠ²ΠΎΡ ΠΏΡΠΈΠΌΠ΅Π½Π΅Π½ΠΈΠ΅, ΠΈ ΠΏΡΠΈΠΌΠ΅Π½ΡΡΡΡΡ ΠΈ ΠΏΠΎ ΡΠ΅Π³ΠΎΠ΄Π½ΡΡΠ½ΠΈΠΉ Π΄Π΅Π½Ρ ΠΈΠ·-Π·Π° ΠΏΡΠΎΡΡΠΎΡΡ ΡΠ²ΠΎΠ΅Π³ΠΎ ΡΡΠ½ΠΊΡΠΈΠΎΠ½ΠΈΡΠΎΠ²Π°Π½ΠΈΡ ΠΈ Π½Π΅Π΄ΠΎΡΠΎΠ³ΠΎΡΡΠΎΡΡΠ΅Π³ΠΎ ΠΈΠ·Π³ΠΎΡΠΎΠ²Π»Π΅Π½ΠΈΡ.
Β
Β
ΠΠΠ ΠΏΠΎΡΡΠ½Π΅Π²ΠΎΠ³ΠΎ Π°Π²ΠΈΠ°ΡΠΈΠΎΠ½Π½ΠΎΠ³ΠΎ Π΄Π²ΠΈΠ³Π°ΡΠ΅Π»Ρ, ΠΊΠ°ΠΊ ΠΏΡΠ°Π²ΠΈΠ»ΠΎ, Π½Π΅ ΠΏΡΠ΅Π²ΡΡΠ°Π΅Ρ 55 %, ΠΎΠ΄Π½Π°ΠΊΠΎ ΡΡΠΎ Π½ΠΈΡΡΡΡ Π½Π΅ ΡΠΌΡΡΠ°Π΅Ρ ΡΠΎΠ²ΡΠ΅ΠΌΠ΅Π½Π½ΡΡ Π°Π²ΠΈΠ°ΠΊΠΎΠ½ΡΡΡΡΠΊΡΠΎΡΠΎΠ², ΡΠ°ΠΊ ΠΊΠ°ΠΊ Ρ ΡΡΠΎΠ³ΠΎ Π΄Π²ΠΈΠ³Π°ΡΠ΅Π»Ρ ΠΈΠΌΠ΅Π΅ΡΡΡ Π²ΡΡΠΎΠΊΠ°Ρ Π½Π°Π΄ΡΠΆΠ½ΠΎΡΡΡ.
Β
ΠΡΠΎΠΌΠ½ΡΠ΅ Π°Π²ΠΈΠ° Π΄Π²ΠΈΠ³Π°ΡΠ΅Π»ΠΈ
Β
ΠΠ΅ΡΠ²ΡΠ΅ Π°ΡΠΎΠΌΠ½ΡΠ΅ Π°Π²ΠΈΠ° Π΄Π²ΠΈΠ³Π°ΡΠ΅Π»ΠΈ Π½Π°ΡΠ°Π»ΠΈ ΠΏΠΎΡΠ²Π»ΡΡΡΡΡ Π² ΡΠ΅ΡΠ΅Π΄ΠΈΠ½Π΅ ΠΌΠΈΠ½ΡΠ²ΡΠ΅Π³ΠΎ Π²Π΅ΠΊΠ°, ΠΊΠΎΠ³Π΄Π° Π½Π°ΡΠ°Π»ΠΈΡΡ ΠΌΠΈΡΠ½ΡΠ΅ ΠΈΡΡΠ»Π΅Π΄ΠΎΠ²Π°Π½ΠΈΡ Π°ΡΠΎΠΌΠ°. ΠΡΠ½ΠΎΠ²Π½ΡΠΌ ΠΏΡΠΈΠ½ΡΠΈΠΏΠΎΠΌ ΡΠ°Π±ΠΎΡΡ Π°ΡΠΎΠΌΠ½ΠΎΠ³ΠΎ Π°Π²ΠΈΠ°ΡΠΈΠΎΠ½Π½ΠΎΠ³ΠΎ Π΄Π²ΠΈΠ³Π°ΡΠ΅Π»Ρ ΡΠ²Π»ΡΠ΅ΡΡΡ ΠΎΡΡΡΠ΅ΡΡΠ²Π»Π΅Π½ΠΈΠ΅ ΠΊΠΎΠ½ΡΡΠΎΠ»ΠΈΡΡΠ΅ΠΌΠΎΠΉ ΡΠ΅ΠΏΠ½ΠΎΠΉ ΡΠ΄Π΅ΡΠ½ΠΎΠΉ ΡΠ΅Π°ΠΊΡΠΈΠΈ, ΡΡΠΎ ΠΏΠΎΠ·Π²ΠΎΠ»ΡΠ»ΠΎ Π²ΡΠ΄Π°Π²Π°ΡΡ ΠΎΠ³ΡΠΎΠΌΠ½ΡΡ ΠΌΠΎΡΠ½ΠΎΡΡΡ, ΠΏΡΠΈ ΡΡΠ°Π²Π½ΠΈΡΠ΅Π»ΡΠ½ΠΎ Π½Π΅Π±ΠΎΠ»ΡΡΠΎΠΌ ΡΡΠΎΠ²Π½Π΅ Π·Π°ΡΡΠ°Ρ.
ΠΡΠΎΠΌΠ½ΡΠ΅ Π°Π²ΠΈΠ° Π΄Π²ΠΈΠ³Π°ΡΠ΅Π»ΠΈ ΠΏΡΠ°ΠΊΡΠΈΡΠ΅ΡΠΊΠΈ ΠΎΠ΄Π½ΠΎΠ²ΡΠ΅ΠΌΠ΅Π½Π½ΠΎ ΠΏΠΎΡΠ²ΠΈΠ»ΠΈΡΡ ΠΈ Π² Π‘Π¨Π ΠΈ Π² Π‘Π‘Π‘Π , ΠΎΠ΄Π½Π°ΠΊΠΎ ΡΠ°ΠΌΠ° ΠΈΠ΄Π΅Ρ ΡΠΎΠ³ΠΎ, ΡΡΠΎ ΡΠ°ΠΌΠΎΠ»ΡΡ, ΠΏΡΡΡΡ ΠΈ Ρ Π²Π΅ΡΡΠΌΠ° ΠΊΠΎΠΌΠΏΠ°ΠΊΡΠ½ΡΠΌ Π°ΡΠΎΠΌΠ½ΡΠΌ ΡΠ΅Π°ΠΊΡΠΎΡΠΎΠΌ Π½Π° ΡΠ²ΠΎΡΠΌ Π±ΠΎΡΡΡ ΠΌΠΎΠΆΠ΅Ρ ΡΠΏΠ°ΡΡΡ ΠΈ ΡΡΠΎ Π²ΠΏΠΎΡΠ»Π΅Π΄ΡΡΠ²ΠΈΠΈ ΠΏΡΠΈΠ²Π΅Π΄ΡΡ ΠΊ ΠΊΠ°ΡΠ°ΡΡΡΠΎΡΠ΅, Π·Π°ΡΡΠ°Π²ΠΈΠ»Π° ΠΎΡΠΊΠ°Π·Π°ΡΡΡΡ ΠΎΡ ΡΡΠΎΠΉ ΠΈΠ΄Π΅ΠΈ.
Π Π‘Π¨Π Π°ΡΠΎΠΌΠ½ΡΠΉ Π°Π²ΠΈΠ°ΡΠΈΠΎΠ½Π½ΡΠΉ Π΄Π²ΠΈΠ³Π°ΡΠ΅Π»Ρ ΠΏΡΠΈΠΌΠ΅Π½ΡΠ»ΡΡ Π½Π° ΡΠ°ΠΌΠΎΠ»ΡΡΠ΅ Convair NB-36H, Π° Π² Π‘Π‘Π‘Π Π½Π° ΡΠ°ΠΌΠΎΠ»ΡΡΠ°Ρ Π’Ρ-95 ΠΈ ΠΠ½-22.
Β
Π Π°ΠΊΠ΅ΡΠ½ΡΠ΅ Π°Π²ΠΈΠ° Π΄Π²ΠΈΠ³Π°ΡΠ΅Π»ΠΈ
Β
Β
ΠΠ΅ΡΠ²ΡΠ΅ ΡΠ°ΠΊΠ΅ΡΠ½ΡΠ΅ Π°Π²ΠΈΠ° Π΄Π²ΠΈΠ³Π°ΡΠ΅Π»ΠΈ ΠΏΠΎΡΠ²ΠΈΠ»ΠΈΡΡ Π² Π½Π°ΡΠ°Π»Π΅ 40 Π³ΠΎΠ΄ΠΎΠ² ΠΏΡΠΎΡΠ»ΠΎΠ³ΠΎ ΡΡΠΎΠ»Π΅ΡΠΈΡ Π² ΠΠ΅ΡΠΌΠ°Π½ΠΈΠΈ, ΠΊΠΎΠ³Π΄Π° Π½Π΅ΠΌΡΡ Π²ΡΠ΅ΠΌΠΈ ΡΡΠΈΠ»ΠΈΡΠΌΠΈ ΠΏΡΡΠ°Π»ΠΈΡΡ ΡΠΎΠ·Π΄Π°ΡΡ Π±ΡΡΡΡΡΠΉ ΡΠ°ΠΌΠΎΠ»ΡΡ, ΠΊΠΎΡΠΎΡΡΠΉ ΠΌΠΎΠ³ Π±Ρ ΠΏΡΠΈΠ½Π΅ΡΡΠΈ ΠΈΠΌ ΠΏΠΎΠ±Π΅Π΄Ρ Π²ΠΎ ΠΡΠΎΡΠΎΠΉ ΠΌΠΈΡΠΎΠ²ΠΎΠΉ Π²ΠΎΠΉΠ½Π΅. Π’Π΅ΠΌ Π½Π΅ ΠΌΠ΅Π½Π΅Π΅, ΡΡΠΎΠΈΡ ΠΎΡΠΌΠ΅ΡΠΈΡΡ, ΡΡΠΎ Π½Π°ΡΠΊΠ° Π² ΡΠ΅ Π³ΠΎΠ΄Ρ Π½Π΅ ΠΏΠΎΠ·Π²ΠΎΠ»ΡΠ»Π° ΡΠΎΠ²Π΅ΡΡΠΈΡΡ ΡΠΎΡΠ½ΡΠΉ ΡΠ°ΡΡΡΡ Π½Π΅ΠΊΠΎΡΠΎΡΡΡ
ΠΏΠ°ΡΠ°ΠΌΠ΅ΡΡΠΎΠ², ΠΏΠΎΡΡΠΎΠΌΡ ΠΏΡΠΎΠ΅ΠΊΡ ΡΠ°ΠΊ ΠΈ Π½Π΅ Π±ΡΠ» ΡΠ΅Π°Π»ΠΈΠ·ΠΎΠ²Π°Π½. ΠΠΏΠΎΡΠ»Π΅Π΄ΡΡΠ²ΠΈΠΈ ΡΠ°ΠΊΠ΅ΡΠ½ΡΠ΅ Π°Π²ΠΈΠ° Π΄Π²ΠΈΠ³Π°ΡΠ΅Π»ΠΈ ΠΈΡΠΏΡΡΡΠ²Π°Π»ΠΈΡΡ ΠΈΡΠΊΠ»ΡΡΠΈΡΠ΅Π»ΡΠ½ΠΎ Ρ Π²ΠΎΠ·ΠΌΠΎΠΆΠ½ΠΎΡΡΡΡ ΠΈΡ
ΠΏΡΠΈΠΌΠ΅Π½Π΅Π½ΠΈΡ Π΄Π»Ρ ΡΠ°Π·Π³ΠΎΠ½Π° ΡΠ°ΠΌΠΎΠ»ΡΡΠΎΠ² Π² ΡΡΡΠ°ΡΠΎΡΡΠ΅ΡΠ΅, Π½ΠΎ ΠΏΡΠΈΠΌΠ΅Π½ΠΈΠΌΠΎΡΡΡ ΠΈΡ
Π²Π΅ΡΡΠΌΠ° ΠΎΠ³ΡΠ°Π½ΠΈΡΠ΅Π½Π°, ΠΈ ΠΏΠΎΡΠΎΠΌΡ Π½Π° ΡΠ΅Π³ΠΎΠ΄Π½ΡΡΠ½ΠΈΠΉ Π΄Π΅Π½Ρ ΠΎΠ½ΠΈ ΠΏΡΠ°ΠΊΡΠΈΡΠ΅ΡΠΊΠΈ Π½Π΅ ΠΈΡΠΏΠΎΠ»ΡΠ·ΡΡΡΡΡ.
ΠΡΠ½ΠΎΠ²Π½ΡΠΌ Π½Π΅Π΄ΠΎΡΡΠ°ΡΠΊΠΎΠΌ ΡΠ°ΠΊΠ΅ΡΠ½ΠΎΠ³ΠΎ Π°Π²ΠΈΠ°ΡΠΈΠΎΠ½Π½ΠΎΠ³ΠΎ Π΄Π²ΠΈΠ³Π°ΡΠ΅Π»Ρ ΡΠ²Π»ΡΠ΅ΡΡΡ ΠΏΡΠ°ΠΊΡΠΈΡΠ΅ΡΠΊΠΈ ΠΏΠΎΠ»Π½ΠΎΠ΅ ΠΎΡΡΡΡΡΡΠ²ΠΈΠ΅ ΡΠΏΡΠ°Π²Π»ΡΠ΅ΠΌΠΎΡΡΠΈ Π½Π° Π²ΡΡΠΎΠΊΠΈΡ ΡΠΊΠΎΡΠΎΡΡΡΡ .
Β
Π Π΅Π°ΠΊΡΠΈΠ²Π½ΡΠ΅ Π°Π²ΠΈΠ° Π΄Π²ΠΈΠ³Π°ΡΠ΅Π»ΠΈ
Β
Β
Π Π΅Π°ΠΊΡΠΈΠ²Π½ΡΠ΅ Π΄Π²ΠΈΠ³Π°ΡΠ΅Π»ΠΈ Π²Π΅ΡΡΠΌΠ° ΡΠ°ΡΠΏΡΠΎΡΡΡΠ°Π½Π΅Π½Ρ Π½Π° ΡΠ΅Π³ΠΎΠ΄Π½ΡΡΠ½ΠΈΠΉ Π΄Π΅Π½Ρ Π² Π°Π²ΠΈΠ°ΡΠΈΠΈ ΠΈ Π°Π²ΠΈΠ°ΠΊΠΎΠ½ΡΡΡΡΠΊΡΠΎΡΡΠΊΠΎΠΌ Π΄Π΅Π»Π΅. ΠΡΠΈΠ½ΡΠΈΠΏ ΡΠ°Π±ΠΎΡΡ ΡΡΠΈΡ Π°Π²ΠΈΠ° Π΄Π²ΠΈΠ³Π°ΡΠ΅Π»Π΅ΠΉ ΠΎΡΠ½ΠΎΠ²ΡΠ²Π°Π΅ΡΡΡ Π½Π° ΡΠΎ, ΡΡΠΎ Π½Π΅ΠΎΠ±Ρ ΠΎΠ΄ΠΈΠΌΠ°Ρ ΡΡΠ³Π° Π΄Π»Ρ Π²ΠΎΠ·Π΄ΡΡΠ½ΠΎΠ³ΠΎ ΡΡΠ΄Π½Π° ΡΠΎΠ·Π΄Π°ΡΡΡΡ Π·Π° ΡΡΡΡ ΠΏΡΠ΅ΠΎΠ±ΡΠ°Π·ΠΎΠ²Π°Π½ΠΈΡ Π² ΠΊΠΈΠ½Π΅ΡΠΈΡΠ΅ΡΠΊΡΡ ΡΠ½Π΅ΡΠ³ΠΈΡ ΡΠ΅Π°ΠΊΡΠΈΠ²Π½ΡΡ ΡΡΡΡΠΈ Π²Π½ΡΡΡΠ΅Π½Π½Π΅ΠΉ ΡΠ½Π΅ΡΠ³ΠΈΠΈ Π°Π²ΠΈΠ°ΡΠΈΠΎΠ½Π½ΠΎΠ³ΠΎ ΡΠΎΠΏΠ»ΠΈΠ²Π°.
Π Π΅Π°ΠΊΡΠΈΠ²Π½ΡΠ΅ Π΄Π²ΠΈΠ³Π°ΡΠ΅Π»ΠΈ Π²Π΅ΡΡΠΌΠ° Π½Π°Π΄ΡΠΆΠ½Ρ ΠΈ ΡΡΡΠ΅ΠΊΡΠΈΠ²Π½Ρ ΠΈ ΠΏΠΎΡΠΎΠΌΡ Π² Π±Π»ΠΈΠΆΠ°ΠΉΡΠ΅Π΅ Π²ΡΠ΅ΠΌΡ ΡΡΠΎΠΈΡ ΠΎΠΆΠΈΠ΄Π°ΡΡ ΠΈΡ Π΄Π°Π»ΡΠ½Π΅ΠΉΡΠ΅Π³ΠΎ ΡΠΎΠ²Π΅ΡΡΠ΅Π½ΡΡΠ²ΠΎΠ²Π°Π½ΠΈΡ ΠΈ ΡΠ°Π·Π²ΠΈΡΠΈΡ.
Β
ΠΠ°Π·ΠΎΡΡΡΠ±ΠΈΠ½Π½ΡΠ΅ Π°Π²ΠΈΠ° Π΄Π²ΠΈΠ³Π°ΡΠ΅Π»ΠΈ
Β
Β
ΠΡΠΈΠ½ΡΠΈΠΏ ΡΠ°Π±ΠΎΡΡ Π³Π°Π·ΠΎΡΡΡΠ±ΠΈΠ½Π½ΠΎΠ³ΠΎ Π°Π²ΠΈΠ°ΡΠΈΠΎΠ½Π½ΠΎΠ³ΠΎ Π΄Π²ΠΈΠ³Π°ΡΠ΅Π»Ρ ΠΎΡΠ½ΠΎΠ²ΡΠ²Π°Π΅ΡΡΡ Π½Π° ΡΠΆΠ°ΡΠΈΠΈ ΠΈ Π½Π°Π³ΡΠ΅Π²Π΅ Π³Π°Π·Π°, ΡΠ½Π΅ΡΠ³ΠΈΡ ΠΊΠΎΡΠΎΡΠΎΠ³ΠΎ Π²ΠΏΠΎΡΠ»Π΅Π΄ΡΡΠ²ΠΈΠΈ ΠΏΡΠ΅ΠΎΠ±ΡΠ°Π·ΡΠ΅ΡΡΡ Π² ΠΌΠ΅Ρ
Π°Π½ΠΈΡΠ΅ΡΠΊΡΡ ΡΠ°Π±ΠΎΡΡ, Π·Π°ΡΡΠ°Π²Π»ΡΡ Π²ΡΠ°ΡΠ°ΡΡΡΡ Π³Π°Π·ΠΎΠ²ΡΡ ΡΡΡΠ±ΠΈΠ½Ρ. ΠΠ΅ΡΠ²ΡΠ΅ Π΄Π²ΠΈΠ³Π°ΡΠ΅Π»ΠΈ Π΄Π°Π½Π½ΠΎΠ³ΠΎ ΠΊΠ»Π°ΡΡΠ° ΠΏΠΎΡΠ²ΠΈΠ»ΠΈΡΡ Π² ΠΠ΅ΡΠΌΠ°Π½ΠΈΠΈ Π΅ΡΡ Π² Π½Π°ΡΠ°Π»Π΅ 40-Ρ
Π³ΠΎΠ΄ΠΎΠ² ΠΏΡΠΎΡΠ»ΠΎΠ³ΠΎ Π²Π΅ΠΊΠ°, ΠΈ Π½Π° ΡΠ΅Π³ΠΎΠ΄Π½ΡΡΠ½ΠΈΠΉ Π΄Π΅Π½Ρ ΠΎΠ½ΠΈ ΠΏΠΎ-ΠΏΡΠ΅ΠΆΠ½Π΅ΠΌΡ ΠΏΡΠΎΠ΄ΠΎΠ»ΠΆΠ°ΡΡ ΡΠΈΡΠΎΠΊΠΎ ΠΏΡΠΈΠΌΠ΅Π½ΡΡΡΡΡ Π² Π²ΠΎΠ΅Π½Π½ΠΎΠΉ Π°Π²ΠΈΠ°ΡΠΈΠΈ, Π² ΡΠ°ΡΡΠ½ΠΎΡΡΠΈ ΡΡΡΠ°Π½Π°Π²Π»ΠΈΠ²Π°ΡΡΡΡ Π½Π° ΡΠ°ΠΌΠΎΠ»ΡΡΠ°Ρ
Π‘Ρ-27, ΠΠΈΠ-29, F-22, F-35 ΠΈ Ρ.
Π΄.
ΠΠ°Π·ΠΎΡΡΡΠ±ΠΈΠ½Π½ΡΠ΅ Π°Π²ΠΈΠ° Π΄Π²ΠΈΠ³Π°ΡΠ΅Π»ΠΈ Π²Π΅ΡΡΠΌΠ° ΡΡΡΠ΅ΠΊΡΠΈΠ²Π½Ρ Π½Π° ΡΡΠ°Π²Π½ΠΈΡΠ΅Π»ΡΠ½ΠΎ Π½Π΅Π±ΠΎΠ»ΡΡΠΈΡ ΡΠΊΠΎΡΠΎΡΡΡΡ ΠΏΠ΅ΡΠ΅ΠΌΠ΅ΡΠ΅Π½ΠΈΡ Π²ΠΎΠ·Π΄ΡΡΠ½ΡΡ ΡΡΠ΄ΠΎΠ², ΠΈ ΠΏΠΎΡΠΎΠΌΡ ΠΈΡ ΠΏΡΠΈΠΌΠ΅Π½Π΅Π½ΠΈΠ΅ Π² Π³ΡΠ°ΠΆΠ΄Π°Π½ΡΠΊΠΎΠΉ Π°Π²ΠΈΠ°ΡΠΈΠΈ ΡΠ°ΠΊΠΆΠ΅ Π²Π΅ΡΡΠΌΠ° ΠΎΠ±ΠΎΡΠ½ΠΎΠ²Π°Π½Π½ΠΎ.
Β
Π’ΡΡΠ±ΠΎΠ²ΠΈΠ½ΡΠΎΠ²ΡΠ΅ Π°Π²ΠΈΠ° Π΄Π²ΠΈΠ³Π°ΡΠ΅Π»ΠΈ
Β
Β
Π’ΡΡΠ±ΠΎΠ²ΠΈΠ½ΡΠΎΠ²ΡΠ΅ Π°Π²ΠΈΠ° Π΄Π²ΠΈΠ³Π°ΡΠ΅Π»ΠΈ ΠΏΡΠ΅Π΄ΡΡΠ°Π²Π»ΡΡΡ ΡΠΎΠ±ΠΎΠΉ ΡΠ²ΠΎΠ΅ΠΎΠ±ΡΠ°Π·Π½ΡΡ ΡΠ°Π·Π½ΠΎΠ²ΠΈΠ΄Π½ΠΎΡΡΡ Π³Π°Π·ΠΎΡΡΡΠ±ΠΈΠ½Π½ΡΠΉ Π°Π²ΠΈΠ°ΡΠΈΠΎΠ½Π½ΡΡ Π΄Π²ΠΈΠ³Π°ΡΠ΅Π»Π΅ΠΉ, ΠΏΡΠΈΠ½ΡΠΈΠΏ Π΄Π΅ΠΉΡΡΠ²ΠΈΡ ΠΊΠΎΡΠΎΡΡΡ ΠΎΡΠ½ΠΎΠ²ΡΠ²Π°Π΅ΡΡΡ Π½Π° ΡΠΎΠΌ, ΡΡΠΎ ΡΠ½Π΅ΡΠ³ΠΈΡ Π³ΠΎΡΡΡΠΈΡ Π³Π°Π·ΠΎΠ² ΠΏΡΠ΅ΠΎΠ±ΡΠ°Π·ΡΠ΅ΡΡΡ Π²ΠΎ Π²ΡΠ°ΡΠ΅Π½ΠΈΠ΅ Π²ΠΈΠ½ΡΠ°, Π° ΠΎΠΊΠΎΠ»ΠΎ 10% ΠΎΡ ΡΠΎΠ²ΠΎΠΊΡΠΏΠ½ΠΎΠΉ ΡΠ½Π΅ΡΠ³ΠΈΠΈ ΠΏΡΠ΅Π²ΡΠ°ΡΠ°Π΅ΡΡΡ Π² ΡΠΎΠ»ΠΊΠ°ΡΡΡΡ ΡΠ΅Π°ΠΊΡΠΈΠ²Π½ΡΡ ΡΡΡΡΡ.
Π’ΡΡΠ±ΠΎΠ²ΠΈΠ½ΡΠΎΠ²ΡΠ΅ Π°Π²ΠΈΠ° Π΄Π²ΠΈΠ³Π°ΡΠ΅Π»ΠΈ ΠΈΠΌΠ΅ΡΡ Ρ ΠΎΡΠΎΡΠΈΠΉ ΠΠΠ ΠΈ Π½Π°Π΄ΡΠΆΠ½Ρ, ΡΡΠΎ Π΄Π΅Π»Π°Π΅Ρ ΠΈΡ ΡΡΡΠ΅ΠΊΡΠΈΠ²Π½ΡΠΌΠΈ ΠΈ ΠΏΡΠΈΠΌΠ΅Π½ΠΈΠΌΡΠΌΠΈ Π² Π³ΡΠ°ΠΆΠ΄Π°Π½ΡΠΊΠΎΠΉ Π°Π²ΠΈΠ°ΡΠΈΠΈ Π½Π° ΠΌΠ½ΠΎΠ³ΠΈΡ Π²ΠΎΠ·Π΄ΡΡΠ½ΡΡ ΡΡΠ΄Π°Ρ .
Β
ΠΡΠ»ΡΡΠΈΡΡΡΡΠΈΠ΅ Π²ΠΎΠ·Π΄ΡΡΠ½ΠΎ-ΡΠ΅Π°ΠΊΡΠΈΠ²Π½ΡΠ΅ Π°Π²ΠΈΠ° Π΄Π²ΠΈΠ³Π°ΡΠ΅Π»ΠΈ
Β
Β
ΠΡΠ»ΡΡΠΈΡΡΡΡΠΈΠ΅ Π²ΠΎΠ·Π΄ΡΡΠ½ΠΎ-ΡΠ΅Π°ΠΊΡΠΈΠ²Π½ΡΠ΅ Π΄Π²ΠΈΠ³Π°ΡΠ΅Π»ΠΈ Π½Π΅ Π½Π°ΡΠ»ΠΈ ΠΏΡΠΈΠΌΠ΅Π½Π΅Π½ΠΈΡ Π² ΡΠΎΠ²ΡΠ΅ΠΌΠ΅Π½Π½ΠΎΠΉ Π°Π²ΠΈΠ°ΡΠΈΠΈ ΠΈΠ·-Π·Π° Π½Π΅ΡΠ΄ΠΎΠ²Π»Π΅ΡΠ²ΠΎΡΠΈΡΠ΅Π»ΡΠ½ΠΎΠΉ ΡΠ²ΠΎΠ΅ΠΉ ΡΡΡΠ΅ΠΊΡΠΈΠ²Π½ΠΎΡΡΠΈ. ΠΠ»Π°Π²Π½ΠΎΠΉ ΠΎΡΠΎΠ±Π΅Π½Π½ΠΎΡΡΡΡ ΠΈΡ
ΡΡΠ½ΠΊΡΠΈΠΎΠ½ΠΈΡΠΎΠ²Π°Π½ΠΈΡ ΡΠ²Π»ΡΠ΅ΡΡΡ ΡΠΎ, ΡΡΠΎ ΡΠ°Π±ΠΎΡΠ°ΡΡ ΠΎΠ½ΠΈ Π½Π° ΠΏΡΠΈΠ½ΡΠΈΠΏΠ΅ Π²ΠΎΠ·Π΄ΡΡΠ½ΠΎ-ΡΠ΅Π°ΠΊΡΠΈΠ²Π½ΠΎΠ³ΠΎ Π΄Π²ΠΈΠ³Π°ΡΠ΅Π»Ρ.
Π‘ ΡΠΎΠΉ Π»ΠΈΡΡ ΡΠ°Π·Π½ΠΈΡΠ΅ΠΉ, ΡΡΠΎ ΡΠΎΠΏΠ»ΠΈΠ²ΠΎ Π² ΠΊΠ°ΠΌΠ΅ΡΡ ΡΠ³ΠΎΡΠ°Π½ΠΈΡ ΠΏΠΎΠ΄Π°ΡΡΡΡ ΠΏΠ΅ΡΠΈΠΎΠ΄ΠΈΡΠ΅ΡΠΊΠΈ, ΡΠΎΠ·Π΄Π°Π²Π°Ρ ΡΠ²ΠΎΠ΅ΠΎΠ±ΡΠ°Π·Π½ΡΠ΅ ΠΈΠΌΠΏΡΠ»ΡΡΡ, ΠΏΠΎΠ·Π²ΠΎΠ»ΡΡΡΠΈΠ΅ Π΄Π²ΠΈΠ³Π°ΡΡ ΠΎΠ±ΡΠ΅ΠΊΡ Π² Π·Π°Π΄Π°Π½Π½ΠΎΠΌ Π½Π°ΠΏΡΠ°Π²Π»Π΅Π½ΠΈΠΈ.
ΠΡΠ»ΡΡΠΈΡΡΡΡΠΈΠ΅ Π²ΠΎΠ·Π΄ΡΡΠ½ΠΎ-ΡΠ΅Π°ΠΊΡΠΈΠ²Π½ΡΠ΅ Π΄Π²ΠΈΠ³Π°ΡΠ΅Π»ΠΈ ΡΡΡΠ΅ΠΊΡΠΈΠ²Π½Ρ Π»ΠΈΡΡ ΠΏΡΠΈ ΠΎΠ΄Π½ΠΎΠΊΡΠ°ΡΠ½ΠΎΠΌ ΡΠ²ΠΎΡΠΌ ΠΈΡΠΏΠΎΠ»ΡΠ·ΠΎΠ²Π°Π½ΠΈΠΈ, Π² ΠΏΠΎΡΠ»Π΅Π΄ΡΡΡΠΈΡ ΠΆΠ΅ ΡΠ»ΡΡΠ°ΡΡ , ΠΈΡ ΠΈΡΠΏΠΎΠ»ΡΠ·ΠΎΠ²Π°Π½ΠΈΠ΅ ΡΠ½ΠΈΠΆΠ°Π΅Ρ ΠΈ ΡΠ°ΠΌΡ Π½Π°Π΄ΡΠΆΠ½ΠΎΡΡΡ ΠΈ ΡΠ²Π΅Π»ΠΈΡΠΈΠ²Π°Π΅Ρ Π·Π°ΡΡΠ°ΡΡ.
Β
Π’ΡΡΠ±ΠΎΠ²Π΅Π½ΡΠΈΠ»ΡΡΠΎΡΠ½ΡΠ΅ Π°Π²ΠΈΠ° Π΄Π²ΠΈΠ³Π°ΡΠ΅Π»ΠΈ
Β
Β
ΠΡΠΈΠ½ΡΠΈΠΏ ΡΠ°Π±ΠΎΡΡ ΡΡΡΠ±ΠΎΠ²Π΅Π½ΡΠΈΠ»ΡΡΠΎΡΠ½ΡΡ Π°Π²ΠΈΠ°ΡΠΈΠΎΠ½Π½ΡΡ Π΄Π²ΠΈΠ³Π°ΡΠ΅Π»Π΅ΠΉ ΡΠ²ΠΎΠ΄ΠΈΡΡΡ ΠΊ ΡΠΎΠΌΡ, ΡΡΠΎ ΠΏΠΎΠ΄Π°Π²Π°Π΅ΠΌΡΠΉ Π·Π° ΡΡΡΡ Π²Π΅Π½ΡΠΈΠ»ΡΡΠΎΡΠ° Π²ΠΎΠ·Π΄ΡΡ . ΠΠ±Π΅ΡΠΏΠ΅ΡΠΈΠ²Π°Π΅Ρ ΠΏΠΎΠ»Π½ΠΎΠ΅ ΡΠ³ΠΎΡΠ°Π½ΠΈΠ΅ ΡΠΎΠΏΠ»ΠΈΠ²Π° Π·Π° ΡΡΡΡ ΠΈΠ·Π±ΡΡΠΊΠ° ΠΊΠΈΡΠ»ΠΎΡΠΎΠ΄Π°, ΡΡΠΎ Π΄Π΅Π»Π°Π΅Ρ ΡΠ°ΠΊΠΈΠ΅ Π°Π²ΠΈΠ° Π΄Π²ΠΈΠ³Π°ΡΠ΅Π»ΠΈ ΠΈ Π±ΠΎΠ»Π΅Π΅ ΡΡΡΠ΅ΠΊΡΠΈΠ²Π½ΡΠΌΠΈ ΠΈ Π² ΡΠΎΠΆΠ΅ Π²ΡΠ΅ΠΌΡ Π½Π°ΠΈΠ±ΠΎΠ»Π΅Π΅ ΡΠΊΠΎΠ»ΠΎΠ³ΠΈΡΠ΅ΡΠΊΠΈ ΡΠΈΡΡΡΠΌΠΈ. ΠΡΠΈΠΌΠ΅Π½ΡΡΡΡΡ ΠΏΠΎΠ΄ΠΎΠ±Π½ΡΠ΅ ΡΡΡΠ±ΠΎΠ²Π΅Π½ΡΠΈΠ»ΡΡΠΎΡΠ½ΡΠ΅ Π°Π²ΠΈΠ° Π΄Π²ΠΈΠ³Π°ΡΠ΅Π»ΠΈ ΠΊΠ°ΠΊ ΠΏΡΠ°Π²ΠΈΠ»ΠΎ Π½Π° ΠΊΡΡΠΏΠ½ΡΡ Π°Π²ΠΈΠ°Π»Π°ΠΉΠ½Π΅ΡΠ°Ρ , ΡΠ°ΠΊ ΠΊΠ°ΠΊ ΠΏΡΠ°ΠΊΡΠΈΡΠ΅ΡΠΊΠΈ Π²ΡΠ΅Π³Π΄Π° Ρ Π½ΠΈΡ ΠΈΠΌΠ΅Π΅ΡΡΡ Π±ΠΎΠ»ΡΡΠ°Ρ ΠΊΠΎΠ½ΡΡΡΡΠΊΡΠΈΡ Π·Π° ΡΡΡΡ Π½Π΅ΠΎΠ±Ρ ΠΎΠ΄ΠΈΠΌΠΎΡΡΠΈ Π½Π°Π³Π½Π΅ΡΠ°Π½ΠΈΡ Π΄ΠΎΠΏΠΎΠ»Π½ΠΈΡΠ΅Π»ΡΠ½ΠΎΠ³ΠΎ ΠΎΠ±ΡΡΠΌΠ° Π²ΠΎΠ·Π΄ΡΡ Π°.
Π’ΠΈΠΏΡ ΡΡΠ΄ΠΎΠ²ΡΡ Π΄Π²ΠΈΠ³Π°ΡΠ΅Π»Π΅ΠΉ | Yanmar Russia
ΠΠΎΠΌΠΏΠ°Π½ΠΈΡ Yanmar ΠΏΡΠΎΠΈΠ·Π²ΠΎΠ΄ΠΈΡ ΡΡΠ΄ΠΎΠ²ΡΠ΅ Π΄Π²ΠΈΠ³Π°ΡΠ΅Π»ΠΈ Π΄Π»Ρ ΠΊΠΎΠΌΠΌΠ΅ΡΡΠ΅ΡΠΊΠΎΠ³ΠΎ ΡΡΠ΄ΠΎΡ
ΠΎΠ΄ΡΡΠ²Π° (commercial marine) ΠΈ Π΄Π»Ρ ΠΏΡΠΎΠ³ΡΠ»ΠΎΡΠ½ΠΎΠ³ΠΎ ΡΡΠ΄ΠΎΡ
ΠΎΠ΄ΡΡΠ²Π° (marine pleasure).
Π Π°ΡΡΠΌΠΎΡΡΠΈΠΌ ΠΏΡΠ΅Π΄ΡΡΠ°Π²Π»Π΅Π½Π½ΡΠ΅Β ΠΊΠΎΠΌΠΌΠ΅ΡΡΠ΅ΡΠΊΠΈΠ΅ ΡΡΠ΄ΠΎΠ²ΡΠ΅ Π΄Π²ΠΈΠ³Π°ΡΠ΅Π»ΠΈ.
Π’ΠΈΠΏΡ ΡΡΠ΄ΠΎΠ²ΡΡ Π΄Π²ΠΈΠ³Π°ΡΠ΅Π»Π΅ΠΉ Π΄Π»Ρ ΠΊΠΎΠΌΠΌΠ΅ΡΡΠ΅ΡΠΊΠΎΠ³ΠΎ ΠΈΡΠΏΠΎΠ»ΡΠ·ΠΎΠ²Π°Π½ΠΈΡ
Π ΠΊΠ°ΡΠ°Π»ΠΎΠ³Π΅ Yanmar ΠΏΡΠ΅Π΄ΡΡΠ°Π²Π»Π΅Π½Ρ ΡΡΠ΄ΠΎΠ²ΡΠ΅ Π΄ΠΈΠ·Π΅Π»ΡΠ½ΡΠ΅ Π΄Π²ΠΈΠ³Π°ΡΠ΅Π»ΠΈΒ Π΄Π²ΡΡ ΠΊΠ°ΡΠ΅Π³ΠΎΡΠΈΠΉ:
- ΠΡΠΎΠΏΡΠ»ΡΡΠΈΠ²Π½ΡΠ΅ (Π³Π»Π°Π²Π½ΡΠ΅)
- ΠΡΠΏΠΎΠΌΠΎΠ³Π°ΡΠ΅Π»ΡΠ½ΡΠ΅
ΠΠΎ ΡΠ°ΡΡΠΎΡΠ΅ Π²ΡΠ°ΡΠ΅Π½ΠΈΡ ΠΊΠΎΠ»Π΅Π½Π²Π°Π»Π° ΡΡΠ΅Π΄ΠΈ Π½ΠΈΡ Π²ΡΠ΄Π΅Π»ΡΡΡ:
- Π‘ΡΠ΅Π΄Π½Π΅ΠΎΠ±ΠΎΡΠΎΡΠ½ΡΠ΅, ΡΠ°ΡΡΠΎΡΠ° Π²ΡΠ°ΡΠ΅Π½ΠΈΡ ΠΊΠΎΡΠΎΡΡΡ ΡΠΎΡΡΠ°Π²Π»ΡΠ΅Ρ 620-1350 ΠΎΠ±/ΠΌΠΈΠ½.
- ΠΡΡΠΎΠΊΠΎΠΎΠ±ΠΎΡΠΎΡΠ½ΡΠ΅, Ρ ΡΠ°ΡΡΠΎΡΠΎΠΉ Π²ΡΠ°ΡΠ΅Π½ΠΈΡ ΠΎΡ 1840 ΠΎΠ±/ΠΌΠΈΠ½.
ΠΡΡΠΎΠΊΠΎΠΎΠ±ΠΎΡΠΎΡΠ½ΡΠ΅ ΠΌΠΎΠ΄Π΅Π»ΠΈ Yanmar ΠΈΠΌΠ΅ΡΡ ΠΌΠΎΡΠ½ΠΎΡΡΡ 21-1340 ΠΊΠΡ, ΡΡΠ΅Π΄Π½Π΅ΠΎΠ±ΠΎΡΠΎΡΠ½ΡΠ΅ — 374-3310 ΠΊΠΡ.
ΠΡΠΎΠΏΡΠ»ΡΡΠΈΠ²Π½ΡΠ΅ Π΄Π²ΠΈΠ³Π°ΡΠ΅Π»ΠΈ
ΠΡΠΎΠΏΡΠ»ΡΡΠΈΠ²Π½ΠΎΠΉ ΡΡΡΠ°Π½ΠΎΠ²ΠΊΠΎΠΉ ΠΈΠΌΠ΅Π½ΡΠ΅ΡΡΡ ΡΠΎΠ²ΠΎΠΊΡΠΏΠ½ΠΎΡΡΡ Π½Π΅ΡΠΊΠΎΠ»ΡΠΊΠΈΡ ΡΠΈΠ»ΠΎΠ²ΡΡ ΡΠ»Π΅ΠΌΠ΅Π½ΡΠΎΠ²: Π³Π»Π°Π²Π½ΠΎΠ³ΠΎ Π΄Π²ΠΈΠ³Π°ΡΠ΅Π»Ρ (ΠΠ), Π²Π°Π»ΠΎΠΏΡΠΎΠ²ΠΎΠ΄Π°, Π³ΡΠ΅Π±Π½ΠΎΠ³ΠΎ Π²ΠΈΠ½ΡΠ° (Π΄Π²ΠΈΠΆΠΈΡΠ΅Π»Ρ).
ΠΠ»Π°Π²Π½ΡΠΉ ΡΡΠ΄ΠΎΠ²ΡΠΉ Π΄Π²ΠΈΠ³Π°ΡΠ΅Π»Ρ β ΡΡΠΎ ΠΎΡΠ½ΠΎΠ²Π½ΠΎΠΉ ΡΠΈΠ»ΠΎΠ²ΠΎΠΉ Π°Π³ΡΠ΅Π³Π°Ρ, Π±Π»Π°Π³ΠΎΠ΄Π°ΡΡ ΠΊΠΎΡΠΎΡΠΎΠΌΡ ΠΎΠ±Π΅ΡΠΏΠ΅ΡΠΈΠ²Π°Π΅ΡΡΡ Π²ΡΠ°ΡΠ΅Π½ΠΈΠ΅ Π³ΡΠ΅Π±Π½ΠΎΠ³ΠΎ Π²ΠΈΠ½ΡΠ° (Ρ
ΠΎΠ΄ ΡΡΠ΄Π½Π°) ΠΈ ΡΠ»Π΅ΠΊΡΡΠΈΡΠ΅ΡΠΊΠΎΠ³ΠΎ Π³Π΅Π½Π΅ΡΠ°ΡΠΎΡΠ° (ΡΠ°ΡΡΠΈΡΠ½ΠΎ Π»ΠΈΠ±ΠΎ ΠΏΠΎΠ»Π½ΠΎΡΡΡΡ, Π² Π·Π°Π²ΠΈΡΠΈΠΌΠΎΡΡΠΈ ΠΎΡ ΠΊΠΎΠ½ΡΡΡΡΠΊΡΠΈΠΈ).
Π ΡΡΠ΄ΠΎΠ²ΡΠΌ Π΄ΠΈΠ·Π΅Π»ΡΠΌ Π»ΡΠ±ΠΎΠΉ ΠΌΠΎΠ΄ΠΈΡΠΈΠΊΠ°ΡΠΈΠΈ ΠΏΡΠ΅Π΄ΡΡΠ²Π»ΡΡΡΡΡ ΠΎΠΏΡΠ΅Π΄Π΅Π»Π΅Π½Π½ΡΠ΅ ΡΡΠ΅Π±ΠΎΠ²Π°Π½ΠΈΡ, Π½Π°ΠΈΠ±ΠΎΠ»Π΅Π΅ Π²Π°ΠΆΠ½ΡΠΌ ΠΈΠ· ΠΊΠΎΡΠΎΡΡΡ
ΡΠ²Π»ΡΠ΅ΡΡΡ Π±Π΅Π·ΠΎΡΠΊΠ°Π·Π½ΠΎΡΡΡ ΡΠ°Π±ΠΎΡΡ, Π΄Π»ΠΈΡΠ΅Π»ΡΠ½ΠΎΡΡΡ Π²ΡΠ΅ΠΌΠ΅Π½ΠΈ Π½Π°ΡΠ°Π±ΠΎΡΠΊΠΈ Π½Π° ΠΎΡΠΊΠ°Π·.Β
ΠΠ°Π·Π½Π°ΡΠ΅Π½ΠΈΠ΅ Π³Π»Π°Π²Π½ΡΡ ΠΏΠ΅ΡΠ΅Π΄Π°Ρ β ΠΏΠ΅ΡΠ΅Π½ΠΎΡ ΡΠ½Π΅ΡΠ³ΠΈΠΈ Π²ΡΠ°ΡΠ΅Π½ΠΈΡ Ρ Π²Π°Π»Π° ΡΠΈΠ»ΠΎΠ²ΠΎΠ³ΠΎ Π°Π³ΡΠ΅Π³Π°ΡΠ° Π²ΡΠ΅ΠΌ ΠΏΠΎΡΡΠ΅Π±ΠΈΡΠ΅Π»ΡΠΌ, Π² ΡΠ»ΡΡΠ°Π΅ ΠΎΠ΄Π½ΠΎΠ²ΡΠ΅ΠΌΠ΅Π½Π½ΠΎΠ³ΠΎ ΠΈΡΠΏΠΎΠ»ΡΠ·ΠΎΠ²Π°Π½ΠΈΡ Π½Π΅ΡΠΊΠΎΠ»ΡΠΊΠΈΡ ΠΠ β ΡΡΠΌΠΌΠΈΡΠΎΠ²Π°Π½ΠΈΠ΅ ΠΈΡ ΠΌΠΎΡΠ½ΠΎΡΡΠΈ. Π€ΡΠ½ΠΊΡΠΈΠ΅ΠΉ Π²Π°Π»ΠΎΠΏΡΠΎΠ²ΠΎΠ΄Π° ΡΠ²Π»ΡΠ΅ΡΡΡ ΠΏΠ΅ΡΠ΅Π΄Π°ΡΠ° Π²ΡΠ°ΡΠ°ΡΡΠ΅Π³ΠΎ ΠΌΠΎΠΌΠ΅Π½ΡΠ° ΠΊ Π³ΡΠ΅Π±Π½ΠΎΠΌΡ Π²ΠΈΠ½ΡΡ. ΠΠ²ΠΈΠΆΠ΅Π½ΠΈΠ΅ ΡΡΠ΄Π½Π° Ρ Π·Π°Π΄Π°Π½Π½ΠΎΠΉ ΡΠΊΠΎΡΠΎΡΡΡΡ ΠΎΠ±Π΅ΡΠΏΠ΅ΡΠΈΠ²Π°Π΅ΡΡΡ Π³ΡΠ΅Π±Π½ΡΠΌ Π²ΠΈΠ½ΡΠΎΠΌ, ΠΏΡΠ΅ΠΎΠ±ΡΠ°Π·ΡΡΡΠΈΠΉ ΡΠ½Π΅ΡΠ³ΠΈΡ Π²ΡΠ°ΡΠ΅Π½ΠΈΡ Π² ΡΠΏΠΎΡ ΠΊ ΡΡΠ΄ΠΎΠ²ΠΎΠΌΡ ΠΊΠΎΡΠΏΡΡΡ.
ΠΡΠΏΠΎΠΌΠΎΠ³Π°ΡΠ΅Π»ΡΠ½ΡΠ΅ ΡΡΠ΄ΠΎΠ²ΡΠ΅ Π΄Π²ΠΈΠ³Π°ΡΠ΅Π»ΠΈ
ΠΡΠΏΠΎΠΌΠΎΠ³Π°ΡΠ΅Π»ΡΠ½ΡΠ΅ ΡΡΠ΄ΠΎΠ²ΡΠ΅ Π΄ΠΈΠ·Π΅Π»ΠΈ ΡΠ»ΡΠΆΠ°Ρ Π΄Π»Ρ ΠΎΠ±Π΅ΡΠΏΠ΅ΡΠ΅Π½ΠΈΡ ΡΡΠ½ΠΊΡΠΈΠΎΠ½ΠΈΡΠΎΠ²Π°Π½ΠΈΡ Π³Π΅Π½Π΅ΡΠ°ΡΠΎΡΠΎΠ² ΡΡΠ΄ΠΎΠ²ΡΡ ΡΠ»Π΅ΠΊΡΡΠΎΡΡΠ°Π½ΡΠΈΠΉ ΠΈ ΠΏΡΠΎΡΠ΅Π³ΠΎ ΡΠ»Π΅ΠΊΡΡΠΎΠΎΠ±ΠΎΡΡΠ΄ΠΎΠ²Π°Π½ΠΈΡ, Π½Π΅ΠΎΠ±Ρ ΠΎΠ΄ΠΈΠΌΠΎΠ³ΠΎ Π΄Π»Ρ ΠΏΡΠΎΠΈΠ·Π²ΠΎΠ΄ΡΡΠ²Π° ΡΠ°Π·Π»ΠΈΡΠ½ΡΡ Π²ΠΈΠ΄ΠΎΠ² ΡΠ°Π±ΠΎΡ Π½Π° ΠΏΠ»Π°Π²ΡΡΠ΅Π΄ΡΡΠ²Π΅, Π½Π°ΠΏΡΠΈΠΌΠ΅Ρ, ΠΊΠΎΠΌΠΏΡΠ΅ΡΡΠΎΡΠΎΠ², Π½Π°ΡΠΎΡΠΎΠ².Β
ΠΡΠΏΠΎΠΌΠΎΠ³Π°ΡΠ΅Π»ΡΠ½ΡΠ΅ ΠΠΠ‘ Π²ΡΠΏΠΎΠ»Π½ΡΡΡ ΡΡΠ΄ Π²Π°ΠΆΠ½ΡΡ ΡΡΠ½ΠΊΡΠΈΠΉ:
- ΠΎΠ±Π΅ΡΠΏΠ΅ΡΠΈΠ²Π°ΡΡ ΡΠ°Π±ΠΎΡΡ ΡΠ΅Π½ΡΡΠ°Π»ΡΠ½ΠΎΠΉ ΡΠ½Π΅ΡΠ³ΠΎΡΡΡΠ°Π½ΠΎΠ²ΠΊΠΈ ΠΊΠΎΡΠ°Π±Π»Ρ;
- ΠΏΠΈΡΠ°ΡΡ ΠΎΡΠ΄Π΅Π»ΡΠ½ΡΠ΅ ΡΠΈΡΡΠ΅ΠΌΡ ΡΡΠ΄Π½Π°;
-
ΠΎΠ±Π΅ΡΠΏΠ΅ΡΠΈΠ²Π°ΡΡ ΡΠ½Π΅ΡΠ³ΠΈΠ΅ΠΉ ΠΌΠ΅Ρ
Π°Π½ΠΈΠ·ΠΌΡ ΠΈ ΡΠ·Π»Ρ.

ΠΡΠΈΠΌΠ΅Π½Π΅Π½ΠΈΠ΅
ΠΡΡΠΎΠΊΠΎΠΎΠ±ΠΎΡΠΎΡΠ½ΡΠ΅ Π΄ΠΈΠ·Π΅Π»ΡΠ½ΡΠ΅ Π΄Π²ΠΈΠ³Π°ΡΠ΅Π»ΠΈ ΡΡΡΠ°Π½Π°Π²Π»ΠΈΠ²Π°ΡΡ Π½Π° Π±ΠΎΠ»ΡΡΠΈΠ΅ ΡΡΠ΄Π° Π² ΠΊΠ°ΡΠ΅ΡΡΠ²Π΅ Π²ΡΠΏΠΎΠΌΠΎΠ³Π°ΡΠ΅Π»ΡΠ½ΡΡ , Π² ΡΠΎΡΡΠ°Π²Π΅ ΡΠ½Π΅ΡΠ³Π΅ΡΠΈΡΠ΅ΡΠΊΠΎΠΉ ΡΡΡΠ°Π½ΠΎΠ²ΠΊΠΈ ΠΈ Π½Π° Π½Π΅Π±ΠΎΠ»ΡΡΠΈΠ΅ ΡΡΠ΄Π°Ρ Π² ΠΊΠ°ΡΠ΅ΡΡΠ²Π΅ Π³Π»Π°Π²Π½ΡΡ . Π‘ΡΠ΅Π΄Π½Π΅ΠΎΠ±ΠΎΡΠΎΡΠ½ΡΠ΅ ΠΏΡΠΈΠΌΠ΅Π½ΡΡΡ Π½Π° ΠΏΠ°ΡΡΠ°ΠΆΠΈΡΡΠΊΠΈΡ ΠΈ ΡΠ°Π±ΠΎΡΠΈΡ ΠΏΠ»Π°Π²ΡΡΠ΅Π΄ΡΡΠ²Π°Ρ , ΡΡΠ΄Π°Ρ ΠΌΠΎΡΡΠΊΠΎΠ³ΠΎ ΡΠ»ΠΎΡΠ°, ΡΡΠ°ΡΠ»Π΅ΡΠ°Ρ . ΠΠ°Π»ΠΎΠΎΠ±ΠΎΡΠΎΡΠ½ΡΠ΅ Π΄ΠΈΠ·Π΅Π»ΠΈ ΠΌΠΎΠ³ΡΡ ΠΏΡΠΈΠΌΠ΅Π½ΡΡΡΡΡ Π½Π° ΡΡΠ΄Π°Ρ Π»ΡΠ±ΠΎΠ³ΠΎ ΡΠΈΠΏΠ° ΠΈ Π²ΠΎΠ΄ΠΎΠΈΠ·ΠΌΠ΅ΡΠ΅Π½ΠΈΡ.
Π’ΠΈΠΏΡ ΡΠ»Π΅ΠΊΡΡΠΎΠ΄Π²ΠΈΠ³Π°ΡΠ΅Π»Π΅ΠΉ — ΠΠ΄Π½ΠΎΡΠ°Π·Π½ΡΠ΅ ΡΠ»Π΅ΠΊΡΡΠΎΠ΄Π²ΠΈΠ³Π°ΡΠ΅Π»ΠΈ , ΡΠ»Π΅ΠΊΡΡΠΎΠ΄Π²ΠΈΠ³Π°ΡΠ΅Π»ΠΈ ΠΏΠΎΡΡΠΎΡΠ½Π½ΠΎΠ³ΠΎ ΡΠΎΠΊΠ°, Π°ΡΠΈΠ½Ρ ΡΠΎΠ½Π½ΡΠ΅ Π΄Π²ΠΈΠ³Π°ΡΠ΅Π»ΠΈ
ΠΠ»Π΅ΠΊΡΡΠΎΠ΄Π²ΠΈΠ³Π°ΡΠ΅Π»Ρ β ΡΡΠΎ ΡΠ»Π΅ΠΊΡΡΠΈΡΠ΅ΡΠΊΠ°Ρ ΠΌΠ°ΡΠΈΠ½Π°, ΡΠ»ΡΠΆΠ°ΡΠ°Ρ Π΄Π»Ρ ΠΏΡΠ΅ΠΎΠ±ΡΠ°Π·ΠΎΠ²Π°Π½ΠΈΡ ΡΠ»Π΅ΠΊΡΡΠΈΡΠ΅ΡΠΊΠΎΠΉ ΡΠ½Π΅ΡΠ³ΠΈΠΈ Π² ΠΌΠ΅Ρ Π°Π½ΠΈΡΠ΅ΡΠΊΡΡ ΡΠ½Π΅ΡΠ³ΠΈΡ. ΠΠ»Π΅ΠΊΡΡΠΎΠ΄Π²ΠΈΠ³Π°ΡΠ΅Π»Ρ ΡΠ°Π±ΠΎΡΠ°Π΅Ρ Π½Π° ΠΎΡΠ½ΠΎΠ²Π΅Β ΠΏΡΠΈΠ½ΡΠΈΠΏΠ° ΡΠ»Π΅ΠΊΡΡΠΎΠΌΠ°Π³Π½ΠΈΡΠ½ΠΎΠΉ ΠΈΠ½Π΄ΡΠΊΡΠΈΠΈ.
Π‘ΡΡΠ΅ΡΡΠ²ΡΠ΅Ρ ΠΌΠ½ΠΎΠΆΠ΅ΡΡΠ²ΠΎ Π²ΠΈΠ΄ΠΎΠ² ΡΠ»Π΅ΠΊΡΡΠΎΠ΄Π²ΠΈΠ³Π°ΡΠ΅Π»Π΅ΠΉ, ΡΠ°Π·Π»ΠΈΡΠ°ΡΡΠΈΡ ΡΡ ΠΏΠΎ ΠΊΠΎΠ½ΡΡΡΡΠΊΡΠΈΠΈ, ΠΏΡΠΈΠ½ΡΠΈΠΏΡ Π΄Π΅ΠΉΡΡΠ²ΠΈΡ,Β ΠΈΡΠΏΠΎΠ»Π½Π΅Π½ΠΈΡ ΠΈ Π΄ΡΡΠ³ΠΈΠΌ Ρ Π°ΡΠ°ΠΊΡΠ΅ΡΠΈΡΡΠΈΠΊΠ°ΠΌ.Β Π Π°Π·Π»ΠΈΡΠ°ΡΡ ΠΎΡΠ½ΠΎΠ²Π½ΡΠ΅ Π²ΠΈΠ΄Ρ ΡΠ»Π΅ΠΊΡΡΠΎΠ΄Π²ΠΈΠ³Π°ΡΠ΅Π»Π΅ΠΉ:
ΠΠΎ ΡΠΈΠΏΡΒ ΠΏΡΠΎΡΠ΅ΠΊΠ°ΡΡΠ΅Π³ΠΎ ΡΠΎΠΊΠ° Π΄Π²ΠΈΠ³Π°ΡΠ΅Π»ΠΈ ΡΠ°Π·Π»ΠΈΡΠ°ΡΡ:
- ΠΠ»Π΅ΠΊΡΡΠΎΠ΄Π²ΠΈΠ³Π°ΡΠ΅Π»ΠΈ ΠΏΠΎΡΡΠΎΡΠ½Π½ΠΎΠ³ΠΎ ΡΠΎΠΊΠ°.
Β Π¨ΠΈΡΠΎΠΊΠΎ ΠΈΡΠΏΠΎΠ»ΡΠ·ΡΡΡΒ Π² ΠΊΠ°ΡΠ΅ΡΡΠ²Π΅Β ΠΏΡΠΎΠΌΡΡΠ»Π΅Π½Π½ΠΎΠ³ΠΎ ΠΎΠ±ΠΎΡΡΠ΄ΠΎΠ²Π°Π½ΠΈΡ,Β ΠΏΡΠΈΠ²ΠΎΠ΄Π° ΡΠ»Π΅ΠΊΡΡΠΎΡΡΠ°Π½ΡΠΏΠΎΡΡΠ° ΠΈ ΠΌΠΈΠΊΡΠΎΠΏΡΠΈΠ²ΠΎΠ΄Π° ΠΈΡΠΏΠΎΠ»Π½ΠΈΡΠ΅Π»ΡΠ½ΡΡ
ΠΌΠ΅Ρ
Π°Π½ΠΈΠ·ΠΌΠΎΠ². - ΠΠ»Π΅ΠΊΡΡΠΎΠ΄Π²ΠΈΠ³Π°ΡΠ΅Π»ΠΈ ΠΏΠ΅ΡΠ΅ΠΌΠ΅Π½Π½ΠΎΠ³ΠΎ ΡΠΎΠΊΠ°.Β ΠΠ°ΡΠ»ΠΈ ΡΠΈΡΠΎΠΊΠΎΠ΅ ΠΏΡΠΈΠΌΠ΅Π½Π΅Π½ΠΈΠ΅Β Π΄Π»Ρ ΠΏΡΠΈΠ²ΠΎΠ΄ΠΎΠ² Π²ΡΠ΅Ρ ΡΠΈΠΏΠΎΠ² ΡΠ΅Ρ Π½ΠΎΠ»ΠΎΠ³ΠΈΡΠ΅ΡΠΊΠΎΠ³ΠΎ ΠΎΠ±ΠΎΡΡΠ΄ΠΎΠ²Π°Π½ΠΈΡ, Π°Π²ΡΠΎΠΌΠ°ΡΠΈΡΠ΅ΡΠΊΠΈΡ ΡΠ΅Π³ΡΠ»ΡΡΠΎΡΠΎΠ²,Β ΡΠ»Π΅ΠΊΡΡΠΎΠΈΠ½ΡΡΡΡΠΌΠ΅Π½ΡΠΎΠ².Β
ΠΠΎ ΠΊΠΎΠ½ΡΡΡΡΠΊΡΠΈΠΈ ΡΠ»Π΅ΠΊΡΡΠΈΡΠ΅ΡΠΊΠΈΠ΅ ΠΌΠ°ΡΠΈΠ½Ρ ΡΠ°Π·Π»ΠΈΡΠ°ΡΡΒ Ρ Π²Π΅ΡΡΠΈΠΊΠ°Π»ΡΠ½ΠΎ ΠΈ Π³ΠΎΡΠΈΠ·ΠΎΠ½ΡΠ°Π»ΡΠ½ΠΎ ΡΠ°ΡΠΏΠΎΠ»ΠΎΠΆΠ΅Π½Π½ΡΠΌ Π²Π°Π»ΠΎΠΌ. ΠΠ»Π΅ΠΊΡΡΠΎΠ΄Π²ΠΈΠ³Π°ΡΠ΅Π»ΠΈ ΡΠ°ΠΊΠΆΠ΅ ΠΊΠ»Π°ΡΡΠΈΡΠΈΡΠΈΡΡΡΡ ΠΏΠΎ ΠΌΠΎΡΠ½ΠΎΡΡΠΈ, ΠΊΠ»ΠΈΠΌΠ°ΡΠΈΡΠ΅ΡΠΊΠΎΠΌΡ ΠΈΡΠΏΠΎΠ»Π½Π΅Π½ΠΈΡ, ΡΡΠ΅ΠΏΠ΅Π½ΠΈ Π·Π°ΡΠΈΡΡ,Β Π½Π°Π·Π½Π°ΡΠ΅Π½ΠΈΡ ΠΈ Π΄ΡΡΠ³ΠΈΠΌ Ρ Π°ΡΠ°ΠΊΡΠ΅ΡΠΈΡΡΠΈΠΊΠ°ΠΌ.
Π‘ΠΎ Π²ΡΠ΅ΠΌΠΈ ΡΠΈΠΏΠ°ΠΌΠΈ ΡΠ»Π΅ΠΊΡΡΠΎΠ΄Π²ΠΈΠ³Π°ΡΠ΅Π»Π΅ΠΉ Π²Ρ ΠΌΠΎΠΆΠ΅ΡΠ΅ ΠΏΠΎΠ·Π½Π°ΠΊΠΎΠΌΠΈΡΡΡΡ Π½Π° ΠΈΠ½ΡΠΎΡΠΌΠ°ΡΠΈΠΎΠ½Π½ΠΎΠΌ ΠΏΠΎΡΡΠ°Π»Π΅ ΠΏΠΎ ΡΠ»Π΅ΠΊΡΡΠΎΠ΄Π²ΠΈΠ³Π°ΡΠ΅Π»ΡΠΌ electrodvigatel.com. ΠΠ΄Π΅ΡΡ Π²Ρ Π½Π°ΠΉΠ΄Π΅ΡΠ΅ ΠΏΡΠ΅ΠΈΠΌΡΡΠ΅ΡΡΠ²Π° ΠΈ Π½Π΅Π΄ΠΎΡΡΠ°ΡΠΊΠΈ, ΡΠΎΠ³ΠΎ ΠΈΠ»ΠΈ ΠΈΠ½ΠΎΠ³ΠΎ ΡΠ»Π΅ΠΊΡΡΠΎΠ΄Π²ΠΈΠ³Π°ΡΠ΅Π»Ρ, ΠΏΠΎΠ»Π½ΡΠΉ ΡΠΏΠΈΡΠΎΠΊ ΠΏΡΠΎΠΈΠ·Π²ΠΎΠ΄ΠΈΡΠ΅Π»Π΅ΠΉ ΡΠ»Π΅ΠΊΡΡΠΎΠ΄Π²ΠΈΠ³Π°ΡΠ΅Π»Π΅ΠΉ, Π° ΡΠ°ΠΊΠΆΠ΅ ΡΠΌΠΎΠΆΠ΅ΡΠ΅ ΡΠ·Π½Π°ΡΡ ΡΡΠΎΠΈΠΌΠΎΡΡΡ Π½Π° ΡΠ»Π΅ΠΊΡΡΠΎΠ΄Π²ΠΈΠ³Π°ΡΠ΅Π»ΠΈ.
ΠΠΈΠ΄Ρ ΡΠ»Π΅ΠΊΡΡΠΎΠ΄Π²ΠΈΠ³Π°ΡΠ΅Π»Π΅ΠΉ
Π‘ΡΠΎΠΈΠΌΠΎΡΡΡ ΡΠ»Π΅ΠΊΡΡΠΎΠ΄Π²ΠΈΠ³Π°ΡΠ΅Π»Ρ Π² ΠΎΡΠ½ΠΎΠ²Π½ΠΎΠΌ Π·Π°Π²ΠΈΡΠΈΡ ΠΎΡ ΡΠ»Π΅Π΄ΡΡΡΠΈΡ ΠΏΠ°ΡΠ°ΠΌΠ΅ΡΡΠΎΠ²:
- ΠΠ°Π±Π°ΡΠΈΡ (Π²ΡΡΠΎΡΠ° ΠΎΡΠΈ Π²ΡΠ°ΡΠ΅Π½ΠΈΡ)
- ΠΠΎΡΠ½ΠΎΡΡΡ
- ΠΠ»ΠΈΠΌΠ°ΡΠΈΡΠ΅ΡΠΊΠΎΠ΅ ΠΈΡΠΏΠΎΠ»Π½Π΅Π½ΠΈΠ΅
Π‘ΡΠΎΠΈΡ ΠΎΡΠΌΠ΅ΡΠΈΡΡ, ΡΡΠΎ Ρ ΡΠ²Π΅Π»ΠΈΡΠ΅Π½ΠΈΠ΅ΠΌ Π³Π°Π±Π°ΡΠΈΡΠ° ΡΠ»Π΅ΠΊΡΡΠΎΠ΄Π²ΠΈΠ³Π°ΡΠ΅Π»Ρ ΡΡΠ»ΠΎΠΆΠ½ΡΠ΅ΡΡΡ ΡΠ΅Ρ
Π½ΠΎΠ»ΠΎΠ³ΠΈΡ ΠΈΠ·Π³ΠΎΡΠΎΠ²Π»Π΅Π½ΠΈΡ ΡΠ»Π΅ΠΊΡΡΠΈΡΠ΅ΡΠΊΠΈΡ
ΠΌΠ°ΡΠΈΠ½, ΡΠΌΠ΅Π½ΡΡΠ°Π΅ΡΡΡ ΡΠ΅ΡΠΈΠΉΠ½ΠΎΡΡΡ Π²ΡΠΏΡΡΠΊΠ° ΠΈ, ΡΠΎΠΎΡΠ²Π΅ΡΡΡΠ²Π΅Π½Π½ΠΎ, ΠΌΠ΅Π½ΡΠ΅ΡΡΡ ΡΠΊΠΎΠ½ΠΎΠΌΠΈΠΊΠ° ΠΈ ΡΠ΅Π½ΠΎΠΎΠ±ΡΠ°Π·ΠΎΠ²Π°Π½ΠΈΠ΅ Π΄Π²ΠΈΠ³Π°ΡΠ΅Π»Π΅ΠΉ.
Π§Π΅ΠΌ Π±ΠΎΠ»ΡΡΠ΅ Π³Π°Π±Π°ΡΠΈΡ Π΄Π²ΠΈΠ³Π°ΡΠ΅Π»Ρ β ΡΠ΅ΠΌ ΠΌΠ΅Π½ΡΡΠ΅ ΠΏΡΠΎΠΈΠ·Π²ΠΎΠ΄ΠΈΡΠ΅Π»Π΅ΠΉ Π½Π° ΡΡΠ½ΠΊΠ΅.
ΠΠΎΠ½ΡΡΡΡΠΊΡΠΈΡ ΡΠ»Π΅ΠΊΡΡΠΎΠ΄Π²ΠΈΠ³Π°ΡΠ΅Π»Ρ
ΠΡΠ°ΡΠ°ΡΡΠΈΠΉΡΡ ΡΠ»Π΅ΠΊΡΡΠΎΠ΄Π²ΠΈΠ³Π°ΡΠ΅Π»Ρ ΡΠΎΡΡΠΎΠΈΡ ΠΈΠ· Π΄Π²ΡΡ Π³Π»Π°Π²Π½ΡΡ Π΄Π΅ΡΠ°Π»Π΅ΠΉ:
- ΡΡΠ°ΡΠΎΡΠ° — Π½Π΅ΠΏΠΎΠ΄Π²ΠΈΠΆΠ½Π°Ρ ΡΠ°ΡΡΡ
- ΡΠΎΡΠΎΡΠ° — Π²ΡΠ°ΡΠ°ΡΡΠ°ΡΡΡ ΡΠ°ΡΡΡ
Π£ Π±ΠΎΠ»ΡΡΠΈΠ½ΡΡΠ²Π° Π΄Π²ΠΈΠ³Π°ΡΠ΅Π»Π΅ΠΉ Π²Π½ΡΡΡΠΈ ΡΡΠ°ΡΠΎΡΠ° ΡΠ°ΡΠΏΠΎΠ»Π°Π³Π°Π΅ΡΡΡ ΡΠΎΡΠΎΡ. ΠΠ»Π΅ΠΊΡΡΠΎΠ΄Π²ΠΈΠ³Π°ΡΠ΅Π»ΠΈ Ρ ΠΊΠΎΡΠΎΡΡΡ ΡΠΎΡΠΎΡ Π½Π°Ρ ΠΎΠ΄ΠΈΡΡΡ ΡΠ½Π°ΡΡΠΆΠΈ ΡΡΠ°ΡΠΎΡΠ° Π½Π°Π·ΡΠ²Π°ΡΡΡΡ ΡΠ»Π΅ΠΊΡΡΠΎΠ΄Π²ΠΈΠ³Π°ΡΠ΅Π»ΡΠΌΠΈ ΠΎΠ±ΡΠ°ΡΠ΅Π½Π½ΠΎΠ³ΠΎ ΡΠΈΠΏΠ°.
ΠΠ»Π΅ΠΊΡΡΠΎΠ΄Π²ΠΈΠ³Π°ΡΠ΅Π»Ρ Π² ΡΠ°Π·ΡΠ΅Π·Π΅ — 1 ΡΡΠ°ΡΠΎΡ, 2 ΡΠΎΡΠΎΡ, 3 ΠΏΠΎΠ΄ΡΠΈΠΏΠ½ΠΈΠΊ
Β
Π£ΡΠ»ΠΎΠ²Π½ΠΎΠ΅ ΠΎΠ±ΠΎΠ·Π½Π°ΡΠ΅Π½ΠΈΠ΅ ΡΠ»Π΅ΠΊΡΡΠΎΠ΄Π²ΠΈΠ³Π°ΡΠ΅Π»Π΅ΠΉ
1 β ΡΠΈΠΏ ΡΠ»Π΅ΠΊΡΡΠΎΠ΄Π²ΠΈΠ³Π°ΡΠ΅Π»Ρ:
ΠΎΠ±ΡΠ΅ΠΏΡΠΎΠΌΡΡΠ»Π΅Π½Π½ΡΠ΅ ΡΠ»Π΅ΠΊΡΡΠΎΠ΄Π²ΠΈΠ³Π°ΡΠ΅Π»ΠΈ:
ΠΠ — ΠΎΠ±ΠΎΠ·Π½Π°ΡΠ΅Π½ΠΈΠ΅ ΡΠ΅ΡΠΈΠΈ ΠΎΠ±ΡΠ΅ΠΏΡΠΎΠΌΡΡΠ»Π΅Π½Π½ΡΡ
ΡΠ»Π΅ΠΊΡΡΠΎΠ΄Π²ΠΈΠ³Π°ΡΠ΅Π»Π΅ΠΉ
Π , Π‘ (ΠΠΠ ΠΈ ΠΠΠ‘) — Π²Π°ΡΠΈΠ°Π½Ρ ΠΏΡΠΈΠ²ΡΠ·ΠΊΠΈ ΠΌΠΎΡΠ½ΠΎΡΡΠΈ ΠΊ ΡΡΡΠ°Π½ΠΎΠ²ΠΎΡΠ½ΡΠΌ ΡΠ°Π·ΠΌΠ΅ΡΠ°ΠΌ, Ρ.Π΅.
ΠΠΠ (Π, 5Π, 4Π, ΠΠ) — ΡΠ»Π΅ΠΊΡΡΠΎΠ΄Π²ΠΈΠ³Π°ΡΠ΅Π»ΠΈ, ΠΈΠ·Π³ΠΎΡΠ°Π²Π»ΠΈΠ²Π°Π΅ΠΌΡΠ΅ ΠΏΠΎ ΠΠΠ‘Π’
ΠΠΠ‘ (6Π, IMM, RA) — ΡΠ»Π΅ΠΊΡΡΠΎΠ΄Π²ΠΈΠ³Π°ΡΠ΅Π»ΠΈ, ΠΈΠ·Π³ΠΎΡΠ°Π²Π»ΠΈΠ²Π°Π΅ΠΌΡΠ΅ ΠΏΠΎ Π΅Π²ΡΠΎΡΡΠ°Π½Π΄Π°ΡΡΡ DIN (CENELEC)
Π²Π·ΡΡΠ²ΠΎΠ·Π°ΡΠΈΡΠ΅Π½Π½ΡΠ΅ ΡΠ»Π΅ΠΊΡΡΠΎΠ΄Π²ΠΈΠ³Π°ΡΠ΅Π»ΠΈ: ΠΠ, ΠΠ, ΠΠΠ, ΠΠΠΠ , 2Π, 3Π ΠΈ Π΄Ρ
2 — ΡΠ»Π΅ΠΊΡΡΠΈΡΠ΅ΡΠΊΠΈΠ΅ ΠΌΠΎΠ΄ΠΈΡΠΈΠΊΠ°ΡΠΈΠΈ:
|
ΠΠ»Π΅ΠΊΡΡΠΈΡΠ΅ΡΠΊΠΈΠ΅ ΠΌΠΎΠ΄ΠΈΡΠΈΠΊΠ°ΡΠΈΠΈ |
ΠΠΏΡΠ΅Π΄Π΅Π»Π΅Π½ΠΈΠ΅ |
|
Π |
ΠΌΠΎΠ΄Π΅ΡΠ½ΠΈΠ·ΠΈΡΠΎΠ²Π°Π½Π½ΡΠΉ ΡΠ»Π΅ΠΊΡΡΠΎΠ΄Π²ΠΈΠ³Π°ΡΠ΅Π»Ρ: 5ΠΠ |
|
Π |
ΡΠ»Π΅ΠΊΡΡΠΎΠ΄Π²ΠΈΠ³Π°ΡΠ΅Π»Ρ Π·Π°ΡΠΈΡΠ΅Π½Π½ΠΎΠ³ΠΎ ΠΈΡΠΏΠΎΠ»Π½Π΅Π½ΠΈΡ Ρ ΡΠ°ΠΌΠΎΠ²Π΅Π½ΡΠΈΠ»ΡΡΠΈΠ΅ΠΉ: 5ΠΠ |
|
Π€ |
ΡΠ»Π΅ΠΊΡΡΠΎΠ΄Π²ΠΈΠ³Π°ΡΠ΅Π»Ρ Π·Π°ΡΠΈΡΠ΅Π½Π½ΠΎΠ³ΠΎ ΠΈΡΠΏΠΎΠ»Π½Π΅Π½ΠΈΡ Ρ ΠΏΡΠΈΠ½ΡΠ΄ΠΈΡΠ΅Π»ΡΠ½ΡΠΌ ΠΎΡ Π»Π°ΠΆΠ΄Π΅Π½ΠΈΠ΅ΠΌ: 5ΠΠ€ |
|
Π |
ΡΠ»Π΅ΠΊΡΡΠΎΠ΄Π²ΠΈΠ³Π°ΡΠ΅Π»Ρ Ρ ΡΠ°Π·Π½ΡΠΌ ΡΠΎΡΠΎΡΠΎΠΌ: 5ΠΠΠ |
|
Π‘ |
ΡΠ»Π΅ΠΊΡΡΠΎΠ΄Π²ΠΈΠ³Π°ΡΠ΅Π»Ρ Ρ ΠΏΠΎΠ²ΡΡΠ΅Π½Π½ΡΠΌ ΡΠΊΠΎΠ»ΡΠΆΠ΅Π½ΠΈΠ΅ΠΌ: ΠΠ‘, 4ΠΠ‘ Β ΠΈ Π΄Ρ. |
|
Π |
ΠΎΠ΄Π½ΠΎΡΠ°Π·Π½ΡΠΉ ΡΠ»Π΅ΠΊΡΡΠΎΠ΄Π²ΠΈΠ³Π°ΡΠ΅Π»Ρ 220V: ΠΠΠΠ, 5ΠΠΠ£ |
|
Π |
Π²ΡΡΡΠ°ΠΈΠ²Π°Π΅ΠΌΡΠΉ ΡΠ»Π΅ΠΊΡΡΠΎΠ΄Π²ΠΈΠ³Π°ΡΠ΅Π»Ρ: ΠΠΠ Π 100S2 |
|
Π |
ΡΠ»Π΅ΠΊΡΡΠΎΠ΄Π²ΠΈΠ³Π°ΡΠ΅Π»Ρ Π΄Π»Ρ ΠΏΡΠΈΠ²ΠΎΠ΄Π° ΠΎΡΠ΅Π²ΡΡ Π²Π΅Π½ΡΠΈΠ»ΡΡΠΎΡΠΎΠ² Π² ΠΏΡΠΈΡΠ΅Π²ΠΎΠ΄ΡΠ΅ΡΠΊΠΈΡ Ρ ΠΎΠ·ΡΠΉΡΡΠ²Π°Ρ ΠΈ Ρ. Π΄. |
3 — Π³Π°Π±Π°ΡΠΈΡ ΡΠ»Π΅ΠΊΡΡΠΎΠ΄Π²ΠΈΠ³Π°ΡΠ΅Π»Ρ (Π²ΡΡΠΎΡΠ° ΠΎΡΠΈ Π²ΡΠ°ΡΠ΅Π½ΠΈΡ):
Π³Π°Π±Π°ΡΠΈΡ ΡΠ»Π΅ΠΊΡΡΠΎΠ΄Π²ΠΈΠ³Π°ΡΠ΅Π»Ρ ΡΠ°Π²Π΅Π½ ΡΠ°ΡΡΡΠΎΡΠ½ΠΈΡ ΠΎΡ Π½ΠΈΠ·Π° Π»Π°ΠΏ Π΄ΠΎ ΡΠ΅Π½ΡΡΠ° Π²Π°Π»Π° Π² ΠΌΠΈΠ»Π»ΠΈΠΌΠ΅ΡΡΠ°Ρ
Β
50, 56, 63, 71, 80, 90, 100, 112, 132, 160, 180, 200, 225, 250, 280, 315, 355, 400, 450 ΠΈ Π²ΡΡΠ΅
4 — Π΄Π»ΠΈΠ½Π° ΡΠ΅ΡΠ΄Π΅ΡΠ½ΠΈΠΊΠ° ΠΈ/ΠΈΠ»ΠΈ Π΄Π»ΠΈΠ½Π° ΡΡΠ°Π½ΠΈΠ½Ρ:
|
ΠΠ»ΠΈΠ½Π° ΡΠ΅ΡΠ΄Π΅ΡΠ½ΠΈΠΊΠ° |
ΠΠΏΡΠ΅Π΄Π΅Π»Π΅Π½ΠΈΠ΅ |
|
Π, Π, Π‘ |
Π΄Π»ΠΈΠ½Π° ΡΠ΅ΡΠ΄Π΅ΡΠ½ΠΈΠΊΠ° (ΠΏΠ΅ΡΠ²Π°Ρ Π΄Π»ΠΈΠ½Π°, Π²ΡΠΎΡΠ°Ρ Π΄Π»ΠΈΠ½Π°, ΡΡΠ΅ΡΡΡ Π΄Π»ΠΈΠ½Π°)Β |
|
XK, X, YK, Y |
Π΄Π»ΠΈΠ½Π° ΡΠ΅ΡΠ΄Π΅ΡΠ½ΠΈΠΊΠ° ΡΡΠ°ΡΠΎΡΠ° Π²ΡΡΠΎΠΊΠΎΠ²ΠΎΠ»ΡΡΠ½ΡΡ Π΄Π²ΠΈΠ³Π°ΡΠ΅Π»Π΅ΠΉΒ |
|
S, L, Π |
ΡΡΡΠ°Π½ΠΎΠ²ΠΎΡΠ½ΡΠ΅ ΡΠ°Π·ΠΌΠ΅ΡΡ ΠΏΠΎ Π΄Π»ΠΈΠ½Π΅ ΡΡΠ°Π½ΠΈΠ½Ρ |
Β
5 — ΠΊΠΎΠ»ΠΈΡΠ΅ΡΡΠ²ΠΎ ΠΏΠΎΠ»ΡΡΠΎΠ² ΡΠ»Π΅ΠΊΡΡΠΎΠ΄Π²ΠΈΠ³Π°ΡΠ΅Π»Ρ:
2, 4, 6, 8, 10, 12, 4/2, 6/4, 8/4, 8/6, 12/4, 12/6, 6/4/2, 8/4/2, 8/6/4, 12/8/6/4 ΠΈ Π΄Ρ.
6 — ΠΊΠΎΠ½ΡΡΡΡΠΊΡΠΈΠ²Π½ΡΠ΅ ΠΌΠΎΠ΄ΠΈΡΠΈΠΊΠ°ΡΠΈΠΈ ΡΠ»Π΅ΠΊΡΡΠΎΠ΄Π²ΠΈΠ³Π°ΡΠ΅Π»Ρ:
|
ΠΠΎΠ΄ΠΈΡΠΈΠΊΠ°ΡΠΈΠΈ ΡΠ»Π΅ΠΊΡΡΠΎΠ΄Π²ΠΈΠ³Π°ΡΠ΅Π»Ρ |
ΠΠΏΡΠ΅Π΄Π΅Π»Π΅Π½ΠΈΠ΅ |
|
Π |
ΡΠ»Π΅ΠΊΡΡΠΎΠ΄Π²ΠΈΠ³Π°ΡΠ΅Π»Ρ Π΄Π»Ρ ΠΏΡΠΈΠ²ΠΎΠ΄Π° Π»ΠΈΡΡΠΎΠ²: 5ΠΠ€ 200 ΠΠ4/24 ΠΠΠ Π£Π₯Π4 |
|
Π |
ΡΠ»Π΅ΠΊΡΡΠΎΠ΄Π²ΠΈΠ³Π°ΡΠ΅Π»Ρ Ρ Π²ΡΡΡΠΎΠ΅Π½Π½ΡΠΌ ΡΠ»Π΅ΠΊΡΡΠΎΠΌΠ°Π³Π½ΠΈΡΠ½ΡΠΌ ΡΠΎΡΠΌΠΎΠ·ΠΎΠΌ ΠΈ ΡΡΡΠΊΠΎΠΉ ΡΠ°ΡΡΠΎΡΠΌΠΎΠΆΠ΅Π½ΠΈΡ: ΠΠΠ 100L6 Π2 Π£3 |
|
Π2 |
ΡΠΎ Π²ΡΡΡΠΎΠ΅Π½Π½ΡΠΌ Π΄Π°ΡΡΠΈΠΊΠΎΠΌ ΡΠ΅ΠΌΠΏΠ΅ΡΠ°ΡΡΡΠ½ΠΎΠΉ Π·Π°ΡΠΈΡΡ: ΠΠΠ 180Π4 ΠΠ£3Β |
|
Π |
ΡΠΎ Π²ΡΡΡΠΎΠ΅Π½Π½ΡΠΌ Π΄Π°ΡΡΠΈΠΊΠΎΠΌ ΡΠ΅ΠΌΠΏΠ΅ΡΠ°ΡΡΡΠ½ΠΎΠΉ Π·Π°ΡΠΈΡΡ: ΠΠΠ 180Π4 ΠΠ£3Β |
|
Π |
ΡΠ»Π΅ΠΊΡΡΠΎΠ΄Π²ΠΈΠ³Π°ΡΠ΅Π»Ρ ΡΠΎ ΡΠΏΠ΅ΡΠΈΠ°Π»ΡΠ½ΡΠΌ Π²ΡΡ ΠΎΠ΄Π½ΡΠΌ ΠΊΠΎΠ½ΡΠΎΠΌ Π²Π°Π»Π° Π΄Π»Ρ ΠΌΠΎΠ½ΠΎΠ±Π»ΠΎΡΠ½ΡΡ Π½Π°ΡΠΎΡΠΎΠ²: ΠΠΠ 80Π2 ΠΠ£2 |
|
Π |
ΡΠ»Π΅ΠΊΡΡΠΎΠ΄Π²ΠΈΠ³Π°ΡΠ΅Π»Ρ ΠΏΠΎΠ²ΡΡΠ΅Π½Π½ΠΎΠΉ ΡΠΎΡΠ½ΠΎΡΡΠΈ ΠΏΠΎ ΡΡΡΠ°Π½ΠΎΠ²ΠΎΡΠ½ΡΠΌ ΡΠ°Π·ΠΌΠ΅ΡΠ°ΠΌ: ΠΠΠ 180Π4 ΠΠ£3Β |
|
Π 3 |
ΡΠ»Π΅ΠΊΡΡΠΎΠ΄Π²ΠΈΠ³Π°ΡΠ΅Π»Ρ Π΄Π»Ρ ΠΌΠΎΡΠΎΡ-ΡΠ΅Π΄ΡΠΊΡΠΎΡΠΎΠ²: ΠΠΠ 100L6 Π 3 |
|
Π‘ |
ΡΠ»Π΅ΠΊΡΡΠΎΠ΄Π²ΠΈΠ³Π°ΡΠ΅Π»Ρ Π΄Π»Ρ ΡΡΠ°Π½ΠΊΠΎΠ²-ΠΊΠ°ΡΠ°Π»ΠΎΠΊ: ΠΠΠ 180Π8 Π‘ΠΠΠ£1Β |
|
Π |
ΡΠ»Π΅ΠΊΡΡΠΎΠ΄Π²ΠΈΠ³Π°ΡΠ΅Π»Ρ ΠΌΠ°Π»ΠΎΡΡΠΌΠ½ΠΎΠ³ΠΎ ΠΈΡΠΏΠΎΠ»Π½Π΅Π½ΠΈΡ: 5ΠΠ€ 200 ΠΠ4/24 ΠΠΠ Π£Π₯Π4Β |
7 — ΠΊΠ»ΠΈΠΌΠ°ΡΠΈΡΠ΅ΡΠΊΠΎΠ΅ ΠΈΡΠΏΠΎΠ»Π½Π΅Π½ΠΈΠ΅ ΡΠ»Π΅ΠΊΡΡΠΎΠ΄Π²ΠΈΠ³Π°ΡΠ΅Π»Ρ:
|
ΠΠ°ΡΠ΅Π³ΠΎΡΠΈΡ ΡΠ°Π·ΠΌΠ΅ΡΠ΅Π½ΠΈΡ |
ΠΠΏΡΠ΅Π΄Π΅Π»Π΅Π½ΠΈΠ΅ |
|
Π£ |
ΡΠΌΠ΅ΡΠ΅Π½Π½ΠΎΠ³ΠΎ ΠΊΠ»ΠΈΠΌΠ°ΡΠΈΡΠ΅ΡΠΊΠΎΠ³ΠΎ ΠΈΡΠΏΠΎΠ»Π½Π΅Π½ΠΈΡ |
|
Π’ |
ΡΡΠΎΠΏΠΈΡΠ΅ΡΠΊΠΎΠ³ΠΎ ΠΈΡΠΏΠΎΠ»Π½Π΅Π½ΠΈΡΒ |
|
Π£Π₯Π |
ΡΠΌΠ΅ΡΠ΅Π½Π½ΠΎ Ρ ΠΎΠ»ΠΎΠ΄Π½ΠΎΠ³ΠΎ ΠΊΠ»ΠΈΠΌΠ°ΡΠ°Β |
|
Π₯Π |
Ρ ΠΎΠ»ΠΎΠ΄Π½ΠΎΠ³ΠΎ ΠΊΠ»ΠΈΠΌΠ°ΡΠ°Β |
|
ΠΠ |
Π΄Π»Ρ ΡΡΠ΄ΠΎΠ² ΠΌΠΎΡΡΠΊΠΎΠ³ΠΎ ΠΈ ΡΠ΅ΡΠ½ΠΎΠ³ΠΎ ΡΠ»ΠΎΡΠ° |
8 — ΠΊΠ°ΡΠ΅Π³ΠΎΡΠΈΡ ΡΠ°Π·ΠΌΠ΅ΡΠ΅Π½ΠΈΡ:Β
|
ΠΠ°ΡΠ΅Π³ΠΎΡΠΈΡ ΡΠ°Π·ΠΌΠ΅ΡΠ΅Π½ΠΈΡ |
ΠΠΏΡΠ΅Π΄Π΅Π»Π΅Π½ΠΈΠ΅ |
|
1 |
Π½Π° ΠΎΡΠΊΡΡΡΠΎΠΌ Π²ΠΎΠ·Π΄ΡΡ Π΅ |
|
2 |
Π½Π° ΡΠ»ΠΈΡΠ΅ ΠΏΠΎΠ΄ Π½Π°Π²Π΅ΡΠΎΠΌΒ |
|
3 |
Π² ΠΏΠΎΠΌΠ΅ΡΠ΅Π½ΠΈΠΈΒ |
|
4 |
Π² ΠΏΠΎΠΌΠ΅ΡΠ΅Π½ΠΈΠΈ Ρ ΠΈΡΠΊΡΡΡΡΠ²Π΅Π½Π½ΠΎ ΡΠ΅Π³ΡΠ»ΠΈΡΡΠ΅ΠΌΡΠΌΠΈ ΠΊΠ»ΠΈΠΌΠ°ΡΠΈΡΠ΅ΡΠΊΠΈΠΌΠΈ ΡΡΠ»ΠΎΠ²ΠΈΡΠΌΠΈΒ |
|
5 |
Π² ΠΏΠΎΠΌΠ΅ΡΠ΅Π½ΠΈΠΈ Ρ ΠΏΠΎΠ²ΡΡΠ΅Π½Π½ΠΎΠΉ Π²Π»Π°ΠΆΠ½ΠΎΡΡΡΡΒ |
9 — ΡΡΠ΅ΠΏΠ΅Π½Ρ Π·Π°ΡΠΈΡΡ ΡΠ»Π΅ΠΊΡΡΠΎΠ΄Π²ΠΈΠ³Π°ΡΠ΅Π»Ρ:
ΠΏΠ΅ΡΠ²Π°Ρ ΡΠΈΡΡΠ°: Π·Π°ΡΠΈΡΠ° ΠΎΡ ΡΠ²Π΅ΡΠ΄ΡΡ
ΠΎΠ±ΡΠ΅ΠΊΡΠΎΠ²
Β Π²ΡΠΎΡΠ°Ρ ΡΠΈΡΡΠ°: Π·Π°ΡΠΈΡΠ° ΠΎΡ ΠΆΠΈΠ΄ΠΊΠΎΡΡΠ΅ΠΉ
|
Π‘ΡΠ΅ΠΏΠ΅Π½Ρ Π·Π°ΡΠΈΡΡ IP |
ΠΠΏΡΠ΅Π΄Π΅Π»Π΅Π½ΠΈΠ΅ ΠΏΠ΅ΡΠ²ΠΎΠΉ ΡΠΈΡΡΡ Β — Π·Π°ΡΠΈΡΠ° ΠΎΡ ΡΠ²Π΅ΡΠ΄ΡΡ ΠΎΠ±ΡΠ΅ΠΊΡΠΎΠ² |
ΠΠΏΡΠ΅Π΄Π΅Π»Π΅Π½ΠΈΠ΅ Π²ΡΠΎΡΠΎΠΉ ΡΠΈΡΡΡ Β — Π·Π°ΡΠΈΡΠ° ΠΎΡ ΠΆΠΈΠ΄ΠΊΠΎΡΡΠ΅ΠΉ |
|
0 |
Π±Π΅Π· Π·Π°ΡΠΈΡΡ |
Π±Π΅Π· Π·Π°ΡΠΈΡΡ |
|
1 |
Π·Π°ΡΠΈΡΠ° ΠΎΡ ΡΠ²Π΅ΡΠ΄ΡΡ ΠΎΠ±ΡΠ΅ΠΊΡΠΎΠ² ΡΠ°Π·ΠΌΠ΅ΡΠ°ΠΌΠΈ ΡΠ²ΡΡΠ΅ 50ΠΌΠΌ (Π½Π°ΠΏΡΠΈΠΌΠ΅Ρ, ΠΎΡ ΡΠ»ΡΡΠ°ΠΉΠ½ΠΎΠ³ΠΎ ΠΊΠ°ΡΠ°Π½ΠΈΡ ΡΡΠΊΠ°ΠΌΠΈ) |
Π·Π°ΡΠΈΡΠ° ΠΎΡ Π²Π΅ΡΡΠΈΠΊΠ°Π»ΡΠ½ΠΎ ΠΏΠ°Π΄Π°ΡΡΠ΅ΠΉ Π²ΠΎΠ΄Ρ (ΠΊΠΎΠ½Π΄Π΅Π½ΡΠ°ΡΠΈΡ) |
|
2 |
Π·Π°ΡΠΈΡΠ° ΠΎΡ ΡΠ²Π΅ΡΠ΄ΡΡ ΠΎΠ±ΡΠ΅ΠΊΡΠΎΠ² ΡΠ°Π·ΠΌΠ΅ΡΠ°ΠΌΠΈ ΡΠ²ΡΡΠ΅ 12 ΠΌΠΌ (Π½Π°ΠΏΡΠΈΠΌΠ΅Ρ, ΠΎΡ ΡΠ»ΡΡΠ°ΠΉΠ½ΠΎΠ³ΠΎ ΠΊΠ°ΡΠ°Π½ΠΈΡ ΠΏΠ°Π»ΡΡΠ°ΠΌΠΈ) |
Π·Π°ΡΠΈΡΠ° ΠΎΡ Π²ΠΎΠ΄Ρ, ΠΏΠ΄ΠΏΡΡΠ΅ΠΉ ΠΏΠΎΠ΄ ΡΠ³Π»ΠΎΠΌ 15ΒΊ ΠΊ Π²Π΅ΡΡΠΈΠΊΠ°Π»ΠΈ |
|
3 |
Π·Π°ΡΠΈΡΠ° ΠΎΡ ΡΠ²Π΅ΡΠ΄ΡΡ ΠΎΠ±ΡΠ΅ΠΊΡΠΎΠ² ΡΠ°Π·ΠΌΠ΅ΡΠ°ΠΌΠΈ ΡΠ²ΡΡΠ΅ 2,5 ΠΌΠΌ (Π½Π°ΠΏΡΠΈΠΌΠ΅Ρ, ΠΈΠ½ΡΡΡΡΠΌΠ΅Π½ΡΠΎΠ², ΠΏΡΠΎΠ²ΠΎΠ΄ΠΎΠ²) |
Π·Π°ΡΠΈΡΠ° ΠΎΡ Π²ΠΎΠ΄Ρ, ΠΏΠ°Π΄Π°ΡΡΠ΅ΠΉ ΠΏΠΎΠ΄ ΡΠ³Π»ΠΎΠΌ 60ΒΊ ΠΊ Π²Π΅ΡΡΠΈΠΊΠ°Π»ΠΈ |
|
4 |
Π·Π°ΡΠΈΡΠ° ΠΎΡ ΡΠ²Π΅ΡΠ΄ΡΡ ΠΎΠ±ΡΠ΅ΠΊΡΠΎΠ² ΡΠ°Π·ΠΌΠ΅ΡΠ°ΠΌΠΈ ΡΠ²ΡΡΠ΅ 1ΠΌΠΌ (Π½Π°ΠΏΡΠΈΠΌΠ΅Ρ, ΡΠΎΠ½ΠΊΠΎΠΉ ΠΏΡΠΎΠ²ΠΎΠ»ΠΎΠΊΠΈ) |
Π·Π°ΡΠΈΡΠ° ΠΎΡ Π²ΠΎΠ΄ΡΠ½ΡΡ Π±ΡΡΠ·Π³ ΡΠΎ Π²ΡΠ΅Ρ ΡΡΠΎΡΠΎΠ½ |
|
5 |
Π·Π°ΡΠΈΡΠ° ΠΎΡ ΠΏΡΠ»ΠΈ (Π±Π΅Π· ΠΎΡΠ°ΠΆΠ΄Π΅Π½ΠΈΡ ΠΎΠΏΠ°ΡΠ½ΡΡ ΠΌΠ°ΡΠ΅ΡΠΈΠ°Π»ΠΎΠ²) |
Π·Π°ΡΠΈΡΠ° ΠΎΡ Π²ΠΎΠ΄ΡΠ½ΡΡ ΡΡΡΡΠΉ ΡΠΎ Π²ΡΠ΅Ρ ΡΡΠΎΡΠΎΠ½ |
10 β ΠΌΠΎΡΠ½ΠΎΡΡΡ ΡΠ»Π΅ΠΊΡΡΠΎΠ΄Π²ΠΈΠ³Π°ΡΠ΅Π»Ρ
11 β ΠΎΠ±ΠΎΡΠΎΡΡ ΡΠ»Π΅ΠΊΡΡΠΎΠ΄Π²ΠΈΠ³Π°ΡΠ΅Π»Ρ
12 — ΠΠΎΠ½ΡΠ°ΠΆΠ½ΠΎΠ΅ ΠΈΡΠΏΠΎΠ»Π½Π΅Π½ΠΈΠ΅ ΡΠ»Π΅ΠΊΡΡΠΎΠ΄Π²ΠΈΠ³Π°ΡΠ΅Π»Ρ
ΠΠ²ΠΈΠ³Π°ΡΠ΅Π»ΠΈ ΠΏΠ΅ΡΠ΅ΠΌΠ΅Π½Π½ΠΎΠ³ΠΎ ΡΠΎΠΊΠ°
Β Β Β Β Β Β Β Β Β Β Β ΠΠ²ΠΈΠ³Π°ΡΠ΅Π»ΠΈ ΠΏΠ΅ΡΠ΅ΠΌΠ΅Π½Π½ΠΎΠ³ΠΎ ΡΠΎΠΊΠ° ΠΏΠΎΠ΄ΡΠ°Π·Π΄Π΅Π»ΡΡΡΡΡ Π½Π° Π΄Π²Π΅ Π³ΡΡΠΏΠΏΡ: Π°ΡΠΈΠ½Ρ
ΡΠΎΠ½Π½ΡΠ΅ ΠΈ ΡΠΈΠ½Ρ
ΡΠΎΠ½Π½ΡΠ΅.
Π‘ΠΈΠ½Ρ
ΡΠΎΠ½Π½ΡΠ΅ Π΄Π²ΠΈΠ³Π°ΡΠ΅Π»ΠΈ Π² ΡΠ²ΠΎΡ ΠΎΡΠ΅ΡΠ΅Π΄Ρ Π΄Π΅Π»ΡΡΡΡ Π½Π° ΠΎΡΠ½ΠΎΠ²Π½ΡΠ΅ ΠΈΡΠΏΠΎΠ»Π½Π΅Π½ΠΈΡ Π³ΡΡΠΏΠΏ Π΄Π²ΠΈΠ³Π°ΡΠ΅Π»Π΅ΠΉ:
- ΠΎΠ±ΡΠ΅ΠΏΡΠΎΠΌΡΡΠ»Π΅Π½Π½ΠΎΠ΅
- ΡΠΏΠ΅ΡΠΈΠ°Π»ΡΠ½ΠΎΠ΅ (ΠΊΡΠ°Π½ΠΎΠ²ΡΠ΅, Π΄Π»Ρ Π΄ΡΠΎΠ±ΠΈΠ»ΠΎΠΊ, Π»ΠΈΡΡΠΎΠ²ΡΠ΅ ΠΈ Π΄ΡΡΠ³ΠΈΠ΅)
- Π²Π·ΡΡΠ²ΠΎΠ·Π°ΡΠΈΡΠ΅Π½Π½ΠΎΠ΅. ΠΠ°Π»ΡΠ½Π΅ΠΉΡΠ΅Π΅ ΠΏΠΎΠ΄ΡΠ°Π·Π΄Π΅Π»Π΅Π½ΠΈΠ΅ — Π΄Π»Ρ Ρ ΠΈΠΌΠΈΡΠ΅ΡΠΊΠΎΠΉ ΠΎΡΡΠ°ΡΠ»ΠΈ ΠΈ ΡΡΠ΄Π½ΠΈΡΠ½ΡΠ΅, ΡΡΠ΄Π½ΠΈΡΠ½ΡΠ΅ ΡΠΏΠ΅ΡΠΈΠ°Π»ΡΠ½ΡΠ΅.
ΠΡΠΈΠ½Ρ ΡΠΎΠ½Π½ΡΠΌΠΈ Π΄Π²ΠΈΠ³Π°ΡΠ΅Π»ΡΠΌΠΈ (ΠΠ) Π½Π°Π·ΡΠ²Π°ΡΡ ΠΌΠ°ΡΠΈΠ½Ρ ΠΏΠ΅ΡΠ΅ΠΌΠ΅Π½Π½ΠΎΠ³ΠΎ ΡΠΎΠΊΠ°, Π² ΠΊΠΎΡΠΎΡΡΡ ΠΎΡΠ½ΠΎΠ²Π½ΠΎΠ΅ ΠΌΠ°Π³Π½ΠΈΡΠ½ΠΎΠ΅ ΠΏΠΎΠ»Π΅ ΡΠΎΠ·Π΄Π°Π΅ΡΡΡ ΠΏΠ΅ΡΠ΅ΠΌΠ΅Π½Π½ΡΠΌ ΡΠΎΠΊΠΎΠΌ ΠΈ ΡΠ°ΡΡΠΎΡΠ° Π²ΡΠ°ΡΠ΅Π½ΠΈΡ ΡΠΎΡΠΎΡΠ°, Π½Π΅ ΡΠ²ΡΠ·Π°Π½Π½Π°Ρ ΠΆΠ΅ΡΡΠΊΠΎ Ρ ΡΠ°ΡΡΠΎΡΠΎΠΉ ΡΠΎΠΊΠ° Π² ΠΎΠ±ΠΌΠΎΡΠΊΠ΅ ΡΡΠ°ΡΠΎΡΠ°, ΠΌΠ΅Π½ΡΠ΅ΡΡΡ Ρ Π½Π°Π³ΡΡΠ·ΠΊΠΎΠΉ. ΠΠ°ΠΈΠ±ΠΎΠ»ΡΡΠ΅Π΅ ΠΏΡΠΈΠΌΠ΅Π½Π΅Π½ΠΈΠ΅ ΠΏΠΎΠ»ΡΡΠΈΠ»ΠΈ Π±Π΅ΡΠΊΠΎΠ»Π»Π΅ΠΊΡΠΎΡΠ½ΡΠ΅ Π°ΡΠΈΠ½Ρ ΡΠΎΠ½Π½ΡΠ΅ ΠΌΠ°ΡΠΈΠ½Ρ, ΠΈΡΠΏΠΎΠ»ΡΠ·ΡΠ΅ΠΌΡΠ΅ Π³Π»Π°Π²Π½ΡΠΌ ΠΎΠ±ΡΠ°Π·ΠΎΠΌ Π² ΠΊΠ°ΡΠ΅ΡΡΠ²Π΅ ΡΠ»Π΅ΠΊΡΡΠΎΠ΄Π²ΠΈΠ³Π°ΡΠ΅Π»Π΅ΠΉ. ΠΠ½Π°ΡΠΈΡΠ΅Π»ΡΠ½ΠΎ ΡΠ΅ΠΆΠ΅ ΠΏΡΠΈΠΌΠ΅Π½ΡΡΡΡΡ ΠΊΠΎΠ»Π»Π΅ΠΊΡΠΎΡΠ½ΡΠ΅ Π°ΡΠΈΠ½Ρ ΡΠΎΠ½Π½ΡΠ΅ ΡΠ»Π΅ΠΊΡΡΠΎΠ΄Π²ΠΈΠ³Π°ΡΠ΅Π»ΠΈ β Π±ΠΎΠ»Π΅Π΅ Π΄ΠΎΡΠΎΠ³ΠΈΠ΅ ΠΈ ΠΌΠ΅Π½Π΅Π΅ Π½Π°Π΄Π΅ΠΆΠ½ΡΠ΅ Π² ΡΠΊΡΠΏΠ»ΡΠ°ΡΠ°ΡΠΈΠΈ, ΡΠ΅ΠΌ Π±Π΅ΡΠΊΠΎΠ»Π»Π΅ΠΊΡΠΎΡΠ½ΡΠ΅.
ΠΠΎ ΠΊΠΎΠ»ΠΈΡΠ΅ΡΡΠ²Ρ ΡΠ°Π· Π΄Π²ΠΈΠ³Π°ΡΠ΅Π»ΠΈ ΠΏΠ΅ΡΠ΅ΠΌΠ΅Π½Π½ΠΎΠ³ΠΎ ΡΠΎΠΊΠ° ΠΏΠΎΠ΄ΡΠ°Π·Π΄Π΅Π»ΡΡΡΡΡ:
ΠΡΠΈΠ½Ρ ΡΠΎΠ½Π½ΡΠ΅ Π΄Π²ΠΈΠ³Π°ΡΠ΅Π»ΠΈ Π½Π°ΠΈΠ±ΠΎΠ»Π΅Π΅ ΡΠ°ΡΠΏΡΠΎΡΡΡΠ°Π½Π΅Π½Ρ Π² Π½Π°ΡΡΠΎΡΡΠ΅Π΅ Π²ΡΠ΅ΠΌΡ, ΡΠ΅ΠΌ Π΄ΡΡΠ³ΠΈΠ΅ Π²ΠΈΠ΄Ρ ΡΠ»Π΅ΠΊΡΡΠΎΠ΄Π²ΠΈΠ³Π°ΡΠ΅Π»Π΅ΠΉ.
Π‘ΠΈΠ½Ρ
ΡΠΎΠ½Π½ΡΠ΅ ΠΈ Π°ΡΠΈΠ½Ρ
ΡΠΎΠ½Π½ΡΠ΅ ΠΌΠ°ΡΠΈΠ½Ρ ΠΏΠ΅ΡΠ΅ΠΌΠ΅Π½Π½ΠΎΠ³ΠΎ ΡΠΎΠΊΠ° ΠΎΠ±Π»Π°Π΄Π°ΡΡ ΡΠ²ΠΎΠΉΡΡΠ²ΠΎΠΌ ΠΎΠ±ΡΠ°ΡΠΈΠΌΠΎΡΡΠΈ β ΠΎΠ½ΠΈ ΠΌΠΎΠ³ΡΡ ΡΠ°Π±ΠΎΡΠ°ΡΡ ΠΊΠ°ΠΊ Π² ΡΠ΅ΠΆΠΈΠΌΠ΅ Π³Π΅Π½Π΅ΡΠ°ΡΠΎΡΠ°, ΡΠ°ΠΊ ΠΈ Π² ΡΠ΅ΠΆΠΈΠΌΠ΅ Π΄Π²ΠΈΠ³Π°ΡΠ΅Π»Ρ.
ΠΠΎΠ»Π»Π΅ΠΊΡΠΎΡΠ½ΡΠΉ Π΄Π²ΠΈΠ³Π°ΡΠ΅Π»Ρ ΠΏΠΎΡΡΠΎΡΠ½Π½ΠΎΠ³ΠΎ ΡΠΎΠΊΠ°: ΡΡΡΡΠΎΠΉΡΡΠ²ΠΎ, ΠΏΡΠΈΠ½ΡΠΈΠΏ ΡΠ°Π±ΠΎΡΡ
Π‘ΠΎΠ΄Π΅ΡΠΆΠ°Π½ΠΈΠ΅:
ΠΠΈΠ΄Ρ ΠΠ
Π Π·Π°Π²ΠΈΡΠΈΠΌΠΎΡΡΠΈ ΠΎΡ ΡΠΈΠΏΠ° ΠΏΠΈΡΠ°Π½ΠΈΡ ΠΊΠ»Π°ΡΡΠΈΡΠΈΡΠΈΡΡΡΡ:
- ΠΠΎΠ»Π»Π΅ΠΊΡΠΎΡΠ½ΡΠ΅ Π΄Π²ΠΈΠ³Π°ΡΠ΅Π»ΠΈ, ΡΠ°Π±ΠΎΡΠ°ΡΡΠΈΠ΅ ΠΎΡ ΠΈΡΡΠΎΡΠ½ΠΈΠΊΠ° ΠΏΠΎΡΡΠΎΡΠ½Π½ΠΎΠ³ΠΎ ΡΠΎΠΊΠ°,
- Π£Π½ΠΈΠ²Π΅ΡΡΠ°Π»ΡΠ½ΡΠ΅ β ΡΠ°Π±ΠΎΡΠ°ΡΡ ΠΊΠ°ΠΊ ΠΎΡ ΠΏΠΎΡΡΠΎΡΠ½Π½ΠΎΠ³ΠΎ ΡΠΎΠΊΠ°, ΡΠ°ΠΊ ΠΈ ΠΎΡ ΠΏΠ΅ΡΠ΅ΠΌΠ΅Π½Π½ΠΎΠ³ΠΎ.
Π£ΡΡΡΠΎΠΉΡΡΠ²ΠΎ ΠΈ ΠΏΡΠΈΠ½ΡΠΈΠΏ ΡΠ°Π±ΠΎΡΡ Π΄Π²ΠΈΠ³Π°ΡΠ΅Π»Ρ ΠΏΠΎΡΡΠΎΡΠ½Π½ΠΎΠ³ΠΎ ΡΠΎΠΊΠ°
ΠΠΎΠ»Π»Π΅ΠΊΡΠΎΡΠ½ΡΠΉ Π΄Π²ΠΈΠ³Π°ΡΠ΅Π»Ρ ΠΏΠΎΡΡΠΎΡΠ½Π½ΠΎΠ³ΠΎ ΡΠΎΠΊΠ° ΡΠΎΡΡΠΎΠΈΡ ΠΈΠ· Π΄Π²ΡΡ
ΠΎΡΠ½ΠΎΠ²Π½ΡΡ
ΡΠ°ΡΡΠ΅ΠΉ β ΡΠΎΡΠΎΡΠ° ΠΈ ΡΡΠ°ΡΠΎΡΠ°. Π ΠΎΡΠΎΡ β Π²ΡΠ°ΡΠ°ΡΡΠ°ΡΡΡ ΡΠ°ΡΡΡ Π΄Π²ΠΈΠ³Π°ΡΠ΅Π»Ρ β Π½Π΅ΡΡΡ Π½Π° ΡΠ΅Π±Π΅ ΠΎΠ±ΠΌΠΎΡΠΊΡ ΠΈ ΠΊΠΎΠ»Π»Π΅ΠΊΡΠΎΡ. Π‘ΡΠ°ΡΠΎΡ β Π½Π΅ΠΏΠΎΠ΄Π²ΠΈΠΆΠ½Π°Ρ ΡΠ°ΡΡΡ Π΄Π²ΠΈΠ³Π°ΡΠ΅Π»Ρ β Π²ΠΊΠ»ΡΡΠ°Π΅Ρ Π² ΡΠ΅Π±Ρ ΠΈΡΡΠΎΡΠ½ΠΈΠΊ ΠΏΠΎΡΡΠΎΡΠ½Π½ΠΎΠ³ΠΎ ΠΌΠ°Π³Π½ΠΈΡΠ½ΠΎΠ³ΠΎ ΠΏΠΎΠ»Ρ β ΠΏΠΎΡΡΠΎΡΠ½Π½ΡΠΉ ΠΌΠ°Π³Π½ΠΈΡ ΠΈΠ»ΠΈ ΠΎΠ±ΠΌΠΎΡΠΊΡ Π²ΠΎΠ·Π±ΡΠΆΠ΄Π΅Π½ΠΈΡ, ΡΡΡΠΊΠΈ ΠΈ ΠΊΠΎΡΠΏΡΡ.
ΠΠ±ΠΌΠΎΡΠΊΠ° Π½Π° ΡΠΎΡΠΎΡΠ΅ ΡΠ²Π»ΡΠ΅ΡΡΡ ΠΎΠ΄Π½ΠΎΠΉ ΠΈΠ· ΠΎΡΠ½ΠΎΠ²Π½ΡΡ ΡΠ°ΡΡΠ΅ΠΉ ΡΠ»Π΅ΠΊΡΡΠΈΡΠ΅ΡΠΊΠΎΠ³ΠΎ Π΄Π²ΠΈΠ³Π°ΡΠ΅Π»Ρ ΠΏΠΎΡΡΠΎΡΠ½Π½ΠΎΠ³ΠΎ ΡΠΎΠΊΠ°. ΠΠΎ Π½Π΅ΠΉ ΡΠ΅ΡΡΡ ΡΠΎΠΊ Π½Π°Π³ΡΡΠ·ΠΊΠΈ. ΠΠ±ΠΌΠΎΡΠΊΠ° ΡΠΎΡΡΠΎΠΈΡ ΠΈΠ· Π½Π΅ΡΠΊΠΎΠ»ΡΠΊΠΈΡ ΡΠ΅Π³ΠΌΠ΅Π½ΡΠΎΠ². ΠΡ ΡΠ»Π΅ΠΊΡΡΠΈΡΠ΅ΡΠΊΠΈΠ΅ Π²ΡΠ²ΠΎΠ΄Ρ ΠΏΠΎΠ΄ΠΊΠ»ΡΡΠ΅Π½Ρ ΠΊ ΠΏΠ»Π°ΡΡΠΈΠ½Π°ΠΌ ΠΊΠΎΠ»Π»Π΅ΠΊΡΠΎΡΠ°.
ΠΠΎΠ»Π»Π΅ΠΊΡΠΎΡ β ΠΏΡΠ΅Π΄ΡΡΠ°Π²Π»ΡΠ΅Ρ ΡΠΎΠ±ΠΎΠΉ Π½Π°Π±ΠΎΡ ΠΌΠ΅ΡΠ°Π»Π»ΠΈΡΠ΅ΡΠΊΠΈΡ
ΠΏΠ»Π°ΡΡΠΈΠ½, ΡΠ»ΠΎΠΆΠ΅Π½Π½ΡΡ
ΠΏΠ°ΡΠ°Π»Π»Π΅Π»ΡΠ½ΠΎ Π΄ΡΡΠ³ Π΄ΡΡΠ³Ρ ΠΏΠΎ ΡΠΈΠ»ΠΈΠ½Π΄ΡΠΈΡΠ΅ΡΠΊΠΎΠΉ ΠΏΠΎΠ²Π΅ΡΡ
Π½ΠΎΡΡΠΈ, Π½ΠΎ Π½Π΅ ΠΊΠ°ΡΠ°ΡΡΠΈΡ
ΡΡ Π΄ΡΡΠ³ Π΄ΡΡΠ³Π°.
Π ΠΊΠ°ΠΆΠ΄ΠΎΠΉ ΠΏΠ»Π°ΡΡΠΈΠ½Π΅ ΠΏΠΎΠ΄ΠΊΠ»ΡΡΡΠ½ Π²ΡΠ²ΠΎΠ΄ ΠΎΠ±ΠΌΠΎΡΠΊΠΈ ΡΠΎΡΠΎΡΠ°. ΠΡΠΈ Π²ΡΠ°ΡΠ΅Π½ΠΈΠΈ Π΄Π²ΠΈΠ³Π°ΡΠ΅Π»Ρ ΠΊΠΎΠ»Π»Π΅ΠΊΡΠΎΡΠ½ΡΠ΅ ΠΏΠ»Π°ΡΡΠΈΠ½Ρ ΠΏΠΎΠΌΠΎΠ³Π°ΡΡ ΠΏΠ΅ΡΠ΅ΠΊΠ»ΡΡΠ°ΡΡ ΡΠΎΠΊ Π½Π° Π²ΡΡ Π½ΠΎΠ²ΡΠ΅ ΡΠ΅ΠΊΡΠΈΠΈ ΠΎΠ±ΠΌΠΎΡΠΊΠΈ, ΡΡΠΎ ΠΏΡΠΈΠ²ΠΎΠ΄ΠΈΡ ΠΊ Π΄Π°Π»ΡΠ½Π΅ΠΉΡΠ΅ΠΌΡ Π²ΡΠ°ΡΠ΅Π½ΠΈΡ Π΄Π²ΠΈΠ³Π°ΡΠ΅Π»Ρ.
ΠΠΎΠ»Π»Π΅ΠΊΡΠΎΡΠ½ΡΠΉ ΠΌΠΎΡΠΎΡ Ρ ΡΠ΅ΡΠ΄Π΅ΡΠ½ΠΈΠΊΠΎΠΌ
ΠΠΎΠ»Π»Π΅ΠΊΡΠΎΡΠ½ΡΠΉ ΠΌΠΎΡΠΎΡ Π±Π΅Π· ΡΠ΅ΡΠ΄Π΅ΡΠ½ΠΈΠΊΠ°
Π©ΡΡΠΊΠΈ ΠΏΡΠΎΠΈΠ·Π²ΠΎΠ΄ΡΡ ΠΏΠ΅ΡΠ΅ΠΊΠ»ΡΡΠ΅Π½ΠΈΠ΅ ΡΠ΅ΠΊΡΠΈΠΉ ΠΎΠ±ΠΌΠΎΡΠΊΠΈ ΠΏΠΎ ΠΌΠ΅ΡΠ΅ Π²ΡΠ°ΡΠ΅Π½ΠΈΡ ΡΠ»Π΅ΠΊΡΡΠΎΠ΄Π²ΠΈΠ³Π°ΡΠ΅Π»Ρ ΠΈ ΠΎΠ±Π΅ΡΠΏΠ΅ΡΠΈΠ²Π°ΡΡ Π²ΠΎΠ·ΠΌΠΎΠΆΠ½ΠΎΡΡΡ ΠΏΠΎΠ΄ΠΊΠ»ΡΡΠ΅Π½ΠΈΡ ΠΎΠ±ΠΌΠΎΡΠΊΠΈ Π΄Π²ΠΈΠ³Π°ΡΠ΅Π»Ρ Π½Π° ΡΠΎΡΠΎΡΠ΅ ΠΊ Π²ΡΠ²ΠΎΠ΄Π°ΠΌ Π½Π° ΠΊΠΎΡΠΏΡΡΠ΅ ΠΌΠΎΡΠΎΡΠ°. Π Π·Π°Π²ΠΈΡΠΈΠΌΠΎΡΡΠΈ ΠΎΡ ΠΌΠ°ΡΠ΅ΡΠΈΠ°Π»Π° ΠΊΠΎΠ½ΡΡΡΡΠΊΡΠΈΡ ΡΡΡΠΎΠΊ ΠΎΡΠ»ΠΈΡΠ°Π΅ΡΡΡ: Π³ΡΠ°ΡΠΈΡΠΎΠ²ΡΠ΅ ΡΡΡΠΊΠΈ, Π²ΡΠΏΠΎΠ»Π½Π΅Π½Π½ΡΠ΅ Π² Π²ΠΈΠ΄Π΅ ΠΏΡΡΠΌΠΎΡΠ³ΠΎΠ»ΡΠ½ΡΡ Π±ΡΡΡΠΊΠΎΠ² ΠΈΠ»ΠΈ ΠΌΠ΅ΡΠ°Π»Π»ΠΈΡΠ΅ΡΠΊΠΈΠ΅ ΡΡΡΠΊΠΈ Π² Π²ΠΈΠ΄Π΅ ΡΠΎΠ½ΠΊΠΈΡ ΠΏΠ»Π°ΡΡΠΈΠ½.
ΠΠΎΠ½ΡΡΡΡΠΊΡΠΈΡ Π½Π΅ΠΏΠΎΠ΄Π²ΠΈΠΆΠ½ΠΎΠΉ ΡΠ°ΡΡΠΈ Π΄Π²ΠΈΠ³Π°ΡΠ΅Π»Ρ β ΡΡΠ°ΡΠΎΡΠ° β ΠΎΡΠ»ΠΈΡΠ°Π΅ΡΡΡ Π² Π·Π°Π²ΠΈΡΠΈΠΌΠΎΡΡΠΈ ΠΎΡ ΡΠ°Π·Π½ΠΎΠ²ΠΈΠ΄Π½ΠΎΡΡΠΈ ΡΠ»Π΅ΠΊΡΡΠΎΠ΄Π²ΠΈΠ³Π°ΡΠ΅Π»Ρ ΠΏΠΎΡΡΠΎΡΠ½Π½ΠΎΠ³ΠΎ ΡΠΎΠΊΠ°. Π£ Π΄Π²ΠΈΠ³Π°ΡΠ΅Π»Π΅ΠΉ ΠΏΠΎΡΡΠΎΡΠ½Π½ΠΎΠ³ΠΎ ΡΠΎΠΊΠ° Ρ ΠΎΠ±ΠΌΠΎΡΠΊΠΎΠΉ Π²ΠΎΠ·Π±ΡΠΆΠ΄Π΅Π½ΠΈΡ Π½Π° ΡΡΠ°ΡΠΎΡΠ΅ ΡΠ°ΡΠΏΠΎΠ»Π°Π³Π°Π΅ΡΡΡ ΠΎΠ±ΠΌΠΎΡΠΊΠ° Π²ΠΎΠ·Π±ΡΠΆΠ΄Π΅Π½ΠΈΡ, ΡΠ°ΡΠ΅ Π²ΡΠ΅Π³ΠΎ Π²ΡΠΏΠΎΠ»Π½Π΅Π½Π½Π°Ρ Π½Π° ΡΠ΅ΡΠ΄Π΅ΡΠ½ΠΈΠΊΠ΅ ΠΈΠ· ΡΡΠ°Π»ΡΠ½ΡΡ
ΠΏΠ»Π°ΡΡΠΈΠ½. Π£ Π΄Π²ΠΈΠ³Π°ΡΠ΅Π»Π΅ΠΉ ΠΏΠΎΡΡΠΎΡΠ½Π½ΠΎΠ³ΠΎ ΡΠΎΠΊΠ° Ρ ΠΏΠΎΡΡΠΎΡΠ½Π½ΡΠΌΠΈ ΠΌΠ°Π³Π½ΠΈΡΠ°ΠΌΠΈ, Π½Π° ΡΡΠ°ΡΠΎΡΠ΅ ΡΠ°ΡΠΏΠΎΠ»ΠΎΠΆΠ΅Π½ ΠΏΠΎΡΡΠΎΡΠ½Π½ΡΠΉ ΠΌΠ°Π³Π½ΠΈΡ, ΡΠΎΠ·Π΄Π°ΡΡΠΈΠΉ ΠΌΠ°Π³Π½ΠΈΡΠ½ΠΎΠ΅ ΠΏΠΎΠ»Π΅ Π΄Π²ΠΈΠ³Π°ΡΠ΅Π»Ρ.
ΠΠ±ΠΌΠΎΡΠΊΠ° ΡΠΎΡΠΎΡΠ° ΠΈ ΠΊΠΎΠ»Π»Π΅ΠΊΡΠΎΡ ΡΡΡΠ°Π½ΠΎΠ²Π»Π΅Π½Ρ Π½Π° Π²Π°Π»Ρ, ΠΊΠΎΡΠΎΡΡΠΉ ΠΎΠΏΠΈΡΠ°Π΅ΡΡΡ Π½Π° ΠΏΠΎΠ΄ΡΠΈΠΏΠ½ΠΈΠΊΠΈ, ΡΡΡΠ°Π½ΠΎΠ²Π»Π΅Π½Π½ΡΠ΅ Π² Π±ΠΎΠΊΠΎΠ²ΡΡ ΡΠ»Π°Π½ΡΠ°Ρ ΠΊΠΎΡΠΏΡΡΠ°.
ΠΠΎΡΠΏΡΡ Π²ΡΡΡΡΠΏΠ°Π΅Ρ Π½Π΅ΡΡΡΠ΅ΠΉ ΠΊΠΎΠ½ΡΡΡΡΠΊΡΠΈΠ΅ΠΉ, ΠΊΡΠ΄Π° ΡΡΡΠ°Π½Π°Π²Π»ΠΈΠ²Π°ΡΡΡΡ ΠΎΡΡΠ°Π»ΡΠ½ΡΠ΅ ΡΠ°ΡΡΠΈ Π΄Π²ΠΈΠ³Π°ΡΠ΅Π»Ρ, Π° ΡΠ°ΠΊΠΆΠ΅ ΠΌΠΎΠΆΠ΅Ρ Π²ΡΡΡΡΠΏΠ°ΡΡ Π² ΡΠΎΠ»ΠΈ Π½Π°ΡΡΠΆΠ½ΠΎΠΉ ΠΎΠ±ΠΎΠ»ΠΎΡΠΊΠΈ, Π·Π°ΡΠΈΡΠ°ΡΡΠ΅ΠΉ ΠΌΠΎΡΠΎΡ ΠΎΡ ΠΏΡΠ»ΠΈ, Π³ΡΡΠ·ΠΈ ΠΈ ΠΌΠ΅Ρ Π°Π½ΠΈΡΠ΅ΡΠΊΠΈΡ Π²ΠΎΠ·Π΄Π΅ΠΉΡΡΠ²ΠΈΠΉ.
ΠΠ°ΡΠΈΠ°Π½ΡΡ ΠΊΠΎΠ½ΡΡΡΡΠΊΡΠΈΠΈ Π΄Π²ΠΈΠ³Π°ΡΠ΅Π»Ρ
Π’ΠΈΠΏΡ ΠΎΠ±ΠΌΠΎΡΠΎΠΊ
ΠΠ±ΠΌΠΎΡΠΊΠ° Π±Π΅Π· ΡΡΠ°Π»ΡΠ½ΠΎΠ³ΠΎ ΡΠ΅ΡΠ΄Π΅ΡΠ½ΠΈΠΊΠ°
Β
ΠΠ±ΠΌΠΎΡΠΊΠΈ ΡΠΎΡΠΎΡΠ° ΠΎΡΠ»ΠΈΡΠ°ΡΡΡΡ ΠΌΠ΅ΠΆΠ΄Ρ ΡΠΎΠ±ΠΎΠΉ ΠΏΠΎ ΠΊΠΎΠ½ΡΡΡΡΠΊΡΠΈΠΈ. ΠΡΠΈΠΌΠ΅Π½ΡΡΡΡΡ ΠΎΠ±ΠΌΠΎΡΠΊΠΈ ΠΊΠ»Π°ΡΡΠΈΡΠ΅ΡΠΊΠΎΠΉ ΠΊΠΎΠ½ΡΡΡΡΠΊΡΠΈΠΈ, Π½Π°ΠΌΠΎΡΠ°Π½Π½ΡΠ΅ Π½Π° ΡΡΠ°Π»ΡΠ½ΠΎΠΉ ΡΠ΅ΡΠ΄Π΅ΡΠ½ΠΈΠΊ, ΡΠΈΡΠΎΠΊΠΎ ΡΠ°ΡΠΏΡΠΎΡΡΡΠ°Π½Π΅Π½Ρ ΠΏΠΎΠ»ΡΠ΅ ΠΎΠ±ΠΌΠΎΡΠΊΠΈ Π±Π΅Π· ΡΡΠ°Π»ΡΠ½ΠΎΠ³ΠΎ ΡΠ΅ΡΠ΄Π΅ΡΠ½ΠΈΠΊΠ°. ΠΡΠΎΠΌΠ΅ ΡΠΎΠ³ΠΎ, ΡΠΎΡΠΎΡ ΠΌΠΎΠΆΠ΅Ρ ΠΈΠΌΠ΅ΡΡ ΠΏΠ΅ΡΠ°ΡΠ½ΡΡ ΠΎΠ±ΠΌΠΎΡΠΊΡ ΠΏΠ»ΠΎΡΠΊΠΎΠΉ ΠΈΠ»ΠΈ ΡΠΈΠ»ΠΈΠ½Π΄ΡΠΈΡΠ΅ΡΠΊΠΎΠΉ ΠΊΠΎΠ½ΡΡΡΡΠΊΡΠΈΠΈ. Π ΠΎΡΠΎΡ Π΄Π²ΠΈΠ³Π°ΡΠ΅Π»Ρ ΠΊΠ»Π°ΡΡΠΈΡΠ΅ΡΠΊΠΎΠΉ ΠΊΠΎΠ½ΡΡΡΡΠΊΡΠΈΠΈ, ΡΠΎ ΡΡΠ°Π»ΡΠ½ΡΠΌ ΡΠ΅ΡΠ΄Π΅ΡΠ½ΠΈΠΊΠΎΠΌ, ΠΈΠΌΠ΅Π΅Ρ Π·Π½Π°ΡΠΈΡΠ΅Π»ΡΠ½ΡΠΉ ΠΌΠΎΠΌΠ΅Π½Ρ ΠΈΠ½Π΅ΡΡΠΈΠΈ, Π±ΠΎΠ»ΡΡΡΡ ΠΈΠ½Π΄ΡΠΊΡΠΈΠ²Π½ΠΎΡΡΡ ΠΎΠ±ΠΌΠΎΡΠΊΠΈ ΠΈ Π΄ΠΎΠΏΠΎΠ»Π½ΠΈΡΠ΅Π»ΡΠ½ΡΠ΅ ΠΏΠΎΡΠ΅ΡΠΈ Π² ΡΡΠ°Π»ΠΈ ΡΠ΅ΡΠ΄Π΅ΡΠ½ΠΈΠΊΠ° ΡΠΎΡΠΎΡΠ°. ΠΠ²ΠΈΠ³Π°ΡΠ΅Π»ΠΈ Ρ ΠΏΠΎΠ»ΡΠΌ ΡΠΎΡΠΎΡΠΎΠΌ ΠΈ Ρ ΠΏΠ΅ΡΠ°ΡΠ½ΡΠΌ ΡΠΎΡΠΎΡΠΎΠΌ ΠΎΡΠ»ΠΈΡΠ°ΡΡΡΡ Π½ΠΈΠ·ΠΊΠΎΠΉ ΠΈΠ½Π΅ΡΡΠΈΠ΅ΠΉ ΠΈ ΠΌΠ°Π»ΡΠΌΠΈ ΠΏΠΎΡΠ΅ΡΡΠΌΠΈ.
ΠΠ±ΠΌΠΎΡΠΊΠΈ ΠΎΡΠ»ΠΈΡΠ°ΡΡΡΡ ΠΏΠΎ ΡΠ²ΠΎΠ΅ΠΌΡ ΡΡΡΡΠΎΠΉΡΡΠ²Ρ: ΡΠΎΠ»ΡΠΈΠ½Π° ΠΏΡΠΎΠ²ΠΎΠ΄Π° ΠΈ ΡΡ Π΅ΠΌΠ° Π½Π°ΠΌΠΎΡΠΊΠΈ (Π½Π°ΠΏΡΠΈΠΌΠ΅Ρ Π½Π°Π»ΠΈΡΠΈΠ΅ ΠΏΠ°ΡΠ°Π»Π»Π΅Π»ΡΠ½ΡΡ Π²Π΅ΡΠ²Π΅ΠΉ Π² ΠΎΠ±ΠΌΠΎΡΠΊΠ΅ ΠΈ ΠΈΡ ΠΊΠΎΠ»ΠΈΡΠ΅ΡΡΠ²ΠΎ). ΠΡΠΎ Π΄Π°ΡΡ Π²ΠΎΠ·ΠΌΠΎΠΆΠ½ΠΎΡΡΡ ΠΈΠ·Π³ΠΎΡΠ°Π²Π»ΠΈΠ²Π°ΡΡ ΡΠ»Π΅ΠΊΡΡΠΎΠ΄Π²ΠΈΠ³Π°ΡΠ΅Π»ΠΈ ΡΠ°Π±ΠΎΡΠ°ΡΡΠΈΠ΅ ΠΏΡΠΈ ΡΠ°Π·Π½ΠΎΠΌ Π½ΠΎΠΌΠΈΠ½Π°Π»ΡΠ½ΠΎΠΌ Π½Π°ΠΏΡΡΠΆΠ΅Π½ΠΈΠΈ ΠΈ ΡΠΎΠΊΠ΅.
ΠΠ±ΠΌΠΎΡΠΊΠΈ ΠΎΡΠ»ΠΈΡΠ°ΡΡΡΡ Π΄ΡΡΠ³ ΠΎΡ Π΄ΡΡΠ³Π° ΠΏΠΎ ΡΠ΅ΠΌΠΏΠ΅ΡΠ°ΡΡΡΠ½ΠΎΠΉ ΡΡΠΎΠΉΠΊΠΎΡΡΠΈ, ΠΊΠΎΡΠΎΡΠ°Ρ ΠΎΠ±Π΅ΡΠΏΠ΅ΡΠΈΠ²Π°Π΅ΡΡΡ Π²ΡΠ±ΠΎΡΠΎΠΌ ΡΠΎΠΎΡΠ²Π΅ΡΡΡΠ²ΡΡΡΠ΅Π³ΠΎ ΡΠΈΠΏΠ° ΠΈΠ·ΠΎΠ»ΡΡΠΈΠΈ. ΠΠΎΠ²ΡΡΠ΅Π½Π½Π°Ρ ΡΠ΅ΠΌΠΏΠ΅ΡΠ°ΡΡΡΠ½Π°Ρ ΡΡΠΎΠΉΠΊΠΎΡΡΡ ΠΏΠΎΠ·Π²ΠΎΠ»ΡΠ΅Ρ ΠΎΠ±ΠΌΠΎΡΠΊΠ΅ Π½Π°Π³ΡΠ΅Π²Π°ΡΡΡΡ Π΄ΠΎ Π±ΠΎΠ»Π΅Π΅ Π²ΡΡΠΎΠΊΠΎΠΉ ΡΠ΅ΠΌΠΏΠ΅ΡΠ°ΡΡΡΡ, Π½Π΅ ΡΠ΅ΡΡΡ ΡΠ°Π±ΠΎΡΠΎΡΠΏΠΎΡΠΎΠ±Π½ΠΎΡΡΠΈ, ΡΡΠΎ Π΄Π°ΡΡ Π²ΠΎΠ·ΠΌΠΎΠΆΠ½ΠΎΡΡΡ ΠΌΠΎΡΠΎΡΡ ΡΠ°Π±ΠΎΡΠ°ΡΡ ΠΏΡΠΈ Π±ΠΎΠ»Π΅Π΅ Π²ΡΡΠΎΠΊΠΎΠΉ ΡΠ΅ΠΌΠΏΠ΅ΡΠ°ΡΡΡΠ΅ ΠΎΠΊΡΡΠΆΠ°ΡΡΠ΅ΠΉ ΡΡΠ΅Π΄Ρ ΠΈΠ»ΠΈ Π²ΡΠ΄Π΅ΡΠΆΠΈΠ²Π°ΡΡ Π±ΠΎΠ»Π΅Π΅ Π²ΡΡΠΎΠΊΡΡ ΡΠΎΠΊΠΎΠ²ΡΡ Π½Π°Π³ΡΡΠ·ΠΊΡ.
Π Π°Π·Π»ΠΈΡΠ½ΡΠ΅ ΠΌΠ°ΡΠ΅ΡΠΈΠ°Π»Ρ ΠΌΠ°Π³Π½ΠΈΡΠΎΠ²
ΠΠ° Π²ΡΠ΅ΠΌΡ ΠΏΠΎΠΊΠ° ΡΡΡΠ΅ΡΡΠ²ΡΡΡ ΡΠ»Π΅ΠΊΡΡΠΈΡΠ΅ΡΠΊΠΈΠ΅ Π΄Π²ΠΈΠ³Π°ΡΠ΅Π»ΠΈ, Π±ΡΠ»ΠΎ ΡΠ°Π·ΡΠ°Π±ΠΎΡΠ°Π½ΠΎ ΠΈ ΠΏΡΠΈΠΌΠ΅Π½Π΅Π½ΠΎ Π½Π° ΠΏΡΠ°ΠΊΡΠΈΠΊΠ΅ Π½Π΅ΠΌΠ°Π»ΠΎ ΡΠ°Π·Π»ΠΈΡΠ½ΡΡ
ΠΌΠ°ΡΠ΅ΡΠΈΠ°Π»ΠΎΠ² Π΄Π»Ρ ΠΏΠΎΡΡΠΎΡΠ½Π½ΡΡ
ΠΌΠ°Π³Π½ΠΈΡΠΎΠ². Π€Π΅ΡΡΠΈΡΡ, AlNiCo, SmCo, NdFeB. ΠΡΠ½ΠΎΠ²Π½Π°Ρ ΡΠ°Π·Π½ΠΈΡΠ° ΠΌΠ΅ΠΆΠ΄Ρ Π½ΠΈΠΌΠΈ β Π² ΠΈΡ
ΠΌΠΎΡΠ½ΠΎΡΡΠΈ (Ρ.Π΅. Π² ΡΠ΄Π΅Π»ΡΠ½ΠΎΠΉ ΡΠ½Π΅ΡΠ³ΠΈΠΈ) ΠΈ ΡΠ΅ΠΌΠΏΠ΅ΡΠ°ΡΡΡΠ½ΠΎΠΉ ΡΡΠΎΠΉΠΊΠΎΡΡΠΈ. Π Π½Π°ΡΡΠΎΡΡΠ΅Π΅ Π²ΡΠ΅ΠΌΡ Π² Π²ΡΡΠΎΠΊΠΎΠΏΡΠΎΠΈΠ·Π²ΠΎΠ΄ΠΈΡΠ΅Π»ΡΠ½ΡΡ
ΠΌΠ°Π»ΠΎΠ³Π°Π±Π°ΡΠΈΡΠ½ΡΡ
Π΄Π²ΠΈΠ³Π°ΡΠ΅Π»ΡΡ
Ρ ΠΏΠΎΡΡΠΎΡΠ½Π½ΡΠΌΠΈ ΠΌΠ°Π³Π½ΠΈΡΠ°ΠΌΠΈ ΡΠ°ΡΠ΅ Π²ΡΠ΅Π³ΠΎ ΠΏΡΠΈΠΌΠ΅Π½ΡΠ΅ΡΡΡ NdFeB ΠΈΠ·-Π·Π° ΡΠ²ΠΎΠ΅ΠΉ Π²ΡΡΠΎΠΊΠΎΠΉ ΠΌΠΎΡΠ½ΠΎΡΡΠΈ ΠΈ SmCo ΠΈΠ·-Π·Π° Π²ΡΡΠΎΠΊΠΎΠΉ ΡΠ°Π±ΠΎΡΠ΅ΠΉ ΡΠ΅ΠΌΠΏΠ΅ΡΠ°ΡΡΡΡ.
Π’ΠΈΠΏΡ ΡΡΡΠΎΠΊ
Β
ΠΡΠ°ΡΠΈΡΠΎΠ²ΡΠ΅ ΡΡΡΠΊΠΈ
ΠΠ΅ΡΠ°Π»Π»ΠΈΡΠ΅ΡΠΊΠΈΠ΅ ΡΡΡΠΊΠΈ
Β
Β
Π Π½Π°ΡΡΠΎΡΡΠ΅Π΅ Π²ΡΠ΅ΠΌΡ ΡΠ°ΡΠΏΡΠΎΡΡΡΠ°Π½Π΅Π½Ρ Π΄Π²Π° ΠΌΠ°ΡΠ΅ΡΠΈΠ°Π»Π° ΡΡΡΠΎΠΊ β Π³ΡΠ°ΡΠΈΡΠΎΠ²ΡΠ΅ ΠΈ ΠΌΠ΅ΡΠ°Π»Π»ΠΈΡΠ΅ΡΠΊΠΈΠ΅. ΠΡΠ°ΡΠΈΡΠΎΠ²ΡΠ΅ ΡΡΡΠΊΠΈ ΠΈΠ·Π³ΠΎΡΠ°Π²Π»ΠΈΠ²Π°ΡΡΡΡ ΠΈΠ· ΠΌΠ΅Π΄Π½ΠΎ-Π³ΡΠ°ΡΠΈΡΠΎΠ²ΠΎΠ³ΠΎ ΡΠΏΠ»Π°Π²Π° ΠΈ ΡΠ°Π±ΠΎΡΠ°ΡΡ Ρ ΠΊΠΎΠ»Π»Π΅ΠΊΡΠΎΡΠΎΠΌ ΠΈΠ· ΠΌΠ΅Π΄Π½ΡΡ ΠΏΠ»Π°ΡΡΠΈΠ½. ΠΠ½ΠΈ Ρ ΠΎΡΠΎΡΠΎ ΡΠ°Π±ΠΎΡΠ°ΡΡ Π½Π° Π±ΠΎΠ»ΡΡΠΈΡ ΡΠΎΠΊΠ°Ρ , Ρ ΠΎΡΠΎΡΠΎ ΠΏΠ΅ΡΠ΅Π½ΠΎΡΡΡ ΡΠ°ΡΡΡΠ΅ ΠΏΡΡΠΊΠΈ, Π½ΠΎ ΡΠ²Π»ΡΡΡΡΡ ΠΈΡΡΠΎΡΠ½ΠΈΠΊΠΎΠΌ ΡΠΈΠ»ΡΠ½ΡΡ ΡΠ»Π΅ΠΊΡΡΠΎΠΌΠ°Π³Π½ΠΈΡΠ½ΡΡ ΡΡΠΌΠΎΠ². ΠΠ΅ΡΠ°Π»Π»ΠΈΡΠ΅ΡΠΊΠΈΠ΅ ΡΡΡΠΊΠΈ Π΄Π΅Π»Π°ΡΡ ΠΈΠ· Π±Π»Π°Π³ΠΎΡΠΎΠ΄Π½ΡΡ ΠΌΠ΅ΡΠ°Π»Π»ΠΎΠ², ΠΈ ΠΎΠ½ΠΈ ΡΠ°Π±ΠΎΡΠ°ΡΡ ΠΊΠΎΠ»Π»Π΅ΠΊΡΠΎΡΠΎΠΌ, Π² ΠΊΠΎΡΠΎΡΠΎΠΌ ΡΠ°ΠΊΠΆΠ΅ ΠΏΡΠΈΠΌΠ΅Π½Π΅Π½Ρ Π±Π»Π°Π³ΠΎΡΠΎΠ΄Π½ΡΠ΅ ΠΌΠ΅ΡΠ°Π»Π»Ρ. ΠΠ½ΠΈ Ρ ΠΎΡΠΎΡΠΎ ΡΠ°Π±ΠΎΡΠ°ΡΡ Π½Π° Π½Π΅Π±ΠΎΠ»ΡΡΠΈΡ ΡΠΎΠΊΠ°Ρ ΠΏΡΠΈ ΠΌΠ°Π»ΡΡ ΠΈΠ·ΠΌΠ΅Π½Π΅Π½ΠΈΡΡ ΡΠΊΠΎΡΠΎΡΡΠΈ Π²ΡΠ°ΡΠ΅Π½ΠΈΡ ΠΈ ΠΈΡΠΏΡΡΠΊΠ°ΡΡ Π³ΠΎΡΠ°Π·Π΄ΠΎ ΠΌΠ΅Π½ΡΡΠ΅ ΠΏΠΎΠΌΠ΅Ρ ΡΠ΅ΠΌ Π³ΡΠ°ΡΠΈΡΠΎΠ²ΡΠ΅ ΡΡΡΠΊΠΈ.
ΠΠ°ΡΠΈΠ°Π½ΡΡ ΠΏΠΎΠ΄ΡΠΈΠΏΠ½ΠΈΠΊΠΎΠ²
ΠΠ²Π° ΠΎΡΠ½ΠΎΠ²Π½ΡΡ ΡΠΈΠΏΠ° ΠΏΠΎΠ΄ΡΠΈΠΏΠ½ΠΈΠΊΠΎΠ², ΠΏΡΠΈΠΌΠ΅Π½ΡΠ΅ΠΌΡΡ Π² ΠΌΠ°Π»ΠΎΠ³Π°Π±Π°ΡΠΈΡΠ½ΡΡ Π΄Π²ΠΈΠ³Π°ΡΠ΅Π»ΡΡ ΠΏΠΎΡΡΠΎΡΠ½Π½ΠΎΠ³ΠΎ ΡΠΎΠΊΠ° β ΡΠ°ΡΠΈΠΊΠΎΠΏΠΎΠ΄ΡΠΈΠΏΠ½ΠΈΠΊΠΈ ΠΈ ΠΏΠΎΠ΄ΡΠΈΠΏΠ½ΠΈΠΊΠΈ ΡΠΊΠΎΠ»ΡΠΆΠ΅Π½ΠΈΡ. Π ΡΠ»ΡΡΠ°Π΅ ΠΏΡΠΈΠΌΠ΅Π½Π΅Π½ΠΈΡ ΡΠ°ΡΠΈΠΊΠΎΠΏΠΎΠ΄ΡΠΈΠΏΠ½ΠΈΠΊΠΎΠ², Π΄Π»Ρ ΡΠ½ΠΈΠΆΠ΅Π½ΠΈΡ ΠΎΡΠ΅Π²ΠΎΠ³ΠΎ Π±ΠΈΠ΅Π½ΠΈΡ Π²Π°Π»Π° ΠΌΠΎΠΆΠ΅Ρ ΠΏΡΠΈΠΌΠ΅Π½ΡΡΡΡΡ ΠΈΡ ΠΏΡΠ΅Π΄Π²Π°ΡΠΈΡΠ΅Π»ΡΠ½ΠΎΠ΅ ΠΏΠΎΠ΄ΠΆΠ°ΡΠΈΠ΅
ΠΡΠ΅ΠΈΠΌΡΡΠ΅ΡΡΠ²Π° ΠΈ Π½Π΅Π΄ΠΎΡΡΠ°ΡΠΊΠΈ ΠΊΠΎΠ»Π»Π΅ΠΊΡΠΎΡΠ½ΡΡ Π΄Π²ΠΈΠ³Π°ΡΠ΅Π»Π΅ΠΉ
ΠΡΠΎΡΡΠΎΡΠ° ΡΠΏΡΠ°Π²Π»Π΅Π½ΠΈΡ.
Β ΠΠΎΠ»Π»Π΅ΠΊΡΠΎΡΠ½ΡΠΉ Π΄Π²ΠΈΠ³Π°ΡΠ΅Π»Ρ Π΄ΠΎΡΡΠ°ΡΠΎΡΠ½ΠΎ ΠΏΡΠΎΡΡ Π² ΡΠΏΡΠ°Π²Π»Π΅Π½ΠΈΠΈ, ΠΎΡΠΎΠ±Π΅Π½Π½ΠΎ ΠΊΠΎΠ³Π΄Π° ΡΠ΅ΡΡ ΠΈΠ΄ΡΡ ΠΎ Π΄Π²ΠΈΠ³Π°ΡΠ΅Π»ΡΡ
Ρ ΠΏΠΎΡΡΠΎΡΠ½Π½ΡΠΌΠΈ ΠΌΠ°Π³Π½ΠΈΡΠ°ΠΌΠΈ. ΠΠ»Ρ ΡΠΎΠ³ΠΎ ΡΡΠΎΠ±Ρ Π·Π°ΡΡΠ°Π²ΠΈΡΡ Π΅Π³ΠΎ Π²ΡΠ°ΡΠ°ΡΡΡΡ Π½Π΅ΠΎΠ±Ρ
ΠΎΠ΄ΠΈΠΌ ΠΎΠ΄ΠΈΠ½ ΠΈΡΡΠΎΡΠ½ΠΈΠΊ ΠΏΠΎΡΡΠΎΡΠ½Π½ΠΎΠ³ΠΎ Π½Π°ΠΏΡΡΠΆΠ΅Π½ΠΈΡ. ΠΠ°ΡΠ΅ΠΌΠ°ΡΠΈΡΠ΅ΡΠΊΠ°Ρ ΠΌΠΎΠ΄Π΅Π»Ρ ΡΠ°ΠΊΠΎΠ³ΠΎ ΠΌΠΎΡΠΎΡΠ° Π΄ΠΎΡΡΠ°ΡΠΎΡΠ½ΠΎ ΠΏΡΠΎΡΡΠ°, Π½ΠΎ Ρ Π΅Ρ ΠΏΠΎΠΌΠΎΡΡΡ ΠΌΠΎΠΆΠ½ΠΎ ΡΠ΅Π°Π»ΠΈΠ·ΠΎΠ²ΡΠ²Π°ΡΡ Π΄ΠΎΡΡΠ°ΡΠΎΡΠ½ΠΎ ΡΠ»ΠΎΠΆΠ½ΡΠ΅ Π°Π»Π³ΠΎΡΠΈΡΠΌΡ ΡΠΏΡΠ°Π²Π»Π΅Π½ΠΈΡ ΡΠΎΠ²ΡΠ΅ΠΌΠ΅Π½Π½ΡΠΌΠΈ Π±ΡΡΡΡΠΎΠ΄Π΅ΠΉΡΡΠ²ΡΡΡΠΈΠΌΠΈ ΠΏΡΠΈΠ²ΠΎΠ΄Π½ΡΠΌΠΈ ΡΠΈΡΡΠ΅ΠΌΠ°ΠΌΠΈ. Π‘ΠΎΠΏΠΎΡΡΠ°Π²ΠΈΠΌΠ°Ρ ΠΏΠΎ Π²ΠΎΠ·ΠΌΠΎΠΆΠ½ΠΎΡΡΡΠΌ ΡΠΈΡΡΠ΅ΠΌΠ° ΡΠΏΡΠ°Π²Π»Π΅Π½ΠΈΡ, Π½Π°ΠΏΡΠΈΠΌΠ΅Ρ, Π°ΡΠΈΠ½Ρ
ΡΠΎΠ½Π½ΡΠΌ Π΄Π²ΠΈΠ³Π°ΡΠ΅Π»Π΅ΠΌ Π³ΠΎΡΠ°Π·Π΄ΠΎ ΡΠ»ΠΎΠΆΠ½Π΅Π΅ ΠΌΠ°ΡΠ΅ΠΌΠ°ΡΠΈΡΠ΅ΡΠΊΠΈ ΠΈ ΡΡΠ΅Π±ΡΠ΅Ρ Π·Π°ΠΌΠ΅ΡΠ½ΠΎ Π±ΠΎΠ»ΡΡΠ΅ ΡΠ΅ΡΡΡΡΠΎΠ² ΠΏΡΠΈ ΡΠ΅Π°Π»ΠΈΠ·Π°ΡΠΈΠΈ.
ΠΠΈΠ·ΠΊΠ°Ρ Π½Π°Π΄ΡΠΆΠ½ΠΎΡΡΡ. Π©ΡΡΠΎΡΠ½ΠΎ-ΠΊΠΎΠ»Π»Π΅ΠΊΡΠΎΡΠ½ΡΠΉ ΡΠ·Π΅Π» β ΡΡΠΎ ΡΠΊΠΎΠ»ΡΠ·ΡΡΠΈΠΉ ΡΠ»Π΅ΠΊΡΡΠΈΡΠ΅ΡΠΊΠΈΠΉ ΠΊΠΎΠ½ΡΠ°ΠΊΡ, ΠΊΠΎΡΠΎΡΡΠΉ ΡΠ΅ΡΡΡΠ·Π½ΠΎ ΠΎΠ³ΡΠ°Π½ΠΈΡΠΈΠ²Π°Π΅Ρ Π½Π°Π΄ΡΠΆΠ½ΠΎΡΡΡ ΠΊΠΎΠ»Π»Π΅ΠΊΡΠΎΡΠ½ΡΡ Π΄Π²ΠΈΠ³Π°ΡΠ΅Π»Π΅ΠΉ ΠΏΠΎΡΡΠΎΡΠ½Π½ΠΎΠ³ΠΎ ΡΠΎΠΊΠ° ΠΏΠΎ ΡΡΠ°Π²Π½Π΅Π½ΠΈΡ Ρ Π±Π΅ΡΠΊΠΎΠ»Π»Π΅ΠΊΡΠΎΡΠ½ΡΠΌΠΈ.
ΠΡΡΡΡΡΡΠ²ΠΈΠ΅ ΡΠ»Π΅ΠΊΡΡΠΎΠ½Π½ΡΡ
ΠΊΠΎΠΌΠΏΠΎΠ½Π΅Π½ΡΠΎΠ². ΠΠΎΠ»Π»Π΅ΠΊΡΠΎΡΠ½ΡΠ΅ Π΄Π²ΠΈΠ³Π°ΡΠ΅Π»ΠΈ Π½Π΅ ΡΠΎΠ΄Π΅ΡΠΆΠ°Ρ ΡΠ»Π΅ΠΊΡΡΠΎΠ½Π½ΡΡ
ΠΊΠΎΠΌΠΏΠΎΠ½Π΅Π½ΡΠΎΠ² β ΠΊΠ°ΠΊ Π½Π°ΠΏΡΠΈΠΌΠ΅Ρ Π΄Π°ΡΡΠΈΠΊΠΈ Π₯ΠΎΠ»Π»Π° Π² Π±Π΅ΡΠΊΠΎΠ»Π»Π΅ΠΊΡΠΎΡΠ½ΡΡ
ΠΌΠΎΡΠΎΡΠ°Ρ
, ΠΊΠΎΡΠΎΡΡΠ΅ Π½Π΅ΠΎΠ±Ρ
ΠΎΠ΄ΠΈΠΌΡ Π΄Π»Ρ ΠΈΡ
ΡΠ°Π±ΠΎΡΡ. ΠΡΠΎ ΠΌΠΎΠΆΠ΅Ρ Π΄Π°Π²Π°ΡΡ ΠΊΠΎΠ»Π»Π΅ΠΊΡΠΎΡΠ½ΡΠΌ Π΄Π²ΠΈΠ³Π°ΡΠ΅Π»ΡΠΌ ΠΏΡΠ΅ΠΈΠΌΡΡΠ΅ΡΡΠ²ΠΎ ΠΏΡΠΈ ΡΠ°Π±ΠΎΡΠ΅, Π½Π°ΠΏΡΠΈΠΌΠ΅Ρ, Π² ΡΡΠ»ΠΎΠ²ΠΈΡΡ
Π²ΡΡΠΎΠΊΠΎΠΉ ΡΠ°Π΄ΠΈΠ°ΡΠΈΠΈ.
ΠΠ³ΡΠ°Π½ΠΈΡΠ΅Π½ΠΈΠ΅ ΡΠΊΠΎΡΠΎΡΡΠΈ Π²ΡΠ°ΡΠ΅Π½ΠΈΡ. ΠΠΎΠ³Π΄Π° ΡΡΡΠΊΠΈ ΠΏΠ΅ΡΠ΅ΠΌΠ΅ΡΠ°ΡΡΡΡ ΠΏΠΎ ΠΏΠ»Π°ΡΡΠΈΠ½Π°ΠΌ ΠΊΠΎΠ»Π»Π΅ΠΊΡΠΎΡΠ° ΠΎΡΠ΅Π½Ρ Π±ΡΡΡΡΠΎ, ΡΠΎ Π½Π°ΡΠΈΠ½Π°Π΅ΡΡΡ ΠΈΡΠΊΡΠ΅Π½ΠΈΠ΅, ΠΊΠΎΡΠΎΡΠΎΠ΅ ΡΠΎΠΊΡΠ°ΡΠ°Π΅Ρ ΡΡΠΎΠΊ ΡΠ»ΡΠΆΠ±Ρ ΠΊΠΎΠ»Π»Π΅ΠΊΡΠΎΡΠ° ΠΈ ΡΡΡΠΎΠΊ. ΠΠ»Ρ ΡΠΎΠ³ΠΎ ΡΡΠΎΠ±Ρ ΠΈΡΠΊΡΠ΅Π½ΠΈΡ Π½Π΅ ΠΏΡΠΎΠΈΡΡ ΠΎΠ΄ΠΈΠ»ΠΎ Π΄ΠΎΠ»ΠΆΠ½Ρ Π±ΡΡΡ ΠΎΠ³ΡΠ°Π½ΠΈΡΠ΅Π½Π° ΡΠΊΠΎΡΠΎΡΡΡ ΠΏΠ΅ΡΠ΅ΠΌΠ΅ΡΠ΅Π½ΠΈΡ ΡΡΡΠΎΠΊ ΠΏΠΎ ΠΊΠΎΠ»Π»Π΅ΠΊΡΠΎΡΡ ΠΈ Π½Π°Π³ΡΡΠ·ΠΊΠ° Π½Π° ΡΡΡΠΊΠΈ (ΡΠΎΠΊ). ΠΠ°ΠΊΡΠΈΠΌΠ°Π»ΡΠ½ΠΎ Π΄ΠΎΠΏΡΡΡΠΈΠΌΠ°Ρ Π»ΠΈΠ½Π΅ΠΉΠ½Π°Ρ ΡΠΊΠΎΡΠΎΡΡΡ ΠΏΠ΅ΡΠ΅ΠΌΠ΅ΡΠ΅Π½ΠΈΡ ΡΡΡΠΎΠΊ ΠΏΠΎ ΠΊΠΎΠ»Π»Π΅ΠΊΡΠΎΡΡ ΠΎΠΏΡΠ΅Π΄Π΅Π»ΡΠ΅ΡΡΡ ΠΌΠ°ΡΠ΅ΡΠΈΠ°Π»Π°ΠΌΠΈ, ΠΏΡΠΈΠΌΠ΅Π½ΡΠ½Π½ΡΠΌΠΈ Π΄Π»Ρ ΠΈΠ·Π³ΠΎΡΠΎΠ²Π»Π΅Π½ΠΈΡ ΡΡΡΠΎΠΊ ΠΈ ΠΊΠΎΠ»Π»Π΅ΠΊΡΠΎΡΠ°. Π ΠΈΠΌΠ΅Π½Π½ΠΎ ΠΎΠ½Π° ΡΠ²Π»ΡΠ΅ΡΡΡ ΠΏΡΠΈΡΠΈΠ½ΠΎΠΉ ΡΠ°Π·Π»ΠΈΡΠΈΡ Π² ΡΠΊΠΎΡΠΎΡΡΠΈ Ρ Π΄Π²ΠΈΠ³Π°ΡΠ΅Π»Π΅ΠΉ Ρ Π³ΡΠ°ΡΠΈΡΠΎΠ²ΡΠΌΠΈ ΡΡΡΠΊΠ°ΠΌΠΈ ΠΈ ΡΠΎ ΡΡΡΠΊΠ°ΠΌΠΈ ΠΈΠ· Π±Π»Π°Π³ΠΎΡΠΎΠ΄Π½ΡΡ ΠΌΠ΅ΡΠ°Π»Π»ΠΎΠ².
ΠΠ±Π»Π°ΡΡΠΈ ΠΏΡΠΈΠΌΠ΅Π½Π΅Π½ΠΈΡ
ΠΠ΅ΡΠΌΠΎΡΡΡ Π½Π° ΡΠΎ, ΡΡΠΎ Π²ΠΎ ΠΌΠ½ΠΎΠ³ΠΈΡ ΠΎΠ±Π»Π°ΡΡΡΡ ΠΏΡΠΎΠΈΡΡ ΠΎΠ΄ΠΈΡ Π°ΠΊΡΠΈΠ²Π½Π°Ρ Π·Π°ΠΌΠ΅Π½Π° ΠΊΠΎΠ»Π»Π΅ΠΊΡΠΎΡΠ½ΡΡ Π΄Π²ΠΈΠ³Π°ΡΠ΅Π»Π΅ΠΉ ΠΏΠΎΡΡΠΎΡΠ½Π½ΠΎΠ³ΠΎ ΡΠΎΠΊΠ° Π½Π° Π±Π΅ΡΠΊΠΎΠ»Π»Π΅ΠΊΡΠΎΡΠ½ΡΠ΅, Π² ΡΡΠ΄Π΅ ΠΏΡΠΈΠΌΠ΅Π½Π΅Π½ΠΈΠΉ ΠΏΡΠΎΠ΄ΠΎΠ»ΠΆΠ°ΡΡ ΠΈΡΠΏΠΎΠ»ΡΠ·ΠΎΠ²Π°ΡΡΡΡ ΠΊΠΎΠ»Π»Π΅ΠΊΡΠΎΡΠ½ΡΠ΅ Π΄Π²ΠΈΠ³Π°ΡΠ΅Π»ΠΈ:
- ΠΠΎ ΠΌΠ½ΠΎΠ³ΠΈΡ ΠΏΡΠΈΠΌΠ΅Π½Π΅Π½ΠΈΡΡ Ρ ΠΆΡΡΡΠΊΠΈΠΌΠΈ ΡΡΠ΅Π±ΠΎΠ²Π°Π½ΠΈΡΠΌΠΈ ΠΏΠΎ ΡΡΠΎΠΈΠΌΠΎΡΡΠΈ ΡΠ΅ΡΠ΅Π½ΠΈΡ, ΠΊΠΎΡΠΎΡΡΠ΅ ΠΎΠ³ΡΠ°Π½ΠΈΡΠΈΠ²Π°ΡΡ ΠΏΡΠΈΠΌΠ΅Π½Π΅Π½ΠΈΠ΅ ΡΠ»ΠΎΠΆΠ½ΠΎΠΉ ΠΈ Π΄ΠΎΡΠΎΠ³ΠΎΠΉ ΡΠΏΡΠ°Π²Π»ΡΡΡΠ΅ΠΉ ΡΠ»Π΅ΠΊΡΡΠΎΠ½ΠΈΠΊΠΈ
- Π Β ΡΠΈΡΡΠ΅ΠΌΠ°Ρ
, ΡΠ°Π±ΠΎΡΠ°ΡΡΠΈΡ
Π² ΠΆΡΡΡΠΊΠΈΡ
ΡΡΠ»ΠΎΠ²ΠΈΡΡ
(Π½Π°ΠΏΡΠΈΠΌΠ΅Ρ, Π²ΡΡΠΎΠΊΠ°Ρ ΡΠ΅ΠΌΠΏΠ΅ΡΠ°ΡΡΡΠ° ΠΈΠ»ΠΈ ΡΠ°Π΄ΠΈΠ°ΡΠΈΡ) ΠΈΠ»ΠΈ Π² ΠΊΠΎΡΠΎΡΡΡ
ΠΈΠΌΠ΅ΡΡΡΡ ΠΆΡΡΡΠΊΠΈΠ΅ ΠΎΠ³ΡΠ°Π½ΠΈΡΠ΅Π½ΠΈΡ ΠΏΠΎ ΡΠ°Π·ΠΌΠ΅ΡΠ°ΠΌ.

Π Π°Π·Π»ΠΈΡΠ½ΡΠ΅ ΡΠΈΠΏΡ ΠΎΠ΄Π½ΠΎΡΠ°Π·Π½ΡΡ Π΄Π²ΠΈΠ³Π°ΡΠ΅Π»Π΅ΠΉ
ΠΠ°ΡΠ° ΠΏΡΠ±Π»ΠΈΠΊΠ°ΡΠΈΠΈ: 06.05.2019 11:24
ΠΠ΄Π½ΠΎΡΠ°Π·Π½ΡΠ΅ ΡΠ»Π΅ΠΊΡΡΠΎΠ΄Π²ΠΈΠ³Π°ΡΠ΅Π»ΠΈ, ΡΠΎΠ΅Π΄ΠΈΠ½ΡΡΡΠΈΠ΅ Π² ΡΠ΅Π±Π΅ ΠΏΡΠΎΡΡΡΡ ΠΊΠΎΠ½ΡΡΡΡΠΊΡΠΈΡ, ΠΊΠΎΠΌΠΏΠ°ΠΊΡΠ½ΡΠ΅ ΡΠ°Π·ΠΌΠ΅ΡΡ ΠΈ Π΄ΠΎΡΡΡΠΏΠ½ΡΡ ΡΡΠΎΠΈΠΌΠΎΡΡΡ, ΡΠΈΡΠΎΠΊΠΎ ΠΏΡΠΈΠΌΠ΅Π½ΡΡΡΡΡ Π² ΡΠ°Π·Π»ΠΈΡΠ½ΡΡ Π±ΡΡΠΎΠ²ΡΡ ΡΠ»Π΅ΠΊΡΡΠΎΠΏΡΠΈΠ±ΠΎΡΠ°Ρ . Π‘ΡΠ°ΡΠΎΡ ΠΎΠ΄Π½ΠΎΡΠ°Π·Π½ΠΎΠ³ΠΎ ΠΌΠΎΡΠΎΡΠ° ΠΎΡΠ½Π°ΡΠ΅Π½ Π΄Π²ΡΠΌΡ ΠΎΠ±ΠΌΠΎΡΠΊΠ°ΠΌΠΈ (ΠΎΡΠ½ΠΎΠ²Π½ΠΎΠΉ ΠΈ Π²ΡΠΏΠΎΠΌΠΎΠ³Π°ΡΠ΅Π»ΡΠ½ΠΎΠΉ), ΡΠ°ΡΠΏΠΎΠ»ΠΎΠΆΠ΅Π½Π½ΡΠΌΠΈ ΠΏΠΎΠ΄ ΡΠ³Π»ΠΎΠΌ 90 Π³ΡΠ°Π΄ΡΡΠΎΠ² ΠΎΡΠ½ΠΎΡΠΈΡΠ΅Π»ΡΠ½ΠΎ Π΄ΡΡΠ³ Π΄ΡΡΠ³Π°. ΠΠ°ΠΆΠ΄Π°Ρ ΠΎΠ±ΠΌΠΎΡΠΊΠ° ΡΠ°Π·Π΄Π΅Π»ΡΠ΅ΡΡΡ Π½Π° Π½Π΅ΠΎΠ±Ρ ΠΎΠ΄ΠΈΠΌΠΎΠ΅ ΠΊΠΎΠ»ΠΈΡΠ΅ΡΡΠ²ΠΎ ΠΏΠΎΠ»ΡΡΠΎΠ².
ΠΠΎΠ΄Π΅Π»ΡΠ½ΠΎΠ΅ ΡΠ°Π·Π½ΠΎΠΎΠ±ΡΠ°Π·ΠΈΠ΅
ΠΠΎΠ»Π΅ ΡΡΠ°ΡΠΎΡΠ° ΠΎΠ΄Π½ΠΎΡΠ°Π·Π½ΡΡ ΠΌΠΎΡΠΎΡΠΎΠ², ΡΠ°Π±ΠΎΡΠ°ΡΡΠΈΡ ΠΎΡ ΡΠ΅ΡΠΈ 110 -240 Π, ΠΎΡΡΠ°Π΅ΡΡΡ Π½Π΅ΠΏΠΎΠ΄Π²ΠΈΠΆΠ½ΡΠΌ, ΡΡΠΎ ΠΏΡΠΈΠ²ΠΎΠ΄ΠΈΡ ΠΊ ΠΈΠ·ΠΌΠ΅Π½Π΅Π½ΠΈΡ ΡΠ°ΡΠΏΠΎΠ»ΠΎΠΆΠ΅Π½ΠΈΡ ΠΏΠΎΠ»ΡΡΠΎΠ² ΠΏΡΠΈ ΡΠΈΠ½ΡΡΠΎΠΈΠ΄Π°Π»ΡΠ½ΡΡ ΠΊΠΎΠ»Π΅Π±Π°Π½ΠΈΡΡ Ρ ΠΎΠΏΡΠ΅Π΄Π΅Π»Π΅Π½Π½ΠΎΠΉ ΡΠ°ΡΡΠΎΡΠΎΠΉ. ΠΠΎΠ»ΡΡΠ° Π΄Π²ΠΈΠ³Π°ΡΠ΅Π»Ρ ΠΎΠ΄ΠΈΠ½ ΡΠ°Π· ΠΌΠ΅Π½ΡΡΡ ΡΠ²ΠΎΠ΅ ΠΏΠΎΠ»ΠΎΠΆΠ΅Π½ΠΈΠ΅ Π² ΠΊΠ°ΠΆΠ΄ΠΎΠΌ ΡΠΈΠΊΠ»Π΅, ΡΡΠΎ ΠΏΡΠΈΠ²ΠΎΠ΄ΠΈΡ ΠΊ Π½Π΅ΠΎΠ±Ρ ΠΎΠ΄ΠΈΠΌΠΎΡΡΠΈ Π΄ΠΎΠΏΠΎΠ»Π½ΠΈΡΠ΅Π»ΡΠ½ΠΎΠ³ΠΎ Π²ΠΎΠ·Π΄Π΅ΠΉΡΡΠ²ΠΈΡ Π½Π° Π²Π°Π» Π΄Π²ΠΈΠ³Π°ΡΠ΅Π»Ρ Π΄Π»Ρ Π·Π°ΠΏΡΡΠΊΠ° Π²ΡΠ°ΡΠ΅Π½ΠΈΡ.
ΠΠΎ ΠΌΠ΅ΡΠΎΠ΄Ρ ΠΏΡΡΠΊΠ° ΡΠ»Π΅ΠΊΡΡΠΎΠΌΠΎΡΠΎΡΡ ΡΠ°Π·Π΄Π΅Π»ΡΡΡΡΡ Π½Π° 4 ΠΎΡΠ½ΠΎΠ²Π½ΡΠ΅ ΡΠΈΠΏΠ°:
- CSIR β Ρ ΠΏΡΡΠΊΠΎΠΌ ΡΠ΅ΡΠ΅Π· ΠΊΠΎΠ½Π΄Π΅Π½ΡΠ°ΡΠΎΡ ΠΈ ΡΠ°Π±ΠΎΡΠΎΠΉ ΡΠ΅ΡΠ΅Π· ΠΈΠ½Π΄ΡΠΊΡΠΈΠ²Π½ΠΎΡΡΡ;
- CSCR β Ρ ΠΏΡΡΠΊΠΎΠΌ ΡΠ΅ΡΠ΅Π· ΠΊΠΎΠ½Π΄Π΅Π½ΡΠ°ΡΠΎΡ ΠΈ ΡΠ°Π±ΠΎΡΠΎΠΉ ΡΠ΅ΡΠ΅Π· Π΅ΠΌΠΊΠΎΡΡΡ;
- RSIR β Ρ ΡΠ΅ΠΎΡΡΠ°ΡΠ½ΡΠΌ ΠΏΡΡΠΊΠΎΠΌ;
- PSC β Ρ ΠΏΠΎΡΡΠΎΡΠ½Π½ΡΠΌ ΡΠ°Π·Π΄Π΅Π»Π΅Π½ΠΈΠ΅ΠΌ Π΅ΠΌΠΊΠΎΡΡΠΈ.

Π Π°Π·Π»ΠΈΡΠ½ΡΠ΅ ΡΠΈΠΏΡ ΠΏΡΡΠΊΠ° Π΄Π²ΠΈΠ³Π°ΡΠ΅Π»Ρ ΠΎΠ±Π»Π°Π΄Π°ΡΡ ΠΈΠ½Π΄ΠΈΠ²ΠΈΠ΄ΡΠ°Π»ΡΠ½ΡΠΌΠΈ ΠΏΡΠ΅ΠΈΠΌΡΡΠ΅ΡΡΠ²Π°ΠΌΠΈ, ΠΏΡΠΎΡΠ²Π»ΡΡΡΠΈΠΌΠΈΡΡ Π² ΠΏΡΠΎΡΠ΅ΡΡΠ΅ ΡΠΊΡΠΏΠ»ΡΠ°ΡΠ°ΡΠΈΠΈ ΠΌΠΎΡΠΎΡΠΎΠ².
ΠΠ½Π΄ΠΈΠ²ΠΈΠ΄ΡΠ°Π»ΡΠ½ΡΠ΅ ΠΎΡΠΎΠ±Π΅Π½Π½ΠΎΡΡΠΈ ΡΠ°Π·Π»ΠΈΡΠ½ΡΡ ΡΠ»Π΅ΠΊΡΡΠΎΠΌΠΎΡΠΎΡΠΎΠ²
ΠΠ°ΠΈΠ±ΠΎΠ»ΡΡΡΡ Π³ΡΡΠΏΠΏΡ ΠΎΠ΄Π½ΠΎΡΠ°Π·Π½ΡΡ ΡΠ»Π΅ΠΊΡΡΠΎΠΌΠΎΡΠΎΡΠΎΠ² ΡΠΎΡΡΠ°Π²Π»ΡΡΡ Π΄Π²ΠΈΠ³Π°ΡΠ΅Π»ΠΈ ΡΠ°Π·Π»ΠΈΡΠ½ΡΡ ΡΠΈΠΏΠΎΡΠ°Π·ΠΌΠ΅ΡΠΎΠ², Π·Π°ΠΏΡΡΠΊΠ°Π΅ΠΌΡΠ΅ ΡΠ΅ΡΠ΅Π· ΠΊΠΎΠ½Π΄Π΅Π½ΡΠ°ΡΠΎΡ ΠΈ ΡΠ°Π±ΠΎΡΠ°ΡΡΠΈΠ΅ ΡΠ΅ΡΠ΅Π· ΠΎΠ±ΠΌΠΎΡΠΊΡ. ΠΠΎΠ½Π΄Π΅Π½ΡΠ°ΡΠΎΡ ΠΎΠ±Π΅ΡΠΏΠ΅ΡΠΈΠ²Π°Π΅Ρ ΠΎΠΏΡΠ΅Π΄Π΅Π»Π΅Π½Π½ΠΎΠ΅ ΠΎΡΡΡΠ°Π²Π°Π½ΠΈΠ΅ ΡΠΎΠΊΠ° Π² ΠΏΡΡΠΊΠΎΠ²ΠΎΠΉ ΠΎΠ±ΠΌΠΎΡΠΊΠ΅ ΠΎΡΠ½ΠΎΡΠΈΡΠ΅Π»ΡΠ½ΠΎ ΡΠΎΠΊΠ° Π² Π³Π»Π°Π²Π½ΠΎΠΉ ΠΎΠ±ΠΌΠΎΡΠΊΠ΅, ΠΏΡΠΈΠ²ΠΎΠ΄ΡΡΠ΅Π΅ ΠΊ ΠΏΠΎΡΠ²Π»Π΅Π½ΠΈΡ Π²ΡΠ°ΡΠ°ΡΡΠ΅Π³ΠΎ ΠΌΠΎΠΌΠ΅Π½ΡΠ°. ΠΡΡΠΊΠΎΠ²Π°Ρ ΠΎΠ±ΠΌΠΎΡΠΊΠ° ΠΎΡΠΊΠ»ΡΡΠ°Π΅ΡΡΡ ΠΏΠΎΡΠ»Π΅ Π΄ΠΎΡΡΠΈΠΆΠ΅Π½ΠΈΡ ΡΠ°Π±ΠΎΡΠ΅ΠΉ ΡΠ°ΡΡΠΎΡΡ Π²ΡΠ°ΡΠ΅Π½ΠΈΡ Π²Π°Π»Π° Π΄Π²ΠΈΠ³Π°ΡΠ΅Π»Ρ. ΠΡΡΠΎΠΊΠΈΠΉ ΠΏΡΡΠΊΠΎΠ²ΠΎΠΉ ΠΌΠΎΠΌΠ΅Π½Ρ ΡΠ»Π΅ΠΊΡΡΠΎΠΌΠΎΡΠΎΡΠΎΠ² ΡΠΈΠΏΠ° CSIR ΠΏΠΎΠ·Π²ΠΎΠ»ΡΠ΅Ρ ΠΈΡΠΏΠΎΠ»ΡΠ·ΠΎΠ²Π°ΡΡ ΠΈΡ Π² ΠΏΡΠΈΠ²ΠΎΠ΄Π°Ρ ΠΊΠΎΠ½Π²Π΅ΠΉΠ΅ΡΠΎΠ², Π²ΠΎΠ·Π΄ΡΡΠ½ΡΡ ΠΈ Ρ ΠΎΠ»ΠΎΠ΄ΠΈΠ»ΡΠ½ΡΡ ΠΊΠΎΠΌΠΏΡΠ΅ΡΡΠΎΡΠΎΠ².
ΠΠΎΠ»Π΅Π΅ Π΄ΠΎΡΠΎΠ³ΠΈΠ΅ Π΄Π²ΠΈΠ³Π°ΡΠ΅Π»ΠΈ ΡΠΈΠΏΠ° CSCR, ΠΎΠ±Π»Π°Π΄Π°ΡΡΠΈΠ΅ ΠΌΠ°ΠΊΡΠΈΠΌΠ°Π»ΡΠ½ΡΠΌΠΈ ΠΏΠΎΠΊΠ°Π·Π°ΡΠ΅Π»ΡΠΌΠΈ ΠΌΠΎΡΠ½ΠΎΡΡΠΈ ΡΡΠ΅Π΄ΠΈ ΠΎΠ΄Π½ΠΎΡΠ°Π·Π½ΡΡ ΡΡΡΡΠΎΠΉΡΡΠ², Π°Π΄Π°ΠΏΡΠΈΡΠΎΠ²Π°Π½Ρ Π΄Π»Ρ ΡΠΊΡΠΏΠ»ΡΠ°ΡΠ°ΡΠΈΠΈ Π² ΡΠ»ΠΎΠΆΠ½ΡΡ ΡΡΠ»ΠΎΠ²ΠΈΡΡ . ΠΠ»Π΅ΠΊΡΡΠΎΠΌΠΎΡΠΎΡΡ ΡΡΠΎΠ³ΠΎ ΡΠΈΠΏΠ° ΠΌΠ΅Π½Π΅Π΅ ΠΏΠΎΠ΄Π²Π΅ΡΠΆΠ΅Π½Ρ Π½Π°Π³ΡΠ΅Π²Ρ Π² ΡΡΠ°Π²Π½Π΅Π½ΠΈΠΈ Ρ Π°Π½Π°Π»ΠΎΠ³ΠΈΡΠ½ΡΠΌΠΈ ΡΡΡΡΠΎΠΉΡΡΠ²Π° Π΄ΡΡΠ³ΠΈΡ ΠΌΠΎΠ΄ΠΈΡΠΈΠΊΠ°ΡΠΈΠΉ. ΠΠ²ΠΈΠ³Π°ΡΠ΅Π»ΠΈ CSCR ΠΌΠΎΡΠ½ΠΎΡΡΡΡ ΠΎΡ 1,1 Π΄ΠΎ 11 ΠΊΠΡ ΠΏΡΠΈΠΌΠ΅Π½ΡΡΡΡΡ Π΄Π»Ρ ΠΎΡΠ½Π°ΡΠ΅Π½ΠΈΡ Π²Π°ΠΊΡΡΠΌΠ½ΠΎΠ³ΠΎ Π½Π°ΡΠΎΡΠ½ΠΎΠ³ΠΎ ΠΎΠ±ΠΎΡΡΠ΄ΠΎΠ²Π°Π½ΠΈΡ.
ΠΠ»Π΅ΠΊΡΡΠΎΠ΄Π²ΠΈΠ³Π°ΡΠ΅Π»ΠΈ RSIR Β«Ρ ΡΠ°ΡΡΠ΅ΠΏΠ»Π΅Π½Π½ΠΎΠΉ ΡΠ°Π·ΠΎΠΉΒ» Π·Π½Π°ΡΠΈΡΠ΅Π»ΡΠ½ΠΎ Π΄Π΅ΡΠ΅Π²Π»Π΅ Π°Π½Π°Π»ΠΎΠ³ΠΈΡΠ½ΡΡ ΠΌΠΎΡΠΎΡΠΎΠ², ΠΈΡΠΏΠΎΠ»ΡΠ·ΡΠ΅ΠΌΡΡ Π² ΠΏΡΠΎΠΌΡΡΠ»Π΅Π½Π½ΠΎΡΡΠΈ. ΠΠ±ΠΌΠΎΡΠΊΠ°, ΠΏΡΠ΅Π΄Π½Π°Π·Π½Π°ΡΠ΅Π½Π½Π°Ρ Π΄Π»Ρ ΠΏΡΡΠΊΠ°, ΡΠ΅Π°Π»ΠΈΠ·ΠΎΠ²Π°Π½Π° ΠΏΡΠΎΠ²ΠΎΠ΄ΠΎΠΌ ΠΌΠ΅Π½ΡΡΠ΅Π³ΠΎ Π΄ΠΈΠ°ΠΌΠ΅ΡΡΠ°. ΠΡΠΊΠ»ΡΡΠ΅Π½ΠΈΠ΅ ΠΏΡΡΠΊΠΎΠ²ΠΎΠΉ ΠΎΠ±ΠΌΠΎΡΠΊΠΈ ΠΏΡΠΎΠΈΡΡ ΠΎΠ΄ΠΈΡ ΠΏΡΠΈ Π΄ΠΎΡΡΠΈΠΆΠ΅Π½ΠΈΠΈ Π²Π΅Π»ΠΈΡΠΈΠ½Ρ ΡΠ°ΡΡΠΎΡΡ Π²ΡΠ°ΡΠ΅Π½ΠΈΡ ΠΎΠΊΠΎΠ»ΠΎ 75% ΠΎΡ Π½ΠΎΠΌΠΈΠ½Π°Π»ΡΠ½ΡΡ ΠΏΠΎΠΊΠ°Π·Π°ΡΠ΅Π»Π΅ΠΉ. ΠΡΡΠΎΠΊΠΈΠ΅ ΠΏΡΡΠΊΠΎΠ²ΡΠ΅ ΡΠΎΠΊΠ° Π΄Π²ΠΈΠ³Π°ΡΠ΅Π»Π΅ΠΉ RSIR ΠΎΠ³ΡΠ°Π½ΠΈΡΠΈΠ²Π°ΡΡ ΡΡΠ΅ΡΡ ΠΏΡΠΈΠΌΠ΅Π½Π΅Π½ΠΈΡ ΠΌΠΎΡΠΎΡΠΎΠ² ΠΏΡΠΈΠ²ΠΎΠ΄Π½ΡΠΌΠΈ ΠΌΠ΅Ρ Π°Π½ΠΈΠ·ΠΌΠ°ΠΌΠΈ Ρ Π½Π΅Π±ΠΎΠ»ΡΡΠΈΠΌΠΈ ΠΏΡΡΠΊΠΎΠ²ΡΠΌΠΈ ΠΌΠΎΠΌΠ΅Π½ΡΠ°ΠΌΠΈ.
ΠΠ»Π΅ΠΊΡΡΠΎΠ΄Π²ΠΈΠ³Π°ΡΠ΅Π»ΠΈ ΡΠΈΠΏΠ° PSC ΠΎΡΠ½Π°ΡΠ΅Π½Ρ ΠΏΡΡΠΊΠΎΠ²ΠΎΠΉ ΠΎΠ±ΠΌΠΎΡΠΊΠΎΠΉ, ΠΏΠΎΡΡΠΎΡΠ½Π½ΠΎ ΠΏΠΎΠ΄ΠΊΠ»ΡΡΠ΅Π½Π½ΠΎΠΉ ΡΠ΅ΡΠ΅Π· ΠΊΠΎΠ½Π΄Π΅Π½ΡΠ°ΡΠΎΡ. ΠΡΠΈ Π΄ΠΎΡΡΠΈΠΆΠ΅Π½ΠΈΠΈ ΡΡΠ°Π½Π΄Π°ΡΡΠ½ΠΎΠ³ΠΎ ΠΊΠΎΠ»ΠΈΡΠ΅ΡΡΠ²Π° ΠΎΠ±ΠΎΡΠΎΡΠΎΠ² ΠΏΡΡΠΊΠΎΠ²Π°Ρ ΠΎΠ±ΠΌΠΎΡΠΊΠ° ΠΈΡΠΏΠΎΠ»Π½ΡΠ΅Ρ ΡΠΎΠ»Ρ Π²ΡΠΏΠΎΠΌΠΎΠ³Π°ΡΠ΅Π»ΡΠ½ΠΎΠΉ. ΠΠ»Π΅ΠΊΡΡΠΎΠΌΠΎΡΠΎΡΡ Ρ ΠΏΠΎΡΡΠΎΡΠ½Π½ΡΠΌ ΡΠ°Π·Π΄Π΅Π»Π΅Π½ΠΈΠ΅ΠΌ Π΅ΠΌΠΊΠΎΡΡΠΈ ΠΎΠΏΡΠΈΠΌΠ°Π»ΡΠ½Ρ Π΄Π»Ρ ΡΠ°Π±ΠΎΡΡ Ρ Π½ΠΈΠ·ΠΊΠΎΠΈΠ½Π΅ΡΡΠΈΠΎΠ½Π½ΡΠΌΠΈ Π½Π°Π³ΡΡΠ·ΠΊΠ°ΠΌΠΈ.
Β
ΠΠ΅Π½Π·ΠΈΠ½ΠΎΠ²ΡΠ΅ Π΄Π²ΠΈΠ³Π°ΡΠ΅Π»ΠΈ TSS KM Π΄Π»Ρ Π³Π΅Π½Π΅ΡΠ°ΡΠΎΡΠΎΠ², ΠΌΠΎΡΠΎΠΏΠΎΠΌΠΏ, Π²ΠΈΠ±ΡΠΎΠΏΠ»ΠΈΡ β Π°Π½Π°Π»ΠΎΠ³ΠΈ ΠΏΠΎΠΏΡΠ»ΡΡΠ½ΡΡ ΠΌΠΎΠ΄Π΅Π»Π΅ΠΉ
Π Π°ΡΡΠΎΡΡΠΈΠΌΠ΅Π½ΡΠ΅ ΠΠ Π’Π‘Π‘ ΠΈ Π½Π°ΡΠΈΡ Π΄ΠΈΠ»Π΅ΡΠΎΠ² ΠΏΠΎΡΠ²ΠΈΠ»ΠΈΡΡ Π±Π΅Π½Π·ΠΈΠ½ΠΎΠ²ΡΠ΅ Π΄Π²ΠΈΠ³Π°ΡΠ΅Π»ΠΈ Ρ Π²ΠΎΠ·Π΄ΡΡΠ½ΡΠΌ ΠΎΡ Π»Π°ΠΆΠ΄Π΅Π½ΠΈΠ΅ΠΌ TSS KM, ΠΏΡΠ΅Π΄Π½Π°Π·Π½Π°ΡΠ΅Π½Π½ΡΠ΅ Π΄Π»Ρ ΠΈΡΠΏΠΎΠ»ΡΠ·ΠΎΠ²Π°Π½ΠΈΡ Π² ΡΠΎΡΡΠ°Π²Π΅ ΠΏΠΎΡΡΠ°ΡΠΈΠ²Π½ΡΡ Π³Π΅Π½Π΅ΡΠ°ΡΠΎΡΠΎΠ² Π±ΡΡΠΎΠ²ΠΎΠ³ΠΎ ΠΈ ΠΏΡΠΎΡΠ΅ΡΡΠΈΠΎΠ½Π°Π»ΡΠ½ΠΎΠ³ΠΎ Π½Π°Π·Π½Π°ΡΠ΅Π½ΠΈΡ. ΠΠΎΠ²ΡΠ΅ ΠΌΠΎΠ΄Π΅Π»ΠΈ Π΄Π²ΠΈΠ³Π°ΡΠ΅Π»Π΅ΠΉ ΠΏΡΠΎΠΈΠ·Π²ΠΎΠ΄ΡΡΡΡ ΠΏΠΎΠ΄ ΠΌΠ°ΡΠΊΠΎΠΉ Π’Π‘Π‘ Ρ Π²Π°Π»Π°ΠΌΠΈ ΡΠ°Π·Π»ΠΈΡΠ½ΠΎΠ³ΠΎ Π΄ΠΈΠ°ΠΌΠ΅ΡΡΠ° ΠΈ ΡΠΎΡΠΌ ΠΈ ΠΏΡΠ΅Π΄Π½Π°Π·Π½Π°ΡΠ΅Π½Ρ Π΄Π»Ρ Π·Π°ΠΌΠ΅Π½Ρ Π°Π½Π°Π»ΠΎΠ³ΠΈΡΠ½ΡΡ Π°Π³ΡΠ΅Π³Π°ΡΠΎΠ² Π² Π±Π΅Π½Π·ΠΎΠ³Π΅Π½Π΅ΡΠ°ΡΠΎΡΠ°Ρ ΡΠ°Π·Π»ΠΈΡΠ½ΡΡ ΠΌΠ°ΡΠΎΠΊ, ΠΌΠΎΡΠΎΠΏΠΎΠΌΠΏΠ°Ρ ΠΈ Π΄ΡΡΠ³ΠΎΠΌ ΠΎΠ±ΠΎΡΡΠ΄ΠΎΠ²Π°Π½ΠΈΠΈ.
ΠΠ΅Π½Π·ΠΎΠ³Π΅Π½Π΅ΡΠ°ΡΠΎΡΡ ΠΈ ΠΌΠΎΡΠΎΠΏΠΎΠΌΠΏΡ β Π²ΠΎΡΡΡΠ΅Π±ΠΎΠ²Π°Π½Π½ΠΎΠ΅ ΠΎΠ±ΠΎΡΡΠ΄ΠΎΠ²Π°Π½ΠΈΡ, Π½Π΅ΠΎΠ±Ρ ΠΎΠ΄ΠΈΠΌΠΎΠ΅ Π²ΠΎ ΠΌΠ½ΠΎΠ³ΠΈΡ ΡΡΠ΅ΡΠ°Ρ Π΄Π΅ΡΡΠ΅Π»ΡΠ½ΠΎΡΡΠΈ ΠΏΡΠ΅Π΄ΠΏΡΠΈΡΡΠΈΠΉ ΠΈ ΡΠ°ΡΡΠ½ΡΡ Π»ΠΈΡ. ΠΠ²ΠΈΠ³Π°ΡΠ΅Π»Ρ β ΠΎΡΠ½ΠΎΠ²Π½ΠΎΠΉ ΠΊΠΎΠΌΠΏΠΎΠ½Π΅Π½Ρ ΠΎΠ±ΠΎΡΡΠ΄ΠΎΠ²Π°Π½ΠΈΡ Π΄Π°Π½Π½ΠΎΠ³ΠΎ ΡΠΈΠΏΠ°, ΠΎΠΏΡΠ΅Π΄Π΅Π»ΡΡΡΠΈΠΉ ΠΊΠΎΠΌΠΏΠ»Π΅ΠΊΡ Π΅Π³ΠΎ ΠΎΡΠ½ΠΎΠ²Π½ΡΡ Ρ Π°ΡΠ°ΠΊΡΠ΅ΡΠΈΡΡΠΈΠΊ, Π²ΠΊΠ»ΡΡΠ°Ρ ΡΠ°ΠΊΠΎΠ΅, Π½Π΅ΠΌΠ°Π»ΠΎΠ²Π°ΠΆΠ½ΠΎΠ΅ ΡΠ²ΠΎΠΉΡΡΠ²ΠΎ ΠΊΠ°ΠΊ ΡΡΠΎΠΈΠΌΠΎΡΡΡ. Π Π±ΠΎΠ»ΡΡΠΈΠ½ΡΡΠ²Π΅ ΡΠ»ΡΡΠ°Π΅Π², ΡΠ΅ΠΌΠΎΠ½Ρ Π±Π΅Π½Π·ΠΎΠ³Π΅Π½Π΅ΡΠ°ΡΠΎΡΠ° ΠΈΠ»ΠΈ ΠΌΠΎΡΠΎΠΏΠΎΠΌΠΏΡ ΠΏΡΠ΅Π΄ΡΡΠ°Π²Π»ΡΠ΅Ρ ΡΠΎΠ±ΠΎΠΉ Π·Π°ΠΌΠ΅Π½Ρ Π΄Π²ΠΈΠ³Π°ΡΠ΅Π»Ρ, Π²ΡΡΠ°Π±ΠΎΡΠ°Π²ΡΠ΅Π³ΠΎ ΡΠ²ΠΎΠΉ ΡΠ΅ΡΡΡΡ, ΡΠΎΡΡΠ°Π²Π»ΡΡΡΠΈΠΉ, Π·Π°ΡΠ°ΡΡΡΡ, Π»ΠΈΡΡ ΡΠΎΡΠ½ΠΈ ΠΌΠΎΡΠΎΡΠ°ΡΠΎΠ². ΠΠΎΠ²Π°Ρ Π»ΠΈΠ½Π΅ΠΉΠΊΠ° Π±Π΅Π½Π·ΠΈΠ½ΠΎΠ²ΡΡ Π΄Π²ΠΈΠ³Π°ΡΠ΅Π»Π΅ΠΉ TSS ΠΎΡΠ»ΠΈΡΠ°Π΅ΡΡΡ Π²ΡΡΠΎΠΊΠΎΠΉ Π½Π°Π΄ΡΠΆΠ½ΠΎΡΡΡΡ, Π½ΠΈΠ·ΠΊΠΎΠΉ ΡΡΠΎΠΈΠΌΠΎΡΡΡΡ ΠΈ ΠΏΡΠ΅Π΄Π½Π°Π·Π½Π°ΡΠ΅Π½Π° Π΄Π»Ρ Π±Π΅ΡΠΏΡΠΎΠ±Π»Π΅ΠΌΠ½ΠΎΠΉ Π·Π°ΠΌΠ΅Π½Ρ Π°Π½Π°Π»ΠΎΠ³ΠΈΡΠ½ΡΡ ΠΈΠ·Π΄Π΅Π»ΠΈΠΉ Π² ΡΠΎΡΡΠ°Π²Π΅ ΡΠΈΡΠΎΠΊΠΎΠ³ΠΎ ΠΏΠ΅ΡΠ΅ΡΠ½Ρ ΠΎΠ±ΠΎΡΡΠ΄ΠΎΠ²Π°Π½ΠΈΡ.
ΠΠ²ΠΈΠ³Π°ΡΠ΅Π»Ρ TSS KM210C-S (Π΄ΠΈΠ°ΠΌΠ΅ΡΡ Π²Π°Π»Π°=20 ΠΌΠΌ.) ΡΠ²Π»ΡΠ΅ΡΡΡ Π°Π½Π°Π»ΠΎΠ³ΠΎΠΌ ΡΠ»Π΅Π΄ΡΡΡΠΈΡ ΠΌΠΎΠ΄Π΅Π»Π΅ΠΉ:
Β
ΠΠ²ΠΈΠ³Π°ΡΠ΅Π»Ρ TSS KM210C-Q (Π΄ΠΈΠ°ΠΌΠ΅ΡΡ Π²Π°Π»Π°=19,05 ΠΌΠΌ.) ΡΠ²Π»ΡΠ΅ΡΡΡ Π°Π½Π°Π»ΠΎΠ³ΠΎΠΌ ΡΠ»Π΅Π΄ΡΡΡΠΈΡ ΠΌΠΎΠ΄Π΅Π»Π΅ΠΉ:Β
ΠΠ²ΠΈΠ³Π°ΡΠ΅Π»Ρ TSS KM420C-S (Π΄ΠΈΠ°ΠΌΠ΅ΡΡ Π²Π°Π»Π°=25 ΠΌΠΌ.) ΡΠ²Π»ΡΠ΅ΡΡΡ Π°Π½Π°Π»ΠΎΠ³ΠΎΠΌ ΡΠ»Π΅Π΄ΡΡΡΠΈΡ ΠΌΠΎΠ΄Π΅Π»Π΅ΠΉ:Β
ΠΠ²ΠΈΠ³Π°ΡΠ΅Π»Ρ TSS KM420C-Q (Π΄ΠΈΠ°ΠΌΠ΅ΡΡ Π²Π°Π»Π°=25,4 ΠΌΠΌ.) ΡΠ²Π»ΡΠ΅ΡΡΡ Π°Π½Π°Π»ΠΎΠ³ΠΎΠΌ ΡΠ»Π΅Π΄ΡΡΡΠΈΡ ΠΌΠΎΠ΄Π΅Π»Π΅ΠΉ:-
Honda GX390 QX3
-
Lifan190 F D25,4
-
Loncin G390F (I type) D25,4
-
Champion G 420 HK 25,4ΠΠ
-
Grost GX390 Q 25,4mm
Β
ΠΠ²ΠΈΠ³Π°ΡΠ΅Π»Ρ TSS KM210C-V (Π²Π°Π»-ΠΊΠΎΠ½ΡΡ) ΡΠ²Π»ΡΠ΅ΡΡΡ Π°Π½Π°Π»ΠΎΠ³ΠΎΠΌ ΡΠ»Π΅Π΄ΡΡΡΠΈΡ ΠΌΠΎΠ΄Π΅Π»Π΅ΠΉ:Β
ΠΠ²ΠΈΠ³Π°ΡΠ΅Π»Ρ TSS KM420CE-V (Π²Π°Π»-ΠΊΠΎΠ½ΡΡ, ΡΠ»Π΅ΠΊΡΡΠΎΡΡΠ°ΡΡΠ΅Ρ) ΡΠ²Π»ΡΠ΅ΡΡΡ Π°Π½Π°Π»ΠΎΠ³ΠΎΠΌ ΡΠ»Π΅Π΄ΡΡΡΠΈΡ ΠΌΠΎΠ΄Π΅Π»Π΅ΠΉ:-
Lifan190 FD-2 ΠΊΠΎΠ½ΡΡΠ½ΡΠΉ Π²Π°Π» 45,5ΠΌΠΌ
-
Loncin G390FD (B type) ΠΊΠΎΠ½ΡΡΠ½ΡΠΉ Π²Π°Π» 45,5ΠΌΠΌ
-
Grost GX390 EV ΠΊΠΎΠ½ΡΡΠ½ΡΠΉ Π²Π°Π» 45,5ΠΌΠΌ
ΠΠ΅Π½Π·ΠΈΠ½ΠΎΠ²ΡΠ΅ Π΄Π²ΠΈΠ³Π°ΡΠ΅Π»ΠΈ TSS ΡΠ΅ΡΠΈΠΈ KM ΠΏΠΎΠ·Π²ΠΎΠ»ΡΡΡ ΠΏΡΠΎΠΈΠ·Π²Π΅ΡΡΠΈ Π±ΡΡΡΡΡΡ Π·Π°ΠΌΠ΅Π½Ρ Π°Π½Π°Π»ΠΎΠ³ΠΈΡΠ½ΡΡ Π°Π³ΡΠ΅Π³Π°ΡΠΎΠ² Π΄ΡΡΠ³ΠΈΡ ΠΌΠ°ΡΠΎΠΊ, Π²ΡΡΠ°Π±ΠΎΡΠ°Π²ΡΠΈΡ ΡΠ²ΠΎΠΉ ΡΠ΅ΡΡΡΡ, ΠΏΠΎΡΡΠ°ΡΠΈΠ² ΠΌΠΈΠ½ΠΈΠΌΡΠΌ ΡΡΠ΅Π΄ΡΡΠ² ΠΈ Π²ΡΠ΅ΠΌΠ΅Π½ΠΈ. Π‘ΠΏΠ΅ΡΠΈΠ°Π»ΠΈΡΡΡ ΠΠ Π’Π‘Π‘ ΠΏΠΎΠΌΠΎΠ³ΡΡ ΠΏΠΎΠ΄ΠΎΠ±ΡΠ°ΡΡ Π½Π΅Π΄ΠΎΡΠΎΠ³ΠΎΠΉ Π°Π½Π°Π»ΠΎΠ³ Π΄Π²ΠΈΠ³Π°ΡΠ΅Π»Ρ Π±Π΅Π½Π·ΠΎΠ³Π΅Π½Π΅ΡΠ°ΡΠΎΡΠ°, Π²ΠΈΠ±ΡΠΎΠΏΠ»ΠΈΡΡ ΠΈΠ»ΠΈ ΠΌΠΎΡΠΎΠΏΠΎΠΌΠΏΡ ΡΠ°Π·Π»ΠΈΡΠ½ΡΡ Π±ΡΠ΅Π½Π΄ΠΎΠ².
ΠΠΎΠ΄ΠΎΠ±ΡΠ°ΡΡ Π°Π½Π°Π»ΠΎΠ³ Π±Π΅Π½Π·ΠΈΠ½ΠΎΠ²ΠΎΠ³ΠΎ Π΄Π²ΠΈΠ³Π°ΡΠ΅Π»ΡΠ’ΠΈΠΏΡ Π΄Π²ΠΈΠ³Π°ΡΠ΅Π»Π΅ΠΉ ΠΈ ΠΏΡΠΈΠ½ΡΠΈΠΏ ΠΈΡ ΡΠ°Π±ΠΎΡΡ (Π΄Π»Ρ ΠΊΠΎΠΌΠΌΠ΅ΡΡΠ΅ΡΠΊΠΎΠ³ΠΎ ΠΈ ΠΏΡΠΎΠΌΡΡΠ»Π΅Π½Π½ΠΎΠ³ΠΎ ΠΏΡΠΈΠΌΠ΅Π½Π΅Π½ΠΈΡ)
ΠΠ²ΠΈΠ³Π°ΡΠ΅Π»ΠΈ — ΡΡΠΎ ΠΌΠ΅Ρ Π°Π½ΠΈΡΠ΅ΡΠΊΠΈΠ΅ ΠΈΠ»ΠΈ ΡΠ»Π΅ΠΊΡΡΠΎΠΌΠ΅Ρ Π°Π½ΠΈΡΠ΅ΡΠΊΠΈΠ΅ ΡΡΡΡΠΎΠΉΡΡΠ²Π°, ΠΏΡΠ΅ΠΎΠ±ΡΠ°Π·ΡΡΡΠΈΠ΅ ΡΠ½Π΅ΡΠ³ΠΈΡ Π² Π΄Π²ΠΈΠΆΠ΅Π½ΠΈΠ΅. ΠΠ½Π΅ΡΠ³ΠΈΡ Π² ΡΠΎΡΠΌΠ΅ ΡΠ»Π΅ΠΊΡΡΠΈΡΠ΅ΡΠΊΠΎΠΉ, Π³ΠΈΠ΄ΡΠ°Π²Π»ΠΈΡΠ΅ΡΠΊΠΎΠΉ ΠΈΠ»ΠΈ ΠΏΠ½Π΅Π²ΠΌΠ°ΡΠΈΡΠ΅ΡΠΊΠΎΠΉ ΠΏΡΠ΅ΠΎΠ±ΡΠ°Π·ΡΠ΅ΡΡΡ Π²ΠΎ Π²ΡΠ°ΡΠ°ΡΠ΅Π»ΡΠ½ΠΎΠ΅ ΠΈΠ»ΠΈ Π»ΠΈΠ½Π΅ΠΉΠ½ΠΎΠ΅ Π΄Π²ΠΈΠΆΠ΅Π½ΠΈΠ΅, Π° Π·Π°ΡΠ΅ΠΌ Π²ΡΠ²ΠΎΠ΄ΠΈΡΡΡ Π½Π° Π²Π°Π» ΠΈΠ»ΠΈ Π΄ΡΡΠ³ΠΎΠΉ ΠΊΠΎΠΌΠΏΠΎΠ½Π΅Π½Ρ ΠΏΠ΅ΡΠ΅Π΄Π°ΡΠΈ ΡΠ½Π΅ΡΠ³ΠΈΠΈ, Π³Π΄Π΅ ΠΎΠ½Π° ΠΎΠ±Π΅ΡΠΏΠ΅ΡΠΈΠ²Π°Π΅Ρ ΠΏΠΎΠ»Π΅Π·Π½ΡΡ ΡΠ°Π±ΠΎΡΡ. ΠΠ»Π΅ΠΊΡΡΠΎΠ΄Π²ΠΈΠ³Π°ΡΠ΅Π»ΠΈ Π²ΠΊΠ»ΡΡΠ°ΡΡ ΡΠ°Π·Π½ΠΎΠ²ΠΈΠ΄Π½ΠΎΡΡΠΈ ΠΏΠ΅ΡΠ΅ΠΌΠ΅Π½Π½ΠΎΠ³ΠΎ ΠΈΠ»ΠΈ ΠΏΠΎΡΡΠΎΡΠ½Π½ΠΎΠ³ΠΎ ΡΠΎΠΊΠ°, ΠΊΠΎΡΠΎΡΡΠ΅ Π΄Π°Π»Π΅Π΅ ΠΏΠΎΠ΄ΡΠ°Π·Π΄Π΅Π»ΡΡΡΡΡ Π½Π° ΡΠ»Π΅ΠΊΡΡΠΎΠ΄Π²ΠΈΠ³Π°ΡΠ΅Π»ΠΈ ΡΠΏΠ΅ΡΠΈΠ°Π»ΡΠ½ΠΎΠ³ΠΎ Π½Π°Π·Π½Π°ΡΠ΅Π½ΠΈΡ, Π²ΠΊΠ»ΡΡΠ°Ρ ΠΌΠΎΡΠΎΡ-ΡΠ΅Π΄ΡΠΊΡΠΎΡΡ, ΡΠ°Π³ΠΎΠ²ΡΠ΅ Π΄Π²ΠΈΠ³Π°ΡΠ΅Π»ΠΈ, ΡΠ΅ΡΠ²ΠΎΠ΄Π²ΠΈΠ³Π°ΡΠ΅Π»ΠΈ ΠΈ Π»ΠΈΠ½Π΅ΠΉΠ½ΡΠ΅ Π΄Π²ΠΈΠ³Π°ΡΠ΅Π»ΠΈ.ΠΠΈΠ΄ΡΠ°Π²Π»ΠΈΡΠ΅ΡΠΊΠΈΠ΅ ΠΈ ΠΏΠ½Π΅Π²ΠΌΠ°ΡΠΈΡΠ΅ΡΠΊΠΈΠ΅ Π΄Π²ΠΈΠ³Π°ΡΠ΅Π»ΠΈ ΠΈΡΠΏΠΎΠ»ΡΠ·ΡΡΡ ΠΆΠΈΠ΄ΠΊΠΎΡΡΡ (ΠΌΠ°ΡΠ»ΠΎ, Π²ΠΎΠ·Π΄ΡΡ ) Π² ΠΊΠ°ΡΠ΅ΡΡΠ²Π΅ Π΄Π²ΠΈΠΆΡΡΠ΅ΠΉ ΡΠΈΠ»Ρ. Π Ρ ΠΈΠΌΠΈΡΠ΅ΡΠΊΠΈΠΌ Π΄Π²ΠΈΠ³Π°ΡΠ΅Π»ΡΠΌ ΠΎΡΠ½ΠΎΡΡΡΡΡ ΠΏΠΎΠ΄Π²Π΅ΡΠ½ΡΠ΅ ΠΌΠΎΡΠΎΡΡ Π΄Π»Ρ ΠΈΡΠΏΠΎΠ»ΡΠ·ΠΎΠ²Π°Π½ΠΈΡ Π½Π° Π»ΠΎΠ΄ΠΊΠ°Ρ ΠΈ ΡΠ°ΠΊΠ΅ΡΠ½ΡΡ Π΄Π²ΠΈΠ³Π°ΡΠ΅Π»ΡΡ , ΠΎΠ±Π° ΠΈΠ· ΠΊΠΎΡΠΎΡΡΡ ΠΈΡΠΏΠΎΠ»ΡΠ·ΡΡΡ Π²Π½ΡΡΡΠ΅Π½Π½Π΅Π΅ ΡΠ³ΠΎΡΠ°Π½ΠΈΠ΅ ΠΈ ΡΠ°ΡΡΠΎ Π½Π°Π·ΡΠ²Π°ΡΡΡΡ Π΄Π²ΠΈΠ³Π°ΡΠ΅Π»ΡΠΌΠΈ. ΠΠ»Π΅ΠΊΡΡΠΎΠ΄Π²ΠΈΠ³Π°ΡΠ΅Π»Ρ, ΠΈΡΠΏΠΎΠ»ΡΠ·ΡΠ΅ΠΌΡΠΉ Π΄Π»Ρ ΠΏΡΠΈΠ²Π΅Π΄Π΅Π½ΠΈΡ Π² Π΄Π²ΠΈΠΆΠ΅Π½ΠΈΠ΅ Π½Π΅Π±ΠΎΠ»ΡΡΠΈΡ ΡΡΠ±Π°ΡΠΊΠΈΡ Π»ΠΎΠ΄ΠΎΠΊ, Π½Π°Π·ΡΠ²Π°Π΅ΡΡΡ ΡΡΠΎΠ»Π»ΠΈΠ½Π³ΠΎΠ²ΡΠΌ Π΄Π²ΠΈΠ³Π°ΡΠ΅Π»Π΅ΠΌ. ΠΠΈ ΠΎΠ΄Π½Π° ΠΈΠ· ΡΡΠΈΡ ΠΏΠΎΡΠ»Π΅Π΄Π½ΠΈΡ Π³ΡΡΠΏΠΏ Π·Π΄Π΅ΡΡ Π½Π΅ ΠΎΠ±ΡΡΠΆΠ΄Π°Π΅ΡΡΡ.
Π’ΠΈΠΏΡ Π΄Π²ΠΈΠ³Π°ΡΠ΅Π»Π΅ΠΉ (ΠΈ ΠΏΡΠΈΠ½ΡΠΈΠΏ ΠΈΡ ΡΠ°Π±ΠΎΡΡ)
ΠΠ²ΠΈΠ³Π°ΡΠ΅Π»ΠΈ ΠΏΠ΅ΡΠ΅ΠΌΠ΅Π½Π½ΠΎΠ³ΠΎ ΡΠΎΠΊΠ°
ΠΠ²ΠΈΠ³Π°ΡΠ΅Π»ΠΈ ΠΏΠ΅ΡΠ΅ΠΌΠ΅Π½Π½ΠΎΠ³ΠΎ ΡΠΎΠΊΠ°— ΡΡΠΎ ΡΠ»Π΅ΠΊΡΡΠΎΠΌΠ΅Ρ Π°Π½ΠΈΡΠ΅ΡΠΊΠΈΠ΅ ΡΡΡΡΠΎΠΉΡΡΠ²Π°, ΠΏΡΠΈΠ²ΠΎΠ΄ΠΈΠΌΡΠ΅ Π² Π΄Π΅ΠΉΡΡΠ²ΠΈΠ΅ ΠΏΠ΅ΡΠ΅ΠΌΠ΅Π½Π½ΡΠΌ ΡΠΎΠΊΠΎΠΌ Π΄Π»Ρ ΡΠΎΠ·Π΄Π°Π½ΠΈΡ Π²ΡΠ°ΡΠ°ΡΠ΅Π»ΡΠ½ΠΎΠ³ΠΎ Π΄Π²ΠΈΠΆΠ΅Π½ΠΈΡ.ΠΡΠ°ΡΠ΅Π½ΠΈΠ΅ ΠΎΠ±Π΅ΡΠΏΠ΅ΡΠΈΠ²Π°Π΅Ρ ΠΌΠ΅Ρ Π°Π½ΠΈΡΠ΅ΡΠΊΡΡ ΡΠ°Π±ΠΎΡΡ Π΄Π»Ρ ΠΏΡΠΈΠ²ΠΎΠ΄Π° Π΄ΡΡΠ³ΠΈΡ Π²ΡΠ°ΡΠ°ΡΡΠΈΡ ΡΡ ΠΌΠ°ΡΠΈΠ½, ΡΠ°ΠΊΠΈΡ ΠΊΠ°ΠΊ Π½Π°ΡΠΎΡΡ. ΠΠ»Ρ ΠΎΠ±Π»Π΅Π³ΡΠ΅Π½ΠΈΡ Π²Π·Π°ΠΈΠΌΠΎΠ·Π°ΠΌΠ΅Π½ΡΠ΅ΠΌΠΎΡΡΠΈ Π΄ΠΎΡΡΡΠΏΠ½Ρ ΡΡΠ°Π½Π΄Π°ΡΡΠ½ΡΠ΅ ΡΠ°Π·ΠΌΠ΅ΡΡ ΠΊΠΎΡΠΏΡΡΠ° Ρ ΡΠ°Π·Π½ΡΠΌ Π΄ΠΈΠ°ΠΏΠ°Π·ΠΎΠ½ΠΎΠΌ ΠΌΠΎΡΠ½ΠΎΡΡΠΈ. ΠΠΎΡΠΏΡΡΠ° ΠΌΠΎΠ³ΡΡ Π²Π°ΡΡΠΈΡΠΎΠ²Π°ΡΡΡΡ ΠΎΡ ΠΏΡΠΎΡΡΡΡ ΠΎΡΠΊΡΡΡΡΡ ΠΊΠΎΠ½ΡΡΡΡΠΊΡΠΈΠΉ Π΄ΠΎ Π²Π·ΡΡΠ²ΠΎΠ·Π°ΡΠΈΡΠ΅Π½Π½ΡΡ Π½Π΅Π²Π΅Π½ΡΠΈΠ»ΠΈΡΡΠ΅ΠΌΡΡ ΠΊΠΎΠ½ΡΡΡΡΠΊΡΠΈΠΉ, ΠΎΠ±ΡΡΠ½ΠΎ ΠΏΠΎΠ»Π½ΠΎΡΡΡΡ Π·Π°ΠΊΡΡΡΡΠ΅ Ρ Π²Π΅Π½ΡΠΈΠ»ΡΡΠΎΡΠ½ΡΠΌ ΠΎΡ Π»Π°ΠΆΠ΄Π΅Π½ΠΈΠ΅ΠΌ (TEFC). ΠΠ΅ΠΆΠ΄ΡΠ½Π°ΡΠΎΠ΄Π½Π°Ρ ΡΠ΅ΠΉΡΠΈΠ½Π³ΠΎΠ²Π°Ρ ΡΠΈΡΡΠ΅ΠΌΠ° ΡΠ°ΠΊΠΆΠ΅ ΠΏΡΠ΅Π΄ΠΏΠΈΡΡΠ²Π°Π΅Ρ ΡΡΠΎΠ²Π½ΠΈ ΠΎΡ Π»Π°ΠΆΠ΄Π΅Π½ΠΈΡ ΠΈ Π·Π°ΡΠΈΡΡ. ΠΠ²ΠΈΠ³Π°ΡΠ΅Π»ΠΈ ΠΏΠ΅ΡΠ΅ΠΌΠ΅Π½Π½ΠΎΠ³ΠΎ ΡΠΎΠΊΠ° ΡΠΎΡΡΠ°Π²Π»ΡΡΡ Π·Π½Π°ΡΠΈΡΠ΅Π»ΡΠ½ΡΡ ΡΠ°ΡΡΡ ΠΈΡΠΏΠΎΠ»ΡΠ·ΡΠ΅ΠΌΡΡ ΡΠ΅Π³ΠΎΠ΄Π½Ρ Π΄Π²ΠΈΠ³Π°ΡΠ΅Π»Π΅ΠΉ ΠΈ ΠΏΡΠΈΠ²ΠΎΠ΄ΡΡ Π² Π΄Π΅ΠΉΡΡΠ²ΠΈΠ΅ Π½Π°ΡΠΎΡΡ, Π²Π΅Π½ΡΠΈΠ»ΡΡΠΎΡΡ, ΠΊΠΎΠΌΠΏΡΠ΅ΡΡΠΎΡΡ ΠΈ Ρ. Π. ΠΠΈΠ°ΠΏΠ°Π·ΠΎΠ½ ΡΠ°Π·ΠΌΠ΅ΡΠΎΠ² ΠΎΡ ΠΌΠ°ΡΠΈΠ½ Ρ ΠΌΠ°Π»ΠΎΠΉ ΠΌΠΎΡΠ½ΠΎΡΡΡΡ Π΄ΠΎ 20 000 Π».Ρ.ΠΠ²ΠΈΠ³Π°ΡΠ΅Π»ΠΈ ΠΏΠ΅ΡΠ΅ΠΌΠ΅Π½Π½ΠΎΠ³ΠΎ ΡΠΎΠΊΠ° Π±ΡΠ΄ΡΡ ΠΎΠ΄Π½ΠΎ- ΠΈΠ»ΠΈ ΡΡΠ΅Ρ ΡΠ°Π·Π½ΡΠΌΠΈ.
Π’ΡΠ΅Ρ ΡΠ°Π·Π½ΡΠ΅ ΠΌΠ°ΡΠΈΠ½Ρ ΠΊΠ»Π°ΡΡΠΈΡΠΈΡΠΈΡΡΡΡΡΡ ΠΏΠΎ ΠΊΠΎΠ½ΡΡΡΡΠΊΡΠΈΠΈ ΡΠΎΡΠΎΡΠ°: Ρ ΠΊΠΎΡΠΎΡΠΊΠΎΠ·Π°ΠΌΠΊΠ½ΡΡΡΠΌ ΡΠΎΡΠΎΡΠΎΠΌ ΠΈΠ»ΠΈ Ρ ΡΠ°Π·Π½ΡΠΌ ΡΠΎΡΠΎΡΠΎΠΌ. Π ΠΊΠΎΠ½ΡΡΡΡΠΊΡΠΈΠΈ Ρ ΠΊΠΎΡΠΎΡΠΊΠΎΠ·Π°ΠΌΠΊΠ½ΡΡΡΠΌ ΡΠΎΡΠΎΡΠΎΠΌ ΠΈΡΠΏΠΎΠ»ΡΠ·ΡΡΡΡΡ ΠΌΠ΅Π΄Π½ΡΠ΅ ΠΈΠ»ΠΈ Π°Π»ΡΠΌΠΈΠ½ΠΈΠ΅Π²ΡΠ΅ ΡΡΠ΅ΡΠΆΠ½ΠΈ ΡΠΎΡΠΎΡΠ°, Π·Π°ΠΊΠΎΡΠΎΡΠ΅Π½Π½ΡΠ΅ ΠΊΠΎΠ½ΡΠ΅Π²ΡΠΌΠΈ ΠΊΠΎΠ»ΡΡΠ°ΠΌΠΈ, ΠΈ Π² ΠΎΠΏΡΠ΅Π΄Π΅Π»Π΅Π½Π½ΠΎΠΌ ΡΠΌΡΡΠ»Π΅ ΠΎΠ½ΠΈ ΠΏΡΠ΅Π΄ΡΡΠ°Π²Π»ΡΡΡ ΡΠΎΠ±ΠΎΠΉ Π½Π°ΡΡΠΎΡΡΠΈΠ΅ ΠΈΠ½Π΄ΡΠΊΡΠΈΠΎΠ½Π½ΡΠ΅ ΠΌΠ°ΡΠΈΠ½Ρ — ΡΠ²ΠΎΠ΅Π³ΠΎ ΡΠΎΠ΄Π° Π²ΡΠ°ΡΠ°ΡΡΠΈΠΉΡΡ ΡΡΠ°Π½ΡΡΠΎΡΠΌΠ°ΡΠΎΡ. Π ΠΎΡΠΎΡΡ Ρ ΠΎΠ±ΠΌΠΎΡΠΊΠΎΠΉ ΠΈΡΠΏΠΎΠ»ΡΠ·ΡΡΡ ΠΏΡΠΎΠ²ΠΎΠ»ΠΎΡΠ½ΡΠ΅ ΡΠΎΡΠΎΡΡ, ΠΊΠΎΠ»ΠΈΡΠ΅ΡΡΠ²ΠΎ ΠΏΠΎΠ»ΡΡΠΎΠ² ΠΊΠΎΡΠΎΡΡΡ ΡΠ°Π²Π½ΠΎ ΠΊΠΎΠ»ΠΈΡΠ΅ΡΡΠ²Ρ ΠΏΠΎΠ»ΡΡΠΎΠ² ΡΡΠ°ΡΠΎΡΠ°, Π° ΠΊΠΎΠ½ΡΠ°ΠΊΡΠ½ΡΠ΅ ΠΊΠΎΠ»ΡΡΠ° ΠΎΠ±Π΅ΡΠΏΠ΅ΡΠΈΠ²Π°ΡΡ ΠΌΠ΅ΡΠΎΠ΄ Π²ΡΡΠ°Π²ΠΊΠΈ ΡΠΎΠΏΡΠΎΡΠΈΠ²Π»Π΅Π½ΠΈΡ Π΄Π»Ρ Π·Π°ΠΏΡΡΠΊΠ° ΠΈ ΠΈΠ·ΠΌΠ΅Π½Π΅Π½ΠΈΡ ΡΠΊΠΎΡΠΎΡΡΠΈ. ΠΡΡΠΊ ΡΡΠ΅Ρ ΡΠ°Π·Π½ΡΡ ΠΌΠ°ΡΠΈΠ½ ΠΏΡΠΈ ΠΏΠΎΠ»Π½ΠΎΠΌ Π½Π°ΠΏΡΡΠΆΠ΅Π½ΠΈΠΈ ΠΈΠ»ΠΈ ΡΠ΅ΡΠ΅Π· Π»ΠΈΠ½ΠΈΡ Π²ΠΎΠ·ΠΌΠΎΠΆΠ΅Π½ ΠΏΡΠΈΠΌΠ΅ΡΠ½ΠΎ Π΄ΠΎ 200 Π».Ρ., ΠΏΠΎΡΠ»Π΅ ΡΠ΅Π³ΠΎ ΡΠ°ΡΡΠΎ ΡΡΠ΅Π±ΡΠ΅ΡΡΡ ΠΌΠ΅ΡΠΎΠ΄ ΠΏΠΎΠ½ΠΈΠΆΠ΅Π½Π½ΠΎΠ³ΠΎ Π½Π°ΠΏΡΡΠΆΠ΅Π½ΠΈΡ, ΠΎΡΠΎΠ±Π΅Π½Π½ΠΎ Π΄Π»Ρ Π΄Π²ΠΈΠ³Π°ΡΠ΅Π»Π΅ΠΉ, ΠΊΠΎΡΠΎΡΡΠ΅ Π·Π°ΠΏΡΡΠΊΠ°ΡΡΡΡ ΡΠ°ΡΡΠΎ, ΠΈΠ·-Π·Π° Π·Π°ΠΌΠ΅ΡΠ½ΠΎΠ³ΠΎ ΠΏΠ°Π΄Π΅Π½ΠΈΡ Π½Π°ΠΏΡΡΠΆΠ΅Π½ΠΈΡ, Π²Π»ΠΈΡΡΡΠ΅Π³ΠΎ Π½Π° ΠΎΡΠ²Π΅ΡΠ΅Π½ΠΈΠ΅. , Π΄ΡΡΠ³ΠΈΠ΅ Π΄Π²ΠΈΠ³Π°ΡΠ΅Π»ΠΈ ΠΈ Ρ. Π΄.
ΠΠ΄Π½ΠΎΡΠ°Π·Π½ΡΠ΅ Π΄Π²ΠΈΠ³Π°ΡΠ΅Π»ΠΈ ΠΈΡΠΏΠΎΠ»ΡΠ·ΡΡΡΡΡ Π² ΠΎΡΠ½ΠΎΠ²Π½ΠΎΠΌ Π² Π΄ΠΈΠ°ΠΏΠ°Π·ΠΎΠ½Π°Ρ Π΄ΡΠΎΠ±Π½ΡΡ Π».Ρ. ΠΠ½ΠΈ Π½Π΅ Π·Π°ΠΏΡΡΠΊΠ°ΡΡΡΡ Π°Π²ΡΠΎΠΌΠ°ΡΠΈΡΠ΅ΡΠΊΠΈ ΠΈ ΠΌΠΎΠ³ΡΡ Π±ΡΡΡ ΡΠ³ΡΡΠΏΠΏΠΈΡΠΎΠ²Π°Π½Ρ ΠΏΠΎ ΡΠΏΠΎΡΠΎΠ±Ρ Π·Π°ΠΏΡΡΠΊΠ°. ΠΠ°ΠΈΠ±ΠΎΠ»Π΅Π΅ ΡΠΈΡΠΎΠΊΠΎ ΠΈΡΠΏΠΎΠ»ΡΠ·ΡΠ΅ΠΌΠ°Ρ ΠΊΠΎΠ½ΡΡΡΡΠΊΡΠΈΡ — Π΄Π²ΠΈΠ³Π°ΡΠ΅Π»Ρ Ρ ΡΠ°ΡΡΠ΅ΠΏΠ»Π΅Π½Π½ΠΎΠΉ ΡΠ°Π·ΠΎΠΉ — ΠΈΡΠΏΠΎΠ»ΡΠ·ΡΠ΅Ρ Π΄Π²Π΅ ΠΎΠ±ΠΌΠΎΡΠΊΠΈ ΡΡΠ°ΡΠΎΡΠ° Π΄Π»Ρ ΠΏΠΎΠ»ΡΡΠ΅Π½ΠΈΡ ΠΏΠ°ΡΡ Π½Π΅ΡΠ±Π°Π»Π°Π½ΡΠΈΡΠΎΠ²Π°Π½Π½ΡΡ ΡΠΎΠΊΠΎΠ² ΠΎΠ±ΠΌΠΎΡΠΊΠΈ, ΠΏΡΠΈ ΡΡΠΎΠΌ Π²ΡΠΏΠΎΠΌΠΎΠ³Π°ΡΠ΅Π»ΡΠ½Π°Ρ ΠΎΠ±ΠΌΠΎΡΠΊΠ° ΠΎΡΠΊΠ»ΡΡΠ°Π΅ΡΡΡ, ΠΊΠΎΠ³Π΄Π° Π΄Π²ΠΈΠ³Π°ΡΠ΅Π»Ρ ΠΏΡΠΈΠ±Π»ΠΈΠΆΠ°Π΅ΡΡΡ ΠΊ ΡΠΈΠ½Ρ ΡΠΎΠ½Π½ΠΎΠΉ ΡΠΊΠΎΡΠΎΡΡΠΈ. ΠΠΎΠ½Π΄Π΅Π½ΡΠ°ΡΠΎΡΠ½ΡΠΉ Π΄Π²ΠΈΠ³Π°ΡΠ΅Π»Ρ Π²ΡΡΠ°Π²Π»ΡΠ΅Ρ ΠΊΠΎΠ½Π΄Π΅Π½ΡΠ°ΡΠΎΡ Π²ΠΎ Π²ΡΠΏΠΎΠΌΠΎΠ³Π°ΡΠ΅Π»ΡΠ½ΡΡ ΠΎΠ±ΠΌΠΎΡΠΊΡ, ΠΊΠΎΡΠΎΡΡΠΉ Π² ΡΠ»ΡΡΠ°Π΅ ΠΊΠΎΠ½Π΄Π΅Π½ΡΠ°ΡΠΎΡΠ½ΠΎΠΉ ΠΏΡΡΠΊΠΎΠ²ΠΎΠΉ ΠΌΠ°ΡΠΈΠ½Ρ Π²ΡΠΏΠ°Π΄Π°Π΅Ρ, ΠΊΠΎΠ³Π΄Π° Π΄Π²ΠΈΠ³Π°ΡΠ΅Π»Ρ ΠΏΡΠΈΠ±Π»ΠΈΠΆΠ°Π΅ΡΡΡ ΠΊ ΡΠ°Π±ΠΎΡΠ΅ΠΉ ΡΠΊΠΎΡΠΎΡΡΠΈ, Π° Π² ΡΠ»ΡΡΠ°Π΅ Π΄Π²ΡΡ Π·Π½Π°ΡΠ½ΠΎΠ³ΠΎ ΠΊΠΎΠ½Π΄Π΅Π½ΡΠ°ΡΠΎΡΠ½ΠΎΠ³ΠΎ Π΄Π²ΠΈΠ³Π°ΡΠ΅Π»Ρ ΠΏΠ΅ΡΠ΅ΠΊΠ»ΡΡΠ°Π΅ΡΡΡ Π½Π° Π²ΡΠΎΡΠΎΠΉ ΠΊΠΎΠ½Π΄Π΅Π½ΡΠ°ΡΠΎΡ ΠΏΡΠΈ ΠΏΡΠΈΠ±Π»ΠΈΠΆΠ΅Π½ΠΈΠΈ ΡΠΊΠΎΡΠΎΡΡΡ Π±Π΅Π³Π°.Π ΠΊΠΎΠ½ΡΡΡΡΠΊΡΠΈΠΈ ΠΏΠΎΡΡΠΎΡΠ½Π½ΠΎΠ³ΠΎ ΡΠ°Π·Π΄Π΅Π»Π΅Π½Π½ΠΎΠ³ΠΎ ΠΊΠΎΠ½Π΄Π΅Π½ΡΠ°ΡΠΎΡΠ° Π²ΡΠΏΠΎΠΌΠΎΠ³Π°ΡΠ΅Π»ΡΠ½Π°Ρ ΠΎΠ±ΠΌΠΎΡΠΊΠ° ΠΈ ΠΊΠΎΠ½Π΄Π΅Π½ΡΠ°ΡΠΎΡ ΠΎΡΡΠ°ΡΡΡΡ ΠΏΠΎΠ΄ Π½Π°ΠΏΡΡΠΆΠ΅Π½ΠΈΠ΅ΠΌ Π½Π° ΡΠ°Π±ΠΎΡΠ΅ΠΉ ΡΠΊΠΎΡΠΎΡΡΠΈ. ΠΠ°ΠΊΠΎΠ½Π΅Ρ, Π² Π΄Π²ΠΈΠ³Π°ΡΠ΅Π»Π΅ Ρ ΡΠΊΡΠ°Π½ΠΈΡΠΎΠ²Π°Π½Π½ΡΠΌΠΈ ΠΏΠΎΠ»ΡΡΠ°ΠΌΠΈ ΠΈΡΠΏΠΎΠ»ΡΠ·ΡΡΡΡΡ Π½Π΅ΡΠ°Π²Π½ΠΎΠΌΠ΅ΡΠ½ΠΎ ΡΠ°Π·Π΄Π΅Π»Π΅Π½Π½ΡΠ΅ ΠΏΠΎΠ»ΡΡΠ° Ρ ΡΠΊΡΠ°Π½ΠΈΡΡΡΡΠΈΠΌΠΈ ΠΊΠ°ΡΡΡΠΊΠ°ΠΌΠΈ, ΠΊΠΎΡΠΎΡΡΠ΅ Π·Π°ΡΡΠ°Π²Π»ΡΡΡ Π²ΡΠ°ΡΠ°ΡΡΠ΅Π΅ΡΡ ΠΏΠΎΠ»Π΅ ΠΏΠ΅ΡΠ΅ΠΌΠ΅ΡΠ°ΡΡΡΡ Π² Π½Π°ΠΏΡΠ°Π²Π»Π΅Π½ΠΈΠΈ Π·Π°ΡΡΡΠΈΡ ΠΎΠ²Π°Π½Π½ΠΎΠ³ΠΎ ΠΏΠΎΠ»ΡΡΠ° (Ρ. Π. ΠΠ΅ΠΎΠ±ΡΠ°ΡΠΈΠΌΠΎ). ΠΠ²ΠΈΠ³Π°ΡΠ΅Π»ΠΈ Ρ ΡΠ°ΡΡΠ΅ΠΏΠ»Π΅Π½Π½ΡΠΌΠΈ ΠΏΠΎΠ»ΡΡΠ°ΠΌΠΈ — ΠΎΠ΄Π½ΠΈ ΠΈΠ· ΡΠ°ΠΌΡΡ Π΄Π΅ΡΠ΅Π²ΡΡ ΠΈΠ· ΠΎΠ΄Π½ΠΎΡΠ°Π·Π½ΡΡ ΠΌΠ°ΡΠΈΠ½. Π ΡΠΈΠ½Ρ ΡΠΎΠ½ΠΈΠ·ΠΈΡΡΡΡΠΈΡ ΡΡΡΡΠΎΠΉΡΡΠ²Π°Ρ ΠΈΡΠΏΠΎΠ»ΡΠ·ΡΡΡΡΡ ΡΠΈΠ½Ρ ΡΠΎΠ½Π½ΡΠ΅ ΠΎΠ΄Π½ΠΎΡΠ°Π·Π½ΡΠ΅ Π΄Π²ΠΈΠ³Π°ΡΠ΅Π»ΠΈ.
ΠΠ»Ρ ΠΏΠΎΠ»ΡΡΠ΅Π½ΠΈΡ Π΄ΠΎΠΏΠΎΠ»Π½ΠΈΡΠ΅Π»ΡΠ½ΠΎΠΉ ΠΈΠ½ΡΠΎΡΠΌΠ°ΡΠΈΠΈ ΠΎΠ·Π½Π°ΠΊΠΎΠΌΡΡΠ΅ΡΡ Ρ Π½Π°ΡΠ΅ΠΉ ΠΏΠΎΠ»Π½ΠΎΠΉ ΡΡΠ°ΡΡΠ΅ΠΉ ΠΎ ΡΠΈΠΏΠ°Ρ Π΄Π²ΠΈΠ³Π°ΡΠ΅Π»Π΅ΠΉ ΠΏΠ΅ΡΠ΅ΠΌΠ΅Π½Π½ΠΎΠ³ΠΎ ΡΠΎΠΊΠ°.
ΠΠ²ΠΈΠ³Π°ΡΠ΅Π»ΠΈ ΠΏΠΎΡΡΠΎΡΠ½Π½ΠΎΠ³ΠΎ ΡΠΎΠΊΠ°
ΠΠ²ΠΈΠ³Π°ΡΠ΅Π»ΠΈ ΠΏΠΎΡΡΠΎΡΠ½Π½ΠΎΠ³ΠΎ ΡΠΎΠΊΠ° — ΡΡΠΎ ΡΠ»Π΅ΠΊΡΡΠΎΠΌΠ΅Ρ Π°Π½ΠΈΡΠ΅ΡΠΊΠΈΠ΅ ΡΡΡΡΠΎΠΉΡΡΠ²Π°, ΠΏΡΠΈΠ²ΠΎΠ΄ΠΈΠΌΡΠ΅ Π² Π΄Π΅ΠΉΡΡΠ²ΠΈΠ΅ ΠΏΠΎΡΡΠΎΡΠ½Π½ΡΠΌ ΡΠΎΠΊΠΎΠΌ Π΄Π»Ρ ΡΠΎΠ·Π΄Π°Π½ΠΈΡ Π²ΡΠ°ΡΠ°ΡΠ΅Π»ΡΠ½ΠΎΠ³ΠΎ Π΄Π²ΠΈΠΆΠ΅Π½ΠΈΡ. ΠΠ²ΠΈΠΆΠ΅Π½ΠΈΠ΅ ΠΎΠ±Π΅ΡΠΏΠ΅ΡΠΈΠ²Π°Π΅Ρ Π²ΡΠ°ΡΠ°ΡΠ΅Π»ΡΠ½ΡΡ ΡΠ°Π±ΠΎΡΡ Π΄Π»Ρ ΠΏΡΠΈΠ²Π΅Π΄Π΅Π½ΠΈΡ Π² Π΄Π²ΠΈΠΆΠ΅Π½ΠΈΠ΅ Π΄ΡΡΠ³ΠΈΡ Π²ΡΠ°ΡΠ°ΡΡΠΈΡ ΡΡ ΠΌΠ°ΡΠΈΠ½, ΡΠ°ΠΊΠΈΡ ΠΊΠ°ΠΊ ΠΏΠΎΠ΄ΡΠ΅ΠΌΠ½ΠΈΠΊΠΈ, Ρ ΡΠ°Π·Π½ΡΠΌΠΈ ΡΠΊΠΎΡΠΎΡΡΡΠΌΠΈ. ΠΠΏΡΠ΅Π΄Π΅Π»Π΅Π½Π½ΡΠ΅ ΡΡ Π΅ΠΌΡ ΠΏΡΠΎΠ²ΠΎΠ΄ΠΊΠΈ ΠΌΠΎΠ³ΡΡ ΡΠΎΠ·Π΄Π°Π²Π°ΡΡ ΡΠΈΠ»ΡΠ½ΡΠΉ ΠΊΡΡΡΡΡΠΈΠΉ ΠΌΠΎΠΌΠ΅Π½Ρ Π½Π° Π½ΠΈΠ·ΠΊΠΎΠΉ ΡΠΊΠΎΡΠΎΡΡΠΈ, ΡΡΠΎ Π΄Π΅Π»Π°Π΅Ρ ΠΈΡ ΠΏΡΠΈΠ³ΠΎΠ΄Π½ΡΠΌΠΈ Π² ΠΊΠ°ΡΠ΅ΡΡΠ²Π΅ ΡΡΠ³ΠΎΠ²ΡΡ Π΄Π²ΠΈΠ³Π°ΡΠ΅Π»Π΅ΠΉ Π΄Π»Ρ Π»ΠΎΠΊΠΎΠΌΠΎΡΠΈΠ²ΠΎΠ², Ρ ΠΎΡΡ ΠΎΠ½ΠΈ Π² Π·Π½Π°ΡΠΈΡΠ΅Π»ΡΠ½ΠΎΠΉ ΡΡΠ΅ΠΏΠ΅Π½ΠΈ Π±ΡΠ»ΠΈ Π·Π°ΠΌΠ΅Π½Π΅Π½Ρ Π΄Π²ΠΈΠ³Π°ΡΠ΅Π»ΡΠΌΠΈ Ρ ΡΠ΅Π³ΡΠ»ΠΈΡΡΠ΅ΠΌΠΎΠΉ ΡΠ°ΡΡΠΎΡΠΎΠΉ Π²ΡΠ°ΡΠ΅Π½ΠΈΡ. Π’ΠΎΡΠ½ΠΎ ΡΠ°ΠΊ ΠΆΠ΅ Π΄Π²ΠΈΠ³Π°ΡΠ΅Π»ΠΈ ΡΠ΅Π»Π΅ΠΆΠ΅ΠΊ Π΄Π»Ρ Π³ΠΎΠ»ΡΡΠ° Π½Π΅ΡΠΊΠ»ΠΎΠ½Π½ΠΎ ΠΏΠ΅ΡΠ΅Π΄Π΅Π»ΡΠ²Π°ΡΡΡΡ ΠΎΡ ΡΠ΅ΡΠΎΡΠ½ΡΡ ΠΊΠΎΠ½ΡΡΡΡΠΊΡΠΈΠΉ ΠΊ Π±ΠΎΠ»Π΅Π΅ ΠΏΡΠΎΠ΄Π²ΠΈΠ½ΡΡΡΠΌ ΡΠΎΡΠΌΠ°ΠΌ Ρ ΡΠ»Π΅ΠΊΡΡΠΎΠ½Π½ΡΠΌΠΈ ΠΏΡΠΈΠ²ΠΎΠ΄Π°ΠΌΠΈ.ΠΠ»Ρ ΠΎΠ±Π»Π΅Π³ΡΠ΅Π½ΠΈΡ Π²Π·Π°ΠΈΠΌΠΎΠ·Π°ΠΌΠ΅Π½ΡΠ΅ΠΌΠΎΡΡΠΈ Π΄ΠΎΡΡΡΠΏΠ½Ρ ΡΡΠ°Π½Π΄Π°ΡΡΠ½ΡΠ΅ ΡΠ°Π·ΠΌΠ΅ΡΡ ΠΊΠΎΡΠΏΡΡΠ° Ρ ΡΠ°Π·Π½ΡΠΌ Π΄ΠΈΠ°ΠΏΠ°Π·ΠΎΠ½ΠΎΠΌ ΠΌΠΎΡΠ½ΠΎΡΡΠΈ. ΠΠΎΡΠΏΡΡΠ° ΠΌΠΎΠ³ΡΡ Π±ΡΡΡ ΠΎΡ ΠΏΡΠΎΡΡΡΡ ΠΎΡΠΊΡΡΡΡΡ Π΄ΠΎ Π²Π·ΡΡΠ²ΠΎΠ·Π°ΡΠΈΡΠ΅Π½Π½ΡΡ , Π½Π΅Π²Π΅Π½ΡΠΈΠ»ΠΈΡΡΠ΅ΠΌΡΡ . ΠΠ΅ΠΆΠ΄ΡΠ½Π°ΡΠΎΠ΄Π½Π°Ρ ΡΠ΅ΠΉΡΠΈΠ½Π³ΠΎΠ²Π°Ρ ΡΠΈΡΡΠ΅ΠΌΠ° ΡΠ°ΠΊΠΆΠ΅ ΠΏΡΠ΅Π΄ΠΏΠΈΡΡΠ²Π°Π΅Ρ ΡΡΠΎΠ²Π½ΠΈ ΠΎΡ Π»Π°ΠΆΠ΄Π΅Π½ΠΈΡ ΠΈ Π·Π°ΡΠΈΡΡ. ΠΠ²ΠΈΠ³Π°ΡΠ΅Π»ΠΈ ΠΏΠΎΡΡΠΎΡΠ½Π½ΠΎΠ³ΠΎ ΡΠΎΠΊΠ° Π½Π°Ρ ΠΎΠ΄ΡΡ ΠΌΠ½ΠΎΠΆΠ΅ΡΡΠ²ΠΎ ΠΏΡΠΈΠΌΠ΅Π½Π΅Π½ΠΈΠΉ Π² ΠΈΠ³ΡΡΡΠΊΠ°Ρ ΠΈ ΠΏΠΎΡΡΠ΅Π±ΠΈΡΠ΅Π»ΡΡΠΊΠΈΡ ΡΠΎΠ²Π°ΡΠ°Ρ ΠΈ ΡΠΈΡΠΎΠΊΠΎ ΠΈΡΠΏΠΎΠ»ΡΠ·ΡΡΡΡΡ Π°Π²ΡΠΎΠΏΡΠΎΠΈΠ·Π²ΠΎΠ΄ΠΈΡΠ΅Π»ΡΠΌΠΈ. ΠΠ½ΠΈ Π½Π°Ρ ΠΎΠ΄ΡΡ ΠΏΡΠΈΠΌΠ΅Π½Π΅Π½ΠΈΠ΅ Π½Π° Π»ΠΈΡΡΠ°Ρ , Π²ΠΈΠ»ΠΎΡΠ½ΡΡ ΡΠ»Π΅ΠΊΡΡΠΎΠΏΠΎΠ³ΡΡΠ·ΡΠΈΠΊΠ°Ρ ΠΈ ΠΊΠΎΠ½Π²Π΅ΠΉΠ΅ΡΠ°Ρ , Π³Π΄Π΅ Π½Π°Π³ΡΡΠ·ΠΊΠΈ Ρ ΠΏΠΎΡΡΠΎΡΠ½Π½ΡΠΌ ΠΊΡΡΡΡΡΠΈΠΌ ΠΌΠΎΠΌΠ΅Π½ΡΠΎΠΌ ΡΠ²Π»ΡΡΡΡΡ Π½ΠΎΡΠΌΠ°Π»ΡΠ½ΡΠΌ ΡΠ²Π»Π΅Π½ΠΈΠ΅ΠΌ. ΠΠ²ΠΈΠ³Π°ΡΠ΅Π»ΠΈ ΠΏΠΎΡΡΠΎΡΠ½Π½ΠΎΠ³ΠΎ ΡΠΎΠΊΠ° Π΄ΠΎΡΡΡΠΏΠ½Ρ Π² ΡΠ΅ΡΠΎΡΠ½ΠΎΠΌ ΠΈ Π±Π΅ΡΡΠ΅ΡΠΎΡΠ½ΠΎΠΌ ΠΈΡΠΏΠΎΠ»Π½Π΅Π½ΠΈΠΈ (Ρ ΠΏΠΎΡΡΠΎΡΠ½Π½ΡΠΌΠΈ ΠΌΠ°Π³Π½ΠΈΡΠ°ΠΌΠΈ), ΠΏΡΠΈΡΠ΅ΠΌ ΠΏΠΎΡΠ»Π΅Π΄Π½ΠΈΠ΅ ΡΡΠ΅Π±ΡΡΡ Π΄Π»Ρ ΡΠ°Π±ΠΎΡΡ ΡΠ»Π΅ΠΊΡΡΠΎΠ½Π½ΡΡ ΠΏΡΠΈΠ²ΠΎΠ΄ΠΎΠ² ΠΈ ΠΊΠΎΠ½ΡΡΠΎΠ»Π»Π΅ΡΠΎΠ².
Π’ΡΠ°Π΄ΠΈΡΠΈΠΎΠ½Π½ΡΠ΅ ΡΠ΅ΡΠΎΡΠ½ΡΠ΅ ΡΠ»Π΅ΠΊΡΡΠΎΠ΄Π²ΠΈΠ³Π°ΡΠ΅Π»ΠΈ ΠΏΠΎΡΡΠΎΡΠ½Π½ΠΎΠ³ΠΎ ΡΠΎΠΊΠ° ΠΊΠ»Π°ΡΡΠΈΡΠΈΡΠΈΡΡΡΡΡΡ Π½Π° ΠΎΡΠ½ΠΎΠ²Π΅ Π²ΠΎΠ·Π±ΡΠΆΠ΄Π΅Π½ΠΈΡ, ΠΈΡΠΏΠΎΠ»ΡΠ·ΡΠ΅ΠΌΠΎΠ³ΠΎ Π² ΠΎΠ±ΠΌΠΎΡΠΊΠ΅ Π²ΠΎΠ·Π±ΡΠΆΠ΄Π΅Π½ΠΈΡ, Ρ ΡΡΠ΅ΠΌΡ ΠΎΡΠ½ΠΎΠ²Π½ΡΠΌΠΈ ΡΠ°Π·Π»ΠΈΡΠΈΡΠΌΠΈ: ΡΡΠ½ΡΠΈΡΡΡΡΠΈΠΌΠΈ, ΠΏΠΎΡΠ»Π΅Π΄ΠΎΠ²Π°ΡΠ΅Π»ΡΠ½ΡΠΌΠΈ ΠΈ ΡΠΎΡΡΠ°Π²Π½ΡΠΌΠΈ. Π¨ΡΠ½ΡΠΎΠ²ΡΠ΅ Π΄Π²ΠΈΠ³Π°ΡΠ΅Π»ΠΈ ΠΈΠΌΠ΅ΡΡ Π½ΠΈΠ·ΠΊΠΈΠΉ ΠΏΡΡΠΊΠΎΠ²ΠΎΠΉ ΠΌΠΎΠΌΠ΅Π½Ρ, Π½ΠΈΠ·ΠΊΡΡ ΠΏΠ΅ΡΠ΅Π³ΡΡΠ·ΠΎΡΠ½ΡΡ ΡΠΏΠΎΡΠΎΠ±Π½ΠΎΡΡΡ, ΠΌΠΈΠ½ΠΈΠΌΠ°Π»ΡΠ½ΠΎΠ΅ ΠΈΠ·ΠΌΠ΅Π½Π΅Π½ΠΈΠ΅ ΡΠΊΠΎΡΠΎΡΡΠΈ Π² ΠΎΡΠ²Π΅Ρ Π½Π° Π½Π°Π³ΡΡΠ·ΠΊΡ ΠΈ ΠΏΠ»ΠΎΡ ΡΡ ΡΡΠ°Π±ΠΈΠ»ΡΠ½ΠΎΡΡΡ ΠΏΡΠΈ Π½ΡΠ»Π΅Π²ΠΎΠΉ Π½Π°Π³ΡΡΠ·ΠΊΠ΅. Π‘Π΅ΡΠΈΠΉΠ½ΡΠ΅ Π΄Π²ΠΈΠ³Π°ΡΠ΅Π»ΠΈ ΠΎΠ±Π»Π°Π΄Π°ΡΡ Π²ΡΡΠΎΠΊΠΈΠΌΠΈ ΠΏΡΡΠΊΠΎΠ²ΡΠΌΠΈ ΠΌΠΎΠΌΠ΅Π½ΡΠ°ΠΌΠΈ, Π²ΡΡΠΎΠΊΠΎΠΉ ΠΏΠ΅ΡΠ΅Π³ΡΡΠ·ΠΎΡΠ½ΠΎΠΉ ΡΠΏΠΎΡΠΎΠ±Π½ΠΎΡΡΡΡ, Π·Π½Π°ΡΠΈΡΠ΅Π»ΡΠ½ΡΠΌ ΠΈΠ·ΠΌΠ΅Π½Π΅Π½ΠΈΠ΅ΠΌ ΡΠΊΠΎΡΠΎΡΡΠΈ Π² Π·Π°Π²ΠΈΡΠΈΠΌΠΎΡΡΠΈ ΠΎΡ Π½Π°Π³ΡΡΠ·ΠΊΠΈ ΠΈ Ρ ΠΎΡΠΎΡΠ΅ΠΉ ΡΡΠ°Π±ΠΈΠ»ΡΠ½ΠΎΡΡΡΡ ΠΏΡΠΈ Π½ΡΠ»Π΅Π²ΠΎΠΉ Π½Π°Π³ΡΡΠ·ΠΊΠ΅. Π‘ΠΎΡΡΠ°Π²Π½ΡΠ΅ Π΄Π²ΠΈΠ³Π°ΡΠ΅Π»ΠΈ Π½Π°Ρ ΠΎΠ΄ΡΡΡΡ Π³Π΄Π΅-ΡΠΎ ΠΌΠ΅ΠΆΠ΄Ρ Π΄Π²ΡΠΌΡ Π΄ΡΡΠ³ΠΈΠΌΠΈ ΠΏΠΎ Ρ Π°ΡΠ°ΠΊΡΠ΅ΡΠΈΡΡΠΈΠΊΠ°ΠΌ, Ρ ΠΎΡΡ ΠΎΠ½ΠΈ ΡΠΎΠΆΠ΅ ΠΎΡΡΠ°ΡΡΡΡ ΡΡΠ°Π±ΠΈΠ»ΡΠ½ΡΠΌΠΈ ΠΏΡΠΈ Π½ΡΠ»Π΅Π²ΠΎΠΉ Π½Π°Π³ΡΡΠ·ΠΊΠ΅.
ΠΠ»Ρ Π΄Π²ΠΈΠ³Π°ΡΠ΅Π»Π΅ΠΉ ΠΏΠΎΡΡΠΎΡΠ½Π½ΠΎΠ³ΠΎ ΡΠΎΠΊΠ° ΠΌΠΎΡΠ½ΠΎΡΡΡΡ Π±ΠΎΠ»Π΅Π΅ 3/4 Π».Ρ. Π½Π΅ΠΎΠ±Ρ ΠΎΠ΄ΠΈΠΌΠΎ ΠΈΡΠΏΠΎΠ»ΡΠ·ΠΎΠ²Π°ΡΡ ΡΡΠ°ΡΡΠ΅ΡΡ Π΄Π»Ρ ΠΎΠ³ΡΠ°Π½ΠΈΡΠ΅Π½ΠΈΡ ΠΏΡΡΠΊΠΎΠ²ΠΎΠ³ΠΎ ΡΠΎΠΊΠ° Π²ΠΎ ΠΈΠ·Π±Π΅ΠΆΠ°Π½ΠΈΠ΅ Π²ΠΎΠ·Π³ΠΎΡΠ°Π½ΠΈΡ ΠΊΠΎΠΌΠΌΡΡΠ°ΡΠΎΡΠΎΠ².
ΠΠΎΡΠΎΡ-ΡΠ΅Π΄ΡΠΊΡΠΎΡΡ
ΠΠΎΡΠΎΡ-ΡΠ΅Π΄ΡΠΊΡΠΎΡΡ— ΡΡΠΎ ΡΠ»Π΅ΠΊΡΡΠΎΠΌΠ΅Ρ Π°Π½ΠΈΡΠ΅ΡΠΊΠΈΠ΅ ΡΡΡΡΠΎΠΉΡΡΠ²Π°, ΠΏΡΠΈΠ²ΠΎΠ΄ΠΈΠΌΡΠ΅ Π² Π΄Π΅ΠΉΡΡΠ²ΠΈΠ΅ ΠΏΠ΅ΡΠ΅ΠΌΠ΅Π½Π½ΡΠΌ ΠΈΠ»ΠΈ ΠΏΠΎΡΡΠΎΡΠ½Π½ΡΠΌ ΡΠΎΠΊΠΎΠΌ Π΄Π»Ρ ΡΠΎΠ·Π΄Π°Π½ΠΈΡ Π²ΡΠ°ΡΠ°ΡΠ΅Π»ΡΠ½ΠΎΠ³ΠΎ Π΄Π²ΠΈΠΆΠ΅Π½ΠΈΡ. ΠΠ²ΠΈΠΆΠ΅Π½ΠΈΠ΅ ΠΎΠ±Π΅ΡΠΏΠ΅ΡΠΈΠ²Π°Π΅Ρ Π²ΡΠ°ΡΠ°ΡΠ΅Π»ΡΠ½ΡΡ ΡΠ°Π±ΠΎΡΡ, ΠΊΠΎΡΠΎΡΠ°Ρ Π·Π°ΡΠ΅ΠΌ ΠΏΠΎΠ½ΠΈΠΆΠ°Π΅ΡΡΡ ΡΠ΅ΡΠ΅Π· Π²ΡΡΡΠΎΠ΅Π½Π½ΡΠΉ ΡΠ΅Π΄ΡΠΊΡΠΎΡ Π΄Π»Ρ ΠΏΡΠΈΠ²ΠΎΠ΄Π° Π΄ΡΡΠ³ΠΈΡ Π²ΡΠ°ΡΠ°ΡΡΠΈΡ ΡΡ ΠΌΠ°ΡΠΈΠ½, ΡΠ°ΠΊΠΈΡ ΠΊΠ°ΠΊ ΠΊΠΎΠ½Π²Π΅ΠΉΠ΅ΡΡ ΠΈΠ»ΠΈ ΡΠΏΠ°ΠΊΠΎΠ²ΠΎΡΠ½ΡΠ΅ ΠΌΠ°ΡΠΈΠ½Ρ. ΠΠΎΡΠΎΡ-ΡΠ΅Π΄ΡΠΊΡΠΎΡΡ ΠΈΡΠΏΠΎΠ»ΡΠ·ΡΡΡΡΡ ΡΠ°ΠΌ, Π³Π΄Π΅ ΡΡΠ΅Π±ΡΠ΅ΡΡΡ, ΡΡΠΎΠ±Ρ Π΄Π²ΠΈΠ³Π°ΡΠ΅Π»ΠΈ ΠΈ ΡΠ΅Π΄ΡΠΊΡΠΎΡΡ ΡΠΊΠΎΡΠΎΡΡΠΈ ΠΎΠ±Π΅ΡΠΏΠ΅ΡΠΈΠ²Π°Π»ΠΈ Π²ΡΡΠΎΠΊΠΈΠΉ ΠΊΡΡΡΡΡΠΈΠΉ ΠΌΠΎΠΌΠ΅Π½Ρ Π½Π° Π½ΠΈΠ·ΠΊΠΈΡ ΡΠΊΠΎΡΠΎΡΡΡΡ .ΠΠ° ΡΡΠ΅Ρ ΠΈΠ½ΡΠ΅Π³ΡΠ°ΡΠΈΠΈ ΡΡΠΈΡ Π΄Π²ΡΡ ΠΊΠΎΠΌΠΏΠΎΠ½Π΅Π½ΡΠΎΠ² ΠΌΠΎΡΠΎΡ-ΡΠ΅Π΄ΡΠΊΡΠΎΡΡ Π΄ΠΎΡΡΠΈΠ³Π°ΡΡ ΠΠΠ ΠΏΠΎ ΡΠ°Π·ΠΌΠ΅ΡΡ, ΡΡΡΡΠ°Π½ΡΡΡ Π²Π½Π΅ΡΠ½ΠΈΠ΅ ΠΌΡΡΡΡ, ΡΠ»ΡΡΡΠ°ΡΡ ΡΠΎΠΏΡΠΎΡΠΈΠ²Π»Π΅Π½ΠΈΠ΅ ΡΠΌΡΠ²Π°Π½ΠΈΡ ΠΈ Ρ. Π. Π§Π°ΡΡΠΎ ΡΠ΅Π΄ΡΠΊΡΠΎΡΡ Π²Π·Π°ΠΈΠΌΠΎΠ·Π°ΠΌΠ΅Π½ΡΠ΅ΠΌΡ ΠΌΠ΅ΠΆΠ΄Ρ ΠΏΡΠΎΠΈΠ·Π²ΠΎΠ΄ΠΈΡΠ΅Π»ΡΠΌΠΈ. Π₯ΠΎΡΡ ΠΌΠΎΡΠΎΡ-ΡΠ΅Π΄ΡΠΊΡΠΎΡΡ ΡΠ΅Π΄ΠΊΠΎ ΠΈΡΠΏΠΎΠ»ΡΠ·ΡΡΡΡΡ Π΄Π»Ρ Π±ΠΎΠ»ΡΡΠΈΡ Π΄Π²ΠΈΠ³Π°ΡΠ΅Π»Π΅ΠΉ, ΠΎΠ½ΠΈ Π΄ΠΎΠ²ΠΎΠ»ΡΠ½ΠΎ ΡΠ°ΡΡΠΎ ΠΈΠΌΠ΅ΡΡ Π΄ΡΠΎΠ±Π½ΡΡ ΠΌΠΎΡΠ½ΠΎΡΡΡ. ΠΠ½ΠΈ Π΄ΠΎΡΡΡΠΏΠ½Ρ Ρ ΡΠ°Π·Π»ΠΈΡΠ½ΡΠΌΠΈ ΡΠΈΠΏΠ°ΠΌΠΈ Π²ΡΡ ΠΎΠ΄Π½ΡΡ Π²Π°Π»ΠΎΠ² Ρ Π²ΡΠ±ΠΎΡΠΎΠΌ ΡΡΠ΅Π΄ΠΈ Π΄Π²ΠΈΠ³Π°ΡΠ΅Π»Π΅ΠΉ ΠΏΠ΅ΡΠ΅ΠΌΠ΅Π½Π½ΠΎΠ³ΠΎ ΡΠΎΠΊΠ°, ΡΠ΅ΡΠΎΡΠ½ΡΡ ΠΈ Π±Π΅ΡΡΠ΅ΡΠΎΡΠ½ΡΡ Π΄Π²ΠΈΠ³Π°ΡΠ΅Π»Π΅ΠΉ ΠΏΠΎΡΡΠΎΡΠ½Π½ΠΎΠ³ΠΎ ΡΠΎΠΊΠ°.
Π¨Π°Π³ΠΎΠ²ΡΠ΅ Π΄Π²ΠΈΠ³Π°ΡΠ΅Π»ΠΈ
Π¨Π°Π³ΠΎΠ²ΡΠ΅ Π΄Π²ΠΈΠ³Π°ΡΠ΅Π»ΠΈ— ΡΡΠΎ ΡΠ»Π΅ΠΊΡΡΠΎΠΌΠ΅Ρ Π°Π½ΠΈΡΠ΅ΡΠΊΠΈΠ΅ ΡΡΡΡΠΎΠΉΡΡΠ²Π°, ΠΏΡΠΈΠ²ΠΎΠ΄ΠΈΠΌΡΠ΅ Π² Π΄Π΅ΠΉΡΡΠ²ΠΈΠ΅ ΠΏΠ΅ΡΠ΅ΠΌΠ΅Π½Π½ΡΠΌ ΡΠΎΠΊΠΎΠΌ Π΄Π»Ρ ΡΠΎΠ·Π΄Π°Π½ΠΈΡ Π²ΡΠ°ΡΠ°ΡΠ΅Π»ΡΠ½ΠΎΠ³ΠΎ Π΄Π²ΠΈΠΆΠ΅Π½ΠΈΡ ΠΈ ΠΏΠΎΠ·ΠΈΡΠΈΠΎΠ½ΠΈΡΠΎΠ²Π°Π½ΠΈΡ.ΠΠ°ΠΊ ΠΏΡΠ°Π²ΠΈΠ»ΠΎ, ΡΠ°Π³ΠΎΠ²ΡΠ΅ Π΄Π²ΠΈΠ³Π°ΡΠ΅Π»ΠΈ Π½Π΅ Π²ΠΊΠ»ΡΡΠ°ΡΡ Π² ΡΠ΅Π±Ρ ΠΊΠΎΠ½ΡΡΡ ΠΎΠ±ΡΠ°ΡΠ½ΠΎΠΉ ΡΠ²ΡΠ·ΠΈ, ΠΊΠ°ΠΊ ΡΠ΅ΡΠ²ΠΎΠ΄Π²ΠΈΠ³Π°ΡΠ΅Π»ΠΈ, Π° Π²ΠΌΠ΅ΡΡΠΎ ΡΡΠΎΠ³ΠΎ Π΄ΠΎΡΡΠΈΠ³Π°ΡΡ ΡΠΏΡΠ°Π²Π»Π΅Π½ΠΈΡ ΠΏΠΎΠ»ΠΎΠΆΠ΅Π½ΠΈΠ΅ΠΌ, ΠΏΠΎΠ²ΠΎΡΠ°ΡΠΈΠ²Π°Ρ ΡΠΎΡΠΎΡ Π΄Π²ΠΈΠ³Π°ΡΠ΅Π»Ρ Π½Π° Π΄ΠΈΡΠΊΡΠ΅ΡΠ½ΠΎΠ΅ ΠΊΠΎΠ»ΠΈΡΠ΅ΡΡΠ²ΠΎ ΡΠ°Π³ΠΎΠ². ΠΠ½ΠΈ ΡΠΏΠ΅ΡΠΈΡΠΈΡΠ½Ρ Π΄Π»Ρ ΠΏΡΠΈΠ»ΠΎΠΆΠ΅Π½ΠΈΠΉ ΡΠΏΡΠ°Π²Π»Π΅Π½ΠΈΡ Π΄Π²ΠΈΠΆΠ΅Π½ΠΈΠ΅ΠΌ. Π¨Π°Π³ΠΎΠ²ΡΠ΅ Π΄Π²ΠΈΠ³Π°ΡΠ΅Π»ΠΈ ΠΈΡΠΏΠΎΠ»ΡΠ·ΡΡΡΡΡ Π² ΠΏΡΠΈΠ»ΠΎΠΆΠ΅Π½ΠΈΡΡ ΠΏΠΎΠ·ΠΈΡΠΈΠΎΠ½ΠΈΡΠΎΠ²Π°Π½ΠΈΡ, Π³Π΄Π΅ Π²Π°ΠΆΠ½ΠΎ ΡΠ΄Π΅ΡΠΆΠΈΠ²Π°ΡΡ ΠΏΠΎΠ·ΠΈΡΠΈΡ, ΠΈ ΠΈΡΠΏΠΎΠ»ΡΠ·ΡΡΡΡΡ Π½Π° ΡΠΏΠ°ΠΊΠΎΠ²ΠΎΡΠ½ΡΡ ΠΌΠ°ΡΠΈΠ½Π°Ρ , ΠΏΡΠΈΠ½ΡΠ΅ΡΠ°Ρ ΠΈ Ρ. Π., ΠΠ΄Π΅ ΠΏΠΎΡΠ΅ΡΡ ΠΏΠΎΠ»ΠΎΠΆΠ΅Π½ΠΈΡ ΠΈΠ·-Π·Π° ΠΏΠ΅ΡΠ΅Π³ΡΡΠ·ΠΊΠΈ Π½Π΅ ΠΊΡΠΈΡΠΈΡΠ½Π° ΠΈ Π³Π΄Π΅ Π²Π°ΠΆΠ½Π° ΡΠΊΠΎΠ½ΠΎΠΌΠΈΡ.
Π‘Π΅ΡΠ²ΠΎΠ΄Π²ΠΈΠ³Π°ΡΠ΅Π»ΠΈ
Π‘Π΅ΡΠ²ΠΎΠ΄Π²ΠΈΠ³Π°ΡΠ΅Π»ΠΈ— ΡΡΠΎ ΡΠ»Π΅ΠΊΡΡΠΎΠΌΠ΅Ρ Π°Π½ΠΈΡΠ΅ΡΠΊΠΈΠ΅ ΡΡΡΡΠΎΠΉΡΡΠ²Π°, ΠΏΡΠΈΠ²ΠΎΠ΄ΠΈΠΌΡΠ΅ Π² Π΄Π΅ΠΉΡΡΠ²ΠΈΠ΅ ΠΏΠ΅ΡΠ΅ΠΌΠ΅Π½Π½ΡΠΌ ΠΈΠ»ΠΈ ΠΏΠΎΡΡΠΎΡΠ½Π½ΡΠΌ ΡΠΎΠΊΠΎΠΌ Π΄Π»Ρ ΡΠΎΠ·Π΄Π°Π½ΠΈΡ Π²ΡΠ°ΡΠ°ΡΠ΅Π»ΡΠ½ΠΎΠ³ΠΎ Π΄Π²ΠΈΠΆΠ΅Π½ΠΈΡ ΠΈ ΠΏΠΎΠ·ΠΈΡΠΈΠΎΠ½ΠΈΡΠΎΠ²Π°Π½ΠΈΡ.Π‘Π΅ΡΠ²ΠΎΠ΄Π²ΠΈΠ³Π°ΡΠ΅Π»ΠΈ ΠΈΡΠΏΠΎΠ»ΡΠ·ΡΡΡ ΠΊΠΎΠ½ΡΡΡ ΠΎΠ±ΡΠ°ΡΠ½ΠΎΠΉ ΡΠ²ΡΠ·ΠΈ Π΄Π»Ρ ΡΠΏΡΠ°Π²Π»Π΅Π½ΠΈΡ ΡΠ°Π΄ΠΈΠ°Π»ΡΠ½ΡΠΌ ΠΏΠΎΠ»ΠΎΠΆΠ΅Π½ΠΈΠ΅ΠΌ ΡΠΎΡΠΎΡΠ° Π΄Π²ΠΈΠ³Π°ΡΠ΅Π»Ρ ΠΎΡΠ½ΠΎΡΠΈΡΠ΅Π»ΡΠ½ΠΎ Π΅Π³ΠΎ ΡΡΠ°ΡΠΎΡΠ°. ΠΠ½ΠΈ ΡΠΏΠ΅ΡΠΈΡΠΈΡΠ½Ρ Π΄Π»Ρ ΠΏΡΠΈΠ»ΠΎΠΆΠ΅Π½ΠΈΠΉ ΡΠΏΡΠ°Π²Π»Π΅Π½ΠΈΡ Π΄Π²ΠΈΠΆΠ΅Π½ΠΈΠ΅ΠΌ. Π‘Π΅ΡΠ²ΠΎΠ΄Π²ΠΈΠ³Π°ΡΠ΅Π»ΠΈ ΠΈΡΠΏΠΎΠ»ΡΠ·ΡΡΡΡΡ Π² ΠΏΡΠΈΠ»ΠΎΠΆΠ΅Π½ΠΈΡΡ Π΄Π»Ρ ΠΏΠΎΠ·ΠΈΡΠΈΠΎΠ½ΠΈΡΠΎΠ²Π°Π½ΠΈΡ, Π³Π΄Π΅ ΠΏΠ΅ΡΠ²ΠΎΡΡΠ΅ΠΏΠ΅Π½Π½ΠΎΠ΅ Π·Π½Π°ΡΠ΅Π½ΠΈΠ΅ ΠΈΠΌΠ΅Π΅Ρ ΠΏΠ»Π°Π²Π½ΠΎΠ΅ ΡΠΏΡΠ°Π²Π»ΡΠ΅ΠΌΠΎΠ΅ Π΄Π²ΠΈΠΆΠ΅Π½ΠΈΠ΅, Π½Π°ΠΏΡΠΈΠΌΠ΅Ρ, Π² ΠΏΡΠΎΠΌΡΡΠ»Π΅Π½Π½ΡΡ ΡΠΎΠ±ΠΎΡΠ°Ρ . ΠΠΎ Π²ΡΠΎΡΠΎΠΌ ΠΏΡΠΈΠΌΠ΅ΡΠ΅ ΡΠΏΠ°ΠΊΠΎΠ²ΠΎΡΠ½Π°Ρ ΠΌΠ°ΡΠΈΠ½Π° ΠΌΠΎΠΆΠ΅Ρ ΠΈΡΠΏΠΎΠ»ΡΠ·ΠΎΠ²Π°ΡΡ ΡΠ΅ΡΠ²ΠΎΠ΄Π²ΠΈΠ³Π°ΡΠ΅Π»Ρ Π΄Π»Ρ ΠΈΠ½Π΄Π΅ΠΊΡΠ°ΡΠΈΠΈ ΡΠΎΡΠ½ΠΎΠ³ΠΎ ΠΊΠΎΠ»ΠΈΡΠ΅ΡΡΠ²Π° ΡΠΏΠ°ΠΊΠΎΠ²ΠΎΡΠ½ΠΎΠΉ ΠΏΠ»Π΅Π½ΠΊΠΈ Π² Π·ΠΎΠ½Π΅ ΡΠΎΡΠΌΠΎΠ²Π°Π½ΠΈΡ, Π³Π΄Π΅ Π² ΠΏΡΠΎΡΠ»ΠΎΠΌ ΡΠ°ΠΊΠ°Ρ ΠΏΠΎΠ΄Π°ΡΠ° ΠΌΠΎΠ³Π»Π° ΡΠ΅Π³ΡΠ»ΠΈΡΠΎΠ²Π°ΡΡΡΡ Ρ ΠΏΠΎΠΌΠΎΡΡΡ ΠΌΠ΅Ρ Π°Π½ΠΈΡΠ΅ΡΠΊΠΎΠ³ΠΎ ΠΈΠ½Π΄Π΅ΠΊΡΠ°ΡΠΎΡΠ° Ρ ΠΏΡΠΈΠ²ΠΎΠ΄ΠΎΠΌ ΠΎΡ Π΄Π²ΠΈΠ³Π°ΡΠ΅Π»Ρ.
ΠΠΈΠ½Π΅ΠΉΠ½ΡΠ΅ Π΄Π²ΠΈΠ³Π°ΡΠ΅Π»ΠΈ
ΠΠΈΠ½Π΅ΠΉΠ½ΡΠ΅ Π΄Π²ΠΈΠ³Π°ΡΠ΅Π»ΠΈ— ΡΡΠΎ ΡΠ»Π΅ΠΊΡΡΠΎΠΌΠ΅Ρ Π°Π½ΠΈΡΠ΅ΡΠΊΠΈΠ΅ ΡΡΡΡΠΎΠΉΡΡΠ²Π°, ΠΏΡΠΈΠ²ΠΎΠ΄ΠΈΠΌΡΠ΅ Π² Π΄Π΅ΠΉΡΡΠ²ΠΈΠ΅ ΠΏΠ΅ΡΠ΅ΠΌΠ΅Π½Π½ΡΠΌ ΠΈΠ»ΠΈ ΠΏΠΎΡΡΠΎΡΠ½Π½ΡΠΌ ΡΠΎΠΊΠΎΠΌ Π΄Π»Ρ ΡΠΎΠ·Π΄Π°Π½ΠΈΡ Π»ΠΈΠ½Π΅ΠΉΠ½ΠΎΠ³ΠΎ, Π° Π½Π΅ Π²ΡΠ°ΡΠ°ΡΠ΅Π»ΡΠ½ΠΎΠ³ΠΎ Π΄Π²ΠΈΠΆΠ΅Π½ΠΈΡ. ΠΠΈΠ½Π΅ΠΉΠ½ΠΎΠ΅ Π΄Π²ΠΈΠΆΠ΅Π½ΠΈΠ΅ ΠΏΠΎΠ»Π΅Π·Π½ΠΎ Π² ΠΏΡΠΈΠ»ΠΎΠΆΠ΅Π½ΠΈΡΡ , Π³Π΄Π΅ ΠΌΠΎΠΆΠ½ΠΎ ΠΈΡΠΏΠΎΠ»ΡΠ·ΠΎΠ²Π°ΡΡ Π²ΠΎΠ·Π΄ΡΡΠ½ΡΠΉ ΡΠΈΠ»ΠΈΠ½Π΄Ρ, Π½ΠΎ Π³Π΄Π΅ ΡΡΠ΅Π±ΡΠ΅ΡΡΡ Π±ΠΎΠ»ΡΡΠ°Ρ ΡΠΎΡΠ½ΠΎΡΡΡ ΠΈ ΠΎΠ±ΡΠ°ΡΠ½Π°Ρ ΡΠ²ΡΠ·Ρ ΠΏΠΎ ΠΏΠΎΠ»ΠΎΠΆΠ΅Π½ΠΈΡ, ΠΈΠ»ΠΈ Π³Π΄Π΅ Π΄Π²ΠΈΠΆΠ΅Π½ΠΈΠ΅ ΠΌΠΎΠΆΠ΅Ρ ΠΈΠ·ΠΌΠ΅Π½ΡΡΡΡΡ ΠΎΡ Ρ ΠΎΠ΄Π° ΠΊ Ρ ΠΎΠ΄Ρ. ΠΠΎΠ½ΡΠΈΠ³ΡΡΠ°ΡΠΈΡ Π΄Π²ΠΈΠ³Π°ΡΠ΅Π»Ρ ΠΈ ΡΠΎΡΠΌΠ° Π΄Π²ΠΈΠΆΠΊΠ° / ΠΏΠΎΠ»Π·ΡΠ½Π° ΡΠ°ΠΊΠΆΠ΅ ΠΌΠΎΠ³ΡΡ Π±ΡΡΡ ΠΏΡΠΎΠ±Π»Π΅ΠΌΠΎΠΉ. ΠΠΈΠ½Π΅ΠΉΠ½ΡΠ΅ Π΄Π²ΠΈΠ³Π°ΡΠ΅Π»ΠΈ ΠΈΡΠΏΠΎΠ»ΡΠ·ΡΡΡΡΡ Π² ΡΠΏΠ°ΠΊΠΎΠ²ΠΎΡΠ½ΡΡ ΠΌΠ°ΡΠΈΠ½Π°Ρ , ΡΠ±ΠΎΡΠΎΡΠ½ΡΡ ΠΌΠ°ΡΠΈΠ½Π°Ρ , ΠΏΠΎΠ΄ΡΠ΅ΠΌΠ½ΠΎ-ΡΡΠ°Π½ΡΠΏΠΎΡΡΠ½ΠΎΠΌ ΠΎΠ±ΠΎΡΡΠ΄ΠΎΠ²Π°Π½ΠΈΠΈ ΠΈ Π² ΡΠ°Π·Π»ΠΈΡΠ½ΡΡ ΠΎΠ±Π»Π°ΡΡΡΡ ΠΌΠ΅Π΄ΠΈΡΠΈΠ½ΡΠΊΠΎΠ³ΠΎ ΠΎΠ±ΠΎΡΡΠ΄ΠΎΠ²Π°Π½ΠΈΡ.
ΠΠ½Π΅Π²ΠΌΠ°ΡΠΈΡΠ΅ΡΠΊΠΈΠ΅ Π΄Π²ΠΈΠ³Π°ΡΠ΅Π»ΠΈ
ΠΠ½Π΅Π²ΠΌΠ°ΡΠΈΡΠ΅ΡΠΊΠΈΠ΅ Π΄Π²ΠΈΠ³Π°ΡΠ΅Π»ΠΈ— ΡΡΠΎ ΠΌΠ΅Ρ Π°Π½ΠΈΡΠ΅ΡΠΊΠΈΠ΅ ΡΡΡΡΠΎΠΉΡΡΠ²Π°, ΠΏΡΠΈΠ²ΠΎΠ΄ΠΈΠΌΡΠ΅ Π² Π΄Π΅ΠΉΡΡΠ²ΠΈΠ΅ Π΄Π°Π²Π»Π΅Π½ΠΈΠ΅ΠΌ Π²ΠΎΠ·Π΄ΡΡ Π° Π΄Π»Ρ ΡΠΎΠ·Π΄Π°Π½ΠΈΡ Π²ΡΠ°ΡΠ°ΡΠ΅Π»ΡΠ½ΠΎΠ³ΠΎ Π΄Π²ΠΈΠΆΠ΅Π½ΠΈΡ. ΠΠ²ΠΈΠΆΠ΅Π½ΠΈΠ΅ ΠΎΠ±Π΅ΡΠΏΠ΅ΡΠΈΠ²Π°Π΅Ρ Π²ΡΠ°ΡΠ°ΡΠ΅Π»ΡΠ½ΡΡ ΡΠ°Π±ΠΎΡΡ Π΄Π»Ρ ΠΏΡΠΈΠ²ΠΎΠ΄Π° Π΄ΡΡΠ³ΠΈΡ Π²ΡΠ°ΡΠ°ΡΡΠΈΡ ΡΡ ΠΌΠ°ΡΠΈΠ½, ΡΠ°ΠΊΠΈΡ ΠΊΠ°ΠΊ ΠΏΡΠΈΠ΅ΠΌΠ½ΡΠ΅ Π±ΠΎΠ±ΠΈΠ½Ρ ΠΈ ΠΈΠ½ΡΡΡΡΠΌΠ΅Π½ΡΡ. ΠΠ½Π΅Π²ΠΌΠ°ΡΠΈΡΠ΅ΡΠΊΠΈΠ΅ Π΄Π²ΠΈΠ³Π°ΡΠ΅Π»ΠΈ ΠΈΡΠΏΠΎΠ»ΡΠ·ΡΡΡΡΡ ΡΠ°ΠΌ, Π³Π΄Π΅ Π΅ΡΡΡ ΠΈΡΡΠΎΡΠ½ΠΈΠΊ ΡΠΆΠ°ΡΠΎΠ³ΠΎ Π²ΠΎΠ·Π΄ΡΡ Π°, ΠΈ Π³Π΄Π΅ Π½Π΅ΠΎΠ±Ρ ΠΎΠ΄ΠΈΠΌ ΠΏΠΎΡΡΠΎΡΠ½Π½ΡΠΉ ΠΊΡΡΡΡΡΠΈΠΉ ΠΌΠΎΠΌΠ΅Π½Ρ Π½Π΅Π·Π°Π²ΠΈΡΠΈΠΌΠΎ ΠΎΡ ΡΠΊΠΎΡΠΎΡΡΠΈ, Π½Π°ΠΏΡΠΈΠΌΠ΅Ρ, Π² ΠΏΡΠΈΠ΅ΠΌΠ½ΠΎΠΉ Π±ΠΎΠ±ΠΈΠ½Π΅ Π½Π° ΡΠΏΠ°ΠΊΠΎΠ²ΠΎΡΠ½ΠΎΠΉ ΠΌΠ°ΡΠΈΠ½Π΅. ΠΠ½ΠΈ ΡΠ°ΠΊΠΆΠ΅ ΠΈΡΠΏΠΎΠ»ΡΠ·ΡΡΡΡΡ Π²ΠΎ Π²Π·ΡΡΠ²ΠΎΠΎΠΏΠ°ΡΠ½ΡΡ ΡΡΠ΅Π΄Π°Ρ , Π³Π΄Π΅ ΡΡΠΈΡΠ°ΡΡΡΡ ΠΈΡΠΊΡΠΎΠ±Π΅Π·ΠΎΠΏΠ°ΡΠ½ΡΠΌΠΈ.
ΠΠΈΠ΄ΡΠ°Π²Π»ΠΈΡΠ΅ΡΠΊΠΈΠ΅ Π΄Π²ΠΈΠ³Π°ΡΠ΅Π»ΠΈ
ΠΠΈΠ΄ΡΠ°Π²Π»ΠΈΡΠ΅ΡΠΊΠΈΠ΅ Π΄Π²ΠΈΠ³Π°ΡΠ΅Π»ΠΈ— ΡΡΠΎ ΠΌΠ΅Ρ Π°Π½ΠΈΡΠ΅ΡΠΊΠΈΠ΅ ΡΡΡΡΠΎΠΉΡΡΠ²Π°, ΠΏΡΠΈΠ²ΠΎΠ΄ΠΈΠΌΡΠ΅ Π² Π΄Π΅ΠΉΡΡΠ²ΠΈΠ΅ ΠΆΠΈΠ΄ΠΊΠΎΡΡΡΡ Π΄Π»Ρ ΡΠΎΠ·Π΄Π°Π½ΠΈΡ Π²ΡΠ°ΡΠ°ΡΠ΅Π»ΡΠ½ΠΎΠ³ΠΎ Π΄Π²ΠΈΠΆΠ΅Π½ΠΈΡ. ΠΠ²ΠΈΠΆΠ΅Π½ΠΈΠ΅ ΠΎΠ±Π΅ΡΠΏΠ΅ΡΠΈΠ²Π°Π΅Ρ Π²ΡΠ°ΡΠ°ΡΠ΅Π»ΡΠ½ΡΡ ΡΠ°Π±ΠΎΡΡ Π΄Π»Ρ ΠΏΡΠΈΠ²ΠΎΠ΄Π° Π΄ΡΡΠ³ΠΈΡ Π²ΡΠ°ΡΠ°ΡΡΠΈΡ ΡΡ ΡΠ»Π΅ΠΌΠ΅Π½ΡΠΎΠ², ΡΠ°ΠΊΠΈΡ ΠΊΠ°ΠΊ Π²Π΅Π΄ΡΡΠΈΠ΅ ΠΊΠΎΠ»Π΅ΡΠ° ΡΠΊΡΠΊΠ°Π²Π°ΡΠΎΡΠ° ΡΡΠΆΠ΅Π»ΠΎΠ³ΠΎ ΠΎΠ±ΠΎΡΡΠ΄ΠΎΠ²Π°Π½ΠΈΡ. ΠΠΈΠ΄ΡΠ°Π²Π»ΠΈΡΠ΅ΡΠΊΠΈΠ΅ Π΄Π²ΠΈΠ³Π°ΡΠ΅Π»ΠΈ ΡΠΈΡΠΎΠΊΠΎ ΠΈΡΠΏΠΎΠ»ΡΠ·ΡΡΡΡΡ Π² ΡΡΡΠΎΠΈΡΠ΅Π»ΡΠ½ΠΎΠΉ ΡΠ΅Ρ Π½ΠΈΠΊΠ΅, Π³Π΄Π΅ ΡΡΠ΅Π±ΡΠ΅ΡΡΡ Π²ΡΠ°ΡΠ°ΡΠ΅Π»ΡΠ½ΠΎΠ΅ Π΄Π²ΠΈΠΆΠ΅Π½ΠΈΠ΅ ΠΎΡ ΠΊΠΎΠΌΠΏΠ°ΠΊΡΠ½ΠΎΠ³ΠΎ ΡΡΡΡΠΎΠΉΡΡΠ²Π°, Π° Π³ΠΈΠ΄ΡΠ°Π²Π»ΠΈΡΠ΅ΡΠΊΠ°Ρ ΡΠ½Π΅ΡΠ³ΠΈΡ ΡΠΆΠ΅ Π΄ΠΎΡΡΡΠΏΠ½Π°. ΠΠΈΠ΄ΡΠ°Π²Π»ΠΈΡΠ΅ΡΠΊΠΈΠ΅ Π΄Π²ΠΈΠ³Π°ΡΠ΅Π»ΠΈ ΠΌΠΎΠ³ΡΡ Π±ΡΡΡ Π»ΠΎΠΏΠ°ΡΡΠ½ΡΠΌΠΈ, ΡΠ΅ΡΡΠ΅ΡΠ΅Π½ΡΠ°ΡΡΠΌΠΈ ΠΈΠ»ΠΈ ΠΏΠΎΡΡΠ½Π΅Π²ΡΠΌΠΈ, ΠΊΠ°ΠΊ ΠΈ Π³ΠΈΠ΄ΡΠ°Π²Π»ΠΈΡΠ΅ΡΠΊΠΈΠ΅ Π½Π°ΡΠΎΡΡ. ΠΠ²ΠΈΠ³Π°ΡΠ΅Π»ΠΈ LSHT ΠΈΠ»ΠΈ Π½ΠΈΠ·ΠΊΠΎΡΠΊΠΎΡΠΎΡΡΠ½ΡΠ΅ Π΄Π²ΠΈΠ³Π°ΡΠ΅Π»ΠΈ Ρ Π²ΡΡΠΎΠΊΠΈΠΌ ΠΊΡΡΡΡΡΠΈΠΌ ΠΌΠΎΠΌΠ΅Π½ΡΠΎΠΌ Π΄ΠΎΡΡΡΠΏΠ½Ρ Ρ Π½Π΅ΠΊΠΎΡΠΎΡΡΡ ΠΏΡΠΎΠΈΠ·Π²ΠΎΠ΄ΠΈΡΠ΅Π»Π΅ΠΉ.ΠΠΎΠ΄ΠΈΡΠΈΡΠΈΡΠΎΠ²Π°Π½Π½ΡΠΉ ΡΠ»Π΅ΠΊΡΡΠΎΠ΄Π²ΠΈΠ³Π°ΡΠ΅Π»Ρ Π»ΠΎΠΏΠ°ΡΠΎΡΠ½ΠΎΠ³ΠΎ ΡΠΈΠΏΠ°, Π½Π°Π·ΡΠ²Π°Π΅ΠΌΡΠΉ ΡΠ»Π΅ΠΊΡΡΠΎΠ΄Π²ΠΈΠ³Π°ΡΠ΅Π»Π΅ΠΌ Ρ ΡΠΎΡΠΎΡΠ½ΡΠΌ ΡΠΏΠΎΡΠΎΠΌ, ΠΈΠΌΠ΅Π΅Ρ Π±ΠΎΠ»Π΅Π΅ Π½ΠΈΠ·ΠΊΠΎΠ΅ ΡΡΠ΅Π½ΠΈΠ΅ ΠΈ Π»ΡΡΡΠ΅Π΅ ΡΠΏΠ»ΠΎΡΠ½Π΅Π½ΠΈΠ΅, ΡΠ΅ΠΌ ΡΠΊΠ²ΠΈΠ²Π°Π»Π΅Π½ΡΠ½ΡΠΉ ΡΠ»Π΅ΠΊΡΡΠΎΠ΄Π²ΠΈΠ³Π°ΡΠ΅Π»Ρ Ρ ΠΊΡΡΠ»ΡΡΠ°ΡΠΊΠΎΠΉ.
Π Π°Π·Π»ΠΈΡΠ½ΡΠ΅ ΠΎΠ±Π»Π°ΡΡΠΈ ΠΏΡΠΈΠΌΠ΅Π½Π΅Π½ΠΈΡ Π΄Π²ΠΈΠ³Π°ΡΠ΅Π»Π΅ΠΉ ΠΈ ΠΎΡΡΠ°ΡΠ»ΠΈ
Π‘ΡΠ΅Π΄ΠΈ Π΄Π²ΠΈΠ³Π°ΡΠ΅Π»Π΅ΠΉ ΠΏΠ΅ΡΠ΅ΠΌΠ΅Π½Π½ΠΎΠ³ΠΎ, ΠΏΠΎΡΡΠΎΡΠ½Π½ΠΎΠ³ΠΎ, ΡΠ΅ΡΡΠ΅ΡΠ΅Π½ΡΠ°ΡΠΎΠ³ΠΎ, ΠΏΠ½Π΅Π²ΠΌΠ°ΡΠΈΡΠ΅ΡΠΊΠΎΠ³ΠΎ ΠΈ Π³ΠΈΠ΄ΡΠ°Π²Π»ΠΈΡΠ΅ΡΠΊΠΎΠ³ΠΎ Π΄Π²ΠΈΠ³Π°ΡΠ΅Π»Π΅ΠΉ ΠΎΠ½ΠΈ ΠΎΠ±Π΅ΡΠΏΠ΅ΡΠΈΠ²Π°ΡΡ Π²ΡΠ°ΡΠ°ΡΠ΅Π»ΡΠ½ΠΎΠ΅ Π΄Π²ΠΈΠΆΠ΅Π½ΠΈΠ΅, Π² ΡΠΎ Π²ΡΠ΅ΠΌΡ ΠΊΠ°ΠΊ ΡΠ°Π³ΠΎΠ²ΡΠ΅, ΡΠ΅ΡΠ²ΠΎΠΌΠΎΡΠΎΡΡ ΠΈ Π»ΠΈΠ½Π΅ΠΉΠ½ΡΠ΅ Π΄Π²ΠΈΠ³Π°ΡΠ΅Π»ΠΈ ΠΎΠ±Π΅ΡΠΏΠ΅ΡΠΈΠ²Π°ΡΡ ΠΏΠΎΠ·ΠΈΡΠΈΠΎΠ½ΠΈΡΠΎΠ²Π°Π½ΠΈΠ΅. ΠΠ»Π΅ΠΊΡΡΠΎΠ΄Π²ΠΈΠ³Π°ΡΠ΅Π»Ρ ΠΏΠ΅ΡΠ΅ΠΌΠ΅Π½Π½ΠΎΠ³ΠΎ ΡΠΎΠΊΠ° — Π²Π΅ΡΠΎΡΡΠ½ΡΠΉ Π²ΡΠ±ΠΎΡ Π΄Π»Ρ ΠΏΡΠΈΠ²ΠΎΠ΄Π° Π½Π°ΡΠΎΡΠ°; Π΄Π²ΠΈΠ³Π°ΡΠ΅Π»Ρ ΠΏΠΎΡΡΠΎΡΠ½Π½ΠΎΠ³ΠΎ ΡΠΎΠΊΠ° Ρ ΠΎΡΠΎΡΠΎ ΠΏΠΎΠ΄Ρ ΠΎΠ΄ΠΈΡ Π΄Π»Ρ ΠΏΡΠΈΠ²ΠΎΠ΄Π° Π±Π°ΡΠ°Π±Π°Π½Π° ΠΊΡΠ°Π½Π°, Π³Π΄Π΅ Π²Π°ΠΆΠ½Π° ΠΏΠ΅ΡΠ΅ΠΌΠ΅Π½Π½Π°Ρ ΡΠΊΠΎΡΠΎΡΡΡ; ΠΌΠΎΡΠΎΡ-ΡΠ΅Π΄ΡΠΊΡΠΎΡΡ Π²ΡΠΏΠΎΠ»Π½ΡΡΡ ΡΠ΅ ΠΆΠ΅ ΡΡΠ½ΠΊΡΠΈΠΈ, ΡΡΠΎ ΠΈ Π΄Π²ΠΈΠ³Π°ΡΠ΅Π»ΠΈ ΠΏΠΎΡΡΠΎΡΠ½Π½ΠΎΠ³ΠΎ ΠΈ ΠΏΠ΅ΡΠ΅ΠΌΠ΅Π½Π½ΠΎΠ³ΠΎ ΡΠΎΠΊΠ° Π±Π΅Π· ΠΏΠΎΠΊΡΡΡΠΈΡ, Π·Π° ΠΈΡΠΊΠ»ΡΡΠ΅Π½ΠΈΠ΅ΠΌ ΡΠΎΠ³ΠΎ, ΡΡΠΎ ΠΎΠ½ΠΈ ΠΈΠΌΠ΅ΡΡ Π²ΡΡΡΠΎΠ΅Π½Π½ΡΠ΅ ΡΠ΅Π΄ΡΠΊΡΠΎΡΡ; Π° Π²ΠΎΠ·Π΄ΡΡΠ½ΡΠ΅ ΠΈ Π³ΠΈΠ΄ΡΠ°Π²Π»ΠΈΡΠ΅ΡΠΊΠΈΠ΅ Π΄Π²ΠΈΠ³Π°ΡΠ΅Π»ΠΈ ΡΠ΄ΠΎΠ²Π»Π΅ΡΠ²ΠΎΡΡΡΡ Π°Π½Π°Π»ΠΎΠ³ΠΈΡΠ½ΡΠ΅ ΠΏΠΎΡΡΠ΅Π±Π½ΠΎΡΡΠΈ Π² ΡΠΈΡΡΠ°ΡΠΈΡΡ , ΠΊΠΎΠ³Π΄Π° ΡΠ»Π΅ΠΊΡΡΠΈΡΠ΅ΡΡΠ²ΠΎ Π½Π΅ΡΠ΅Π»Π΅ΡΠΎΠΎΠ±ΡΠ°Π·Π½ΠΎ ΠΈΠ»ΠΈ Π½Π΅ΠΏΡΠΈΠ΅ΠΌΠ»Π΅ΠΌΠΎ.
ΠΠΎΠ·ΠΈΡΠΈΠΎΠ½ΠΈΡΠΎΠ²Π°Π½ΠΈΠ΅ — ΡΡΠΎ ΠΎΠ±Π»Π°ΡΡΡ ΡΡΠ΅Ρ Π΄ΡΡΠ³ΠΈΡ ΡΠΈΠΏΠΎΠ², ΡΡΠΎ ΠΎΠ·Π½Π°ΡΠ°Π΅Ρ, ΡΡΠΎ ΡΡΠΈ ΡΠΈΠΏΡ ΠΈΡΠΏΠΎΠ»ΡΠ·ΡΡΡΡΡ ΡΠ°ΠΌ, Π³Π΄Π΅ ΡΠ»Π΅ΠΌΠ΅Π½ΡΡ ΠΌΠ°ΡΠΈΠ½ Π΄ΠΎΠ»ΠΆΠ½Ρ Π±ΡΡΡ ΠΏΠ΅ΡΠ΅ΠΌΠ΅ΡΠ΅Π½Ρ Π² ΡΠΎΡΠ½ΡΠ΅ ΠΌΠ΅ΡΡΠ°. Π ΡΠΎ Π²ΡΠ΅ΠΌΡ ΠΊΠ°ΠΊ ΠΌΠ°ΡΠΈΠ½Ρ Π²ΡΠ°ΡΠ°ΡΠ΅Π»ΡΠ½ΠΎΠ³ΠΎ Π΄Π²ΠΈΠΆΠ΅Π½ΠΈΡ ΠΎΡ Π²Π°ΡΡΠ²Π°ΡΡ Π²Π΅ΡΡ ΡΠΏΠ΅ΠΊΡΡ ΡΠ°Π·ΠΌΠ΅ΡΠΎΠ² ΠΎΡ ΠΎΡΠ΅Π½Ρ ΠΌΠ°Π»Π΅Π½ΡΠΊΠΈΡ ΡΡΠ±ΡΡΠ°ΠΊΡΠΈΠΎΠ½Π½ΡΡ Π΅Π΄ΠΈΠ½ΠΈΡ HP Π΄ΠΎ ΡΠ°ΠΌΡΡ Π±ΠΎΠ»ΡΡΠΈΡ ΠΌΠ°ΡΠΈΠ½, ΠΏΡΠ΅Π²ΡΡΠ°ΡΡΠΈΡ NEMA, ΡΠ°Π³ΠΎΠ²ΡΠ΅, ΡΠ΅ΡΠ²ΠΎΠΏΡΠΈΠ²ΠΎΠ΄Ρ ΠΈ Π»ΠΈΠ½Π΅ΠΉΠ½ΡΠ΅ Π΄Π²ΠΈΠ³Π°ΡΠ΅Π»ΠΈ ΠΎΠ±ΡΡΠ½ΠΎ ΠΈΠΌΠ΅ΡΡ ΠΌΠ°ΠΊΡΠΈΠΌΠ°Π»ΡΠ½ΡΡ ΠΌΠΎΡΠ½ΠΎΡΡΡ Π² Π½Π΅ΡΠΊΠΎΠ»ΡΠΊΠΎ Π»ΠΎΡΠ°Π΄ΠΈΠ½ΡΡ ΡΠΈΠ» ΠΈ ΠΏΡΠ΅Π²ΠΎΡΡ ΠΎΠ΄ΡΡ Π² ΠΌΠ΅Π½ΡΡΠΈΡ ΡΠ°Π·ΠΌΠ΅ΡΠ°Ρ .
Π’ΡΠ΅Ρ ΡΠ°Π·Π½ΡΠ΅ Π°ΡΠΈΠ½Ρ ΡΠΎΠ½Π½ΡΠ΅ Π΄Π²ΠΈΠ³Π°ΡΠ΅Π»ΠΈ ΠΏΠ΅ΡΠ΅ΠΌΠ΅Π½Π½ΠΎΠ³ΠΎ ΡΠΎΠΊΠ° ΡΠΈΡΠΎΠΊΠΎ ΠΈΡΠΏΠΎΠ»ΡΠ·ΡΡΡΡΡ Π² ΠΏΡΠΎΠΌΡΡΠ»Π΅Π½Π½ΠΎΡΡΠΈ. Π Π½ΠΈΡ ΠΈΡΠΏΠΎΠ»ΡΠ·ΡΡΡΡΡ ΡΠΎΡΠΎΡΡ Ρ ΠΊΠΎΡΠΎΡΠΊΠΎΠ·Π°ΠΌΠΊΠ½ΡΡΡΠΌ ΡΠΎΡΠΎΡΠΎΠΌ (Π±Π΅ΡΡΠ΅ΡΠΎΡΠ½ΡΠ΅), ΠΊΠΎΡΠΎΡΡΠ΅ ΡΠΎΠ·Π΄Π°ΡΡ ΠΌΠ°Π³Π½ΠΈΡΠ½ΡΠ΅ ΠΏΠΎΠ»Ρ Π² ΠΎΠ±ΠΌΠΎΡΠΊΠ°Ρ ΠΏΠΎΠ»ΡΡΠΎΠ², ΠΊΠΎΡΠΎΡΡΠ΅ Π·Π°ΡΠ΅ΠΌ Π²Π·Π°ΠΈΠΌΠΎΠ΄Π΅ΠΉΡΡΠ²ΡΡΡ Ρ ΠΌΠ°Π³Π½ΠΈΡΠ½ΡΠΌΠΈ ΠΏΠΎΠ»ΡΠΌΠΈ ΠΎΠ±ΠΌΠΎΡΠΎΠΊ ΡΡΠ°ΡΠΎΡΠ°, Π²ΡΠ·ΡΠ²Π°Ρ Π²ΡΠ°ΡΠ΅Π½ΠΈΠ΅.Π‘ΠΊΠΎΡΠΎΡΡΡ Π΄Π²ΠΈΠ³Π°ΡΠ΅Π»Ρ ΠΏΠ΅ΡΠ΅ΠΌΠ΅Π½Π½ΠΎΠ³ΠΎ ΡΠΎΠΊΠ° Π·Π°Π²ΠΈΡΠΈΡ ΠΎΡ ΠΊΠΎΠ»ΠΈΡΠ΅ΡΡΠ²Π° ΠΏΠΎΠ»ΡΡΠΎΠ² ΠΈ ΡΠ°ΡΡΠΎΡΡ ΠΏΠΎΠ΄Π°Π²Π°Π΅ΠΌΠΎΠ³ΠΎ Π½Π°ΠΏΡΡΠΆΠ΅Π½ΠΈΡ, ΠΎΡΠΎΠ±Π΅Π½Π½ΠΎ ΡΠ°ΡΡΠΎ Π²ΡΡΡΠ΅ΡΠ°ΡΡΡΡ 1800 (4-ΠΏΠΎΠ»ΡΡΠ½ΡΠΉ) ΠΈ 3600 ΠΎΠ± / ΠΌΠΈΠ½ (2-ΠΏΠΎΠ»ΡΡΠ½ΡΠΉ). Π€Π°ΠΊΡΠΈΡΠ΅ΡΠΊΠ°Ρ ΡΠΊΠΎΡΠΎΡΡΡ Π½Π΅ΠΌΠ½ΠΎΠ³ΠΎ ΠΎΡΡΡΠ°Π΅Ρ ΠΎΡ Π½ΠΎΠΌΠΈΠ½Π°Π»ΡΠ½ΠΎΠΉ ΡΠΊΠΎΡΠΎΡΡΠΈ Π²ΡΠ°ΡΠ°ΡΡΠ΅Π³ΠΎΡΡ ΠΌΠ°Π³Π½ΠΈΡΠ½ΠΎΠ³ΠΎ ΠΏΠΎΠ»Ρ ΠΈΠ»ΠΈ Π»ΠΈΠ½Π΅ΠΉΠ½ΠΎΠΉ ΡΠΊΠΎΡΠΎΡΡΠΈ ΠΈ Π·Π°Π²ΠΈΡΠΈΡ ΠΎΡ Π½Π°Π³ΡΡΠ·ΠΊΠΈ. Π‘ΠΈΠ½Ρ ΡΠΎΠ½Π½ΡΠ΅ Π΄Π²ΠΈΠ³Π°ΡΠ΅Π»ΠΈ ΠΏΠ΅ΡΠ΅ΠΌΠ΅Π½Π½ΠΎΠ³ΠΎ ΡΠΎΠΊΠ° ΡΠΎΡΠ½ΠΎ ΡΠΎΠΎΡΠ²Π΅ΡΡΡΠ²ΡΡΡ ΡΠΊΠΎΡΠΎΡΡΠΈ Π²ΡΠ°ΡΠ°ΡΡΠ΅Π³ΠΎΡΡ ΠΏΠΎΠ»Ρ Π½Π΅Π·Π°Π²ΠΈΡΠΈΠΌΠΎ ΠΎΡ Π½Π°Π³ΡΡΠ·ΠΊΠΈ, Π½ΠΎ ΠΈΡ ΠΏΡΠΈΠΌΠ΅Π½Π΅Π½ΠΈΠ΅ ΠΎΠ±ΡΡΠ½ΠΎ ΠΎΠ³ΡΠ°Π½ΠΈΡΠΈΠ²Π°Π΅ΡΡΡ ΠΎΡΠΎΠ±ΡΠΌΠΈ ΡΠ»ΡΡΠ°ΡΠΌΠΈ, ΠΊΠΎΠ³Π΄Π° ΡΡΠΎ Π²Π°ΠΆΠ½ΠΎ, Π½Π°ΠΏΡΠΈΠΌΠ΅Ρ, Π² Π΄Π²ΠΈΠ³Π°ΡΠ΅Π»ΡΡ -Π³Π΅Π½Π΅ΡΠ°ΡΠΎΡΠ°Ρ . ΠΡΡΠ³ΠΎΠΉ ΡΠΈΠ½Ρ ΡΠΎΠ½Π½ΡΠΉ Π΄Π²ΠΈΠ³Π°ΡΠ΅Π»Ρ, ΡΠ°ΠΊ Π½Π°Π·ΡΠ²Π°Π΅ΠΌΡΠΉ Π΄Π²ΠΈΠ³Π°ΡΠ΅Π»Ρ ΠΏΠ΅ΡΠ΅ΠΌΠ΅Π½Π½ΠΎΠ³ΠΎ ΡΠΎΠΊΠ° Ρ ΠΏΠΎΡΡΠΎΡΠ½Π½ΡΠΌΠΈ ΠΌΠ°Π³Π½ΠΈΡΠ°ΠΌΠΈ, ΠΈΡΠΏΠΎΠ»ΡΠ·ΡΠ΅Ρ ΡΡ ΠΆΠ΅ ΡΠ΅Ρ Π½ΠΎΠ»ΠΎΠ³ΠΈΡ Ρ ΠΏΠΎΡΡΠΎΡΠ½Π½ΡΠΌΠΈ ΠΌΠ°Π³Π½ΠΈΡΠ°ΠΌΠΈ, ΡΡΠΎ ΠΈ Π±Π΅ΡΡΠ΅ΡΠΎΡΠ½ΡΠ΅ ΠΊΠΎΠ½ΡΡΡΡΠΊΡΠΈΠΈ ΠΏΠΎΡΡΠΎΡΠ½Π½ΠΎΠ³ΠΎ ΡΠΎΠΊΠ°, Π΄Π»Ρ ΡΠΎΠ·Π΄Π°Π½ΠΈΡ ΡΠΈΠ½Ρ ΡΠΎΠ½Π½ΡΡ Π΄Π²ΠΈΠ³Π°ΡΠ΅Π»Π΅ΠΉ ΠΏΠ΅ΡΠ΅ΠΌΠ΅Π½Π½ΠΎΠ³ΠΎ ΡΠΎΠΊΠ°, ΠΊΠΎΡΠΎΡΡΠ΅ Π΄ΠΎΡΡΡΠΏΠ½Ρ Π² Π΄ΡΠΎΠ±Π½ΡΡ ΠΈ ΠΈΠ½ΡΠ΅Π³ΡΠ°Π»ΡΠ½ΡΡ ΡΠ°Π·ΠΌΠ΅ΡΠ°Ρ Π».Ρ.ΠΡΠΈ Π΄Π²ΠΈΠ³Π°ΡΠ΅Π»ΠΈ ΡΡΠ΅Π±ΡΡΡ ΡΠ»Π΅ΠΊΡΡΠΎΠ½Π½ΡΡ ΠΏΡΠΈΠ²ΠΎΠ΄ΠΎΠ². ΠΠ²ΠΈΠ³Π°ΡΠ΅Π»ΠΈ ΠΏΠ΅ΡΠ΅ΠΌΠ΅Π½Π½ΠΎΠ³ΠΎ ΡΠΎΠΊΠ° ΠΏΠΎ ΡΠ²ΠΎΠ΅ΠΉ ΡΡΡΠΈ Π½Π΅ ΠΏΠΎΠ΄Ρ ΠΎΠ΄ΡΡ Π΄Π»Ρ ΡΠΏΡΠ°Π²Π»Π΅Π½ΠΈΡ ΡΠΊΠΎΡΠΎΡΡΡΡ, Ρ ΠΎΡΡ ΡΡΡΠ΅ΡΡΠ²ΡΠ΅Ρ ΡΡΠ΄ ΠΌΠ΅ΡΠΎΠ΄ΠΎΠ² ΠΊΠ°ΠΊ Π² ΠΊΠΎΠ½ΡΡΡΡΠΊΡΠΈΠΈ Π΄Π²ΠΈΠ³Π°ΡΠ΅Π»Ρ (Ρ ΡΠ°Π·Π½ΡΠΌ ΡΠΎΡΠΎΡΠΎΠΌ), ΡΠ°ΠΊ ΠΈ Π² ΡΡ Π΅ΠΌΠ΅ ΠΊΠΎΠ½ΡΡΠΎΠ»Π»Π΅ΡΠ°, ΡΡΠΎΠ±Ρ ΡΠ΄Π΅Π»Π°ΡΡ Π²ΠΎΠ·ΠΌΠΎΠΆΠ½ΡΠΌ ΡΠΏΡΠ°Π²Π»Π΅Π½ΠΈΠ΅ ΡΠΊΠΎΡΠΎΡΡΡΡ. ΠΠ΅ΡΠΊΠΎΠ»ΡΠΊΠΎ ΠΎΠ±ΠΌΠΎΡΠΎΠΊ — ΡΡΠΎ ΠΎΠ΄ΠΈΠ½ ΠΈΠ· ΡΠΏΠΎΡΠΎΠ±ΠΎΠ² ΠΏΠΎΠ»ΡΡΠ΅Π½ΠΈΡ Π΄Π²ΡΡ ΡΠΊΠΎΡΠΎΡΡΠ½ΠΎΠ³ΠΎ Π°ΡΠΈΠ½Ρ ΡΠΎΠ½Π½ΠΎΠ³ΠΎ Π΄Π²ΠΈΠ³Π°ΡΠ΅Π»Ρ. Π§Π°ΡΡΠΎΡΠ½ΠΎ-ΡΠ΅Π³ΡΠ»ΠΈΡΡΠ΅ΠΌΡΠ΅ ΠΏΡΠΈΠ²ΠΎΠ΄Ρ ΠΌΠΎΠ³ΡΡ ΠΎΠ±Π΅ΡΠΏΠ΅ΡΠΈΠ²Π°ΡΡ ΠΏΠ»Π°Π²Π½ΡΡ ΡΠ΅Π³ΡΠ»ΠΈΡΠΎΠ²ΠΊΡ ΡΠΊΠΎΡΠΎΡΡΠΈ. Π’Π°ΠΊΠΆΠ΅ Π΄ΠΎΡΡΡΠΏΠ½Ρ ΡΠ°Π·Π»ΠΈΡΠ½ΡΠ΅ ΠΏΡΡΠΊΠ°ΡΠ΅Π»ΠΈ, ΡΠ°ΠΊΠΈΠ΅ ΠΊΠ°ΠΊ ΡΡΡΡΠΎΠΉΡΡΠ²Π° ΠΏΠ»Π°Π²Π½ΠΎΠ³ΠΎ ΠΏΡΡΠΊΠ°, ΠΊΠΎΡΠΎΡΡΠ΅ ΠΏΠΎΠΌΠΎΠ³Π°ΡΡ ΡΠ½ΠΈΠ·ΠΈΡΡ Π²ΠΎΠ·Π΄Π΅ΠΉΡΡΠ²ΠΈΠ΅ Π·Π°ΠΏΡΡΠΊΠ° Π΄Π²ΠΈΠ³Π°ΡΠ΅Π»Ρ, Π½Π°ΠΏΡΠΈΠΌΠ΅Ρ, Π½Π° Π±ΡΡΡΠ»ΠΊΠΈ Π½Π° ΠΊΠΎΠ½Π²Π΅ΠΉΠ΅ΡΠ½ΠΎΠΉ Π»ΠΈΠ½ΠΈΠΈ.
ΠΡΡΠ³ΠΎΠΉ Π΄Π²ΠΈΠ³Π°ΡΠ΅Π»Ρ ΠΏΠ΅ΡΠ΅ΠΌΠ΅Π½Π½ΠΎΠ³ΠΎ ΡΠΎΠΊΠ°, ΠΏΠΎΠ»ΡΡΠΈΠ²ΡΠΈΠΉ Π½Π°Π·Π²Π°Π½ΠΈΠ΅ ΡΠ½ΠΈΠ²Π΅ΡΡΠ°Π»ΡΠ½ΠΎΠ³ΠΎ Π΄Π²ΠΈΠ³Π°ΡΠ΅Π»Ρ ΠΈΠ»ΠΈ Π΄Π²ΠΈΠ³Π°ΡΠ΅Π»Ρ ΠΏΠ΅ΡΠ΅ΠΌΠ΅Π½Π½ΠΎΠ³ΠΎ ΡΠΎΠΊΠ° ΡΠ΅ΡΠΈΠΈ , ΠΈΡΠΏΠΎΠ»ΡΠ·ΡΠ΅ΡΡΡ Π²ΠΎ ΠΌΠ½ΠΎΠ³ΠΈΡ ΡΡΡΡΠΎΠΉΡΡΠ²Π°Ρ , ΡΠ°ΠΊΠΈΡ ΠΊΠ°ΠΊ ΠΏΡΠ»Π΅ΡΠΎΡΡ, Π΄ΡΠ΅Π»ΠΈ, Π²Π°ΠΊΡΡΠΌΠ½ΡΠ΅ ΡΠΈΡΡΠ΅ΠΌΡ ΠΈ Ρ. Π. ΠΠ½ ΠΈΠΌΠ΅Π΅Ρ ΡΠ΅ ΠΆΠ΅ ΡΠ΅ΡΠΊΠΈ ΠΈ ΠΊΠΎΠΌΠΌΡΡΠ°ΡΠΎΡ, ΡΡΠΎ ΠΈ Π΄Π²ΠΈΠ³Π°ΡΠ΅Π»Ρ ΠΏΠΎΡΡΠΎΡΠ½Π½ΠΎΠ³ΠΎ ΡΠΎΠΊΠ°, Π½ΠΎ ΠΌΠΎΠΆΠ΅Ρ ΡΠ°Π±ΠΎΡΠ°ΡΡ ΠΎΡ ΠΏΠ΅ΡΠ΅ΠΌΠ΅Π½Π½ΠΎΠ³ΠΎ ΡΠΎΠΊΠ°. ΡΠΎΠΊ ΡΠ°ΠΊΠΆΠ΅, ΠΏΠΎΡΠΎΠΌΡ ΡΡΠΎ Π½Π°ΠΏΡΠ°Π²Π»Π΅Π½ΠΈΠ΅ ΠΏΠ΅ΡΠ΅ΠΊΠ»ΡΡΠ΅Π½ΠΈΡ ΡΠΎΠΊΠ° Π²ΠΎΠ·Π±ΡΠΆΠ΄Π΅Π½ΠΈΡ ΡΠΎΡΠ½ΠΎ ΡΠΎΠ²ΠΏΠ°Π΄Π°Π΅Ρ Ρ Π½Π°ΠΏΡΠ°Π²Π»Π΅Π½ΠΈΠ΅ΠΌ ΠΊΠΎΠΌΠΌΡΡΠΈΡΡΠ΅ΠΌΠΎΠ³ΠΎ ΡΠΎΠΊΠ° ΡΠΊΠΎΡΡ. ΠΠ½ΠΈ ΠΈΠΌΠ΅ΡΡ ΡΠ΅Π½Π΄Π΅Π½ΡΠΈΡ ΠΊ ΡΡΠΌΡ ΠΏΡΠΈ ΡΠ°Π±ΠΎΡΠ΅ ΠΈ Π»ΡΡΡΠ΅ Π²ΡΠ΅Π³ΠΎ ΠΏΠΎΠ΄Ρ ΠΎΠ΄ΡΡ Π΄Π»Ρ ΠΏΠ΅ΡΠΈΠΎΠ΄ΠΈΡΠ΅ΡΠΊΠΎΠ³ΠΎ ΠΈΡΠΏΠΎΠ»ΡΠ·ΠΎΠ²Π°Π½ΠΈΡ, Π½Π°ΠΏΡΠΈΠΌΠ΅Ρ, Π² ΡΠ»Π΅ΠΊΡΡΠΎΠΈΠ½ΡΡΡΡΠΌΠ΅Π½ΡΠ°Ρ , ΠΈΠ·-Π·Π° ΠΈΠ·Π½ΠΎΡΠ° ΡΠ΅ΡΠΎΠΊ, Π½ΠΎ ΠΎΠ½ΠΈ ΠΌΠΎΠ³ΡΡ ΡΠ΅Π³ΡΠ»ΠΈΡΠΎΠ²Π°ΡΡ ΡΠΊΠΎΡΠΎΡΡΡ.
ΠΠ²ΠΈΠ³Π°ΡΠ΅Π»ΠΈ ΠΏΠΎΡΡΠΎΡΠ½Π½ΠΎΠ³ΠΎ ΡΠΎΠΊΠ° ΠΏΡΠ΅Π΄Π»Π°Π³Π°ΡΡ Π²Π½ΡΡΡΠ΅Π½Π½Π΅Π΅ ΡΠ΅Π³ΡΠ»ΠΈΡΠΎΠ²Π°Π½ΠΈΠ΅ ΡΠΊΠΎΡΠΎΡΡΠΈ Π² ΡΠΈΠ»Ρ ΡΠ²ΠΎΠ΅ΠΉ ΠΊΠΎΠ½ΡΡΡΡΠΊΡΠΈΠΈ ΠΈ ΠΈΡΠΏΠΎΠ»ΡΠ·ΠΎΠ²Π°Π½ΠΈΡ Π½Π΅ΡΠ°ΡΡΠΎΡΠ½ΠΎΠ³ΠΎ ΠΏΠΎΡΡΠΎΡΠ½Π½ΠΎΠ³ΠΎ ΡΠΎΠΊΠ° Π² ΠΊΠ°ΡΠ΅ΡΡΠ²Π΅ Π΄Π²ΠΈΠΆΡΡΠ΅ΠΉ ΡΠΈΠ»Ρ. Π Π΄Π²ΠΈΠ³Π°ΡΠ΅Π»Π΅ ΠΏΠΎΡΡΠΎΡΠ½Π½ΠΎΠ³ΠΎ ΡΠΎΠΊΠ° ΠΎΠ±ΡΡΠ½ΠΎ ΠΈΡΠΏΠΎΠ»ΡΠ·ΡΡΡΡΡ ΡΠ΅ΡΠΊΠΈ Π΄Π»Ρ ΠΏΠΎΠ΄Π°ΡΠΈ ΠΏΠΎΡΡΠΎΡΠ½Π½ΠΎΠ³ΠΎ ΡΠΎΠΊΠ° Π½Π° ΡΠΎΡΠΎΡ. ΠΠΎΠ½ΡΡΠΎΠ»ΠΈΡΡΡ ΡΡΠΎΠ²Π΅Π½Ρ ΠΏΠΎΡΡΠΎΡΠ½Π½ΠΎΠ³ΠΎ Π½Π°ΠΏΡΡΠΆΠ΅Π½ΠΈΡ, ΠΎΠΏΠ΅ΡΠ°ΡΠΎΡ ΠΌΠΎΠΆΠ΅Ρ Π½Π°ΠΏΡΡΠΌΡΡ ΡΠΏΡΠ°Π²Π»ΡΡΡ ΡΠΊΠΎΡΠΎΡΡΡΡ Π΄Π²ΠΈΠ³Π°ΡΠ΅Π»Ρ. ΠΠ²ΠΈΠ³Π°ΡΠ΅Π»ΠΈ ΠΏΠΎΡΡΠΎΡΠ½Π½ΠΎΠ³ΠΎ ΡΠΎΠΊΠ° ΡΡΠΎΠΉ ΠΊΠΎΠ½ΡΡΡΡΠΊΡΠΈΠΈ, ΠΈΠ½ΠΎΠ³Π΄Π° Π½Π°Π·ΡΠ²Π°Π΅ΠΌΡΠ΅ ΠΊΠΎΠ»Π»Π΅ΠΊΡΠΎΡΠ½ΡΠΌΠΈ Π΄Π²ΠΈΠ³Π°ΡΠ΅Π»ΡΠΌΠΈ Π΄Π»Ρ ΡΡΡΠ°Π½ΠΎΠ²Π»Π΅Π½Π½ΠΎΠ³ΠΎ Π½Π° Π²Π°Π»Ρ ΠΊΠΎΠΌΠΌΡΡΠ°ΡΠΎΡΠ°, Π½Π° ΠΊΠΎΡΠΎΡΠΎΠΌ Π΄Π²ΠΈΠΆΡΡΡΡ ΡΠ΅ΡΠΊΠΈ, ΠΈΡΠΏΠΎΠ»ΡΠ·ΡΡΡΡΡ Π² Π°Π²ΡΠΎΠΌΠΎΠ±ΠΈΠ»ΡΡ ΠΈ Π² ΠΎΡΠ½ΠΎΠ²Π½ΠΎΠΌ Π² Π½Π΅Π±ΠΎΠ»ΡΡΠΈΡ ΠΏΡΠΈΠ»ΠΎΠΆΠ΅Π½ΠΈΡΡ .Π ΡΠ²ΠΎΠΈΡ Π±ΠΎΠ»ΡΡΠΈΡ ΡΠ°Π·ΠΌΠ΅ΡΠ°Ρ ΠΎΠ½ΠΈ ΠΈΡΠΏΠΎΠ»ΡΠ·ΡΡΡΡΡ Π² ΠΏΡΠΈΠ»ΠΎΠΆΠ΅Π½ΠΈΡΡ , Π³Π΄Π΅ ΡΠ΅Π³ΡΠ»ΠΈΡΠΎΠ²Π°Π½ΠΈΠ΅ ΡΠΊΠΎΡΠΎΡΡΠΈ ΡΠ²Π»ΡΠ΅ΡΡΡ ΠΎΠ±ΡΠ·Π°ΡΠ΅Π»ΡΠ½ΡΠΌ: ΠΏΠΎΠ΄ΡΠ΅ΠΌΠ½ΠΈΠΊΠΈ ΠΈ ΠΊΡΠ°Π½Ρ, ΡΡΠ°Π½ΠΊΠΈ, ΠΏΡΠ΅ΡΡΡ ΠΈ Ρ. Π. Π‘ ΠΏΠΎΡΠ²Π»Π΅Π½ΠΈΠ΅ΠΌ Π±ΠΎΠ»Π΅Π΅ ΡΠΈΠ»ΡΠ½ΡΡ ΠΌΠ°Π³Π½ΠΈΡΠΎΠ² ΡΡΠ°Π»ΠΈ ΠΏΠΎΠΏΡΠ»ΡΡΠ½ΡΠΌΠΈ Π΄Π²ΠΈΠ³Π°ΡΠ΅Π»ΠΈ ΠΏΠΎΡΡΠΎΡΠ½Π½ΠΎΠ³ΠΎ ΡΠΎΠΊΠ° Ρ ΠΏΠΎΡΡΠΎΡΠ½Π½ΡΠΌΠΈ ΠΌΠ°Π³Π½ΠΈΡΠ°ΠΌΠΈ, ΠΊΠΎΡΠΎΡΡΠ΅ ΠΎΠ±Ρ ΠΎΠ΄ΡΡΡΡ Π±Π΅Π· ΡΠ΅ΡΠΎΠΊ. ΠΡΠΈ Π΄Π²ΠΈΠ³Π°ΡΠ΅Π»ΠΈ Π½Π΅ΡΠΊΠΎΠ»ΡΠΊΠΎ ΠΎΠ³ΡΠ°Π½ΠΈΡΠ΅Π½Ρ ΠΏΠΎ ΡΠ°Π·ΠΌΠ΅ΡΡ, ΠΏΡΠΈΠΌΠ΅ΡΠ½ΠΎ Π² ΠΎΠ΄Π½Ρ Π»ΠΎΡΠ°Π΄ΠΈΠ½ΡΡ ΡΠΈΠ»Ρ Π² Π²Π΅ΡΡ Π½Π΅ΠΉ ΡΠ°ΡΡΠΈ, ΠΈ Π΄Π»Ρ ΠΈΡ ΡΠ»Π΅ΠΊΡΡΠΎΠ½Π½ΠΎΠ³ΠΎ ΠΏΠ΅ΡΠ΅ΠΊΠ»ΡΡΠ΅Π½ΠΈΡ ΡΡΠ΅Π±ΡΡΡΡΡ ΠΏΡΠΈΠ²ΠΎΠ΄Ρ. ΠΡΠΎΡΠ΅Π·ΠΈ ΠΌΠ΅ΠΆΠ΄Ρ Π·ΡΠ±ΡΡΠΌΠΈ ΠΎΠ±ΠΌΠΎΡΠΊΠΈ ΡΡΠ°ΡΠΎΡΠ° Π²ΡΠ·ΡΠ²Π°ΡΡ ΡΠ²Π»Π΅Π½ΠΈΠ΅, ΠΈΠ·Π²Π΅ΡΡΠ½ΠΎΠ΅ ΠΊΠ°ΠΊ Β«Π·ΡΠ±ΡΠ°ΡΠΎΡΡΡΒ», Π° ΠΊΠΎΠ½ΡΡΡΡΠΊΡΠΈΡ Π±Π΅Π· Π·Π°Π·ΠΎΡΠΎΠ² ΠΏΡΠ΅Π΄ΡΡΠ°Π²Π»ΡΠ΅Ρ ΡΠΎΠ±ΠΎΠΉ ΠΏΠΎΠΏΡΡΠΊΡ ΠΏΡΠ΅ΠΎΠ΄ΠΎΠ»Π΅ΡΡ ΡΡΠΎ ΡΠ²Π»Π΅Π½ΠΈΠ΅.ΠΠΎΡΡΡΠΏΠ½Ρ ΠΎΠΏΡΠ΅Π΄Π΅Π»Π΅Π½Π½ΡΠ΅ ΠΊΠΎΠ½ΡΡΡΡΠΊΡΠΈΠΈ Ρ ΠΏΠΎΡΡΠΎΡΠ½Π½ΡΠΌΠΈ ΠΌΠ°Π³Π½ΠΈΡΠ°ΠΌΠΈ, ΠΊΠΎΡΠΎΡΡΠ΅ ΠΎΠ±Π΅ΡΠΏΠ΅ΡΠΈΠ²Π°ΡΡ Π²ΡΡΠΎΠΊΠΈΠΉ ΠΊΡΡΡΡΡΠΈΠΉ ΠΌΠΎΠΌΠ΅Π½Ρ Π½Π° Π½ΠΈΠ·ΠΊΠΈΡ ΡΠΊΠΎΡΠΎΡΡΡΡ , Π½Π°ΠΏΡΠΈΠΌΠ΅Ρ, Π΄Π²ΠΈΠ³Π°ΡΠ΅Π»ΠΈ BLDC ΡΠΈΠΏΠ° Β«Π±Π»ΠΈΠ½ΡΒ», ΠΊΠΎΡΠΎΡΡΠ΅ ΠΎΡΠΎΠ±Π΅Π½Π½ΠΎ ΠΏΠΎΠ΄Ρ ΠΎΠ΄ΡΡ Π΄Π»Ρ ΡΠΎΠ±ΠΎΡΠΈΠ·ΠΈΡΠΎΠ²Π°Π½Π½ΡΡ ΠΏΡΠΈΠ»ΠΎΠΆΠ΅Π½ΠΈΠΉ. Π‘ΡΡΠ΅ΡΡΠ²ΡΡΡ ΡΠ°ΠΊΠΆΠ΅ Π½Π΅Π±ΠΎΠ»ΡΡΠΈΠ΅ Π΄Π²ΠΈΠ³Π°ΡΠ΅Π»ΠΈ ΠΏΠΎΡΡΠΎΡΠ½Π½ΠΎΠ³ΠΎ ΡΠΎΠΊΠ°, Π½Π°Π·ΡΠ²Π°Π΅ΠΌΡΠ΅ ΠΌΠΈΠΊΡΠΎΠ΄Π²ΠΈΠ³Π°ΡΠ΅Π»ΡΠΌΠΈ, ΠΊΠΎΡΠΎΡΡΠ΅ ΠΈΡΠΏΠΎΠ»ΡΠ·ΡΡΡΡΡ Π² ΡΠ»Π΅ΠΊΡΡΠΎΠ½Π½ΡΡ ΡΡΡΡΠΎΠΉΡΡΠ²Π°Ρ ΠΈ Ρ.ΠΏ., ΡΠ°ΡΡΠΎ ΠΏΠΈΡΠ°ΡΡΠΈΡ ΡΡ ΠΎΡ Π±Π°ΡΠ°ΡΠ΅ΠΈ.
ΠΠΎΡΠΎΡ-ΡΠ΅Π΄ΡΠΊΡΠΎΡΡ Π΄ΠΎΡΡΡΠΏΠ½Ρ ΠΊΠ°ΠΊ Π±Π»ΠΎΠΊΠΈ ΠΏΠ΅ΡΠ΅ΠΌΠ΅Π½Π½ΠΎΠ³ΠΎ ΡΠΎΠΊΠ°, ΡΠ°ΠΊ ΠΈ ΠΏΠΎΡΡΠΎΡΠ½Π½ΠΎΠ³ΠΎ ΡΠΎΠΊΠ°, ΠΊΠ°ΠΊ ΠΏΡΠ°Π²ΠΈΠ»ΠΎ, Π½Π΅Π±ΠΎΠ»ΡΡΠΎΠ³ΠΎ ΡΠ°Π·ΠΌΠ΅ΡΠ°, Π³Π΄Π΅ ΡΠ΅Π»Π΅ΡΠΎΠΎΠ±ΡΠ°Π·Π½ΠΎ ΡΠ΅ΡΠ½ΠΎΠ΅ ΡΠΎΠ΅Π΄ΠΈΠ½Π΅Π½ΠΈΠ΅ Π΄Π²ΠΈΠ³Π°ΡΠ΅Π»Ρ ΠΈ ΠΊΠΎΡΠΎΠ±ΠΊΠΈ ΠΏΠ΅ΡΠ΅Π΄Π°Ρ. ΠΠΎΡΠΎΡ-ΡΠ΅Π΄ΡΠΊΡΠΎΡΡ Π΄ΠΎΡΡΡΠΏΠ½Ρ Ρ ΡΠ°Π·Π»ΠΈΡΠ½ΡΠΌΠΈ ΡΠ΅Π΄ΡΠΊΡΠΎΡΠ°ΠΌΠΈ, ΡΠ°ΠΊΠΈΠΌΠΈ ΠΊΠ°ΠΊ ΠΏΠ°ΡΠ°Π»Π»Π΅Π»ΡΠ½ΡΠΉ Π²Π°Π», ΠΏΡΡΠΌΠΎΠΉ ΡΠ³ΠΎΠ», ΠΏΠ»Π°Π½Π΅ΡΠ°ΡΠ½ΡΠΉ ΡΠ΅Π΄ΡΠΊΡΠΎΡ ΠΈ Ρ. Π.
Π¨Π°Π³ΠΎΠ²ΡΠ΅ Π΄Π²ΠΈΠ³Π°ΡΠ΅Π»ΠΈ ΠΏΡΠ΅Π΄Π½Π°Π·Π½Π°ΡΠ΅Π½Ρ Π΄Π»Ρ ΠΏΠΎΠ·ΠΈΡΠΈΠΎΠ½ΠΈΡΠΎΠ²Π°Π½ΠΈΡ. Π ΠΈΡ ΡΠΎΡΠΎΡΠ°Ρ ΠΈΡΠΏΠΎΠ»ΡΠ·ΡΡΡΡΡ ΠΏΠΎΡΡΠΎΡΠ½Π½ΡΠ΅ ΠΌΠ°Π³Π½ΠΈΡΡ, ΠΊΠΎΡΠΎΡΡΠΌΠΈ ΠΌΠΎΠΆΠ½ΠΎ ΡΠΏΡΠ°Π²Π»ΡΡΡ ΡΠ΅ΡΠ΅Π· Π΄ΠΈΡΠΊΡΠ΅ΡΠ½ΡΠ΅ ΠΏΡΠΎΠΌΠ΅ΠΆΡΡΠΊΠΈ Π²ΡΠ΅ΠΌΠ΅Π½ΠΈ, Π²ΠΎΠ·Π±ΡΠΆΠ΄Π°Ρ ΠΏΠΎΠ»Π΅ ΡΡΠ°ΡΠΎΡΠ°. Π¨Π°Π³ΠΎΠ²ΡΠΉ Π΄Π²ΠΈΠ³Π°ΡΠ΅Π»Ρ Π½ΡΠΆΠ΄Π°Π΅ΡΡΡ Π² ΠΊΠΎΠ½ΡΡΠΎΠ»Π»Π΅ΡΠ΅ / ΠΏΡΠΈΠ²ΠΎΠ΄Π΅ Π΄Π»Ρ ΡΠ°Π±ΠΎΡΡ. Π¨Π°Π³ΠΎΠ²ΡΠ΅ Π΄Π²ΠΈΠ³Π°ΡΠ΅Π»ΠΈ ΠΎΠ±ΡΡΠ½ΠΎ ΠΈΠΌΠ΅ΡΡ ΡΠ³ΠΎΠ» ΠΏΠΎΠ²ΠΎΡΠΎΡΠ° 1,8 ΠΈΠ»ΠΈ ΠΌΠ΅Π½Π΅Π΅ Π³ΡΠ°Π΄ΡΡΠΎΠ² Π΄Π»Ρ ΠΊΠ°ΠΆΠ΄ΠΎΠ³ΠΎ ΡΠ°Π³Π°, Π½ΠΎ ΠΎΠ½ΠΈ ΠΌΠΎΠ³ΡΡ Π±ΡΡΡ Π΄ΠΎΠΏΠΎΠ»Π½ΠΈΡΠ΅Π»ΡΠ½ΠΎ ΠΏΠΎΠ΄ΡΠ°Π·Π΄Π΅Π»Π΅Π½Ρ Π·Π° ΡΡΠ΅Ρ ΠΈΡΠΏΠΎΠ»ΡΠ·ΠΎΠ²Π°Π½ΠΈΡ ΡΠ°ΠΊ Π½Π°Π·ΡΠ²Π°Π΅ΠΌΡΡ ΠΌΠΈΠΊΡΠΎΡΠ°Π³ΠΎΠ²ΡΡ ΠΊΠΎΠ½ΡΡΠΎΠ»Π»Π΅ΡΠΎΠ². ΠΠΎΠ½ΡΡΡΡΠΊΡΠΈΡ Π΄Π²ΠΈΠ³Π°ΡΠ΅Π»Ρ ΡΠ°ΠΊΠΆΠ΅ ΠΈΠ³ΡΠ°Π΅Ρ ΡΠΎΠ»Ρ Π² ΡΠ°Π·ΡΠ΅ΡΠ°ΡΡΠ΅ΠΉ ΡΠΏΠΎΡΠΎΠ±Π½ΠΎΡΡΠΈ ΡΠ°Π³ΠΎΠ²ΠΎΠ³ΠΎ Π΄Π²ΠΈΠ³Π°ΡΠ΅Π»Ρ — ΠΊΠΎΠ»ΠΈΡΠ΅ΡΡΠ²Π΅ ΡΠ°Π³ΠΎΠ² Π½Π° ΠΎΠ±ΠΎΡΠΎΡ — ΠΏΡΠΈ ΡΡΠΎΠΌ 5-ΡΠ°Π·Π½ΡΠ΅ Π΄Π²ΠΈΠ³Π°ΡΠ΅Π»ΠΈ ΠΏΡΠ΅Π΄Π»Π°Π³Π°ΡΡ Π±ΠΎΠ»ΡΡΠ΅Π΅ ΠΊΠΎΠ»ΠΈΡΠ΅ΡΡΠ²ΠΎ ΡΠ°Π³ΠΎΠ², ΡΠ΅ΠΌ 2-ΡΠ°Π·Π½ΡΠ΅ Π΄Π²ΠΈΠ³Π°ΡΠ΅Π»ΠΈ.Π¨Π°Π³ΠΎΠ²ΡΠ΅ Π΄Π²ΠΈΠ³Π°ΡΠ΅Π»ΠΈ ΠΎΠ±Π΅ΡΠΏΠ΅ΡΠΈΠ²Π°ΡΡ ΠΎΡΠ½ΠΎΡΠΈΡΠ΅Π»ΡΠ½ΠΎ Π½Π΅Π΄ΠΎΡΠΎΠ³ΠΎΠΉ ΡΠΏΠΎΡΠΎΠ± ΠΈΠΌΠΈΡΠ°ΡΠΈΠΈ ΠΏΠΎΠ·ΠΈΡΠΈΠΎΠ½ΠΈΡΠΎΠ²Π°Π½ΠΈΡ ΡΠ΅ΡΠ²ΠΎΠΏΡΠΈΠ²ΠΎΠ΄ΠΎΠ², Ρ ΠΎΡΡ, ΠΊΠ°ΠΊ ΠΏΡΠ°Π²ΠΈΠ»ΠΎ, ΠΈΠΌ Π½Π΅ Ρ Π²Π°ΡΠ°Π΅Ρ ΠΎΠ±ΡΠ°ΡΠ½ΠΎΠΉ ΡΠ²ΡΠ·ΠΈ ΠΏΠΎ ΠΏΠΎΠ»ΠΎΠΆΠ΅Π½ΠΈΡ. Π¨Π°Π³ΠΎΠ²ΡΠ΅ Π΄Π²ΠΈΠ³Π°ΡΠ΅Π»ΠΈ ΠΎΠ±ΡΡΠ½ΠΎ ΠΌΠΎΠ³ΡΡ ΡΠ΄Π΅ΡΠΆΠΈΠ²Π°ΡΡ Π½Π°Π³ΡΡΠ·ΠΊΡ Π² ΠΎΡΡΠ°Π½ΠΎΠ²Π»Π΅Π½Π½ΠΎΠΌ ΡΠΎΡΡΠΎΡΠ½ΠΈΠΈ, ΡΡΠΎ ΡΠ²Π»ΡΠ΅ΡΡΡ ΠΏΡΠ΅ΠΈΠΌΡΡΠ΅ΡΡΠ²ΠΎΠΌ Π΄Π»Ρ ΠΏΡΠΈΠ»ΠΎΠΆΠ΅Π½ΠΈΠΉ ΠΏΠΎΠ·ΠΈΡΠΈΠΎΠ½ΠΈΡΠΎΠ²Π°Π½ΠΈΡ.
Π‘Π΅ΡΠ²ΠΎΠ΄Π²ΠΈΠ³Π°ΡΠ΅Π»ΠΈ — ΡΡΠΎ ΠΏΠΎΠ·ΠΈΡΠΈΠΎΠ½Π΅ΡΡ Ρ ΠΈΡΡΠΈΠ½Π½ΠΎΠΉ ΠΎΠ±ΡΠ°ΡΠ½ΠΎΠΉ ΡΠ²ΡΠ·ΡΡ, ΠΊΠΎΡΠΎΡΡΠ΅ Π²ΠΊΠ»ΡΡΠ°ΡΡ ΡΠ½ΠΊΠΎΠ΄Π΅ΡΡ Π΄Π»Ρ ΠΏΠ΅ΡΠ΅Π΄Π°ΡΠΈ ΠΈΠ½ΡΠΎΡΠΌΠ°ΡΠΈΠΈ ΠΎ ΠΏΠΎΠ»ΠΎΠΆΠ΅Π½ΠΈΠΈ ΠΎΠ±ΡΠ°ΡΠ½ΠΎ Π½Π° ΡΠ²ΠΎΠΈ ΠΊΠΎΠ½ΡΡΠΎΠ»Π»Π΅ΡΡ. ΠΠ½ΠΈ ΠΊΠΎΠ½ΡΡΠΎΠ»ΠΈΡΡΡΡ ΠΊΠ°ΠΊ ΡΠΊΠΎΡΠΎΡΡΡ, ΡΠ°ΠΊ ΠΈ ΡΠΎΡΠ½ΠΎΡΡΡ Π·Π° ΡΡΠ΅Ρ ΠΈΡΠΏΠΎΠ»ΡΠ·ΠΎΠ²Π°Π½ΠΈΡ ΠΊΠΎΠ½ΡΡΡΠΎΠ² ΠΎΠ±ΡΠ°ΡΠ½ΠΎΠΉ ΡΠ²ΡΠ·ΠΈ. Π‘ΠΏΠ΅ΡΠΈΠ°Π»ΡΠ½ΡΠΉ ΡΠ΅ΡΠ²ΠΎΠ΄Π²ΠΈΠ³Π°ΡΠ΅Π»Ρ, Π½Π°Π·ΡΠ²Π°Π΅ΠΌΡΠΉ ΠΌΠΎΠΌΠ΅Π½ΡΠ½ΡΠΌ Π΄Π²ΠΈΠ³Π°ΡΠ΅Π»Π΅ΠΌ, ΠΏΡΠ΅Π΄Π½Π°Π·Π½Π°ΡΠ΅Π½ Π΄Π»Ρ ΠΏΡΠΈΠ»ΠΎΠΆΠ΅Π½ΠΈΡ ΠΊΡΡΡΡΡΠ΅Π³ΠΎ ΠΌΠΎΠΌΠ΅Π½ΡΠ° ΠΊ Π²Π°Π»Ρ Π±Π΅Π· Π½Π΅ΠΎΠ±Ρ ΠΎΠ΄ΠΈΠΌΠΎΡΡΠΈ Π΅Π³ΠΎ Π²ΡΠ°ΡΠ΅Π½ΠΈΡ, ΡΡΠΎ ΠΌΠΎΠΆΠ΅Ρ ΠΏΠΎΡΡΠ΅Π±ΠΎΠ²Π°ΡΡΡΡ Π΄Π»Ρ ΠΏΠΎΠ΄Π΄Π΅ΡΠΆΠ°Π½ΠΈΡ ΠΏΠΎΡΡΠΎΡΠ½Π½ΠΎΠ³ΠΎ Π½Π°ΡΡΠΆΠ΅Π½ΠΈΡ Π½Π°ΡΡΠΆΠ½ΠΎΠ³ΠΎ ΡΡΡΡΠΎΠΉΡΡΠ²Π° ΠΏΠΎΠ»ΠΎΡΠ½Π°.ΠΠΎΠ½ΡΡΡΡΠΊΡΠΈΡ ΠΏΠΎΠ·Π²ΠΎΠ»ΡΠ΅Ρ Π΄Π²ΠΈΠ³Π°ΡΠ΅Π»Ρ ΡΠΎΠ·Π΄Π°Π²Π°ΡΡ ΠΊΡΡΡΡΡΠΈΠΉ ΠΌΠΎΠΌΠ΅Π½Ρ ΠΏΡΠΈ ΠΎΡΡΠ°Π½ΠΎΠ²ΠΊΠ΅ Π±Π΅Π· ΠΏΠ΅ΡΠ΅Π³ΡΠ΅Π²Π°. ΠΠ³ΠΎ ΡΠ°ΠΊΠΆΠ΅ ΠΌΠΎΠΆΠ½ΠΎ ΠΈΡΠΏΠΎΠ»ΡΠ·ΠΎΠ²Π°ΡΡ Π΄Π»Ρ ΠΏΡΡΠΌΠΎΠ³ΠΎ Π΄ΠΎΡΡΡΠΏΠ° ΠΊ ΠΈΠ½Π΄Π΅ΠΊΡΠ½ΡΠΌ ΡΠ°Π±Π»ΠΈΡΠ°ΠΌ.
ΠΠΈΠ½Π΅ΠΉΠ½ΡΠ΅ Π΄Π²ΠΈΠ³Π°ΡΠ΅Π»ΠΈ Π»ΡΡΡΠ΅ Π²ΡΠ΅Π³ΠΎ ΡΠ°ΡΡΠΌΠ°ΡΡΠΈΠ²Π°ΡΡ ΠΊΠ°ΠΊ ΡΠΎΡΠΎΡΠ½ΡΠ΅ Π΄Π²ΠΈΠ³Π°ΡΠ΅Π»ΠΈ, ΠΊΠΎΡΠΎΡΡΠ΅ Π±ΡΠ»ΠΈ Β«ΡΠ°Π·Π²Π΅ΡΠ½ΡΡΡΒ» Π΄Π»Ρ ΡΠΎΠ·Π΄Π°Π½ΠΈΡ ΡΠΎΡΠΎΡΠΎΠ², Π΄Π²ΠΈΠΆΡΡΠΈΡ ΡΡ ΠΏΠΎ Π»ΠΈΠ½Π΅ΠΉΠ½ΡΠΌ ΠΏΡΡΡΠΌ. ΠΠ±ΡΡΠ½ΠΎ ΠΎΠ½ΠΈ ΡΠΏΡΠ°Π²Π»ΡΡΡΡΡ ΡΠ΅ΡΠ²ΠΎΠΏΡΠΈΠ²ΠΎΠ΄ΠΎΠΌ, Π½ΠΎ ΡΠ°ΠΊΠΆΠ΅ ΠΌΠΎΠ³ΡΡ Π±ΡΡΡ ΠΎΡΠ½ΠΎΠ²Π°Π½Ρ Π½Π° ΡΠ°Π³ΠΎΠ²ΠΎΠΌ Π΄Π²ΠΈΠ³Π°ΡΠ΅Π»Π΅ ΠΈ ΠΈΡΠΏΠΎΠ»ΡΠ·ΠΎΠ²Π°ΡΡΡΡ Π΄Π»Ρ ΠΏΠΎΠ·ΠΈΡΠΈΠΎΠ½ΠΈΡΠΎΠ²Π°Π½ΠΈΡ ΠΈ ΡΠΎΡΠ½ΠΎΠ³ΠΎ ΡΠΏΡΠ°Π²Π»Π΅Π½ΠΈΡ ΡΠΊΠΎΡΠΎΡΡΡΡ, ΡΠ΅Π³ΠΎ Π½Π΅Π»ΡΠ·Ρ Π΄ΠΎΡΡΠΈΡΡ Ρ ΠΏΠΎΠΌΠΎΡΡΡ Π±ΠΎΠ»Π΅Π΅ Π΄Π΅ΡΠ΅Π²ΡΡ ΡΡΠ΅Π΄ΡΡΠ², ΡΠ°ΠΊΠΈΡ ΠΊΠ°ΠΊ Π²ΠΎΠ·Π΄ΡΡΠ½ΡΠ΅ ΡΠΈΠ»ΠΈΠ½Π΄ΡΡ ΠΈ Ρ. Π. ΠΠ΅ΠΊΠΎΡΠΎΡΡΠ΅ ΠΏΡΠΎΠΈΠ·Π²ΠΎΠ΄ΠΈΡΠ΅Π»ΠΈ ΠΏΡΠ΅Π΄Π»Π°Π³Π°ΡΡ Π»ΠΈΠ½Π΅ΠΉΠ½ΡΠ΅ Π΄Π²ΠΈΠ³Π°ΡΠ΅Π»ΠΈ, ΠΊΠΎΡΠΎΡΡΠ΅ ΡΠ°ΠΊΠΆΠ΅ ΠΌΠΎΠ³ΡΡ Π²ΡΠ°ΡΠ°ΡΡΡΡ.ΠΠ°ΠΊ ΠΈ Π΄Π»Ρ Π»ΡΠ±ΠΎΠ³ΠΎ ΡΠ΅ΡΠ²ΠΎ- ΠΈΠ»ΠΈ ΡΠ°Π³ΠΎΠ²ΠΎΠ³ΠΎ Π΄Π²ΠΈΠ³Π°ΡΠ΅Π»Ρ, Π΄Π»Ρ Π»ΠΈΠ½Π΅ΠΉΠ½ΡΡ Π΄Π²ΠΈΠ³Π°ΡΠ΅Π»Π΅ΠΉ ΡΡΠ΅Π±ΡΡΡΡΡ ΡΠ»Π΅ΠΊΡΡΠΎΠ½Π½ΡΠ΅ ΠΏΡΠΈΠ²ΠΎΠ΄Ρ / ΠΊΠΎΠ½ΡΡΠΎΠ»Π»Π΅ΡΡ.
ΠΠ½Π΅Π²ΠΌΠ°ΡΠΈΡΠ΅ΡΠΊΠΈΠ΅ Π΄Π²ΠΈΠ³Π°ΡΠ΅Π»ΠΈ ΠΏΡΠΎΡΡΠΎ ΠΏΡΠΈΠ²ΠΎΠ΄ΡΡΡΡ Π² Π΄Π΅ΠΉΡΡΠ²ΠΈΠ΅ Π²ΠΎΠ·Π΄ΡΡ ΠΎΠΌ, Π° Π½Π΅ ΡΠ»Π΅ΠΊΡΡΠΈΡΠ΅ΡΡΠ²ΠΎΠΌ ΠΈ ΠΎΠ±ΡΡΠ½ΠΎ ΠΈΡΠΏΠΎΠ»ΡΠ·ΡΡΡΡΡ Π² ΠΏΠ½Π΅Π²ΠΌΠ°ΡΠΈΡΠ΅ΡΠΊΠΈΡ ΠΈΠ½ΡΡΡΡΠΌΠ΅Π½ΡΠ°Ρ , ΡΠ°ΠΊΠΈΡ ΠΊΠ°ΠΊ ΠΏΠ½Π΅Π²ΠΌΠ°ΡΠΈΡΠ΅ΡΠΊΠΈΠ΅ ΠΊΠ»ΡΡΠΈ ΠΈ Ρ. Π. ΠΠ½Π΅Π²ΠΌΠ°ΡΠΈΡΠ΅ΡΠΊΠΈΠ΅ Π΄Π²ΠΈΠ³Π°ΡΠ΅Π»ΠΈ ΠΈΡΠΏΠΎΠ»ΡΠ·ΡΡΡΡΡ ΡΠ°ΠΌ, Π³Π΄Π΅ ΡΡΠ΅Π±ΡΠ΅ΡΡΡ ΠΏΠΎΡΡΠΎΡΠ½Π½ΡΠΉ ΠΊΡΡΡΡΡΠΈΠΉ ΠΌΠΎΠΌΠ΅Π½Ρ, Π½Π°ΠΏΡΠΈΠΌΠ΅Ρ, Π½Π° ΠΏΡΠΈΠ΅ΠΌΠ½ΡΡ Π±Π°ΡΠ°Π±Π°Π½Π°Ρ Π½Π° ΠΌΠ°ΡΠΈΠ½Π°Ρ Π΄Π»Ρ ΠΎΠ±ΡΠ°Π±ΠΎΡΠΊΠΈ ΠΏΠΎΠ»ΠΎΡΠ½Π°. ΠΠ½ΠΈ ΡΠ°ΠΊΠΆΠ΅ ΠΈΡΠΏΠΎΠ»ΡΠ·ΡΡΡΡΡ Π²ΠΎ Π²Π·ΡΡΠ²ΠΎΠΎΠΏΠ°ΡΠ½ΡΡ ΡΡΠ΅Π΄Π°Ρ , ΠΏΠΎΡΠΊΠΎΠ»ΡΠΊΡ ΡΡΠΈΡΠ°ΡΡΡΡ ΠΈΡΠΊΡΠΎΠ±Π΅Π·ΠΎΠΏΠ°ΡΠ½ΡΠΌΠΈ. Π‘ΠΊΠΎΡΠΎΡΡΡ ΠΏΠ½Π΅Π²ΠΌΠΎΠ΄Π²ΠΈΠ³Π°ΡΠ΅Π»Ρ ΠΌΠΎΠΆΠ½ΠΎ Π½Π΅ΡΠΊΠΎΠ»ΡΠΊΠΎ ΠΈΠ·ΠΌΠ΅Π½ΠΈΡΡ, Π΄ΡΠΎΡΡΠ΅Π»ΠΈΡΡΡ Π²ΠΏΡΡΠΊΠ½ΠΎΠΉ ΠΊΠ»Π°ΠΏΠ°Π½, ΡΡΠΎ Π΄Π°Π΅Ρ Π²ΠΎΠ·ΠΌΠΎΠΆΠ½ΠΎΡΡΡ Π±Π΅ΡΠΏΠ»Π°ΡΠ½ΠΎ ΡΠ΅Π³ΡΠ»ΠΈΡΠΎΠ²Π°ΡΡ ΡΠΊΠΎΡΠΎΡΡΡ, Π½Π°ΠΏΡΠΈΠΌΠ΅Ρ, ΠΏΡΠΈ ΠΈΡΠΏΠΎΠ»ΡΠ·ΠΎΠ²Π°Π½ΠΈΠΈ Π½Π° ΠΏΠΎΠ΄ΡΠ΅ΠΌΠ½ΠΈΠΊΠ΅.
ΠΠΈΠ΄ΡΠ°Π²Π»ΠΈΡΠ΅ΡΠΊΠΈΠ΅ Π΄Π²ΠΈΠ³Π°ΡΠ΅Π»ΠΈ ΠΏΡΠΈΠ²ΠΎΠ΄ΡΡΡΡ Π² Π΄Π΅ΠΉΡΡΠ²ΠΈΠ΅ Π³ΠΈΠ΄ΡΠ°Π²Π»ΠΈΡΠ΅ΡΠΊΠΎΠΉ ΠΆΠΈΠ΄ΠΊΠΎΡΡΡΡ ΠΈ ΠΎΠ±ΡΡΠ½ΠΎ ΠΈΡΠΏΠΎΠ»ΡΠ·ΡΡΡΡΡ Π½Π° Π²ΡΠ°ΡΠ°ΡΡΠΈΡ ΡΡ ΡΠ»Π΅ΠΌΠ΅Π½ΡΠ°Ρ ΡΡΡΠΎΠΈΡΠ΅Π»ΡΠ½ΠΎΠ³ΠΎ ΠΎΠ±ΠΎΡΡΠ΄ΠΎΠ²Π°Π½ΠΈΡ, Π½Π°ΠΏΡΠΈΠΌΠ΅Ρ, Π½Π° ΠΊΠΎΠ»Π΅ΡΠ½ΡΡ Π΄Π²ΠΈΠ³Π°ΡΠ΅Π»ΡΡ . ΠΠ½ΠΈ ΠΌΠΎΡΠ½ΡΠ΅ Π΄Π»Ρ ΡΠ²ΠΎΠ΅Π³ΠΎ ΡΠ°Π·ΠΌΠ΅ΡΠ°, Π»Π΅Π³ΠΊΠΎ ΠΏΠ΅ΡΠ΅Π²ΠΎΡΠ°ΡΠΈΠ²Π°ΡΡΡΡ ΠΈ ΡΠ΅Π³ΡΠ»ΠΈΡΡΡΡΡΡ ΠΏΠΎ ΡΠΊΠΎΡΠΎΡΡΠΈ. ΠΠ»Ρ Π½ΠΈΡ ΡΡΠ΅Π±ΡΡΡΡΡ ΠΈΡΡΠΎΡΠ½ΠΈΠΊΠΈ Π³ΠΈΠ΄ΡΠ°Π²Π»ΠΈΡΠ΅ΡΠΊΠΎΠΉ ΡΠ½Π΅ΡΠ³ΠΈΠΈ, ΠΊΠΎΡΠΎΡΠ°Ρ Π½Π° ΡΡΡΠΎΠΈΡΠ΅Π»ΡΠ½ΠΎΠΉ ΡΠ΅Ρ Π½ΠΈΠΊΠ΅ Ρ ΠΏΡΠΈΠ²ΠΎΠ΄ΠΎΠΌ ΠΎΡ Π΄Π²ΠΈΠ³Π°ΡΠ΅Π»Ρ ΠΎΠ±ΡΡΠ½ΠΎ ΠΏΠΎΡΡΡΠΏΠ°Π΅Ρ Π² Π²ΠΈΠ΄Π΅ Π³ΠΈΠ΄ΡΠ°Π²Π»ΠΈΡΠ΅ΡΠΊΠΈΡ Π½Π°ΡΠΎΡΠΎΠ² / ΡΠΈΡΡΠ΅ΠΌ. Π‘ΡΠ°ΡΠΈΠΎΠ½Π°ΡΠ½ΡΠ΅ ΡΡΠ°Π½ΡΠΈΠΈ Ρ ΠΌΠ΅Π½ΡΡΠ΅ΠΉ Π²Π΅ΡΠΎΡΡΠ½ΠΎΡΡΡΡ Π±ΡΠ΄ΡΡ ΠΈΠΌΠ΅ΡΡ Π³ΠΈΠ΄ΡΠ°Π²Π»ΠΈΡΠ΅ΡΠΊΡΡ ΡΠ½Π΅ΡΠ³ΠΈΡ, Π΄ΠΎΡΡΡΠΏΠ½ΡΡ Π² ΠΊΠ°ΡΠ΅ΡΡΠ²Π΅ ΠΊΠΎΠΌΠΌΡΠ½Π°Π»ΡΠ½ΡΡ ΡΡΠ»ΡΠ³, ΠΏΠΎΡΠΊΠΎΠ»ΡΠΊΡ ΠΎΠ½ΠΈ Π±ΡΠ΄ΡΡ ΠΈΡΠΏΠΎΠ»ΡΠ·ΠΎΠ²Π°ΡΡ ΡΠΆΠ°ΡΡΠΉ Π²ΠΎΠ·Π΄ΡΡ , Π½ΠΎ Π΄Π»Ρ Π½ΠΈΡ Π΄ΠΎΡΡΡΠΏΠ½Ρ ΡΠ°ΠΊ Π½Π°Π·ΡΠ²Π°Π΅ΠΌΡΠ΅ Π³ΠΈΠ΄ΡΠ°Π²Π»ΠΈΡΠ΅ΡΠΊΠΈΠ΅ ΡΠΈΠ»ΠΎΠ²ΡΠ΅ Π°Π³ΡΠ΅Π³Π°ΡΡ.
Π‘ΠΎΠΎΠ±ΡΠ°ΠΆΠ΅Π½ΠΈΡ
ΠΠ²ΠΈΠ³Π°ΡΠ΅Π»ΠΈ ΠΏΠΎΡΡΠΎΡΠ½Π½ΠΎΠ³ΠΎ ΠΈ ΠΏΠ΅ΡΠ΅ΠΌΠ΅Π½Π½ΠΎΠ³ΠΎ ΡΠΎΠΊΠ° Π΄ΠΎΡΡΡΠΏΠ½Ρ Π² ΡΡΠ°Π½Π΄Π°ΡΡΠ½ΡΡ ΡΠΈΠΏΠΎΡΠ°Π·ΠΌΠ΅ΡΠ°Ρ NEMA, ΡΡΠΎ Π΄Π΅Π»Π°Π΅Ρ ΡΡΠΈ Π΄Π²ΠΈΠ³Π°ΡΠ΅Π»ΠΈ Π²Π·Π°ΠΈΠΌΠΎΠ·Π°ΠΌΠ΅Π½ΡΠ΅ΠΌΡΠΌΠΈ. ΠΡ ΠΈΠ½ΠΎΠ³Π΄Π° Π½Π°Π·ΡΠ²Π°ΡΡ ΠΈΠ½ΡΠ΅Π³ΡΠ°Π»ΡΠ½ΡΠΌΠΈ Π°Π³ΡΠ΅Π³Π°ΡΠ°ΠΌΠΈ Π²ΡΡΠΎΠΊΠΎΠ³ΠΎ Π΄Π°Π²Π»Π΅Π½ΠΈΡ ΠΈΠ»ΠΈ ΠΏΡΠΎΡΡΠΎ ΡΡΠ΅Π΄Π½ΠΈΠΌΠΈ ΠΌΠ°ΡΠΈΠ½Π°ΠΌΠΈ. ΠΠ²ΠΈΠ³Π°ΡΠ΅Π»ΠΈ ΡΠ°ΠΊΠΆΠ΅ Π±ΡΠ²Π°ΡΡ Π² Π²ΠΈΠ΄Π΅ Π΄ΡΠΎΠ±Π½ΡΡ Π±Π»ΠΎΠΊΠΎΠ² HP, ΠΏΠΎΠ»ΡΡΠΈΠ²ΡΠΈΡ Π½Π°Π·Π²Π°Π½ΠΈΠ΅ FHP ΠΈΠ»ΠΈ, ΠΏΡΠΎΡΠ΅ Π³ΠΎΠ²ΠΎΡΡ, ΠΌΠ°Π»ΡΡ , ΠΈ ΠΈΠΌΠ΅ΡΡ Π½Π΅ΡΡΠ°Π½Π΄Π°ΡΡΠ½ΡΡ ΠΊΠΎΠ½ΡΡΡΡΠΊΡΠΈΡ Π·Π° ΠΏΡΠ΅Π΄Π΅Π»Π°ΠΌΠΈ Π²ΡΡΡΠΎΠ΅Π½Π½ΡΡ ΡΠ°ΠΌ NEMA, ΠΈΠ½ΠΎΠ³Π΄Π° Π½Π°Π·ΡΠ²Π°Π΅ΠΌΡΡ Π±ΠΎΠ»ΡΡΠΈΠΌΠΈ ΠΌΠ°ΡΠΈΠ½Π°ΠΌΠΈ. IEC ΠΏΡΠ΅Π΄Π»Π°Π³Π°Π΅Ρ Π°Π½Π°Π»ΠΎΠ³ΠΈΡΠ½ΡΠ΅ ΡΡΠ°Π½Π΄Π°ΡΡΠΈΠ·ΠΈΡΠΎΠ²Π°Π½Π½ΡΠ΅ ΠΌΠΎΡΠΎΡΠ½ΡΠ΅ ΠΊΠΎΡΠΏΡΡΠ° ΠΈ ΠΏΠΎΠ΄ΡΠ°Π·Π΄Π΅Π»Π΅Π½ΠΈΡ ΠΌΠ΅ΡΡΠΈΡΠ΅ΡΠΊΠΈΡ ΡΠ°Π·ΠΌΠ΅ΡΠΎΠ².
ΠΠ°ΡΠΈΠ°Π½ΡΡ Π·Π°ΡΠΈΡΡΠΎΠ±ΡΡΠ½ΠΎ ΡΠΊΠ°Π·ΡΠ²Π°ΡΡΡΡ Π² ΠΎΠ΄Π½ΠΎΠΉ ΠΈΠ· Π΄Π²ΡΡ ΡΠΎΡΠΌ: ΠΊΠΎΠ΄Π° ΠΈΠ»ΠΈ ΠΊΠ»Π°ΡΡΠΈΡΠΈΠΊΠ°ΡΠΈΠΈ NEMA ΠΈ ΠΊΠΎΠ΄Π° IEC.ΠΠΎΠ»ΡΡΠΈΠ½ΡΡΠ²ΠΎ Π΄Π²ΠΈΠ³Π°ΡΠ΅Π»Π΅ΠΉ ΠΏΡΠ΅Π΄ΡΡΠ°Π²Π»ΡΡΡ ΡΠΎΠ±ΠΎΠΉ ΠΏΠΎΠ»Π½ΠΎΡΡΡΡ Π·Π°ΠΊΡΡΡΡΠ΅ Π΄Π²ΠΈΠ³Π°ΡΠ΅Π»ΠΈ Ρ Π²Π΅Π½ΡΠΈΠ»ΡΡΠΎΡΠ½ΡΠΌ ΠΎΡ Π»Π°ΠΆΠ΄Π΅Π½ΠΈΠ΅ΠΌ, ΡΠΎΠΊΡΠ°ΡΠ΅Π½Π½ΠΎ TEFC, Π½ΠΎ ΡΡΡΠ΅ΡΡΠ²ΡΠ΅Ρ ΠΌΠ½ΠΎΠΆΠ΅ΡΡΠ²ΠΎ ΡΠ°Π·Π½ΠΎΠ²ΠΈΠ΄Π½ΠΎΡΡΠ΅ΠΉ ΠΎΡ ΠΎΡΠΊΡΡΡΡΡ , ΠΊΠ°ΠΏΠ»Π΅Π·Π°ΡΠΈΡΠ΅Π½Π½ΡΡ (ODP) Π΄ΠΎ ΠΏΠΎΠ»Π½ΠΎΡΡΡΡ Π·Π°ΠΊΡΡΡΡΡ , Π½Π΅Π²Π΅Π½ΡΠΈΠ»ΠΈΡΡΠ΅ΠΌΡΡ (TENV). ΠΠΎΠ΄ IEC ΠΎΠ±Π΅ΡΠΏΠ΅ΡΠΈΠ²Π°Π΅Ρ Π°Π½Π°Π»ΠΎΠ³ΠΈΡΠ½ΡΡ ΠΊΠ»Π°ΡΡΠΈΡΠΈΠΊΠ°ΡΠΈΡ Ρ ΠΏΠΎΠΌΠΎΡΡΡ Π΄Π²ΡΠ·Π½Π°ΡΠ½ΠΎΠ³ΠΎ ΡΠΈΡΡΠΎΠ²ΠΎΠ³ΠΎ ΠΊΠΎΠ΄Π°, ΠΏΠ΅ΡΠ²ΡΠΉ ΠΈΠ· ΠΊΠΎΡΠΎΡΡΡ ΠΎΠΏΡΠ΅Π΄Π΅Π»ΡΠ΅Ρ Π·Π°ΡΠΈΡΡ ΠΊΠΎΡΠΏΡΡΠ° ΠΎΡ ΡΠ²Π΅ΡΠ΄ΡΡ ΠΏΡΠ΅Π΄ΠΌΠ΅ΡΠΎΠ², Π° Π²ΡΠΎΡΠΎΠΉ — ΡΡΠΎΠ²Π΅Π½Ρ Π·Π°ΡΠΈΡΡ ΠΎΡ ΠΏΡΠΎΠ½ΠΈΠΊΠ½ΠΎΠ²Π΅Π½ΠΈΡ Π²Π»Π°Π³ΠΈ. ΠΠ°ΠΏΡΠΈΠΌΠ΅Ρ, Π΄Π²ΠΈΠ³Π°ΡΠ΅Π»Ρ ΡΠΎ ΡΡΠ΅ΠΏΠ΅Π½ΡΡ Π·Π°ΡΠΈΡΡ IP67 ΡΡΠΈΡΠ°Π΅ΡΡΡ ΠΏΡΠ»Π΅Π½Π΅ΠΏΡΠΎΠ½ΠΈΡΠ°Π΅ΠΌΡΠΌ ΠΈ Π²ΠΎΠ΄ΠΎΠ½Π΅ΠΏΡΠΎΠ½ΠΈΡΠ°Π΅ΠΌΡΠΌ. ΠΠΎΠ³ΡΡΠΆΠ½ΡΠ΅ Π΄Π²ΠΈΠ³Π°ΡΠ΅Π»ΠΈ, ΠΎΡ Π»Π°ΠΆΠ΄Π°Π΅ΠΌΡΠ΅ ΠΈΠΌΠΌΠ΅ΡΡΠΈΠ²Π½ΠΎΠΉ ΠΆΠΈΠ΄ΠΊΠΎΡΡΡΡ, Π΄ΠΎΡΡΡΠΏΠ½Ρ Π΄Π»Ρ ΡΠΊΠ²Π°ΠΆΠΈΠ½Π½ΡΡ Π½Π°ΡΠΎΡΠΎΠ² ΠΈ Ρ.ΠΏ.
NEMA ΡΠ°ΠΊΠΆΠ΅ Π΄Π΅Π»Π°Π΅Ρ ΡΠ°Π·Π»ΠΈΡΠΈΠ΅ ΠΌΠ΅ΠΆΠ΄Ρ Π΄Π²ΠΈΠ³Π°ΡΠ΅Π»ΡΠΌΠΈ, ΡΠ°Π±ΠΎΡΠ°ΡΡΠΈΠΌΠΈ Π² Π½Π΅ΠΏΡΠ΅ΡΡΠ²Π½ΠΎΠΌ ΠΈ ΠΏΡΠ΅ΡΡΠ²ΠΈΡΡΠΎΠΌ ΡΠ΅ΠΆΠΈΠΌΠ΅. ΠΠ²ΠΈΠ³Π°ΡΠ΅Π»Ρ Ρ ΠΏΡΠ΅ΡΡΠ²ΠΈΡΡΡΠΌ ΡΠ΅ΠΆΠΈΠΌΠΎΠΌ ΡΠ°Π±ΠΎΡΡ ΡΠΏΡΠΎΠ΅ΠΊΡΠΈΡΠΎΠ²Π°Π½ Π΄Π»Ρ Π½Π΅ΡΠ°ΡΡΠΎΠ³ΠΎ ΠΈΡΠΏΠΎΠ»ΡΠ·ΠΎΠ²Π°Π½ΠΈΡ Ρ Π΄ΠΎΡΡΠ°ΡΠΎΡΠ½ΡΠΌ ΠΎΡ Π»Π°ΠΆΠ΄Π΅Π½ΠΈΠ΅ΠΌ ΠΌΠ΅ΠΆΠ΄Ρ ΠΏΡΡΠΊΠ°ΠΌΠΈ, ΠΊΠ°ΠΊ ΡΡΠΎ ΠΌΠΎΠΆΠ΅Ρ Π±ΡΡΡ Π² ΡΠ»ΡΡΠ°Π΅ Ρ Π²ΠΎΠ·Π΄ΡΡΠ½ΡΠΌ ΠΊΠΎΠΌΠΏΡΠ΅ΡΡΠΎΡΠΎΠΌ Π½ΠΈΠΆΠ½Π΅Π³ΠΎ ΡΡΠΎΠ²Π½Ρ, ΠΊΠΎΡΠΎΡΡΠΉ ΡΠ°ΠΊΠΆΠ΅ ΠΈΠΌΠ΅Π΅Ρ ΡΠ°Π±ΠΎΡΠΈΠΉ ΡΠΈΠΊΠ» ΠΌΠ΅Π½Π΅Π΅ 100%. Π’Π°ΠΊΠΆΠ΅ ΡΡΡΠ΅ΡΡΠ²ΡΠ΅Ρ ΠΏΡΡΠΈΠ±ΡΠΊΠ²Π΅Π½Π½Π°Ρ ΡΠ΅ΠΉΡΠΈΠ½Π³ΠΎΠ²Π°Ρ ΡΠΈΡΡΠ΅ΠΌΠ° NEMA Π΄Π»Ρ ΠΎΠΏΠΈΡΠ°Π½ΠΈΡ ΡΠ°Π±ΠΎΡΡ Π΄Π²ΠΈΠ³Π°ΡΠ΅Π»Ρ, Π½Π°ΠΏΡΠΈΠΌΠ΅Ρ Β«AΒ», ΠΊΠΎΡΠΎΡΠ°Ρ ΠΌΠΎΠΆΠ΅Ρ ΠΈΡΠΏΠΎΠ»ΡΠ·ΠΎΠ²Π°ΡΡΡΡ Π΄Π»Ρ Π²Π΅Π½ΡΠΈΠ»ΡΡΠΎΡΠ°, ΠΊΠΎΡΠΎΡΡΠΉ Π½Π΅ Π½ΡΠΆΠ½ΠΎ Π·Π°ΠΏΡΡΠΊΠ°ΡΡ ΠΏΠΎΠ΄ Π½Π°Π³ΡΡΠ·ΠΊΠΎΠΉ, ΠΈΠ»ΠΈ Β«CΒ», ΠΊΠΎΡΠΎΡΡΠΉ ΠΏΠΎΠ΄Ρ ΠΎΠ΄ΠΈΡ Π΄Π»Ρ ΠΊΠΎΠ½Π²Π΅ΠΉΠ΅Ρ, ΠΊΠΎΡΠΎΡΡΠΉ, Π²Π΅ΡΠΎΡΡΠ½ΠΎ, Π·Π°ΠΏΡΡΡΠΈΠ»ΡΡ Π±Ρ ΠΏΠΎΠ΄ Π½Π°Π³ΡΡΠ·ΠΊΠΎΠΉ.
ΠΡΠΈ ΠΆΠ΅ ΠΊΠΎΠ΄Ρ ΠΌΠΎΠ³ΡΡ ΠΏΡΠΈΠΌΠ΅Π½ΡΡΡΡΡ ΠΈ ΠΊ Π΄ΡΡΠ³ΠΈΠΌ ΡΠΈΠΏΠ°ΠΌ Π΄Π²ΠΈΠ³Π°ΡΠ΅Π»Π΅ΠΉ, ΠΎΡΠΎΠ±Π΅Π½Π½ΠΎ ΠΊ ΡΠ΅Π΄ΡΠΊΡΠΎΡΠ½ΡΠΌ, ΡΠ°Π³ΠΎΠ²ΡΠΌ ΠΈ ΡΠ΅ΡΠ²ΠΎΠ΄Π²ΠΈΠ³Π°ΡΠ΅Π»ΡΠΌ.
ΠΠ°ΡΠΈΠ°Π½ΡΡ ΠΌΠΎΠ½ΡΠ°ΠΆΠ° Π²ΠΊΠ»ΡΡΠ°ΡΡ ΠΌΠΎΠ½ΡΠ°ΠΆ Π½Π° ΠΎΡΠ½ΠΎΠ²Π°Π½ΠΈΠΈ ΠΈΠ»ΠΈ Π½Π° Π»Π°ΠΏΠ°Ρ ΠΈ Π»ΠΈΡΠ΅Π²ΠΎΠΉ ΠΌΠΎΠ½ΡΠ°ΠΆ. Π ΠΏΠ΅ΡΠ²ΠΎΠΌ Π²Π°ΡΠΈΠ°Π½ΡΠ΅ Π΄Π²ΠΈΠ³Π°ΡΠ΅Π»ΠΈ ΠΏΠΎΠ΄Π΄Π΅ΡΠΆΠΈΠ²Π°ΡΡΡΡ Π½Π° ΡΠΎΠ±ΡΡΠ²Π΅Π½Π½ΡΡ ΠΎΡΠ½ΠΎΠ²Π°Π½ΠΈΡΡ — ΡΠ°ΡΡΠΎ Π½Π° ΠΎΠ΄Π½ΠΎΠΉ ΡΠ°ΠΌΠ΅ Ρ ΠΏΡΠΈΠ²ΠΎΠ΄Π½ΡΠΌ ΠΎΠ±ΠΎΡΡΠ΄ΠΎΠ²Π°Π½ΠΈΠ΅ΠΌ, ΡΠΎΠ³Π΄Π° ΠΊΠ°ΠΊ Π²ΠΎ Π²ΡΠΎΡΠΎΠΌ Π²Π°ΡΠΈΠ°Π½ΡΠ΅ Π΄Π²ΠΈΠ³Π°ΡΠ΅Π»ΠΈ ΠΏΡΠΈΠΊΡΠ΅ΠΏΠ»Π΅Π½Ρ ΠΊ ΠΊΠΎΡΠΏΡΡΠ°ΠΌ Π²Π΅Π΄ΠΎΠΌΠΎΠ³ΠΎ ΠΎΠ±ΠΎΡΡΠ΄ΠΎΠ²Π°Π½ΠΈΡ, ΡΡΠΎ ΠΈΠ½ΠΎΠ³Π΄Π° ΠΈΡΠΏΠΎΠ»ΡΠ·ΡΠ΅ΡΡΡ Ρ Π½Π°ΡΠΎΡΠ°ΠΌΠΈ. ΠΠ΅ΠΊΠΎΡΠΎΡΡΠ΅ Π΄Π²ΠΈΠ³Π°ΡΠ΅Π»ΠΈ ΡΠΏΠ΅ΡΠΈΠ°Π»ΡΠ½ΠΎ ΡΠ°Π·ΡΠ°Π±ΠΎΡΠ°Π½Ρ Π΄Π»Ρ ΡΠ°Π±ΠΎΡΡ Π² Π²Π΅ΡΡΠΈΠΊΠ°Π»ΡΠ½ΠΎΠΉ ΠΎΡΠΈΠ΅Π½ΡΠ°ΡΠΈΠΈ.ΠΡΠΈ ΡΠ°ΠΊ Π½Π°Π·ΡΠ²Π°Π΅ΠΌΡΠ΅ ΡΠΏΠ΅ΡΠΈΠ°Π»ΠΈΠ·ΠΈΡΠΎΠ²Π°Π½Π½ΡΠ΅ Π΄Π²ΠΈΠ³Π°ΡΠ΅Π»ΠΈ ΠΏΡΠ΅Π΄Π½Π°Π·Π½Π°ΡΠ΅Π½Ρ Π΄Π»Ρ ΠΏΡΠΈΠ²ΠΎΠ΄Π° Π½Π°ΡΠΎΡΠΎΠ² ΠΈ ΠΎΡΠΎΠ±Π΅Π½Π½ΠΎ ΠΏΠΎΠ΄Ρ ΠΎΠ΄ΡΡ Π΄Π»Ρ ΡΠ°Π±ΠΎΡΡ Π² ΠΎΠ³ΡΠ°Π½ΠΈΡΠ΅Π½Π½ΠΎΠΌ ΠΏΡΠΎΡΡΡΠ°Π½ΡΡΠ²Π΅, Π½Π°ΠΏΡΠΈΠΌΠ΅Ρ, Π½Π° Π±ΠΎΡΡΡ ΡΡΠ΄ΠΎΠ².
ΠΠΎΠΌΠΈΠ½Π°Π»ΡΠ½ΡΠ΅ ΡΠΊΠΎΡΠΎΡΡΠΈ ΠΈ ΠΌΠΎΡΠ½ΠΎΡΡΡ ΡΠ²Π»ΡΡΡΡΡ ΠΎΡΠ½ΠΎΠ²Π½ΡΠΌΠΈ Ρ Π°ΡΠ°ΠΊΡΠ΅ΡΠΈΡΡΠΈΠΊΠ°ΠΌΠΈ Π΄Π»Ρ ΠΎΠΏΡΠ΅Π΄Π΅Π»Π΅Π½ΠΈΡ Π΄Π²ΠΈΠ³Π°ΡΠ΅Π»Π΅ΠΉ ΡΠΎΡΠ°ΡΠΈΠΎΠ½Π½ΠΎΠ³ΠΎ ΡΠΈΠΏΠ°. ΠΠΎΠ»ΠΈΡΠ΅ΡΡΠ²ΠΎ ΡΠ°Π· ΡΠΎΠΆΠ΅ Π²Π°ΠΆΠ½ΠΎ, ΠΎΠ±ΡΡΠ½ΠΎ ΠΎΠ΄Π½Π° ΠΈΠ»ΠΈ ΡΡΠΈ.
ΠΠ°ΠΆΠ½ΡΠ΅ Π°ΡΡΠΈΠ±ΡΡΡ ΠΈ ΠΊΡΠΈΡΠ΅ΡΠΈΠΈ Π²ΡΠ±ΠΎΡΠ°
Π’ΠΈΠΏ Π΄Π²ΠΈΠ³Π°ΡΠ΅Π»Ρ
ΠΠ»Ρ Π±Π»ΠΎΠΊΠΎΠ² ΠΏΠ΅ΡΠ΅ΠΌΠ΅Π½Π½ΠΎΠ³ΠΎ ΡΠΎΠΊΠ° ΠΎΡΠ½ΠΎΠ²Π½ΠΎΠΉ Π²ΡΠ±ΠΎΡ — ΠΌΠ΅ΠΆΠ΄Ρ Π°ΡΠΈΠ½Ρ ΡΠΎΠ½Π½ΡΠΌΠΈ ΠΈ ΡΠΈΠ½Ρ ΡΠΎΠ½Π½ΡΠΌΠΈ ΠΌΠ°ΡΠΈΠ½Π°ΠΌΠΈ. ΠΠ²ΠΈΠ³Π°ΡΠ΅Π»ΠΈ Ρ ΡΠΎΡΠΌΠΎΠ·ΠΎΠΌ — ΡΡΠΎ Π°ΡΠΈΠ½Ρ ΡΠΎΠ½Π½ΡΠ΅ ΠΌΠ°ΡΠΈΠ½Ρ ΡΠΎ Π²ΡΡΡΠΎΠ΅Π½Π½ΡΠΌΠΈ ΡΠΎΡΠΌΠΎΠ·Π°ΠΌΠΈ, ΠΊΠΎΡΠΎΡΡΠ΅ ΠΌΠΎΠ³ΡΡ ΡΠ΄Π΅ΡΠΆΠΈΠ²Π°ΡΡ Π½Π°Π³ΡΡΠΆΠ΅Π½Π½ΡΠΉ Π΄Π²ΠΈΠ³Π°ΡΠ΅Π»Ρ Π½Π° ΠΌΠ΅ΡΡΠ΅.ΠΠ»Ρ ΠΌΠ°ΡΠΈΠ½ ΠΏΠΎΡΡΠΎΡΠ½Π½ΠΎΠ³ΠΎ ΡΠΎΠΊΠ° ΠΎΡΠ½ΠΎΠ²Π½ΠΎΠΉ Π²ΡΠ±ΠΎΡ — ΠΌΠ΅ΠΆΠ΄Ρ Π±Π΅ΡΡΠ΅ΡΠΎΡΠ½ΡΠΌΠΈ Π°Π³ΡΠ΅Π³Π°ΡΠ°ΠΌΠΈ ΠΈ ΡΠ΅ΠΌΠΈ, ΠΊΠΎΡΠΎΡΡΠ΅ ΠΈΡΠΏΠΎΠ»ΡΠ·ΡΡΡ ΡΠ΅ΡΠΊΠΈ. ΠΠΎΡΠΎΡ-ΡΠ΅Π΄ΡΠΊΡΠΎΡΡ ΠΏΡΠ΅Π΄Π»Π°Π³Π°ΡΡ ΠΌΠ½ΠΎΠ³ΠΈΠ΅ ΠΈΠ· ΡΡΠΈΡ Π²Π°ΡΠΈΠ°Π½ΡΠΎΠ².
ΠΡΠΈΠ΅Π½ΡΠ°ΡΠΈΡ Π½Π° ΠΎΡΡΠ°ΡΠ»Ρ / ΠΏΡΠ΅Π΄ΠΏΠΎΠ»Π°Π³Π°Π΅ΠΌΠΎΠ΅ ΠΏΡΠΈΠΌΠ΅Π½Π΅Π½ΠΈΠ΅
ΠΠ½ΠΎΠ³ΠΈΠ΅ Π΄Π²ΠΈΠ³Π°ΡΠ΅Π»ΠΈ ΠΏΡΠ΅Π΄Π½Π°Π·Π½Π°ΡΠ΅Π½Ρ Π΄Π»Ρ ΠΈΡΠΏΠΎΠ»ΡΠ·ΠΎΠ²Π°Π½ΠΈΡ Π² ΠΎΠ±ΡΡΠ½ΡΡ ΡΡΠ»ΠΎΠ²ΠΈΡΡ , Π² ΡΠΎ Π²ΡΠ΅ΠΌΡ ΠΊΠ°ΠΊ Π½Π΅ΠΊΠΎΡΠΎΡΡΠ΅ ΠΈΠ· Π½ΠΈΡ ΠΎΠ±Π»Π°Π΄Π°ΡΡ ΡΠΏΠ΅ΡΠΈΠ°Π»ΡΠ½ΡΠΌΠΈ ΡΡΠ½ΠΊΡΠΈΡΠΌΠΈ ΠΈΠ»ΠΈ Ρ Π°ΡΠ°ΠΊΡΠ΅ΡΠΈΡΡΠΈΠΊΠ°ΠΌΠΈ, ΠΏΠΎΠ·Π²ΠΎΠ»ΡΡΡΠΈΠΌΠΈ ΠΈΡΠΏΠΎΠ»ΡΠ·ΠΎΠ²Π°ΡΡ ΠΈΡ Π² ΠΎΠΏΡΠ΅Π΄Π΅Π»Π΅Π½Π½ΡΡ ΠΎΠ±Π»Π°ΡΡΡΡ ΠΏΡΠΈΠΌΠ΅Π½Π΅Π½ΠΈΡ. NEMA ΠΎΠΏΡΠ΅Π΄Π΅Π»ΡΠ΅Ρ ΠΌΠ½ΠΎΠΆΠ΅ΡΡΠ²ΠΎ Π΄Π²ΠΈΠ³Π°ΡΠ΅Π»Π΅ΠΉ ΡΠΏΠ΅ΡΠΈΠ°Π»ΡΠ½ΠΎΠ³ΠΎ Π½Π°Π·Π½Π°ΡΠ΅Π½ΠΈΡ, Π² ΡΠΎΠΌ ΡΠΈΡΠ»Π΅ Π΄Π»Ρ Π²Π΅Π½ΡΠΈΠ»ΡΡΠΎΡΠΎΠ² ΠΈ Π²ΠΎΠ·Π΄ΡΡ ΠΎΠ΄ΡΠ²ΠΎΠΊ, Π΄Π΅ΡΠ΅Π²ΠΎΠΎΠ±ΡΠ°Π±Π°ΡΡΠ²Π°ΡΡΠΈΡ ΡΡΠ°Π½ΠΊΠΎΠ² ΠΈ Ρ. Π. ΠΡΠΎΠΈΠ·Π²ΠΎΠ΄ΠΈΡΠ΅Π»ΠΈ ΡΠ°ΡΡΠΎ ΠΊΠ»Π°ΡΡΠΈΡΠΈΡΠΈΡΡΡΡ ΡΠ²ΠΎΠΈ Π΄Π²ΠΈΠ³Π°ΡΠ΅Π»ΠΈ ΡΠΏΠ΅ΡΠΈΠ°Π»ΡΠ½ΠΎΠ³ΠΎ Π½Π°Π·Π½Π°ΡΠ΅Π½ΠΈΡ ΠΏΠΎ ΡΡΠΈΠΌ Π»ΠΈΠ½ΠΈΡΠΌ, Ρ.Π΅.Π½Π°ΠΏΡΠΈΠΌΠ΅Ρ, ΡΠ°Π±ΠΎΡΠ° Π½Π° ΡΠ΅ΡΠΌΠ΅, ΡΠΈΡΡΠ΅ΠΌΠ° ΠΎΡΠΎΠΏΠ»Π΅Π½ΠΈΡ, Π²Π΅Π½ΡΠΈΠ»ΡΡΠΈΠΈ ΠΈ ΠΊΠΎΠ½Π΄ΠΈΡΠΈΠΎΠ½ΠΈΡΠΎΠ²Π°Π½ΠΈΡ Π²ΠΎΠ·Π΄ΡΡ Π°, ΠΏΡΠΎΠΌΡΠ²ΠΊΠ° ΠΈ Ρ. Π΄. Π‘ΠΏΠ΅ΡΠΈΠ°Π»ΠΈΡΡΡ ΠΏΠΎ Π΄Π²ΠΈΠ³Π°ΡΠ΅Π»ΡΠΌ ΠΌΠΎΠ³ΡΡ ΠΏΠΎΠ»Π°Π³Π°ΡΡΡΡ Π½Π° ΡΡΠΈ Π°ΡΡΠΈΠ±ΡΡΡ, ΡΡΠΎΠ±Ρ ΡΡΠ·ΠΈΡΡ Π²ΡΠ±ΠΎΡ, Π²ΡΡ ΠΎΠ΄Ρ Π·Π° ΠΏΡΠ΅Π΄Π΅Π»Ρ Π΄ΠΈΠ°ΠΏΠ°Π·ΠΎΠ½Π° Π΄Π²ΠΈΠ³Π°ΡΠ΅Π»Π΅ΠΉ ΠΎΠ±ΡΠ΅Π³ΠΎ Π½Π°Π·Π½Π°ΡΠ΅Π½ΠΈΡ. ΠΠ΄ΠΈΠ½ ΠΏΡΠΈΠΌΠ΅Ρ — 400 ΠΡ. Π΄Π²ΠΈΠ³Π°ΡΠ΅Π»ΠΈ, ΠΏΡΠ΅Π΄Π½Π°Π·Π½Π°ΡΠ΅Π½Π½ΡΠ΅ Π΄Π»Ρ Π°Π²ΠΈΠ°ΡΠΈΠΎΠ½Π½ΠΎΠΉ ΠΈ ΠΊΠΎΡΠΌΠΈΡΠ΅ΡΠΊΠΎΠΉ ΡΠ΅Ρ Π½ΠΈΠΊΠΈ. Π Π½Π΅ΠΊΠΎΡΠΎΡΡΡ ΠΏΡΠΈΠ»ΠΎΠΆΠ΅Π½ΠΈΡΡ , Π½Π°ΠΏΡΠΈΠΌΠ΅Ρ Π² Π²ΠΈΠ±ΡΠ°ΡΠΎΡΠ°Ρ Π΄Π»Ρ ΠΏΠΎΠ³ΡΡΠ·ΠΎΡΠ½ΠΎ-ΡΠ°Π·Π³ΡΡΠ·ΠΎΡΠ½ΡΡ ΡΠ°Π±ΠΎΡ, ΠΌΠΎΠ³ΡΡ ΠΈΡΠΏΠΎΠ»ΡΠ·ΠΎΠ²Π°ΡΡΡΡ ΡΠ»Π΅ΠΊΡΡΠΈΡΠ΅ΡΠΊΠΈΠ΅ ΠΈΠ»ΠΈ ΠΏΠ½Π΅Π²ΠΌΠ°ΡΠΈΡΠ΅ΡΠΊΠΈΠ΅ Π΄Π²ΠΈΠ³Π°ΡΠ΅Π»ΠΈ.
ΠΡΠ°ΡΠ΅Π½ΠΈΠ΅ Π²Π°Π»Π°
ΠΠ±ΡΡΠ½ΠΎ ΡΡΠ΅Ρ ΡΠ°Π·Π½ΡΠ΅ Π°ΡΠΈΠ½Ρ ΡΠΎΠ½Π½ΡΠ΅ Π΄Π²ΠΈΠ³Π°ΡΠ΅Π»ΠΈ ΡΠ΅Π²Π΅ΡΡΠΈΠ²Π½Ρ. ΠΠ½ΠΎΠ³ΠΈΠ΅ ΠΈΠ· Π½ΠΈΡ ΠΌΠΎΠ³ΡΡ ΡΠ°Π±ΠΎΡΠ°ΡΡ Π² ΠΏΡΠΎΡΠΈΠ²ΠΎΠΏΠΎΠ»ΠΎΠΆΠ½ΠΎΠΌ Π½Π°ΠΏΡΠ°Π²Π»Π΅Π½ΠΈΠΈ, ΠΏΠ΅ΡΠ΅ΠΊΠ»ΡΡΠ°Ρ ΠΏΡΠΎΠ²ΠΎΠ΄Π° Π² ΠΌΠ΅ΡΡΠ΅ ΠΈΡ ΠΏΠΎΠ΄ΠΊΠ»ΡΡΠ΅Π½ΠΈΡ ΠΊ Π΄Π²ΠΈΠ³Π°ΡΠ΅Π»Ρ.ΠΠ΅ΠΊΠΎΡΠΎΡΡΠ΅ Π΄Π²ΠΈΠ³Π°ΡΠ΅Π»ΠΈ, ΠΎΡΠΎΠ±Π΅Π½Π½ΠΎ Π½Π΅Π±ΠΎΠ»ΡΡΠΈΠ΅ ΡΠΈΠ½Ρ ΡΠΎΠ½Π½ΡΠ΅ Π΄Π²ΠΈΠ³Π°ΡΠ΅Π»ΠΈ, ΠΈΡΠΏΠΎΠ»ΡΠ·ΡΠ΅ΠΌΡΠ΅ Π΄Π»Ρ ΡΠΏΡΠ°Π²Π»Π΅Π½ΠΈΡ Π·Π°ΡΠ»ΠΎΠ½ΠΊΠΎΠΉ ΠΈ Ρ. Π., Π―Π²Π»ΡΡΡΡΡ ΠΎΠ΄Π½ΠΎΠ½Π°ΠΏΡΠ°Π²Π»Π΅Π½Π½ΡΠΌΠΈ, Π½ΠΎ ΡΠ°ΡΡΠΎ ΠΌΠΎΠ³ΡΡ Π±ΡΡΡ ΡΠΊΠ°Π·Π°Π½Ρ ΠΊΠ°ΠΊ Π²ΡΠ°ΡΠ΅Π½ΠΈΠ΅ ΠΏΠΎ ΡΠ°ΡΠΎΠ²ΠΎΠΉ ΠΈΠ»ΠΈ ΠΏΡΠΎΡΠΈΠ² ΡΠ°ΡΠΎΠ²ΠΎΠΉ ΡΡΡΠ΅Π»ΠΊΠΈ. ΠΡΠ°ΡΠ΅Π½ΠΈΠ΅ Π΄Π²ΠΈΠ³Π°ΡΠ΅Π»Ρ ΠΎΠ±ΡΡΠ½ΠΎ ΠΎΠΏΡΠ΅Π΄Π΅Π»ΡΠ΅ΡΡΡ, Π΅ΡΠ»ΠΈ ΡΠΌΠΎΡΡΠ΅ΡΡ ΡΠΎ ΡΡΠΎΡΠΎΠ½Ρ ΠΏΡΠΈΠ²ΠΎΠ΄Π° (DE), ΡΠΎ Π΅ΡΡΡ ΠΊΠΎΠ½ΡΠ° Π΄Π²ΠΈΠ³Π°ΡΠ΅Π»Ρ Π½Π° ΡΡΠΎΡΠΎΠ½Π΅ Π½Π°Π³ΡΡΠ·ΠΊΠΈ ΠΈΠ»ΠΈ ΡΠΎΠ΅Π΄ΠΈΠ½Π΅Π½Π½ΠΎΠΉ ΡΡΠΎΡΠΎΠ½Π΅. ΠΠ»Ρ Π½Π΅ΡΠ΅Π²Π΅ΡΡΠΈΠ²Π½ΡΡ Π΄Π²ΠΈΠ³Π°ΡΠ΅Π»Π΅ΠΉ ΠΏΠΎΡΡΠΎΡΠ½Π½ΠΎΠ³ΠΎ ΡΠΎΠΊΠ°, ΠΎΠ΄Π½ΠΎΡΠ°Π·Π½ΡΡ Π΄Π²ΠΈΠ³Π°ΡΠ΅Π»Π΅ΠΉ ΠΏΠ΅ΡΠ΅ΠΌΠ΅Π½Π½ΠΎΠ³ΠΎ ΡΠΎΠΊΠ°, ΡΠΈΠ½Ρ ΡΠΎΠ½Π½ΡΡ ΠΈ ΡΠ½ΠΈΠ²Π΅ΡΡΠ°Π»ΡΠ½ΡΡ Π΄Π²ΠΈΠ³Π°ΡΠ΅Π»Π΅ΠΉ ΠΎΠ±ΡΡΠ½ΠΎΠ΅ Π½Π°ΠΏΡΠ°Π²Π»Π΅Π½ΠΈΠ΅ — CW.
ΠΠ°ΠΏΡΡΠΆΠ΅Π½ΠΈΠ΅ Π΄Π²ΠΈΠ³Π°ΡΠ΅Π»Ρ
ΠΠ²ΠΈΠ³Π°ΡΠ΅Π»ΠΈ ΡΡΠ΅Π΄Π½Π΅Π³ΠΎ Π½Π°ΠΏΡΡΠΆΠ΅Π½ΠΈΡ ΠΎΠ±ΡΡΠ½ΠΎ ΡΠ°Π±ΠΎΡΠ°ΡΡ ΠΎΡ 2300 ΠΈΠ»ΠΈ 4000 Π²ΠΎΠ»ΡΡ.ΠΠ΅Π½ΡΡΠΈΠ΅ ΡΡΠ΅Ρ ΡΠ°Π·Π½ΡΠ΅ Π΄Π²ΠΈΠ³Π°ΡΠ΅Π»ΠΈ ΠΎΠ±ΡΠ΅Π³ΠΎ Π½Π°Π·Π½Π°ΡΠ΅Π½ΠΈΡ ΠΌΠΎΠ³ΡΡ ΡΠ°Π±ΠΎΡΠ°ΡΡ ΠΎΡ ΠΈΡΡΠΎΡΠ½ΠΈΠΊΠΎΠ² ΠΏΠΈΡΠ°Π½ΠΈΡ 208β230 ΠΈΠ»ΠΈ 460 Π²ΠΎΠ»ΡΡ. ΠΠ΄Π½ΠΎΡΠ°Π·Π½ΡΠ΅ Π΄Π²ΠΈΠ³Π°ΡΠ΅Π»ΠΈ ΠΎΠ±ΡΡΠ½ΠΎ ΡΠ°Π±ΠΎΡΠ°ΡΡ ΠΎΡ ΠΈΡΡΠΎΡΠ½ΠΈΠΊΠ° ΠΏΠΈΡΠ°Π½ΠΈΡ 115 ΠΈΠ»ΠΈ 230 Π.
ΠΠ»Π°ΡΡ NEMA Π Π°ΡΡΠ΅ΡΠ½ΡΠΉ ΡΠ΅ΠΉΡΠΈΠ½Π³
NEMA ΠΏΠΎΠ΄Π΄Π΅ΡΠΆΠΈΠ²Π°Π΅Ρ ΡΡΠ΄ Π½ΠΎΠΌΠΈΠ½Π°Π»ΡΠ½ΡΡ Ρ Π°ΡΠ°ΠΊΡΠ΅ΡΠΈΡΡΠΈΠΊ Π΄Π²ΠΈΠ³Π°ΡΠ΅Π»Ρ, Π² ΠΊΠΎΡΠΎΡΡΡ ΡΠΊΠ°Π·ΡΠ²Π°Π΅ΡΡΡ ΠΈΠ·ΠΎΠ»ΡΡΠΈΡ ΠΈ ΠΏΡΠ΅Π²ΡΡΠ΅Π½ΠΈΠ΅ ΡΠ΅ΠΌΠΏΠ΅ΡΠ°ΡΡΡΡ, ΠΊΠΎΡΠΎΡΠΎΠ΅ ΠΎΠ½ Π΄ΠΎΠ»ΠΆΠ΅Π½ Π²ΡΠ΄Π΅ΡΠΆΠΈΠ²Π°ΡΡ.
ΠΠΎΠ½ΡΡΡΡΠΊΡΠΈΡ Π²Π°Π»Π°
ΠΠ°Π»Ρ Π΄Π²ΠΈΠ³Π°ΡΠ΅Π»Π΅ΠΉ ΠΈ ΠΌΠΎΠ³ΡΡ Π±ΡΡΡ Π·Π°ΠΊΠ°Π·Π°Π½Ρ ΡΠΎ ΡΠΏΠΎΠ½ΠΎΡΠ½ΡΠΌΠΈ ΠΏΠ°Π·Π°ΠΌΠΈ ΠΈΠ»ΠΈ ΠΏΠ»ΠΎΡΠΊΠΈΠΌΠΈ ΡΠ»ΠΈΡΠ°ΠΌΠΈ Π΄Π»Ρ ΠΊΡΠ΅ΠΏΠ»Π΅Π½ΠΈΡ ΠΌΡΡΡ ΠΈ Ρ. Π. ΠΠ½ΠΈ ΡΠ°ΠΊΠΆΠ΅ ΠΌΠΎΠ³ΡΡ Π±ΡΡΡ ΠΊΠΎΡΠΎΡΠ΅ ΡΡΠ°Π½Π΄Π°ΡΡΠ½ΡΡ Π²Π°Π»ΠΎΠ². ΠΠ°Π»Ρ ΡΠ°ΠΊΠΆΠ΅ ΠΌΠΎΠ³ΡΡ ΠΈΠΌΠ΅ΡΡ ΡΠ΅Π·ΡΠ±Ρ Π΄Π»Ρ ΠΊΡΠ΅ΠΏΠ»Π΅Π½ΠΈΡ ΡΠ΅Π·ΡΠ±ΠΎΠ²ΡΡ ΡΠΎΠ΅Π΄ΠΈΠ½Π΅Π½ΠΈΠΉ.
Π Π΅ΡΡΡΡΡ
Π’ΠΎΡΠ³ΠΎΠ²ΡΠ΅ Π°ΡΡΠΎΡΠΈΠ°ΡΠΈΠΈ
ΠΠΎΡΠΌΡ ΠΈ ΡΡΠ°Π½Π΄Π°ΡΡΡ
Π‘ΡΠ°Π½Π΄Π°ΡΡΠΎΠ² Π½Π° Π΄Π²ΠΈΠ³Π°ΡΠ΅Π»ΠΈΡΠ»ΠΈΡΠΊΠΎΠΌ ΠΌΠ½ΠΎΠ³ΠΎ, ΡΡΠΎΠ±Ρ ΠΈΡ ΠΏΠ΅ΡΠ΅ΡΠΈΡΠ»ΠΈΡΡ, Π½ΠΎ ΡΠΈΡΠ°ΡΠ΅Π»Ρ ΠΌΠΎΠΆΠ΅Ρ ΠΎΠ±ΡΠ°ΡΠΈΡΡΡΡ ΠΊ ΠΎΡΠ³Π°Π½ΠΈΠ·Π°ΡΠΈΡΠΌ ΠΏΠΎ ΡΡΠ°Π½Π΄Π°ΡΡΠΈΠ·Π°ΡΠΈΠΈ, ΡΠ°ΠΊΠΈΠΌ ΠΊΠ°ΠΊ NEMA, IEC ΠΈ NFPA (Natβl Fluid Power Assn.), ΠΠ° ΠΈΡ Π²ΡΠ΅ΠΎΠ±ΡΠ΅ΠΌΠ»ΡΡΠΈΠΌΠΈ ΡΠ±ΠΎΡΠ½ΠΈΠΊΠ°ΠΌΠΈ ΡΡΠ°Π½Π΄Π°ΡΡΠΎΠ² Π½Π° Π΄Π²ΠΈΠ³Π°ΡΠ΅Π»ΠΈ. ΠΡΠ±ΠΎΡΠΊΠ° Π²ΠΊΠ»ΡΡΠ°Π΅Ρ:
- Π Π°Π·ΠΌΠ΅ΡΡ ΠΊΡΠ΅ΠΏΠ»Π΅Π½ΠΈΡ Π³ΠΈΠ΄ΡΠΎΠ½Π°ΡΠΎΡΠ° / Π΄Π²ΠΈΠ³Π°ΡΠ΅Π»Ρ ΠΈ ΠΏΡΠΈΠ²ΠΎΠ΄Π° SAE J744
- ΠΠ²ΠΈΠ³Π°ΡΠ΅Π»ΠΈ ΠΈ Π³Π΅Π½Π΅ΡΠ°ΡΠΎΡΡ NEMA MG1
- ΠΠ°Π»ΡΠ΅ ΡΠ»Π΅ΠΊΡΡΠΎΠ΄Π²ΠΈΠ³Π°ΡΠ΅Π»ΠΈ NEMA SEM S1
- IEC 60034 ΠΡΠ°ΡΠ°ΡΡΠΈΠ΅ΡΡ ΡΠ»Π΅ΠΊΡΡΠΈΡΠ΅ΡΠΊΠΈΠ΅ ΠΌΠ°ΡΠΈΠ½Ρ
- NEMA ICS 16 ΠΠ²ΠΈΠ³Π°ΡΠ΅Π»ΠΈ Ρ ΡΠΏΡΠ°Π²Π»Π΅Π½ΠΈΠ΅ΠΌ Π΄Π²ΠΈΠΆΠ΅Π½ΠΈΠ΅ΠΌ / ΠΏΠΎΠ»ΠΎΠΆΠ΅Π½ΠΈΠ΅ΠΌ, ΡΠΏΡΠ°Π²Π»Π΅Π½ΠΈΠ΅, ΠΎΠ±ΡΠ°ΡΠ½Π°Ρ ΡΠ²ΡΠ·Ρ
ΠΠ½Π΅ΡΠ½ΠΈΠ΅ ΡΡΡΠ»ΠΊΠΈ
Π‘Π²ΠΎΠ΄ΠΊΠ°
ΠΡΠΎ ΡΡΠΊΠΎΠ²ΠΎΠ΄ΡΡΠ²ΠΎ Π΄Π°Π΅Ρ ΠΎΠ±ΡΠ΅Π΅ ΠΏΡΠ΅Π΄ΡΡΠ°Π²Π»Π΅Π½ΠΈΠ΅ ΠΎΠ± ΡΠ»Π΅ΠΊΡΡΠΎΠ΄Π²ΠΈΠ³Π°ΡΠ΅Π»ΡΡ ΠΈ Π΄Π²ΠΈΠ³Π°ΡΠ΅Π»ΡΡ Ρ Π³ΠΈΠ΄ΡΠ°Π²Π»ΠΈΡΠ΅ΡΠΊΠΈΠΌ ΠΏΡΠΈΠ²ΠΎΠ΄ΠΎΠΌ, Π° ΡΠ°ΠΊΠΆΠ΅ ΠΎΠ± ΠΈΡ Π²ΡΠ±ΠΎΡΠ΅ ΠΈ ΠΈΡΠΏΠΎΠ»ΡΠ·ΠΎΠ²Π°Π½ΠΈΠΈ Π² ΡΠ°Π·Π»ΠΈΡΠ½ΡΡ ΡΡΠ΅Π΄Π°Ρ .ΠΠ»Ρ ΠΏΠΎΠ»ΡΡΠ΅Π½ΠΈΡ Π΄ΠΎΠΏΠΎΠ»Π½ΠΈΡΠ΅Π»ΡΠ½ΠΎΠΉ ΠΈΠ½ΡΠΎΡΠΌΠ°ΡΠΈΠΈ ΠΎ Π΄ΠΎΠΏΠΎΠ»Π½ΠΈΡΠ΅Π»ΡΠ½ΡΡ ΠΏΡΠΎΠ΄ΡΠΊΡΠ°Ρ ΠΎΠ±ΡΠ°ΡΠΈΡΠ΅ΡΡ ΠΊ Π΄ΡΡΠ³ΠΈΠΌ Π½Π°ΡΠΈΠΌ ΡΡΠΊΠΎΠ²ΠΎΠ΄ΡΡΠ²Π°ΠΌ ΠΈΠ»ΠΈ ΠΏΠΎΡΠ΅ΡΠΈΡΠ΅ ΠΏΠ»Π°ΡΡΠΎΡΠΌΡ Thomas Supplier Discovery Platform, ΡΡΠΎΠ±Ρ Π½Π°ΠΉΡΠΈ ΠΏΠΎΡΠ΅Π½ΡΠΈΠ°Π»ΡΠ½ΡΠ΅ ΠΈΡΡΠΎΡΠ½ΠΈΠΊΠΈ ΠΈΠ»ΠΈ ΠΏΡΠΎΡΠΌΠΎΡΡΠ΅ΡΡ ΠΏΠΎΠ΄ΡΠΎΠ±Π½ΡΡ ΠΈΠ½ΡΠΎΡΠΌΠ°ΡΠΈΡ ΠΎ ΠΊΠΎΠ½ΠΊΡΠ΅ΡΠ½ΡΡ ΠΏΡΠΎΠ΄ΡΠΊΡΠ°Ρ .
ΠΡΠΎΡΠΈΠ΅ ΠΈΠ·Π΄Π΅Π»ΠΈΡ ΠΈΠ· Π΄Π²ΠΈΠ³Π°ΡΠ΅Π»Π΅ΠΉ
ΠΠΎΠ»ΡΡΠ΅ ΠΎΡ Machinery, Tools & Supplies
Π Π°Π·Π½ΠΈΡΠ° ΠΌΠ΅ΠΆΠ΄Ρ ΡΠΈΠΏΠ°ΠΌΠΈ ΡΠ»Π΅ΠΊΡΡΠΎΠ΄Π²ΠΈΠ³Π°ΡΠ΅Π»Π΅ΠΉ: ΠΏΠ΅ΡΠ΅ΠΌΠ΅Π½Π½ΠΎΠ³ΠΎ ΠΈΠ»ΠΈ ΠΏΠΎΡΡΠΎΡΠ½Π½ΠΎΠ³ΠΎ ΡΠΎΠΊΠ°
ΠΠ»Π΅ΠΊΡΡΠΎΠ΄Π²ΠΈΠ³Π°ΡΠ΅Π»ΠΈ ΠΏΠ΅ΡΠ΅ΠΌΠ΅Π½Π½ΠΎΠ³ΠΎ ΠΈ ΠΏΠΎΡΡΠΎΡΠ½Π½ΠΎΠ³ΠΎ ΡΠΎΠΊΠ° Π²ΡΠΏΠΎΠ»Π½ΡΡΡ ΡΡΠ½ΠΊΡΠΈΡ ΠΏΡΠ΅ΠΎΠ±ΡΠ°Π·ΠΎΠ²Π°Π½ΠΈΡ ΡΠ½Π΅ΡΠ³ΠΈΠΈ ΠΈΠ· ΡΠ»Π΅ΠΊΡΡΠΈΡΠ΅ΡΠΊΠΎΠΉ Π² ββΠΌΠ΅Ρ Π°Π½ΠΈΡΠ΅ΡΠΊΡΡ. ΠΠ΄Π½Π°ΠΊΠΎ ΠΎΠ½ΠΈ ΠΏΠΈΡΠ°ΡΡΡΡ, ΡΠΏΡΠ°Π²Π»ΡΡΡΡΡ ΠΈ ΠΊΠΎΠ½ΡΡΡΡΠΈΡΡΡΡΡΡ Ρ ΠΈΡΠΏΠΎΠ»ΡΠ·ΠΎΠ²Π°Π½ΠΈΠ΅ΠΌ ΡΠ°Π·Π»ΠΈΡΠ½ΡΡ ΡΠ΅Ρ Π½ΠΎΠ»ΠΎΠ³ΠΈΠΉ ΠΈ ΠΈΠ½ΠΆΠ΅Π½Π΅ΡΠ½ΡΡ ΠΏΠΎΠ΄Ρ ΠΎΠ΄ΠΎΠ².Π ΡΡΠΎΠΉ ΡΡΠ°ΡΡΠ΅ ΠΌΡ ΠΏΠΎΠΌΠΎΠΆΠ΅ΠΌ Π²Π°ΠΌ Π²ΡΠ±ΡΠ°ΡΡ Π»ΡΡΡΠΈΠΉ ΡΠ΅ΡΠ²ΠΈΡ ΠΏΠΎ ΠΎΠ±ΡΠ»ΡΠΆΠΈΠ²Π°Π½ΠΈΡ ΡΠ»Π΅ΠΊΡΡΠΎΠ΄Π²ΠΈΠ³Π°ΡΠ΅Π»Π΅ΠΉ, ΠΊΠΎΡΠΎΡΡΠΉ ΠΌΠΎΠΆΠ΅Ρ ΠΏΡΠ΅Π΄Π»ΠΎΠΆΠΈΡΡ Π‘Π°Π½-ΠΠΈΠ΅Π³ΠΎ, Π±ΠΎΠ»Π΅Π΅ ΠΏΠΎΠ΄ΡΠΎΠ±Π½ΠΎ ΡΠ°ΡΡΠΌΠΎΡΡΠ΅Π² ΡΠ°Π·Π»ΠΈΡΠΈΡ ΠΌΠ΅ΠΆΠ΄Ρ ΡΡΠΈΠΌΠΈ Π΄Π²ΡΠΌΡ ΡΠΈΠΏΠ°ΠΌΠΈ ΡΠ»Π΅ΠΊΡΡΠΎΠ΄Π²ΠΈΠ³Π°ΡΠ΅Π»Π΅ΠΉ. Π ΠΊΠΎΠ½ΡΠ΅ ΠΊΠΎΠ½ΡΠΎΠ², Π΄Π»Ρ ΠΏΡΠΈΠ½ΡΡΠΈΡ ΠΎΡΠΎΠ·Π½Π°Π½Π½ΠΎΠ³ΠΎ ΡΠ΅ΡΠ΅Π½ΠΈΡ ΡΡΠ΅Π±ΡΠ΅ΡΡΡ Π±ΠΎΠ»ΡΡΠ΅, ΡΠ΅ΠΌ ΠΏΡΠ°ΠΊΡΠΈΡΠ΅ΡΠΊΠΈΠ΅ Π·Π½Π°Π½ΠΈΡ, ΠΈ ΡΠΎΠ»ΡΠΊΠΎ Π²Π΅Π΄ΡΡΠΈΠ΅ ΡΠΏΠ΅ΡΠΈΠ°Π»ΠΈΡΡΡ ΠΎΠ±Π»Π°Π΄Π°ΡΡ ΠΎΠΏΡΡΠΎΠΌ, ΠΊΠΎΡΠΎΡΡΠΉ ΠΏΠΎΠΌΠΎΠΆΠ΅Ρ Π²Π°ΠΌ Π²ΡΠ±ΡΠ°ΡΡ Π»ΡΡΡΠΈΠΉ ΡΠΏΠΎΡΠΎΠ± Π΄Π΅ΠΉΡΡΠ²ΠΈΠΉ: ΠΎΡΡΠ΅ΠΌΠΎΠ½ΡΠΈΡΠΎΠ²Π°ΡΡ ΠΈΠ»ΠΈ Π·Π°ΠΌΠ΅Π½ΠΈΡΡ.
Π§ΡΠΎ ΡΠ°ΠΊΠΎΠ΅ Π΄Π²ΠΈΠ³Π°ΡΠ΅Π»Ρ ΠΏΠ΅ΡΠ΅ΠΌΠ΅Π½Π½ΠΎΠ³ΠΎ ΡΠΎΠΊΠ° ΠΈ ΠΊΠ°ΠΊ ΠΎΠ½ ΡΠ°Π±ΠΎΡΠ°Π΅Ρ?
ΠΠ²ΠΈΠ³Π°ΡΠ΅Π»ΠΈ ΠΏΠ΅ΡΠ΅ΠΌΠ΅Π½Π½ΠΎΠ³ΠΎ ΡΠΎΠΊΠ°ΠΎΠ±ΡΡΠ½ΠΎ ΠΏΡΠΈΠ²ΠΎΠ΄ΡΡΡΡ Π² Π΄Π΅ΠΉΡΡΠ²ΠΈΠ΅ ΡΠ°ΡΡΠΎΡΠ½ΠΎ-ΡΠ΅Π³ΡΠ»ΠΈΡΡΠ΅ΠΌΡΠΌ ΠΏΡΠΈΠ²ΠΎΠ΄ΠΎΠΌ ΠΏΠ΅ΡΠ΅ΠΌΠ΅Π½Π½ΠΎΠ³ΠΎ ΡΠΎΠΊΠ°.ΠΠ½ΠΈ ΡΠ°Π±ΠΎΡΠ°ΡΡ, ΠΏΠΎΠ΄Π°Π²Π°Ρ Π½Π° ΡΠ»Π΅ΠΊΡΡΠΎΠ΄Π²ΠΈΠ³Π°ΡΠ΅Π»Ρ ΠΏΠ΅ΡΠ΅ΠΌΠ΅Π½Π½ΡΠΉ ΡΠΎΠΊ. ΠΡΠ½ΠΎΠ²Π½ΡΠΌΠΈ ΡΠ°ΡΡΡΠΌΠΈ Π΄Π²ΠΈΠ³Π°ΡΠ΅Π»Ρ ΠΏΠ΅ΡΠ΅ΠΌΠ΅Π½Π½ΠΎΠ³ΠΎ ΡΠΎΠΊΠ° ΡΠ²Π»ΡΡΡΡΡ ΡΡΠ°ΡΠΎΡ ΠΈ ΡΠΎΡΠΎΡ.
Π‘ΡΠ°ΡΠΎΡ Π΄Π²ΠΈΠ³Π°ΡΠ΅Π»Ρ ΠΏΠ΅ΡΠ΅ΠΌΠ΅Π½Π½ΠΎΠ³ΠΎ ΡΠΎΠΊΠ° ΠΏΠΎΠ΄Π°Π΅Ρ ΠΏΠ΅ΡΠ΅ΠΌΠ΅Π½Π½ΡΠΉ ΡΠΎΠΊ Π½Π° ΠΊΠ°ΡΡΡΠΊΠΈ Π²Π½ΡΡΡΠΈ Π½Π΅Π³ΠΎ ΠΈ ΠΏΡΠΈ ΡΡΠΎΠΌ Π³Π΅Π½Π΅ΡΠΈΡΡΠ΅Ρ Π²ΡΠ°ΡΠ°ΡΡΠ΅Π΅ΡΡ ΠΌΠ°Π³Π½ΠΈΡΠ½ΠΎΠ΅ ΠΏΠΎΠ»Π΅. Π ΠΎΡΠΎΡ, ΠΊΠ°ΠΊ ΡΠ»Π΅Π΄ΡΠ΅Ρ ΠΈΠ· Π½Π°Π·Π²Π°Π½ΠΈΡ, Π²ΡΠ°ΡΠ°Π΅ΡΡΡ Π²Π½ΡΡΡΠΈ ΠΊΠ°ΡΡΡΠ΅ΠΊ ΡΠ»Π΅ΠΊΡΡΠΎΠ΄Π²ΠΈΠ³Π°ΡΠ΅Π»Ρ ΠΈ ΡΠΎΠ΅Π΄ΠΈΠ½Π΅Π½ Ρ Π²ΡΡ ΠΎΠ΄Π½ΡΠΌ Π²Π°Π»ΠΎΠΌ, ΠΊΠΎΡΠΎΡΡΠΉ ΡΠΎΠ·Π΄Π°Π΅Ρ ΠΊΡΡΡΡΡΠΈΠΉ ΠΌΠΎΠΌΠ΅Π½Ρ Π²ΡΠ°ΡΠ°ΡΡΠΈΠΌΡΡ ΠΌΠ°Π³Π½ΠΈΡΠ½ΡΠΌ ΠΏΠΎΠ»Π΅ΠΌ. ΠΡΡΡ Π΄Π²Π° ΡΠΈΠΏΠ° Π΄Π²ΠΈΠ³Π°ΡΠ΅Π»Π΅ΠΉ ΠΏΠ΅ΡΠ΅ΠΌΠ΅Π½Π½ΠΎΠ³ΠΎ ΡΠΎΠΊΠ° — Π°ΡΠΈΠ½Ρ ΡΠΎΠ½Π½ΡΠΉ Π΄Π²ΠΈΠ³Π°ΡΠ΅Π»Ρ ΠΈ ΡΠΈΠ½Ρ ΡΠΎΠ½Π½ΡΠΉ Π΄Π²ΠΈΠ³Π°ΡΠ΅Π»Ρ.
ΠΡΠΈΠ½Ρ ΡΠΎΠ½Π½ΡΠ΅ Π΄Π²ΠΈΠ³Π°ΡΠ΅Π»ΠΈ ΠΈ ΡΠΈΠ½Ρ ΡΠΎΠ½Π½ΡΠ΅ Π΄Π²ΠΈΠ³Π°ΡΠ΅Π»ΠΈ
ΠΡΠΈΠ½Ρ ΡΠΎΠ½Π½ΡΠΉ Π΄Π²ΠΈΠ³Π°ΡΠ΅Π»Ρ ΠΈΡΠΏΠΎΠ»ΡΠ·ΡΠ΅Ρ ΠΌΠ°Π³Π½ΠΈΡΠ½ΠΎΠ΅ ΠΏΠΎΠ»Π΅ Π½Π° ΡΠΎΡΠΎΡΠ΅, ΡΠΎΠ·Π΄Π°Π²Π°Π΅ΠΌΠΎΠ΅ ΠΈΠ½Π΄ΡΡΠΈΡΠΎΠ²Π°Π½Π½ΡΠΌ ΡΠΎΠΊΠΎΠΌ. Π‘ΠΈΠ½Ρ ΡΠΎΠ½Π½ΡΠΉ Π΄Π²ΠΈΠ³Π°ΡΠ΅Π»Ρ, Ρ Π΄ΡΡΠ³ΠΎΠΉ ΡΡΠΎΡΠΎΠ½Ρ, Π²ΡΠ°ΡΠ°Π΅ΡΡΡ Π»ΠΈΠ±ΠΎ ΡΠΎΡΠ½ΠΎ Ρ ΡΠ°ΡΡΠΎΡΠΎΠΉ ΠΏΠΈΡΠ°ΡΡΠ΅ΠΉ ΡΠ΅ΡΠΈ, Π»ΠΈΠ±ΠΎ Ρ Π΄ΠΎΠ»Π΅ΠΉ, ΠΊΡΠ°ΡΠ½ΠΎΠΉ ΡΠ°ΡΡΠΎΡΠ΅ ΠΏΠΈΡΠ°ΡΡΠ΅ΠΉ ΡΠ΅ΡΠΈ. Π’Π°ΠΊΠΈΠΌ ΠΎΠ±ΡΠ°Π·ΠΎΠΌ, ΡΠΈΠ½Ρ ΡΠΎΠ½Π½ΡΠΉ Π΄Π²ΠΈΠ³Π°ΡΠ΅Π»Ρ ΠΌΠΎΠΆΠ΅Ρ ΡΠ°Π±ΠΎΡΠ°ΡΡ Ρ ΠΏΡΠ΅ΡΠΈΠ·ΠΈΠΎΠ½Π½ΠΎΠΉ ΡΠ°ΡΡΠΎΡΠΎΠΉ ΠΏΠΈΡΠ°ΡΡΠ΅ΠΉ ΡΠ΅ΡΠΈ, ΠΏΠΎΡΠΎΠΌΡ ΡΡΠΎ Π΅ΠΌΡ Π½Π΅ Π½ΡΠΆΠ½Π° ΠΈΠ½Π΄ΡΠΊΡΠΈΡ, ΠΈ ΠΏΠΎΡΠΎΠΌΡ ΡΡΠΎ Π΅Π³ΠΎ ΠΌΠ°Π³Π½ΠΈΡΠ½ΠΎΠ΅ ΠΏΠΎΠ»Π΅ ΡΠΎΠ·Π΄Π°Π΅ΡΡΡ ΡΠΎΠΊΠΎΠΌ, ΠΏΠΎΠ΄Π°Π²Π°Π΅ΠΌΡΠΌ ΡΠ΅ΡΠ΅Π· ΠΏΠΎΡΡΠΎΡΠ½Π½ΡΠΉ ΠΌΠ°Π³Π½ΠΈΡ ΠΈΠ»ΠΈ ΡΠ΅ΡΠ΅Π· ΠΊΠΎΠ½ΡΠ°ΠΊΡΠ½ΡΠ΅ ΠΊΠΎΠ»ΡΡΠ°.Π’Π°ΠΊΠΈΠΌ ΠΎΠ±ΡΠ°Π·ΠΎΠΌ, ΡΠΈΠ½Ρ ΡΠΎΠ½Π½ΡΠ΅ Π΄Π²ΠΈΠ³Π°ΡΠ΅Π»ΠΈ ΡΠ°Π±ΠΎΡΠ°ΡΡ Π±ΡΡΡΡΠ΅Π΅ Π°ΡΠΈΠ½Ρ ΡΠΎΠ½Π½ΡΡ Π΄Π²ΠΈΠ³Π°ΡΠ΅Π»Π΅ΠΉ, ΠΏΠΎΡΠΊΠΎΠ»ΡΠΊΡ ΠΈΡ ΡΠΊΠΎΡΠΎΡΡΡ ΡΠΌΠ΅Π½ΡΡΠ°Π΅ΡΡΡ ΠΈΠ·-Π·Π° ΡΠΊΠΎΠ»ΡΠΆΠ΅Π½ΠΈΡ Π°ΡΠΈΠ½Ρ ΡΠΎΠ½Π½ΠΎΠ³ΠΎ Π΄Π²ΠΈΠ³Π°ΡΠ΅Π»Ρ.
ΠΠΎΠ»Π΅Π΅ ΠΏΡΠΈΡΡΠ°Π»ΡΠ½ΡΠΉ Π²Π·Π³Π»ΡΠ΄ Π½Π° Π΄Π²ΠΈΠ³Π°ΡΠ΅Π»ΠΈ ΠΏΠΎΡΡΠΎΡΠ½Π½ΠΎΠ³ΠΎ ΡΠΎΠΊΠ° ΠΈ ΠΈΡ ΡΠ½ΠΈΠΊΠ°Π»ΡΠ½ΠΎΡΡΡ
ΠΠ°ΠΊ ΡΠ»Π΅Π΄ΡΠ΅Ρ ΠΈΠ· ΠΈΡ Π½Π°Π·Π²Π°Π½ΠΈΡ, Π΄Π²ΠΈΠ³Π°ΡΠ΅Π»ΠΈ ΠΏΠΎΡΡΠΎΡΠ½Π½ΠΎΠ³ΠΎ ΡΠΎΠΊΠ° ΠΏΠΈΡΠ°ΡΡΡΡ ΠΎΡ ΠΏΠΎΡΡΠΎΡΠ½Π½ΠΎΠ³ΠΎ ΡΠΎΠΊΠ° (DC) ΠΈ ΠΎΡΠ½ΠΎΡΡΡΡΡ ΠΊ ΡΠΈΠΏΠ°ΠΌ ΡΠ»Π΅ΠΊΡΡΠΎΠ΄Π²ΠΈΠ³Π°ΡΠ΅Π»Π΅ΠΉ, ΠΊΠΎΡΠΎΡΡΠ΅ ΡΡΠΈΡΠ°ΡΡΡΡ ΠΌΠ°ΡΠΈΠ½Π°ΠΌΠΈ Ρ ΠΌΠ΅Ρ Π°Π½ΠΈΡΠ΅ΡΠΊΠΎΠΉ ΠΊΠΎΠΌΠΌΡΡΠ°ΡΠΈΠ΅ΠΉ. ΠΠ²ΠΈΠ³Π°ΡΠ΅Π»ΠΈ ΠΏΠΎΡΡΠΎΡΠ½Π½ΠΎΠ³ΠΎ ΡΠΎΠΊΠ° ΡΠΎΠ΄Π΅ΡΠΆΠ°Ρ ΠΈΠ½Π΄ΡΡΠΈΡΠΎΠ²Π°Π½Π½ΡΡ Π½Π°ΠΏΡΡΠΆΠ΅Π½ΠΈΠ΅ΠΌ Π²ΡΠ°ΡΠ°ΡΡΡΡΡΡ ΠΎΠ±ΠΌΠΎΡΠΊΡ ΡΠΊΠΎΡΡ, Π° ΡΠ°ΠΊΠΆΠ΅ Π½Π΅Π²ΡΠ°ΡΠ°ΡΡΡΡΡΡ ΠΎΠ±ΠΌΠΎΡΠΊΡ ΠΊΠ°ΡΠΊΠ°ΡΠ° ΠΏΠΎΠ»Ρ ΡΠΊΠΎΡΡ, ΠΊΠΎΡΠΎΡΠ°Ρ ΠΏΡΠ΅Π΄ΡΡΠ°Π²Π»ΡΠ΅Ρ ΡΠΎΠ±ΠΎΠΉ ΠΏΠΎΡΡΠΎΡΠ½Π½ΡΠΉ ΠΌΠ°Π³Π½ΠΈΡ ΠΈΠ»ΠΈ ΡΡΠ°ΡΠΈΡΠ΅ΡΠΊΠΎΠ΅ ΠΏΠΎΠ»Π΅.
Π Π½ΠΈΡ ΠΈΡΠΏΠΎΠ»ΡΠ·ΡΡΡΡΡ ΡΠ°Π·Π»ΠΈΡΠ½ΡΠ΅ ΡΠΎΠ΅Π΄ΠΈΠ½Π΅Π½ΠΈΡ Π΄Π²ΠΈΠ³Π°ΡΠ΅Π»Ρ ΠΎΠ±ΠΌΠΎΡΠΊΠΈ Π²ΠΎΠ·Π±ΡΠΆΠ΄Π΅Π½ΠΈΡ ΠΈ ΡΠΊΠΎΡΡ Π΄Π»Ρ ΠΎΠ±Π΅ΡΠΏΠ΅ΡΠ΅Π½ΠΈΡ ΡΠ°Π·Π»ΠΈΡΠ½ΠΎΠ³ΠΎ ΡΠ΅Π³ΡΠ»ΠΈΡΠΎΠ²Π°Π½ΠΈΡ ΠΊΡΡΡΡΡΠ΅Π³ΠΎ ΠΌΠΎΠΌΠ΅Π½ΡΠ° ΠΈ ΡΠΊΠΎΡΠΎΡΡΠΈ. Π ΠΎΡΠ»ΠΈΡΠΈΠ΅ ΠΎΡ ΡΠ»Π΅ΠΊΡΡΠΎΠ΄Π²ΠΈΠ³Π°ΡΠ΅Π»Π΅ΠΉ ΠΏΠ΅ΡΠ΅ΠΌΠ΅Π½Π½ΠΎΠ³ΠΎ ΡΠΎΠΊΠ°, ΡΠΊΠΎΡΠΎΡΡΡ ΡΠ»Π΅ΠΊΡΡΠΎΠ΄Π²ΠΈΠ³Π°ΡΠ΅Π»Ρ ΠΏΠΎΡΡΠΎΡΠ½Π½ΠΎΠ³ΠΎ ΡΠΎΠΊΠ° ΠΌΠΎΠΆΠ½ΠΎ ΡΠ΅Π³ΡΠ»ΠΈΡΠΎΠ²Π°ΡΡ ΠΈΠ·Π½ΡΡΡΠΈ ΠΎΠ±ΠΌΠΎΡΠΊΠΈ, ΡΠ΅Π³ΡΠ»ΠΈΡΡΡ ΡΠΎΠΊ ΠΊΠΎΡΠΏΡΡΠ° Π²ΠΎΠ·Π±ΡΠΆΠ΄Π΅Π½ΠΈΡ ΠΈΠ»ΠΈ ΡΠ΅Π³ΡΠ»ΠΈΡΡΡ Π½Π°ΠΏΡΡΠΆΠ΅Π½ΠΈΠ΅, ΠΏΠΎΠ΄Π°Π²Π°Π΅ΠΌΠΎΠ΅ Π½Π° ΡΠΊΠΎΡΡ ΡΠ»Π΅ΠΊΡΡΠΎΠ΄Π²ΠΈΠ³Π°ΡΠ΅Π»Ρ ΠΏΠΎΡΡΠΎΡΠ½Π½ΠΎΠ³ΠΎ ΡΠΎΠΊΠ°.
ΠΠΎΠ»ΡΡΠΈΠ½ΡΡΠ²ΠΎ Π²ΡΠΏΡΡΠΊΠ°Π΅ΠΌΡΡ ΡΠ΅Π³ΠΎΠ΄Π½Ρ Π΄Π²ΠΈΠ³Π°ΡΠ΅Π»Π΅ΠΉ ΠΏΠΎΡΡΠΎΡΠ½Π½ΠΎΠ³ΠΎ ΡΠΎΠΊΠ° ΡΠ°ΡΡΡΠΈΡΠ°Π½Ρ Π½Π° ΡΠΏΡΠ°Π²Π»Π΅Π½ΠΈΠ΅ Ρ ΠΏΠΎΠΌΠΎΡΡΡ ΠΏΡΠΎΠΌΡΡΠ»Π΅Π½Π½ΡΡ ΡΠ»Π΅ΠΊΡΡΠΎΠ½Π½ΡΡ ΠΏΡΠΈΠ²ΠΎΠ΄ΠΎΠ² ΠΏΠΎΡΡΠΎΡΠ½Π½ΠΎΠ³ΠΎ ΡΠΎΠΊΠ°. Π ΠΎΡΠ½ΠΎΠ²Π½ΠΎΠΌ ΠΎΠ½ΠΈ ΠΈΡΠΏΠΎΠ»ΡΠ·ΡΡΡΡΡ Π² Π±ΠΎΠ»Π΅Π΅ ΠΊΡΡΠΏΠ½ΠΎΠΌ ΠΎΠ±ΠΎΡΡΠ΄ΠΎΠ²Π°Π½ΠΈΠΈ, ΡΠ°ΠΊΠΎΠΌ ΠΊΠ°ΠΊ ΠΏΡΠΎΠΊΠ°ΡΠ½ΡΠ΅ ΡΡΠ°Π½ΠΊΠΈ Π΄Π»Ρ ΡΡΠ°Π»Π΅ΠΏΠ»Π°Π²ΠΈΠ»ΡΠ½ΡΡ Π·Π°Π²ΠΎΠ΄ΠΎΠ² ΠΈΠ»ΠΈ Π±ΡΠΌΠ°Π³ΠΎΠ΄Π΅Π»Π°ΡΠ΅Π»ΡΠ½ΡΠ΅ ΠΌΠ°ΡΠΈΠ½Ρ.
ΠΠ°ΠΊΠΎΠΉ ΠΈΠ· ΡΡΠΈΡ Π΄Π²ΡΡ ΡΠΈΠΏΠΎΠ² ΡΠ»Π΅ΠΊΡΡΠΎΠ΄Π²ΠΈΠ³Π°ΡΠ΅Π»Π΅ΠΉ Π²Π°ΠΌ ΠΏΠΎΠ΄Ρ ΠΎΠ΄ΠΈΡ?
ΠΠ²ΠΈΠ³Π°ΡΠ΅Π»ΠΈ ΠΏΠ΅ΡΠ΅ΠΌΠ΅Π½Π½ΠΎΠ³ΠΎ ΡΠΎΠΊΠ°ΡΠ°ΡΡΠΎ ΠΈΡΠΏΠΎΠ»ΡΠ·ΡΡΡΡΡ Π² ΠΏΡΠΈΠ»ΠΎΠΆΠ΅Π½ΠΈΡΡ , Π³Π΄Π΅ ΡΡΠ΅Π±ΡΠ΅ΡΡΡ ΠΌΠΎΡΠ½ΠΎΡΡΡ Π² ΡΠ΅ΡΠ΅Π½ΠΈΠ΅ Π±ΠΎΠ»Π΅Π΅ Π΄Π»ΠΈΡΠ΅Π»ΡΠ½ΡΡ ΠΏΠ΅ΡΠΈΠΎΠ΄ΠΎΠ² Π²ΡΠ΅ΠΌΠ΅Π½ΠΈ. Π Π½Π°ΠΎΠ±ΠΎΡΠΎΡ, Π΄Π²ΠΈΠ³Π°ΡΠ΅Π»ΠΈ ΠΏΠΎΡΡΠΎΡΠ½Π½ΠΎΠ³ΠΎ ΡΠΎΠΊΠ° ΡΠ°ΡΡΠΎ Π²ΡΡΡΠ΅ΡΠ°ΡΡΡΡ Π² ΠΏΡΠΈΠ»ΠΎΠΆΠ΅Π½ΠΈΡΡ , Π³Π΄Π΅ ΡΠΊΠΎΡΠΎΡΡΡ Π΄Π²ΠΈΠ³Π°ΡΠ΅Π»Ρ Π΄ΠΎΠ»ΠΆΠ½Π° ΡΠ΅Π³ΡΠ»ΠΈΡΠΎΠ²Π°ΡΡΡΡ ΠΈΠ·Π²Π½Π΅. ΠΡΠ΅ Π΄Π²ΠΈΠ³Π°ΡΠ΅Π»ΠΈ ΠΏΠΎΡΡΠΎΡΠ½Π½ΠΎΠ³ΠΎ ΡΠΎΠΊΠ° ΡΠ²Π»ΡΡΡΡΡ ΠΎΠ΄Π½ΠΎΡΠ°Π·Π½ΡΠΌΠΈ Π΄Π²ΠΈΠ³Π°ΡΠ΅Π»ΡΠΌΠΈ, ΡΠΎΠ³Π΄Π° ΠΊΠ°ΠΊ Π΄Π²ΠΈΠ³Π°ΡΠ΅Π»ΠΈ ΠΏΠ΅ΡΠ΅ΠΌΠ΅Π½Π½ΠΎΠ³ΠΎ ΡΠΎΠΊΠ° ΠΌΠΎΠ³ΡΡ Π±ΡΡΡ ΠΎΠ΄Π½ΠΎΡΠ°Π·Π½ΡΠΌΠΈ ΠΈΠ»ΠΈ ΡΡΠ΅Ρ ΡΠ°Π·Π½ΡΠΌΠΈ. ΠΠΎΠΌΠ±ΠΈΠ½Π°ΡΠΈΡ Π΄Π²ΠΈΠ³Π°ΡΠ΅Π»Ρ ΠΏΠ΅ΡΠ΅ΠΌΠ΅Π½Π½ΠΎΠ³ΠΎ ΡΠΎΠΊΠ° ΠΈ ΠΏΡΠΈΠ²ΠΎΠ΄Π° — Π½Π°ΠΈΠ±ΠΎΠ»Π΅Π΅ ΡΠΊΠΎΠ½ΠΎΠΌΠΈΡΠ½ΡΠΉ Π²ΡΠ±ΠΎΡ Π΄Π»Ρ Π±ΠΎΠ»ΡΡΠΈΠ½ΡΡΠ²Π° ΠΏΡΠΈΠ»ΠΎΠΆΠ΅Π½ΠΈΠΉ.
β 1 ΠΠΎΠ΄ΡΡΠ΄ΡΠΈΠΊ ΠΏΠΎ ΡΠ΅ΠΌΠΎΠ½ΡΡ Π΄ΠΈΠ·Π΅Π»ΡΠ½ΠΎΠ³ΠΎ ΠΈ ΡΠ»Π΅ΠΊΡΡΠΎΠΌΠ΅Ρ Π°Π½ΠΈΡΠ΅ΡΠΊΠΎΠ³ΠΎ ΠΎΠ±ΠΎΡΡΠ΄ΠΎΠ²Π°Π½ΠΈΡ
Π£ Π²Π°Ρ Π΅ΡΡΡ Π΅ΡΠ΅ Π²ΠΎΠΏΡΠΎΡΡ ΠΎΠ± ΡΡΠΈΡ Π΄Π²ΡΡ ΡΠΈΠΏΠ°Ρ Π΄Π²ΠΈΠ³Π°ΡΠ΅Π»Π΅ΠΉ? ΠΠΎΠΌΠΏΠ°Π½ΠΈΡ PCE ΠΈΠΌΠ΅Π΅Ρ Π±ΠΎΠ»Π΅Π΅ ΡΠ΅ΠΌ 40-Π»Π΅ΡΠ½ΠΈΠΉ ΠΎΠΏΡΡ ΡΠ°Π±ΠΎΡΡ Ρ ΡΠ»Π΅ΠΊΡΡΠΎΠ΄Π²ΠΈΠ³Π°ΡΠ΅Π»ΡΠΌΠΈ ΠΈ Π³Π΅Π½Π΅ΡΠ°ΡΠΎΡΠ°ΠΌΠΈ, Π° ΡΠ°ΠΊΠΆΠ΅ Ρ Π΄ΠΈΠ·Π΅Π»ΡΠ½ΡΠΌΠΈ Π΄Π²ΠΈΠ³Π°ΡΠ΅Π»ΡΠΌΠΈ.ΠΡ ΠΏΡΠ΅Π΄Π»Π°Π³Π°Π΅ΠΌ Π³ΠΎΡΠΎΠ²ΡΠ΅ ΡΠ΅ΡΠ΅Π½ΠΈΡ Π΄Π»Ρ Π½Π°ΡΠΈΡ ΠΊΠ»ΠΈΠ΅Π½ΡΠΎΠ², ΡΡΠ΅Π΄ΠΈ ΠΊΠΎΡΠΎΡΡΡ ΠΠΠ‘ Π‘Π¨Π. ΠΠΎΠ·Π²ΠΎΠ»ΡΡΠ΅ Π½Π°ΠΌ ΠΏΠΎΠΊΠ°Π·Π°ΡΡ Π²Π°ΠΌ Π½Π°Ρ ΠΎΠΏΡΡ. ΠΠ²ΠΎΠ½ΠΈΡΠ΅ Π½Π°ΠΌ!
ΠΠ±ΡΠΈΠ΅ ΡΠΈΠΏΡ ΡΠ»Π΅ΠΊΡΡΠΎΠ΄Π²ΠΈΠ³Π°ΡΠ΅Π»Π΅ΠΉ
ΠΠ»Π΅ΠΊΡΡΠΎΠ΄Π²ΠΈΠ³Π°ΡΠ΅Π»Ρ — ΡΡΠΎ ΡΠ»Π΅ΠΊΡΡΠΈΡΠ΅ΡΠΊΠΎΠ΅ ΡΡΡΡΠΎΠΉΡΡΠ²ΠΎ, ΠΏΡΠ΅ΠΎΠ±ΡΠ°Π·ΡΡΡΠ΅Π΅ ΡΠ»Π΅ΠΊΡΡΠΈΡΠ΅ΡΠΊΡΡ ΡΠ½Π΅ΡΠ³ΠΈΡ Π² ΠΌΠ΅Ρ Π°Π½ΠΈΡΠ΅ΡΠΊΡΡ. ΠΠ΅Ρ Π°Π½ΠΈΡΠ΅ΡΠΊΠ°Ρ ΡΠΈΠ»Π° ΠΌΠΎΠΆΠ΅Ρ ΠΈΡΠΏΠΎΠ»ΡΠ·ΠΎΠ²Π°ΡΡΡΡ Π΄Π»Ρ Π²ΡΠ°ΡΠ΅Π½ΠΈΡ Π²Π΅Π½ΡΠΈΠ»ΡΡΠΎΡΠΎΠ², ΠΌΠΈΠΊΡΠ΅ΡΠ°, ΠΊΠΎΠ½Π²Π΅ΠΉΠ΅ΡΠΎΠ² ΠΈΠ»ΠΈ ΡΠΈΠ½ ΡΠ»Π΅ΠΊΡΡΠΎΠΌΠΎΠ±ΠΈΠ»Ρ. ΠΠ»Π΅ΠΊΡΡΠΎΠ΄Π²ΠΈΠ³Π°ΡΠ΅Π»Ρ — ΡΡΠΎ ΡΠ°Π±ΠΎΡΠ°Ρ Π»ΠΎΡΠ°Π΄ΠΊΠ° Π² ΠΎΡΡΠ°ΡΠ»ΠΈ ΠΏΠ΅ΡΠ΅Π΄Π°ΡΠΈ ΡΠ»Π΅ΠΊΡΡΠΎΡΠ½Π΅ΡΠ³ΠΈΠΈ.
ΠΡΠ΅ Π΄Π²ΠΈΠ³Π°ΡΠ΅Π»ΠΈ ΠΎΠ±Π»Π°Π΄Π°ΡΡ ΠΎΠΏΡΠ΅Π΄Π΅Π»Π΅Π½Π½ΡΠΌΠΈ Ρ Π°ΡΠ°ΠΊΡΠ΅ΡΠΈΡΡΠΈΠΊΠ°ΠΌΠΈ, ΠΏΠΎΡΡΠΎΠΌΡ ΠΌΡ ΠΌΠΎΠΆΠ΅ΠΌ ΠΊΠ»Π°ΡΡΠΈΡΠΈΡΠΈΡΠΎΠ²Π°ΡΡ ΠΈΡ Π½Π° ΠΎΡΠ½ΠΎΠ²Π΅ ΠΊΠΎΠ½ΠΊΡΠ΅ΡΠ½ΡΡ Ρ Π°ΡΠ°ΠΊΡΠ΅ΡΠΈΡΡΠΈΠΊ ΠΈΠ»ΠΈ ΡΡΠ°Π½Π΄Π°ΡΡΠΎΠ².
ΠΠ²ΠΈΠ³Π°ΡΠ΅Π»ΠΈ, ΠΈΡΠΏΠΎΠ»ΡΠ·ΡΠ΅ΠΌΡΠ΅ Π² Π‘Π΅Π²Π΅ΡΠ½ΠΎΠΉ ΠΠΌΠ΅ΡΠΈΠΊΠ΅, ΡΠ°ΡΠ΅ Π²ΡΠ΅Π³ΠΎ ΡΠΎΠΎΡΠ²Π΅ΡΡΡΠ²ΡΡΡ ΡΡΠ°Π½Π΄Π°ΡΡΠ°ΠΌ NEMA (ΠΠ°ΡΠΈΠΎΠ½Π°Π»ΡΠ½Π°Ρ Π°ΡΡΠΎΡΠΈΠ°ΡΠΈΡ ΠΏΡΠΎΠΈΠ·Π²ΠΎΠ΄ΠΈΡΠ΅Π»Π΅ΠΉ ΡΠ»Π΅ΠΊΡΡΠΎΠΎΠ±ΠΎΡΡΠ΄ΠΎΠ²Π°Π½ΠΈΡ). ΠΠ±ΡΡΠ½ΠΎ Π½Π°Π·ΡΠ²Π°Π΅ΠΌΡΠ΅ Π΄Π²ΠΈΠ³Π°ΡΠ΅Π»ΡΠΌΠΈ NEMA. ΠΡΠ°ΠΊΡΠΈΡΠ΅ΡΠΊΠΈ Π²ΠΎ Π²ΡΠ΅ΠΌ ΠΎΡΡΠ°Π»ΡΠ½ΠΎΠΌ ΠΌΠΈΡΠ΅ ΠΈΡΠΏΠΎΠ»ΡΠ·ΡΠ΅ΡΡΡ ΠΌΠ΅ΡΡΠΈΡΠ΅ΡΠΊΠ°Ρ Π²Π΅ΡΡΠΈΡ, Π½Π°Π·ΡΠ²Π°Π΅ΠΌΠ°Ρ SI ΠΈΠ»ΠΈ ΠΌΠ΅ΠΆΠ΄ΡΠ½Π°ΡΠΎΠ΄Π½ΡΠΌ ΡΡΠ°Π½Π΄Π°ΡΡΠΎΠΌ, ΠΈΠ·Π²Π΅ΡΡΠ½Π°Ρ ΠΊΠ°ΠΊ ΡΡΠ°Π½Π΄Π°ΡΡΡ IEC. Π§Π°ΡΡΠΎ Π½Π°Π·ΡΠ²Π°ΡΡ Π΄Π²ΠΈΠ³Π°ΡΠ΅Π»ΡΠΌΠΈ IEC. NEMA ΠΈΡΠΏΠΎΠ»ΡΠ·ΡΠ΅Ρ Π»ΠΎΡΠ°Π΄ΠΈΠ½ΡΠ΅ ΡΠΈΠ»Ρ ΠΈ Π΄ΡΠΉΠΌΡ, IEC ΠΈΡΠΏΠΎΠ»ΡΠ·ΡΠ΅Ρ ΠΌΠΈΠ»Π»ΠΈΠΌΠ΅ΡΡΡ ΠΈ ΠΊΠΈΠ»ΠΎΠ²Π°ΡΡΡ
. ΠΡ ΠΊΠ»Π°ΡΡΠΈΡΠΈΡΠΈΡΡΠ΅ΠΌ 2 ΡΠΈΠΏΠ° ΡΠ»Π΅ΠΊΡΡΠΎΠ΄Π²ΠΈΠ³Π°ΡΠ΅Π»Π΅ΠΉ Π² Π·Π°Π²ΠΈΡΠΈΠΌΠΎΡΡΠΈ ΠΎΡ ΠΈΡΡΠΎΡΠ½ΠΈΠΊΠ° ΠΏΠΈΡΠ°Π½ΠΈΡ:- ΠΠ²ΠΈΠ³Π°ΡΠ΅Π»ΠΈ ΠΏΠΎΡΡΠΎΡΠ½Π½ΠΎΠ³ΠΎ ΠΈΠ»ΠΈ ΠΏΠΎΡΡΠΎΡΠ½Π½ΠΎΠ³ΠΎ ΡΠΎΠΊΠ°
- ΠΠ²ΠΈΠ³Π°ΡΠ΅Π»ΠΈ ΠΏΠ΅ΡΠ΅ΠΌΠ΅Π½Π½ΠΎΠ³ΠΎ ΠΈΠ»ΠΈ ΠΏΠ΅ΡΠ΅ΠΌΠ΅Π½Π½ΠΎΠ³ΠΎ ΡΠΎΠΊΠ°
ΠΠ²ΠΈΠ³Π°ΡΠ΅Π»ΠΈ ΠΏΠΎΡΡΠΎΡΠ½Π½ΠΎΠ³ΠΎ ΡΠΎΠΊΠ° ΠΠ²ΠΈΠ³Π°ΡΠ΅Π»ΠΈ ΠΏΠΎΡΡΠΎΡΠ½Π½ΠΎΠ³ΠΎ ΡΠΎΠΊΠ°
Π±ΡΠ»ΠΈ ΠΏΠ΅ΡΠ²ΠΎΠΉ ΡΠ°Π·Π½ΠΎΠ²ΠΈΠ΄Π½ΠΎΡΡΡΡ Π΄Π²ΠΈΠ³Π°ΡΠ΅Π»Π΅ΠΉ, ΡΠΈΡΠΎΠΊΠΎ ΠΈΡΠΏΠΎΠ»ΡΠ·ΡΠ΅ΠΌΡΡ , ΠΏΠΎΡΠΊΠΎΠ»ΡΠΊΡ ΠΎΠ½ΠΈ ΠΌΠΎΠ³Π»ΠΈ ΠΏΠΈΡΠ°ΡΡΡΡ ΠΎΡ ΡΡΡΠ΅ΡΡΠ²ΡΡΡΠΈΡ ΡΠΈΡΡΠ΅ΠΌ ΡΠ°ΡΠΏΡΠ΅Π΄Π΅Π»Π΅Π½ΠΈΡ ΡΠ»Π΅ΠΊΡΡΠΎΡΠ½Π΅ΡΠ³ΠΈΠΈ ΠΏΠΎΡΡΠΎΡΠ½Π½ΠΎΠ³ΠΎ ΡΠΎΠΊΠ°.ΠΠ½ΠΈ ΠΎΠ±ΡΡΠ½ΠΎ ΡΠ½Π°Π±ΠΆΠ΅Π½Ρ ΠΏΠΎΡΡΠΎΡΠ½Π½ΡΠΌΠΈ ΠΌΠ°Π³Π½ΠΈΡΠ°ΠΌΠΈ Π² ΠΈΡ ΡΡΠ°ΡΠΈΡΠ΅ΡΠΊΠΎΠΉ ΡΠ°ΡΡΠΈ, Π½ΠΎ Π΅ΡΡΡ ΠΈ Π΄ΡΡΠ³ΠΈΠ΅, ΠΊΠΎΡΠΎΡΡΠ΅ ΡΠΎΠ΄Π΅ΡΠΆΠ°Ρ ΡΠ»Π΅ΠΊΡΡΠΎΠΌΠ°Π³Π½ΠΈΡΡ Π²ΠΌΠ΅ΡΡΠΎ ΠΏΠΎΡΡΠΎΡΠ½Π½ΡΡ ΠΌΠ°Π³Π½ΠΈΡΠΎΠ² Π² ΡΠ²ΠΎΠ΅ΠΌ ΡΡΠ°ΡΠΎΡΠ΅. Π‘ΠΊΠΎΡΠΎΡΡΡ Π΄Π²ΠΈΠ³Π°ΡΠ΅Π»Ρ ΠΏΠΎΡΡΠΎΡΠ½Π½ΠΎΠ³ΠΎ ΡΠΎΠΊΠ° ΠΌΠΎΠΆΠ½ΠΎ ΡΠ΅Π³ΡΠ»ΠΈΡΠΎΠ²Π°ΡΡ Π² ΡΠΈΡΠΎΠΊΠΎΠΌ Π΄ΠΈΠ°ΠΏΠ°Π·ΠΎΠ½Π΅, ΠΈΡΠΏΠΎΠ»ΡΠ·ΡΡ Π»ΠΈΠ±ΠΎ ΠΏΠ΅ΡΠ΅ΠΌΠ΅Π½Π½ΠΎΠ΅ Π½Π°ΠΏΡΡΠΆΠ΅Π½ΠΈΠ΅ ΠΏΠΈΡΠ°Π½ΠΈΡ, Π»ΠΈΠ±ΠΎ ΠΈΠ·ΠΌΠ΅Π½ΡΡ ΡΠΈΠ»Ρ ΡΠΎΠΊΠ° Π² Π΅Π³ΠΎ ΠΎΠ±ΠΌΠΎΡΠΊΠ°Ρ Π²ΠΎΠ·Π±ΡΠΆΠ΄Π΅Π½ΠΈΡ. ΠΠ΅Π±ΠΎΠ»ΡΡΠΈΠ΅ Π΄Π²ΠΈΠ³Π°ΡΠ΅Π»ΠΈ ΠΏΠΎΡΡΠΎΡΠ½Π½ΠΎΠ³ΠΎ ΡΠΎΠΊΠ° ΠΈΡΠΏΠΎΠ»ΡΠ·ΡΡΡΡΡ Π² ΠΈΠ³ΡΡΡΠΊΠ°Ρ , ΠΈΠ½ΡΡΡΡΠΌΠ΅Π½ΡΠ°Ρ ΠΈ ββΠΏΡΠΈΡΠΏΠΎΡΠΎΠ±Π»Π΅Π½ΠΈΡΡ .
ΠΠ²ΠΈΠ³Π°ΡΠ΅Π»ΠΈ ΠΏΠ΅ΡΠ΅ΠΌΠ΅Π½Π½ΠΎΠ³ΠΎ ΡΠΎΠΊΠ°ΠΠ΅ΡΠ΅ΠΌΠ΅Π½Π½ΡΠΉ ΡΠΎΠΊ, ΡΡΠΎ ΠΎΠ·Π½Π°ΡΠ°Π΅Ρ, ΡΡΠΎ ΡΠΎΠΊ Π²ΠΌΠ΅ΡΡΠΎ ΡΠΎΠ³ΠΎ, ΡΡΠΎΠ±Ρ ΡΠ΅ΡΡ Π² ΠΎΠ΄Π½ΠΎΠΌ Π½Π°ΠΏΡΠ°Π²Π»Π΅Π½ΠΈΠΈ, Π΄Π²ΠΈΠΆΠ΅ΡΡΡ Π²ΠΏΠ΅ΡΠ΅Π΄ ΠΈ Π½Π°Π·Π°Π΄, ΠΌΠ΅Π½ΡΠ΅Ρ Π½Π°ΠΏΡΠ°Π²Π»Π΅Π½ΠΈΠ΅ Ρ ΠΎΠΏΡΠ΅Π΄Π΅Π»Π΅Π½Π½ΠΎΠΉ ΡΠ°ΡΡΠΎΡΠΎΠΉ Π² Π³Π΅ΡΡΠ°Ρ .Π Π±ΠΎΠ»ΡΡΠΈΠ½ΡΡΠ²Π΅ ΡΡΡΠ°Π½ Π² ΠΊΠ°ΡΠ΅ΡΡΠ²Π΅ ΡΠ°ΡΡΠΎΡΡ ΠΏΠ΅ΡΠ΅ΠΌΠ΅Π½Π½ΠΎΠ³ΠΎ ΡΠΎΠΊΠ° ΠΈΡΠΏΠΎΠ»ΡΠ·ΡΠ΅ΡΡΡ 50 ΠΡ (50 ΠΡ ΠΈΠ»ΠΈ 50 ΡΠΈΠΊΠ»ΠΎΠ² Π² ΡΠ΅ΠΊΡΠ½Π΄Ρ). ΠΠΈΡΡ Π½Π΅ΠΌΠ½ΠΎΠ³ΠΈΠ΅ ΠΈΡΠΏΠΎΠ»ΡΠ·ΡΡΡ 60 ΠΡ. Π‘ΡΠ°Π½Π΄Π°ΡΡ Π² Π‘Π¨Π — ΡΠ»Π΅ΠΊΡΡΠΈΡΠ΅ΡΡΠ²ΠΎ ΠΏΠ΅ΡΠ΅ΠΌΠ΅Π½Π½ΠΎΠ³ΠΎ ΡΠΎΠΊΠ° ΡΠ°ΡΡΠΎΡΠΎΠΉ 60 ΠΡ.
ΠΡ ΠΊΠ»Π°ΡΡΠΈΡΠΈΡΠΈΡΡΠ΅ΠΌ 2 ΠΎΡΠ½ΠΎΠ²Π½ΡΡ ΡΠΈΠΏΠ° Π΄Π²ΠΈΠ³Π°ΡΠ΅Π»Π΅ΠΉ ΠΏΠ΅ΡΠ΅ΠΌΠ΅Π½Π½ΠΎΠ³ΠΎ ΡΠΎΠΊΠ° Π² ΡΠΎΠΎΡΠ²Π΅ΡΡΡΠ²ΠΈΠΈ Ρ ΡΠ°Π·ΠΎΠΉ: ΠΠ΄Π½ΠΎΡΠ°Π·Π½ΡΠΉ Π΄Π²ΠΈΠ³Π°ΡΠ΅Π»Ρ
ΠΠ΄Π½ΠΎΡΠ°Π·Π½ΡΠΉ Π΄Π²ΠΈΠ³Π°ΡΠ΅Π»Ρ ΡΠ°Π±ΠΎΡΠ°Π΅Ρ ΠΎΡ ΠΎΠ΄Π½ΠΎΡΠ°Π·Π½ΠΎΠ³ΠΎ ΠΈΡΡΠΎΡΠ½ΠΈΠΊΠ° ΠΏΠΈΡΠ°Π½ΠΈΡ. ΠΠ½ΠΈ ΡΠΎΠ΄Π΅ΡΠΆΠ°Ρ Π΄Π²Π° ΡΠΈΠΏΠ° ΠΏΡΠΎΠ²ΠΎΠ΄ΠΊΠΈ: Π³ΠΎΡΡΡΡΡ ΠΈ Π½Π΅ΠΉΡΡΠ°Π»ΡΠ½ΡΡ. ΠΡ ΠΌΠΎΡΠ½ΠΎΡΡΡ ΠΌΠΎΠΆΠ΅Ρ Π΄ΠΎΡΡΠΈΠ³Π°ΡΡ 3 ΠΊΠΡ.ΠΡ ΠΌΠΎΠΆΠ½ΠΎ ΠΈΡΠΏΠΎΠ»ΡΠ·ΠΎΠ²Π°ΡΡ Π² ΠΎΡΠ½ΠΎΠ²Π½ΠΎΠΌ Π² Π΄ΠΎΠΌΠ°Ρ , ΠΎΡΠΈΡΠ°Ρ , ΠΌΠ°Π³Π°Π·ΠΈΠ½Π°Ρ ΠΈ Π½Π΅Π±ΠΎΠ»ΡΡΠΈΡ Π½Π΅ΠΏΡΠΎΠΌΡΡΠ»Π΅Π½Π½ΡΡ ΠΊΠΎΠΌΠΏΠ°Π½ΠΈΡΡ , Π° ΡΠ°ΠΊΠΆΠ΅ Π²ΠΎ ΠΌΠ½ΠΎΠ³ΠΈΡ Π΄ΡΡΠ³ΠΈΡ ΡΡΡΡΠΎΠΉΡΡΠ²Π°Ρ , ΡΠ°ΠΊΠΈΡ ΠΊΠ°ΠΊ Π΄ΡΠ΅Π»ΠΈ, ΠΊΠΎΠ½Π΄ΠΈΡΠΈΠΎΠ½Π΅ΡΡ ΠΈ ΡΠΈΡΡΠ΅ΠΌΡ ΠΎΡΠΊΡΡΠ²Π°Π½ΠΈΡ ΠΈ Π·Π°ΠΊΡΡΠ²Π°Π½ΠΈΡ Π³Π°ΡΠ°ΠΆΠ½ΡΡ Π²ΠΎΡΠΎΡ.
Π’ΡΠ΅Ρ ΡΠ°Π·Π½ΡΠΉ Π΄Π²ΠΈΠ³Π°ΡΠ΅Π»ΡΠ’ΡΠ΅Ρ ΡΠ°Π·Π½ΡΠΉ Π΄Π²ΠΈΠ³Π°ΡΠ΅Π»Ρ ΡΠ°Π±ΠΎΡΠ°Π΅Ρ ΠΎΡ ΡΡΠ΅Ρ ΡΠ°Π·Π½ΠΎΠ³ΠΎ ΠΈΡΡΠΎΡΠ½ΠΈΠΊΠ° ΠΏΠΈΡΠ°Π½ΠΈΡ. ΠΠ½ΠΈ ΡΠΏΡΠ°Π²Π»ΡΡΡΡΡ ΡΡΠ΅ΠΌΡ ΠΏΠ΅ΡΠ΅ΠΌΠ΅Π½Π½ΡΠΌΠΈ ΡΠΎΠΊΠ°ΠΌΠΈ ΠΎΠ΄ΠΈΠ½Π°ΠΊΠΎΠ²ΠΎΠΉ ΡΠ°ΡΡΠΎΡΡ, ΠΊΠΎΡΠΎΡΡΠ΅ Π΄ΠΎΡΡΠΈΠ³Π°ΡΡ ΠΌΠ°ΠΊΡΠΈΠΌΡΠΌΠ° Π² ΠΏΠ΅ΡΠ΅ΠΌΠ΅Π½Π½ΡΠ΅ ΠΌΠΎΠΌΠ΅Π½ΡΡ Π²ΡΠ΅ΠΌΠ΅Π½ΠΈ. ΠΠ½ΠΈ ΠΌΠΎΠ³ΡΡ ΠΈΠΌΠ΅ΡΡ ΠΌΠΎΡΠ½ΠΎΡΡΡ Π΄ΠΎ 300 ΠΊΠΡ ΠΈ ΡΠΊΠΎΡΠΎΡΡΡ ΠΎΡ 900 Π΄ΠΎ 3600 ΠΎΠ± / ΠΌΠΈΠ½.ΠΠ·-Π·Π° Π²ΡΡΠΎΠΊΠΎΠΉ ΡΡΡΠ΅ΠΊΡΠΈΠ²Π½ΠΎΡΡΠΈ ΠΈ Π½ΠΈΠ·ΠΊΠΎΠΉ ΡΡΠΎΠΈΠΌΠΎΡΡΠΈ ΡΡΠ΅Ρ ΡΠ°Π·Π½ΡΠΉ Π΄Π²ΠΈΠ³Π°ΡΠ΅Π»Ρ ΠΏΠ΅ΡΠ΅ΠΌΠ΅Π½Π½ΠΎΠ³ΠΎ ΡΠΎΠΊΠ° ΡΠ²Π»ΡΠ΅ΡΡΡ Π½Π°ΠΈΠ±ΠΎΠ»Π΅Π΅ ΡΠ°ΡΡΠΎ ΠΈΡΠΏΠΎΠ»ΡΠ·ΡΠ΅ΠΌΡΠΌ Π΄Π²ΠΈΠ³Π°ΡΠ΅Π»Π΅ΠΌ Π² ΠΏΡΠΎΠΌΡΡΠ»Π΅Π½Π½ΡΡ ΠΏΡΠΈΠ»ΠΎΠΆΠ΅Π½ΠΈΡΡ .
ΠΡ ΡΠ°ΠΊΠΆΠ΅ ΠΌΠΎΠΆΠ΅ΠΌ ΠΊΠ»Π°ΡΡΠΈΡΠΈΡΠΈΡΠΎΠ²Π°ΡΡ Π΄Π²ΠΈΠ³Π°ΡΠ΅Π»ΠΈ ΠΏΠΎ ΡΠΈΠΏΡ ΠΊΠΎΡΠΏΡΡΠ°. ΠΡ ΡΠ°ΡΡΠΊΠ°ΠΆΠ΅ΠΌ ΠΎΠ± ΡΡΠΎΠΌ Π² Π΄ΡΡΠ³ΠΎΠΉ ΡΡΠ°ΡΡΠ΅.
Π§ΠΈΡΠ°ΠΉΡΠ΅ Π·Π΄Π΅ΡΡ: Π‘Π°ΠΌΡΠ΅ ΡΠ°ΡΠΏΡΠΎΡΡΡΠ°Π½Π΅Π½Π½ΡΠ΅ ΡΠΈΠΏΡ ΠΊΠΎΡΠΏΡΡΠΎΠ² ΡΠ»Π΅ΠΊΡΡΠΎΠ΄Π²ΠΈΠ³Π°ΡΠ΅Π»Π΅ΠΉ
ΠΠ»Π΅ΠΊΡΡΠΈΡΠ΅ΡΡΠ²ΠΎ — ΡΡΠΎ Π½Π°ΠΈΠ±ΠΎΠ»Π΅Π΅ ΡΠΊΠΎΠ½ΠΎΠΌΠΈΡΠ½ΡΠΉ ΡΠΏΠΎΡΠΎΠ± ΠΏΠ΅ΡΠ΅Π΄Π°ΡΠΈ ΡΠ½Π΅ΡΠ³ΠΈΠΈ Π½Π° ΠΎΡΠ΅Π½Ρ Π±ΠΎΠ»ΡΡΠΈΠ΅ ΡΠ°ΡΡΡΠΎΡΠ½ΠΈΡ ΠΏΠΎ ΠΏΡΠΎΠ²ΠΎΠ΄Π°ΠΌ.ΠΠ΄Π½Π°ΠΊΠΎ ΠΏΡΠ°ΠΊΡΠΈΡΠ΅ΡΠΊΠΈ Π½Π΅Π²ΠΎΠ·ΠΌΠΎΠΆΠ½ΠΎ ΠΈΡΠΏΠΎΠ»ΡΠ·ΠΎΠ²Π°ΡΡ ΡΠ»Π΅ΠΊΡΡΠΈΡΠ΅ΡΡΠ²ΠΎ Π½Π°ΠΏΡΡΠΌΡΡ, Π½Π°ΠΏΡΠΈΠΌΠ΅Ρ, Π΄Π»Ρ ΠΏΠ΅ΡΠ΅ΠΊΠ°ΡΠΈΠ²Π°Π½ΠΈΡ Π²ΠΎΠ΄Ρ, Π΄Π»Ρ ΡΠ΅Π³ΠΎ ΡΡΠ΅Π±ΡΠ΅ΡΡΡ ΠΌΠ΅Ρ Π°Π½ΠΈΡΠ΅ΡΠΊΠ°Ρ ΡΠ½Π΅ΡΠ³ΠΈΡ. Π ΡΡΠΎΠΌ ΡΠ»ΡΡΠ°Π΅ Π½Π°ΠΌ Π½Π΅ΠΎΠ±Ρ ΠΎΠ΄ΠΈΠΌΠΎ ΠΏΡΠΎΠΈΠ·Π²ΠΎΠ΄ΠΈΡΡ ΠΌΠ΅Ρ Π°Π½ΠΈΡΠ΅ΡΠΊΡΡ ΡΠ½Π΅ΡΠ³ΠΈΡ ΠΈΠ· ΡΠ»Π΅ΠΊΡΡΠΈΡΠ΅ΡΡΠ²Π° ΡΠ°ΠΊ ΠΈΠ»ΠΈ ΠΈΠ½Π°ΡΠ΅, ΡΡΠΎΠ±Ρ Π²ΡΠΏΠΎΠ»Π½ΡΡΡ ΠΌΠ΅Ρ Π°Π½ΠΈΡΠ΅ΡΠΊΡΡ ΡΠ°Π±ΠΎΡΡ. ΠΠΎ ΡΡΠΎΠΉ ΠΏΡΠΈΡΠΈΠ½Π΅ ΠΌΡ ΠΈΡΠΏΠΎΠ»ΡΠ·ΡΠ΅ΠΌ ΡΠ»Π΅ΠΊΡΡΠΎΠ΄Π²ΠΈΠ³Π°ΡΠ΅Π»ΠΈ, ΠΊΠΎΡΠΎΡΡΠ΅ ΠΏΠΎΡΡΠ΅Π±Π»ΡΡΡ ΡΠ»Π΅ΠΊΡΡΠΈΡΠ΅ΡΡΠ²ΠΎ Π½Π° Π²Ρ ΠΎΠ΄Π΅ ΠΈ Π²ΡΠ΄Π°ΡΡ ΠΌΠ΅Ρ Π°Π½ΠΈΡΠ΅ΡΠΊΡΡ ΡΠ½Π΅ΡΠ³ΠΈΡ Π½Π° Π²ΡΡ ΠΎΠ΄Π΅.
ΠΠ·Π½Π°ΠΊΠΎΠΌΡΡΠ΅ΡΡ Ρ Π½Π΅ΠΊΠΎΡΠΎΡΡΠΌΠΈ ΠΏΡΠΈΠ»ΠΎΠΆΠ΅Π½ΠΈΡΠΌΠΈ, Π² ΠΊΠΎΡΠΎΡΡΡ ΡΡΠ΅Π±ΡΡΡΡΡ ΡΠ»Π΅ΠΊΡΡΠΎΠ΄Π²ΠΈΠ³Π°ΡΠ΅Π»ΠΈ:
ΠΡΠΎΠΌΡΡΠ»Π΅Π½Π½ΠΎΠ΅ ΠΈΡΠΏΠΎΠ»ΡΠ·ΠΎΠ²Π°Π½ΠΈΠ΅ — Π‘ΡΡΠ΅ΡΡΠ²ΡΡΡ ΡΠ°Π·Π»ΠΈΡΠ½ΡΠ΅ ΠΏΡΠΎΡΠ΅ΡΡΡ Π²ΠΎ Π²ΡΠ΅Ρ ΠΎΡΡΠ°ΡΠ»ΡΡ ΠΏΡΠΎΠΌΡΡΠ»Π΅Π½Π½ΠΎΡΡΠΈ, Π² ΠΊΠΎΡΠΎΡΡΡ Π½Π°ΠΌ ΡΡΠ΅Π±ΡΠ΅ΡΡΡ ΠΌΠ΅Ρ Π°Π½ΠΈΡΠ΅ΡΠΊΠ°Ρ ΡΠ½Π΅ΡΠ³ΠΈΡ ΠΎΡ ΡΠ»Π΅ΠΊΡΡΠΎΠ΄Π²ΠΈΠ³Π°ΡΠ΅Π»Π΅ΠΉ, Π½Π°ΠΏΡΠΈΠΌΠ΅Ρ ΡΠΌΠ΅ΡΠΈΠ²Π°Π½ΠΈΠ΅, ΠΏΠΎΠ΄ΡΠ΅ΠΌ, Π²ΡΡΡΠ³ΠΈΠ²Π°Π½ΠΈΠ΅ ΠΈ Ρ. Π.
ΠΠΎΠΌΠ°ΡΠ½Π΅Π΅ Ρ ΠΎΠ·ΡΠΉΡΡΠ²ΠΎ — ΠΠ»Ρ ΠΊΠΎΠΌΡΠΎΡΡΠ½ΠΎΠΉ ΠΆΠΈΠ·Π½ΠΈ ΠΌΡ ΠΏΠΎΠ»Π°Π³Π°Π΅ΠΌΡΡ Π½Π° ΠΌΠ½ΠΎΠ³ΠΈΠ΅ ΡΠ»Π΅ΠΊΡΡΠΈΡΠ΅ΡΠΊΠΈΠ΅ ΠΏΡΠΈΠ±ΠΎΡΡ, Π΄Π»Ρ ΠΊΠΎΡΠΎΡΡΡ ΡΡΠ΅Π±ΡΡΡΡΡ ΡΠ»Π΅ΠΊΡΡΠΎΠ΄Π²ΠΈΠ³Π°ΡΠ΅Π»ΠΈ, ΡΠ°ΠΊΠΈΠ΅ ΠΊΠ°ΠΊ ΠΊΠΎΠ½Π΄ΠΈΡΠΈΠΎΠ½Π΅Ρ, ΡΠ»Π΅ΠΊΡΡΠΈΡΠ΅ΡΠΊΠΈΠ΅ Π²Π΅Π½ΡΠΈΠ»ΡΡΠΎΡΡ, ΠΏΡΠ»Π΅ΡΠΎΡ, Π²ΠΎΠ΄ΡΠ½ΠΎΠΉ Π½Π°ΡΠΎΡ, ΠΊΠΎΡΠ΅ΠΌΠΎΠ»ΠΊΠ°, ΠΌΠΈΠΊΡΠ΅Ρ ΠΈ Ρ. Π.
ΠΠ΅ ΡΡΠ΅ΡΠ½ΡΠΉΡΠ΅ΡΡ: Π‘Π²ΡΠΆΠΈΡΠ΅ΡΡ Ρ Π½Π°ΠΌΠΈ , Π΅ΡΠ»ΠΈ Ρ Π²Π°Ρ Π΅ΡΡΡ ΠΊΠ°ΠΊΠΈΠ΅-Π»ΠΈΠ±ΠΎ Π²ΠΎΠΏΡΠΎΡΡ, Π²Π°ΠΌ Π½ΡΠΆΠ½Π° Π΄ΠΎΠΏΠΎΠ»Π½ΠΈΡΠ΅Π»ΡΠ½Π°Ρ ΠΈΠ½ΡΠΎΡΠΌΠ°ΡΠΈΡ ΠΈΠ»ΠΈ Π΅ΡΠ»ΠΈ Π²Ρ Π·Π°ΠΈΠ½ΡΠ΅ΡΠ΅ΡΠΎΠ²Π°Π½Ρ Π² ΠΏΠΎΠΊΡΠΏΠΊΠ΅ ΡΠ»Π΅ΠΊΡΡΠΎΠ΄Π²ΠΈΠ³Π°ΡΠ΅Π»Π΅ΠΉ.
HVH Industrial Solutions ΡΠ²Π»ΡΠ΅ΡΡΡ Π°Π²ΡΠΎΡΠΈΠ·ΠΎΠ²Π°Π½Π½ΡΠΌ Π΄ΠΈΡΡΡΠΈΠ±ΡΡΡΠΎΡΠΎΠΌ ΡΠ»Π΅Π΄ΡΡΡΠΈΡ ΠΏΡΠΎΠΈΠ·Π²ΠΎΠ΄ΠΈΡΠ΅Π»Π΅ΠΉ ΡΠ»Π΅ΠΊΡΡΠΎΠ΄Π²ΠΈΠ³Π°ΡΠ΅Π»Π΅ΠΉ: Elektrim Motors, Aurora Motors, Worldwide Electric , Rossi . ΠΡ ΡΠ΅ΡΠ½ΠΎ ΡΠΎΡΡΡΠ΄Π½ΠΈΡΠ°Π΅ΠΌ Ρ ΠΈΡ ΠΈΠ½ΠΆΠ΅Π½Π΅ΡΠ½ΡΠΌΠΈ ΠΊΠΎΠΌΠ°Π½Π΄Π°ΠΌΠΈ, ΡΡΠΎΠ±Ρ ΠΎΠ±Π΅ΡΠΏΠ΅ΡΠΈΡΡ ΠΏΡΠ΅Π²ΠΎΡΡ ΠΎΠ΄Π½ΠΎΠ΅ ΠΎΠ±ΡΠ»ΡΠΆΠΈΠ²Π°Π½ΠΈΠ΅ ΠΈ ΠΏΠΎΠ΄Π΄Π΅ΡΠΆΠΊΡ ΠΊΠ»ΠΈΠ΅Π½ΡΠΎΠ².
Π‘Π΄Π΅Π»Π°ΡΡ Π·Π°ΠΏΡΠΎΡ
ΠΠ»Π°Π΄ΠΈΠΌΠΈΡ ΠΡΡΡΡΠ½ΡΠ½
ΠΠ»Π°Π΄ΠΈΠΌΠΈΡ ΠΡΡΡΡΠ½ΡΠ½ — ΠΎΡΠ½ΠΎΠ²Π°ΡΠ΅Π»Ρ HVH Industrial.ΠΠ½ ΠΈΠΌΠ΅Π΅Ρ ΡΡΠ΅ΠΏΠ΅Π½Ρ ΠΌΠ°Π³ΠΈΡΡΡΠ° ΠΌΠ°ΡΠΈΠ½ΠΎΡΡΡΠΎΠ΅Π½ΠΈΡ ΠΈ Π±ΠΎΠ»Π΅Π΅ 10 Π»Π΅Ρ ΠΎΠΏΡΡΠ° ΡΠ°Π±ΠΎΡΡ Π² ΠΎΠ±Π»Π°ΡΡΠΈ ΠΏΠ΅ΡΠ΅Π΄Π°ΡΠΈ ΠΌΠ΅Ρ Π°Π½ΠΈΡΠ΅ΡΠΊΠΎΠΉ ΡΠ½Π΅ΡΠ³ΠΈΠΈ.
ΠΠ΅ ΡΡΠ΅ΡΠ½ΡΠΉΡΠ΅ΡΡ ΡΠ²ΡΠ·ΡΠ²Π°ΡΡΡΡ Ρ ΠΠ»Π°Π΄ΠΎΠΌ Π½Π° Linkedin: https://www.linkedin.com/in/vladharut
ΡΠΈΠΏΠΎΠ² Π΄Π²ΠΈΠ³Π°ΡΠ΅Π»Π΅ΠΉ | ΠΡΠ΅Π°ΡΠΈΠ²Π½ΡΠ΅ ΡΠ΅Ρ Π½ΠΎΠ»ΠΎΠ³ΠΈΠΈ
ΠΡ ΡΠΎΠ±ΠΈΡΠ°Π΅ΡΠ΅ΡΡ ΠΈΡΠΏΠΎΠ»ΡΠ·ΠΎΠ²Π°ΡΡ ΠΏΠ»Π°ΡΡ Arduino Π΄Π»Ρ ΡΠΏΡΠ°Π²Π»Π΅Π½ΠΈΡ Π΄Π²ΠΈΠ³Π°ΡΠ΅Π»ΡΠΌΠΈ.ΠΠ½ΠΎΠ³ΠΈΠ΅ ΡΠ»Π΅ΠΊΡΡΠΎΠ½Π½ΡΠ΅ ΡΡΡΡΠΎΠΉΡΡΠ²Π° Ρ Π΄Π²ΠΈΠΆΡΡΠΈΠΌΠΈΡΡ ΡΠ°ΡΡΡΠΌΠΈ ΡΠΎΠ΄Π΅ΡΠΆΠ°Ρ Π΄Π²ΠΈΠ³Π°ΡΠ΅Π»ΠΈ, Π½Π°ΠΏΡΠΈΠΌΠ΅Ρ ΠΏΡΠΈΠ½ΡΠ΅ΡΡ, Π°Π²ΡΠΎΠΌΠΎΠ±ΠΈΠ»ΡΠ½ΡΠ΅ ΠΈΠ³ΡΡΡΠΊΠΈ, ΡΠ»Π΅ΠΊΡΡΠΎΠ½Π½ΡΠ΅ Π·ΡΠ±Π½ΡΠ΅ ΡΠ΅ΡΠΊΠΈ. Π₯ΠΎΡΡ ΡΡΡΠ΅ΡΡΠ²ΡΠ΅Ρ ΠΌΠ½ΠΎΠΆΠ΅ΡΡΠ²ΠΎ ΡΠ°Π·Π»ΠΈΡΠ½ΡΡ ΡΠΈΠΏΠΎΠ² Π΄Π²ΠΈΠ³Π°ΡΠ΅Π»Π΅ΠΉ, Π² ΠΎΡΠ½ΠΎΠ²Π½ΠΎΠΌ Π²Ρ Π½Π°ΠΉΠ΄Π΅ΡΠ΅ ΡΠ»Π΅Π΄ΡΡΡΠΈΠ΅ ΡΡΠΈ ΡΠΈΠΏΠ° Π΄Π²ΠΈΠ³Π°ΡΠ΅Π»Π΅ΠΉ:
ΠΠ²ΠΈΠ³Π°ΡΠ΅Π»ΠΈ ΠΏΠΎΡΡΠΎΡΠ½Π½ΠΎΠ³ΠΎ ΡΠΎΠΊΠ°
ΠΡΠ»ΠΈ Π²Π°ΠΌ Π½ΡΠΆΠ½ΠΎ ΡΡΠΎ-ΡΠΎ Π²ΡΠ°ΡΠ°ΡΡ, Π½ΠΎ Π½Π΅ Π½ΡΠΆΠ½Π° ΡΠΎΡΠ½ΠΎΡΡΡ, Π²Ρ Π·Π°Ρ ΠΎΡΠΈΡΠ΅ ΠΈΡΠΏΠΎΠ»ΡΠ·ΠΎΠ²Π°ΡΡ ΡΡΠΎΡ Π΄Π²ΠΈΠ³Π°ΡΠ΅Π»Ρ. ΠΠ΅Π½ΡΠΈΠ»ΡΡΠΎΡ Π²Π½ΡΡΡΠΈ ΠΊΠΎΠΌΠΏΡΡΡΠ΅ΡΠ°, ΠΊΠΎΡΠΎΡΡΠΉ Π²Ρ ΠΈΡΠΏΠΎΠ»ΡΠ·ΡΠ΅ΡΠ΅, ΡΠ²Π»ΡΠ΅ΡΡΡ ΠΏΡΠΈΠΌΠ΅ΡΠΎΠΌ Π΄Π²ΠΈΠ³Π°ΡΠ΅Π»Ρ ΠΏΠΎΡΡΠΎΡΠ½Π½ΠΎΠ³ΠΎ ΡΠΎΠΊΠ°. ΠΡ ΡΠ°ΠΊΠΆΠ΅ ΠΌΠΎΠΆΠ΅ΡΠ΅ Π½Π°ΠΉΡΠΈ Π΄Π΅ΠΉΡΡΠ²ΠΈΡΠ΅Π»ΡΠ½ΠΎ ΠΌΠ°Π»Π΅Π½ΡΠΊΠΈΠΉ Π² ΡΠ²ΠΎΠ΅ΠΌ ΠΌΠΎΠ±ΠΈΠ»ΡΠ½ΠΎΠΌ ΡΠ΅Π»Π΅ΡΠΎΠ½Π΅. ΠΡΠΎ Π΄Π²ΠΈΠ³Π°ΡΠ΅Π»Ρ ΠΏΠΎΡΡΠΎΡΠ½Π½ΠΎΠ³ΠΎ ΡΠΎΠΊΠ°, ΠΊΠΎΡΠΎΡΡΠΉ Π²ΡΠ·ΡΠ²Π°Π΅Ρ Π²ΠΈΠ±ΡΠ°ΡΠΈΡ, Π²ΡΠ°ΡΠ°Ρ ΡΡΡΠΆΠ΅Π»Π΅Π½Π½ΡΠΉ Π΄ΠΈΡΠΊ.
ΠΠ²ΠΈΠ³Π°ΡΠ΅Π»Ρ ΠΏΠΎΡΡΠΎΡΠ½Π½ΠΎΠ³ΠΎ ΡΠΎΠΊΠ° ΠΌΠΎΠΆΠ΅Ρ ΡΠ²ΠΎΠ±ΠΎΠ΄Π½ΠΎ Π²ΡΠ°ΡΠ°ΡΡΡΡ Π² ΠΎΠ±ΠΎΠΈΡ Π½Π°ΠΏΡΠ°Π²Π»Π΅Π½ΠΈΡΡ , Π½ΠΎ Π΅Π³ΠΎ ΠΎΡΠ΅Π½Ρ ΡΡΡΠ΄Π½ΠΎ ΠΊΠΎΠ½ΡΡΠΎΠ»ΠΈΡΠΎΠ²Π°ΡΡ, ΠΊΠΎΠ³Π΄Π° Π΄Π΅Π»ΠΎ ΠΊΠ°ΡΠ°Π΅ΡΡΡ ΡΠΊΠΎΡΠΎΡΡΠΈ ΠΈΠ»ΠΈ ΠΏΠΎΠ»ΠΎΠΆΠ΅Π½ΠΈΡ. ΠΠ΅Π»Π΅Π³ΠΊΠΎ Π·Π°ΡΡΠ°Π²ΠΈΡΡ Π΅Π³ΠΎ ΠΎΡΡΠ°Π½Π°Π²Π»ΠΈΠ²Π°ΡΡΡΡ Ρ Π²ΡΡΠΎΠΊΠΎΠΉ ΡΠΎΡΠ½ΠΎΡΡΡΡ. ΠΠΎΡΡΠ°Π²Π»ΡΠ΅ΡΡΡ Ρ Π΄Π²ΡΠΌΡ ΠΊΠ°Π±Π΅Π»ΡΠΌΠΈ: ΡΠΈΠ»ΠΎΠ²ΡΠΌ ΠΈ Π·Π°Π·Π΅ΠΌΠ»ΡΡΡΠΈΠΌ. ΠΠ±ΡΠ°ΡΠΈΡΠ΅ Π²Π½ΠΈΠΌΠ°Π½ΠΈΠ΅, ΡΡΠΎ ΠΎΠ±ΡΡΠ½ΠΎ ΡΠΈΡΡΠΎΠ²ΠΎΠΉ Π²ΡΠ²ΠΎΠ΄ Arduino Π½Π΅ ΠΌΠΎΠΆΠ΅Ρ ΠΏΠΈΡΠ°ΡΡ Π΄Π²ΠΈΠ³Π°ΡΠ΅Π»Ρ ΠΏΠΎΡΡΠΎΡΠ½Π½ΠΎΠ³ΠΎ ΡΠΎΠΊΠ°.
ΠΠ°Π±Π΅Π»ΠΈ ΠΌΠΎΠ³ΡΡ Π±ΡΡΡ ΠΏΠΎΠ΄ΠΊΠ»ΡΡΠ΅Π½Ρ ΠΊ Π·Π΅ΠΌΠ»Π΅ ΠΈΠ»ΠΈ ΠΊ ΡΠΈΡΡΠΎΠ²ΠΎΠΌΡ Π²ΡΠ²ΠΎΠ΄Ρ. Π£ΡΡΠ°Π½ΠΎΠ²ΠΈΡΠ΅ ΡΠΈΡΡΠΎΠ²ΠΎΠΉ ΡΡΠΈΡΡ Π½Π° HIGH , ΡΡΠΎΠ±Ρ ΠΎΠ½ Π΄Π²ΠΈΠ³Π°Π»ΡΡ, ΠΈ Π½Π° LOW , ΡΡΠΎΠ±Ρ ΠΎΠ½ ΠΎΡΡΠ°Π½ΠΎΠ²ΠΈΠ»ΡΡ. Π§ΡΠΎΠ±Ρ ΠΏΠΎΠ²Π΅ΡΠ½ΡΡΡ ΠΏΡΠΎΡΠΈΠ² ΡΠ°ΡΠΎΠ²ΠΎΠΉ ΡΡΡΠ΅Π»ΠΊΠΈ, ΠΏΠΎΠΌΠ΅Π½ΡΠΉΡΠ΅ ΠΌΠ΅ΡΡΠ°ΠΌΠΈ ΡΠΎΠ΅Π΄ΠΈΠ½Π΅Π½ΠΈΡ ΠΏΡΠΎΠ²ΠΎΠ΄ΠΎΠ².
ΠΠΎΠΆΠ½ΠΎ ΡΠΏΡΠ°Π²Π»ΡΡΡ ΡΠΊΠΎΡΠΎΡΡΡΡ Π΄Π²ΠΈΠ³Π°ΡΠ΅Π»Ρ ΠΏΠΎΡΡΠΎΡΠ½Π½ΠΎΠ³ΠΎ ΡΠΎΠΊΠ° Ρ ΠΏΠΎΠΌΠΎΡΡΡ ΡΡΠ°Π½Π·ΠΈΡΡΠΎΡΠ° ΠΈ ΠΌΠ΅ΡΠΎΠ΄Π°, Π½Π°Π·ΡΠ²Π°Π΅ΠΌΠΎΠ³ΠΎ ΡΠΈΡΠΎΡΠ½ΠΎ-ΠΈΠΌΠΏΡΠ»ΡΡΠ½ΠΎΠΉ ΠΌΠΎΠ΄ΡΠ»ΡΡΠΈΠ΅ΠΉ (Π¨ΠΠ). Π‘ Π½Π΅ΡΠΊΠΎΠ»ΡΠΊΠΈΠΌΠΈ ΡΡΠ°Π½Π·ΠΈΡΡΠΎΡΠ°ΠΌΠΈ, ΡΠ°ΡΠΏΠΎΠ»ΠΎΠΆΠ΅Π½Π½ΡΠΌΠΈ Π½Π° H-ΠΌΠΎΡΡΠ΅, Π²Ρ Π΄Π°ΠΆΠ΅ ΠΌΠΎΠΆΠ΅ΡΠ΅ ΡΠΏΡΠ°Π²Π»ΡΡΡ Π½Π°ΠΏΡΠ°Π²Π»Π΅Π½ΠΈΠ΅ΠΌ Π±Π΅Π· ΡΠΈΠ·ΠΈΡΠ΅ΡΠΊΠΎΠ³ΠΎ ΠΈΠ·ΠΌΠ΅Π½Π΅Π½ΠΈΡ ΡΠΎΠ΅Π΄ΠΈΠ½Π΅Π½ΠΈΠΉ.
Π¨Π°Π³ΠΎΠ²ΡΠ΅ Π΄Π²ΠΈΠ³Π°ΡΠ΅Π»ΠΈ
Π¨Π°Π³ΠΎΠ²ΡΠ΅ Π΄Π²ΠΈΠ³Π°ΡΠ΅Π»ΠΈΠΈΡΠΏΠΎΠ»ΡΠ·ΡΡΡΡΡ Π² ΡΠ»Π΅ΠΊΡΡΠΎΠ½ΠΈΠΊΠ΅, Π³Π΄Π΅ Π²Π°ΠΆΠ½Π° Π²ΡΡΠΎΠΊΠ°Ρ ΡΠΎΡΠ½ΠΎΡΡΡ, Π½Π°ΠΏΡΠΈΠΌΠ΅Ρ, Π² ΡΠΊΠ°Π½Π΅ΡΠ°Ρ ΠΈ ΠΏΡΠΈΠ½ΡΠ΅ΡΠ°Ρ . Π¨Π°Π³ΠΎΠ²ΡΠΉ Π΄Π²ΠΈΠ³Π°ΡΠ΅Π»Ρ, Π² ΠΎΡΠ»ΠΈΡΠΈΠ΅ ΠΎΡ Π΄Π²ΠΈΠ³Π°ΡΠ΅Π»Ρ ΠΏΠΎΡΡΠΎΡΠ½Π½ΠΎΠ³ΠΎ ΡΠΎΠΊΠ°, ΠΌΠΎΠΆΠ΅Ρ Π±ΡΡΡ ΠΎΡΠ΅Π½Ρ ΡΠΎΡΠ½ΡΠΌ ΠΊΠ°ΠΊ ΠΏΠΎ ΠΏΠΎΠ»ΠΎΠΆΠ΅Π½ΠΈΡ, ΡΠ°ΠΊ ΠΈ ΠΏΠΎ ΡΠΊΠΎΡΠΎΡΡΠΈ.
ΠΠΎΠ»Π½ΠΎΠ΅ Π²ΡΠ°ΡΠ΅Π½ΠΈΠ΅ ΡΠ°Π³ΠΎΠ²ΡΡ
Π΄Π²ΠΈΠ³Π°ΡΠ΅Π»Π΅ΠΉ Π΄Π΅Π»ΠΈΡΡΡ Π½Π° ΠΎΠ΄ΠΈΠ½Π°ΠΊΠΎΠ²ΡΠ΅ Π±ΠΎΠ»ΡΡΠΈΠ΅ ΡΠ°Π³ΠΈ, ΠΈ Π²Ρ ΠΌΠΎΠΆΠ΅ΡΠ΅ ΡΠΏΡΠ°Π²Π»ΡΡΡ ΠΎΡΡΠ°Π½ΠΎΠ²ΠΊΠΎΠΉ Π΄Π²ΠΈΠ³Π°ΡΠ΅Π»Ρ Π½Π° ΠΊΠ°ΠΆΠ΄ΠΎΠΌ ΠΈΠ· ΡΡΠΈΡ
ΡΠ°Π³ΠΎΠ². Π¨Π°Π³ΠΈ ΠΈΠ·ΠΌΠ΅ΡΡΡΡΡΡ Π² Π³ΡΠ°Π΄ΡΡΠ°Ρ
, ΠΎΠ±ΡΡΠ½ΠΎ 1,8, 3,6 ΠΈΠ»ΠΈ 7,2. Π§Π΅ΠΌ ΠΌΠ΅Π½ΡΡΠ΅ ΡΡΡΠΏΠ΅Π½ΡΠΊΠΈ, ΡΠ΅ΠΌ ΡΠΎΡΠ½Π΅Π΅. ΠΡΠΎ Π΄Π΅Π»Π°Π΅Ρ Π΅Π³ΠΎ ΠΎΡΠ΅Π½Ρ ΠΏΠΎΠ»Π΅Π·Π½ΡΠΌ, ΠΊΠΎΠ³Π΄Π° ΡΡΠ΅Π±ΡΠ΅ΡΡΡ ΠΏΠΎΠ²ΡΠΎΡΠ½ΠΎΠ΅ ΠΏΠΎΠ·ΠΈΡΠΈΠΎΠ½ΠΈΡΠΎΠ²Π°Π½ΠΈΠ΅.
ΠΠ΄Π½Π°ΠΊΠΎ ΡΠ°Π³ΠΎΠ²ΡΠ΅ Π΄Π²ΠΈΠ³Π°ΡΠ΅Π»ΠΈ Π½ΠΈΠΊΠΎΠ³Π΄Π° Π½Π΅ Π±ΡΠ΄ΡΡ ΡΠ°ΠΊΠΈΠΌΠΈ Π±ΡΡΡΡΡΠΌΠΈ ΠΏΠΎ ΡΡΠ°Π²Π½Π΅Π½ΠΈΡ Ρ Π΄Π²ΠΈΠ³Π°ΡΠ΅Π»ΡΠΌΠΈ ΠΏΠΎΡΡΠΎΡΠ½Π½ΠΎΠ³ΠΎ ΡΠΎΠΊΠ°. ΠΠ±ΡΡΠ½ΠΎ ΠΎΠ½ ΠΈΠΌΠ΅Π΅Ρ 4 ΠΈΠ»ΠΈ Π±ΠΎΠ»Π΅Π΅ ΠΏΡΠΎΠ²ΠΎΠ΄ΠΎΠ² ΠΈ Π΄Π»Ρ ΡΠ°Π±ΠΎΡΡ ΠΎΠ±ΡΡΠ½ΠΎ ΡΡΠ΅Π±ΡΠ΅ΡΡΡ Π±ΠΎΠ»Π΅Π΅ 5 Π²ΠΎΠ»ΡΡ. ΠΡΠΎ ΠΎΠ·Π½Π°ΡΠ°Π΅Ρ, ΡΡΠΎ ΠΎΠ½ Π½Π΅ ΠΌΠΎΠΆΠ΅Ρ ΠΏΠΈΡΠ°ΡΡΡΡ ΠΎΡ Arduino, Π½ΠΎ ΠΌΡ ΠΌΠΎΠΆΠ΅ΠΌ ΠΈΡΠΏΠΎΠ»ΡΠ·ΠΎΠ²Π°ΡΡ Π²Π½Π΅ΡΠ½ΠΈΠΉ ΠΈΡΡΠΎΡΠ½ΠΈΠΊ ΠΏΠΈΡΠ°Π½ΠΈΡ.
Π‘Π΅ΡΠ²ΠΎΠ΄Π²ΠΈΠ³Π°ΡΠ΅Π»ΠΈ
Π‘Π΅ΡΠ²ΠΎΠ΄Π²ΠΈΠ³Π°ΡΠ΅Π»ΠΈ ΡΠ°ΡΡΠΎ ΠΈΡΠΏΠΎΠ»ΡΠ·ΡΡΡΡΡ Π² ΡΠΎΠ±ΠΎΡΠΎΡΠ΅Ρ Π½ΠΈΠΊΠ΅ ΠΈ ΠΈΠ³ΡΡΡΠΊΠ°Ρ . ΠΡΠΎ ΡΠΎΡ ΡΠΈΠΏ Π΄Π²ΠΈΠ³Π°ΡΠ΅Π»Π΅ΠΉ, ΠΊΠΎΡΠΎΡΡΠΉ Π²Ρ ΡΠΎΠ±ΠΈΡΠ°Π΅ΡΠ΅ΡΡ ΠΈΡΠΏΠΎΠ»ΡΠ·ΠΎΠ²Π°ΡΡ Π² ΡΠ²ΠΎΠ΅ΠΌ ΠΏΡΠΎΠ΅ΠΊΡΠ΅, ΠΏΠΎΡΠΎΠΌΡ ΡΡΠΎ ΠΎΠ½ΠΈ ΠΏΡΠΎΡΡΡ Π² ΠΏΠΎΠ΄ΠΊΠ»ΡΡΠ΅Π½ΠΈΠΈ ΠΈ ΡΠΏΡΠ°Π²Π»Π΅Π½ΠΈΠΈ Ρ Arduino. Π£ Π½ΠΈΡ Π΅ΡΡΡ ΡΡΠΈ ΠΏΡΠΎΠ²ΠΎΠ΄Π°: ΠΎΠ΄ΠΈΠ½ Π΄Π»Ρ ΠΏΠΈΡΠ°Π½ΠΈΡ, ΠΎΠ΄ΠΈΠ½ Π΄Π»Ρ Π·Π°Π·Π΅ΠΌΠ»Π΅Π½ΠΈΡ ΠΈ ΠΎΠ΄ΠΈΠ½ Π΄Π»Ρ ΡΠΏΡΠ°Π²Π»ΡΡΡΠ΅Π³ΠΎ ΡΠΈΠ³Π½Π°Π»Π°.
ΠΡΡΡ Π΄Π²Π° ΡΠΈΠΏΠ°: ΡΠ΅ΡΠ²ΠΎΠΏΡΠΈΠ²ΠΎΠ΄ ΡΡΠ°Π½Π΄Π°ΡΡΠ½ΠΎΠ³ΠΎ Π²ΡΠ°ΡΠ΅Π½ΠΈΡ ΠΈ ΡΠ΅ΡΠ²ΠΎΠΏΡΠΈΠ²ΠΎΠ΄ Π½Π΅ΠΏΡΠ΅ΡΡΠ²Π½ΠΎΠ³ΠΎ Π²ΡΠ°ΡΠ΅Π½ΠΈΡ. Π‘ΡΠ°Π½Π΄Π°ΡΡΠ½ΡΠΉ ΡΠ΅ΡΠ²ΠΎΠΏΡΠΈΠ²ΠΎΠ΄ Π²ΡΠ°ΡΠ΅Π½ΠΈΡ ΠΌΠΎΠΆΠ΅Ρ Π²ΡΠ°ΡΠ°ΡΡΡΡ Π½Π° 180 Π³ΡΠ°Π΄ΡΡΠΎΠ² Ρ ΡΠ°ΠΊΠΎΠΉ ΠΆΠ΅ ΡΠΎΡΠ½ΠΎΡΡΡΡ, ΠΊΠ°ΠΊ ΠΈ ΡΠ°Π³ΠΎΠ²ΡΠ΅ Π΄Π²ΠΈΠ³Π°ΡΠ΅Π»ΠΈ.Π‘Π΅ΡΠ²ΠΎΠΏΡΠΈΠ²ΠΎΠ΄ Π½Π΅ΠΏΡΠ΅ΡΡΠ²Π½ΠΎΠ³ΠΎ Π²ΡΠ°ΡΠ΅Π½ΠΈΡ ΠΏΠΎΡ ΠΎΠΆ Π½Π° Π΄Π²ΠΈΠ³Π°ΡΠ΅Π»Ρ ΠΏΠΎΡΡΠΎΡΠ½Π½ΠΎΠ³ΠΎ ΡΠΎΠΊΠ° ΠΈ ΠΌΠΎΠΆΠ΅Ρ Π²ΡΠ°ΡΠ°ΡΡΡΡ Π² ΠΎΠ±ΠΎΠΈΡ Π½Π°ΠΏΡΠ°Π²Π»Π΅Π½ΠΈΡΡ , Π½ΠΎ Π½Π΅ ΡΠ°ΠΊ Π±ΡΡΡΡΠΎ. ΠΡ ΠΌΠΎΠΆΠ΅ΡΠ΅ ΡΠΏΡΠ°Π²Π»ΡΡΡ ΡΠΊΠΎΡΠΎΡΡΡΡ ΠΈ Π½Π°ΠΏΡΠ°Π²Π»Π΅Π½ΠΈΠ΅ΠΌ Π±Π΅Π· ΠΈΡΠΏΠΎΠ»ΡΠ·ΠΎΠ²Π°Π½ΠΈΡ ΡΡΠ°Π½Π·ΠΈΡΡΠΎΡΠΎΠ².
Π’ΠΈΠΏ Π΄Π²ΠΈΠ³Π°ΡΠ΅Π»Π΅ΠΉ | ΠΡΠΉ ΠΠΎΡΠΎΡ ΠΡΠΎΠ΄Π°ΠΊΡΡ
ΠΠ²ΠΈΠ³Π°ΡΠ΅Π»Ρ Ρ ΡΠΊΡΠ°Π½ΠΈΡΠΎΠ²Π°Π½Π½ΡΠΌΠΈ ΠΏΠΎΠ»ΡΡΠ°ΠΌΠΈ
ΠΠ²ΠΈΠ³Π°ΡΠ΅Π»ΠΈ Ρ ΡΠΊΡΠ°Π½ΠΈΡΠΎΠ²Π°Π½Π½ΡΠΌΠΈ ΠΏΠΎΠ»ΡΡΠ°ΠΌΠΈ ΡΠ²Π»ΡΡΡΡΡ ΠΎΡΠΈΠ³ΠΈΠ½Π°Π»ΡΠ½ΡΠΌ ΡΠΈΠΏΠΎΠΌ ΠΎΠ΄Π½ΠΎΡΠ°Π·Π½ΡΡ Π°ΡΠΈΠ½Ρ ΡΠΎΠ½Π½ΡΡ Π΄Π²ΠΈΠ³Π°ΡΠ΅Π»Π΅ΠΉ ΠΏΠ΅ΡΠ΅ΠΌΠ΅Π½Π½ΠΎΠ³ΠΎ ΡΠΎΠΊΠ°. Π’Π°ΠΊΠΆΠ΅ Π½Π°Π·ΡΠ²Π°Π΅ΡΡΡ ΠΎΠ΄Π½ΠΎΡΠ°Π·Π½ΡΠΌ Π°ΡΠΈΠ½Ρ ΡΠΎΠ½Π½ΡΠΌ Π΄Π²ΠΈΠ³Π°ΡΠ΅Π»Π΅ΠΌ, ΠΏΡΠΎΡΡΠΎ ΠΏΠΎΠ΄ΠΊΠ»ΡΡΠΈΠ² Π΅Π³ΠΎ ΠΊ ΠΎΠ΄Π½ΠΎΠΉ Π»ΠΈΠ½ΠΈΠΈ Π½Π°ΠΏΡΡΠΆΠ΅Π½ΠΈΡ, ΠΈ Π΄Π»Ρ Π΅Π³ΠΎ Π²ΡΠ°ΡΠ΅Π½ΠΈΡ ΡΡΠ΅Π±ΡΠ΅ΡΡΡ Π²Π½Π΅ΡΠ½ΠΈΠΉ ΠΊΠΎΠ½Π΄Π΅Π½ΡΠ°ΡΠΎΡ.Π Π°Π·Π»ΠΈΡΠ½ΡΠ΅ ΡΠΈΠΏΡ ΠΎΠ΄Π½ΠΎΡΠ°Π·Π½ΡΡ Π°ΡΠΈΠ½Ρ ΡΠΎΠ½Π½ΡΡ Π΄Π²ΠΈΠ³Π°ΡΠ΅Π»Π΅ΠΉ ΡΠ°Π·Π»ΠΈΡΠ°ΡΡΡΡ Π² Π·Π°Π²ΠΈΡΠΈΠΌΠΎΡΡΠΈ ΠΎΡ ΠΌΠ΅ΡΠΎΠ΄Π° ΠΈΡ Π·Π°ΠΏΡΡΠΊΠ°. Π§Π΅ΡΡΡΠ΅ ΠΎΡΠ½ΠΎΠ²Π½ΡΡ ΡΠΈΠΏΠ° — ΡΡΠΎ ΡΠ°Π·Π΄Π΅Π»Π΅Π½Π½Π°Ρ ΡΠ°Π·Π°, ΠΊΠΎΠ½Π΄Π΅Π½ΡΠ°ΡΠΎΡΠ½ΡΠΉ Π·Π°ΠΏΡΡΠΊ, ΠΏΠΎΡΡΠΎΡΠ½Π½ΡΠΉ ΡΠ°Π·Π΄Π΅Π»Π΅Π½Π½ΡΠΉ ΠΊΠΎΠ½Π΄Π΅Π½ΡΠ°ΡΠΎΡ ΠΈ ΠΊΠΎΠ½Π΄Π΅Π½ΡΠ°ΡΠΎΡΠ½ΡΠΉ Π·Π°ΠΏΡΡΠΊ / ΡΠ°Π±ΠΎΡΠ° ΠΊΠΎΠ½Π΄Π΅Π½ΡΠ°ΡΠΎΡΠ°.
ΠΠ»Π΅ΠΊΡΡΠΎΠ΄Π²ΠΈΠ³Π°ΡΠ΅Π»Ρ Ρ ΡΠ°Π·Π΄Π΅Π»Π΅Π½Π½ΠΎΠΉ ΡΠ°Π·ΠΎΠΉ
ΠΠ²ΠΈΠ³Π°ΡΠ΅Π»Ρ Ρ ΡΠ°ΡΡΠ΅ΠΏΠ»Π΅Π½Π½ΠΎΠΉ ΡΠ°Π·ΠΎΠΉ ΠΈΡΠΏΠΎΠ»ΡΠ·ΡΠ΅Ρ ΠΏΠ΅ΡΠ΅ΠΊΠ»ΡΡΠ°ΡΡΠ΅Π΅ ΡΡΡΡΠΎΠΉΡΡΠ²ΠΎ Π΄Π»Ρ ΠΎΡΠΊΠ»ΡΡΠ΅Π½ΠΈΡ ΠΏΡΡΠΊΠΎΠ²ΠΎΠΉ ΠΎΠ±ΠΌΠΎΡΠΊΠΈ, ΠΊΠΎΠ³Π΄Π° Π΄Π²ΠΈΠ³Π°ΡΠ΅Π»Ρ Π΄ΠΎΡΡΠΈΠ³Π°Π΅Ρ 75% ΡΠ²ΠΎΠ΅ΠΉ Π½ΠΎΠΌΠΈΠ½Π°Π»ΡΠ½ΠΎΠΉ ΡΠΊΠΎΡΠΎΡΡΠΈ. Π₯ΠΎΡΡ ΡΡΠΎΡ ΡΠΈΠΏ ΠΈΠΌΠ΅Π΅Ρ ΠΏΡΠΎΡΡΡΡ ΠΊΠΎΠ½ΡΡΡΡΠΊΡΠΈΡ, ΡΡΠΎ Π΄Π΅Π»Π°Π΅Ρ Π΅Π³ΠΎ ΠΌΠ΅Π½Π΅Π΅ Π΄ΠΎΡΠΎΠ³ΠΈΠΌ Π΄Π»Ρ ΠΊΠΎΠΌΠΌΠ΅ΡΡΠ΅ΡΠΊΠΎΠ³ΠΎ ΠΈΡΠΏΠΎΠ»ΡΠ·ΠΎΠ²Π°Π½ΠΈΡ, ΠΎΠ½ ΡΠ°ΠΊΠΆΠ΅ ΠΈΠΌΠ΅Π΅Ρ Π½ΠΈΠ·ΠΊΠΈΠ΅ ΠΏΡΡΠΊΠΎΠ²ΡΠ΅ ΠΌΠΎΠΌΠ΅Π½ΡΡ ΠΈ Π²ΡΡΠΎΠΊΠΈΠ΅ ΠΏΡΡΠΊΠΎΠ²ΡΠ΅ ΡΠΎΠΊΠΈ.
ΠΠΎΠ½Π΄Π΅Π½ΡΠ°ΡΠΎΡΠ½ΡΠΉ ΠΏΡΡΠΊΠΎΠ²ΠΎΠΉ Π΄Π²ΠΈΠ³Π°ΡΠ΅Π»Ρ
ΠΠΎΠ½Π΄Π΅Π½ΡΠ°ΡΠΎΡΠ½ΡΠΉ ΠΏΡΡΠΊΠΎΠ²ΠΎΠΉ Π΄Π²ΠΈΠ³Π°ΡΠ΅Π»Ρ — ΡΡΠΎ ΠΊΠΎΠ½Π΄Π΅Π½ΡΠ°ΡΠΎΡΠ½ΡΠΉ Π΄Π²ΠΈΠ³Π°ΡΠ΅Π»Ρ Ρ ΡΠ°ΡΡΠ΅ΠΏΠ»Π΅Π½Π½ΠΎΠΉ ΡΠ°Π·ΠΎΠΉ, Π² ΠΊΠΎΡΠΎΡΠΎΠΌ ΠΊΠΎΠ½Π΄Π΅Π½ΡΠ°ΡΠΎΡ Π²ΠΊΠ»ΡΡΠ΅Π½ ΠΏΠΎΡΠ»Π΅Π΄ΠΎΠ²Π°ΡΠ΅Π»ΡΠ½ΠΎ Ρ ΠΏΡΡΠΊΠΎΠ²ΠΎΠΉ ΠΎΠ±ΠΌΠΎΡΠΊΠΎΠΉ Π΄Π»Ρ ΡΠΎΠ·Π΄Π°Π½ΠΈΡ Π±ΠΎΠ»ΡΡΠ΅Π³ΠΎ ΠΏΡΡΠΊΠΎΠ²ΠΎΠ³ΠΎ ΠΌΠΎΠΌΠ΅Π½ΡΠ°. ΠΡΠΎΡ Π΄Π²ΠΈΠ³Π°ΡΠ΅Π»Ρ Π±ΠΎΠ»Π΅Π΅ Π΄ΠΎΡΠΎΠ³ΠΎΠΉ ΠΈΠ·-Π·Π° Π½Π΅ΠΎΠ±Ρ ΠΎΠ΄ΠΈΠΌΡΡ ΠΊΠΎΠΌΠΌΡΡΠ°ΡΠΈΠΎΠ½Π½ΡΡ ΠΈ ΠΊΠΎΠ½Π΄Π΅Π½ΡΠ°ΡΠΎΡΠ½ΡΡ ΠΊΠΎΠΌΠΏΠΎΠ½Π΅Π½ΡΠΎΠ².
ΠΠΎΡΡΠΎΡΠ½Π½ΡΠΉ ΡΠ°Π·Π΄Π΅Π»Π΅Π½Π½ΡΠΉ ΠΊΠΎΠ½Π΄Π΅Π½ΡΠ°ΡΠΎΡ
ΠΠ²ΠΈΠ³Π°ΡΠ΅Π»Ρ Ρ ΠΏΠΎΡΡΠΎΡΠ½Π½ΡΠΌ ΡΠ°Π·Π΄Π΅Π»Π΅Π½Π½ΡΠΌ ΠΊΠΎΠ½Π΄Π΅Π½ΡΠ°ΡΠΎΡΠΎΠΌ Π½Π΅ ΠΈΠΌΠ΅Π΅Ρ ΠΏΡΡΠΊΠΎΠ²ΠΎΠ³ΠΎ ΠΏΠ΅ΡΠ΅ΠΊΠ»ΡΡΠ°ΡΠ΅Π»Ρ. ΠΠ»Ρ ΡΡΠΎΠ³ΠΎ ΡΠΈΠΏΠ° ΠΊΠΎΠ½Π΄Π΅Π½ΡΠ°ΡΠΎΡ ΠΏΠΎΡΡΠΎΡΠ½Π½ΠΎ ΠΏΠΎΠ΄ΠΊΠ»ΡΡΠ΅Π½ ΠΊ ΠΎΠ±ΠΌΠΎΡΠΊΠ΅ ΠΏΡΡΠΊΠ°ΡΠ΅Π»Ρ. ΠΠΎΡΠΊΠΎΠ»ΡΠΊΡ Π΄Π»Ρ ΡΡΠΎΠ³ΠΎ ΡΡΠ΅Π±ΡΠ΅ΡΡΡ ΠΊΠΎΠ½Π΄Π΅Π½ΡΠ°ΡΠΎΡ Π΄Π»Ρ Π½Π΅ΠΏΡΠ΅ΡΡΠ²Π½ΠΎΠ³ΠΎ ΠΈΡΠΏΠΎΠ»ΡΠ·ΠΎΠ²Π°Π½ΠΈΡ, ΠΎΠ½ Π½Π΅ ΠΎΠ±Π΅ΡΠΏΠ΅ΡΠΈΠ²Π°Π΅Ρ ΠΏΡΡΠΊΠΎΠ²ΡΡ ΠΌΠΎΡΠ½ΠΎΡΡΡ, ΠΏΠΎΡΡΠΎΠΌΡ ΠΏΡΡΠΊΠΎΠ²ΡΠ΅ ΠΌΠΎΠΌΠ΅Π½ΡΡ ΠΎΠ±ΡΡΠ½ΠΎ ΠΌΠ°Π»Ρ.ΠΡΠΈ Π΄Π²ΠΈΠ³Π°ΡΠ΅Π»ΠΈ Π½Π΅ Π±ΡΠ΄ΡΡ ΡΠ°Π±ΠΎΡΠ°ΡΡ ΠΏΡΠΈ Π²ΡΡΠΎΠΊΠΈΡ ΠΏΡΡΠΊΠΎΠ²ΡΡ Π½Π°Π³ΡΡΠ·ΠΊΠ°Ρ . ΠΠ΄Π½Π°ΠΊΠΎ ΠΎΠ½ΠΈ ΠΈΠΌΠ΅ΡΡ Π½ΠΈΠ·ΠΊΠΈΠ΅ ΠΏΡΡΠΊΠΎΠ²ΡΠ΅ ΡΠΎΠΊΠΈ, Π±ΠΎΠ»Π΅Π΅ ΡΠΈΡ ΡΡ ΡΠ°Π±ΠΎΡΡ ΠΈ Π±ΠΎΠ»Π΅Π΅ Π²ΡΡΠΎΠΊΠΈΠΉ ΡΡΠΎΠΊ ΡΠ»ΡΠΆΠ±Ρ / Π½Π°Π΄Π΅ΠΆΠ½ΠΎΡΡΡ, ΡΡΠΎ Π΄Π΅Π»Π°Π΅Ρ ΠΈΡ Ρ ΠΎΡΠΎΡΠΈΠΌ Π²ΡΠ±ΠΎΡΠΎΠΌ Π΄Π»Ρ Π²ΡΡΠΎΠΊΠΈΡ ΡΠΈΠΊΠ»ΠΎΠ². ΠΠ½ΠΈ ΡΠ°ΠΊΠΆΠ΅ ΡΠ²Π»ΡΡΡΡΡ Π½Π°ΠΈΠ±ΠΎΠ»Π΅Π΅ Π½Π°Π΄Π΅ΠΆΠ½ΡΠΌΠΈ ΠΊΠΎΠ½Π΄Π΅Π½ΡΠ°ΡΠΎΡΠ½ΡΠΌΠΈ Π΄Π²ΠΈΠ³Π°ΡΠ΅Π»ΡΠΌΠΈ ΠΈΠ·-Π·Π° ΠΎΡΡΡΡΡΡΠ²ΠΈΡ ΠΏΡΡΠΊΠΎΠ²ΠΎΠ³ΠΎ ΠΏΠ΅ΡΠ΅ΠΊΠ»ΡΡΠ°ΡΠ΅Π»Ρ. Π Π°Π·Π»ΠΈΡΠ½ΡΠ΅ ΠΊΠΎΠ½ΡΡΡΡΠΊΡΠΈΠΈ ΠΎΠ±Π΅ΡΠΏΠ΅ΡΠΈΠ²Π°ΡΡ Π±ΠΎΠ»Π΅Π΅ Π²ΡΡΠΎΠΊΠΈΠΉ ΠΠΠ ΠΈ ΠΊΠΎΡΡΡΠΈΡΠΈΠ΅Π½Ρ ΠΌΠΎΡΠ½ΠΎΡΡΠΈ ΠΏΡΠΈ Π½ΠΎΠΌΠΈΠ½Π°Π»ΡΠ½ΡΡ Π½Π°Π³ΡΡΠ·ΠΊΠ°Ρ .
ΠΠΎΠ½Π΄Π΅Π½ΡΠ°ΡΠΎΡΠ½ΡΠΉ ΠΏΡΡΠΊ / ΠΠΎΠ½Π΄Π΅Π½ΡΠ°ΡΠΎΡΠ½ΡΠΉ Π΄Π²ΠΈΠ³Π°ΡΠ΅Π»Ρ
ΠΠΎΠ½Π΄Π΅Π½ΡΠ°ΡΠΎΡΠ½ΡΠΉ ΠΏΡΡΠΊΠΎΠ²ΠΎΠΉ / ΠΊΠΎΠ½Π΄Π΅Π½ΡΠ°ΡΠΎΡΠ½ΡΠΉ Π΄Π²ΠΈΠ³Π°ΡΠ΅Π»Ρ ΠΈΠΌΠ΅Π΅Ρ ΠΊΠ°ΠΊ ΠΏΡΡΠΊΠΎΠ²ΠΎΠΉ, ΡΠ°ΠΊ ΠΈ ΠΏΡΡΠΊΠΎΠ²ΠΎΠΉ ΠΊΠΎΠ½Π΄Π΅Π½ΡΠ°ΡΠΎΡ Π² ΡΠ΅ΠΏΠΈ.ΠΠΎΡΠ»Π΅ Π΄ΠΎΡΡΠΈΠΆΠ΅Π½ΠΈΡ ΠΏΠΎΠ»Π½ΠΎΠ³ΠΎ ΠΏΡΡΠΊΠ° ΠΏΡΡΠΊΠΎΠ²ΠΎΠΉ ΠΊΠΎΠ½Π΄Π΅Π½ΡΠ°ΡΠΎΡ ΠΎΡΠΊΠ»ΡΡΠ°Π΅ΡΡΡ. ΠΡΠΎΡ ΡΠΈΠΏ Π΄Π²ΠΈΠ³Π°ΡΠ΅Π»Ρ ΠΈΠΌΠ΅Π΅Ρ Π±ΠΎΠ»Π΅Π΅ Π²ΡΡΠΎΠΊΠΈΠΉ ΠΏΡΡΠΊΠΎΠ²ΠΎΠΉ ΡΠΎΠΊ, ΠΌΠ΅Π½ΡΡΠΈΠ΅ ΡΠΎΠΊΠΈ Π½Π°Π³ΡΡΠ·ΠΊΠΈ ΠΈ Π±ΠΎΠ»Π΅Π΅ Π²ΡΡΠΎΠΊΠΈΠΉ ΠΠΠ. ΠΠ΅Π΄ΠΎΡΡΠ°ΡΠΊΠΎΠΌ ΡΠ²Π»ΡΠ΅ΡΡΡ ΡΡΠΎΠΈΠΌΠΎΡΡΡ Π΄Π²ΡΡ ΠΊΠΎΠ½Π΄Π΅Π½ΡΠ°ΡΠΎΡΠΎΠ² ΠΈ ΠΏΠ΅ΡΠ΅ΠΊΠ»ΡΡΠ°ΡΡΠ΅Π³ΠΎ ΡΡΡΡΠΎΠΉΡΡΠ²Π°. ΠΠ°Π΄Π΅ΠΆΠ½ΠΎΡΡΡ ΡΠ°ΠΊΠΆΠ΅ ΠΈΠ³ΡΠ°Π΅Ρ Π²Π°ΠΆΠ½ΡΡ ΡΠΎΠ»Ρ Π² ΠΌΠ΅Ρ Π°Π½ΠΈΠ·ΠΌΠ΅ ΠΏΠ΅ΡΠ΅ΠΊΠ»ΡΡΠ΅Π½ΠΈΡ.
Π’Π΅Ρ Π½ΠΎΠ»ΠΎΠ³ΠΈΡ
ΠΠ»Ρ ΡΡΠ°Π²Π½Π΅Π½ΠΈΡ, ΡΡΠΈ ΡΠΈΠΏΡ Π°ΡΠΈΠ½Ρ ΡΠΎΠ½Π½ΡΡ Π΄Π²ΠΈΠ³Π°ΡΠ΅Π»Π΅ΠΉ Ρ ΡΠ°Π·Π΄Π΅Π»Π΅Π½Π½ΡΠΌ ΡΠΎΠΏΡΠΎΡΠΈΠ²Π»Π΅Π½ΠΈΠ΅ΠΌ ΠΎΠ±Π΅ΡΠΏΠ΅ΡΠΈΠ²Π°ΡΡ ΠΏΡΡΠΊΠΎΠ²ΠΎΠΉ ΠΊΡΡΡΡΡΠΈΠΉ ΠΌΠΎΠΌΠ΅Π½Ρ ΠΎΡ Π½ΠΈΠ·ΠΊΠΎΠ³ΠΎ Π΄ΠΎ ΡΡΠ΅Π΄Π½Π΅Π³ΠΎ, ΠΈ ΡΡΠΎ ΠΎΠ³ΡΠ°Π½ΠΈΡΠΈΠ²Π°Π΅Ρ ΠΈΡ ΠΏΡΠΈΠΌΠ΅Π½Π΅Π½ΠΈΡΠΌΠΈ Ρ Π½ΠΈΠ·ΠΊΠΈΠΌ ΡΠ½Π΅ΡΠ³ΠΎΠΏΠΎΡΡΠ΅Π±Π»Π΅Π½ΠΈΠ΅ΠΌ, Π΄Π»Ρ ΠΊΠΎΡΠΎΡΡΡ ΠΎΠ½ΠΈ Π»ΡΡΡΠ΅ Π²ΡΠ΅Π³ΠΎ ΠΏΠΎΠ΄Ρ ΠΎΠ΄ΡΡ.Π ΡΡΠΈΡ Π΄Π²ΠΈΠ³Π°ΡΠ΅Π»ΡΡ ΠΈΡΠΏΠΎΠ»ΡΠ·ΡΠ΅ΡΡΡ ΠΎΠ΄Π½Π° Π²ΡΠΏΠΎΠΌΠΎΠ³Π°ΡΠ΅Π»ΡΠ½Π°Ρ ΠΎΠ±ΠΌΠΎΡΠΊΠ° ΠΌΠ΅Π½ΡΡΠ΅Π³ΠΎ ΡΠ°Π·ΠΌΠ΅ΡΠ°, ΡΠ΅ΠΌ ΠΎΠ±ΡΡΠ½ΠΎ, ΡΡΠΎ ΡΠΎΠ·Π΄Π°Π΅Ρ Π±ΠΎΠ»Π΅Π΅ Π½ΠΈΠ·ΠΊΡΡ ΡΠΊΠΎΡΠΎΡΡΡ ΠΈΠ½Π΄ΡΠΊΡΠΈΠΈ ΠΈ Π³ΠΎΡΠ°Π·Π΄ΠΎ Π±ΠΎΠ»Π΅Π΅ Π²ΡΡΠΎΠΊΠΎΠ΅ ΡΠΎΠΏΡΠΎΡΠΈΠ²Π»Π΅Π½ΠΈΠ΅, ΡΠ΅ΠΌ Π² Π΄ΡΡΠ³ΠΈΡ ΡΠΈΠΏΠ°Ρ . Π’Π°ΠΊΠΈΠ΅ ΠΏΡΠΎΡΡΡΠ΅ ΠΌΠΎΠ΄Π΅Π»ΠΈ ΠΌΠΎΠΆΠ½ΠΎ ΠΈΡΠΏΠΎΠ»ΡΠ·ΠΎΠ²Π°ΡΡ ΡΠΎΠ»ΡΠΊΠΎ ΠΏΡΠΈ Π½Π΅Π±ΠΎΠ»ΡΡΠΎΠΉ Π½Π°Π³ΡΡΠ·ΠΊΠ΅ ΠΈ Π½Π΅Π±ΠΎΠ»ΡΡΠΎΠΌ ΠΏΡΡΠΊΠΎΠ²ΠΎΠΌ ΠΏΡΠΈΠ²ΠΎΠ΄Π΅.
ΠΠ»Ρ Π½Π΅ΠΊΠΎΡΠΎΡΡΡ ΠΏΡΠΈΠΌΠ΅Π½Π΅Π½ΠΈΠΉ, ΡΠ°ΠΊΠΈΡ ΠΊΠ°ΠΊ Π½Π΅Π±ΠΎΠ»ΡΡΠΈΠ΅ Π²Π΅Π½ΡΠΈΠ»ΡΡΠΎΡΡ, ΡΠ»ΠΈΡΠΎΠ²Π°Π»ΡΠ½ΡΠ΅ ΠΌΠ°ΡΠΈΠ½Ρ ΠΈ Π½Π°Π³ΡΠ΅Π²Π°ΡΠ΅Π»ΠΈ, Π½Π΅ ΡΡΠ΅Π±ΡΡΡΡΡ Π±ΠΎΠ»Π΅Π΅ Π²ΡΡΠΎΠΊΠΈΠ΅ ΠΏΡΡΠΊΠΎΠ²ΡΠ΅ ΠΌΠΎΠΌΠ΅Π½ΡΡ, Π½ΠΎ Π² Π±ΠΎΠ»ΡΡΠΈΠ½ΡΡΠ²Π΅ ΡΠ»ΡΡΠ°Π΅Π², ΡΠ΅ΠΌ Π±ΠΎΠ»ΡΡΠ΅ ΠΊΡΡΡΡΡΠΈΠΉ ΠΌΠΎΠΌΠ΅Π½Ρ ΠΏΡΠΈ Π·Π°ΠΏΡΡΠΊΠ΅ Π΄Π²ΠΈΠ³Π°ΡΠ΅Π»Ρ, ΡΠ΅ΠΌ Π±ΠΎΠ»ΡΡΡΡ Π½Π°Π³ΡΡΠ·ΠΊΡ ΠΌΠΎΠΆΠ½ΠΎ ΠΏΡΠΈΠ»ΠΎΠΆΠΈΡΡ ΠΊ ΠΌΠ°ΡΠΈΠ½Π΅. ΠΠ΄Π½ΠΎΡΠ°Π·Π½ΡΠΉ Π΄Π²ΠΈΠ³Π°ΡΠ΅Π»Ρ Ρ Π²ΡΡΠΎΠΊΠΈΠΌ ΠΏΡΡΠΊΠΎΠ²ΡΠΌ ΠΊΡΡΡΡΡΠΈΠΌ ΠΌΠΎΠΌΠ΅Π½ΡΠΎΠΌ ΡΠ°ΡΡΠΎ Π±ΡΠ²Π°Π΅Ρ Π΄ΠΎΡΠΎΠΆΠ΅, ΡΠ΅ΠΌ Π±ΠΎΠ»Π΅Π΅ ΠΏΡΠΎΡΡΡΠ΅ Π΄Π²ΠΈΠ³Π°ΡΠ΅Π»ΠΈ Ρ ΡΠ°Π·Π΄Π΅Π»Π΅Π½Π½ΠΎΠΉ ΠΈΠ½Π΄ΡΠΊΡΠΈΠ΅ΠΉ.ΠΠ΄Π½Π°ΠΊΠΎ ΡΠ°Π·Π½ΠΈΡΠ° Π² ΠΌΠΎΡΠ½ΠΎΡΡΠΈ ΠΌΠΎΠΆΠ΅Ρ ΠΎΠΊΡΠΏΠΈΡΡΡΡ Π΄Π»Ρ ΡΠ°Π·Π½ΡΡ ΠΏΡΠΎΠΌΡΡΠ»Π΅Π½Π½ΡΡ Π½ΡΠΆΠ΄. ΠΡ ΠΎΠ΄Π½ΠΎΡΠ°Π·Π½ΠΎΠ³ΠΎ Π΄Π²ΠΈΠ³Π°ΡΠ΅Π»Ρ Ρ Π²ΡΡΠΎΠΊΠΈΠΌ ΠΏΡΡΠΊΠΎΠ²ΡΠΌ ΠΌΠΎΠΌΠ΅Π½ΡΠΎΠΌ ΠΌΠΎΠΆΠ½ΠΎ ΠΎΠΆΠΈΠ΄Π°ΡΡ Π΄ΡΡΠ³ΠΎΠ³ΠΎ ΡΡΠΎΠ²Π½Ρ ΠΏΡΠΎΠΈΠ·Π²ΠΎΠ΄ΠΈΡΠ΅Π»ΡΠ½ΠΎΡΡΠΈ, ΡΡΠΎ ΠΌΠΎΠΆΠ΅Ρ ΡΡΠΊΠΎΠ½ΠΎΠΌΠΈΡΡ Π²ΡΠ΅ΠΌΡ ΠΈ ΡΠ½Π΅ΡΠ³ΠΈΡ.
ΠΠ΅ΡΠ΅ΠΌΠ΅Π½Π½ΡΠ΅ ΡΠΎΠΊΠΈ, ΠΏΡΠΎΡΠ΅ΠΊΠ°ΡΡΠΈΠ΅ Π² ΠΎΠ΄Π½ΠΎΡΠ°Π·Π½ΠΎΠΌ Π΄Π²ΠΈΠ³Π°ΡΠ΅Π»Π΅, ΠΎΠ΄Π½ΠΎΠ²ΡΠ΅ΠΌΠ΅Π½Π½ΠΎ Π΄ΠΎΡΡΠΈΠ³Π°ΡΡ ΡΠ²ΠΎΠΈΡ ΠΏΠΈΠΊΠΎΠ²ΡΡ Π·Π½Π°ΡΠ΅Π½ΠΈΠΉ; ΡΡΠΎ ΡΠΎΡΡΠ°Π²Π»ΡΠ΅Ρ ΠΎΠ΄Π½Ρ Π΅Π΄ΠΈΠ½ΡΡΠ²Π΅Π½Π½ΡΡ ΡΠ°Π·Ρ. Π ΡΡΠ΅Ρ ΡΠ°Π·Π½ΡΡ ΡΠΈΡΡΠ΅ΠΌΠ°Ρ ΠΏΠΈΠΊΠΎΠ²ΡΠ΅ Π·Π½Π°ΡΠ΅Π½ΠΈΡ ΡΠΎΠΊΠ° Π΄ΠΎΡΡΠΈΠ³Π°ΡΡΡΡ ΠΏΠΎΡΠ»Π΅Π΄ΠΎΠ²Π°ΡΠ΅Π»ΡΠ½ΠΎ, Π² ΡΡΠΈ ΠΎΡΠ΄Π΅Π»ΡΠ½ΡΡ ΡΡΠ°ΠΏΠ°. ΠΠΎ ΡΡΠ°Π²Π½Π΅Π½ΠΈΡ Ρ ΡΡΠ΅Ρ ΡΠ°Π·Π½ΡΠΌΠΈ ΡΠΈΡΡΠ΅ΠΌΠ°ΠΌΠΈ, ΡΡΠΈ Π΄Π²ΠΈΠ³Π°ΡΠ΅Π»ΠΈ Π½Π΅ ΠΎΠ±Π»Π°Π΄Π°ΡΡ ΡΠ°ΠΊΠΈΠΌ ΠΆΠ΅ Π²ΡΡΠΎΠΊΠΈΠΌ ΠΠΠ, Π½ΠΎ ΠΌΠΎΠ³ΡΡ ΡΠ°Π±ΠΎΡΠ°ΡΡ Π±Π΅ΡΠΊΠΎΠ½Π΅ΡΠ½ΠΎ Π΄ΠΎΠ»Π³ΠΎ ΠΏΡΠΈ ΠΌΠΈΠ½ΠΈΠΌΠ°Π»ΡΠ½ΠΎΠΌ ΡΠ΅Ρ Π½ΠΈΡΠ΅ΡΠΊΠΎΠΌ ΠΎΠ±ΡΠ»ΡΠΆΠΈΠ²Π°Π½ΠΈΠΈ.
ΠΠ»Π΅ΠΊΡΡΠΎΠ΄Π²ΠΈΠ³Π°ΡΠ΅Π»ΠΈ Π°ΡΠΈΠ½Ρ ΡΠΎΠ½Π½ΡΠ΅ΠΈΠΌΠ΅ΡΡ ΡΠ°Π·Π½ΡΠ΅ ΠΊΠ»Π°ΡΡΠΈΡΠΈΠΊΠ°ΡΠΈΠΈ Π² Π·Π°Π²ΠΈΡΠΈΠΌΠΎΡΡΠΈ ΠΎΡ ΠΈΡΡΠΎΡΠ½ΠΈΠΊΠ° ΡΠ»Π΅ΠΊΡΡΠΎΡΠ½Π΅ΡΠ³ΠΈΠΈ ΠΈ ΡΠΈΠΏΠ° ΠΊΠΎΠ½ΡΡΡΡΠΊΡΠΈΠΈ. ΠΠ²ΠΈΠ³Π°ΡΠ΅Π»ΠΈ Π°ΡΠΈΠ½Ρ ΡΠΎΠ½Π½ΠΎΠ³ΠΎ ΡΠΈΠΏΠ°, ΡΠ°ΠΊΠΆΠ΅ Π½Π°Π·ΡΠ²Π°Π΅ΠΌΡΠ΅ Π°ΡΠΈΠ½Ρ ΡΠΎΠ½Π½ΡΠΌΠΈ Π΄Π²ΠΈΠ³Π°ΡΠ΅Π»ΡΠΌΠΈ, ΡΠ°Π±ΠΎΡΠ°ΡΡ Π½Π° ΠΏΠ΅ΡΠ΅ΠΌΠ΅Π½Π½ΠΎΠΌ ΡΠΎΠΊΠ΅ (AC), ΡΠΎΠ·Π΄Π°Π²Π°Π΅ΠΌΠΎΠΌ ΡΠ»Π΅ΠΊΡΡΠΎΠΌΠ°Π³Π½ΠΈΡΠ½ΠΎΠΉ ΠΈΠ½Π΄ΡΠΊΡΠΈΠ΅ΠΉ, Π² ΠΎΡΠ»ΠΈΡΠΈΠ΅ ΠΎΡ ΠΊΠΎΠΌΠΌΡΡΠ°ΡΠΎΡΠΎΠ², ΠΎΠ±ΡΡΠ½ΠΎ ΠΈΡΠΏΠΎΠ»ΡΠ·ΡΠ΅ΠΌΡΡ Π² Π΄ΡΡΠ³ΠΈΡ ΡΠΈΠΏΠ°Ρ Π΄Π²ΠΈΠ³Π°ΡΠ΅Π»Π΅ΠΉ ΠΏΠ΅ΡΠ΅ΠΌΠ΅Π½Π½ΠΎΠ³ΠΎ ΡΠΎΠΊΠ°. ΠΡΠΈΠ½Ρ ΡΠΎΠ½Π½ΡΠ΅ Π΄Π²ΠΈΠ³Π°ΡΠ΅Π»ΠΈ ΠΈΡΠΏΠΎΠ»ΡΠ·ΡΡΡΡΡ Π² ΠΏΡΠΎΠΌΡΡΠ»Π΅Π½Π½ΠΎΡΡΠΈ, Π° ΡΠ°ΠΊΠΆΠ΅ Π² ΡΡΠ°Π½Π΄Π°ΡΡΠ½ΡΡ ΡΡΡΡΠΎΠΉΡΡΠ²Π°Ρ , ΡΠ°ΠΊΠΈΡ ΠΊΠ°ΠΊ Ρ ΠΎΠ»ΠΎΠ΄ΠΈΠ»ΡΠ½ΠΈΠΊΠΈ, ΡΡΠΈΡΠ°Π»ΡΠ½ΡΠ΅ ΠΌΠ°ΡΠΈΠ½Ρ, ΠΏΠΎΡΡΠ΄ΠΎΠΌΠΎΠ΅ΡΠ½ΡΠ΅ ΠΌΠ°ΡΠΈΠ½Ρ ΠΈ ΡΡΡΠΈΠ»ΠΊΠΈ Π΄Π»Ρ ΠΎΠ΄Π΅ΠΆΠ΄Ρ.
ΠΠ»Π΅ΠΊΡΡΠΎΠ΄Π²ΠΈΠ³Π°ΡΠ΅Π»ΠΈ ΠΈΠ½Π΄ΡΠΊΡΠΈΠΎΠ½Π½ΠΎΠ³ΠΎ ΡΠΈΠΏΠ° Π±ΡΠ»ΠΈ ΠΏΠ΅ΡΠ²ΠΎΠ½Π°ΡΠ°Π»ΡΠ½ΡΠΌ Π΄Π²ΠΈΠ³Π°ΡΠ΅Π»Π΅ΠΌ ΠΏΠ΅ΡΠ΅ΠΌΠ΅Π½Π½ΠΎΠ³ΠΎ ΡΠΎΠΊΠ°, ΠΊΠΎΡΠΎΡΡΠΉ Π΄ΠΎΠ»ΠΆΠ΅Π½ Π±ΡΠ» Π±ΡΡΡ ΡΠΎΠ·Π΄Π°Π½; ΠΠΈΠΊΠΎΠ»Π° Π’Π΅ΡΠ»Π° ΠΏΡΠΈΠ΄ΡΠΌΠ°Π» ΠΏΡΠΎΡΠΎΡΠΈΠΏ Π² 1883 Π³ΠΎΠ΄Ρ. ΠΡΠΈ Π°ΡΠΈΠ½Ρ ΡΠΎΠ½Π½ΡΠ΅ Π΄Π²ΠΈΠ³Π°ΡΠ΅Π»ΠΈ ΠΈΠΌΠ΅ΡΡ ΠΎΡΠ΅Π½Ρ ΠΏΡΠΎΡΡΡΡ ΠΊΠΎΠ½ΡΡΡΡΠΊΡΠΈΡ ΠΈ ΡΠΏΡΠ°Π²Π»Π΅Π½ΠΈΠ΅ ΠΏΠΎ ΡΡΠ°Π²Π½Π΅Π½ΠΈΡ Ρ ΡΠΎΠ²ΡΠ΅ΠΌΠ΅Π½Π½ΡΠΌΠΈ Π΄Π²ΠΈΠ³Π°ΡΠ΅Π»ΡΠΌΠΈ ΠΏΠ΅ΡΠ΅ΠΌΠ΅Π½Π½ΠΎΠ³ΠΎ ΡΠΎΠΊΠ°, Π½ΠΎ ΠΎΠ½ΠΈ ΠΏΠΎ-ΠΏΡΠ΅ΠΆΠ½Π΅ΠΌΡ ΠΎΡΠ΅Π½Ρ ΠΏΡΠΎΡΠ½ΡΠ΅, ΡΠΈΡ ΠΈΠ΅ ΠΈ Π΄ΠΎΠ»Π³ΠΎΠ²Π΅ΡΠ½ΡΠ΅. ΠΡΠΈΠ½Ρ ΡΠΎΠ½Π½ΡΠ΅ Π΄Π²ΠΈΠ³Π°ΡΠ΅Π»ΠΈ ΠΎΡΠ»ΠΈΡΠ°ΡΡΡΡ ΡΠ΅ΠΌ, ΡΡΠΎ ΠΎΠ½ΠΈ ΠΈΡΠΏΠΎΠ»ΡΠ·ΡΡΡ ΠΈΠ½Π΄ΡΡΠΈΡΠΎΠ²Π°Π½Π½ΡΠΉ ΡΠΎΠΊ Π² ΡΠΎΡΠΎΡΠ΅ Π΄Π»Ρ ΡΠΎΠ·Π΄Π°Π½ΠΈΡ Π²ΡΠ°ΡΠ°ΡΠ΅Π»ΡΠ½ΠΎΠ³ΠΎ Π΄Π²ΠΈΠΆΠ΅Π½ΠΈΡ.
ΠΡΠΈΠ½Ρ ΡΠΎΠ½Π½ΡΠ΅ Π΄Π²ΠΈΠ³Π°ΡΠ΅Π»ΠΈΡΠΎΡΡΠΎΡΡ ΠΈΠ· Π΄Π²ΡΡ ΠΏΡΠΎΡΡΡΡ ΡΠ°ΡΡΠ΅ΠΉ: ΡΡΠ°ΡΠΎΡΠ° Ρ ΠΌΠ΅Π΄Π½ΠΎΠΉ ΠΎΠ±ΠΌΠΎΡΠΊΠΎΠΉ ΠΈ ΡΠ·Π»Π° ΡΠΊΠΎΡΡ ΠΈΠ»ΠΈ ΡΠΎΡΠΎΡΠ°.ΠΠ±ΠΌΠΎΡΠΊΠΈ ΡΡΠ°ΡΠΎΡΠ° ΡΠ΄Π΅ΡΠΆΠΈΠ²Π°ΡΡΡΡ Π² ΠΏΠ°Π·Π°Ρ Π²ΠΎΠΊΡΡΠ³ ΡΡΠ°ΡΠΎΡΠ° Ρ ΡΠΎΠ±Π»ΡΠ΄Π΅Π½ΠΈΠ΅ΠΌ Π±Π°Π»Π°Π½ΡΠ° ΠΌΠ΅ΠΆΠ΄Ρ ΠΊΠΎΠ»ΠΈΡΠ΅ΡΡΠ²ΠΎΠΌ ΡΠ΅Π²Π΅ΡΠ½ΡΡ ΠΈ ΡΠΆΠ½ΡΡ ΠΏΠΎΠ»ΡΡΠΎΠ². Π‘Π±ΠΎΡΠΊΠ° ΡΠΎΡΠΎΡΠ° ΠΏΡΠΎΠΈΠ·Π²ΠΎΠ΄ΠΈΡΡΡ Π² Π½Π΅ΡΠΊΠΎΠ»ΡΠΊΠΈΡ Π²Π°ΡΠΈΠ°Π½ΡΠ°Ρ : ΡΠΎΡΠΎΡΡ Ρ ΠΊΠΎΡΠΎΡΠΊΠΎΠ·Π°ΠΌΠΊΠ½ΡΡΡΠΌ ΡΠΎΡΠΎΡΠΎΠΌ, ΡΠΎΡΠΎΡΡ Ρ ΠΊΠΎΠ½ΡΠ°ΠΊΡΠ½ΡΠΌ ΠΊΠΎΠ»ΡΡΠΎΠΌ ΠΈ ΡΠΎΡΠΎΡΡ ΡΠΎ ΡΠΏΠ»ΠΎΡΠ½ΡΠΌ ΡΠ΅ΡΠ΄Π΅ΡΠ½ΠΈΠΊΠΎΠΌ.
ΠΡΠΈ Π΄Π²ΠΈΠ³Π°ΡΠ΅Π»ΠΈ Π»ΡΡΡΠ΅ Π²ΡΠ΅Π³ΠΎ ΠΏΠΎΠ΄Ρ ΠΎΠ΄ΡΡ Π΄Π»Ρ Π½ΡΠΆΠ΄ ΠΌΠ°Π»ΠΎΠΉ ΠΌΠΎΡΠ½ΠΎΡΡΠΈ ΠΈ ΠΏΡΠΈΠ»ΠΎΠΆΠ΅Π½ΠΈΠΉ, Π³Π΄Π΅ Π±ΡΠ»ΠΎ Π±Ρ Π½Π΅ΡΡΡΠ΅ΠΊΡΠΈΠ²Π½ΠΎ ΠΈΡΠΏΠΎΠ»ΡΠ·ΠΎΠ²Π°ΡΡ Π±ΠΎΠ»Π΅Π΅ ΠΌΠΎΡΠ½ΡΠ΅ ΠΌΠ΅Ρ Π°Π½ΠΈΠ·ΠΌΡ. ΠΠ½ΠΎΠ³ΠΈΠ΅ ΠΎΠ΄Π½ΠΎΡΠ°Π·Π½ΡΠ΅ Π΄Π²ΠΈΠ³Π°ΡΠ΅Π»ΠΈ ΠΈΠ΄Π΅Π°Π»ΡΠ½ΠΎ ΠΏΠΎΠ΄Ρ ΠΎΠ΄ΡΡ Π΄Π»Ρ ΠΏΡΠΈΠΌΠ΅Π½Π΅Π½ΠΈΠΉ Ρ Π½ΠΈΠ·ΠΊΠΈΠΌ ΠΌΠΎΠΌΠ΅Π½ΡΠΎΠΌ ΠΈΠ½Π΅ΡΡΠΈΠΈ, Π² ΡΠΎ Π²ΡΠ΅ΠΌΡ ΠΊΠ°ΠΊ Π΄ΡΡΠ³ΠΈΠ΅ ΡΠΏΡΠΎΠ΅ΠΊΡΠΈΡΠΎΠ²Π°Π½Ρ Π΄Π»Ρ ΡΠ΄ΠΎΠ²Π»Π΅ΡΠ²ΠΎΡΠ΅Π½ΠΈΡ ΡΡΠ΅Π±ΠΎΠ²Π°Π½ΠΈΠΉ ΠΊ Π²ΡΡΠΎΠΊΠΎΠΌΡ ΠΏΡΡΠΊΠΎΠ²ΠΎΠΌΡ ΠΊΡΡΡΡΡΠ΅ΠΌΡ ΠΌΠΎΠΌΠ΅Π½ΡΡ.
Π’ΠΈΠΏΡ Π΄Π²ΠΈΠ³Π°ΡΠ΅Π»Π΅ΠΉ Π² ΡΠΏΡΠ°Π²Π»Π΅Π½ΠΈΠΈ Π΄Π²ΠΈΠΆΠ΅Π½ΠΈΠ΅ΠΌ
ΠΠΎΠ·ΠΌΠΎΠΆΠ½ΠΎ, ΠΌΡ Π½Π΅ ΠΏΡΠΎΠΈΠ·Π²ΠΎΠ΄ΠΈΠΌ Π΄Π²ΠΈΠ³Π°ΡΠ΅Π»ΠΈ Π½Π° ADVANCED Motion Controls, Π½ΠΎ ΠΌΡ ΡΠ°Π±ΠΎΡΠ°Π΅ΠΌ Ρ Π½ΠΈΠΌΠΈ ΠΊΠ°ΠΆΠ΄ΡΠΉ Π΄Π΅Π½Ρ ΠΈ ΡΠΎΠ·Π΄Π°Π΅ΠΌ ΡΠ΅ΡΠ²ΠΎΠΏΡΠΈΠ²ΠΎΠ΄Ρ, ΡΡΠΎΠ±Ρ ΠΎΠ½ΠΈ ΡΠ°Π±ΠΎΡΠ°Π»ΠΈ, ΡΠ°ΠΊ ΡΡΠΎ ΠΌΠΎΠΆΠ½ΠΎ ΡΠΊΠ°Π·Π°ΡΡ, ΡΡΠΎ ΠΌΡ ΠΊΠΎΠ΅-ΡΡΠΎ ΠΎ Π½ΠΈΡ Π·Π½Π°Π΅ΠΌ. ΠΡ ΠΎΡΠ΅Π½Ρ Π³ΠΎΡΠ΄ΠΈΠΌΡΡ ΡΠ΅ΠΌ, ΡΡΠΎ ΠΌΠΎΠΆΠ΅ΠΌ ΠΎΠ±ΡΠ»ΡΠΆΠΈΠ²Π°ΡΡ Π»ΡΠ±ΠΎΠ΅ ΠΏΡΠΈΠ»ΠΎΠΆΠ΅Π½ΠΈΠ΅, Π° ΡΡΠΎ ΠΎΠ·Π½Π°ΡΠ°Π΅Ρ, ΡΡΠΎ Ρ Π½Π°Ρ Π΅ΡΡΡ ΠΏΡΠΈΠ²ΠΎΠ΄ ΠΏΡΠ°ΠΊΡΠΈΡΠ΅ΡΠΊΠΈ Π΄Π»Ρ Π»ΡΠ±ΠΎΠ³ΠΎ ΡΠΈΠΏΠ° Π΄Π²ΠΈΠ³Π°ΡΠ΅Π»Ρ, ΠΊΠΎΡΠΎΡΡΠΉ Π²Ρ ΠΌΠΎΠΆΠ΅ΡΠ΅ Π½Π°ΠΉΡΠΈ. ΠΠ°ΠΊΠΈΠ΅ Π΅ΡΡΡ ΠΌΠΎΡΠΎΡΡ ΠΈ Π³Π΄Π΅ ΠΎΠ½ΠΈ ΠΈΡΠΏΠΎΠ»ΡΠ·ΡΡΡΡΡ?
Π‘Π΅ΡΠ²ΠΎΠ΄Π²ΠΈΠ³Π°ΡΠ΅Π»ΠΈ
Π ΠΎΠ±ΡΠ΅ΠΌ, Π²ΡΠ΅ ΡΠ΅ΡΠ²ΠΎΠ΄Π²ΠΈΠ³Π°ΡΠ΅Π»ΠΈ ΠΎΡΠ½ΠΎΡΡΡΡΡ ΠΊ Π΄Π²ΠΈΠ³Π°ΡΠ΅Π»ΡΠΌ Ρ ΠΏΠΎΡΡΠΎΡΠ½Π½ΡΠΌΠΈ ΠΌΠ°Π³Π½ΠΈΡΠ°ΠΌΠΈ, Ρ ΠΊΠΎΡΠΎΡΡΡ Π΅ΡΡΡ ΠΏΠΎΡΡΠΎΡΠ½Π½ΡΠ΅ ΠΌΠ°Π³Π½ΠΈΡΡ Π»ΠΈΠ±ΠΎ Π² ΡΡΠ°ΡΠΎΡΠ΅ (ΡΠ°ΡΡΡ, ΠΊΠΎΡΠΎΡΠ°Ρ ΠΎΡΡΠ°Π΅ΡΡΡ Π½Π΅ΠΏΠΎΠ΄Π²ΠΈΠΆΠ½ΠΎΠΉ), Π»ΠΈΠ±ΠΎ Π² ΡΠΎΡΠΎΡΠ΅ (ΡΠ°ΡΡΡ, ΠΊΠΎΡΠΎΡΠ°Ρ Π²ΡΠ°ΡΠ°Π΅ΡΡΡ Π² ΡΠ΅ΡΠ΅Π΄ΠΈΠ½Π΅ ΡΡΠ°ΡΠΎΡΠ°).ΠΠ΄Π½Π°ΠΊΠΎ ΡΠΎ Π²ΡΠ΅ΠΌΠ΅Π½Π΅ΠΌ Π³ΡΠ°Π½ΠΈΡΡ ΡΠΎΠ³ΠΎ, ΡΡΠΎ ΡΠ°ΠΊΠΎΠ΅ ΡΠ΅ΡΠ²ΠΎΠ΄Π²ΠΈΠ³Π°ΡΠ΅Π»Ρ, Π° ΡΡΠΎ Π½Π΅Ρ, ΡΡΠ°Π»ΠΈ Π½Π΅ΠΌΠ½ΠΎΠ³ΠΎ ΡΠ°Π·ΠΌΡΡΡΠΌΠΈ. ΠΡΠ° Π½Π΅ΠΎΠ΄Π½ΠΎΠ·Π½Π°ΡΠ½ΠΎΡΡΡ ΡΠ°ΡΡΠΈΡΠ½ΠΎ ΡΠ²ΡΠ·Π°Π½Π° Ρ ΡΠ°ΡΡΠΈΡΠ΅Π½ΠΈΠ΅ΠΌ ΠΈΡΠΏΠΎΠ»ΡΠ·ΠΎΠ²Π°Π½ΠΈΡ ΡΠ΅ΡΠ²ΠΎΠΏΡΠΈΠ²ΠΎΠ΄ΠΎΠ² ΠΏΠΎΠΌΠΈΠΌΠΎ ΡΠ΅ΡΠ²ΠΎΡΠΏΡΠ°Π²Π»Π΅Π½ΠΈΡ.
ΠΠ΅ΡΡΡΠΈΠ»Π΅ΡΠΈΡ Π½Π°Π·Π°Π΄ ΡΠ΅ΡΠ²ΠΎΠΏΡΠΈΠ²ΠΎΠ΄Ρ Π»ΠΈΡΡ ΡΡΠΈΠ»ΠΈΠ²Π°Π»ΠΈ ΠΊΠΎΠΌΠ°Π½Π΄Π½ΡΠΉ ΡΠΈΠ³Π½Π°Π», ΠΎΡΡΡΠ΄Π° ΠΈ ΠΈΡ Π°Π»ΡΡΠ΅ΡΠ½Π°ΡΠΈΠ²Π½ΠΎΠ΅ Π½Π°Π·Π²Π°Π½ΠΈΠ΅ — ΡΠ΅ΡΠ²ΠΎΡΡΠΈΠ»ΠΈΡΠ΅Π»ΠΈ. ΠΠΎ ΠΌΠ΅ΡΠ΅ ΡΠ°Π·Π²ΠΈΡΠΈΡ ΡΠ΅Ρ Π½ΠΎΠ»ΠΎΠ³ΠΈΠΈ ΡΠΏΡΠ°Π²Π»Π΅Π½ΠΈΡ Π΄Π²ΠΈΠΆΠ΅Π½ΠΈΠ΅ΠΌ ΠΈΠ½ΠΆΠ΅Π½Π΅ΡΡ ΠΎΠ±Π½Π°ΡΡΠΆΠΈΠ»ΠΈ, ΡΡΠΎ ΡΠ΅ΡΠ²ΠΎΡΡΠΈΠ»ΠΈΡΠ΅Π»ΠΈ ΠΌΠΎΠΆΠ½ΠΎ ΠΌΠΎΠ΄ΠΈΡΠΈΡΠΈΡΠΎΠ²Π°ΡΡ ΠΈ Π½Π°ΡΡΡΠ°ΠΈΠ²Π°ΡΡ Π΄Π»Ρ ΡΠΏΡΠ°Π²Π»Π΅Π½ΠΈΡ Π΄ΡΡΠ³ΠΈΠΌΠΈ ΡΠΈΠΏΠ°ΠΌΠΈ Π΄Π²ΠΈΠ³Π°ΡΠ΅Π»Π΅ΠΉ ΡΠ°ΠΊ ΠΆΠ΅, ΠΊΠ°ΠΊ ΠΎΠ½ΠΈ ΡΠΏΡΠ°Π²Π»ΡΡΡ ΡΠ΅ΡΠ²ΠΎΠ΄Π²ΠΈΠ³Π°ΡΠ΅Π»ΡΠΌΠΈ.Π‘Π΅Π³ΠΎΠ΄Π½ΡΡΠ½ΠΈΠ΅ ΡΠ΅ΡΠ²ΠΎΠΏΡΠΈΠ²ΠΎΠ΄Ρ Π³ΠΎΡΠ°Π·Π΄ΠΎ Π±ΠΎΠ»Π΅Π΅ ΡΠ½ΠΈΠ²Π΅ΡΡΠ°Π»ΡΠ½Ρ ΠΈ ΠΌΠΎΠ³ΡΡ Π±ΡΡΡ Π»Π΅Π³ΠΊΠΎ ΡΠΊΠΎΠ½ΡΠΈΠ³ΡΡΠΈΡΠΎΠ²Π°Π½Ρ Π΄Π»Ρ ΡΠ°ΠΌΡΡ ΡΠ°Π·Π½ΡΡ ΡΠΈΠΏΠΎΠ² Π΄Π²ΠΈΠ³Π°ΡΠ΅Π»Π΅ΠΉ, Π½ΠΎ ΠΏΡΠΈ ΡΡΠΎΠΌ Π² ΠΈΡ Π½Π°Π·Π²Π°Π½ΠΈΠΈ Π²ΡΠ΅ Π΅ΡΠ΅ ΡΠΎΡ ΡΠ°Π½ΡΠ΅ΡΡΡ ΡΠ»ΠΎΠ²ΠΎ Β«ΡΠ΅ΡΠ²ΠΎΠΏΡΠΈΠ²ΠΎΠ΄Β».
Π‘Π΅ΡΠ²ΠΎΠ΄Π²ΠΈΠ³Π°ΡΠ΅Π»ΠΈΠΈΡΠΏΠΎΠ»ΡΠ·ΡΡΡΡΡ Π² ΠΌΠΈΠ»Π»ΠΈΠΎΠ½Π°Ρ ΠΏΡΠΈΠ»ΠΎΠΆΠ΅Π½ΠΈΠΉ — ΠΎΡ ΡΡΠ°Π½ΡΠΏΠΎΡΡΠ½ΡΡ ΡΡΠ΅Π΄ΡΡΠ² Ρ Π΄ΠΈΡΡΠ°Π½ΡΠΈΠΎΠ½Π½ΡΠΌ ΡΠΏΡΠ°Π²Π»Π΅Π½ΠΈΠ΅ΠΌ Π΄ΠΎ ΡΡΠ΅Π·Π΅ΡΠ½ΡΡ ΡΡΠ°Π½ΠΊΠΎΠ² Ρ Π§ΠΠ£ ΠΈ Ρ ΠΈΡΡΡΠ³ΠΈΡΠ΅ΡΠΊΠΈΡ ΡΠΎΠ±ΠΎΡΠΎΠ². Π‘Π΅ΡΠ²ΠΎΠ΄Π²ΠΈΠ³Π°ΡΠ΅Π»ΠΈ ΠΏΠΎΠΏΡΠ»ΡΡΠ½Ρ ΠΏΠΎ ΡΡΠ΄Ρ ΠΏΡΠΈΡΠΈΠ½, Π²ΠΊΠ»ΡΡΠ°Ρ ΠΈΡ ΡΠ½Π΅ΡΠ³ΠΎΡΡΡΠ΅ΠΊΡΠΈΠ²Π½ΠΎΡΡΡ ΠΈ Π½Π΅Π±ΠΎΠ»ΡΡΠΈΠ΅ ΡΠ°Π·ΠΌΠ΅ΡΡ. ΠΠΎ ΡΠ°ΠΌΠΎΠ΅ Π³Π»Π°Π²Π½ΠΎΠ΅, ΠΎΠ½ΠΈ ΠΌΠΎΠ³ΡΡ ΠΏΡΠ΅Π΄Π»ΠΎΠΆΠΈΡΡ ΠΎΡΠ΅Π½Ρ ΡΠΎΡΠ½ΠΎΠ΅ ΡΠΏΡΠ°Π²Π»Π΅Π½ΠΈΠ΅, ΠΊΠΎΠ³Π΄Π° Ρ Π½ΠΈΡ Π΅ΡΡΡ ΡΡΡΡΠΎΠΉΡΡΠ²ΠΎ ΠΎΠ±ΡΠ°ΡΠ½ΠΎΠΉ ΡΠ²ΡΠ·ΠΈ ΠΈ ΡΠ΅ΡΠ²ΠΎΠΏΡΠΈΠ²ΠΎΠ΄. ADVANCED ΠΡΠΈΠ²ΠΎΠ΄Ρ Motion Controls ΡΠΏΠΎΡΠΎΠ±Π½Ρ ΡΠΏΡΠ°Π²Π»ΡΡΡ ΠΏΡΠ°ΠΊΡΠΈΡΠ΅ΡΠΊΠΈ Π»ΡΠ±ΡΠΌ ΡΠ΅ΡΠ²ΠΎΠ΄Π²ΠΈΠ³Π°ΡΠ΅Π»Π΅ΠΌ, ΠΊΠΎΡΠΎΡΡΠΉ Π²Ρ ΠΌΠΎΠΆΠ΅ΡΠ΅ Π½Π°ΠΉΡΠΈ.
ΠΠ°ΡΠΎΠ²ΡΠΉ DC (ΠΎΠ΄Π½ΠΎΡΠ°Π·Π½ΡΠΉ)
ΠΠ»Π΅ΠΊΡΡΠΎΠ΄Π²ΠΈΠ³Π°ΡΠ΅Π»ΠΈ ΠΏΠΎΡΡΠΎΡΠ½Π½ΠΎΠ³ΠΎ ΡΠΎΠΊΠ° Ρ ΡΠ΅ΡΠΎΡΠ½ΡΠΌ ΠΏΠΎΠΊΡΡΡΠΈΠ΅ΠΌ — ΡΡΠΎ, ΠΏΠΎΠΆΠ°Π»ΡΠΉ, ΡΠ°ΠΌΡΠΉ ΠΏΡΠΎΡΡΠΎΠΉ ΡΠΈΠΏ ΡΠ»Π΅ΠΊΡΡΠΎΠ΄Π²ΠΈΠ³Π°ΡΠ΅Π»Π΅ΠΉ. Π£ Π²Π°Ρ Π΅ΡΡΡ ΠΏΠΎΡΡΠΎΡΠ½Π½ΡΠ΅ ΠΌΠ°Π³Π½ΠΈΡΡ, Π·Π°ΠΊΡΠ΅ΠΏΠ»Π΅Π½Π½ΡΠ΅ Π² ΡΡΠ°ΡΠΎΡΠ΅, ΠΈ Π²ΠΈΡΠΊΠΈ ΠΏΡΠΎΠ²ΠΎΠ»ΠΎΠΊΠΈ Π² ΡΠΎΡΠΎΡΠ΅. ΠΠΎΠ³Π΄Π° ΡΠ»Π΅ΠΊΡΡΠΈΡΠ΅ΡΠΊΠΈΠΉ ΡΠΎΠΊ ΠΏΡΠΎΡ ΠΎΠ΄ΠΈΡ ΡΠ΅ΡΠ΅Π· ΠΊΠ°ΡΡΡΠΊΠΈ, ΠΌΠ°Π³Π½ΠΈΡΠ½ΠΎΠ΅ ΠΏΠΎΠ»Π΅ ΡΠΎΠ·Π΄Π°Π΅Ρ ΡΠΈΠ»Ρ, ΠΊΠΎΡΠΎΡΠ°Ρ Π·Π°ΡΡΠ°Π²Π»ΡΠ΅Ρ ΡΠΎΡΠΎΡ Π΄Π²ΠΈΠ³Π°ΡΡΡΡ. ΠΠΎΠΏΡΠΎΡ Π² ΡΠΎΠΌ, ΠΊΠ°ΠΊ ΠΏΠΎΡΡΠΎΡΠ½Π½ΠΎ ΠΏΠΎΠ΄Π°Π²Π°ΡΡ ΠΏΠΎΡΡΠΎΡΠ½Π½ΡΠΉ ΡΠΎΠΊ Π½Π° Π²ΡΠ°ΡΠ°ΡΡΠΈΠΉΡΡ ΠΎΠ±ΡΠ΅ΠΊΡ, ΡΡΠΎΠ±Ρ ΠΏΡΠΎΠ²ΠΎΠ΄Π° Π½Π΅ Π·Π°ΠΏΡΡΠ°Π»ΠΈΡΡ? ΠΡΠ²Π΅Ρ — ΡΠΎΠΊΠΎΠΏΡΠΎΠ²ΠΎΠ΄ΡΡΠΈΠ΅ ΡΠ΅ΡΠΊΠΈ ΠΈ ΠΊΠΎΠΌΠΌΡΡΠ°ΡΠΎΡ.
ΠΠΎΠΌΠΌΡΡΠ°ΡΠΎΡ ΠΏΡΠ΅Π΄ΡΡΠ°Π²Π»ΡΠ΅Ρ ΡΠΎΠ±ΠΎΠΉ ΠΊΡΡΠ³Π»ΡΡ Π΄Π΅ΡΠ°Π»Ρ Ρ ΠΌΠ΅ΡΠ°Π»Π»ΠΈΡΠ΅ΡΠΊΠΈΠΌΠΈ ΡΠΎΡΠΊΠ°ΠΌΠΈ ΠΊΠΎΠ½ΡΠ°ΠΊΡΠ°, ΠΏΠΎΠ΄ΠΊΠ»ΡΡΠ΅Π½Π½ΡΠΌΠΈ ΠΊ ΠΊΠ°ΠΆΠ΄ΠΎΠΉ ΠΏΠ΅ΡΠ»Π΅ ΠΊΠ°ΡΡΡΠΊΠΈ ΡΠΎΡΠΎΡΠ°. ΠΠ»Π΅ΠΊΡΡΠΎΠΏΡΠΎΠ²ΠΎΠ΄ΡΡΠΈΠ΅ ΡΠ΅ΡΠΊΠΈ Π½Π΅ ΠΏΠΎΡ ΠΎΠΆΠΈ Π½Π° ΡΠ΅ΡΠΊΠΈ Π΄Π»Ρ Π²ΠΎΠ»ΠΎΡ; ΠΠ±ΡΡΠ½ΠΎ ΠΎΠ½ΠΈ ΠΏΡΠ΅Π΄ΡΡΠ°Π²Π»ΡΡΡ ΡΠΎΠ±ΠΎΠΉ ΠΊΡΡΠΎΡΠΊΠΈ Π³ΡΠ°ΡΠΈΡΠΎΠ²ΠΎΠΉ ΡΠΌΠ΅ΡΠΈ, ΠΊΠΎΡΠΎΡΡΠ΅ ΠΏΠΎΠ΄ΠΏΡΡΠΆΠΈΠ½Π΅Π½Ρ Π΄Π»Ρ ΡΠ»Π΅ΠΊΡΡΠΈΡΠ΅ΡΠΊΠΎΠ³ΠΎ ΠΊΠΎΠ½ΡΠ°ΠΊΡΠ° Ρ ΠΊΠΎΠΌΠΌΡΡΠ°ΡΠΎΡΠΎΠΌ Π΄Π²ΠΈΠ³Π°ΡΠ΅Π»Ρ, ΠΊΠΎΠ³Π΄Π° ΠΎΠ½ Π²ΡΠ°ΡΠ°Π΅ΡΡΡ Π΄Π»Ρ ΠΎΠ±Π΅ΡΠΏΠ΅ΡΠ΅Π½ΠΈΡ ΡΠ»Π΅ΠΊΡΡΠΈΡΠ΅ΡΠΊΠΎΠ³ΠΎ ΡΠΎΠΊΠ°. ΠΠ½ΠΈ ΠΏΡΠ΅Π΄Π»Π°Π³Π°ΡΡ ΠΎΡΠ»ΠΈΡΠ½ΡΠ΅ Ρ Π°ΡΠ°ΠΊΡΠ΅ΡΠΈΡΡΠΈΠΊΠΈ ΠΏΠΎ ΡΠΊΠΎΠ½ΠΎΠΌΠΈΡΠ½ΠΎΠΉ ΡΠ΅Π½Π΅. ΠΠ΄Π½Π°ΠΊΠΎ ΠΎΠ΄ΠΈΠ½ Π½Π΅Π΄ΠΎΡΡΠ°ΡΠΎΠΊ Π·Π°ΠΊΠ»ΡΡΠ°Π΅ΡΡΡ Π² ΡΠΎΠΌ, ΡΡΠΎ ΡΠΈΠ·ΠΈΡΠ΅ΡΠΊΠΈΠΉ ΠΊΠΎΠ½ΡΠ°ΠΊΡ ΠΌΠ΅ΠΆΠ΄Ρ ΡΠ΅ΡΠΊΠ°ΠΌΠΈ ΠΈ ΠΊΠΎΠΌΠΌΡΡΠ°ΡΠΎΡΠΎΠΌ ΡΠΎΠ·Π΄Π°Π΅Ρ ΡΡΠ΅Π½ΠΈΠ΅, ΠΊΠΎΡΠΎΡΠΎΠ΅ ΠΈΠ·Π½Π°ΡΠΈΠ²Π°Π΅Ρ ΡΠ΅ΡΠΊΠΈ ΠΈ ΡΠΎ Π²ΡΠ΅ΠΌΠ΅Π½Π΅ΠΌ ΡΠΎΠ·Π΄Π°Π΅Ρ ΠΌΠ½ΠΎΠΆΠ΅ΡΡΠ²ΠΎ ΡΠ°ΡΡΠΈΡ ΠΏΡΠ»ΠΈ.ΠΠ·-Π·Π° ΡΡΠΎΠ³ΠΎ ΡΠ΅ΡΠΎΡΠ½ΡΠ΅ Π΄Π²ΠΈΠ³Π°ΡΠ΅Π»ΠΈ Π±ΠΎΠ»Π΅Π΅ ΠΏΠΎΠ΄Π²Π΅ΡΠΆΠ΅Π½Ρ Π·Π°ΡΡΠ°ΡΠ°ΠΌ Π½Π° ΡΠ΅Ρ Π½ΠΈΡΠ΅ΡΠΊΠΎΠ΅ ΠΎΠ±ΡΠ»ΡΠΆΠΈΠ²Π°Π½ΠΈΠ΅ Π² ΡΠ΅ΡΠ΅Π½ΠΈΠ΅ Π΄Π»ΠΈΡΠ΅Π»ΡΠ½ΠΎΠ³ΠΎ ΠΏΠ΅ΡΠΈΠΎΠ΄Π° Π²ΡΠ΅ΠΌΠ΅Π½ΠΈ, ΡΠ΅ΠΌ ΠΈΡ Π±Π΅ΡΡΠ΅ΡΠΎΡΠ½ΡΠ΅ Π°Π½Π°Π»ΠΎΠ³ΠΈ, Π½Π΅ΡΠΌΠΎΡΡΡ Π½Π° Π±ΠΎΠ»Π΅Π΅ Π½ΠΈΠ·ΠΊΠΈΠ΅ Π½Π°ΡΠ°Π»ΡΠ½ΡΠ΅ Π·Π°ΡΡΠ°ΡΡ. ΠΠ»Ρ Π½Π΅Π΄ΠΎΡΠΎΠ³ΠΈΡ ΠΏΡΠΈΠ»ΠΎΠΆΠ΅Π½ΠΈΠΉ, ΠΏΡΠΈΠ»ΠΎΠΆΠ΅Π½ΠΈΠΉ Ρ ΠΊΠΎΡΠΎΡΠΊΠΈΠΌ ΡΡΠΎΠΊΠΎΠΌ ΡΠ»ΡΠΆΠ±Ρ ΠΈΠ»ΠΈ ΠΏΡΠΈΠ»ΠΎΠΆΠ΅Π½ΠΈΠΉ, Π³Π΄Π΅ Π΄Π²ΠΈΠ³Π°ΡΠ΅Π»Ρ Π»Π΅Π³ΠΊΠΎ Π΄ΠΎΡΡΡΠΏΠ΅Π½ Π΄Π»Ρ ΡΠ΅ΠΌΠΎΠ½ΡΠ° ΠΈΠ»ΠΈ Π·Π°ΠΌΠ΅Π½Ρ, ΡΠ΅ΡΠΎΡΠ½ΡΠΉ Π΄Π²ΠΈΠ³Π°ΡΠ΅Π»Ρ ΠΏΠΎΡΡΠΎΡΠ½Π½ΠΎΠ³ΠΎ ΡΠΎΠΊΠ° ΠΌΠΎΠΆΠ΅Ρ ΠΏΠΎΠΌΠΎΡΡ.
Π£ΠΏΡΠ°Π²Π»Π΅Π½ΠΈΠ΅ ΡΠ΅ΡΠ²ΠΎΠ΄Π²ΠΈΠ³Π°ΡΠ΅Π»Π΅ΠΌ— ΡΡΠΎ Π½Π°ΡΠ° ΠΈΠ³ΡΠ°, ΠΏΠΎΡΡΠΎΠΌΡ ΠΊΠ°ΠΆΠ΄ΡΠΉ ΡΠ΅ΡΠ²ΠΎΠΏΡΠΈΠ²ΠΎΠ΄ ADVANCED Motion Controls ΠΌΠΎΠΆΠ΅Ρ ΡΠ°Π±ΠΎΡΠ°ΡΡ Ρ ΡΠ΅ΡΠΎΡΠ½ΡΠΌ Π΄Π²ΠΈΠ³Π°ΡΠ΅Π»Π΅ΠΌ ΠΏΠΎΡΡΠΎΡΠ½Π½ΠΎΠ³ΠΎ ΡΠΎΠΊΠ°, ΠΊΠΎΠ½Π΅ΡΠ½ΠΎ, ΠΏΡΠΈ ΡΡΠ»ΠΎΠ²ΠΈΠΈ, ΡΡΠΎ ΠΎΠ½ Π½Π°Ρ ΠΎΠ΄ΠΈΡΡΡ Π² ΡΠΎΠΎΡΠ²Π΅ΡΡΡΠ²ΡΡΡΠ΅ΠΌ Π΄ΠΈΠ°ΠΏΠ°Π·ΠΎΠ½Π΅ ΠΌΠΎΡΠ½ΠΎΡΡΠΈ.
ΠΠ΅ΡΡΠ΅ΡΠΎΡΠ½ΡΠΉ DC (ΡΡΠ΅Ρ ΡΠ°Π·Π½ΡΠΉ)
ΠΠ΅ΡΡΠ΅ΡΠΎΡΠ½ΡΠ΅ Π΄Π²ΠΈΠ³Π°ΡΠ΅Π»ΠΈ ΠΈΡΠΏΠΎΠ»ΡΠ·ΡΡΡ ΠΏΡΠΎΡΠΈΠ²ΠΎΠΏΠΎΠ»ΠΎΠΆΠ½ΡΠΉ ΠΏΠΎΠ΄Ρ ΠΎΠ΄, ΡΠ΅ΠΌ ΡΠ΅ΡΠΎΡΠ½ΡΠ΅ Π΄Π²ΠΈΠ³Π°ΡΠ΅Π»ΠΈ. ΠΠ½ΠΈ ΠΏΠΎΠΌΠ΅ΡΠ°ΡΡ Π² ΡΠΎΡΠΎΡ ΠΏΠΎΡΡΠΎΡΠ½Π½ΡΠ΅ ΠΌΠ°Π³Π½ΠΈΡΡ ΠΈ ΠΏΡΠΎΠΏΡΡΠΊΠ°ΡΡ ΡΠ»Π΅ΠΊΡΡΠΈΡΠ΅ΡΡΠ²ΠΎ ΡΠ΅ΡΠ΅Π· ΡΡΠ°ΡΠΎΡ. ΠΠ΅Ρ Π°Π½ΠΈΡΠ΅ΡΠΊΠΎΠ³ΠΎ ΠΊΠΎΠΌΠΌΡΡΠ°ΡΠΎΡΠ° Π±ΠΎΠ»ΡΡΠ΅ Π½Π΅Ρ. ΠΠΌΠ΅ΡΡΠΎ ΡΡΠΎΠ³ΠΎ ΡΡΠΈ ΡΠ°Π·Ρ Π΄Π²ΠΈΠ³Π°ΡΠ΅Π»Ρ ΡΡΠ°ΡΠΎΡΠ° ΠΏΠΈΡΠ°ΡΡΡΡ ΠΏΠΎΡΡΠΎΡΠ½Π½ΡΠΌ ΡΠΎΠΊΠΎΠΌ, Π° ΠΈΡ ΠΊΠ°ΡΡΡΠΊΠΈ Π²Π·Π°ΠΈΠΌΠΎΠ΄Π΅ΠΉΡΡΠ²ΡΡΡ Ρ ΠΌΠ°Π³Π½ΠΈΡΠ½ΡΠΌ ΠΏΠΎΠ»Π΅ΠΌ ΠΎΡ ΠΌΠ°Π³Π½ΠΈΡΠΎΠ² ΡΠΎΡΠΎΡΠ°. ΠΠ»Π°Π³ΠΎΠ΄Π°ΡΡ ΡΠ΅ΡΠ΅Π΄ΠΎΠ²Π°Π½ΠΈΡ, ΠΊΠ°ΠΊΠ°Ρ ΠΈΠ· Π΄Π²ΡΡ ΡΠ°Π· Π΄Π²ΠΈΠ³Π°ΡΠ΅Π»Ρ Π°ΠΊΡΠΈΠ²Π½Π° ΠΎΠ΄Π½ΠΎΠ²ΡΠ΅ΠΌΠ΅Π½Π½ΠΎ, ΡΠΏΡΠ°Π²Π»ΡΠ΅ΠΌΡΠΌ ΠΎΠ±ΡΠ°Π·ΠΎΠΌ, ΠΌΠ°Π³Π½ΠΈΡΠ½ΡΠ΅ ΠΏΠΎΠ»Ρ Π·Π°ΡΡΠ°Π²Π»ΡΡΡ ΡΠΎΡΠΎΡ Π²ΡΠ°ΡΠ°ΡΡΡΡ.
ΠΠ΅ΡΡΠ΅ΡΠΎΡΠ½ΡΠ΅ Π΄Π²ΠΈΠ³Π°ΡΠ΅Π»ΠΈΠΏΠΎΡΡΠΎΡΠ½Π½ΠΎΠ³ΠΎ ΡΠΎΠΊΠ° ΠΎΠ±ΡΡΠ½ΠΎ ΡΡΠΎΡΡ Π΄ΠΎΡΠΎΠΆΠ΅, ΡΠ΅ΠΌ ΠΈΡ ΡΠ΅ΡΠΎΡΠ½ΡΠ΅ Π°Π½Π°Π»ΠΎΠ³ΠΈ. ΠΠ΄Π½Π°ΠΊΠΎ ΡΠΌΠ΅Π½ΡΡΠ΅Π½Π½ΡΠΉ ΠΌΠ΅Ρ Π°Π½ΠΈΡΠ΅ΡΠΊΠΈΠΉ ΠΊΠΎΠ½ΡΠ°ΠΊΡ (ΡΠ°ΠΊΠΆΠ΅ ΠΈΠ·Π²Π΅ΡΡΠ½ΡΠΉ ΠΊΠ°ΠΊ ΠΎΡΡΡΡΡΡΠ²ΠΈΠ΅ ΡΠ΅ΡΠΎΠΊ) Π² Π±Π΅ΡΡΠ΅ΡΠΎΡΠ½ΡΡ Π΄Π²ΠΈΠ³Π°ΡΠ΅Π»ΡΡ ΠΏΠΎΡΡΠΎΡΠ½Π½ΠΎΠ³ΠΎ ΡΠΎΠΊΠ° ΠΎΠ·Π½Π°ΡΠ°Π΅Ρ ΠΎΡΠ»ΠΈΡΠ½ΠΎΠ΅ ΡΠ°ΡΡΠ΅ΠΈΠ²Π°Π½ΠΈΠ΅ ΡΠ΅ΠΏΠ»Π°, ΠΌΠ΅Π½ΡΡΡΡ ΠΏΠΎΡΡΠ΅Π±Π½ΠΎΡΡΡ Π² ΡΠ΅Ρ Π½ΠΈΡΠ΅ΡΠΊΠΎΠΌ ΠΎΠ±ΡΠ»ΡΠΆΠΈΠ²Π°Π½ΠΈΠΈ ΠΈ Π±ΠΎΠ»Π΅Π΅ Π²ΡΡΠΎΠΊΠΈΠΉ ΡΠ»Π΅ΠΊΡΡΠΈΡΠ΅ΡΠΊΠΈΠΉ ΠΠΠ, ΡΡΠΎ Π² ΠΊΠΎΠ½Π΅ΡΠ½ΠΎΠΌ ΠΈΡΠΎΠ³Π΅ ΠΌΠΎΠΆΠ΅Ρ ΡΠ½ΠΈΠ·ΠΈΡΡ Π·Π°ΡΡΠ°ΡΡ.
ΠΠ»Ρ ΠΏΡΠΈΠΌΠ΅Π½Π΅Π½ΠΈΠΉ, Π² ΠΊΠΎΡΠΎΡΡΡ Π΄Π²ΠΈΠ³Π°ΡΠ΅Π»Ρ ΠΌΠΎΠΆΠ΅Ρ Π±ΡΡΡ ΡΡΡΠ΄Π½ΠΎΠ΄ΠΎΡΡΡΠΏΠ½ΡΠΌ Π΄Π»Ρ ΠΎΠ±ΡΠ»ΡΠΆΠΈΠ²Π°Π½ΠΈΡ ΠΈΠ»ΠΈ ΡΡΠ΅Π±ΡΠ΅ΡΡΡ Π±ΠΎΠ»Π΅Π΅ Π²ΡΡΠΎΠΊΠ°Ρ ΡΡΡΠ΅ΠΊΡΠΈΠ²Π½ΠΎΡΡΡ, ΡΠ΅ΠΌ ΡΠ΅ΡΠΎΡΠ½ΡΠΉ Π΄Π²ΠΈΠ³Π°ΡΠ΅Π»Ρ, ΡΡΠ΅Ρ ΡΠ°Π·Π½ΡΠΉ Π±Π΅ΡΡΠ΅ΡΠΎΡΠ½ΡΠΉ Π΄Π²ΠΈΠ³Π°ΡΠ΅Π»Ρ ΠΏΠΎΡΡΠΎΡΠ½Π½ΠΎΠ³ΠΎ ΡΠΎΠΊΠ° ΠΌΠΎΠΆΠ΅Ρ Π±ΡΡΡ ΠΏΠΎΠ΄Ρ ΠΎΠ΄ΡΡΠΈΠΌ Π²Π°ΡΠΈΠ°Π½ΡΠΎΠΌ.
ΠΠ΅ΡΡΠ΅ΡΠΎΡΠ½ΡΠ΅ ΡΠ΅ΡΠ²ΠΎΠ΄Π²ΠΈΠ³Π°ΡΠ΅Π»ΠΈ Π»Π΅Π³ΠΊΠΎ ΡΠΏΡΠ°Π²Π»ΡΡΡΡΡ Ρ Π½Π°ΡΠΈΠΌΠΈ ΠΏΡΠΎΠ΄ΡΠΊΡΠ°ΠΌΠΈ. ΠΠ° Π½Π΅ΠΊΠΎΡΠΎΡΡΠΌΠΈ ΠΈΡΠΊΠ»ΡΡΠ΅Π½ΠΈΡΠΌΠΈ, Π²ΡΠ΅ Π½Π°ΡΠΈ Π°ΠΊΡΠΈΠ²Π½ΠΎ ΠΏΡΠΎΠ΄Π°Π²Π°Π΅ΠΌΡΠ΅ ΡΠ΅ΡΠ²ΠΎΠΏΡΠΈΠ²ΠΎΠ΄Ρ ΠΌΠΎΠ³ΡΡ ΡΠ°Π±ΠΎΡΠ°ΡΡ Ρ Π±Π΅ΡΡΠ΅ΡΠΎΡΠ½ΡΠΌΠΈ Π΄Π²ΠΈΠ³Π°ΡΠ΅Π»ΡΠΌΠΈ ΠΏΠΎΡΡΠΎΡΠ½Π½ΠΎΠ³ΠΎ ΡΠΎΠΊΠ°.
ΠΠ΅ΡΡΠ΅ΡΠΎΡΠ½ΡΠΉ AC
ΠΠ΅ΡΡΠ΅ΡΠΎΡΠ½ΡΠ΅ ΡΠ΅ΡΠ²ΠΎΠ΄Π²ΠΈΠ³Π°ΡΠ΅Π»ΠΈ ΠΏΠ΅ΡΠ΅ΠΌΠ΅Π½Π½ΠΎΠ³ΠΎ ΡΠΎΠΊΠ°, ΡΠ°ΠΊΠΆΠ΅ ΠΈΠ·Π²Π΅ΡΡΠ½ΡΠ΅ ΠΊΠ°ΠΊ ΡΠΈΠ½Ρ ΡΠΎΠ½Π½ΡΠ΅ Π΄Π²ΠΈΠ³Π°ΡΠ΅Π»ΠΈ Ρ ΠΏΠΎΡΡΠΎΡΠ½Π½ΡΠΌΠΈ ΠΌΠ°Π³Π½ΠΈΡΠ°ΠΌΠΈ ΠΈΠ»ΠΈ PMAC, Π½Π΅Π²Π΅ΡΠΎΡΡΠ½ΠΎ ΡΡΡΠ΅ΠΊΡΠΈΠ²Π½Ρ. ΠΠ°ΠΊ ΠΈ Π² Π±Π΅ΡΡΠ΅ΡΠΎΡΠ½ΡΡ Π΄Π²ΠΈΠ³Π°ΡΠ΅Π»ΡΡ ΠΏΠΎΡΡΠΎΡΠ½Π½ΠΎΠ³ΠΎ ΡΠΎΠΊΠ°, ΡΠ»Π΅ΠΊΡΡΠΈΡΠ΅ΡΠΊΠΈΠΉ ΡΠΎΠΊ ΠΏΡΠΎΡ ΠΎΠ΄ΠΈΡ ΡΠ΅ΡΠ΅Π· ΡΡΠ°ΡΠΎΡ, Π° ΠΏΠΎΡΡΠΎΡΠ½Π½ΡΠ΅ ΠΌΠ°Π³Π½ΠΈΡΡ Π½Π°Ρ ΠΎΠ΄ΡΡΡΡ Π² ΡΠΎΡΠΎΡΠ΅.
Π Π½Π°ΡΠΈ Π΄Π½ΠΈ ΡΠ°Π·Π½ΠΈΡΠ° Π·Π°ΠΊΠ»ΡΡΠ°Π΅ΡΡΡ Π½Π΅ Π² ΡΠ°ΠΌΠΈΡ Π΄Π²ΠΈΠ³Π°ΡΠ΅Π»ΡΡ ΠΏΡΠΈ ΡΡΠ°Π²Π½Π΅Π½ΠΈΠΈ Π±Π΅ΡΡΠ΅ΡΠΎΡΠ½ΡΡ Π΄Π²ΠΈΠ³Π°ΡΠ΅Π»Π΅ΠΉ ΠΏΠ΅ΡΠ΅ΠΌΠ΅Π½Π½ΠΎΠ³ΠΎ ΡΠΎΠΊΠ° Ρ Π±Π΅ΡΡΠ΅ΡΠΎΡΠ½ΡΠΌΠΈ Π΄Π²ΠΈΠ³Π°ΡΠ΅Π»ΡΠΌΠΈ ΠΏΠΎΡΡΠΎΡΠ½Π½ΠΎΠ³ΠΎ ΡΠΎΠΊΠ°, Π° Π² ΡΠΎΠΌ, ΠΊΠ°ΠΊ ΠΎΠ½ΠΈ ΡΠΏΡΠ°Π²Π»ΡΡΡΡΡ ΡΠ΅ΡΠ²ΠΎΠΏΡΠΈΠ²ΠΎΠ΄ΠΎΠΌ.Π Π±Π΅ΡΡΠ΅ΡΠΎΡΠ½ΠΎΠΌ ΠΏΠ΅ΡΠ΅ΠΌΠ΅Π½Π½ΠΎΠΌ ΡΠΎΠΊΠ΅ ΡΠΎΠΊ ΠΏΠΎΡΡΠΎΡΠ½Π½ΠΎ ΠΏΡΠΎΡ ΠΎΠ΄ΠΈΡ ΡΠ΅ΡΠ΅Π· ΡΡΠΈ ΡΠ°Π·Ρ, Π½ΠΎ ΡΠ΅ΡΠ΅Π΄ΡΠ΅ΡΡΡ Π²Π·Π°Π΄ ΠΈ Π²ΠΏΠ΅ΡΠ΅Π΄ ΠΏΠΎ ΡΠΈΠ½ΡΡΠΎΠΈΠ΄Π΅, ΠΊΠ°ΠΊ Π΅ΡΠ»ΠΈ Π±Ρ Π²Ρ Π²ΠΈΠ΄Π΅Π»ΠΈ ΠΈΡΡΠΎΡΠ½ΠΈΠΊ ΠΏΠ΅ΡΠ΅ΠΌΠ΅Π½Π½ΠΎΠ³ΠΎ ΡΠΎΠΊΠ° ΠΈΠ· ΡΡΠ΅Π½Ρ. ΠΡΠΎ ΡΠ²Π»Π΅Π½ΠΈΠ΅ ΡΠΎΠ·Π΄Π°Π΅Ρ ΡΠΈΡΡΠΎΠ΅ Π²ΡΠ°ΡΠ°ΡΡΠ΅Π΅ΡΡ ΠΌΠ°Π³Π½ΠΈΡΠ½ΠΎΠ΅ ΠΏΠΎΠ»Π΅, Π²ΡΠ°ΡΠ°ΡΡΠ΅Π΅ΡΡ Π³ΠΎΡΠ°Π·Π΄ΠΎ Π±ΠΎΠ»Π΅Π΅ ΠΏΠ»Π°Π²Π½ΠΎ, ΡΠ΅ΠΌ ΠΌΠ°Π³Π½ΠΈΡΠ½ΠΎΠ΅ ΠΏΠΎΠ»Π΅, Π΄ΠΎΡΡΠΈΠ³Π°Π΅ΠΌΠΎΠ΅ ΠΏΡΡΠ΅ΠΌ Π²ΠΊΠ»ΡΡΠ΅Π½ΠΈΡ ΠΈ Π²ΡΠΊΠ»ΡΡΠ΅Π½ΠΈΡ ΡΠ°Π· Π΄Π²ΠΈΠ³Π°ΡΠ΅Π»Ρ Π² Π±Π΅ΡΡΠ΅ΡΠΎΡΠ½ΠΎΠΌ Π΄Π²ΠΈΠ³Π°ΡΠ΅Π»Π΅ ΠΏΠΎΡΡΠΎΡΠ½Π½ΠΎΠ³ΠΎ ΡΠΎΠΊΠ°.
ΠΠ°ΠΊ ΠΈ Π±Π΅ΡΡΠ΅ΡΠΎΡΠ½ΡΠ΅ Π΄Π²ΠΈΠ³Π°ΡΠ΅Π»ΠΈ ΠΏΠΎΡΡΠΎΡΠ½Π½ΠΎΠ³ΠΎ ΡΠΎΠΊΠ°, ΠΎΠ½ΠΈ ΡΠ΅Π΄ΠΊΠΎ ΡΡΠ΅Π±ΡΡΡ ΠΎΠ±ΡΠ»ΡΠΆΠΈΠ²Π°Π½ΠΈΡ ΠΈΠ·-Π·Π° ΠΎΡΡΡΡΡΡΠ²ΠΈΡ ΠΌΠ΅Ρ Π°Π½ΠΈΡΠ΅ΡΠΊΠΈΡ ΡΠ΅ΡΠΎΠΊ. ΠΠ΅Π΄ΠΎΡΡΠ°ΡΠΊΠΎΠΌ Π±Π΅ΡΡΠ΅ΡΠΎΡΠ½ΡΡ Π΄Π²ΠΈΠ³Π°ΡΠ΅Π»Π΅ΠΉ ΠΏΠ΅ΡΠ΅ΠΌΠ΅Π½Π½ΠΎΠ³ΠΎ ΡΠΎΠΊΠ° ΠΏΠΎ ΡΡΠ°Π²Π½Π΅Π½ΠΈΡ Ρ Π±Π΅ΡΡΠ΅ΡΠΎΡΠ½ΡΠΌΠΈ Π΄Π²ΠΈΠ³Π°ΡΠ΅Π»ΡΠΌΠΈ ΠΏΠΎΡΡΠΎΡΠ½Π½ΠΎΠ³ΠΎ ΡΠΎΠΊΠ° (ΠΈ Π°ΡΠΈΠ½Ρ ΡΠΎΠ½Π½ΡΠΌΠΈ Π΄Π²ΠΈΠ³Π°ΡΠ΅Π»ΡΠΌΠΈ ΠΏΠ΅ΡΠ΅ΠΌΠ΅Π½Π½ΠΎΠ³ΠΎ ΡΠΎΠΊΠ°, ΠΊΠΎΡΠΎΡΡΠ΅ Π±ΡΠ΄ΡΡ ΡΠ°ΡΡΠΌΠΎΡΡΠ΅Π½Ρ ΠΏΠΎΠ·ΠΆΠ΅) ΡΠ²Π»ΡΠ΅ΡΡΡ ΠΈΡ Π΅ΡΠ΅ Π±ΠΎΠ»ΡΡΠ°Ρ Π½Π°ΡΠ°Π»ΡΠ½Π°Ρ ΡΡΠΎΠΈΠΌΠΎΡΡΡ.ΠΠ΄Π½Π°ΠΊΠΎ ΠΈΡ ΡΡΡΠ΅ΠΊΡΠΈΠ²Π½ΠΎΡΡΡ ΠΈ ΠΌΠΈΠ½ΠΈΠΌΠ°Π»ΡΠ½ΡΠ΅ Π·Π°ΡΡΠ°ΡΡ Π½Π° ΠΎΠ±ΡΠ»ΡΠΆΠΈΠ²Π°Π½ΠΈΠ΅ ΠΌΠΎΠ³ΡΡ ΠΊΠΎΠΌΠΏΠ΅Π½ΡΠΈΡΠΎΠ²Π°ΡΡ ΡΡΠΎ Π² Π΄ΠΎΠ»Π³ΠΎΡΡΠΎΡΠ½ΠΎΠΉ ΠΏΠ΅ΡΡΠΏΠ΅ΠΊΡΠΈΠ²Π΅.
Π‘Π΅ΡΠ²ΠΎΠΏΡΠΈΠ²ΠΎΠ΄ΡAMC DigiFlex Performance ΠΈ FlexPro ΠΌΠΎΠ³ΡΡ Π±ΡΡΡ ΡΠΊΠΎΠ½ΡΠΈΠ³ΡΡΠΈΡΠΎΠ²Π°Π½Ρ Π΄Π»Ρ ΡΠ°Π±ΠΎΡΡ Π±Π΅Π·ΡΠ΅ΡΠΎΡΠ½ΡΡ Π΄Π²ΠΈΠ³Π°ΡΠ΅Π»Π΅ΠΉ ΠΏΠ΅ΡΠ΅ΠΌΠ΅Π½Π½ΠΎΠ³ΠΎ ΡΠΎΠΊΠ° ΠΏΡΠΈ Π½Π°Π»ΠΈΡΠΈΠΈ ΡΡΡΡΠΎΠΉΡΡΠ²Π° ΠΎΠ±ΡΠ°ΡΠ½ΠΎΠΉ ΡΠ²ΡΠ·ΠΈ.
ΠΡΡΠ³ΠΈΠ΅ ΡΠΎΡΠΎΡΠ½ΡΠ΅ Π΄Π²ΠΈΠ³Π°ΡΠ΅Π»ΠΈ
Π¨Π°Π³ΠΎΠ²ΡΠΉ
Π¨Π°Π³ΠΎΠ²ΡΠ΅ Π΄Π²ΠΈΠ³Π°ΡΠ΅Π»ΠΈ ΠΏΠΎΡ ΠΎΠΆΠΈ Π½Π° Π±Π΅ΡΡΠ΅ΡΠΎΡΠ½ΡΠ΅ Π΄Π²ΠΈΠ³Π°ΡΠ΅Π»ΠΈ, Π½ΠΎ Π΄Π²ΠΈΠΆΠ΅Π½ΠΈΠ΅ ΠΎΠΏΡΠ΅Π΄Π΅Π»ΡΠ΅ΡΡΡ ΠΏΠΎΡΠ°Π³ΠΎΠ²ΠΎ. ΠΠ°ΠΊ ΡΡΠΎ Π΄ΠΎΡΡΠΈΠ³Π°Π΅ΡΡΡ? Π ΠΎΡΠΎΡ ΠΈ ΡΡΠ°ΡΠΎΡ ΠΈΠΌΠ΅ΡΡ ΡΠΎΡΠΌΡ Β«Π·ΡΠ±ΡΠ΅Π²Β», Π½ΠΎ, Π² ΠΎΡΠ»ΠΈΡΠΈΠ΅ ΠΎΡ ΡΠ΅ΡΡΠ΅ΡΠ΅Π½, Π·ΡΠ±ΡΡ Π½Π΅ Π²Ρ ΠΎΠ΄ΡΡ Π² Π·Π°ΡΠ΅ΠΏΠ»Π΅Π½ΠΈΠ΅ — ΠΎΠ½ΠΈ ΠΈΡΠΏΠΎΠ»ΡΠ·ΡΡΡΡΡ Π΄Π»Ρ ΠΌΠ°Π³Π½ΠΈΡΠ½ΠΎΠΉ ΡΠ΅Π½ΡΡΠΎΠ²ΠΊΠΈ.Π ΡΡΠ°ΡΠΎΡΠ΅ ΠΌΠ΅Π½ΡΡΠ΅ Π·ΡΠ±ΡΠΎΠ², ΡΠ΅ΠΌ Π² ΡΠΎΡΠΎΡΠ΅, ΠΏΠΎΡΡΠΎΠΌΡ Π½Π΅ Π²ΡΠ΅ Π·ΡΠ±ΡΡ ΠΌΠΎΠΆΠ½ΠΎ Π²ΡΡΠΎΠ²Π½ΡΡΡ ΠΎΠ΄Π½ΠΎΠ²ΡΠ΅ΠΌΠ΅Π½Π½ΠΎ. ΠΡΠΈ Π½Π°ΠΌΠ°Π³Π½ΠΈΡΠΈΠ²Π°Π½ΠΈΠΈ ΡΠ°Π·Π»ΠΈΡΠ½ΡΡ ΡΠ°Π· ΡΡΠ°ΡΠΎΡΠ°, Π½Π°ΠΏΡΠΈΠΌΠ΅Ρ ΡΠ΅Π²Π΅ΡΠ½ΠΎΠΉ ΠΈΠ»ΠΈ ΡΠΆΠ½ΠΎΠΉ, ΡΠΎΡΠΎΡ Π±ΡΠ΄Π΅Ρ ΠΎΡΠ΅Π½Ρ Π½Π΅ΠΌΠ½ΠΎΠ³ΠΎ ΡΠ΄Π²ΠΈΠ³Π°ΡΡΡΡ, ΡΡΠΎΠ±Ρ Π²ΡΡΠΎΠ²Π½ΡΡΡΡΡ ΠΈΠ»ΠΈ ΠΏΡΠΎΡΠΈΠ²ΠΎΠ΄Π΅ΠΉΡΡΠ²ΠΎΠ²Π°ΡΡ Π°ΠΊΡΠΈΠ²Π½ΡΠΌ ΡΠ°Π·Π°ΠΌ.
ΠΠ°ΠΆΠ΅ Ρ Π΄Π²ΡΠΌΡ ΠΈΠ»ΠΈ ΡΡΠ΅ΠΌΡ ΡΠ°Π·Π°ΠΌΠΈ Π΄Π²ΠΈΠ³Π°ΡΠ΅Π»Ρ, ΡΠ°Π³ΠΎΠ²ΡΠ΅ Π΄Π²ΠΈΠ³Π°ΡΠ΅Π»ΠΈ ΠΌΠΎΠ³ΡΡ Π΄Π²ΠΈΠ³Π°ΡΡΡΡ Ρ ΠΎΡΠ΅Π½Ρ ΡΡΡΠΎΠ³ΠΎ ΠΊΠΎΠ½ΡΡΠΎΠ»ΠΈΡΡΠ΅ΠΌΡΠΌΠΈ ΠΏΡΠΈΡΠ°ΡΠ΅Π½ΠΈΡΠΌΠΈ Ρ ΠΊΠ°ΠΆΠ΄ΡΠΌ ΡΠ°Π³ΠΎΠΌ, ΠΊΠΎΡΠΎΡΡΠΉ ΠΌΠΎΠΆΠ΅Ρ Π±ΡΡΡ ΠΌΠ΅Π½ΡΡΠ΅ ΠΎΠ΄Π½ΠΎΠ³ΠΎ Π³ΡΠ°Π΄ΡΡΠ° Π΄Π²ΠΈΠΆΠ΅Π½ΠΈΡ. ΠΠ»Π°Π³ΠΎΠ΄Π°ΡΡ ΠΏΠΎΠ»ΡΡΠ°Π³Ρ (ΡΠ΅ΡΠ΅Π΄ΠΎΠ²Π°Π½ΠΈΠ΅ ΠΌΠ΅ΠΆΠ΄Ρ ΠΈΡΠΏΠΎΠ»ΡΠ·ΠΎΠ²Π°Π½ΠΈΠ΅ΠΌ 1 ΠΈ 2 ΡΠΎΠ³Π»Π°ΡΠΎΠ²Π°Π½Π½ΡΡ ΡΠ°Π· ΠΎΠ΄Π½ΠΎΠ²ΡΠ΅ΠΌΠ΅Π½Π½ΠΎ) ΠΈ ΠΌΠΈΠΊΡΠΎΡΠ°Π³Ρ (Π±ΠΎΠ»Π΅Π΅ ΠΏΠΎΡΡΠ΅ΠΏΠ΅Π½Π½ΠΎΠ΅ Π²ΠΊΠ»ΡΡΠ΅Π½ΠΈΠ΅ ΠΈ Π²ΡΠΊΠ»ΡΡΠ΅Π½ΠΈΠ΅ ΡΠ°Π·) ΡΠ°Π·ΡΠ΅ΡΠ΅Π½ΠΈΠ΅ ΠΌΠΎΠΆΠ½ΠΎ ΡΠ²Π΅Π»ΠΈΡΠΈΡΡ Π²Π΄Π²ΠΎΠ΅ Π·Π° ΡΡΠ΅Ρ ΠΊΡΡΡΡΡΠ΅Π³ΠΎ ΠΌΠΎΠΌΠ΅Π½ΡΠ°.ΠΠ»Π°Π³ΠΎΠ΄Π°ΡΡ ΡΡΠΎΠΌΡ ΡΠ°Π³ΠΎΠ²ΡΠ΅ Π΄Π²ΠΈΠ³Π°ΡΠ΅Π»ΠΈ ΠΎΡΠ»ΠΈΡΠ½ΠΎ ΠΏΠΎΠ΄Ρ ΠΎΠ΄ΡΡ Π΄Π»Ρ Π²ΡΡΠΎΠΊΠΎΡΠΎΡΠ½ΡΡ ΠΏΡΠΈΠ»ΠΎΠΆΠ΅Π½ΠΈΠΉ.
ΠΡ Π²ΠΈΠ΄ΠΈΡΠ΅ ΡΠΏΡΠ°Π²Π»Π΅Π½ΠΈΠ΅ ΡΠ°Π³ΠΎΠ²ΡΠΌ Π΄Π²ΠΈΠ³Π°ΡΠ΅Π»Π΅ΠΌ Π² ΠΏΡΠΈΠ½ΡΠ΅ΡΠ°Ρ (2D ΠΈ 3D), ΠΎΠΏΡΠΈΠΊΠ΅, Π½ΠΈΠ·ΠΊΠΎΠΏΡΠΎΠΈΠ·Π²ΠΎΠ΄ΠΈΡΠ΅Π»ΡΠ½ΡΡ Π½Π°ΡΡΠΎΠ»ΡΠ½ΡΡ ΡΡΠ°Π½ΠΊΠ°Ρ Ρ Π§ΠΠ£, ΠΊΠΎΠΌΠΏΡΡΡΠ΅ΡΠ½ΡΡ ΠΊΠΎΠΌΠΏΠΎΠ½Π΅Π½ΡΠ°Ρ , ΠΎΠ±ΡΠ΅ΠΊΡΠΈΠ²Π°Ρ ΠΊΠ°ΠΌΠ΅Ρ ΠΈ Π΄ΡΡΠ³ΠΈΡ ΡΡΡΡΠΎΠΉΡΡΠ²Π°Ρ , ΠΊΠΎΡΠΎΡΡΠΌ ΡΡΠ΅Π±ΡΠ΅ΡΡΡ ΡΠΎΡΠ½ΠΎΠ΅ ΡΠΏΡΠ°Π²Π»Π΅Π½ΠΈΠ΅ ΠΏΠΎΠ»ΠΎΠΆΠ΅Π½ΠΈΠ΅ΠΌ. ADVANCED ΠΠ»Π΅ΠΌΠ΅Π½ΡΡ ΡΠΏΡΠ°Π²Π»Π΅Π½ΠΈΡ Π΄Π²ΠΈΠΆΠ΅Π½ΠΈΠ΅ΠΌ Π‘Π΅ΡΠ²ΠΎΠΏΡΠΈΠ²ΠΎΠ΄Ρ FlexPro ΠΈ DigiFlexPerformance ΠΌΠΎΠ³ΡΡ ΡΠ°Π±ΠΎΡΠ°ΡΡ Ρ ΡΠ°Π³ΠΎΠ²ΡΠΌΠΈ Π΄Π²ΠΈΠ³Π°ΡΠ΅Π»ΡΠΌΠΈ Ρ ΠΎΠ±ΡΠ°ΡΠ½ΠΎΠΉ ΡΠ²ΡΠ·ΡΡ. ΠΡΠΎ ΠΎΠ·Π½Π°ΡΠ°Π΅Ρ, ΡΡΠΎ Π΄Π²ΠΈΠ³Π°ΡΠ΅Π»ΡΠΌ Π½ΡΠΆΠ½Π° ΠΎΠ±ΡΠ°ΡΠ½Π°Ρ ΡΠ²ΡΠ·Ρ ΠΎΡ ΡΠ½ΠΊΠΎΠ΄Π΅ΡΠ°, ΡΡΠΎΠ±Ρ ΡΠ΅ΡΠ²ΠΎΠΏΡΠΈΠ²ΠΎΠ΄Ρ ΠΌΠΎΠ³Π»ΠΈ ΡΠΏΡΠ°Π²Π»ΡΡΡ ΠΈΠΌΠΈ ΠΊΠ°ΠΊ ΡΠ΅ΡΠ²ΠΎΠ΄Π²ΠΈΠ³Π°ΡΠ΅Π»ΡΠΌΠΈ.
ΠΠ½Π΄ΡΠΊΡΠΈΡ ΠΏΠ΅ΡΠ΅ΠΌΠ΅Π½Π½ΠΎΠ³ΠΎ ΡΠΎΠΊΠ°
ΠΠ·ΠΎΠ±ΡΠ΅ΡΠ΅Π½Π½ΡΠ΅ ΠΠΈΠΊΠΎΠ»ΠΎΠΉ Π’Π΅ΡΠ»Π° Π°ΡΠΈΠ½Ρ ΡΠΎΠ½Π½ΡΠ΅ Π΄Π²ΠΈΠ³Π°ΡΠ΅Π»ΠΈ, Π²ΠΎΠ·ΠΌΠΎΠΆΠ½ΠΎ, ΡΠ²Π»ΡΡΡΡΡ Π½Π°ΠΈΠ±ΠΎΠ»Π΅Π΅ ΡΠ°ΡΠΏΡΠΎΡΡΡΠ°Π½Π΅Π½Π½ΡΠΌ ΡΠΈΠΏΠΎΠΌ Π΄Π²ΠΈΠ³Π°ΡΠ΅Π»Π΅ΠΉ Π² ΠΌΠΈΡΠ΅.Π ΠΎΡΠ»ΠΈΡΠΈΠ΅ ΠΎΡ Π΄ΡΡΠ³ΠΈΡ ΡΠΎΡΠΎΡΠ½ΡΡ Π΄Π²ΠΈΠ³Π°ΡΠ΅Π»Π΅ΠΉ, ΠΊΠΎΡΠΎΡΡΠ΅ ΠΌΡ ΠΎΠ±ΡΡΠΆΠ΄Π°Π»ΠΈ, Π°ΡΠΈΠ½Ρ ΡΠΎΠ½Π½ΡΠ΅ Π΄Π²ΠΈΠ³Π°ΡΠ΅Π»ΠΈ ΠΏΠ΅ΡΠ΅ΠΌΠ΅Π½Π½ΠΎΠ³ΠΎ ΡΠΎΠΊΠ° Π½Π΅ ΠΈΡΠΏΠΎΠ»ΡΠ·ΡΡΡ ΠΏΠΎΡΡΠΎΡΠ½Π½ΡΠ΅ ΠΌΠ°Π³Π½ΠΈΡΡ Π½ΠΈ Π² ΡΡΠ°ΡΠΎΡΠ΅, Π½ΠΈ Π² ΡΠΎΡΠΎΡΠ΅.
ΠΠ°ΠΊ ΠΈ Π±Π΅ΡΡΠ΅ΡΠΎΡΠ½ΡΠ΅ ΡΠ΅ΡΠ²ΠΎΠ΄Π²ΠΈΠ³Π°ΡΠ΅Π»ΠΈ ΠΏΠ΅ΡΠ΅ΠΌΠ΅Π½Π½ΠΎΠ³ΠΎ ΡΠΎΠΊΠ°, ΠΎΠ½ΠΈ ΠΈΡΠΏΠΎΠ»ΡΠ·ΡΡΡ ΡΡΠ΅Ρ ΡΠ°Π·Π½ΡΡ ΠΏΠ΅ΡΠ»Π΅Π²ΡΡ ΡΡΡΡΠΊΡΡΡΡ ΠΏΠ΅ΡΠ΅ΠΌΠ΅Π½Π½ΠΎΠ³ΠΎ ΡΠΎΠΊΠ°, ΠΊΠΎΡΠΎΡΠ°Ρ ΡΠΎΠ·Π΄Π°Π΅Ρ ΡΠΈΡΡΠΎΠ΅ Π²ΡΠ°ΡΠ°ΡΡΠ΅Π΅ΡΡ ΠΌΠ°Π³Π½ΠΈΡΠ½ΠΎΠ΅ ΠΏΠΎΠ»Π΅. ΠΠ΄Π½Π°ΠΊΠΎ Π²ΠΌΠ΅ΡΡΠΎ ΡΠΎΠ³ΠΎ, ΡΡΠΎΠ±Ρ ΠΈΡΠΏΠΎΠ»ΡΠ·ΠΎΠ²Π°ΡΡ ΠΏΠΎΠ»Π΅ Π΄Π»Ρ ΠΏΠ΅ΡΠ΅ΠΌΠ΅ΡΠ΅Π½ΠΈΡ ΠΏΠΎΡΡΠΎΡΠ½Π½ΡΡ ΠΌΠ°Π³Π½ΠΈΡΠΎΠ² Π² ΡΠΎΡΠΎΡΠ΅, ΠΌΠ°Π³Π½ΠΈΡΠ½ΡΠΉ ΠΏΠΎΡΠΎΠΊ ΠΈΠ½Π΄ΡΡΠΈΡΡΠ΅Ρ ΡΠΎΠΊ Π² ΡΠΎΡΠΎΡΠ΅, ΠΊΠΎΡΠΎΡΡΠΉ Π²ΡΠΏΠΎΠ»Π½Π΅Π½ Π² ΠΊΠΎΠ½ΡΡΡΡΠΊΡΠΈΠΈ Ρ ΠΊΠΎΡΠΎΡΠΊΠΎΠ·Π°ΠΌΠΊΠ½ΡΡΡΠΌ ΡΠΎΡΠΎΡΠΎΠΌ. ΠΠ°ΡΠ΅ΠΌ ΡΡΠΎΡ ΡΠΎΠΊ ΡΠΎΠ·Π΄Π°Π΅Ρ ΠΌΠ°Π³Π½ΠΈΡΠ½ΠΎΠ΅ ΠΏΠΎΠ»Π΅, ΠΊΠΎΡΠΎΡΠΎΠ΅ Π²Π·Π°ΠΈΠΌΠΎΠ΄Π΅ΠΉΡΡΠ²ΡΠ΅Ρ Ρ ΠΌΠ°Π³Π½ΠΈΡΠ½ΡΠΌ ΠΏΠΎΠ»Π΅ΠΌ ΡΡΠ°ΡΠΎΡΠ° ΠΈ Π·Π°ΡΡΠ°Π²Π»ΡΠ΅Ρ ΡΠΎΡΠΎΡ Π²ΡΠ°ΡΠ°ΡΡΡΡ.Π Π½Π΅ΠΊΠΎΡΠΎΡΠΎΠΌ ΡΠΌΡΡΠ»Π΅ ΡΠΎΡΠΎΡ ΠΏΠΎΡΡΠΎΡΠ½Π½ΠΎ ΠΏΡΡΠ°Π΅ΡΡΡ Π΄ΠΎΠ³Π½Π°ΡΡ Π²ΡΠ°ΡΠ°ΡΡΠ΅Π΅ΡΡ ΠΌΠ°Π³Π½ΠΈΡΠ½ΠΎΠ΅ ΠΏΠΎΠ»Π΅ ΡΡΠ°ΡΠΎΡΠ°. Π Π°Π·Π½ΠΈΡΠ° Π² ΡΠΊΠΎΡΠΎΡΡΠΈ Π½Π°Π·ΡΠ²Π°Π΅ΡΡΡ ΡΠΊΠΎΠ»ΡΠΆΠ΅Π½ΠΈΠ΅ΠΌ.
Π‘ΠΊΠΎΡΠΎΡΡΡ Π°ΡΠΈΠ½Ρ ΡΠΎΠ½Π½ΠΎΠ³ΠΎ Π΄Π²ΠΈΠ³Π°ΡΠ΅Π»Ρ ΠΏΠ΅ΡΠ΅ΠΌΠ΅Π½Π½ΠΎΠ³ΠΎ ΡΠΎΠΊΠ° ΠΌΠΎΠΆΠ½ΠΎ ΡΠ΅Π³ΡΠ»ΠΈΡΠΎΠ²Π°ΡΡ, ΠΏΡΠΎΡΡΠΎ ΡΠ΅Π³ΡΠ»ΠΈΡΡΡ ΡΠ°ΡΡΠΎΡΡ ΠΏΠ΅ΡΠ΅ΠΌΠ΅Π½Π½ΠΎΠ³ΠΎ ΡΠΎΠΊΠ°. ΠΡΠΎΠΌΠ΅ ΡΠΎΠ³ΠΎ, ΠΈΡΠΏΠΎΠ»ΡΠ·ΠΎΠ²Π°Π½ΠΈΠ΅ ΠΏΠ΅ΡΠ΅ΠΌΠ΅Π½Π½ΠΎΠ³ΠΎ ΡΠΎΠΊΠ° Π² ΠΎΡΠ»ΠΈΡΠΈΠ΅ ΠΎΡ ΠΏΠΎΡΡΠΎΡΠ½Π½ΠΎΠ³ΠΎ ΡΠΎΠΊΠ° ΡΠ°ΠΌΠΎ ΠΏΠΎ ΡΠ΅Π±Π΅ ΠΌΠΎΠΆΠ΅Ρ ΡΠ΄Π΅Π»Π°ΡΡ ΡΡΠΈ Π΄Π²ΠΈΠ³Π°ΡΠ΅Π»ΠΈ ΠΎΡΠ΅Π½Ρ ΠΏΡΠΈΠ²Π»Π΅ΠΊΠ°ΡΠ΅Π»ΡΠ½ΡΠΌΠΈ Π΄Π»Ρ ΠΏΡΠΈΠ»ΠΎΠΆΠ΅Π½ΠΈΠΉ Ρ ΠΎΡΠ΅Π½Ρ Π±ΠΎΠ»ΡΡΠΎΠΉ ΠΌΠΎΡΠ½ΠΎΡΡΡΡ. ΠΠ°ΠΊ ΡΠ΅Π·ΡΠ»ΡΡΠ°Ρ. ΠΡΠΈΠ½Ρ ΡΠΎΠ½Π½ΡΠ΅ Π΄Π²ΠΈΠ³Π°ΡΠ΅Π»ΠΈ ΠΏΠ΅ΡΠ΅ΠΌΠ΅Π½Π½ΠΎΠ³ΠΎ ΡΠΎΠΊΠ° ΠΎΠ±ΡΡΠ½ΠΎ ΠΈΡΠΏΠΎΠ»ΡΠ·ΡΡΡΡΡ Π² Π±ΠΎΠ»ΡΡΠΈΡ ΡΡΡΡΠΎΠΉΡΡΠ²Π°Ρ , ΡΠ°ΠΊΠΈΡ ΠΊΠ°ΠΊ ΠΊΡΠ°Π½Ρ, Π»ΠΈΡΡΡ, ΡΠ»Π΅ΠΊΡΡΠΎΠΌΠΎΠ±ΠΈΠ»ΠΈ ΠΈ Π΄ΡΡΠ³ΠΎΠ΅ ΡΡΠΆΠ΅Π»ΠΎΠ΅ ΠΎΠ±ΠΎΡΡΠ΄ΠΎΠ²Π°Π½ΠΈΠ΅.ΠΡΠ΅ ΡΠΈΡΡΠΎΠ²ΡΠ΅ ΡΠ΅ΡΠ²ΠΎΠΏΡΠΈΠ²ΠΎΠ΄Ρ ADVANCED Motion Controls ΠΌΠΎΠ³ΡΡ ΡΠ°Π±ΠΎΡΠ°ΡΡ Ρ Π²Π΅ΠΊΡΠΎΡΠ½ΡΠΌΠΈ Π΄Π²ΠΈΠ³Π°ΡΠ΅Π»ΡΠΌΠΈ Ρ Π·Π°ΠΌΠΊΠ½ΡΡΡΠΌ ΠΊΠΎΠ½ΡΡΡΠΎΠΌ, Π² ΠΎΡΠ½ΠΎΠ²Π½ΠΎΠΌ Ρ Π°ΡΠΈΠ½Ρ ΡΠΎΠ½Π½ΡΠΌΠΈ Π΄Π²ΠΈΠ³Π°ΡΠ΅Π»ΡΠΌΠΈ ΠΏΠ΅ΡΠ΅ΠΌΠ΅Π½Π½ΠΎΠ³ΠΎ ΡΠΎΠΊΠ° Ρ ΠΎΠ±ΡΠ°ΡΠ½ΠΎΠΉ ΡΠ²ΡΠ·ΡΡ ΠΎΡ ΡΠ½ΠΊΠΎΠ΄Π΅ΡΠ°.
ΠΠ΅Π²ΡΠ°ΡΠ°ΡΡΠΈΠ΅ΡΡ Π΄Π²ΠΈΠ³Π°ΡΠ΅Π»ΠΈ
ΠΠ΅ Π²ΡΠ΅ ΠΏΡΠΈΠ»ΠΎΠΆΠ΅Π½ΠΈΡ Π΄Π»Ρ ΡΠΏΡΠ°Π²Π»Π΅Π½ΠΈΡ Π΄Π²ΠΈΠΆΠ΅Π½ΠΈΠ΅ΠΌ Π²ΠΊΠ»ΡΡΠ°ΡΡ Π²ΡΠ°ΡΠ΅Π½ΠΈΠ΅ ΡΠ΅Π³ΠΎ-Π»ΠΈΠ±ΠΎ ΠΈΠ»ΠΈ ΡΠΎΡΠ»Π΅Π½Π΅Π½ΠΈΠ΅ ΡΡΡΡΠ°Π²ΠΎΠ².
ΠΠΈΠ½Π΅ΠΉΠ½ΡΠ΅ Π΄Π²ΠΈΠ³Π°ΡΠ΅Π»ΠΈ
ΠΠΈΠ½Π΅ΠΉΠ½ΡΠ΅ Π΄Π²ΠΈΠ³Π°ΡΠ΅Π»ΠΈ ΠΌΠΎΠΆΠ½ΠΎ ΡΠ°ΡΡΠΌΠ°ΡΡΠΈΠ²Π°ΡΡ ΠΊΠ°ΠΊ «ΡΠ°Π·Π²Π΅ΡΠ½ΡΡΡΠ΅» Π±Π΅ΡΡΠ΅ΡΠΎΡΠ½ΡΠ΅ Π΄Π²ΠΈΠ³Π°ΡΠ΅Π»ΠΈ ΠΏΠΎΡΡΠΎΡΠ½Π½ΠΎΠ³ΠΎ ΡΠΎΠΊΠ°, Π² ΠΊΠΎΡΠΎΡΡΡ ΡΡΠ°ΡΠΎΡ ΠΈ ΡΠΎΡΠΎΡ ΠΌΠ΅Π½ΡΡΡΡΡ ΠΌΠ΅ΡΡΠ°ΠΌΠΈ. ΠΡΡΡ Π΄Π»ΠΈΠ½Π½Π°Ρ Π΄ΠΎΡΠΎΠΆΠΊΠ° ΠΈΠ· ΠΏΠΎΡΡΠΎΡΠ½Π½ΡΡ ΠΌΠ°Π³Π½ΠΈΡΠΎΠ², ΡΠ΅ΡΠ΅Π΄ΡΡΡΠΈΡ ΡΡ ΠΏΠΎ ΠΏΠΎΠ»ΡΡΠ½ΠΎΡΡΠΈ, ΠΈ Π΄Π²ΠΈΠΆΡΡΠ°ΡΡΡ ΠΊΠ°ΡΠ΅ΡΠΊΠ° Ρ ΡΡΠ΅ΠΌΡ ΡΠ°Π·Π°ΠΌΠΈ ΠΊΠ°ΡΡΡΠ΅ΠΊ.ΠΠ°ΠΏΡΠ°Π²Π»Π΅Π½ΠΈΠ΅ ΡΠΎΠΊΠ° ΡΠ΅ΡΠ΅Π· ΡΡΠΈ ΠΊΠ°ΡΡΡΠΊΠΈ Π½Π°ΠΌΠ°Π³Π½ΠΈΡΠΈΠ²Π°Π΅Ρ ΡΠ°Π·Ρ ΡΠ΅Π²Π΅Ρ ΠΈΠ»ΠΈ ΡΠ³, ΡΡΠΎ ΡΠΎΠΎΡΠ²Π΅ΡΡΡΠ²Π΅Π½Π½ΠΎ ΡΡΠ½Π΅Ρ ΠΈΠ»ΠΈ ΡΠΎΠ»ΠΊΠ°Π΅Ρ Π΅Π³ΠΎ ΠΏΠΎ ΠΌΠΎΡΠΎΡΠ½ΠΎΠΉ Π΄ΠΎΡΠΎΠΆΠΊΠ΅.
ΠΡΠΈ Π΄Π²ΠΈΠ³Π°ΡΠ΅Π»ΠΈ ΠΈΡΠΏΠΎΠ»ΡΠ·ΡΡΡΡΡ Π² ΠΏΡΠΈΠ»ΠΎΠΆΠ΅Π½ΠΈΡΡ , Π³Π΄Π΅ ΡΡΠ΅Π±ΡΠ΅ΡΡΡ ΡΠΎΡΠ½ΠΎΠ΅ ΠΈ Π²ΡΡΠΎΠΊΠΎΡΠΊΠΎΡΠΎΡΡΠ½ΠΎΠ΅ Π»ΠΈΠ½Π΅ΠΉΠ½ΠΎΠ΅ Π΄Π²ΠΈΠΆΠ΅Π½ΠΈΠ΅, Π½Π°ΠΏΡΠΈΠΌΠ΅Ρ, Π² ΠΏΡΠΎΠΌΡΡΠ»Π΅Π½Π½ΡΡ 3D-ΠΏΡΠΈΠ½ΡΠ΅ΡΠ°Ρ ΠΈΠ»ΠΈ Π΄Π΅ΠΌΠΎΠ½ΡΡΡΠ°ΡΠΈΡΡ AMC ΠΏΠΎ ΠΌΠ΅ΡΠ°Π½ΠΈΡ ΠΌΡΡΠ°. ΠΠ½ΠΈ ΠΌΠΎΠ³ΡΡ Π±ΡΡΡ ΠΎΡΠΈΠ΅Π½ΡΠΈΡΠΎΠ²Π°Π½Ρ Π³ΠΎΡΠΈΠ·ΠΎΠ½ΡΠ°Π»ΡΠ½ΠΎ, Π²Π΅ΡΡΠΈΠΊΠ°Π»ΡΠ½ΠΎ ΠΈΠ»ΠΈ ΠΏΠΎΠ΄ ΡΠ³Π»ΠΎΠΌ. ΠΠ΄Π½Π°ΠΊΠΎ ΡΡΠΈ ΡΡΠ½ΠΊΡΠΈΠΈ Π² Π±ΡΠΊΠ²Π°Π»ΡΠ½ΠΎΠΌ ΡΠΌΡΡΠ»Π΅ ΠΈΠΌΠ΅ΡΡ ΡΠ²ΠΎΡ ΡΠ΅Π½Ρ; Π»ΠΈΠ½Π΅ΠΉΠ½ΡΠ΅ Π΄Π²ΠΈΠ³Π°ΡΠ΅Π»ΠΈ Π½Π°ΠΌΠ½ΠΎΠ³ΠΎ Π΄ΠΎΡΠΎΠΆΠ΅, ΡΠ΅ΠΌ Π΄ΡΡΠ³ΠΈΠ΅ ΡΠΈΠΏΡ Π΄Π²ΠΈΠ³Π°ΡΠ΅Π»Π΅ΠΉ.
ΠΡΠ΅ ADVANCED Π¦ΠΈΡΡΠΎΠ²ΡΠ΅ ΡΠ΅ΡΠ²ΠΎΠΏΡΠΈΠ²ΠΎΠ΄Ρ DigiFlex Performance ΠΈ FlexPro ΠΌΠΎΠ³ΡΡ ΡΠ°Π±ΠΎΡΠ°ΡΡ Ρ Π»ΠΈΠ½Π΅ΠΉΠ½ΡΠΌΠΈ Π΄Π²ΠΈΠ³Π°ΡΠ΅Π»ΡΠΌΠΈ.
ΠΠΈΠ½Π΅ΠΉΠ½ΡΠΉ ΠΏΡΠΈΠ²ΠΎΠ΄
ΠΠΈΠ½Π΅ΠΉΠ½ΡΠ΅ ΠΏΡΠΈΠ²ΠΎΠ΄Ρ ΡΠ²Π»ΡΡΡΡΡ Π°Π»ΡΡΠ΅ΡΠ½Π°ΡΠΈΠ²ΠΎΠΉ Π»ΠΈΠ½Π΅ΠΉΠ½ΡΠΌ Π΄Π²ΠΈΠ³Π°ΡΠ΅Π»ΡΠΌ. Π’Π΅Ρ Π½ΠΈΡΠ΅ΡΠΊΠΈ ΡΡΠΎ Π½Π΅ ΡΠΎΠ²ΡΠ΅ΠΌ Π΄ΡΡΠ³ΠΎΠΉ ΡΠΈΠΏ Π΄Π²ΠΈΠ³Π°ΡΠ΅Π»Ρ. ΠΡΠΎ ΡΠΎΡΠΎΡΠ½ΡΠΉ Π΄Π²ΠΈΠ³Π°ΡΠ΅Π»Ρ, ΡΠ°ΠΊΠΎΠΉ ΠΊΠ°ΠΊ ΡΠ΅ΡΠ²ΠΎΠΏΡΠΈΠ²ΠΎΠ΄, Π°ΡΠΈΠ½Ρ ΡΠΎΠ½Π½ΡΠΉ ΠΈΠ»ΠΈ ΡΠ°Π³ΠΎΠ²ΡΠΉ Π΄Π²ΠΈΠ³Π°ΡΠ΅Π»Ρ, ΡΠΎΠ΅Π΄ΠΈΠ½Π΅Π½Π½ΡΠΉ Ρ ΡΠ°ΡΠΈΠΊΠΎ-Π²ΠΈΠ½ΡΠΎΠ²ΡΠΌ ΠΌΠ΅Ρ Π°Π½ΠΈΠ·ΠΌΠΎΠΌ Π΄Π»Ρ ΡΠΎΠ·Π΄Π°Π½ΠΈΡ Π»ΠΈΠ½Π΅ΠΉΠ½ΠΎΠ³ΠΎ Π΄Π²ΠΈΠΆΠ΅Π½ΠΈΡ. ΠΠΎΡΠΊΠΎΠ»ΡΠΊΡ ΡΡΠ° ΠΊΠΎΠ½ΡΡΡΡΠΊΡΠΈΡ ΠΎΡΠ΅Π½Ρ ΡΡΠ²ΡΡΠ²ΠΈΡΠ΅Π»ΡΠ½Π° ΠΊ Π»ΡΡΡΡ, Π΄Π²ΠΎΠΉΠ½Π°Ρ ΠΎΠ±ΡΠ°ΡΠ½Π°Ρ ΡΠ²ΡΠ·Ρ ΡΠ°ΡΡΠΎ ΠΈΡΠΏΠΎΠ»ΡΠ·ΡΠ΅ΡΡΡ, ΠΊΠΎΠ³Π΄Π° ΡΡΠ΅Π±ΡΠ΅ΡΡΡ ΡΠΎΡΠ½ΠΎΡΡΡ. Π ΠΊΠΎΠ½ΡΡΡΠ°Ρ ΠΈΡΠΏΠΎΠ»ΡΠ·ΡΠ΅ΡΡΡ ΠΎΠ΄Π½ΠΎ ΡΡΡΡΠΎΠΉΡΡΠ²ΠΎ ΠΎΠ±ΡΠ°ΡΠ½ΠΎΠΉ ΡΠ²ΡΠ·ΠΈ Π½Π° ΡΠΎΡΠΎΡΠ½ΠΎΠΌ Π΄Π²ΠΈΠ³Π°ΡΠ΅Π»Π΅ ΠΈ ΠΎΠ΄Π½ΠΎ ΡΡΡΡΠΎΠΉΡΡΠ²ΠΎ Π½Π° Π»ΠΈΠ½Π΅ΠΉΠ½ΠΎ-ΠΏΠΎΠ΄Π²ΠΈΠΆΠ½ΠΎΠΌ ΡΠ»Π΅ΠΌΠ΅Π½ΡΠ΅.
ΠΠΈΠ½Π΅ΠΉΠ½ΡΠ΅ ΠΏΡΠΈΠ²ΠΎΠ΄Ρ ΠΈΡΠΏΠΎΠ»ΡΠ·ΡΡΡΡΡ Π²ΠΎ ΠΌΠ½ΠΎΠ³ΠΈΡ ΡΡΡΡΠΎΠΉΡΡΠ²Π°Ρ , ΡΠ°ΠΊΠΈΡ ΠΊΠ°ΠΊ Π±ΠΎΠ»ΡΡΠΈΠ΅ ΡΠΎΡΠ³ΠΎΠ²ΡΠ΅ ΠΌΠ°ΡΠΈΠ½Ρ, Π½Π°ΡΡΠΎΠ»ΡΠ½ΡΠ΅ 3D-ΠΏΡΠΈΠ½ΡΠ΅ΡΡ ΠΈ Π±ΠΎΠ»ΡΡΠΈΠ΅ ΠΏΠΎΡΡΠ°Π»ΡΠ½ΡΠ΅ ΡΠΈΡΡΠ΅ΠΌΡ. ΠΠ±ΡΡΠ½ΠΎ ΠΎΠ½ΠΈ ΡΠ²Π»ΡΡΡΡΡ ΠΌΠ΅Π½Π΅Π΅ Π΄ΠΎΡΠΎΠ³ΠΎΡΡΠΎΡΡΠ΅ΠΉ Π°Π»ΡΡΠ΅ΡΠ½Π°ΡΠΈΠ²ΠΎΠΉ Π»ΠΈΠ½Π΅ΠΉΠ½ΡΠΌ Π΄Π²ΠΈΠ³Π°ΡΠ΅Π»ΡΠΌ ΠΏΠΎΡΡΠΎΡΠ½Π½ΠΎΠ³ΠΎ ΡΠΎΠΊΠ°, ΠΊΠΎΠΌΠΏΡΠΎΠΌΠΈΡΡΠΎΠΌ ΡΠ²Π»ΡΡΡΡΡ Π±ΠΎΠ»Π΅Π΅ Π½ΠΈΠ·ΠΊΠΈΠ΅ ΠΌΠ°ΠΊΡΠΈΠΌΠ°Π»ΡΠ½ΡΠ΅ ΡΠΊΠΎΡΠΎΡΡΠΈ ΠΈ Π±ΠΎΠ»ΡΡΠ΅ ΠΌΠ΅ΡΡΠ°, Π½Π΅ΠΎΠ±Ρ ΠΎΠ΄ΠΈΠΌΠΎΠ³ΠΎ Π΄Π»Ρ ΠΈΠ½ΡΠ΅Π³ΡΠ°ΡΠΈΠΈ (ΠΈΠ·-Π·Π° ΡΠΎΡΠΎΡΠ½ΠΎΠ³ΠΎ Π΄Π²ΠΈΠ³Π°ΡΠ΅Π»Ρ). ΠΠ΄Π½Π°ΠΊΠΎ ΡΠΈΡΡΠ΅ΠΌΠ° ΡΠΏΡΠ°Π²Π»Π΅Π½ΠΈΡ Π΄Π²ΠΈΠΆΠ΅Π½ΠΈΠ΅ΠΌ Ρ Π»ΠΈΠ½Π΅ΠΉΠ½ΡΠΌ ΠΏΡΠΈΠ²ΠΎΠ΄ΠΎΠΌ ΠΌΠΎΠΆΠ΅Ρ Π±ΡΡΡ Π½Π΅Π²Π΅ΡΠΎΡΡΠ½ΠΎ ΡΡΡΠ΅ΠΊΡΠΈΠ²Π½ΠΎΠΉ ΠΈ ΡΠΎΠ·Π΄Π°Π²Π°ΡΡ Π±ΠΎΠ»ΡΡΠΈΠ΅ ΡΠΈΠ»Ρ, ΡΠ΅ΠΌ ΡΠΈΡΡΠ΅ΠΌΡ Ρ Π»ΠΈΠ½Π΅ΠΉΠ½ΡΠΌ Π΄Π²ΠΈΠ³Π°ΡΠ΅Π»Π΅ΠΌ.
ΠΠ²ΡΠΊΠΎΠ²ΡΠ΅ ΠΊΠ°ΡΡΡΠΊΠΈ
ΠΠ²ΡΠΊΠΎΠ²ΡΠ΅ ΠΊΠ°ΡΡΡΠΊΠΈ — ΡΡΠΎ ΠΎΠ΄Π½ΠΎΡΠ°Π·Π½ΡΠ΅ Π»ΠΈΠ½Π΅ΠΉΠ½ΡΠ΅ Π΄Π²ΠΈΠ³Π°ΡΠ΅Π»ΠΈ Ρ ΠΎΠ³ΡΠ°Π½ΠΈΡΠ΅Π½Π½ΡΠΌ Ρ ΠΎΠ΄ΠΎΠΌ ΠΌΠ΅Π½Π΅Π΅ ΠΎΠ΄Π½ΠΎΠ³ΠΎ ΡΠ»Π΅ΠΊΡΡΠΈΡΠ΅ΡΠΊΠΎΠ³ΠΎ ΡΠΈΠΊΠ»Π°.ΠΠ½ΠΈ ΠΏΠΎΠ»Π΅Π·Π½Ρ ΡΠ²ΠΎΠ΅ΠΉ ΡΠΊΠΎΡΠΎΡΡΡΡ ΠΎΡΠΊΠ»ΠΈΠΊΠ°, ΡΠΎΡΠ½ΠΎΡΡΡΡ ΠΈ Π°ΠΊΠΊΡΡΠ°ΡΠ½ΠΎΡΡΡΡ.
ΠΠ²ΡΠΊΠΎΠ²ΡΠ΅ ΠΊΠ°ΡΡΡΠΊΠΈ ΡΠ°ΡΠ΅ Π²ΡΠ΅Π³ΠΎ Π²ΡΡΡΠ΅ΡΠ°ΡΡΡΡ Π² Π°ΡΠ΄ΠΈΠΎΠΊΠΎΠ»ΠΎΠ½ΠΊΠ°Ρ . ΠΠΎΠ·Π²ΡΠ°ΡΠ½ΠΎ-ΠΏΠΎΡΡΡΠΏΠ°ΡΠ΅Π»ΡΠ½ΠΎΠ΅ Π΄Π²ΠΈΠΆΠ΅Π½ΠΈΠ΅ Π² ΡΠΎΡΠ΅ΡΠ°Π½ΠΈΠΈ Ρ ΠΊΠΎΡΠΎΡΠΊΠΈΠΌ Π΄ΠΈΠ°ΠΏΠ°Π·ΠΎΠ½ΠΎΠΌ Π΄Π²ΠΈΠΆΠ΅Π½ΠΈΡ ΠΈ ΡΠΎΡΠ½ΠΎΡΡΡΡ ΠΏΠΎΠ·Π²ΠΎΠ»ΡΠ΅Ρ Π·Π²ΡΠΊΠΎΠ²ΡΠΌ ΠΊΠ°ΡΡΡΠΊΠ°ΠΌ ΡΠΎΠ·Π΄Π°Π²Π°ΡΡ Π²ΠΈΠ±ΡΠ°ΡΠΈΠΈ, ΠΊΠΎΡΠΎΡΡΠ΅ ΡΠΎΠ·Π΄Π°ΡΡ ΡΠ»ΡΡΠΈΠΌΡΠΉ ΡΡΠΌ ΠΎΡ ΡΠ»Π΅ΠΊΡΡΠΈΡΠ΅ΡΠΊΠΈΡ ΡΠΈΠ³Π½Π°Π»ΠΎΠ². Π ΠΏΡΠΈΠ»ΠΎΠΆΠ΅Π½ΠΈΡΡ ΡΠΏΡΠ°Π²Π»Π΅Π½ΠΈΡ Π΄Π²ΠΈΠΆΠ΅Π½ΠΈΠ΅ΠΌ Π΄Π²ΠΈΠ³Π°ΡΠ΅Π»ΠΈ ΡΠΎ Π·Π²ΡΠΊΠΎΠ²ΠΎΠΉ ΠΊΠ°ΡΡΡΠΊΠΎΠΉ ΠΈΡΠΏΠΎΠ»ΡΠ·ΡΡΡΡΡ Π΄Π»Ρ Π»ΠΈΠ½Π΅ΠΉΠ½ΠΎΠ³ΠΎ Π΄Π²ΠΈΠΆΠ΅Π½ΠΈΡ Π² ΠΊΠΎΡΠΎΡΠΊΠΎΠΌ Π΄ΠΈΠ°ΠΏΠ°Π·ΠΎΠ½Π΅, Π½Π°ΠΏΡΠΈΠΌΠ΅Ρ, Π² ΠΌΠ°ΡΠΈΠ½Π°Ρ Π΄Π»Ρ ΡΡΠΊΠΎΡΠ΅Π½Π½ΡΡ ΠΈΡΠΏΡΡΠ°Π½ΠΈΠΉ Π½Π° ΡΠ΅ΡΡΡΡ, Π³Π΄Π΅ ΠΌΠ°ΡΠ΅ΡΠΈΠ°Π»Ρ ΠΌΠΎΠ³ΡΡ ΠΏΠΎΠ΄Π²Π΅ΡΠ³Π°ΡΡΡΡ ΠΌΠ½ΠΎΠΆΠ΅ΡΡΠ²Ρ ΡΠΈΠΊΠ»ΠΎΠ² Π΄Π΅ΡΠΎΡΠΌΠ°ΡΠΈΠΈ ΠΊΠΎΠ½ΡΡΠΎΠ»ΠΈΡΡΠ΅ΠΌΡΠΌ ΠΎΠ±ΡΠ°Π·ΠΎΠΌ, Π² ΡΡΡΡΠΎΠΉΡΡΠ²Π°Ρ Π°ΠΊΡΠΈΠ²Π½ΠΎΠ³ΠΎ Π΄Π΅ΠΌΠΏΡΠΈΡΠΎΠ²Π°Π½ΠΈΡ, Π² ΠΊΠΎΡΠΎΡΡΡ Π³ΡΡΠ· ΠΌΠΎΠΆΠ΅Ρ Π±ΡΡΡΡΠΎ ΠΏΠ΅ΡΠ΅ΠΌΠ΅ΡΠ°ΡΡΡΡ Π²ΠΏΠ΅ΡΠ΅Π΄ ΠΈ Π½Π°Π·Π°Π΄. ΠΏΡΠΎΡΠΈΠ²ΠΎΠ΄Π΅ΠΉΡΡΠ²ΠΎΠ²Π°ΡΡ Π½Π΅ΠΆΠ΅Π»Π°ΡΠ΅Π»ΡΠ½ΠΎΠΉ Π²ΠΈΠ±ΡΠ°ΡΠΈΠΈ ΠΈΠ»ΠΈ Π»ΡΠ±ΠΎΠΌΡ ΠΊΠΎΡΠΎΡΠΊΠΎΡ ΠΎΠ΄Π½ΠΎΠΌΡ ΠΏΠΎΠ·ΠΈΡΠΈΠΎΠ½ΠΈΡΠΎΠ²Π°Π½ΠΈΡ, Π³Π΄Π΅ ΡΡΠ΅Π±ΡΡΡΡΡ Π²ΡΡΠΎΠΊΠ°Ρ ΡΠΊΠΎΡΠΎΡΡΡ ΠΈ ΡΠΎΡΠ½ΠΎΡΡΡ.
ΠΡΠΏΠΎΠ»ΡΠ·ΠΎΠ²Π°Π½ΠΈΠ΅ ΡΠ΅ΡΠ²ΠΎΠΏΡΠΈΠ²ΠΎΠ΄Π° Π΄Π»Ρ ΡΠΏΡΠ°Π²Π»Π΅Π½ΠΈΡ Π·Π²ΡΠΊΠΎΠ²ΠΎΠΉ ΠΊΠ°ΡΡΡΠΊΠΎΠΉ Π°Π½Π°Π»ΠΎΠ³ΠΈΡΠ½ΠΎ ΡΠ΅ΡΠΎΡΠ½ΠΎΠΌΡ ΡΠΏΡΠ°Π²Π»Π΅Π½ΠΈΡ ΡΠ΅ΡΠ²ΠΎΠ΄Π²ΠΈΠ³Π°ΡΠ΅Π»Π΅ΠΌ ΠΏΠΎΡΡΠΎΡΠ½Π½ΠΎΠ³ΠΎ ΡΠΎΠΊΠ°, ΠΎΡΠ½ΠΎΠ²Π½ΠΎΠ΅ ΠΎΡΠ»ΠΈΡΠΈΠ΅ ΡΠΎΡΡΠΎΠΈΡ Π² ΡΠΎΠΌ, ΡΡΠΎ Π΄Π²ΠΈΠΆΠ΅Π½ΠΈΠ΅ ΡΠ²Π»ΡΠ΅ΡΡΡ Π»ΠΈΠ½Π΅ΠΉΠ½ΡΠΌ, Π° Π½Π΅ Π²ΡΠ°ΡΠ°ΡΠ΅Π»ΡΠ½ΡΠΌ. Π ΡΠ»ΡΡΠ°Π΅ ΡΠΏΡΠ°Π²Π»Π΅Π½ΠΈΡ ΡΠ΅ΡΠ²ΠΎΠ΄Π²ΠΈΠ³Π°ΡΠ΅Π»Π΅ΠΌ ΡΠΎΠΊ ΠΏΡΠΎΠΏΠΎΡΡΠΈΠΎΠ½Π°Π»Π΅Π½ ΠΊΡΡΡΡΡΠ΅ΠΌΡ ΠΌΠΎΠΌΠ΅Π½ΡΡ, ΡΠΎΠ³Π΄Π° ΠΊΠ°ΠΊ Π² ΡΠΏΡΠ°Π²Π»Π΅Π½ΠΈΠΈ Π·Π²ΡΠΊΠΎΠ²ΠΎΠΉ ΠΊΠ°ΡΡΡΠΊΠΎΠΉ ΡΠΎΠΊ ΠΏΡΠΎΠΏΠΎΡΡΠΈΠΎΠ½Π°Π»Π΅Π½ ΡΠΈΠ»Π΅. Π ΠΏΠΎΡΠΊΠΎΠ»ΡΠΊΡ Π²ΡΠ΅ Π½Π°ΡΠΈ ΡΠ΅ΡΠ²ΠΎΠΏΡΠΈΠ²ΠΎΠ΄Ρ ΠΌΠΎΠ³ΡΡ ΡΠΏΡΠ°Π²Π»ΡΡΡ ΡΠ΅ΡΠΎΡΠ½ΡΠΌΠΈ Π΄Π²ΠΈΠ³Π°ΡΠ΅Π»ΡΠΌΠΈ, Π²ΡΠ΅ ΠΎΠ½ΠΈ ΡΠ°ΠΊΠΆΠ΅ ΠΌΠΎΠ³ΡΡ ΡΠΏΡΠ°Π²Π»ΡΡΡ Π·Π²ΡΠΊΠΎΠ²ΡΠΌΠΈ ΠΊΠ°ΡΡΡΠΊΠ°ΠΌΠΈ.
ΠΠΎΡΠ»Π΅Π΄Π½ΠΈΠ΅ ΠΌΡΡΠ»ΠΈ
ΠΠ°Π΄Π΅ΡΡΡ, ΡΡΠΎΡ Π±Π»ΠΎΠ³ Π΄Π°ΡΡ Π²Π°ΠΌ ΠΏΡΠ΅Π΄ΡΡΠ°Π²Π»Π΅Π½ΠΈΠ΅ ΠΎ ΡΠ°Π·Π»ΠΈΡΠ½ΡΡ ΡΠΈΠΏΠ°Ρ Π΄Π²ΠΈΠ³Π°ΡΠ΅Π»Π΅ΠΉ ΠΈ ΠΎ ΡΠΎΠΌ, ΠΊΠ°ΠΊ ΠΈΡ ΠΌΠΎΠΆΠ½ΠΎ ΠΈΡΠΏΠΎΠ»ΡΠ·ΠΎΠ²Π°ΡΡ.ΠΡΠ»ΠΈ Π²Ρ Π½Π΅ ΡΠ²Π΅ΡΠ΅Π½Ρ, ΠΊΠ°ΠΊΠΎΠΉ Π΄Π²ΠΈΠ³Π°ΡΠ΅Π»Ρ Π²Π°ΠΌ Π½ΡΠΆΠ΅Π½ Π΄Π»Ρ Π²Π°ΡΠ΅Π³ΠΎ ΠΏΡΠΈΠ»ΠΎΠΆΠ΅Π½ΠΈΡ ΡΠΏΡΠ°Π²Π»Π΅Π½ΠΈΡ Π΄Π²ΠΈΠΆΠ΅Π½ΠΈΠ΅ΠΌ, ΡΠ²ΡΠΆΠΈΡΠ΅ΡΡ Ρ Π½Π°ΠΌΠΈ. ΠΠΏΡΡΡ ΠΆΠ΅, ΠΌΡ Π½Π΅ ΠΏΡΠΎΠΈΠ·Π²ΠΎΠ΄ΠΈΠΌ ΠΌΠΎΡΠΎΡΡ, Π½ΠΎ ΠΌΡ Π·Π½Π°Π΅ΠΌ Π²ΡΠ΅ Π°ΡΠΏΠ΅ΠΊΡΡ ΡΠΏΡΠ°Π²Π»Π΅Π½ΠΈΡ Π΄Π²ΠΈΠΆΠ΅Π½ΠΈΠ΅ΠΌ ΠΈ Π±ΠΎΠ»Π΅Π΅ ΡΠ΅ΠΌ ΡΠ°Π΄Ρ Π΄Π°ΡΡ ΡΠ΅ΠΊΠΎΠΌΠ΅Π½Π΄Π°ΡΠΈΠΈ. ΠΡ Π±ΡΠ΄Π΅ΠΌ ΡΠ°Π±ΠΎΡΠ°ΡΡ Ρ Π²Π°ΠΌΠΈ, ΡΡΠΎΠ±Ρ ΡΠΎΠ·Π΄Π°ΡΡ ΡΠ΅ΡΠ΅Π½ΠΈΠ΅ Π΄Π»Ρ ΡΠΏΡΠ°Π²Π»Π΅Π½ΠΈΡ Π΄Π²ΠΈΠΆΠ΅Π½ΠΈΠ΅ΠΌ, ΠΊΠΎΡΠΎΡΠΎΠ΅ ΡΠ΄ΠΎΠ²Π»Π΅ΡΠ²ΠΎΡΠΈΡ Π²ΡΠ΅ ΠΏΠΎΡΡΠ΅Π±Π½ΠΎΡΡΠΈ Π²Π°ΡΠ΅Π³ΠΎ ΠΏΡΠΈΠ»ΠΎΠΆΠ΅Π½ΠΈΡ.
ΠΠΆΠ΅ΠΊΡΠΎΠ½ ΠΠ°ΠΊΠΊΠ΅ΠΉ, ΠΈΠ½ΠΆΠ΅Π½Π΅Ρ ΠΏΠΎ ΠΌΠ°ΡΠΊΠ΅ΡΠΈΠ½Π³Ρ
Π ΡΠ΅ΠΌ ΡΠ°Π·Π½ΠΈΡΠ° ΠΌΠ΅ΠΆΠ΄Ρ Π΄Π²ΠΈΠ³Π°ΡΠ΅Π»ΡΠΌΠΈ ΠΏΠ΅ΡΠ΅ΠΌΠ΅Π½Π½ΠΎΠ³ΠΎ ΡΠΎΠΊΠ° ΠΈ Π΄Π²ΠΈΠ³Π°ΡΠ΅Π»ΡΠΌΠΈ ΠΏΠΎΡΡΠΎΡΠ½Π½ΠΎΠ³ΠΎ ΡΠΎΠΊΠ°?
ΠΠ΅ΠΆΠ΄Ρ Π΄Π²ΠΈΠ³Π°ΡΠ΅Π»ΡΠΌΠΈ ΠΏΠ΅ΡΠ΅ΠΌΠ΅Π½Π½ΠΎΠ³ΠΎ ΠΈ ΠΏΠΎΡΡΠΎΡΠ½Π½ΠΎΠ³ΠΎ ΡΠΎΠΊΠ° ΡΡΡΠ΅ΡΡΠ²ΡΠ΅Ρ ΠΌΠ½ΠΎΠ³ΠΎ ΡΠ°Π·Π»ΠΈΡΠΈΠΉ.ΠΠ°ΠΈΠ±ΠΎΠ»Π΅Π΅ ΠΎΡΠ΅Π²ΠΈΠ΄Π½ΠΎΠ΅ ΡΠ°Π·Π»ΠΈΡΠΈΠ΅ — ΡΡΠΎ ΡΠΈΠΏ ΡΠΎΠΊΠ°, ΠΊΠΎΡΠΎΡΡΠΉ ΠΊΠ°ΠΆΠ΄ΡΠΉ Π΄Π²ΠΈΠ³Π°ΡΠ΅Π»Ρ ΠΏΡΠ΅Π²ΡΠ°ΡΠ°Π΅Ρ Π² ΡΠ½Π΅ΡΠ³ΠΈΡ: ΠΏΠ΅ΡΠ΅ΠΌΠ΅Π½Π½ΡΠΉ ΡΠΎΠΊ Π² ΡΠ»ΡΡΠ°Π΅ Π΄Π²ΠΈΠ³Π°ΡΠ΅Π»Π΅ΠΉ ΠΏΠ΅ΡΠ΅ΠΌΠ΅Π½Π½ΠΎΠ³ΠΎ ΡΠΎΠΊΠ° ΠΈ ΠΏΠΎΡΡΠΎΡΠ½Π½ΡΠΉ ΡΠΎΠΊ Π² ΡΠ»ΡΡΠ°Π΅ Π΄Π²ΠΈΠ³Π°ΡΠ΅Π»Π΅ΠΉ ΠΏΠΎΡΡΠΎΡΠ½Π½ΠΎΠ³ΠΎ ΡΠΎΠΊΠ°. ΠΠ²ΠΈΠ³Π°ΡΠ΅Π»ΠΈ ΠΏΠ΅ΡΠ΅ΠΌΠ΅Π½Π½ΠΎΠ³ΠΎ ΡΠΎΠΊΠ° ΠΈΠ·Π²Π΅ΡΡΠ½Ρ ΡΠ²ΠΎΠ΅ΠΉ ΠΏΠΎΠ²ΡΡΠ΅Π½Π½ΠΎΠΉ Π²ΡΡ ΠΎΠ΄Π½ΠΎΠΉ ΠΌΠΎΡΠ½ΠΎΡΡΡΡ ΠΈ ΡΡΡΠ΅ΠΊΡΠΈΠ²Π½ΠΎΡΡΡΡ, Π² ΡΠΎ Π²ΡΠ΅ΠΌΡ ΠΊΠ°ΠΊ Π΄Π²ΠΈΠ³Π°ΡΠ΅Π»ΠΈ ΠΏΠΎΡΡΠΎΡΠ½Π½ΠΎΠ³ΠΎ ΡΠΎΠΊΠ° ΡΠ΅Π½ΡΡΡΡ Π·Π° ΠΈΡ ΡΠ΅Π³ΡΠ»ΠΈΡΠΎΠ²ΠΊΡ ΡΠΊΠΎΡΠΎΡΡΠΈ ΠΈ Π΄ΠΈΠ°ΠΏΠ°Π·ΠΎΠ½ Π²ΡΡ ΠΎΠ΄Π½ΠΎΠΉ ΠΌΠΎΡΠ½ΠΎΡΡΠΈ. ΠΠ²ΠΈΠ³Π°ΡΠ΅Π»ΠΈ ΠΏΠ΅ΡΠ΅ΠΌΠ΅Π½Π½ΠΎΠ³ΠΎ ΡΠΎΠΊΠ° Π΄ΠΎΡΡΡΠΏΠ½Ρ Π² ΠΎΠ΄Π½ΠΎ- ΠΈΠ»ΠΈ ΡΡΠ΅Ρ ΡΠ°Π·Π½ΠΎΠΉ ΠΊΠΎΠ½ΡΠΈΠ³ΡΡΠ°ΡΠΈΠΈ, ΡΠΎΠ³Π΄Π° ΠΊΠ°ΠΊ Π΄Π²ΠΈΠ³Π°ΡΠ΅Π»ΠΈ ΠΏΠΎΡΡΠΎΡΠ½Π½ΠΎΠ³ΠΎ ΡΠΎΠΊΠ° Π²ΡΠ΅Π³Π΄Π° ΠΎΠ΄Π½ΠΎΡΠ°Π·Π½ΡΠ΅.
ΠΠΎΠ΄ΡΠΎΠ±Π½Π΅Π΅ ΠΎ ΡΠ»Π΅ΠΊΡΡΠΎΠ΄Π²ΠΈΠ³Π°ΡΠ΅Π»ΡΡ ΠΏΠ΅ΡΠ΅ΠΌΠ΅Π½Π½ΠΎΠ³ΠΎ ΡΠΎΠΊΠ°
Π Π΄Π²ΠΈΠ³Π°ΡΠ΅Π»Π΅ ΠΏΠ΅ΡΠ΅ΠΌΠ΅Π½Π½ΠΎΠ³ΠΎ ΡΠΎΠΊΠ° ΡΠ½Π΅ΡΠ³ΠΈΡ ΠΏΠΎΡΡΡΠΏΠ°Π΅Ρ ΠΈΠ· ΠΌΠ°Π³Π½ΠΈΡΠ½ΡΡ ΠΏΠΎΠ»Π΅ΠΉ, ΡΠΎΠ·Π΄Π°Π²Π°Π΅ΠΌΡΡ ΡΠ΅ΡΠ΅Π· ΠΊΠ°ΡΡΡΠΊΠΈ, Π½Π°ΠΌΠΎΡΠ°Π½Π½ΡΠ΅ Π²ΠΎΠΊΡΡΠ³ Π²ΡΡ ΠΎΠ΄Π½ΠΎΠ³ΠΎ Π²Π°Π»Π°.ΠΠ²ΠΈΠ³Π°ΡΠ΅Π»ΠΈ ΠΏΠ΅ΡΠ΅ΠΌΠ΅Π½Π½ΠΎΠ³ΠΎ ΡΠΎΠΊΠ° ΡΠΎΡΡΠΎΡΡ ΠΈΠ· Π½Π΅ΡΠΊΠΎΠ»ΡΠΊΠΈΡ ΡΠ°ΡΡΠ΅ΠΉ, Π²ΠΊΠ»ΡΡΠ°Ρ ΡΡΠ°ΡΠΎΡ ΠΈ ΡΠΎΡΠΎΡ. ΠΠ²ΠΈΠ³Π°ΡΠ΅Π»ΠΈ ΠΏΠ΅ΡΠ΅ΠΌΠ΅Π½Π½ΠΎΠ³ΠΎ ΡΠΎΠΊΠ° ΡΡΡΠ΅ΠΊΡΠΈΠ²Π½Ρ, Π΄ΠΎΠ»Π³ΠΎΠ²Π΅ΡΠ½Ρ, Π±Π΅ΡΡΡΠΌΠ½Ρ ΠΈ ΡΠ½ΠΈΠ²Π΅ΡΡΠ°Π»ΡΠ½Ρ, ΡΡΠΎ Π΄Π΅Π»Π°Π΅Ρ ΠΈΡ ΠΆΠΈΠ·Π½Π΅ΡΠΏΠΎΡΠΎΠ±Π½ΡΠΌ ΡΠ΅ΡΠ΅Π½ΠΈΠ΅ΠΌ Π΄Π»Ρ ΠΌΠ½ΠΎΠ³ΠΈΡ ΠΏΠΎΡΡΠ΅Π±Π½ΠΎΡΡΠ΅ΠΉ Π² ΠΏΡΠΎΠΈΠ·Π²ΠΎΠ΄ΡΡΠ²Π΅ ΡΠ»Π΅ΠΊΡΡΠΎΡΠ½Π΅ΡΠ³ΠΈΠΈ.
Π Π΄Π²ΡΠΌ ΡΠΈΠΏΠ°ΠΌ Π΄Π²ΠΈΠ³Π°ΡΠ΅Π»Π΅ΠΉ ΠΏΠ΅ΡΠ΅ΠΌΠ΅Π½Π½ΠΎΠ³ΠΎ ΡΠΎΠΊΠ° ΠΎΡΠ½ΠΎΡΡΡΡΡ:
- Π‘ΠΈΠ½Ρ ΡΠΎΠ½Π½ΡΠΉ: Π‘ΠΈΠ½Ρ ΡΠΎΠ½Π½ΡΠΉ Π΄Π²ΠΈΠ³Π°ΡΠ΅Π»Ρ Π²ΡΠ°ΡΠ°Π΅ΡΡΡ Ρ ΡΠΎΠΉ ΠΆΠ΅ ΡΠΊΠΎΡΠΎΡΡΡΡ, ΡΡΠΎ ΠΈ ΡΠ°ΡΡΠΎΡΠ° ΡΠΎΠΊΠ° ΠΏΠΈΡΠ°Π½ΠΈΡ, ΡΡΠΎ ΠΈ Π΄Π°Π»ΠΎ Π΅ΠΌΡ Π½Π°Π·Π²Π°Π½ΠΈΠ΅. Π‘ΠΈΠ½Ρ ΡΠΎΠ½Π½ΡΠ΅ Π΄Π²ΠΈΠ³Π°ΡΠ΅Π»ΠΈ ΡΠΎΡΡΠΎΡΡ ΠΈΠ· ΡΡΠ°ΡΠΎΡΠ°, ΡΠΎΡΠΎΡΠ° ΠΈ ΡΠΈΠ½Ρ ΡΠΎΠ½Π½ΡΡ Π΄Π²ΠΈΠ³Π°ΡΠ΅Π»Π΅ΠΉ, ΠΊΠΎΡΠΎΡΡΠ΅ ΠΈΡΠΏΠΎΠ»ΡΠ·ΡΡΡΡΡ Π² ΡΠΈΡΠΎΠΊΠΎΠΌ ΡΠΏΠ΅ΠΊΡΡΠ΅ ΠΏΡΠΈΠ»ΠΎΠΆΠ΅Π½ΠΈΠΉ.
- ΠΠ½Π΄ΡΠΊΡΠΈΡ: ΠΡΠΈΠ½Ρ ΡΠΎΠ½Π½ΡΠ΅ Π΄Π²ΠΈΠ³Π°ΡΠ΅Π»ΠΈ — ΡΡΠΎ ΡΠ°ΠΌΡΠ΅ ΠΏΡΠΎΡΡΡΠ΅ ΠΈ Π½Π°Π΄Π΅ΠΆΠ½ΡΠ΅ ΡΠ»Π΅ΠΊΡΡΠΎΠ΄Π²ΠΈΠ³Π°ΡΠ΅Π»ΠΈ Π½Π° ΡΡΠ½ΠΊΠ΅. ΠΡΠΈ ΡΠ»Π΅ΠΊΡΡΠΎΠ΄Π²ΠΈΠ³Π°ΡΠ΅Π»ΠΈ ΠΏΠ΅ΡΠ΅ΠΌΠ΅Π½Π½ΠΎΠ³ΠΎ ΡΠΎΠΊΠ° ΡΠΎΡΡΠΎΡΡ ΠΈΠ· Π΄Π²ΡΡ ΡΠ»Π΅ΠΊΡΡΠΈΡΠ΅ΡΠΊΠΈΡ ΡΠ·Π»ΠΎΠ²: ΡΡΠ°ΡΠΎΡΠ° Ρ ΠΎΠ±ΠΌΠΎΡΠΊΠΎΠΉ ΠΈ ΡΠ·Π»Π° ΡΠΎΡΠΎΡΠ°. ΠΠ»Π΅ΠΊΡΡΠΈΡΠ΅ΡΠΊΠΈΠΉ ΡΠΎΠΊ, Π½Π΅ΠΎΠ±Ρ ΠΎΠ΄ΠΈΠΌΡΠΉ Π΄Π»Ρ Π²ΡΠ°ΡΠ΅Π½ΠΈΡ ΡΠΎΡΠΎΡΠ°, ΡΠΎΠ·Π΄Π°Π΅ΡΡΡ Π·Π° ΡΡΠ΅Ρ ΡΠ»Π΅ΠΊΡΡΠΎΠΌΠ°Π³Π½ΠΈΡΠ½ΠΎΠΉ ΠΈΠ½Π΄ΡΠΊΡΠΈΠΈ, ΡΠΎΠ·Π΄Π°Π²Π°Π΅ΠΌΠΎΠΉ ΠΎΠ±ΠΌΠΎΡΠΊΠΎΠΉ ΡΡΠ°ΡΠΎΡΠ°. ΠΡΠΈΠ½Ρ ΡΠΎΠ½Π½ΡΠ΅ Π΄Π²ΠΈΠ³Π°ΡΠ΅Π»ΠΈ ΡΠ²Π»ΡΡΡΡΡ ΠΎΠ΄Π½ΠΈΠΌΠΈ ΠΈΠ· Π½Π°ΠΈΠ±ΠΎΠ»Π΅Π΅ ΡΠ°ΡΡΠΎ ΠΈΡΠΏΠΎΠ»ΡΠ·ΡΠ΅ΠΌΡΡ ΡΠΈΠΏΠΎΠ² Π΄Π²ΠΈΠ³Π°ΡΠ΅Π»Π΅ΠΉ Π² ΠΌΠΈΡΠ΅.
ΠΠ»Π΅ΠΊΡΡΠΎΠ΄Π²ΠΈΠ³Π°ΡΠ΅Π»ΠΈ ΠΏΠ΅ΡΠ΅ΠΌΠ΅Π½Π½ΠΎΠ³ΠΎ ΡΠΎΠΊΠ° ΠΈΡΠΏΠΎΠ»ΡΠ·ΡΡΡΡΡ Π² ΡΡΠ΄Π΅ ΠΏΡΠΈΠ»ΠΎΠΆΠ΅Π½ΠΈΠΉ, Π²ΠΊΠ»ΡΡΠ°Ρ Π½Π°ΡΠΎΡΡ Π΄Π»Ρ ΠΏΡΠ΅Π΄ΠΏΡΠΈΡΡΠΈΠΉ ΠΎΠ±ΡΠ΅ΡΡΠ²Π΅Π½Π½ΠΎΠ³ΠΎ ΠΏΠΈΡΠ°Π½ΠΈΡ, Π²ΠΎΠ΄ΠΎΠ½Π°Π³ΡΠ΅Π²Π°ΡΠ΅Π»ΠΈ, ΠΎΠ±ΠΎΡΡΠ΄ΠΎΠ²Π°Π½ΠΈΠ΅ Π΄Π»Ρ Π³Π°Π·ΠΎΠ½ΠΎΠ² ΠΈ ΡΠ°Π΄Π° ΠΈ ΠΌΠ½ΠΎΠ³ΠΎΠ΅ Π΄ΡΡΠ³ΠΎΠ΅.
ΠΠΎΠ΄ΡΠΎΠ±Π½Π΅Π΅ ΠΎ Π΄Π²ΠΈΠ³Π°ΡΠ΅Π»ΡΡ ΠΏΠΎΡΡΠΎΡΠ½Π½ΠΎΠ³ΠΎ ΡΠΎΠΊΠ°
ΠΠ½Π΅ΡΠ³ΠΈΡ, ΠΈΡΠΏΠΎΠ»ΡΠ·ΡΠ΅ΠΌΠ°Ρ Π΄Π²ΠΈΠ³Π°ΡΠ΅Π»Π΅ΠΌ ΠΏΠΎΡΡΠΎΡΠ½Π½ΠΎΠ³ΠΎ ΡΠΎΠΊΠ°, ΠΏΠΎΡΡΡΠΏΠ°Π΅Ρ ΠΎΡ Π±Π°ΡΠ°ΡΠ΅ΠΉ ΠΈΠ»ΠΈ Π΄ΡΡΠ³ΠΎΠ³ΠΎ Π³Π΅Π½Π΅ΡΠΈΡΡΠ΅ΠΌΠΎΠ³ΠΎ ΠΈΡΡΠΎΡΠ½ΠΈΠΊΠ° ΡΠ½Π΅ΡΠ³ΠΈΠΈ, ΠΎΠ±Π΅ΡΠΏΠ΅ΡΠΈΠ²Π°ΡΡΠ΅Π³ΠΎ ΠΏΠΎΡΡΠΎΡΠ½Π½ΠΎΠ΅ Π½Π°ΠΏΡΡΠΆΠ΅Π½ΠΈΠ΅. ΠΠ²ΠΈΠ³Π°ΡΠ΅Π»ΠΈ ΠΏΠΎΡΡΠΎΡΠ½Π½ΠΎΠ³ΠΎ ΡΠΎΠΊΠ° ΡΠΎΡΡΠΎΡΡ ΠΈΠ· Π½Π΅ΡΠΊΠΎΠ»ΡΠΊΠΈΡ ΡΠ°ΡΡΠ΅ΠΉ, Π½Π°ΠΈΠ±ΠΎΠ»Π΅Π΅ ΠΈΠ·Π²Π΅ΡΡΠ½ΡΠΌΠΈ ΠΈΠ· ΠΊΠΎΡΠΎΡΡΡ ΡΠ²Π»ΡΡΡΡΡ ΠΏΠΎΠ΄ΡΠΈΠΏΠ½ΠΈΠΊΠΈ, Π²Π°Π»Ρ ΠΈ ΡΠ΅Π΄ΡΠΊΡΠΎΡ ΠΈΠ»ΠΈ ΡΠ΅ΡΡΠ΅ΡΠ½ΠΈ. ΠΠ²ΠΈΠ³Π°ΡΠ΅Π»ΠΈ ΠΏΠΎΡΡΠΎΡΠ½Π½ΠΎΠ³ΠΎ ΡΠΎΠΊΠ° ΠΎΠ±Π΅ΡΠΏΠ΅ΡΠΈΠ²Π°ΡΡ Π»ΡΡΡΠ΅Π΅ ΠΈΠ·ΠΌΠ΅Π½Π΅Π½ΠΈΠ΅ ΡΠΊΠΎΡΠΎΡΡΠΈ ΠΈ ΡΠΏΡΠ°Π²Π»Π΅Π½ΠΈΠ΅, Π° ΡΠ°ΠΊΠΆΠ΅ ΠΎΠ±Π΅ΡΠΏΠ΅ΡΠΈΠ²Π°ΡΡ Π±ΠΎΠ»ΡΡΠΈΠΉ ΠΊΡΡΡΡΡΠΈΠΉ ΠΌΠΎΠΌΠ΅Π½Ρ, ΡΠ΅ΠΌ Π΄Π²ΠΈΠ³Π°ΡΠ΅Π»ΠΈ ΠΏΠ΅ΡΠ΅ΠΌΠ΅Π½Π½ΠΎΠ³ΠΎ ΡΠΎΠΊΠ°.
Π Π΄Π²ΡΠΌ ΡΠΈΠΏΠ°ΠΌ Π΄Π²ΠΈΠ³Π°ΡΠ΅Π»Π΅ΠΉ ΠΏΠΎΡΡΠΎΡΠ½Π½ΠΎΠ³ΠΎ ΡΠΎΠΊΠ° ΠΎΡΠ½ΠΎΡΡΡΡΡ:
- ΠΠ°ΡΠΎΠ²ΡΠΉ: ΠΠ΄ΠΈΠ½ ΠΈΠ· ΡΠ°ΠΌΡΡ ΡΡΠ°ΡΡΡ ΡΠΈΠΏΠΎΠ² Π΄Π²ΠΈΠ³Π°ΡΠ΅Π»Π΅ΠΉ, ΡΠ΅ΡΠΎΡΠ½ΡΠ΅ Π΄Π²ΠΈΠ³Π°ΡΠ΅Π»ΠΈ — ΡΡΠΎ ΡΠ»Π΅ΠΊΡΡΠΎΠ΄Π²ΠΈΠ³Π°ΡΠ΅Π»ΠΈ Ρ Π²Π½ΡΡΡΠ΅Π½Π½Π΅ΠΉ ΠΊΠΎΠΌΠΌΡΡΠ°ΡΠΈΠ΅ΠΉ, ΡΠ°Π±ΠΎΡΠ°ΡΡΠΈΠ΅ ΠΎΡ ΠΏΠΎΡΡΠΎΡΠ½Π½ΠΎΠ³ΠΎ ΡΠΎΠΊΠ°.Π©Π΅ΡΠΎΡΠ½ΡΠ΅ Π΄Π²ΠΈΠ³Π°ΡΠ΅Π»ΠΈ ΡΠΎΡΡΠΎΡΡ ΠΈΠ· ΡΠΎΡΠΎΡΠ°, ΡΠ΅ΡΠΎΠΊ, ΠΎΡΠΈ, Π° Π·Π°ΡΡΠ΄ ΠΈ ΠΏΠΎΠ»ΡΡΠ½ΠΎΡΡΡ ΡΠ΅ΡΠΎΠΊ ΡΠΏΡΠ°Π²Π»ΡΡΡ Π½Π°ΠΏΡΠ°Π²Π»Π΅Π½ΠΈΠ΅ΠΌ ΠΈ ΡΠΊΠΎΡΠΎΡΡΡΡ Π΄Π²ΠΈΠ³Π°ΡΠ΅Π»Ρ.
- ΠΠ΅ΡΡΠ΅ΡΠΎΡΠ½ΡΠΉ: Π ΠΏΠΎΡΠ»Π΅Π΄Π½ΠΈΠ΅ Π³ΠΎΠ΄Ρ Π±Π΅ΡΡΠ΅ΡΠΎΡΠ½ΡΠ΅ Π΄Π²ΠΈΠ³Π°ΡΠ΅Π»ΠΈ ΠΏΡΠΈΠΎΠ±ΡΠ΅Π»ΠΈ ΠΏΠΎΠΏΡΠ»ΡΡΠ½ΠΎΡΡΡ Π²ΠΎ ΠΌΠ½ΠΎΠ³ΠΈΡ ΡΡΠ΅ΡΠ°Ρ ΠΏΡΠΈΠΌΠ΅Π½Π΅Π½ΠΈΡ, Π² ΠΎΡΠ½ΠΎΠ²Π½ΠΎΠΌ ΠΈΠ·-Π·Π° ΠΈΡ ΡΡΡΠ΅ΠΊΡΠΈΠ²Π½ΠΎΡΡΠΈ. ΠΠ΅ΡΡΠ΅ΡΠΎΡΠ½ΡΠ΅ Π΄Π²ΠΈΠ³Π°ΡΠ΅Π»ΠΈ ΡΡΡΡΠΎΠ΅Π½Ρ ΡΠ°ΠΊ ΠΆΠ΅, ΠΊΠ°ΠΊ ΠΈ ΡΠ΅ΡΠΎΡΠ½ΡΠ΅ Π΄Π²ΠΈΠ³Π°ΡΠ΅Π»ΠΈ, Π·Π° ΠΈΡΠΊΠ»ΡΡΠ΅Π½ΠΈΠ΅ΠΌ, ΠΊΠΎΠ½Π΅ΡΠ½ΠΎ, ΡΠ΅ΡΠΎΠΊ. ΠΠ΅ΡΡΠ΅ΡΠΎΡΠ½ΡΠ΅ Π΄Π²ΠΈΠ³Π°ΡΠ΅Π»ΠΈ ΡΠ°ΠΊΠΆΠ΅ Π²ΠΊΠ»ΡΡΠ°ΡΡ ΡΠΏΠ΅ΡΠΈΠ°Π»ΠΈΠ·ΠΈΡΠΎΠ²Π°Π½Π½ΡΡ ΡΡ Π΅ΠΌΡ Π΄Π»Ρ ΡΠΏΡΠ°Π²Π»Π΅Π½ΠΈΡ ΡΠΊΠΎΡΠΎΡΡΡΡ ΠΈ Π½Π°ΠΏΡΠ°Π²Π»Π΅Π½ΠΈΠ΅ΠΌ. Π Π±Π΅ΡΡΠ΅ΡΠΎΡΠ½ΡΡ Π΄Π²ΠΈΠ³Π°ΡΠ΅Π»ΡΡ Π²ΠΎΠΊΡΡΠ³ ΡΠΎΡΠΎΡΠ° ΡΡΡΠ°Π½ΠΎΠ²Π»Π΅Π½Ρ ΠΌΠ°Π³Π½ΠΈΡΡ, ΡΡΠΎ ΠΏΠΎΠ²ΡΡΠ°Π΅Ρ ΡΡΡΠ΅ΠΊΡΠΈΠ²Π½ΠΎΡΡΡ.
ΠΠ²ΠΈΠ³Π°ΡΠ΅Π»ΠΈ ΠΏΠΎΡΡΠΎΡΠ½Π½ΠΎΠ³ΠΎ ΡΠΎΠΊΠ° ΠΈΡΠΏΠΎΠ»ΡΠ·ΡΡΡΡΡ Π² ΡΠΈΡΠΎΠΊΠΎΠΌ Π΄ΠΈΠ°ΠΏΠ°Π·ΠΎΠ½Π΅ ΠΏΡΠΈΠΌΠ΅Π½Π΅Π½ΠΈΠΉ, Π²ΠΊΠ»ΡΡΠ°Ρ ΡΠ»Π΅ΠΊΡΡΠΈΡΠ΅ΡΠΊΠΈΠ΅ ΠΈΠ½Π²Π°Π»ΠΈΠ΄Π½ΡΠ΅ ΠΊΠΎΠ»ΡΡΠΊΠΈ, ΡΡΡΠ½ΡΠ΅ ΡΠ°ΡΠΏΡΠ»ΠΈΡΠ΅Π»ΠΈ ΠΈ Π½Π°ΡΠΎΡΡ, ΠΊΠΎΡΠ΅Π²Π°ΡΠΊΠΈ, Π²Π½Π΅Π΄ΠΎΡΠΎΠΆΠ½ΠΎΠ΅ ΠΎΠ±ΠΎΡΡΠ΄ΠΎΠ²Π°Π½ΠΈΠ΅ ΠΈ ΠΌΠ½ΠΎΠ³ΠΎΠ΅ Π΄ΡΡΠ³ΠΎΠ΅.


Β Π¨ΠΈΡΠΎΠΊΠΎ ΠΈΡΠΏΠΎΠ»ΡΠ·ΡΡΡΒ Π² ΠΊΠ°ΡΠ΅ΡΡΠ²Π΅Β ΠΏΡΠΎΠΌΡΡΠ»Π΅Π½Π½ΠΎΠ³ΠΎ ΠΎΠ±ΠΎΡΡΠ΄ΠΎΠ²Π°Π½ΠΈΡ,Β ΠΏΡΠΈΠ²ΠΎΠ΄Π° ΡΠ»Π΅ΠΊΡΡΠΎΡΡΠ°Π½ΡΠΏΠΎΡΡΠ° ΠΈ ΠΌΠΈΠΊΡΠΎΠΏΡΠΈΠ²ΠΎΠ΄Π° ΠΈΡΠΏΠΎΠ»Π½ΠΈΡΠ΅Π»ΡΠ½ΡΡ
ΠΌΠ΅Ρ
Π°Π½ΠΈΠ·ΠΌΠΎΠ².

