Электрическая схема подключения прицепа к легковому автомобилю
Всем доброго времени суток! На очереди у нас подключение прицепа. Достаточно актуальная тема, которая тесно связана с правильной и безопасной эксплуатацией прицепного транспортного средства.
Каждый знает, что на фаркопе есть розетка, а на прицепах предусмотрены вилки. Вот такая, как многим кажется, простая электрическая схема. Но на самом деле при подключении автоприцепа к легковому автомобилю нужно учесть целый ряд нюансов. И не важно, подключаетесь вы к американскому авто, к евро машине или продукту отечественного производства.
У каждого разъема и штекера есть своя функция. При соединении фаркопа, автоприцепа и машины требуется быть предельно внимательным. Существует стандартная и нестандартная для России распиновка. Разные фишки и сплетение проводов часто пугает тех, кто решает своими руками соединить авто и прицепное ТС.
Но не пугайтесь. У всего есть свое решение. Если вы решили заняться вопросом электропроводки самостоятельно, постараюсь дать вам несколько дельных советов и рекомендаций.
Важные сведения
Определение разъема можно охарактеризовать как сочетание вилок и розеток, которые подключаются после того, как прицеп надели на ТСУ.
Тут важно обратить внимание на то, кто выступает производителем тягово-сцепного устройства и самого автоприцепа. В некоторых случаях количество контактов у них отличается. Стандартная для нас распиновка предусматривает 7 контактов. Это европейский и отечественный принцип изготовления. Но если перед вами американский автомобиль, будьте так любезны разбираться с 13-контактным разъемом. Немаловажно и то, что контакты на вилках и розетках считаются по-разному.
Если необходимо соединить разного типа прицепы и автомобили, потребуется использовать специальный блок подключения или переходник. Как вариант, можно внести коррективы в распиновку. Но тут уже потребуются более глубокие знания автоэлектрики, а также детальное изучение конструкции самого авто.
Виды схем подключения
Сложностей в соединении курганского прицепа или того же МЗСА с ВАЗ 2110 возникать не должно. Все свое, родное, а потому простое предусмотрено еще производителем.
Но ситуации бывают разные. Некоторым требуется специальный адаптер-переходник, другим нужно корректировать саму проводку и определять, куда какой проводок идет. Якобы несовместимые ТСУ и машины соединить на деле можно. Но сделать это довольно сложно.
Следует учесть несколько важных моментов:
- Если машина используется для соединения с разными автоприцепами от различных производителей, будет логично поставить пару розеток на 7 контактов;
- Для России не очень удобно и легко подбирать «компанию» для 13-контактных розеток;
- В зависимости от модели, серии и года выпуска автомобиля, у них могут существовать отличия в плане распиновки. Бывает так, что габаритные фонари выводятся на 5 контакт, хотя на другой версии они идут на 7 контакт;
- Предыдущие владельцы подержанных авто вполне могли что-то начудить и использовать свою особую схему для подключения прицепа;
- Всегда нужно проверять электросхему авто и сверяться с официальными документами.
Не у всех сохранились родные документы. И тут люди обращаются за помощью на разные форумы, ищут ответы на просторах всемирной паутины.
Я совсем не против того, чтобы вы читали мои материалы. Но некоторые вопросы требуют индивидуального рассмотрения. Потому я предлагаю вам их задавать в комментариях, и стараюсь всем отвечать.
В случае с прицепами, соединяемыми с автомобильными тягово-сцепными устройствами, у меня есть особые рекомендации.
Обращайтесь к производителю. Либо идите к хорошему проверенному электрику. Причем не обязательно ехать в офис компании по производству автомобиля или прицепа. Все можно отыскать на официальных ресурсах. Подобная информация полностью соответствует действительности, а потому распространенных в рекомендациях якобы умельцев ошибок вы там не встретите.
Электрика очень важная составляющая автомобиля. Любая ошибка, допущенная при неправильном подключении, грозит даже коротким замыканием и выводом из строя всего электрооборудования.
Очень сильно сомневаюсь, что кто-то желает с таким столкнуться. Следуйте этому простому совету.
Варианты распиновки
Сначала думал, что буду подробно вам расписывать, где какой контакт на розетке, куда он идет и для чего предназначен.
Но теперь понимают, задумка бессмысленная. Она лишь еще больше вас запутает и загонит в тупик. Нужно поступить куда проще. Наглядные примеры самый лучший вариант. Подготовлю для вас несколько изображений, отображающих суть типовых распиновок на розетках тягово-сцепных автомобильных устройств. Они не должны выступать как основа для вашего собственного подключения. Помните, только официальные документы и инструкции производителя. Каждая машина может иметь свои особенности.
Что же, начнем со старых добрых отечественных автомобилей. Именно на них мы чаще всего видим прицепы.
В случае с машинами отечественного производства стандартная распиновка выглядит примерно следующим образом.
Ничего сложного. А вот ситуация с европейскими автомобилями. Отличия незначительные, но они есть. Потому учтите, какая именно машина в вашем распоряжении.
Здесь уже 13-контактный монстр. На самом деле особо сложного в подключении ничего нет, но все же разница в 6 контактов дает о себе знать.
Как вы видите, у каждой стандартной схемы есть свои особенности. Подключение прицепа к машине это не просто соединение двух штекеров. Тут приходится порой поломать голову. А чтобы ее не ломать, можно обратиться к хорошим специалистам. Например, к нам.
Очень полезные советы
Заголовок может и громкий, но по факту так и есть.
Все представленные выше схемы предназначены для автомобилей, которые не отличаются наличием сложной электроники.
Но не стоит забывать, что современные машины ушли далеко вперед.
Нынешние авто имеют в своей конструкции такое устройство как электронный блок управления. Когда вы запускаете зажигание, ЭБУ переходит в режим тестирования всех цепей в автомобиле. При подключении прицепа на определенных линиях возрастает нагрузка. Ваш бортовой компьютер, то есть блок управления или ЭБУ, будет воспринимать это как поломку. И в итоге вы постоянно будете видеть ошибку. В таких условиях на нормальную работу прицепа рассчитывать не стоит.
Чтобы исправить эту ситуацию, нужен специальный адаптер или модуль, называйте, как вам удобно. Он монтируется как бы в промежутке между элементами, чтобы нивелировать параметры электроцепи. Он называется блок согласования или по более современному Smart Connect.
В итоге получаем нечто подобное, как показано на изображении ниже.
Отыскать подходящий блок согласования вообще не проблема. Сейчас их доступно огромное количество самых разных производителей. Но покупать подержанные модули или искать их на разных блошиных рынках я настоятельно не рекомендую.
Блоки выбирают исходя из того, какой у вас автоприцеп и марка автомобиля, а также каким тягово-сцепных устройством оснащена машина. Иначе можно купить нечто непонятное, что придется обратно сдавать и покупать нормальный коннектор.
Опытный автоэлектрик может и без схемы подключить все. Для этого используется мультиметр. Но это уже совсем другая история.
Что ж, надеюсь, на многие ваши вопросы я сумел ответить. Если нет, пишите в комментариях, спрашивайте.
(11 оценок, среднее: 4,73 из 5)
Понравилась статья?
Подпишитесь на обновления и получайте статьи на почту!
Гарантируем: никакого спама, только новые статьи один раз в неделю!
Дата публикации: 10 августа 2016 .
Категория: Автотехника.
Наличие тягового сцепного устройства (ТСУ) в автомобиле, позволяет транспортировать грузы с помощью прицепа.
Однако мало просто приобрести и установить наиболее подходящий для вашей машины фаркоп, его нужно также подключить. Дело в том, что для безопасной эксплуатации прицепа, на нем обязательно должны работать сигнальные огни, позволяющие другим участникам дорожного движения ориентироваться в ваших действиях.
Подключение электрики фаркопа своими руками можно произвести без лишних затрат и специализированных инструментов. Достаточно лишь разобраться в типе разводки и приобрести соответствующий переходник, если он потребуется.
Европейская и отечественная разводка
На самом ТСУ под защитной крышкой расположена особая площадка – розетка фаркопа. Схема ее подключения зависит от количества контактов. Обычно на отечественных авто используются розетки на 7 контактов, а 13-контактные изделия больше характерны иномаркам из Европы и США (американские выпускаются также с 7-контактными розетками). По большому счету распиновка разъема фаркопа отличается только наличием дополнительных пинов для активации электрической начинки, которая устанавливается не в обычных прицепах, а в полноценных домах-прицепах. Если же речь идет о стандартном устройстве для перевозки вещей, то для него больше подойдет разъем фаркопа, распиновка которого будет соответствовать 7 элементам.
Рассмотрим вариант европейской разводки, где:
Подключение проводки фаркопа производится также и по отечественной схеме:
- Левый поворотник (желтый).
- Противотуманка (голубой).
- «Земля».
- Правый поворотник (зеленый).
- Свободный.
- Стоп-сигналы (коричневый).
- Габаритные огни (черный).
Если распиновка фаркопа не соответствует прицепу (допустим, вы планируете эксплуатировать отечественный прицеп, подключив его к иномарке, или наоборот), то достаточно только приобрести адаптер и произвести подключение по описанной выше схеме.
Пришло время перейти к практическим рекомендациям, касающимся того, как подключить розетку фаркопа к автомобилю самостоятельно.
Подключаем розетку фаркопа к машине
Перед тем, как произвести подключение розетки фаркопа к автомобилю, необходимо удостовериться, что ее корпус, крышка и заглушка герметичны. Для этого облейте эту деталь водой и посмотрите, будут ли протечки. Если конструкция не герметична, то слабые места нужно будет обработать силиконом, после завершающего этапа монтажа фаркопа.
Сама розетка подключается двумя способами:
- Стандартным. В этом случае не предполагается никаких изменений электрической системы автомобиля. Если прицеп и ТСУ обладают соответствующими разъемами, то схемы для такого подключения не потребуется – достаточно всего лишь вставить розетку в гнездо.
- Универсальным. В случае, когда речь идет не о штатном оборудовании, а о приобретенном дополнительно фаркопе или прицепе, то чаще всего требуется более сложное подключение.
Если со стандартным вариантом все понятно, то подключить фаркоп к проводке автомобиля универсальным методом можно двумя вариантами.
Вариант 1
Данный метод подходит для тех ситуаций, когда в автомобиле отсутствует современный блок управления, что делает возможным подключить провода напрямую к электро-цепи. Это означает что проводка, идущая с разъема, подключается к проводам задних световых элементов.
Для этого, сперва, необходимо обратиться к схеме подключения розетки прицепа, которую можно найти в сопроводительных документах и инструкциях. Далее, производится подключение самой розетки в области, где располагается колодка жгута заднего фонаря машины. Чаще всего в этом месте можно найти специальное технологическое окно, предусмотренное производителями с целью упростить процедуру замены испорченных лампочек.
Полезно! При этом у вас должен быть лишний провод для второго поворотника.
Для того чтобы подключить розетку таким образом вы можете использовать обжимные клипсы или просто снять изоляцию с проводов, соединить их и закрепить посредством пайки. Также стоит учитывать, что для того, чтобы все подключить правильно, лучше вооружиться схемой электропроводки машины.
Вариант 2
Если же вы являетесь владельцем современной иномарки, то, скорее всего в ней установлена непростая электронная начинка, которая не позволит подключить прицеп первым методом. Дело в том, что установленный блок управления постоянно контролирует оптику, расположенную в задней части автомобиля. Как только в этой области начнется большее потребление тока – это будет воспринято системой как ошибка.
Чтобы избежать подобной проблемы используется дополнительный элемент, который называется блоком согласования. Этот прибор подключают к штатной электрике автомобиля, и он становится своего рода посредником, позволяющим беспрепятственно передавать сигнал на световые элементы прицепа.
Полезно! Блок управления элементарно не будет «видеть» дополнительный и элемент, соответственно никаких сообщений об ошибках водитель не получит.
Если вы не хотите покупать блок согласования, то можно воспользоваться маленькой хитростью – использовать реле. Оно, по большому счету, будет выполнять функцию управляющего элемента, подающего напряжение на габаритные огни прицепа. Также реле можно установить и для стоп-сигналов и противотуманок (если таковые установлены).
После того как вы подключили прицеп и проверили что все системы работают нормально, а огни горят, не забудьте защитить внутренние элементы от влаги. Для «брешей» используется силикон, а для защиты контактов от окисления их рекомендуется обработать графитовой смазкой.
В заключении
При подключении фаркопа, важно соответствовать схемам, чтобы все элементы работали правильно. Если вы сомневаетесь в своих силах, то лучше не рисковать и обратиться к специалистам, которые за небольшую плату сделают все согласно всем требованиям.
Среди автомобилистов распространено мнение, что выполнить подключение фаркопа не так уж сложно, и с этой работой способен справиться любой новичок.
В принципе, если говорить о подсоединении прицепа к автомобилю, то здесь и, правда, трудностей не возникнет. Однако, если говорить о подключении электрики прицепа, что это может озадачить многих автовладельцев. И часто для доведения дела до конца требуется схема подключения фаркопа.
Здесь нами не будет рассматриваться целесообразность наличия на автомобиле фаркопа, поскольку в подобных случаях это прицепное устройство является жизненно необходимым. Чаще всего они имеют специальную площадку, где находится розетка фаркопа. И у этой розетки предусмотрена специальная крышка, которая обеспечивает защиту от негативных факторов.
Чаще всего встречаются розетки, которые оснащены 7 или 13 контактами. Автомобили, которые ездят по российским дорогам, как правило, оснащены 7-контактными устройствами. Что же касается розеток, имеющих 13 контактов, то они более распространены на машинах, которыми пользуются жители стран Европы и США.
Отличаются же эти розетки друг от друга в плане использования дополнительных контактов. С помощью последних можно задействовать такие дополнительные приспособления, как противотуманки и иную электрическую начинку домов-прицепов, которые часто встречаются в западных странах.
Как подключить розетку фаркопа
Сталкиваясь с проблемой подключения розетки, владелец может рассмотреть один из двух методов:
Первый метод можно рассматривать лишь при условии, что у фаркопа, как и у прицепа легкового автомобиля, имеются соответствующие разъемы, которые позволяют выполнить соединение. Тогда владелец может выполнить работу, даже не имея на руках схемы подключения прицепа.
Ведь в этом случае все действия будут сводиться к совмещению розетки с гнездом. Нередко сведения о распиновке розетки фаркопа можно получить из инструкции по эксплуатации автомобиля. Именно таким образом и следует поступать, поскольку владельцу не придется каким-либо образом изменять электрическую систему своей машины.
Однако чаще всего происходит так, что владельцам приходится прибегать к помощи универсального способа. Однако для получения более полного представления об особенностях далее будут рассмотрены оба этих варианта.
Первый способ
В конструкции автомобиля не предусмотрен современный электронный блок управления. Это позволяет выполнить соединение электрических проводов с имеющимися электрическими цепями, не прибегая к каким-либо разветвителям. Иными словами, вся работа будет сводиться к соединению проводов, идущих с разъемов, к задней светотехнике.
Технология подключения
Первое, что здесь необходимо сделать — ознакомиться со схемой подключения розетки. Далее, розетку нужно подключить туда, где находятся колодки жгута одного из задних фонарей машины, используя для этого подходящие разъемы.
При внимательном обследовании там может быть обнаружено технологическое окошко: производители делают его намеренно, чтобы у владельца не возникло проблем в случае замены перегоревших лампочек. Однако сразу следует подготовиться к тому, что останется лишний провод, поскольку мы будем должны подключить второй указатель поворота.
Подобная задача может быть решена следующим образом:
- путем подключения к объемным клипсам;
- можно вначале очистить провод от изоляции, затем соединить его с проводом, который идет от розетки, после чего зафиксировать соединение, используя пайку.
Видео: Подключение розетки для прицепа
Для таких случаев нелишним будет владельцу иметь схему электрической проводки автомобиля. Если вам предстоит выполнять эту работу впервые, то не помешает прежде ознакомиться с видеороликом, чтобы вы точно знали, как нужно все правильно делать. Когда же вы начнете самостоятельно выполнять эту работу, то вы должны все время ориентироваться на схему подключения розетки фаркопа.
Второй способ
Собственникам современных автомобилей, имеющих довольно сложную электрическую электронную начинку, не стоит использовать первый метод подключения прицепа.
Одной из функций блока управления является постоянная проверка состояния задней оптики. В момент, когда выяснится, что норма токопотребления увеличена, поступит соответствующий сигнал об ошибке.
В подобной ситуации специалисты обычно прибегают к помощи устройства, именуемого как «блок согласования». Также его применяют и тогда, когда нужно настроить передачу сигналов управления при помощи мультиплексной шины.
- Первое, что здесь нужно сделать — подключить блок согласования к штатной электрике автомобиля. Далее в работу включается блок, от которого будут поступать соответствующие сигналы на светотехнику прицепа. Теперь блок управления автомобиля уже не сможет распознать устройство, из-за чего владелец сможет легко выполнить подключение фаркопа.
- Если при обследовании машины вы обнаружите разъем, который имеет несколько иное исполнение, нежели тот, который применяется на прицепе, то лучше всего не пытаться самостоятельно решить эту проблему, а обратиться к помощи специалистов. Конечно, вы всегда можете все сделать сами, но для этого вы должны иметь под рукой схему подключения розетки и распиновки контактов. Довольно часто владельцы, которые обладают определенными навыками, способны решить эту задачу без посторонней помощи. По такой же схеме выполняют подключение и грузового прицепа.
Важные нюансы
Главное, о чем вам следует помнить — подключение электрики прицепа является обязательной процедурой. Поэтому не следует недооценивать важность этой операции, думая, что другие участники дорожного движения будут внимательны во время езды. Если вы решите пренебречь этим, то это может стать основанием для наложения на вас штрафа. Поэтому всякий раз, когда вы соберетесь в дорогу, найдите пару минут для того, чтобы убедиться в работоспособности сигнальных огней прицепа.
Если вы владелец легкового автомобиля, который вами используется совместно с прицепом, то вам следует позаботиться о подключении к нему электрики.
При желании вы сможете выполнить эту работу самостоятельно, для этого достаточно найти розетку, после чего, ориентируясь на схему подключения, можно быстро и без особых затрат довести дело до конца. Но если вы впервые будете заниматься этой работой, то вам непременно понадобится схема подключения розетки.
Особое внимание следует обратить на то, что есть разные методы выполнения этой операции, о чем вы должны быть осведомлены еще до того, как приступите к решению этой задачи. Поэтому первым делом вам следует теоретически подготовиться к подключению розетки, чтобы вы не зря потратили свои силы и время.
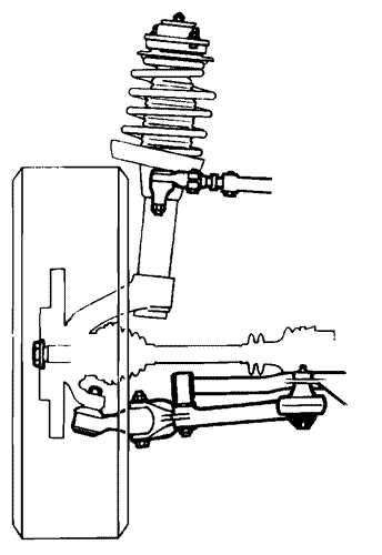
Подключение прицепа к легковому автомобилю
Владельцы как легковых, так и грузовых автомобилей с прицепом порой сталкиваются с проблемой подключения прицепа к своему транспортному средству. Кажется, что никому из нас никогда не пригодится прицеп для машины, однако порой без него не обойтись. К сожалению, как могло бы показаться изначально, только у игрушечных машин процесс сцепления с прицепом не вызывает никаких сложностей. В данной статье мы разберем трудные вопросы подключения автомобильного прицепа.
Подключение розетки прицепа
Чтобы присоединить к своему автомобилю прицеп, ваше транспортное средство должно быть снабжено фаркопом, иначе говоря – крюком для сцепления. Обычно к конструкции фаркопа прикрепляется площадка, на которую должен быть установлен защищенный от внешних воздействий контактный разъем, то есть розетка.
Самые распространенные розетки – семи- и тринадцатиконтактные. Первые чаще всего используются в России, вторые – в Европе и Америке. Разница в наличии дополнительных контактах, которые отвечают за включение противотуманных фар и электрического оборудования в домах-прицепах.
Подключение розетки следует начать, используя специализированные разъемы, там, где находятся колодки жгута задней фары.
Обычно в таком месте находится особое технологическое окошко для замены ламп. Именно через это окошко вы сможете контролировать присоединение проводов прицепа.
И все-таки вам обязательно придется тянуть один провод к розетке фаркопа от противоположной фары, так как он отвечает за указание поворота, а в противном случае сигнал поворота будет идти только от одной фары.
К сожалению, даже если вы будете четко следовать схеме при подключении розетки прицепа, то все равно можете не достичь желаемого результата. Все дело в том, что каждый автомобиль индивидуален, и вы можете столкнуться с трудностями, которые ни в одной статье описаны не будут.
Поэтому мы рекомендуем обратиться к специалистам, если у вас под рукой нет точной и проверенной схемы подключения розетки прицепа.
Подключение прицепа к легковому автомобилю
Большая часть прицепов легковых автомобилей снабжена стандартным набором сигнальных огней предупреждения, находящейся в задней части прицепа. На фаркопах, как известно, существуют штепсельные разъемы, на которые подается ток, идущий на электросистему присоединяемого прицепа. Обращаем внимание, что такие разъемы европейских и американских автомобилей могут не совпадать.В такой ситуации следует обратиться в автомобильный сервис, там специалистов смогут заменить розетки на походящие, чтобы вы могли самостоятельно подключить легковой прицеп. Однако не забывайте, что в самом начале вам придется проверить техническое оснащение прицепа. Прицеп должен быть в идеальном состоянии, ведь он такая же часть автомобиля, и на дороге от его состояния также зависит ваша безопасность.
Подключение прицепа к грузовому автомобилю
Грузовой прицеп подключается по такому же принципу. Основная разница заключается в габаритах и количестве сигнальных огней на самом прицепе – соответственно, проводов также окажется больше.
В случае с грузовым прицепом, его состояние необходимо проверить не менее тщательно, так как из-за своих габаритов он представляет куда большую опасность, чем легковой.
В заключение напомним, что подключение прицепа должно быть осуществлено по всем правилам, чтобы вам не пришлось оплачивать штраф за неработающие сигнальные огни прицепа. Поэтому перед поездкой с прицепом настоятельно рекомендуем проверить его работу и связь с автомобилем.
Смотрите также:Как прицепить прицеп
Как правильно прицепить автоприцеп
СМОТРЕТЬ ВСЕМ!
Неспособность правильно прицепить прицеп к вашему автомобилю может привести к серьезному повреждению вашего автомобиля и прицепа. Это также увеличивает риск аварии,создает опасность другим транспортным средствам вокруг вас, если вы потеряете прицеп во время вождения. Подключение прицепа-это не сложный и понятный процесс.
Действия
1. Поднимите шаровой разъем или соединитель язычка прицепа на высоту фаркопа вашего автомобиля
2. Выровняйте центр вашего автомобиля с центром вашего прицепа
- Используйте гнездо, прикрепленное к языку. Убедитесь, что вы подняли достаточно, чтобы у вас было достаточно свободного пространства, чтобы вы не ударили в прицеп.
3. Остановите автомобиль, как только язычок окажется над фаркопом
- Зафиксируйте его.
- Заглушите двигатель.

- Поставте ручной тормоз.
4. Опустите гнездо соединителя язычка на шарнир сцепного устройства прицепа
5. Закройте зажим соединителя, закрепляющий шарик в соединителе
6. Зафиксируйте прицеп на фаркопе замком
7. Протяните цепи под дышлом прицепа
Чтобы они пересекали друг друга. Это необходимо, чтобы предотвратить падение дышла прицепа в случае, если прицеп случайно отсоединится во время движения.
8. Подключите электрические провода для сигнальных огней прицепа
- Так же, если есть, подключите электрический тормоз на прицепе к транспортному средству.
9. Вы должны убедиться, что шар сцепки и фаркоп надежно закреплены
- Попробуйте приподнять дышло прицепа, чтобы убедиться, что соединение надежно
11. Проедьте своим авто несколько метров
12. Остановите автомобиль, поставьте его на ручной тормоз и включите габариты автомобиля
13. Проверьте и убедитесь, что габариты и стоп-сигналы работают на прицепе
Советы
- Проверить работу стоп сигналов может быть сложно, если вам некого попросить нажать на тормоз, пока вы смотрите на фонари прицепа. Если у вас нет никого поблизости, вы можете поставить зеркало позади прицепа, чтобы увидеть из автомобиля, работают ли сигналы. Нажмите на тормоз. Красное отражение означает, что стоп сигналы работают. Также не забудьте проверить сигналы поворота.
- Зажим на прицепном устройстве может закрываться очень туго. Небольшое количество смазки поможет закрыть замок с легкостью.
- Проверьте надежность соединения шара фаркопа и прицепного устройства.
поднимите дышло прицепа, чтобы убедиться, что прицепное устройство не соскакивает.
Предупреждения
- При приближении к прицепу на автомобиле перед сцепкой убедитесь, что между автомобилем и прицепом никого нет.
- Всегда проверяйте соединение, покрышки и ходовую часть перед тем, как отправиться в поездку с прицепом.
Читайте также:
Нет похожих статей
kakdelayut.ru
Эксплуатация прицепа — DRIVE2
Водители, имеющие категории «В», «С» или «Д» водительского удостоверения, могут эксплуатировать легкий прицеп. При категории «В» можно пользоваться прицепом только в том случае, если его разрешенная максимальная масса не превышает массы снаряженного автомобиля, а сумма разрешенных максимальных масс автомобиля и прицепа не превышают 3500 кг. В противном случае, а также для буксировки тяжелого прицепа, требуется открытие категории «Е» водительского удостоверения.
Легковой прицеп является полноправным участником дорожного движения, как и прочие транспортные средства, и некачественная установка и использование легкового прицепа может нести в себе угрозу не только водителю, но и другим участникам дорожного движения. Поэтому законодательством предусмотрена обязательная эксплуатация прицепа только с механическими транспортными средствами, оборудованными специализированными тягово-сцепными устройствами (фаркопами) и штепсельной розеткой.
Для использования прицепа необходимо дооборудование — выведение дополнительной электропроводки для световых приборов (габаритов, поворотников и стоп-сигналов) прицепа.
Также в целях общей безопасности на дороге установлено, что, в случае превышения габаритных размеров прицепа над шириной транспортного средства, выполняющего роль тягача в данном составе (например, прицеп-дача или прицеп-фургон), этот тягач должен иметь зеркала заднего вида, вынесенные на удлиненных кронштейнах. И общим правилом для всех прицепов, каких бы размеров и массы они ни были, является требование иметь в дороге пару подкладных клиньев для установки под колеса в случае остановки на уклоне.
Прицеп можно использовать практически с любым автомобилем, если разрешенная максимальная масса прицепа не превышает массу снаряженного автомобиля, относящегося к категории «В». Что касается прицепного узла — фаркопа, то технически его можно поставить на любой автомобиль.
Расход топлива при использовании прицепа увеличивается примерно на 10~20%, иногда более в зависимости от соотношения мощности автомобиля и массы прицепа и пройденного километража.
Основной особенностью езды с прицепом является то, что загруженный прицеп, снижает разгонную динамику автомобиля и увеличивает тормозной путь. Это необходимо учитывать при торможении и выполнении обгонов. Тормозить надо плавно — независимо от того, порожний прицеп или груженый. Рывки при торможении, особенно при прохождении поворотов, могут спровоцировать занос прицепа или автомобиля. Важно соблюдать дистанцию до идущего впереди автомобиля. Перед поворотом снижать скорость лучше заранее. Необходимо учитывать то, что при езде с прицепом значительно усложняются перестроение в потоке автомобилей, маневрирование и парковка в городских условиях. Особо сложным является движение задним ходом. Также надо проявлять осторожность при движении в сильный ветер.
Необходимо правильно загружать прицеп — груз следует размещать равномерно. Так, чтобы его центр тяжести находился над осью (если она одна) или между осями прицепа. Смещение центра тяжести вперед вызовет излишнюю нагрузку на сцепное устройство и всю заднюю часть автомобиля, снижая сцепление управляемых колес с дорогой. Смещение же назад приведет к подъему задней части автомобиля, что ухудшит сцепление с дорогой задних колес. При этом центр тяжести перевозимого груза должен быть как можно ниже, поскольку чем выше он оказывается, тем более склонен прицеп к продольной и поперечной раскачке, ухудшающей управляемость.
Оборудование автомобиля-тягача:
Для буксировки прицепа автомобиль-тягач должен быть оснащен специальным тягово-сцепным устройством и штепсельной розеткой для питания электрооборудования прицепа.
Существуют два основных типа ТСУ:
*петля-скоба с фиксатором. Состоит из скобы, в которую вдевается кольцо, закрепленное на узле сцепки прицепа и пальца, фиксирующего кольцо в скобе. Широко распространена на грузовых автомобилях и автомобилях с повышенной проходимостью;
*беззазорное шаровое ТСУ. Состоит из сцепного шара диаметром 50 мм (стандарт в РФ ОСТ 37.001.096-77, международный стандарт ИСО-1103-76) и металлической конструкции, с помощью которой ТСУ жестко крепится к задней части кузова автомобиля.
Существуют разборные конструкции ТСУ, позволяющие снимать крюк со сцепным шаром.
Штепсельная розетка закрепляется на специальном кронштейне ТСУ. Она подключается к соответствующим проводам заднего жгута проводки автомобиля (в багажнике вблизи фонарей заднего хода).
Цвета проводов жгута, идущих к соответствующим фонарям, указываются в схеме электрооборудования автомобиля, например:
Схема штепcельной розетки 1. Левый поворот 2. Противотуманный фонарь 3. Корпуc (маccа) 4. Правый поворот 5. Правый задний боковой габарит и номерной фонарь 6. Тормоз 7. Левый задний боковой габарит и номерной фонарь
Важная информация:
Управление автомобилем с прицепом имеет ряд существенных отличий от обычного вождения.
Большая масса снижает как разгонную, так и тормозную динамику. Это необходимо учитывать при торможении и выполнении обгонов.
Недопустимо превышать максимальную скорость, указанную в технической документации прицепа. Согласно ПДД максимальная скорость легкового автомобиля с прицепом вне населенных пунктов на автомагистралях не должна превышать 90 км/ч, на остальных дорогах — 70 км/ч.
Не следует использовать прицеп не по назначению. ПДД запрещают перевозку людей на грузовом прицепе или в прицепе-даче.
Тормозить надо плавно, независимо от того, порожний прицеп или груженый. Рывки при торможении, особенно при прохождении поворотов, могут спровоцировать занос прицепа или автомобиля и их «складывание». Поэтому перед поворотом снижать скорость лучше заранее, а сам поворот проходить «внатяг».
Увеличенные габариты усложняют перестроение в потоке, маневрирование и парковку в городских условиях.
При поворотах колеса прицепа движутся по меньшему радиусу, чем колеса автомобиля. Это следует учитывать при прохождении крутых поворотов.
На больших скоростях прицеп подвержен раскачиванию из стороны в сторону. Снизить его можно, уменьшив массу прицепа, увеличив длину дышла или снизив скорость.
Наиболее сложным является движение задним ходом
(Примерная последовательность маневров для заезда задним ходом в ворота)
движение задним ходом легкового автомобиля с прицепом — схема
Перед каждым выездом необходимо:
— проверить наличие смазки в механизме узла сцепки;
— проверить и при необходимости устранить регулировкой люфт между узлом сцепки и сцепным шаром;
— отрегулировать давление в шинах;
— убедиться в надежности соединения страховочных тросов или цепей;
— проверить работу приборов световой сигнализации прицепа.
www.drive2.ru
Установка автомобильного прицепа — КОЛЕСА.ру – автомобильный журнал
Прицеп – любимый аксессуар заядлых дачников, опытных автопутешественников, а также множества мелких коммерсантов из строительной и торговой сферы. Стоимость его не столь уж велика, а плюсы – огромны. Однако те, кто планирует ставить фаркоп своими руками на современный авто, а не на дедушкину «копейку», могут столкнуться с некоторыми сложностями…
Плюсов у прицепа – масса. Минус, по сути, один, но огромный – трудности с хранением… Во многих городах сегодня саму машину-то поставить негде, что уж говорить про парковку «телеги»… Однако, если с хранением прицепа затруднений у вас нет и его покупка запланирована, остаются, по сути, мелкие хлопоты – установка на автомобиль тягово-сцепного устройства, в народе именуемого фаркопом. Это не слишком сложно, поэтому многие автовладельцы традиционно монтировали фаркоп самостоятельно и самостоятельно же разводили электропроводку на прицеп. Однако, с годами многое изменилось.
Как было на старых машинах
Еще не так давно подключение электрики фаркопа не представляло никаких проблем для владельцев Жигулей, Москвичей, Волжанок и стареньких иномарок, и осуществлялось своими силами — навыков в простейшей бытовой электротехнике для этого вполне хватало.
Лампы фонарей прицепа попросту подсоединялись параллельно лампам фонарей на корме автомобиля — одна к одной. Процесс облегчало и ускоряло также объединение парных ламп (стоп-сигналов и габаритов) в группы на один провод, что было в порядке вещей на старых авто. Пара часов возни – и готово!
А хитрецы, не желавшие, чтобы знакомые клянчили у них «телегу» для поездки на дачу или на юга, еще и меняли пару штырьков в колодке разъема местами – собственная комбинация в порядке контактов позволяла сделать прицеп совместимым только с собственной же машиной…
Каноничное классическое прямое подключение фаркопа к электрооборудованию автомобиля:
Почему сейчас всё стало сложнее
Однако сегодня дедушкин способ подключения «лампу в лампу» потерял актуальность. Произошло это по двум причинам. Во-первых, электроника современного (даже бюджетного) автомобиля, как правило, постоянно контролирует целостность ламп в фонарях на корме машины, поскольку в наши дни их исправность принято считать весьма серьезным фактором безопасности движения. Электроника сравнивает известную ей номинальную токовую нагрузку от штатной лампы с реальностью, и «видит» перегоревшую лампу, отсутствующую, или с резко возросшим потреблением тока – а именно последний случай и соответствует подключению прицепа, когда мощность всех ламп удваивается. Это приводит самое меньшее к зажиганию «чека», а в худшем случае – к глюкам в работе «стопарей» и «поворотников».
Во-вторых (этот аспект имеет меньшее значение, но все же немаловажен), банальное увеличение мощности электропотребителей вдвое может плохо сказаться на электропроводке автомобиля, которая сегодня выполняется крайне экономно: в проводах к потребителям нет ни одного лишнего медного волоска – все строго рассчитано с минимальным запасом! И удвоение нагрузки вполне способно привести к опасному нагреву.
По этим причинам сегодня практикуется подключение электрооборудования прицепа к автомобилю посредством электронных блоков коммутации, получивших в народе общее название «смарт коннект». Модули «смарт коннект» служат посредниками между электрикой прицепа и электрикой автомобиля, и используют последнюю лишь в качестве источника команд, а не как силовую часть.
Что такое “смарт-коннект” и какой выбрать
Блоки «смарт-коннект» бывают дорогими оригинальными или бюджетно-универсальными. Первые актуальны для машин среднего и высокого ценовых сегментов, с достаточно продвинутой электроникой. Они получают команды по CAN-шине и в работе учитывают массу разных процессов, происходящих в автомобиле. Их установку нежелательно проводить в гаражных условиях, и даже в условиях небольшого мультибрендового сервиса, где привыкли без затей менять масло, колодки и стартеры. Заниматься самодельщиной и обращаться к «профессионалам широкого профиля» в этом случае не стоит.
Зато в конечном итоге с использованием фирменного «смарт-коннекта» движение с прицепом будет максимально корректным:
- Изменится алгоритм работы ESP, обеспечив безопасность при движении
- Изменится алгоритм работы ABS, обеспечив безопасность при торможении
- Скорректируется алгоритм работы полного привода (если он есть) – распределение крутящего момента по осям
- При включении задней передачи будет отключаться штатный парктроник
- При перегорании ламп в фонарях прицепа вы получите на экране приборной панели сообщение о перегорании конкретной лампы в прицепе
- При попытке злоумышленников разъединить разъем прицепа, сработает штатная сигнализация (а от нее и нештатная, с оповещением по радиобрелоку или GSM)
Впрочем, владельцам современных, но недорогих машин, занимающих, в общем-то, всю первую строчку лидеров автопродаж в нашей стране, пока еще не грозят существенные траты в дилерских сервисах, если они планируют оснастить свою машину фаркопом для прицепа.
Без дорогих оригинальных «смарт-коннектов» с их насыщенным функционалом вполне можно обойтись – да их, зачастую, и не существует для бюджетных авто. Дешевые универсальные «смарт-коннекты» обеспечат надежное и правильное функционирование фонарей прицепа без глюков в машине, ну а нюансы изменившегося поведения машины с прицепом возьмет на себя водитель – как в старые добрые времена!
Собственно установка
Для коммутации ламп прицепа модули «смарт-коннект» используют мощные транзисторные ключи и реле. Собственно, есть энтузиасты, которые делают и простейшие самодельные блоки сопряжения с прицепами на основе обычных 12-вольтовых реле – просто подключая их обмотки параллельно лампам в задних фонарях авто, а через контактные группы подавая питания на фонари прицепа. В принципе и такая конструкция имеет право на существование, хотя горсть реле, корпус и возня по цене выходят почти как недорогой фабричный гаджет…
К модулю, располагающемуся обычно в багажнике машины, нужно протянуть под обшивками порога силовой плюсовой провод от аккумулятора. После чего входы модуля через коннекторы-«вампирчики» подключаются к штатной проводке поворотников, стоп-сигналов, габаритов и заднего хода – это слаботочное, чисто сигнальное подключение, которое не оказывает влияния на работу задних фонарей, не порождает ошибок и сообщений о неполадках на дисплее торпедо. После появление напряжения, к примеру, на лампе левого поворота, «смарт-коннект» использует эту команду, чтобы выдать «плюс» на своем соответствующем силовом выходе, и зажечь аналогичную лампу на заднем борту прицепа.
Подключение электрики прицепа через «смарт-коннект» требует определенных навыков (и желания) поработать руками – придется протащить через салон плюсовой «хвост», подключить пару десятков проводов, упаковать красиво в гофры и т.п. Но в целом это затея невеликой сложности, и многим вполне по силам неспешно проделать такую работу, к примеру, в дачный уикенд. Однако есть и более простой метод обустройства электрической части при установке фаркопа – замена всех ламп накаливания в фонарях и подсветках прицепа на светодиодные.
Это один из самых быстрых и легких, но при этом вполне рабочих способов реализовать езду с прицепом на современном авто.
Дело в том, что 21-ваттная лампа накаливания, традиционно применяемая в фонарях стоп-сигналов и поворотниках, потребляет 1,8-1,9 Ампера при напряжении 13.8-14.0 вольт, а ее светодиодный аналог — 0,16-0,2 ампера. Плюс-минус от экземпляра к экземпляру ток может гулять, но в целом потребление светодиодной лампы составляет 9-10 % от классической. Это пренебрежимо малая величина, которая может проявляться даже в виде погрешности при смене одной лампы накаливания на другую того же типа. И когда увеличение потребления тока происходит на столь несущественную величину, электронный блок контроля ламп не считает такое отклонение за проблему.
Минусы у такого способа имеются, хотя и не смертельные. Дешевые светодиодные лампы не слишком надежны и яркость их в солнечный день может быть недостаточной, а дорогие могут сделать всю затею с попыткой обойтись без «смарт-коннекта» невыгодной. Ну и использовать вы сможете только свой прицеп, модифицированный до «LED-версии», а вот чужой, у которого в фонарях установлены обычные лампы, — не сможете. Впрочем, иметь собственный прицеп и при этом периодически буксировать чужие – ситуация крайне редкая и ее можно не считать за проблему.
Опрос
А у вас есть фаркоп?
Всего голосов:
www.kolesa.ru
Сообщества › Прицепы › Блог › Изготовление удобного кронштейна крепления «запаски» под полом прицепов МЗСА (и не только)
«Запаска» под полом недавно появилась на моем четвертом прицепе МЗСА.
Кронштейны под две запаски я ранее, четыре года назад, сделал самостоятельно на два своих прицепа МЗСА — 01 и 15 модели. Но прицеп мод. 01 позапрошлой зимой у меня украли с ул. Ивана Франко в Москве.
Полный размер
Он, конечно, официально в розыске. Однако с проверкой VIN на легковых прицепах полицейские не заморачиваются. И даже не обращают внимание, что похищенный прицеп внешне сильно изменен.
Переделки отражены в «особых отметках» на подлинных СР и ПТС. Как я этого добивался заслуживает отдельной саги. В поддельных документах, с которыми он где-то катается, этих «излишеств», очевидно, нет. Вообщем, сегодня прицеп я считаю утраченным.
Полный размер
На свои следующие прицепы МЗСА…18 и МЗСА…35 кронштейны я попросил сделал форумлянина 1KOS, ибо в связи с непрерывными свалившимися квартирными ремонтами квартир, которые сдаю, а теперь и квартиры где проживаю, свободного времени, сил для работы с металлом, подгонки детали по месту, да и условий для проведения работ у меня попросту нет.
Полный размер
В отличие от других конструкций крепления «запаски»
Полный размер
вы избавлены от опасности навалиться бампером на «запаску», если «заломите» чересчур крутой поворот, а колесо будет относительно чистым даже в неважную погоду.Передний борт будет открываться без препятствий. Да и вообще развесовка прицепа становится лучше, ибо несколько облегчается дышло за счет противовеса «запаски» на корме. А пространства в задней части прицепов МЗСА столько, что можно запросто разместить не одну «запаску», а, на широких прицепах, и две и три…
Расскажу как его сделать:
Основой кронштейна является знакомый многим владельцам МЗСА девайс, который завод рекомендует останавливать в передней части, под кузовом.
Полный размер
Соответственно, чтобы добраться до запаски, если прицеп груженый, завод вынуждает разложить ценный груз на слякотной дороге, приподнять кузов и вытащить заветный «бублик». И все это, рискуя, попасть под «гильотину» опускающегося под собственным весом кузова. Б-р-р…
Насколько этот вариант удобен, оставляю без комментариев. Но…МЗСА с завидным упорством продает эти недорогие чрезвычайно опасные, считаю, кронштейны.
Короче, надо купить в магазине или у дилера такой «недоразвитый кронштейн». Еще надо приобрести дверную петлю, (подойдет также петля для ворот) имеющую ширину, аналогичную купленной увечной детали.
Из разъемной квартирной петли надо сделать неразъемную, путем ее разбора, резки крыльев Ш-образным способом и ее обратной сборки. Края стрежня вальцуем, дабы модернизированная петля не развалилась в самый неудобный момент.
Еще необходимо сделать небольшую металлическую пластину (желательно из нержавейки или оцинковки). Она крепится к поперечной балке прицепа под полом (см. фото) на двух болтах.
Я ее делал несколько шире кронштейна, чтобы на балке отверстия не располагались чересчур, на мой взгляд, близко, ослабляя силовой элемент. К этой пластине двумя-тремя болтами (в зависимости от количества отверстий на петле) прикрепляется петля. Другой конец петли крепим к обрезанному недо-кронштейну.
Полный размер
Вот тут важно опытным путем определить место обреза кронштейна и крепления петли так, чтобы проем между кронштейном и нижней части пола точно соответствовал толщине колеса. Ну а другой край кронштейна обрезаем и подгибаем так, чтобы с одной стороны он точно прилегал к плоскости нижней части задней балки прицепа. В ней сверлим одно отверстие, а на задний конец кронштейна привариваем болт.
Полный размер
Обратите внимание, что задний конец кронштейна имеет так называемый «клюв», чтобы при подъеме или спуске кронштейна с колесом, он не соскользнул с указательного пальца руки.
Полный размер
1KOS снабдил кронштейн поперечным фиксатором с рым-болтом. Кронштейны, которые делал я, таких фиксаторов не имеют.
Полный размер
Думаю, они лишние. И так держится. Летом, на даче заменю излишне длинный болт у петли, а, в задней части, укорочу резьбу и поставлю так называемую колпачковую гайку.
Полный размер
Она будет защищать от коррозии и грязи нежную резьбу. Возможно уберу и фиксатор — всегда ценю легкость.
Полный размер
P.S. Ссылку на данную статью отправлю завтра на электронную почту МЗСА.
www.drive2.ru
Сообщества › Самоделки (гаражный автопром) › Блог › Самодельный прицеп к легковому автомобилю.

Всем привет!
Решил показать свой прицеп. Под старые документы сделал себе самодельный прицеп. Прицеп изготавливался под легковой автомобиль. Рама сварена из профильной трубы 60х40х3мм. Каркас кузова из трубы 25х25х2мм. Обшит обшивкой бортов от Газели. Внутренние размеры кузова 1900х1300мм. Ось изготовлена из толстостенной трубы наружным диаметром 65мм. Толщина стенки трубы 9мм. Рессоры от Газ-69. Прицепное устройство промышленного изготовления. Электрооборудование: проводка самодельная, фонари от автомобиля Уаз. Заводская вилка с розеткой. Амортизаторы и колеса от Ваз-2106. Ступицы Ваз-2109. Задний борт съемный. Прицеп самосвального типа. Имеет запасное колесо и подставку. Окрашен автомобильной авто-эмалью. Грузоподъемность 1000кг. За четыре года эксплуатации показал себя с лучшей стороны. Поломок не было. Прицеп постоянно используется в домашнем хозяйстве.
www.drive2.ru
Как узаконить прицеп? — Сообщество «Прицепы» на DRIVE2
Ситуация такая.
Есть у меня прицеп 1990 года выпуска, типа КМЗ-8284. Купил его в прошлом году у знакомого. Из документов есть только свидетельство о регистрации.
Прицеп принадлежал престарелому дальнему родственнику знакомого, который скончался в районе 2000-х годов, наследство не оформлялось, т.к. имущества особо не было. А прицеп так и остался у знакомого с позволения близких родственников, которые на него не претендовали.
Прицеп юридически-чистый, номера висят, ГАИ останавливает, но претензий к нему не имеет. Знакомый ездил с ним лет 10, я год отъездил и вроде всё нормально, но внутри что-то гложет. Вдруг св-во о регистрации потеряется или камера за скорость в зад стрельнёт и система где-то натолкнётся на отсутствие реального владельца.
В МРЭО обратился, там сказали что нужно брать наследников, оформлять наследство… и т.д. Этот вариант отпадает, т.к. цена вопроса приблизится к покупке нормального прицепа с доками.
Есть ли ещё какие-то варианты решения ситуации или проще и правда продать его за недорого, а себе купить какой-нибудь конструктор типа Титан 2, как здесь в блоге пишут, и допилить под свои требования?
ЗЫ Максимальный бюджет на восстановление документов для себя вижу в пределах 10 тыс.
24 марта 2017 в 15:03 Метки: прицеп, фаркоп, кмз, тент, каркас, документы, шильда
www.drive2.ru
Автодом своими руками. Вкладыш на прицеп кмз 8136. — Сообщество «Прицепы» на DRIVE2
Полный размер
Есть давняя мечта о доме на колесах, начал воплощать ее в жизнь.
Можно было бы конечно купить заводской европейский кемпер, но он развалится еще на трассе, не говоря уже о бездорожье.
В основе моего автодома прочный металлический каркас, полностью раскосыненный, с внешней стороны будет обшит бюджетным материалом, точнее профнастилом s8, 0.4мм, внутри фанера, стеновые панели, минимум пластика.
Утеплитель экструдированный пенополистирол, пол 40мм, стены и потолок 20мм.
Отопление сухой фен лунфей 5Кв
Также планируется установка солнечной батареи.
Планировка
из за не съемных бортов прицепа вход сделан сзади что для кемпинга не очень удобно.
обязательным условием было наличие душа/туалета(для семейного отдыха), при выездах на охоту это помещение будет использоваться как кладовка или сушильный шкаф для одежды и обуви(за счет принудительной вентиляции)
Спальных мест 4 в 2 яруса, компоновка семейная 2 по 2 140см х 195см. 1 ярус по кемперному принципу столовая с диванами раскладывается в спальное место, 2й ярус стоит над 1м, практически стационарный, поднимается к потолку под углом на петлях.
Размеры
габаритные размеры
ДхШхВ 330х200х210см
адаптер под прицеп 330х118х340(с возможностью использовать практически на любом другом прицепе)
Оформление
ОТСУТСТВУЕТ
максимальные размеры груза перевозимого на легковом прицепе ширина 255см, высота до 400см с учетом высоты прицепа.
Прицеп
то что было в хозяйстве, КМЗ 8136 с удлинителем дышла, грузоподъемность 370кг, будет усилено дышло, проварена рама, заменены пружины, заменены колеса.
Постройка автодома идет в данный момент, в своем блоге буду выкладывать фото и видео, рассказывать о нюансах постройки.
Полный размер
www.drive2.ru
Несколько вопросов по тенту на прицеп. — Сообщество «Прицепы» на DRIVE2
Полный размер
Есть прицеп, недавно сделал на нем каркас для тента.
В ближайших планах приобрести на него тент.
Прицеп у меня впервые в жизни, поэтому в прицепах я мало разбираюсь, а тем более в аксессуарах к ним.
В гугле не забанили, просто по интересующим вопросам я ответов там не нашел, к сожалению, т.е. пишут, но всё не то.
А вопрос такой-буду заказывать тент(надеюсь, что до лета закажу)-какие крепления и как устанавливать на борта для натяжки тента?Креплений в магазинах море, но я не знаю, какие лучше подойдут для моего прицепа, чтобы в дальнейшем не мучиться с ними и тент чтобы хорошо можно было натянуть.Фото прицепа прилагаю, чтобы всем была понятна конструкция прицепа.Чем крепить эти крепления к фанере на бортах?Саморезы, думаю не слишком хороший вариант, т.к. имеют свойство раскручиваться и отламываться.
На каком расстоянии от края борта и друг от дружки эти крепления лучше прикручивать?Что использовать для натяжки тента(трос, веревку)?Как крепить тент к переднему и заднему бортам(если буду заказывать-то хочу, чтобы тент спереди и сзади открывался для перевозки крупных вещей)?
Нужно ли что-нибудь прикрепить на каркас тента спереди или и так норм(чтобы не было парусности-просто видел-некоторые спереди крепят фанеру или что еще)
Ну и еще вопрос-как лучше-сразу приобрести и закрепить эти крепления и потом заказывать тент-пусть шьют по ним или лучше сперва приобрести тент и по нему выставлять их?
Повторюсь-я в прицепах мало разбираюсь.кому то вопрос покажется глупым, прошу не кидать тапком.
Размеры прицепа 2 на 1.3, высота борта 40 см, высота каркаса 90 см.
Борта фанера 9мм.
Полный размер
Полный размер
29 января 2019 в 10:56 Метки: тент на прицеп, вопрос, тентовка, самодельный тент, люверсы, трос
www.drive2.ru
как приделать крепление своими руками
Всем привет! Когда отправляешься в поездку на автомобиле с прицепом, стоит заранее подумать над вероятностью прокола колеса.
Причем не только на самом авто, но и на прицепном транспортном средстве. Вопрос лишь в том, как и где располагается запаска на прицеп, что можно сделать для подобных целей и как обеспечить возможность перевозки еще одного колеса своими руками.
Фактически здесь есть несколько вариантов. Каждый из них мы рассмотрим отдельно. Важно понимать, что запасное колесо имеет огромное значение в подобной ситуации, поскольку остаться без 1 колеса означает практически сделать невозможным дальнейшее движение.
Если у вас есть свои варианты, особенное и оригинальное крепление, которое можно купить или смастерить своими силами, обязательно оставляйте отзывы и рассказывайте о своих идеях в комментариях.
Возможные варианты установки
Начнем с того, каким образом можно перевозить запасное колесо. Поскольку мы говорим про легковой прицеп, то такой элемент как корзина под запаску, являющийся прерогативой полуприцепов, в принципе можно исключить.
Корзина требует достаточно близкого размещения конструкции относительно дорожного полотна. Тем самым клиренс существенно снижается, если поставить корзину на легковой автоприцеп. Рассмотрим более реальные альтернативные варианты. А именно:
- размещение в багажнике машины;
- погрузка в сам прицеп;
- использование специального кронштейна;
- самодельные крепления;
- веревки и жгуты;
- установка вместо автомобильной запаски;
- размещение на крыше авто.
Тут вы сами понимаете, что вариант с установкой вместо автомобильного запасного колеса нужно исключить сразу.
Что касается размещения на крыше, в прицепе и в багажнике машины, а также применение веревок и жгутов, то эти варианты более реальные, имеющие много общего с реальностью.
Но не стоит спешить с выводами, кидать запаску в багажник или закидывать в прицеп.
У таких вариантов тоже есть свои нюансы, скорее напоминающие недостатки:
- теряется пространство;
- из прицепа запаску легко вытащить;
- жгут, веревку и трос легко разрезать;
- может создаваться дополнительный шум;
- нерациональное использование объема;
- запаска на крыше создает дополнительное сопротивление;
- портится эстетический внешний вид авто;
- постоянно снимать и устанавливать колесо на крышу утомительно.

Причин можно назвать множество. Но вывод один. Просто откажитесь от этих идей. Использовать их допускается в крайних случаях, когда альтернативы нет, и требуется быстро собраться.
Когда время есть, лучше пойти более правильным и логичным путем.
Специальные кронштейны
Это, пожалуй, самый правильный и грамотный способ, как приделать к прицепу запасное колесо. В продаже у производителей автоприцепов и комплектующих для них предлагаются специальные кронштейны.
Наиболее наглядным примером выступают кронштейны от МЗСА и компании Курганские прицепы.
Не стоит думать, что их кронштейны подходят исключительно для автоприцепов этих компаний. Это достаточно универсальные конструкции. Главным условием выступает наличие именно V-образного дышла. Оно обеспечивает необходимое пространство для фиксации крепления под запаску, а также дает возможность без ущерба для эксплуатационных характеристик самого автоприцепа дополнительно перевозить полноценную запаску, будь у нее 13 радиус или более внушительный размер.
Запасное колесо лучше покупать под размер устанавливаемого на прицеп. Это позволит сохранить ходовые характеристики и спокойно продолжить путь.
Кронштейн-крепление предлагается в обширном ассортименте. Его можно установить на лодочный и обычный бортовой прицеп. Опять же повторюсь, тут главное форма дышла.
Советую изначально при покупке автоприцепа правильно подобрать комплектацию. Некоторые пытаются сэкономить, выбирая прицеп в самой простой комплектации. Но это распространенная ошибка.
Суть в том, что правильно подобранный по своему оснащению и комплектации прицеп заметно расширяет возможности. Тот же кронштейн под запаску многие считают лишним и ненужным элементом. Но представьте на минуту ситуацию, что колесо в дороге лопнуло. Как быть дальше? Ждать помощи, либо на пробитом колесе пытаться двигаться своим ходом? Это опасно и порой бесполезно. Только хуже можете сделать. А когда есть родное запасное колесо, останется лишь достать домкрат, поднять прицеп, снять старое колесо, установить запасное и все, можно смело продолжать поездку.
Кронштейны устанавливаются под переднюю часть кузова. На нем предусмотрены специальные крепежи, обеспечивающие фиксацию. Тем самым кронштейн под запаску не мешает эксплуатации и не создает помех.
Самодельные крепления
В сети можно встретить широкое разнообразие инструкций и видео и фото с рекомендациями, как можно закрепить на обычный или лодочный прицеп запаску. Подобные примеры рассмотрены на автоприцепах Крепыш, КЗАП 8140, продукции компании Трейлер и пр.
Самые простые варианты предлагают просто затянуть колесо на дышле с помощью ремней и жгутов. Не самый лучший вариант. Плюс чрезмерное постоянное натяжение может деформировать покрышку.
Среди всего этого разнообразия мое внимание привлек один способ. Примерно опишу, о чем идет речь:
- Сначала потребуется отыскать ступицу колеса. Желательно, чтобы по размерам она совпадала с отверстиями по ступицу в запаске;
- Даже если буквально 2 отверстия совпадают, отлично;
- Первым делом крепит ступицу к торцевой части прицепа над дышлом, то есть к передней стенке. Делается это с помощью сварки;
- Если металл борта тонкий, можно просверлить отверстие, и закрепить ступицу болтовым соединением;
- Непосредственно на ступицу надевается запаска;
- Закручивается необходимое количество болтов, но не менее двух.
Прежде чем использовать подобный вариант крепления, сделайте предварительные замеры, чтобы запаска занимала минимум пространства и не мешала погрузо-разгрузочным работам.
Другие приваривают металлические шпильки с резьбой на само дышло прицепа, продевая их через крепежные отверстия колеса. Накручивается несколько гаек, и готово.
При всем разнообразии самодельных способов крепления, наиболее оптимальным я считаю использование заводского кронштейна. Это проверенные, протестированные конструкции, обладающие нужными размерами и предусматривающие наиболее безопасный и практичный способ размещения запасного колеса.
Спасибо всем, кто нас читает! Подписывайтесь, оставляйте комментарии, задавайте вопросы и рассказывайте о нас своим друзьям!
youtube.com/embed/TwPNf7O3Zlo» frameborder=»0″ allowfullscreen=»allowfullscreen»/>
pricep-vlg.ru
Подкат — прицеп — Сообщество «Кулибин Club» на DRIVE2
По роду деятельности, часто приходится гонять в регионы и забирать оттуда различные повозки для дальнейшей реанимации, покраски, разбора в дербан или в качестве донора для багги.
Веревка — это, конечно, хорошо, но как-то уже не доставляет радости сидеть в ледяной машине, прокорябывать маленькое окошечко в заиндевевшем изнутри стекле, которое тут же затягивается и вглядываться в него в задницу буксирующего автомобиля…
Томными летними вечерами была изготовлена вот такая вот заковыка: в прошлом все мучения, страдания и лишения! Теперь — с радостью и удовольствием можно тащить машины хоть за три тыщи верст!
лафет доставляется к месту погрузки в разобранном виде
Почему в разобранном?
Да потому-что буксировать к месту погрузки такую кракалыгу — это привлекать внимание гайцов.
— Что это? Прицеп?
— Нет, не прицеп, это для буксировки автомобиля
— К машине прцеплен, едет по дороге. Это прицеп. Где документы? Нету? Прекратить движение с пристегнутой хренью.
— Дяденька, отпустите нас, нам еще три тыщи верст за машиной ехать!
— Гони тыщу — отпущу
— Вот, пожалуйста, спасибо!
Опять же — быстро не поедешь, потому-что незагруженный подкат скачет на дороге и норовит нанести повреждения параллельно идущим ведрам. То есть всю дорогу задница в горсть, сидишь не в уютном автокресле а на измене…
А в разобранном виде — никаких вопросов. Грузим на верхний багажник или сложив спинки сидений — в салон.
15 минут с перекурами на сборку
или 10 без перекуров.
и везем приболевшую машинку хоть за 5, хоть за 200, хоть за 5000 км.
Немного поподробнее я тут описал www.drive2.ru/b/1624405/
Ну и на базе подобной металлоконструкции буду делать прицепчик-дачу для своего кемпера.
купить прицеп подкат эвакуатор можно тут: vk.com/podkatka
ну и вот так это выглядит в жизни:
прицеп отлично справляется как с легковыми
Полный размер
Полный размер
так и машинами покрупнее
в сложенном виде уютно хранится в углу гаража.
Полный размер
www.drive2.ru
Легковой прицеп своими руками. — Сообщество «Прицепы» на DRIVE2
Начну из самого начала. Долгими зимними ночами делать было нечего, задумал я сделать прицеп. Как сделать, из чего, с чего начинать, какие размеры принять, просчитать чтоб ровно стоял на сцепке с автомобилем, при нагрузке сильно не приседал, какие механизмы использовать, на сколько сместить ось относительно центра — скажу честно продумывал все в голове где-то месяц, чуть меньше рисовал в autoCAD»е. Всегда хаял заводские прицепы из-за завышенной цены, но когда коснулся этого сам затраты на материал
+ работа очень близко приблизились к этой цене заводского прицепа.
К сожалению фото самого изготовления нет. Размер Прицепа 195х125мм
И так: были использованы задние ступицы переднеприводного автомобиля. Ось из толстостенной трубы два дюйма. Токарные работы — муфта с одной стороны под диаметр трубы, с другой под выступ ступицы. Рессоры Москвич-412. Амортизаторы задние классика. Отбойки передние ГАЗель. Рама — проф. труба 2,5х5х2мм. Борта- проф труба 2,5х2,5х1,5мм., обшит (приклепан) 1мм. металлом. Водило — проф. труба 6х3х2мм. В целях экономии материала на дно уложена отфугованная доска 25 мм(сушилась на прокладках все лето затем 3 раза обработана отработкой), сверху положил оцинкованный металл. Крылья от Башкирского прицепа «БАТЫР». Окрашен черной грунтовкой за тем автомобильной краской.
Автомобильная проводка (мягкая изоляция) проложена по всей длинев автомобильной гофре. Так же как и на заводском прицепе были установлены катафотки.
Водила V образное, пришлось мало помучиться пока приварил по центру, но зато прицеп получился самосвальным.
Подводя итог хотелось сказать- не жаль потраченного времени и сил, прицеп получился копия заводского. Чего собственно и хотел. Особого интереса у сотрудников ГИБДД не вызывал. По затратам на материал вышло 11-12 тыщ(в этой цене всё, даже то что у меня было).
www.drive2.ru
Схема подключения разъёма прицепа легкового автомобиля
Особенности подключения ТСУ, схемы подключения устройства на 7 пин, обозначения по цветам, схема подключения вилки, схема подключения розетка фаркопа.
- Сколько есть разновидностей розеток?
а) Для легковых автомобилей выпускается три вида розетки. Тринадцатиконтактная, применяемая в России. Американская или Европейская на 7 пин. И имеется специальный разъем.
б) В продаже имеется два вида розеток. Русская на 13 пин и Американская на 7 контактов.
- Что обозначает контакт, отмеченный буквой «L»?
а) провод, направляющийся к левому поворотнику.
б) Провод правого поворотника.
в) Провод, включающий правый и левый поворотники.
- Зачем на розетки ставят крышечки?
а) Крышка нужна, чтобы лишние провода не были подключены к устройству.
б) Она служит защитой, предохраняющей розетку от внешних воздействий. Крышка нужна в тот момент, когда авто фаркоп не соединён с прицепом.
- Какие контакты можно срастить, чтобы упростить процесс сборки?
а) Сращивать можно контакты двух фар, заднего хода, стоп-сигналы, противотуманку и габаритные огни. Все они включаются синхронно.
б) Соединять разрешено любые контакты. Так работа пойдёт проще.
- Что обозначает контакт, отмеченный «54G»?
а) Подключение к задней противотуманке.
б) Подсоединение к стоп-сигналам автомобиля.
Ответы:
- а) Есть три вида розеток – русская на 13 контактов, американская или европейская на 7 пин, а также специальный разъем.
- А) Буквой «L» обозначается ровод, подсоединяющийся к левому поворотнику.
- Б) Крышка на розетке служит в качестве защиты от различных воздействий. Ее закрывают, когда фаркоп не подключен к прицепу.
- А) Для упрощения работы, сращивают следующие контакты: двух фар, заднего хода, стоп-сигналы, противотуманку и габаритные огни. Возможность соединения объясняется тем, что все они включаются синхронно.
- А) Обозначение «54G» — это подключение к противотуманным фарам автомобиля.
Чтобы перевезти объемный груз, на автомобиль крепится надежный прицеп.
Подсоединение происходит посредством ТСУ и плотного контакта с его розеткой. Необходимо правильно подключить контакты, чтобы на прицепе при езде срабатывали задние фары, сигнализирующие участникам дорожного движения, что водитель совершает разнообразные действия, к примеру, поворот. Чтобы правильно подсоединить сигналы, потребуется изучить схему подключения прицепа, а также распиновки розетки фаркопа.
Определение: Распиновка розетки прицепа – это схема разъемов, необходимая для соединения автомобиля с прицепом своими руками. Подключение электрики требуется, чтобы на прицепе работала вся осветительная техника, согласно правил дорожного движения.
Виды разъемов распиновка и схема подключения
для авто типа Лада Веста, Рено ДастерРазъем фаркопа иногда называют обычным штекером. При помощи этого устройства можно соединить электропроводные элементы транспорта с прицепом. Имеется несколько разновидностей разъемов:
- Тринадцатиконтактная розетка используется в основном в России.
- Американский или Европейский стандарт имеет 7 пин, то есть 7 пиновых разъемов.
- Также выпускается специальный разъем.
Распиновка фаркопа на 7 контактов предполагает применение нескольких поводков. Их толщину должна равняться 1,5 мм или 2 мм. Используются 6 проводов по 1,5 мм и один провод в 2 миллиметра.
Рисунок 1. Схемы распиновки 7 контактного разъема
- «L» обозначает провод, направляющийся к левой стороне автомобиля — поворотник.
- «54G». Предназначается для подключения к задней противотуманной фаре.
- «31» — провод – «минус». Он имеет толщину в 2,5 мм.
- «R» подключается к правому поворотнику.
- «58 R». Идет на правый габарит и подсвечивает номерной знак автомобиля.
- «54» отвечает за стоп-сигналы.
- «58». Это левая сторона габаритов.
Как избежать ошибок при подключении распиновки на 7 пин
Чтобы не совершить ошибок, следуйте схемам.
Ниже представлен рисунок на 7 пин. Расцветка стандартная и используется на автомобилях российской сборки, например, на ВАЗ 2107. Но иногда встречаются и некоторые отклонения по цветам. Если используется европейской автомобиль, вроде Рено Дастер, то разъемы могут быть задействованы не все.
Рисунок 2. Схема по цветам
Пояснение по цветам:
- Управление левыми поворотниками.
- ПТФ. На иностранных автомобилях обычно этот контакт не используется.
- Масса.
- Управление правыми поворотниками.
- Левые габаритные огни.
- Стоп-сигналы.
- Правые габаритные огни.
Семиконтактный разъем на современных иностранных автомобилях чаще всего не используется. Там подключают 13 пин. Но в том случае, если на прицепе установлен старый образец штекера, то его необходимо подключать к новому евроразъему при помощи проводника. Это гораздо проще, чем заменять разъём на автомобиле целиком.
Ответы на 3 часто задаваемых вопроса о подключения розетки фаркопа
Куда крепится дополнительная розетка?
В случае, если потребуется установить дополнительную розетку ТСУ, крепить ее необходимо в подрозетник фаркопа.
Как соединить контакты?
Контакты соединяются при помощи схемы распиновки. Если производитель добросовестный, то в коробку обязательно будет вкладываться инструкция по правильному размещению. Если распиновка отсутствует, тогда автолюбителю придется самостоятельно определить принадлежность всех контактов.
Какие нужны материалы для установки розетки?
Список обязательных материалов:
- Розетка для фаркопа.
- Различные приспособления для демонтажа бампера.
- Термоусадка и изолента.
- Крепежная пластина и иные крепежные элементы.
- Гаечные ключи и отвертки. Потребуется использовать разные размеры.
- Хороший паяльник.
- Если в комплекте не предусмотрены провода, тогда необходимо найти медные с подходящей толщиной.

- Клеммы, которые будут соединяться с проводами. Обычно они продаются вместе с фаркопом, но если в упаковке их нет, тогда нужно посетить рынок или строительный гипермаркет для покупки.
- Схема для подключения. Лучше всего иметь ее на бумажном носителе. По памяти соединять нежелательно. Если распечатать не удалось, тогда скачайте схемы на свой смартфон, чтобы постоянно сверяться с правильностью соединения.
Автомобилистам, решившим самостоятельно установить ТСУ, и произвести монтаж розетки, необходимо запомнить одно правило: каждая жила в многожильном кабеле должна в толщину составлять не меньше полутора миллиметров.
Еще важно знать 5 нюансов о подключении
:Посмотрите на картинке разъем фаркопа. Выключение не составит особой сложности, особенно если имеется универсальный составляющий элемент, представляющий собой разъем фаркопа. Очень удобно производить соединение в том случае, если вилка и розетка совпадают по разъемам. Соответственно, розетка, состоящая из семи контактов, должна подключаться к семиконтактной вилке . В таком варианте можно будет производить обычное подключение, не забывай совмещать нужные гнезда с соответствующими розетками.
Рисунок 5. 7 пин Рисунок 6. Крышка
Предварительно ознакомьтесь с расположением всех семи подключаемых разъемов. Если они совпадают визуально, то можно просто попробовать соединить одно к другому. Если розетка фаркопа качественная, то на ней обязательно должна быть крышечка. Она нужна для предохранения от различных внешних воздействий. Такая защита потребуется в тот момент, когда авто фаркоп не соединён с прицепом.
Рисунок 7. Сращивание
Подключить электронику можно более простым способом. Чтобы совершить подобную операцию, необходимо объединить несколько поводков в группу, и создать результативный симбиоз подачи электрических сигналов. Сращивать можно контакты двух фар, заднего хода, стоп-сигналы, противотуманку и габаритные огни.
Это объясняется тем, что при эксплуатации автомобиля они будут использоваться синхронно. Крепление обеспечивается при помощи кронштейнов.
Следующий способ предполагает изменение электросистемы автомобиля. Это изменение заключается в объединении нескольких проводов, которые ведутся к задней световой, и сигнальной электрике прицепа. Их необходимо соединить с проводами от сцепного устройства. Если на автотранспортном средстве стоит сложная электросхема, тогда придется потратить чуть больше усилий, чем в предыдущих вариантах. Если сигнальные и световые лампочки автомобиля работают без специального микропроцессора, тогда можно подключить 7-канальный фаркоп разъем. Перед тем как начать операцию, следует убедиться, что проводков хватает. Если есть необходимость, то элементы проводки можно изготовить своими руками, используя медный трехжильный полторамиллиметровый провод. На них должна стоять маркировка «ПВС».
Если подсоединение происходит напрямую, перед глазами обязательно должна находиться схема фаркопа, а также схема розетки автомобиля.
Чтобы правильно произвести соединение, необходимо по одному проводу подать на поворот сигналы, стопы, а также габаритные и противотуманные фары, также туда подключаете освещение номерных знаков. Также потребуется соединение нескольких проводов, которые идут на массу, фару заднего хода, если такая есть. На электронные блоки также устанавливают специальный переходник. Речь идёт о блоке согласования между электрикой, фаркопом и прицепной части автомобиля. При наличии такого соединения, все подключаемые части будут работать бесперебойно и не создавать проблем автомобилисту. Подключение блока согласования фаркопа производится своими руками.
Фото схем подключения схем фаркопа всегда помогут в работе, если возникли трудности.
Подключение розетки для прицепа
Топ-5 лучших производителей фарк-в на автомобили типа ВАЗ 2110, Тойота Хайлюкс
Очень часто автолюбителям приходится перевозить габаритные грузы.
На крышу машины вроде ВАЗ 2110 помещать их неудобно и небезопасно. Именно поэтому приходится заниматься подсоединением прицепа. Это необходимо делать правильно – через фаркоп. Но чтобы произвести надежное соединение, потребуется покупать устройство от хороших производителей, которые уже давно зарекомендовали себя на рынке с положительной стороны. Некачественное оборудование приведет к серьезным последствиям – если отключатся поворотники на прицепе, то возможно образование дорожно транспортного происшествия.
Список лучших производителей:
- Bosal. Производитель предоставляет своим клиентам широкий ряд продукции. Все компоненты качественно соединены. Используются лучшие комплектующие. С устройством всегда дают инструкцию по применению. Она понятная и наглядная.
- Thule. Фирма также известна под маркой Brink. Модели быстросъемные, а потому не придется долго возиться с подключением и разборкой. Качество материалов и сборки очень хорошее. Бренд надежно зарекомендовал себя.
- Auto-Hak. Это модель имеет приемлемые цены, но при этом качество конструкции одно из самых лучших. В магазинах можно найти широкий выбор продукции. Имеются также быстросъемные модели.
- Baltex. Приобретать можно людям с отечественными, а также китайскими автомобилями. Качество изготовления хорошее, но несколько уступает предыдущим моделям. Крепеж изготавливается из нержавейки, а потому можно без проблем ездить с прицепом под дождем.
- Avto S. Подходит для китайских и российских автомобилей, как для Тойоты Хайлюкс, так и для Лады Веста. Цены очень низкие.
Основная проблема, с которой сталкиваются владельцы легковых автомобилей при подсоединении прицепа, — это неисправности в работе светотехники. Даже если разъемы розетки и вилки полностью совпадают,могут не гореть или неправильно срабатывать габаритные огни, поворотники или стоп-сигналы. Это связано с различиями в стандартах, которые используются производителями при разводке электрики.
Существуют несколько основных схем подключения прицепа к фаркопу в зависимости от числа контактов розетки и стандартов стран. В России наиболее распространены 7-пиновые (европейские и американские) и 13-пиновые разъемы. Если автомобиль не оснащен электронным блоком управления, контакты розетки можно напрямую соединить с установленной проводкой.
Универсальная схема подключения прицепа: распиновка розетки фаркопа под 7-пиновый стандарт
| Розетка фаркопа | Вилка прицепа |
Для распиновки рекомендуется использовать многожильный медный провод в двойной изоляции с жилами сечением не меньше 1,5 кв.мм, для заземления — 2,5 кв.мм.
| № контакта | Код | Цвет провода по ГОСТ 9200-76 | Цвет некоторых прицепов (Украина) | Назначение |
| 1 | L | Желтый | Зеленый | Поворотник левый |
| 2 | 54G | Синий | Красно-белый | Противотуманные огни |
| 3 | 31 | Белый | Черный | Минус (заземление) |
| 4 | R | Зеленый | Желтый | Поворотник правый |
| 5 | 58R | Коричневый | Розово-красный | Правый габарит |
| 6 | 54 | Красный | Бело-голубой | Стоп-сигналы |
| 7 | 58L | Черный | Черно-голубой | Левый габарит |
Особенности в схеме подключения вилки прицепа МЗСА: к контакту №5 питание не подается, а оба габаритных огня и подсветка номера замкнуты на 7 разъем. Если правый габарит не работает, необходимо в розетке фаркопа перенести черный провод из 7 гнезда к 5 или выполнить обратную процедуру в вилке.
Также можно 5 и 7 разъемы замкнуть перемычкой.
13-пиновая схема подключения разъема прицепа
| Розетка фаркопа | Вилка прицепа | ||
Используйте для основных сигналов многожильный провод с двойной изоляцией сечением 1.5 кв.мм, для распиновки заземления и питания — 2.5 кв.мм.
| № контакта | Цвет провода | Назначение |
| 1 | Желтый | Поворотник левый и аварийка |
| 2 | Синий | Противотуманки |
| 3 | Белый | Заземление (минус) для клемм 1-8 |
| 4 | Зеленый | Поворотник правый |
| 5 | Коричневый | Габарит правый |
| 6 | Красный | Стоп-сигнал |
| 7 | Черный | Габарит левый |
| 8 | Розовый | Задний ход |
| 9 | Оранжевый | Питание 12 В (35А) напрямую от аккумулятора |
| 10 | Серый | Питание 12В (35А) при включенном зажигании |
| 11 | Черно-белый | Заземление для № 10 |
| 12 | Бело-синий | Запасное гнездо (резерв) |
| 13 | Красно-белый | Заземление для № 9 |
В некоторых моделях автомобилей даже при точном соблюдении схемы подключения разъема прицепа бортовой компьютер может выдавать ошибку (из-за увеличения нагрузки на сеть). В этом случае необходимо дополнительно установить smart-коннект (блок согласования).
Приобрести 7- и 13-контактные вилки, розетки, блок согласования, электропроводку и другие запчасти для прицепов вы можете в интернет-магазине МЗСА.
рф.
Ежегодно увеличивается число автовладельцев, комплектующих автомобиль фаркопом для транспортировки прицепа. Это требует также и установки универсальной розетки для подключения электрооборудования прицепа, которое необходимо в соответствии с требованиями правил дорожного движения. Очевидно, что нужно иметь представление о схеме подключения прицепа, распиновке розетки фаркопа.
Рассмотрим основные типы схем подключения розетки фаркопа к штекерной части разъёма, позволяющие без проблем обеспечить корректным питанием всё электрооборудование прицепа.
Типы разъёмов фаркопа
Существует несколько стандартизированных схем подключения разъёмов фаркопа
- Европейский тип на семь контактов — 7 pin Euro.
- Американский разъём на семь контактов — 7 pin US.
- Разъёмы на тринадцать контактов — 13 pin.
- Специализированные разъёмы.
Европейский тип разъёма
Самое широкое распространение на территории России имеет евроразъём. Его электросхема показана на рисунке:
Отличительной частью этого коммутирующего устройства является наличие розеточных и штекерных элементов на обеих частях разъёма. Соединить его неправильно просто невозможно. Это позволяет производить правильную коммутацию при ограниченной видимости, проще говоря, вслепую. Каждый из розеточных и штекерных выводов проводки имеет строгое, стандартизированное предназначение, о чем указано в таблице. В таблице также обозначено минимальное сечение проводников, которыми должна производиться коммутация элементов электрооборудования. Это позволит избежать перегрузки проводки автомобиля и, как следствие, возгорания или короткого замыкания.
В европейской схеме подключения прицепа к легковому автомобилю контакт 2, как правило, не задействуется. Он предназначен для обеспечения прямого, постоянного питания +12. Он может использоваться, например, для подключения холодильной установки. В простых прицепах в нём, как правило, необходимости нет.
Стоит обратить внимание, что при использовании евроразъёма не стоит объединять в один контакт подключение плюсового выхода левого и правого габаритов. Это является ошибкой, допускаемой любителями, которые стремятся упростить схему. Такое упрощение приведёт к некорректной работе габаритного освещения при включении поворотного повторителя.
Американский тип
- Схема подключения розетки прицепа легкового автомобиля c использованием американского вида разъёма отличается наличием отдельного пина (pin) для работы фонаря заднего хода.
- Электросхема не разделяет подключение габаритов по правому и левому борту прицепа.
- Существуют модели американских машин, в проводке которых габаритные огни и стоп-сигналы не имеют разделения и питаются от одного провода.
13-контактный вид
Такие разъёмы, кроме основных, имеют несколько резервных плюсовых и минусовых контактных групп. Они применяются для обеспечения электричеством, например, прицепной дачи, где требуется дополнительное питание бытовых приборов или аккумуляторов. Назначения контактов розетки и штекера обозначены на схеме.
Разъём рассчитан на пропуск большого потребления тока, который требуется для работы многих электробытовых приборов, аккумуляторов и трансформаторов повышения напряжения до 220 вольт, устанавливаемых в современных жилых прицепах.
Для корректного подключения этого типа разъёмов ко всем точкам потребления лучше воспользоваться услугами автомобильного электрика.
Специализированные разъёмы
Современные автомобильные прицепы высокого класса оборудованы сложными системами, для работы которых необходима корректная коммутация с интеллектуальными системами автомобиля. Такими как:
- АБС — антиблокировочная система тормозов.
- ESP (Electronic Stability Program) — электронная система динамической стабилизации.
- Бортовой компьютер.
Коммутация таких сложных электронных систем управления прицепом производится при помощи специализированных разъёмов и переходников.
Схема подключения фаркопного переходника для прицепов высокого класса должна монтироваться автоэлектриком. Без знаний в области электроники самостоятельно справиться с задачей практически невозможно.
Схемотехника соединения
Для подключения фаркопного соединения необходимо определить, откуда подводить необходимые контакты питания или управления.
В автомобилях, выпущенных раньше двухтысячного года, задние световые приборы управлялись аналоговыми схемами. Для правильного подключения прицепа электрические схемы достаточно просты. Провода от коробок включения коммутации задних габаритов, поворотных повторителей и стоп-сигналов подключаются к соответствующим клеммам фаркопного разъёма нужного типа.
Проверить правильность соединения можно при помощи тестовой лампы, подключая её к той или иной клемме фаркопной розетки и общему контакту. Лампа должна правильно реагировать на включение габаритов, стоп-сигналов и поворотных повторителей. Контакты должны соответствовать схеме распиновки используемого типа разъёма.
Цифровые модули подключения
Более современные автомобили оснащены цифровыми схемами управления электрооборудованием, в том числе и световыми приборами. Как правило, на осветительные приборы подаётся необходимое напряжение и отдельно сигналы цифрового управления. Методика прямого подключения стала практически невозможной.
Прямое подключение фаркопного разъёма к фонарям заднего освещения и оповещения также невозможно, т. к. оно, как правило, является светодиодным. При подключении дополнительной нагрузки контроллер управления зафиксирует превышение потребляемого тока, выдаст ошибку и отключит эти приборы. Для коммутации розетки прицепа с системами современного автомобиля понадобится специализированный модуль согласования.
Такие модули комплектуются подробной инструкцией, схемой и списком моделей автомобилей, к проводке которых возможна установка устройства. А также прикладывается набор всех необходимых для монтажа проводников.
Модуль согласования можно попробовать собрать самостоятельно. В продаже встречаются наборы для сборки модулей согласования.
Приложенные к наборам схемы коммутации таких модулей изображены лишь в общих чертах. Трассировку проводников необходимо производить самостоятельно в каждом отдельном случае.
Людям со средними познаниями в электронике не составит труда найти схему устройства в интернете и собрать его самостоятельно.
Пошаговый порядок подключения
Можно самостоятельно подключить разъём питания автоприцепа, выполняя следующие шаги.
Шаг первый
Для его выполнения необходимо:
- Определить коммутативную схему.
- Выяснить, есть ли необходимость в модуле согласования.
- Выбрать тип разъёма в соответствии с типом разъёма на прицепе.
Если прицепа нет в наличии и фаркоп устанавливается для буксировки различных случайных прицепных средств, то рекомендуется установить универсальную розетку на тринадцать контактов.
При необходимости можно подключить вилку от прицепа на 7 pin, использовав специальный переходник, сохраняющий все управляющие функции.
Если же понадобится подключить к розетке 7 pin вилку 13 pin (например, прицепа-дачи), то также можно использовать переходник, но сохранить все необходимые функции не получится.
Зарядку аккумулятора прицепа придётся проводить вне разъёма, так же как и все прочие возможные силовые коммуникации.
Если автомобиль выпущен раньше двухтысячного года, то установка согласующего блока, скорее всего, не понадобится. Но тогда необходимо установить предохранители защиты повторительных и задних световых сигналов с увеличенным на 25 процентов номиналом.
Шаг второй
Обязательно протестировать все электрические цепи в штекере прицепа. Если личного прицепа нет, и предполагается использовать прокатный, то этот шаг можно пропустить. Проверка работоспособности всех узлов прицепа — обязанность арендодателя.
Самые распространённые дефекты электрических систем прицепа:
- Отслоение и коррозия проводки в местах пайки и контактных соединений.
- Короткие замыкания в местах трущихся элементов.
- Перегорание ламп накаливания.
- Образование токов утечки. Это связано с солевой обработкой дорог и попаданием реагентов в места соединения контактов. А также может быть связано с заездом в солёную воду (например, при транспортировке лодок или гидроциклов).
Шаг третий
Обязательно необходимо разметить схему трассировки. Это позволит точно видеть, какой расцветки и сечения проводник, куда он проходит, где и как соединяется и с чем. Если в комплекте приобретённого разъёма предусмотрены провода, то целесообразнее использовать именно их.
При отсутствии проводов в комплекте устройства нужно выбирать их в обязательном соответствии с указанными на рисунках сечениями и цветами.
Особое внимание стоит уделить наиболее сложному этапу прокладки проводки от разъёма внутрь багажника. Это необходимо сделать скрыто, но, главное — исключить возможность повреждения проводников в процессе эксплуатации багажного отделения, а также не нарушить его герметичность. Повреждения могут привести к короткому замыканию, а разгерметизация — к попаданию влаги в салон. В большинстве моделей автомобилей для этого предусмотрено специализированное отверстие в кузове.
Коммутацию проводников производят методом скрутки с последующей пайкой контактов и надёжной изоляцией при помощи трубок термоусадки (трубка, надеваемая на соединение или контакт для изоляции, уменьшающаяся в размерах при нагревании феном или зажигалкой). При соединении проводников электропитание автомобиля должно быть обязательно отключено.
Шаг четвёртый
Подключение разъёма потребует максимального внимания. Для безошибочных действий все проводники лучше промаркировать и коммутировать с контактами розетки в строгом соответствии с распиновкой, указанной в схеме выбранного разъёма.
Все соединения вне кузова автомобиля нужно обязательно пропаивать и надёжно изолировать при помощи термоусадки. Перед изоляцией контактов соединения рекомендуется обработать литолом или солидолом. Это предотвратит возможное попадание влаги. После коммутации проводов в корпусе розетки их следует обработать графитной смазкой. Это также защитит от влаги и предотвратит коррозию контактов.
Финальные действия
Собранную схему необходимо проверить при помощи мультиметра. Последовательная «прозвонка» проводников в режиме измерения сопротивления поможет выявить возможные короткие замыкания. Только после такой проверки можно включить электропитание автомобиля.
Рекомендации по безопасности
Для безопасного, долгосрочного использования электрооборудования автоприцепа необходимо соблюдать простые, но важные правила:
- Не перегружать внутреннюю электрическую сеть прицепа. Это особенно легко сделать при использовании электробытовых приборов большой мощности. Такая перегрузка может привести к короткому замыканию или возгоранию.
- Визуально проверять состояние электропроводки перед каждым использованием прицепа. Раз в полгода тестировать электрические цепи при помощи мультиметра.
- В начале каждого сезона эксплуатации проверять состояние соединений вне кузова автомобиля и прицепа. При необходимости промазывать солидолом места изолированных зон контактов и разъёмов.
- Своевременно крепить разболтавшиеся в процессе эксплуатации провода с помощью пластмассовых хомутов или клипс.
- По возможности использовать в осветительных и сигнальных системах прицепа светодиодное влагостойкое оборудование.
К правильному подключению электрических цепей прицепа нужно отнестись внимательно. Отсутствие или неправильное функционирование габаритов, поворотных повторителей или индикации торможения на дороге опасно и ведёт к аварийным ситуациям. А также это влечёт за собой наложение штрафа сотрудниками ГИБДД.
Все что нужно знать о фаркопе для легкового автомобиля
Буксировка прицепа легковым автомобилем невозможна без специального тягово-сцепного устройства – фаркопа. Зачастую прицепное устройство не входит в базовую комплектацию автомобиля, в случае необходимости владельцу приходится покупать его отдельно и крепить к кузову самостоятельно.
- Установка прицепного устройства существенно расширяет диапазон возможностей авто, и позволяет использовать его в качестве тягача для буксировки прицепа или другого транспортного средства на жесткой или гибкой сцепке.
Некоторые автолюбители считают, что наиболее эффективным и экономически выгодным решением будет самодельные прицепное устройство. Это довольно спорное решение, так как никто не гарантирует высокое качество кустарного фаркопа, а его поломка может привести к самым плачевным результатам. Опытные водители отдают предпочтение тягово-сцепным устройствам известных брендов, дорожащих своей репутацией.
В настоящее время в продаже представлен большой ассортимент прицепных устройств для легковых автомобилей, и неискушенному автовладельцу довольно сложно подобрать оптимальный вариант для своего транспортного средства. Фаркопы отличаются:
КЛАССИФИКАЦИЯ ПРИЦЕПНЫХ УСТРОЙСТВ ДЛЯ ЛЕГКОВОГО АВТОМОБИЛЯ
Основным фактором, на который следует обращать внимание при выборе фаркопа, является класс легкового автомобиля и его полная масса. Именно эти характеристики играют основную роль, тягач не должен быть легче буксируемого транспортного средства. Все современные тягово-сцепные устройства для легковых автомобилей делятся на три класса:
- Малый – предполагает буксировку легкового прицепа с полной массой до 1,5 тонны. Такое прицепное отлично подойдет для установки на легковое авто среднего размера.
- Средний – дает возможность буксировать прицеп весом до 2,5 тонн, подходит для более крупных авто (внедорожников, кроссоверов и минивенов).
- Большой – отлично справляется с буксировкой прицепа общей массой до 3,5 тонн, устанавливается на большие рамные внедорожники и микроавтобусы.

ТИП ФАРКОПА
| Американский тип фаркопа | Европейский тип фаркопа |
В настоящее время есть два типа фаркопов для легковых автомобилей – европейский и американский. Американский тип представляет собой квадратную шахту, служащую гнездом для дышла прицепа и запорный механизм.
В силу разных причин «американка» не получила широкого распространения в Украине, поэтому для эксплуатации отечественных прицепов необходим специальный переходник.
Европейский вариант – традиционный крюк с шаром пользуется у нас значительно большей популярностью.
Основным различием между прицепными устройствами европейского типа является диаметр шара, он колеблется в пределах 25-58 мм. В соответствии с ГОСТ 28248, в Украине единственно допустимый диаметр шара – 50 мм.
КОНСТРУКТИВНЫЕ ОСОБЕННОСТИ
Детали крепежной платформы фаркопа могут соединяться между собой как электродуговой сваркой, так и болтами.
- Сварное соединение считается наиболее прочным и надежным, владельцу авто необходимо лишь периодически следить за креплением платформы. Со временем, при регулярной интенсивной эксплуатации, усталость металла и коррозия делают сварной шов менее прочным, и под воздействием нагрузки он может разрушиться.
- Болтовые соединения требуют гораздо больше внимания, автовладельцу необходимо регулярно следить за состоянием болтов и надежности крепления. Преимуществом такого типа соединений является его ремонтопригодность, когда болт «порвет» или заржавеет, его просто меняют на аналогичный.
Непосредственно крюк прицепного устройства также может быть закреплен разными способами, быть съемным или легко трансформироваться в рабочее положение.
Сварное соединение |
Болтовые соединения |
СПОСОБЫ КРЕПЛЕНИЯ ФАРКОПА К АВТОМОБИЛЮ
От способа крепления зависит, насколько комфортным будет фаркоп в эксплуатации и как долго он Вам прослужит.
Тип соединения также влияет и на стоимость прицепного устройства для автомобиля, чем оно сложнее – тем дороже. Различают три вида крепления:
- Несъемное – фаркоп наглухо приварен к раме. Такой тип крепления одновременно является и самым простым и наиболее надежным. Несъемное прицепное устройство отлично подойдет в том случае, когда планируется частая буксировка прицепных транспортных средств.
- Условно-съемное – здесь используется болтовое соединение. Прицепное устройство с таким способом крепления легко демонтируется с помощью пары ключей. Это оптимальный вариант для тех, кто не собирается пользоваться тягово-сцепным устройством постоянно.
- Съемное – крепление крюка происходит с помощью специального запорного механизма. Такой способ фиксации не требует инструмента или специальных навыков, установка и демонтаж происходят максимально быстро.
У всех автомобилей разные точки крепления тягово-сцепного устройства, учитывайте этот фактор при выборе фаркопа.
Преимуществом съемного и условно-съемного типа крепления является возможность не подвергать его без необходимости воздействию атмосферной влаги и дорожных реагентов. Кроме того, демонтаж прицепного устройства уменьшает габариты легкового автомобиля.
ТИП РОЗЕТКИ
На сегодняшний день существует два типа розеток для подключения электрооборудования – семи и тринадцати контактные. При выборе фаркопа ориентируйтесь на тип подключения легкового прицепа, который Вы предполагаете буксировать.
7 контактные |
13 контактные |
Гнездо с семью контактами имеет ограниченный функционал, ею комплектуется большинство прицепов. Диапазон возможностей тринадцатиконтактного разъема значительно шире и дает возможность подключать дополнительное электрооборудование.
УСТАНОВКА ПРИЦЕПНОГО УСТРОЙСТВА НА ЛЕГКОВОЙ АВТОМОБИЛЬ
Монтаж несъемного фаркопа должен проводиться опытным сварщиком, способным обеспечить прочное и надежное соединение прицепного устройства к раме.
Лучше всего воспользоваться услугами квалифицированного специалиста, ведь от качества сварного шва зависит надежность сцепки, а значит и Ваша безопасность в дороге.
Установку съемного или условно-съемного прицепного можно провести самостоятельно, для монтажа достаточно самого фаркопа (в полной комплектации) и базового набора ключей. Работа проводится в следующем порядке:
- Подготовка рамы автомобиля и платформы прицепного устройства к монтажу – удаление заглушек, очистка крепежных отверстий.
- Фиксация платформы прицепного на раме авто с помощью болтового соединения.
- Подключение электрооборудования (габаритных огней, стоп-сигнала и т.д)
- Установка непосредственно крюка, проверка надежности болтовых соединений и запорных устройств.
Старайтесь крепить фаркоп максимально надежно, помните – при движении по дороге с плохим покрытием нагрузка на прицепное устройство увеличивается вдвое.
★ Подключение розетки прицепа легкового автомобиля
Пользователи также искали:
распиновка разъема прицепа евро, распиновка розетки прицепа грузовика по цветам, фаркопа на ниве, электросхема, как подключить розетку для, распиновка разъема, фаркопа ваз 2110, фаркопа ваз 2109, вилки, распиновка, подключение розетки фаркопа на ниве, электросхема прицепа легкового автомобиля, как подключить розетку для прицепа ваз 2107, распиновка разъема прицепа евро, подключение розетки фаркопа ваз 2110, подключение розетки фаркопа ваз 2109, подключение вилки прицепа, распиновка розетки прицепа грузовика по цветам, розетки прицепа легкового автомобиля, подключения розетки, прицепа легкового автомобиля, подключить розетку, автомобиля, розетки, прицепы, легковых, прицеп, легковой автомобиль, подключения прицепа, подключить, прицепа, легковому,
Подсоедините прицеп за 10 простых шагов
Установка и подготовка прицепа
Для подсоединения прицепа к транспортному средству необходимо подойти к прицепу задним ходом, подсоединить сцепное устройство, закрепить предохранительные цепи и подключить жгут проводов.
Это требует терпения и внимания к деталям.
В этом руководстве мы пошагово расскажем, как прикрепить прицеп, а также дадим советы по самостоятельному подсоединению прицепа и контрольный список перед буксировкой.
Если у вас еще нет подходящего оборудования для буксировки, вот основной список того, что вам нужно для буксировки.
Вместо этого подключить 5-колесный прицеп? Вот полезное руководство.
Видеоурок по подключению трейлера
Пошаговое руководство по подключению трейлера
Шаг 1: Найдите друга, который поможет
Первый шаг в подключении трейлера — это найти друга чтобы помочь вам. Если кто-то другой будет помогать вам вне машины, процесс будет намного проще.
Перед запуском согласовать набор сигналов, указывающих направление поворота, когда двигаться задним ходом и когда тормозить.Пусть ваш помощник встанет на стороне водителя прицепа, даже с язычком прицепа, и убедитесь, что вы хорошо его или ее видите, прежде чем отступать.
Нет друга, чтобы помочь? Вот несколько советов.
Шаг 2: Выровняйте автомобиль
Расположите автомобиль так, чтобы он находился на прямой линии с установленным прицепом. Сделать прямой выстрел при движении задним ходом к муфте будет намного проще, чем пытаться зигзагом занять правильное положение.
Пусть ваш помощник встанет в сторону и подаст вам сигналы, в каком направлении идти.
Шаг 3. Поднимите сцепное устройство
Когда ваш автомобиль окажется примерно в футе от дышла прицепа, остановитесь и отрегулируйте высоту сцепного устройства.
Убедитесь, что сцепное устройство удалит шар прицепа, когда вы будете задвигать автомобиль назад до конца пути. Если он поднят слишком сильно, опускайте его до тех пор, пока он не окажется всего на несколько дюймов выше шара.
Заинтересованы в соединении без напряжений?
Не тратьте ни минуты на борьбу с защелкой сцепного устройства прицепа!
В то время как в традиционных защелках используются сложные шарнирные компоненты, подверженные ржавчине и износу, революционная новая муфта QuickPin ™ фиксируется без фиксации!
Посмотрите, как это работает
Шаг 4: Совместите шар и сцепное устройство
Поднимите автомобиль назад до сцепного устройства, двигаясь очень медленно и с особой осторожностью.Муфта должна точно совпадать с шаром прицепа.
Важно, чтобы на этом этапе вы двигались медленно и полагались на помощника, который подскажет, в какую сторону нужно ехать. Если с первой попытки что-то не выровняется, потяните вперед и попробуйте еще раз.
Шаг 5: Опустите сцепное устройство на шар
Когда автомобиль стоит на стоянке и включен аварийный тормоз, используйте домкрат прицепа, чтобы опустить сцепное устройство, пока оно не будет опираться на шар. Вы также должны убедиться, что защелка соединительной муфты находится в вертикальном, разблокированном положении, прежде чем опускаться.
Если вы обнаружите, что соединитель смещен относительно шара, снова поднимите домкрат и повторите предыдущий шаг.
Буксирный наконечник!
Смажьте шар прицепа перед подсоединением, чтобы обеспечить плавное соединение. Из-за большого веса муфты, постоянно давящей на шар, муфта может фактически начать изнашиваться, если не смазана должным образом.
Шаг 6: Защелкните муфту
Когда муфта полностью сидит на шаре, защелкните защелку и зафиксируйте ее предохранительным штифтом или фиксатором муфты.
Узнайте больше о том, как выбрать замок.
Затем слегка приподнимите дышло прицепа, чтобы проверить соединение. Если он оторвался от шара, это означает, что соединитель не был правильно установлен перед фиксацией. Разблокируйте его и попробуйте еще раз. Вы можете попробовать сдвинуть язык вперед и назад, чтобы он полностью сел.
Шаг 7: Закрепите цепи крест-накрест
Защитные цепи требуются по закону. Они должны быть прикреплены крест-накрест под соединительным устройством, чтобы обеспечить своего рода опору.Если муфта когда-либо отсоединяется от шара, перекрещенные цепи предназначены для захвата муфты.
Каждая предохранительная цепь должна быть рассчитана таким образом, чтобы соответствовать общей массе прицепа или превышать ее, и они не должны касаться земли при прикреплении.
Шаг 8: Втяните домкрат прицепа
Когда сцепное устройство закреплено, полностью втяните домкрат прицепа. Прицепной домкрат должен быть поднят и в стороне от буксировки.
Некоторые домкраты имеют поворотный кронштейн, который позволяет им подниматься вверх параллельно земле.У других просто нога втягивается в опору домкрата.
Шаг 9: Подключите проводку прицепа
Подключите жгут проводов вашего автомобиля к этому прицепу. Вы можете ограничить количество излишков проволоки между автомобилем и прицепом, обернув ремень вокруг дышла прицепа. Обвязка не должна касаться земли, но должна иметь достаточную длину, чтобы делать повороты без натяжения.
Плотно вставьте вилку со стороны прицепа в розетку автомобиля, используя провод достаточной длины.
Вот полезное руководство по установке электропроводки прицепа.
Шаг 10: Проверьте фонари прицепа
Поместите помощника в поле зрения фонарей прицепа и включайте их по очереди, чтобы убедиться, что они работают.
Вы должны проверить свой правый указатель поворота, левый указатель поворота, опасности, ходовые огни и стоп-сигналы.
Пусть ваш помощник вызовет каждую функцию освещения так, как он это видит. Если один из ваших фонарей не работает, используйте электрический тестер, чтобы убедиться, что на соединении проводки между автомобилем и прицепом есть активный сигнал.
Контрольный список перед буксировкой
Когда вы подключили сцепное устройство, подключили разъем и прицеп готов к буксировке, всегда полезно дважды проверить свою работу. Найдите минутку, чтобы пройтись по следующим пунктам, которые помогут обеспечить безопасную и успешную поездку.
Загрузить контрольный список перед буксировкой
КОНТРОЛЬНЫЙ СПИСОК ПОДКЛЮЧЕНИЯ ПРИЦЕПА
◊ Шар прицепа соответствует размеру сцепного устройства
◊ Шар прицепа правильно затянут на шаровой опоре
◊ Шаровая опора, закрепленная в ствольной коробке с помощью штифта сцепного устройства или фиксатора
◊ Шарик прицепа полностью входит в сцепное устройство
◊ Защелка муфты в заблокированном положении и зафиксирована предохранительным штифтом или замком
◊ Домкрат полностью втянут
◊ Электрическая вилка плотно вставлена в розетку автомобиля
◊ Цепи безопасности зацеплены и перекрещены под муфтой
◊ Ходовые огни, стоп-сигналы и указатели поворота, работающие на автомобиле и прицепе
◊ Кабель аварийного выключателя надежно прикреплен к автомобилю
◊ Контроллер тормозов работает и правильно настроен на вес прицепа
5 советов по самостоятельному подсоединению прицепа
Совет №1: Двигайтесь медленно
Двигайтесь медленно — это хороший совет каждый раз, когда вы сцепляете прицеп.
есть ли у вас кто-то помощь или нет.Не торопитесь и не бойтесь повторить шаг, если это необходимо.
Совет № 2: переместите прицеп вручную
Если ваш прицеп достаточно легкий, подтолкните или потяните его к транспортному средству, а не пытайтесь задним ходом подъехать к прицепу. Не напрягайтесь. Если прицеп слишком тяжелый, этот трюк может не подойти.
Совет № 3: Поместите маркер на свой автомобиль
Прикрепите кусок ленты в центре заднего стекла, чтобы обозначить положение шара прицепа.Если вы используете палку или флаг, чтобы пометить соединитель, совместите ленту с маркером.
Совет 5: Откройте дверь водителя
Оставив всего пару футов между вашим автомобилем и сцепкой, откройте дверь со стороны водителя и выберите место на земле в качестве ориентира. Используйте точку при движении назад, чтобы оценить оставшееся расстояние. Не забудьте поднять сцепное устройство над шаром прицепа, чтобы не повредить его.
Совет № 5: Используйте резервную камеру
Используйте резервную камеру, чтобы лучше видеть трейлер при резервном копировании.Если ваш автомобиль не оборудован задней камерой, используйте яркую палку или флаг, прикрепленный к соединителю, чтобы лучше видеть вашу цель. Направьте палку прямо вверх, чтобы вы могли видеть ее через заднее стекло автомобиля.
Буксировка 101 Содержание
Как подсоединить прицеп
- Буксировочная способность и Грузоподъемность — Проверьте свою тяговую способность буксирующего транспортного средства, чтобы убедиться, что ваше транспортное средство способно тянуть прицеп, плюс вес, который вы будете загружать на прицеп.
Проверьте вместимость прицепа, чтобы убедиться, что вы не собираетесь превышать заводские ограничения по весу DOT. В Калифорнии для прицепа с полной разрешенной массой 10 000 и более требуется коммерческое водительское удостоверение (CDL). GVWR — это общий вес прицепа и груза. - Контроллер тормоза — Убедитесь, что у вас есть контроллер электрического тормоза. Без контроллера тормозов у вас не будет тормозов прицепа. Обычно это небольшой модуль под приборной панелью или на ней. Некоторые из них являются OEM, а другие устанавливаются на вторичном рынке.Если у вас его нет, они довольно недороги и просты в установке, но устанавливать его должен профессионал.
В этом руководстве будет описан правильный способ подключения прицепа к транспортному средству
Перед подключением к прицепу выполните следующие действия, чтобы убедиться, что у вас есть подходящее транспортное средство и оборудование для буксировки прицепа:
- Буксировочный комплект — Убедитесь, что у вас есть буксирный комплект. Шар, установленный на бампере, не обеспечивает достаточной опоры для безопасной буксировки прицепа. Буксировочный комплект представляет собой кронштейн под креплением, предназначенный для поддержки прицепа и груза, который вы будете перевозить. Рекомендуется буксирный комплект класса IV.
- Штепсельная вилка освещения — Проверьте гнездо штепсельной вилки фонаря на вашем тягаче, чтобы убедиться, что это та же вилка, что и у прицепа.Два общих разъема будут 4-контактными и 7-контактными. Большинство крупных прицепов и все прицепы, арендованные компанией Big Trailer Rentals, будут иметь 7-контактный разъем. Вы можете идентифицировать 7-контактный штекер как круглый штекер с 6 внешними контактами и 1 центральным контактом.
При подсоединении прицепа выполните следующие действия:
- Размер мяча — Убедитесь, что вы используете мяч правильного размера. Обычные размеры — 2 дюйма и 2 5/16 дюйма. Размер мяча будет написан в верхней части мяча. Проверьте шар, чтобы убедиться, что на нем немного смазки.Если он сухой или ржавый, следует нанести на него немного смазки. Curt Manufacturing производит высококачественные кованые шаровые опоры для коммерческого использования, и на рынке также есть пара других.
Их можно приобрести на Amazon или в Tractor Supply. = «»> - Высота прицепа — Отрегулируйте высоту прицепа до приблизительной высоты шара на вашем тягаче с помощью домкрата для прицепа. Прицеп должен выглядеть ровно спереди назад. Возможно, потребуется отрегулировать высоту шара вашего тягача, чтобы выровнять прицеп.
- Резервное копирование на трейлер — Используйте наблюдателя или резервную камеру, чтобы вернуться к трейлеру и выровнять шар под сцепкой трейлера.
- Connect Trailer — Используя домкрат для прицепа, опустите сцепное устройство на шаровую опору тягача. Убедитесь, что домкрат полностью поднят.
- Защелка муфты — Переведите защелку муфты в заблокированное положение.
- Штифт сцепного устройства — Вставьте штифт сцепного устройства в отверстие для штифта защелки муфты или отверстие для штифта сцепного устройства.Это обеспечит фиксацию замка сцепного устройства, чтобы прицеп не отсоединился от шара.
- Предохранительные цепи — Зацепите обе предохранительные цепи за крюки предохранительных цепей тягача. Защитные цепи всегда следует пересекать в соответствии со стандартами DOT.
- Трос отрыва — Подсоедините трос отрыва прицепа к тягачу. В большинстве случаев он соединяется с крюком предохранительной цепи. Это никогда не должно быть связано с цепью безопасности, чтобы соответствовать стандартам DOT.Рекомендуется использовать разрывной кабель Fastway ZIP 6 ‘с красной спиралью. Это предотвратит волочение разъединяемого кабеля по земле, что обычно случается со стандартным отрывным кабелем, поставляемым производителем прицепа.
- Вилка для прицепа — Подключите вилку фонаря к тягачу. Подключение этого штекера обеспечит освещение прицепа и тормоза прицепа с использованием контроллера тормозов. Вы всегда должны проверять наличие мусора или коррозии в вилке прицепа и розетке вилки.
Мусор или коррозия могут помешать правильной работе фар и / или тормозов. Воздушный шланг или баллончик с воздухом обычно могут удалить и мусор. В Big Trailer Rentals мы используем очиститель QD Electronic Cleaner для удаления коррозии и поддержания чистоты соединений. После того, как вы подсоедините вилку прицепа к транспортному средству, пропустите сетевой шнур через штифт сцепного устройства и оставьте примерно 9 дюймов зазора между штифтом сцепного устройства и розеткой вилки на тягаче. Это обеспечит провисание для поворотов и предотвратит провисание шнура вилки. волоча по земле. - Просмотр — Дважды проверьте шаги 1–9, чтобы убедиться, что все правильно прикреплено и закреплено. Для обеспечения безопасности потребуется всего лишь дополнительная минута.
- Проверка света — Выполните проверку света, чтобы убедиться, что включены указатели поворота, аварийные огни, ходовые огни и стоп-сигналы.
- Осмотр прицепа или осмотр перед поездкой — Выполните тщательный осмотр прицепа, чтобы убедиться, что шины накачаны должным образом и находятся в хорошем состоянии. Убедитесь, что на платформе трейлера нет мусора, а пандусы надежно закреплены.В случае загрузки убедитесь, что груз надежно закреплен.
- Контроллер тормоза — Типичный контроллер тормоза имеет регулировку от 1 до 10. В пустом состоянии установите контроллер тормозов на 1 или 2 для первоначальной проверки тормозной способности, в зависимости от размера и веса прицепа. При загрузке установите контроллер тормоза на большее число, чем значение, обеспечивающее адекватную тормозную мощность в порожнем состоянии. Это число будет зависеть от веса груза, а также от типа вашего контроллера тормоза.В большинстве случаев вам не нужно устанавливать контроллер тормоза на 8-10, но, опять же, это будет отличаться для каждой ситуации.
- Проверка тормозов — Перед поездкой по оживленному шоссе или дороге проверьте тормоза.
Этот тест всегда следует проводить на гравии, чтобы не повредить шины. На гравийной дороге или дороге, где нет движения, проехать 5–10 миль в час и нажать на тормоз, чтобы проверить свою способность останавливаться. При необходимости отрегулируйте настройки контроллера тормоза вверх или вниз.Существует прекрасный баланс между достаточной мощностью торможения для остановки и не такой большой, чтобы вы могли занести. Если шины вашего прицепа блокируются и скользят по тротуару, на шинах появятся плоские пятна, и их необходимо будет заменить. Это дорогостоящая ошибка, которую совершают многие. Всегда полезно взглянуть на шины прицепа в зеркало во время торможения, чтобы посмотреть, не дымятся ли шины. Если вы видите дым во время торможения, скорее всего, ваш контроллер тормоза настроен слишком высоко. В некоторых случаях механику также может потребоваться оценка настроек регулировки тормозов. - Безопасность водителя — Делайте широкие повороты, проверяйте зеркала и всегда не забывайте выходить и смотреть перед тем, как отступить, или попросите наблюдателя направить вас, когда вы вернетесь.
В Big Trailer Rentals у нас есть сотрудники, которые могут подключить для вас трейлер или помочь вам в процессе подключения, чтобы у вас был отличный опыт аренды трейлера. Однако водитель несет ответственность за все аспекты безопасности буксировки прицепа.
Перед загрузкой прицепа ознакомьтесь с нашим руководством: Как загрузить прицеп
Если у вас есть вопросы о буксировке или аренде прицепа, позвоните в Big Trailer Rentals по телефону 951-514-6980.
Заявление об ограничении ответственности: Информация, содержащаяся на этой странице, предоставлена компанией Big Trailer Rentals, LLC в качестве общего руководства по помощи при буксировке прицепа и не одобрена DOT. Каждый трейлер и ситуация индивидуальны, поэтому некоторые сведения о безопасности могут быть опущены в этом руководстве. При буксировке прицепа рекомендуется проверять собственные ресурсы, а также федеральные и местные законы, касающиеся правил техники безопасности.
Big Trailer Rentals, LLC никоим образом не несет ответственности за использование или реализацию информации, представленной в этом руководстве.
Присоедините буксирный автомобиль к туристическому прицепу
Помимо, возможно, вашего стиля вождения, для безопасности жилого дома мало что важнее, чем правильно подключенное сцепное устройство между буксирным транспортным средством и туристическим прицепом. Вы, ваши пассажиры и все остальные на дорогах окажутся под угрозой, если какая-либо часть соединения окажется не на должном уровне, особенно если принять во внимание скорость на шоссе.
Хорошая новость заключается в том, что не так сложно убедиться, что ваше сцепное устройство обеспечит безопасность не только вас и всех остальных, но и ваших транспортных средств, сделает поездку более комфортной и повысит топливную экономичность.
Заявление об ограничении ответственности: всегда проконсультируйтесь со специалистом, чтобы убедиться, что компоненты соединения вашего тягача, прицепа и сцепного устройства находятся в надлежащем рабочем состоянии. Сейчас не время кричать; вы должны быть уверены, что знаете, что делаете. Кроме того, в этом посте мы будем обсуждать только туристические прицепы, а не пятые колеса.
Правильное оборудованиеДля буксировки прицепа, большого или малого, требуется регулярный осмотр оборудования, включая сцепное устройство и сигналы, а также некоторые дополнительные меры безопасности и зазоры для обеспечения безопасного движения.Правильные детали могут иметь решающее значение.
Компоненты расположены как на тягаче, так и на прицепе. Многие из этих компонентов доступны в различных весовых категориях. На тягаче должны быть сцепное устройство, розетка электропроводки прицепа и контроллер тормозов. На прицепе у вас будет соединитель, расположенный на конце язычка, вилка электропроводки прицепа, размыкатель и предохранительные цепи.
В дополнение к перечисленным выше компонентам я настоятельно рекомендую использовать сцепное устройство для распределения веса и устройство контроля раскачивания.Некоторые продукты предлагают комбинацию этих двух, например, 4-точечную сцепку Equal-i-zer с контролем качения, которую я использую. В сцепных устройствах для распределения нагрузки используется специальное оборудование для распределения нагрузки на дышло на все оси тягача и прицепа, что помогает стабилизировать тягач. Устройства контроля раскачивания помогают свести к минимуму раскачивание или поперечное движение, которое испытывает прицеп во время транспортировки. Еще один важный компонент — хорошая опорная плита.
Правильное подключение
Убедитесь, что шаровой шарнир сцепного устройства и его крепление закреплены в сцепном устройстве на тягаче с помощью зажима пальца сцепного устройства.
Попросите второго человека направить вас, когда вы ставите буксирное транспортное средство на место, пока шаровой шарнир не окажется прямо под сцепкой. Муфта надевается на шаровой шарнир и предназначена для шарнирного соединения вокруг шара. Опускайте сцепное устройство до тех пор, пока шар сцепного устройства не будет зафиксирован внутри, а стопорный механизм защелкнется и стопорный штифт будет на месте. Для безопасной работы размеры муфты и шара должны совпадать. Проверьте соединение, потянув за прицеп, чтобы попытаться снять его с сцепного устройства, чего у вас не должно быть.Если вы можете снять сцепное устройство, его необходимо снова прикрепить.
Подключите проводку прицепа к разъему для тягача и проверьте стоп-сигналы и указатели поворота. Если никто не может сказать вам, работают ли фары при нажатии на тормоза, используйте отражение другого автомобиля, окна или другой отражающей поверхности; или проверьте в темноте. Очень важно, чтобы на прицепе работали стоп-сигналы. В противном случае автомобилисты не смогут определить, когда вы замедляете движение (а в темноте они вообще не увидят вас).
Подсоедините предохранительные цепи. Цепи безопасности предназначены для предотвращения отделения прицепа от буксирующего транспортного средства в случае отказа сцепного устройства, например, ослабления шаровой опоры сцепного устройства. Цепи должны быть перекрещены крест-накрест под шаровой опорой, с достаточным провисом, чтобы можно было свободно поворачивать, но не настолько, чтобы сцепка ударилась о землю.
Подсоедините выключатель аварийного отключения к неподвижному компоненту сцепного устройства на тягаче.Если два автомобиля разделяются, кабель протягивает штифт внутри выключателя и передает полную мощность от аккумуляторной батареи прицепа на тормоза прицепа.
Либо сейчас, либо в другой момент во время этого процесса вам следует подключить устройство контроля раскачивания. Обратитесь к инструкции по эксплуатации вашего конкретного устройства, будь то фрикционная планка или система контроля качания с двумя кулачками, чтобы убедиться, что оно установлено, подключено и работает должным образом.
Проверяйте безопасность перед каждой поездкой.Убедитесь, что:
-Штифт крепления шаровой опоры к ствольной коробке цел.
-Сцепное устройство сцепного устройства зафиксировано.
-Петли рессорной планки плотно прилегают к предохранительным зажимам.
-Защитные цепи прикреплены правильно.
-Электрическая вилка установлена правильно.
-Тормозные огни, поворотники и ходовые огни исправны.
Если соединение прицепа и сцепки хорошее и сигналы прицепа работают, вы готовы к вождению!
Увидимся на следующей неделе, когда мы поговорим о том, как собрать вещи в кемпинге.
Рик Кесслер
(Gr8LakesCamper)
Gr8LakesCamper празднует мир кемпинга для автодомов в районе Великих озер. Соберитесь у костра и поделитесь советами, идеями и историями о путешествиях, кемпингах и путешествиях. Подпишитесь на Gr8LakesCamper в Twitter, Facebook, Pinterest и в блоге Gr8LakesCamper.
шагов к подключению дорожного прицепа — безопасность во время отпуска в эти летние каникулы.| Западный буксир
Нужно подключить туристический трейлер? Если вы обнаружите, что вам необходимо подключить прицеп к легковому или грузовому автомобилю, безопасность прицепа является первоочередной задачей. Большинство грузовиков и внедорожников уже оснащены буксировочными комплектами, которые позволяют водителю прикрепить любой прицеп с помощью шаровой сцепки. Перед тем, как начинать этот процесс, всегда проверяйте, что на автомобиле установлено подходящее шаровое сцепное устройство для прицепа. В West Tow of Menifee безопасность трейлеров является первоочередной задачей. Поэтому важно выполнять эти действия, когда вам нужно каждый раз безопасно подсоединять прицеп.
Шаги по подключению трейлера
- Первый шаг — заручиться помощью друга или члена семьи, который поможет вам, когда вы вернете машину к прицепу. Если вам некому помочь с этим процессом, вам придется часто выходить из машины, чтобы поставить ее в нужное положение.
- Перед тем, как начать движение задним ходом, поднимите уровень на сцепном устройстве прицепа с помощью рукоятки. Он должен быть на несколько дюймов выше шаровой опоры на заднем бампере.
- Сделайте резервную копию вашего автомобиля, чтобы шаровая сцепка находилась ниже сцепного устройства прицепа.Если вы буксируете тяжелый прицеп, который невозможно установить вручную, вам особенно необходимо убедиться, что вы поставили автомобиль в правильное положение.
- Еще раз проверьте, разблокировано ли сцепное устройство прицепа. Это означает, что ручка будет располагаться под прямым углом по сравнению с шейкой прицепа.
- Снова используйте рукоятку прицепа. Опустите сцепное устройство прицепа так, чтобы оно надежно закрепилось на шаровом сцепном устройстве.
- После присоединения прицепа поднимите колесо прицепа с помощью рукоятки.Колесо должно быть закреплено и параллельно шее прицепа.
- Рукоятка должна быть расположена параллельно шее, а затем переведена в заблокированное положение. Используйте булавку и поместите ее в ручку, как указано. Это позволит удерживать прицеп прикрепленным к сцепному устройству автомобиля.
- У прицепа, скорее всего, будут две цепи с крючками на концах. Цепи предназначены для использования в качестве меры предосторожности. Если прицеп в любой момент отсоединился, эти цепи не позволят отделить транспортное средство от прицепа.Для более надежного крепления перекрестите цепи, а затем прикрепите их к сцепке прицепа. Цепи следует скручивать, чтобы сократить длину и не допустить перетаскивания. Вставьте крюки внизу, чтобы они оставались прикрепленными во время буксировки.
- Подключите электрическую вилку прицепа к электросети автомобиля. Перед поездкой по дороге убедитесь, что фары, стоп-сигналы и указатели поворота работают правильно. Это является проблемой безопасности, а также запрещено управлять автомобилем.
- Перед вождением убедитесь, что на прицепе имеется надлежащий номерной знак.Большинство штатов требует, чтобы у трейлеров был свой номерной знак.
Наконец, перед выездом рекомендуется попрактиковаться в вождении прицепа на проселочной дороге или даже на парковке. Это позволит вам научиться останавливаться, трогаться с места и поворачивать при буксировке прицепа. Эти действия также помогут безопасно подключить прицеп.
Безопасность во время путешествий по Южной Калифорнии является первоочередной задачей для наших клиентов в West Tow Inc. Пожалуйста, примите дополнительные меры предосторожности, чтобы у вас был замечательный сезон отпусков!
Что нужно знать перед буксировкой прицепа с автомобилем
33 объявления по цене от 13 995 долл. США
42 объявления от 3 295 долл. США
783 отличных предложения из 19810 предложений по цене от 777 долл. США
93 отличных предложения из 2201 объявления по цене от 2900 долларов США
1 объявления по цене от 87 890 долл. США
9 отличных предложений из 439 предложений по цене от 25 000 долл. США
1439 отличных предложений из 30 919 объявлений по цене от 500 $
9 объявлений от $ 12 900
9 объявлений от $ 2 000
1 объявления от $ 12 995
2458 отличных предложений из 58 578 предложений по цене от 1123 долларов США
50 отличных предложений из 1071 объявления по цене от 10 500 долларов США
9 объявлений по цене от 1 349 995 долл. США
690 отличных предложений из 20 210 предложений от $ 500
935 отличных предложений из 23 189 предложений по цене от 800 $
5901 отличное предложение из 175 005 предложений от $ 250
580 отличных предложений из 20 169 предложений по цене от 1
долларов США2 объявления по цене от 19 775 $
1 объявление
2 объявления по цене от 1990 $
1 объявления от 3 200 долл. США
30 объявлений от $ 7900
2 объявления по цене от 48 000 долл. США
3 объявления по цене от 9995 долл. США
2 объявления по цене от 98 500 долл. США
1466 отличных предложений из 50 406 предложений по цене от 495 долларов США
4 объявления по цене от 1000 $
1 объявления от $ 58 900
70 отличных предложений из 2093 объявлений по цене от 2597 долларов
33 отличных предложения из 1016 предложений по цене от 38 777 долларов США
31 объявление от $ 26 900
8 067 выгодных предложений из 208 215 объявлений от $ 495
1 объявления от $ 20 000
36 объявлений по цене от 10 995 долл. США
1918 выгодных предложений из 53267 предложений по цене от 748 долларов США
79 отличных предложений из 1840 предложений по цене от 14 666 долларов США
12 объявлений от $ 995
1 объявления от $ 57 599
1 объявления от 9 495 $
3059 отличных предложений из 90 180 предложений от $ 12
3 объявления по цене от 15 395 $
16 выгодных предложений из 961 объявления по цене от 3995 долларов США
1811 отличных предложений из 51 662 предложений по цене от 773 долларов США
905 отличных предложений из 20 662 предложений по цене от 1098 долл. США
1 объявления от $ 159 900
6 объявлений по цене от 33 499 долларов США
91 объявление по цене от 750 $
259 отличных предложений из 5411 объявлений по цене от 1295 долларов США
3152 отличных предложения из 91253 объявлений по цене от 1023 $
2 объявления по цене от 99 995 долл. США
5 объявлений от $ 8 500
20 объявлений от $ 57 990
1668 отличных предложений из 43 327 предложений по цене от $ 1
13 отличных предложений из 434 предложений по цене от 84 995 долл. США
1 объявления от $ 44 900
548 отличных предложений из 12 374 предложений по цене от 1200 долларов США
1415 отличных предложений из 35 767 предложений по цене от 1500 долларов США
598 отличных предложений из 15390 объявлений по цене от 1000 долларов США
54 объявления по цене от 10 500 долл. США
93 объявления по цене от 2795 $
369 отличных предложений из 7 878 предложений по цене от 750 $
100 отличных предложений из 2374 объявлений по цене от 5 995 долларов США
15 объявлений от $ 53 995
890 отличных предложений из 23 563 предложений по цене от 495 долларов США
13 отличных предложений из 361 объявления по цене от 83 900 долл. США
2209 отличных предложений из 55 849 предложений по цене от 1300 долларов США
20 отличных предложений из 1378 объявлений по цене от 495 долларов США
2 объявления по цене от $ 59 500
207 отличных предложений из 8 295 предложений по цене от 500 $
2 объявления по цене от $ 29 900
1 объявления от $ 110 000
4 объявления по цене от 7 195 $
1 объявления по цене от 23 995 долл. США
6 объявлений по цене от 7 499 долл. США
3295 отличных предложений из 98380 предложений по цене от 274 долларов США
328 объявлений по цене от 749 $
25 объявлений от $ 1,495
6 объявлений
5 объявлений от $ 32 500
3 объявления по цене от 18 495 $
270 объявлений от $ 995
1 объявления от $ 66 700
39 отличных предложений из 2613 предложений от $ 400
383 отличных предложения из 9423 объявлений по цене от 2795 долларов США
1764 отличных предложения из 45 655 предложений по цене от 3 995 долл. США
19 отличных предложений из 481 объявления по цене от 7 795 долларов США
16 объявлений от $ 93 000
4 отличных предложения из 353 объявлений по цене от 1599 долл. США
11 отличных предложений из 1119 объявлений от $ 495
55 отличных предложений из 2518 объявлений по цене от 1699 долларов
52 объявления по цене от 33 950 долларов США
35 объявлений от $ 6 500
1371 отличное предложение из 40 621 объявления по цене от 550 долларов
8 объявлений по цене от 40 995 долл. США
9 отличных предложений из 390 предложений по цене от 1500 долл. США
100 отличных предложений из 2392 объявлений от $ 20 000
4902 выгодных предложения из 137709 предложений по цене от 500 долларов США
45 объявлений по цене от 795 $
5 объявлений по цене от 6 495 $
1566 отличных предложений из 37 537 предложений по цене от $ 1
540 отличных предложений из 11860 предложений по цене от 695 долларов США
37 объявлений по цене от 10 495 долл. США
21 отличная сделка из 431 предложения по цене от 2395 долларов
Get Inspired — Как сцепить и отцепить трейлер
Прицепы идеально подходят для перевозки любых вещей, от мебели до садовых отходов.
Уверенное сцепление и отцепление прицепа может дать вам больше спокойствия, а также обеспечить безопасное и надежное подсоединение вашего прицепа.
Знать детали прицепа
Основные части прицепа, которые участвуют в сцеплении и отцеплении:
- Сцепное устройство : Сцепное устройство обычно является шаровым, и оно прикрепляется к шару на транспортном средстве для более надежного соединения.
- Ручка : фиксирует буксировочный шар и освобождает его.
- Предохранительная защелка : Предохранительная защелка предотвращает соскакивание сцепного устройства во время транспортировки. Перед началом движения убедитесь, что защелка безопасности находится на месте.
- Цепь безопасности : Это дополнительная защита в случае выхода из строя муфты. Цепь имеет D-образную скобу, которая крепится прямо к вашему автомобилю. Некоторые прицепы имеют только одну цепь, но более крупные прицепы могут иметь две. Если у вас две цепи, всегда помните, что их нужно пересечь, прежде чем отправиться в путь.
- Разъем для световодов : Он соединяет огни вашего автомобиля с прицепом. Разъемы для световодов бывают разных типов для разных автомобилей.
Прежде чем начать, имейте в виду, что вы не можете просто подключить любой прицеп к любому транспортному средству; вам нужно иметь подходящий автомобиль для вашей работы. Это означает, что он должен иметь буксирный шар подходящего размера и соответствующую буксирную способность.
Если вы находитесь в Австралии, длина буксирного шара должна составлять 50 мм.Если вы находитесь в Новой Зеландии, это 50 мм или 1 7/8 для всех наших прицепов. Вам также необходимо убедиться, что ваш автомобиль имеет подходящую буксировочную способность для вашего приложения. Вы можете найти информацию о буксировочной способности вашего автомобиля на буксировочном устройстве или в руководстве по эксплуатации вашего автомобиля.
Убедившись, что у вас есть подходящее буксировочное устройство и буксировочная способность вашего автомобиля соответствует требованиям, вы готовы прицепить прицеп к вашему автомобилю. Следуйте инструкциям ниже, чтобы узнать, как прицепить и отцепить прицеп.
Помните: Незакрепленные предметы в вашем трейлере являются правонарушением. Прежде чем отправиться в путь, убедитесь, что у вас все привязано и все незакрепленные предметы накрыты.
Всегда будьте внимательны, когда вы сцепляете или отцепляете прицеп. Обратите внимание, если что-то выглядит неуместно, дважды проверьте, правильно ли оно закреплено, и обсудите любые проблемы со своим попутчиком или членом команды Kennards Hire.
Если у вас есть какие-либо вопросы о нашем оборудовании или вам нужен совет о том, какое оборудование лучше всего использовать, команда местного отделения Kennards Hire сможет вам помочь.
Для получения дополнительной информации свяжитесь с вашим местным отделением сегодня.
Как правильно подключить обычный трейлер
И основные сведения о буксировочной способности сцепного устройства
Слишком часто в новостях описываются некоторые события как «несчастные случаи», когда обычный прицеп отцепляется во время буксировки. Иногда несчастный случай приводит к ненужным серьезным травмам или смерти.Большинство этих инцидентов — это человеческая ошибка, а не механическая неисправность, которую невозможно предотвратить. В этом коротком видео описывается процедура, которую каждый, буксирующий обычный прицеп, должен выполнять каждый раз при сцепке.
У людей, которые буксируют, в 10 раз больше шансов попасть в аварию, которая может привести к серьезным травмам. К сожалению, более 500 американцев погибают каждый год.
(Примечание: эта информация по безопасности не включает систему распределения веса (WDS).Чтобы узнать о WDS, щелкните здесь.)
Дополнительные советы по безопасности
Любой, кто заботится о безопасности, всегда должным образом закрепит предохранительные цепи для любого буксируемого им прицепа. Использование предохранительных цепей может спасти людей от серьезных травм или смерти.
Важно, чтобы предохранительные цепи были достаточно длинными, чтобы прицеп мог достичь максимального угла поворота.Однако цепи должны быть достаточно короткими, чтобы не волочиться по земле и обеспечивать достаточную слабину в любом направлении поворота, а также удерживать язычок прицепа от земли, если он отсоединяется во время буксировки.
Цепи, волочащиеся по шоссе, стали причиной множества лесных пожаров!
Всегда перекрещивайте предохранительные цепи один раз. Для некоторых штатов это закон! Кроме того, в стандарте SAE J684 говорится: «Цепи безопасности должны быть перекрещены под дышлом прицепа и присоединены к сцепному устройству или другим элементам тягача.»Щелкните здесь, чтобы просмотреть требования к цепочке безопасности каждого штата.
Правильно подобранные сцепное устройство прицепа и шаровой шарнир никогда не должны выходить из строя.
Никогда не буксируйте без фиксирующего рычага сцепки, закрепленного одобренным предохранительным штифтом. Никогда не используйте R-образный зажим!
Вместо того чтобы использовать предохранительный штифт ответвителя, чтобы обеспечить ответвитель фиксирующего рычага, с помощью навесного замка, чтобы предотвратить шутовство.
Выполняйте плановые проверки и обслуживание сцепного устройства и сцепного устройства прицепа в соответствии со спецификациями производителя.
Убедитесь, что номинальный вес предохранительной цепи соответствует или превышает допустимую полную массу прицепа (GVWR).
Каждая из двух требуемых цепей безопасности должна соответствовать или превышать разрешенную массу тела прицепа.
Если используется одинарная предохранительная цепь, она должна проходить через проушину и соединяться с тягачом так же, как двойные цепи. Одиночная цепь должна соответствовать или превышать ПДС прицепа.
Перед буксировкой всегда заменяйте изношенные или зашитые дорожными цепями.
Для больших туристических прицепов избегайте использования быстросъемных звеньев для крепления предохранительной цепи к буксирующему транспортному средству. Максимально допустимые быстрые ссылки, которые я обнаружил, имели рабочую нагрузку всего 3500 фунтов. Однако некоторые быстрые ссылки могут иметь дополнительный рейтинг сверх рабочей нагрузки до 10 000 фунтов.
Замените S-образные крючки на крючки с вилкой с предохранительной защелкой соответствующего номинала или сертифицированный S-образный крюк с проволочной защелкой или карабинами с карабином.
Единственное, что должно касаться дороги, — это шины транспортных средств.
Если кто-то остановится, чтобы поболтать с вами во время буксировки прицепа, это часто отвлечет вас от рутинной связи и может заставить вас пропустить важный шаг безопасности. Прекратите то, что вы делаете. Либо продолжайте после завершения разговора, либо любезно попросите человека (а) прекратить разговор, пока соединение не будет завершено, и вы дважды не проверите соединения.
Не менее важно, чтобы любой из вас, кто не участвует в процессе подсоединения прицепа, никогда не беспокоил того, кто это делает.Пожалуйста, воздержитесь.
Дважды проверьте соединение сцепного устройства и еще раз проверьте, прежде чем покинуть место, где вы остановились на перерыв или заправку топлива.
Убедитесь, что тормозная и сигнальная проводка не повреждена, правильно подключена и функционирует.
Убедитесь, что штифт сцепного устройства или фиксатор надежно закреплены, не позволяя шаровой опоре высвободиться из ствольной коробки.
Редко возникает необходимость использовать устройство или изделие, чтобы удерживать цепь от земли.При использовании предохранительных цепей правильной длины во время буксировки по шоссе они редко касаются земли. Однако могут быть некоторые необычные конфигурации прицепа, которым может потребоваться что-то, чтобы цепи правильной длины не касались земли.
При наличии всегда прикрепляйте трос отрыва к буксирующему автомобилю. Трос отрыва не должен быть длиннее, чем допускает поворот прицепа, и достаточно длинным, чтобы активировать аварийные тормоза прицепа после отсоединения прицепа от сцепного устройства.Никогда не наматывайте разрывной трос вокруг предохранительной цепи, не проходите через нее и не прикрепляйте его к крюку цепи. В большинстве случаев той же длины, разрешенной для поворота, также достаточно для своевременного включения аварийного тормоза прицепа. Всегда рекомендуется проверять надлежащее провисание.
«Полезно знать. Когда я взял свой новый трейлер, человек, проходивший через него, провел аварийным тросом через страховочную цепь». Чип Томас, покупатель автофургона.
Периодическая смазка шаровой опоры сцепного устройства и муфты продлевает срок службы этих компонентов.
Не обманывайтесь
По всей видимости, некоторые дилеры, продавцы и установщики сцепных устройств не прошли надлежащего обучения. В параграфе 7.5.2 стандарта SAE J684 говорится: «Защитная цепь должна быть прикреплена к тягачу и прицепу таким образом, чтобы провисание каждой длины цепи было примерно одинаковым, когда транспортные средства выровнены по общей передней и задней центральной линии. не провисать больше, чем необходимо для правильного поворота транспортных средств.Защитные цепи должны быть перекрещены под дышлом прицепа и присоединены к сцепному устройству или другим элементам тягача. «
В некоторых штатах использование и переход страховочных цепей является законом.
Характеристики компонентов сцепного устройства
Убедитесь, что наименьшая номинальная масса из трех компонентов, показанных ниже, соответствует или превышает допустимую полную массу прицепа (GVWR). Самый низкий весовой рейтинг между этими компонентами и обычным TWR тягача становится максимально допустимым TWR.
Пример: Самая низкая оценка среди компонентов сцепного устройства — это шаровой шарнир сцепного устройства, рассчитанный на 10 000 фунтов, а опубликованный TWR буксируемого автомобиля составляет 14 000 фунтов.Более низкий рейтинг шаровой опоры становится максимальной буксировочной способностью или максимально допустимым TWR.
Однако можно было узнать, что после использования приложения RV Tow Check максимальный RVTC, из-за веса буксируемого автомобиля, составляет всего 9820 фунтов. RVTC в 9820 фунтов — это максимальный вес прицепа, который это транспортное средство должно буксировать, независимо от более высоких номиналов сцепного устройства или опубликованного TWR буксируемого автомобиля.
Ресивер
Пример:
14000 фунтов.
Шаровая опора
Пример:
12000 фунтов.
Шарик сцепного устройства
Пример: 10 000 фунтов.
Искренняя записка от основателя.
Наутро после Дня поминовения 2017 года я узнал об ужасающей трагедии в округе Линкольн, штат Кентукки. Это произошло из-за отцепившегося от грузовика туристического прицепа. Затем трейлер выехал на встречную полосу и врезался в внедорожник. Водитель внедорожника погиб, а шестимесячный Кольт Тафф Шаффер получил тяжелые травмы. К утру четверга я узнал, что Кольт не выживет, и в тот же день Кольт скончался от полученных травм.
Я не могу понять, что пережила семья за это время. Однако эта трагедия поразила меня большим количеством печали, печали и гнева. Из-за гнева я создал эту новую страницу в среду, 31 мая.
Я посвящаю эту страницу памяти Кольта. Я прошу всех, кто читает эту страницу, поделиться ею со всеми, кто изучает буксировку обычного прицепа или нуждается в напоминании. Обучение и применение полученных знаний — ключ к предотвращению травм и смерти.
Первый выпуск новостей
Один убит, трое ранены в результате тяжелой аварии в округе Линкольн
Второй новостной репортаж
Семья жертвует органы шестимесячного ребенка: «Мой ребенок будет супергероем»
Вы можете помочь
GoFundMe для Colt
Глоссарий
TWR = номинальная масса прицепа
RVTC = реалистичная буксировочная способность (предоставляется приложением RV Tow Check)
GVWR = полная номинальная масса автомобиля


поднимите дышло прицепа, чтобы убедиться, что прицепное устройство не соскакивает.


Проверьте вместимость прицепа, чтобы убедиться, что вы не собираетесь превышать заводские ограничения по весу DOT. В Калифорнии для прицепа с полной разрешенной массой 10 000 и более требуется коммерческое водительское удостоверение (CDL). GVWR — это общий вес прицепа и груза.
Их можно приобрести на Amazon или в Tractor Supply. = «»>
Мусор или коррозия могут помешать правильной работе фар и / или тормозов. Воздушный шланг или баллончик с воздухом обычно могут удалить и мусор. В Big Trailer Rentals мы используем очиститель QD Electronic Cleaner для удаления коррозии и поддержания чистоты соединений. После того, как вы подсоедините вилку прицепа к транспортному средству, пропустите сетевой шнур через штифт сцепного устройства и оставьте примерно 9 дюймов зазора между штифтом сцепного устройства и розеткой вилки на тягаче. Это обеспечит провисание для поворотов и предотвратит провисание шнура вилки. волоча по земле.
Впервые данный тип подвески был применен на серийной модели Ford Vedette после Второй мировой войны в 1948 году. Инженер изначально работал в конструкторском бюро компании GM над автомобилем для широкого потребителя Chevrolet Cadet.

Существуют и другие ее разновидности, имеющие некоторые отличия в отдельных деталях.
Ось проходит через подшипник, установленный на кузове и смонтированную на рычаге шаровую опору.
При выполнении маневра, стойка в сборе с кулаком и установленным на ступице колесом поворачивается. Автомобиль при этом изменяет направление движения.
Она имеет целый ряд преимуществ перед классической двухрычажной компоновочной схемой, в тоже время по многим параметрам она ей значительно уступает.
Обычно узел поступает на сборочный конвейер единым блоком, что значительно сокращает временные затраты.

Одним из недостатков такой схемы является то, что плечо обкатки в ней имеет всегда положительное значение, иными словами, ось поворота находится с внутренней стороны от точки контакта колеса с дорогой. Это снижает курсовую устойчивость и создает значительные усилия на руле.
Одним из таких примеров считается подвеска МакФерсон, которую часть можно встретить на автомобилях с передним приводом. Это один из самых распространенных видов независимой подвески, к тому же мало прихотливый в плане запчастей и поломок. Так же можно сказать, что McPherson это развитый вид подвески на двойных поперечных рычагах, в которой инженеры вместо верхнего поперечного рычага установили амортизаторную стойку.
Разработал и внедрил в серийное производство свое изобретение инженер компании Ford Эрл МакФерсон. Решением, позволившим упростить конструкцию подвески с двумя поперечными рычагами, стало применение несущей амортизационной стойки. Характерной особенностью являлось наличие пружины в ее верхней части. В собранном виде конструкция представляла собой единое целое. Это позволило отказаться от необходимости использования верхнего рычага. Первым серийным автомобилем с данной конструкцией передней подвески стал Ford Vedette 1948 года выпуска. Позже модифицированные варианты стали использовать и на других автомобилях концерна. В 70-х идею МакФерсона подхватили остальные автопроизводители. Тип подвески назвали именем создателя.
Но чтобы обеспечить уменьшенную передачу вибрации на кузов, крепление рычага делается через резинометаллические проставки – сайлент-блоки. Кронштейны эти могут быть сделаны как на самом кузове, так и на подрамнике – трубной конструкции, крепящейся к несущей части.
В таких конструкциях стабилизатор если и крепиться к рычагу, то не напрямую, а посредством специальной стойки. Но очень многие автопроизводители фиксируют концы стабилизатора к корпусу стойки через тяги.
Основное усилие берет на себя стойка, а вот шаровые опоры и сайлентблоки обеспечивают подвижность механизмов, за счет чего они получили неплохой запас ресурса.
Можно сказать, что эта часть кузова больше всего выдерживает перегрузки, если не укрепить, то могут появиться трещины или коррозия;
При этом возникает вероятность раскачивания несущей части, если оба колеса движутся по неровности.
Как результат потеря комфорта, ухудшение управляемостью автомобиля, а так же ускоренный износ сопутствующих деталей подвески.
Выход или ослабление одного из амортизаторов приводит к уменьшению упора машины на все 4 колеса. Таким образом, при заходе в поворот, машину попросту заносит, само скольжение любой оси говорит о возможной поломке.
Причин такой поломки может быть несколько, усталый металл, коррозия одной из деталей. Чаще всего могут просесть пружины (сокращают ход сжатия), за счет чего вся сила удара передается за кузов и салон автомобиля, расширяются соединения и стыки на кузове и по интерьеру.
Нижняя часть стойки МакФерсон соединяется со ступичным узлом. Стойка устанавливается не вертикально, а под определенным углом к колесу автомобиля в поперечной плоскости. Данный угол называется углом поперечного наклона шкворня или KPI и оказывает большое влияние на управляемость автомобиля. Данный параметр не регулируется и закладывается в конструкцию подвески при проектировании.
Амортизационная стойка, в свою очередь, состоит из амортизатора и пружины. Таким образом, помимо конструктивных особенностей, стойка выполняет намного больше функций, а именно является одновременно несущим, упругим и демпфирующим элементом конструкции.
Но это не строгое правило, данный тип механизма так же можно встретить на бюджетных вариантах машин, как спереди, так и сзади. Самые популярные автомобили, на которых можно встретить подвеску МакФерсон, представлены ниже.
Все эти машины выпускались крупными партиями, поэтому экономия материалов и затрат на сборку вырисовывалась существенная.
В дальнейшем подвеска МакФерсона производилась по избыточным технологиям, обеспечивающим достаточный коэффициент надежности всего механизма.

Это произошло в 1955 году, и с тех пор попыток больше не было.

Но при этом подвеска не способна полностью поглотить все усилия и часть их все же передается на кузов. При этом возникает вероятность раскачивания несущей части, если оба колеса движутся по неровности.
В результате чего во всех англоязычных странах такой механизм подвески для задних колес называют «подвеской Чемпмена».
Резиновые подушки позволяют компенсировать перекосы, возникающие при качании такого составного рычага, а также гасят продольные вибрации, передаваемые от колеса на кузов.Шток телескопической стойки закреплен на нижнем основании резинового блока верхней пяты и не поворачивается вместе со стойкой и установленной на ней пружиной. В таком случае при любых поворотах управляемых колес стойка также поворачивается относительно штока, снимая трение покоя между штоком амортизатора и его направляющей, поршнем амортизатора и цилиндром, что улучшает реагирование подвески на малые дорожные неровности.Пружина устанавливается не соосно стойке, а наклонена в сторону колеса для того, чтобы уменьшить поперечные нагрузки на штоке, его направляющей и поршне, возникающие под воздействием вертикального усилия на колесе.Особенностью подвески управляемых колес является то, что она должна позволять колесу совершать повороты независимо от прогиба упругого элемента. Это обеспечивается с помощью так называемого шкворневого узла.
Подвески могут быть шкворневыми и бесшкворневыми.При шкворневой подвеске поворотный кулак закреплен на шкворне, который установлен с некоторым наклоном к вертикали на стойке подвески. Для уменьшения момента трения в этом шарнире могут применяться игольчатые, радиальные и упорные шариковые подшипники качения. Наружные концы рычагов подвески связаны со стойкой цилиндрическими шарнирами, обычно выполненными в виде смазываемых подшипников скольжения.Основным недостатком шкворневой конструкции является большое число шарниров. При качании рычагов направляющего устройства в поперечной плоскости невозможно достичь «антиклевкового эффекта» из-за наличия центра продольного крена подвески, так как оси качания рычагов должны быть строго параллельны.Гораздо больше распространены бесшкворневые независимые подвески, где цилиндрические шарниры стойки заменены сферическими. В конструкцию данного шарнира входит палец с полусферической головкой, на него надет металлокерамический опорный вкладыш, работающий по сферической поверхности корпуса шарнира.
Палец опирается на вкладыш из специальной резины с нейлоновым покрытием, установленный в специальной обойме. Корпус шарнира крепится к рычагу подвески. При повороте колеса палец поворачивается вокруг своей оси во вкладышах. При прогибах подвески палец совместно с вкладышем качается относительно центра сферы — для этого в корпусе имеется овальное отверстие. Этот шарнир является несущим, так как через него передаются вертикальные силы от колеса к упругому элементу, пружине, опирающейся на нижний рычаг подвески. Рычаги подвески крепятся к кузову либо посредством цилиндрических подшипников скольжения, либо с помощью резинометаллических шарниров, работающих за счет деформации сдвига резиновых втулок. Последние требуют смазывания и обладают виброизолирующим свойством.
Конструкцию отличает узкий нижний рычаг, который намертво жестко крепился к стабилизатору поперечной устойчивости. Одновременно и плюсы и минусы такой конструкции то, что стабилизатор слишком много на себя брал. Кроме своих основных функций, он служил еще дополнительным плечом нижнего рычага, не давая уходить машине в сторону при разгоне и торможении.
Амортизатор все так же упирался в чашку, приваренную к кузову на колесной арке. Такая предательская конструкция показала себя гораздо выносливее, чем настоящий Макферсон. 124-е и 201-е Мерседесы оборудовались именно такой конфигурацией, а Форд Транзит спрыгнул с такой конструкции только в 2001 году. Надежность обеспечивалась именно снижением нагрузки на верхнюю опорную часть, поэтому вы никогда не увидите Транзит с раздолбанной опорной частью в верхней чашке колесной арки.
Только не тот резьбовой скрипящий кошмар, конструкция получилась более элегантной. Стойка здесь неповоротная, а колесо с кулаком поворачиваются, удерживаясь шаровыми опорами.

Но чтобы обеспечить уменьшенную передачу вибрации на кузов, крепление рычага делается через резинометаллические проставки – сайлент-блоки. Кронштейны эти могут быть сделаны как на самом кузове, так и на подрамнике – трубной конструкции, крепящейся к несущей части.
В таких конструкциях стабилизатор если и крепиться к рычагу, то не напрямую, а посредством специальной стойки. Но очень многие автопроизводители фиксируют концы стабилизатора к корпусу стойки через тяги.
Эти подвески просты по конструкции; у них малый вес неподрессоренных масс и низкая стоимость.
Она состоит из одного рычага и телескопической стойки, с одной стороны жестко связанной с поворотным кулаком, а с другой — закрепленной в пяте. Пята представляет собой упорный подшипник, установленный в податливом резиновом блоке, закрепленном на кузове. Стойка имеет возможность покачиваться за счет деформации резинового блока и поворачиваться вокруг оси, проходяшей через упорный подшипник и наружный шарнир рычага.
При качании рычагов направляющего устройства в поперечной плоскости невозможно достичь «антиклевкового эффекта» из-за наличия центра продольного крена подвески, так как оси качания рычагов должны быть строго параллельны.
Рычаги подвески крепятся к кузову либо посредством цилиндрических подшипников скольжения, либо с помощью резинометаллических шарниров, работающих за счет деформации сдвига резиновых втулок. Последние требуют смазывания и обладают виброизолирующим свойством.
Используйте зажим для тормозного шланга.


унция (50 мл) света
двигатель
масло или специальное демпферное масло — для охлаждения картриджа и предотвращения коррозии.
Рычаг управления обычно был короче и прочнее из двух и прикреплялся непосредственно к нижней части держателя колеса, иначе известной как ступица. В наши дни они были объединены в один, гораздо более крупный рычаг управления вместе со стабилизатором поперечной устойчивости, соединяющим шасси и блок подвески.
..
Факт остается фактом: стойка MacPherson — это блестяще эффективный способ сочетать силу, пружину и стабильность при низкой стоимости производства.
Другие, в том числе ранние британские Ford Escorts Mk1 и Ford Fiesta Mk1 и Mk2, используют радиальные стержни (ведущие или задние звенья) для определения местоположения нижнего рычага управления. Одним из преимуществ использования радиусных штанг таким образом является то, что они могут быть спроектированы так, чтобы обеспечивать некоторую податливость в продольном направлении для лучшего качества езды.Также становится возможным обеспечить некоторую геометрию, препятствующую погружению, путем установки передней точки крепления на высоте, отличной от высоты нижнего шарового шарнира.
Это стоит и весит больше, но обеспечивает лучшую геометрию стабилизатора поперечной устойчивости и большую свободу выбора жесткости пружины.
Идея состоит в том, чтобы уменьшить поворачиваемость при движении по прямой, увеличивая самоцентрирование в поворотах.
(Super Strut входила в состав некоторых экспортных версий этих автомобилей, но никогда не предлагалась ни на одной американской Toyota.) Проще говоря, Super Strut была попыткой приблизить геометрические преимущества подвески с двойным поперечным рычагом в пакете, который мог быть заменен стандартным Toyota. Передняя подвеска со стойками Макферсон.
Один конец удлинителя образует точку крепления для верхнего шарового шарнира, который перемещается в точку чуть ниже и за пределами основания стойки. Между тем нижний конец удлинителя стойки через шаровую опору соединен с коротким плечом рычага (вспомогательное звено или звено «восьмерка»), которое, в свою очередь, соединяется (через другой шаровой шарнир) с точкой примерно на центр заднего нижнего рычага подвески (который Toyota называет рычагом управления развалом).

В основном такие валы входят в конструкцию трансмиссии спортивных автомобилей.
Наверное не зря даже все лимузины имеют заднеприводную трансмиссию, ведь при довольно большой массе транспортного средства, которое, к тому же еще имеет мощный силовой агрегат, использование карданного вала в качестве привода – самый оптимальный вариант.
Сдавай в ремонт, а то дело плохо кончится», — говорил главной героине фильма «Москва слезам не верит» ее любовник. О том, что такое карданный вал, зачем он нужен, какие неисправности для него характерны, и как их ремонтировать, – в нашей сегодняшней статье.
Кроме того, установка карданного вала на автомобиль требует оборудования под его днищем специального туннеля, выпуклая сторона которого выдается в салон и приносит неудобства пассажирам заднего ряда. Вращающийся механизм карданного вала служит источником шумов и вибраций, которые в современных автомобилях практически свели на нет посредством установки высококачественных шумо- и виброизоляционных материалов.
Впрочем, они могут износиться и раньше – это зависит от качества самих деталей, манеры езды водителя и условий, в которых эксплуатируется автомобиль.
К примеру, односекционный кардан применен в конструкции Nissan GT-R. 
Предприятие выпускает не только валы, но и всевозможные запчасти к ним и различной сельхозтехнике. Продукция компании отличается высокой надежностью, что гарантирует высокую производительность и эффективность используемого оборудования. Запчасти предприятия обеспечивают долгосрочную службу техники, что особенно важно для крупных ферм. С более детальной информацией о компании «Прогресс К» и ее продукцией можно ознакомиться на официальном сайте — http://progress-k.com.ua/.
Так же с промежуточной части карданного вала на ведомую часть, скорость вращения передается не постоянная, поочередно сменяясь с запаздывания на опережение. Но сопоставив скорость вращения маркеров ведущей и ведомой части карданного вала мы увидим, что их скорости вращения будут оставаться постоянными, хотя скорость вращения промежуточной части будет переменной, как мы указывали выше.

Карданные валы специально разработаны с учетом параллельного смещения, вызванного смещением этих двух машин.
На соединительном фланце ведомой машины устанавливается «смещенное» приспособление или кронштейн, а на вращающейся части устанавливается лазерный датчик. Второй лазерный датчик должен быть установлен на драйвере.Кронштейн позволит виртуально позиционировать ось вращения, соединяющую две машины. Затем данные будут собираться как в вертикальной, так и в горизонтальной плоскостях.
Таким образом продлевается срок службы компонентов и снижается вероятность неожиданного отказа машины.


Алюминий желателен, потому что он весит значительно меньше стали.Недостатками алюминия являются более низкий предел прочности и усталостная долговечность по сравнению со сталью. В связи с этим рекомендуется периодически проверять алюминиевые валы в сложных условиях эксплуатации, чтобы убедиться, что они прямые и не имеют трещин или других дефектов.
В большинстве установок TREMEC Magnum и TKO в маслкары и хот-роды используется цельный карданный вал.
Использование этого типа шарнира в трансмиссии позволяет вам повернуть ведущую шестерню так, чтобы задний карданный шарнир в приводном валу находился под нулевым градусом (прямая линия, проходящая через приводной вал и вал шестерни). Двойные карданные шарниры
Это поможет карданному валу работать так же плавно, как ваша новая трансмиссия TREMEC, и даст вам наилучшие впечатления от вождения.
Эта вибрация наиболее заметна в кабине водителя. Величина дисбаланса приводного вала должна быть менее 100 г · см.

