Дифференциал переднего привода самоблокирующийся дисковый «AVT» ВАЗ 2108-2112
Для чего нужна блокировка дифференциала ?
Во время движения автомобиля по неровной дороге или в момент поворота на детали трансмиссии и шины подается дополнительная нагрузка из-за прохождения ведущими колесами различного пути. Это обстоятельство ухудшает управляемость и способствует их существенному износу. В эпоху отсутствия автомобильных дорог и малых скоростей данная проблема не сильно беспокоила водителей, к тому же цельная ведущая ось служила для повышения проходимости автомобиля.
Шло время, пропорционально совершенствованию техники возрастали скорости, поэтому возникла необходимость развязать ведущие колеса. Был придуман дифференциал — планетарный механизм, который распределял поровну крутящий момент между полуосями и позволял колесам вращаться с различной скоростью.
Дифференциал значительно увеличил (улучшил) управляемость и устойчивость автомобиля, но при этом снизил его проходимость.
Величину крутящего момента стало задавать колесо, имеющее менее прочное сцепление с дорогой, поэтому одно колесо пробуксовывало, второе в этот момент просто останавливалось.
Ручная блокировка дифференциала не смогла решить проблему улучшения проходимости автомобиля, так как это требовало постоянного внимания водителя и годилось только для преодоления труднопроходимых участков. Поэтому возникла необходимость автоматической блокировки. Всевозможные конструкции самоблокирующихся дифференциалов не требуют дополнительных действий от водителя и помогают компенсировать ошибки в управлении.
Автомобиль, имеющий дисковую блокировку:
быстро разгоняется по плотному снегу и льду;
легко управляется в поворотах;
при резком старте на асфальте предупреждается срыв ведущих колес.
Для выравнивания срабатывания блокировки и уменьшения нагрузки на трансмиссию устанавливают муфту предварительного натяга. Величина преднатяга определяет минимальный крутящий момент, который действует на колесо.
Больший преднатяг позволяет повысить проходимость на труднопроходимых участках дороги, меньший — помогает проходить резкие повороты. Установить необходимую величину натяга могут только специалисты, которые учитывают все особенности конструкции автомобиля, манеру вождения и уровень дорожного покрытия.
Самоблокирующийся кулачковый дифференциал БТР 60 на УАЗ
Самоблокирующийся кулачковый дифференциал
Назначение
Обеспечивает блокировку дифференциала при возникновении разности крутящих моментов на полуосях, что дает повышение проходимости транспортного средства.Кулачковый дифференциал обладает повышенным внутренним трением. Это позволяет рациональнее распределять тяговые силы между ведущими колесами, имеющими разные силы сцепления с дорогой, и практически исключить их раздельное буксование. При этом распределение сил тяги на ведущих колесах дифференцируется автоматически, без участия водителя и характеризуется коэффициентом блокировки:
где Мот – момент на отстающем валу; Мобг – момент на обгоняющем валу.
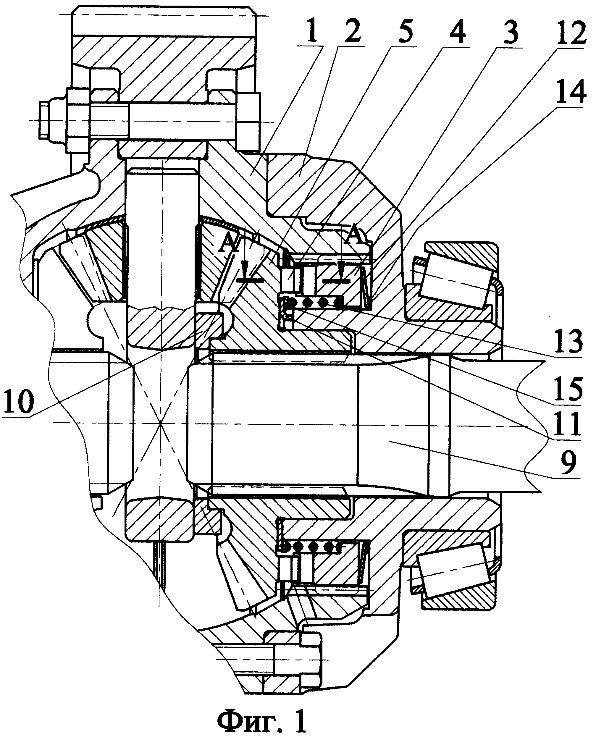
Двухрядный кулачковый дифференциал устанавливается на двух конических подшипниках в картере главой передачи и состоит:
1 — внутренней звездочки;
2 — сепаратора:
3 — наружной звездочки;
4 — чашки дифференциала;
5 — 24-х сухарей.
Один ряд сухарей смещен относительно другого на половину шага кулачков, чтобы исключить пульсацию передаваемого крутящего момента.
Сепаратор имеет два ряда отверстий, в которых размещаются сухари. От выпадения из сепаратора и проворачивания вокруг своих осей сухари удерживаются кольцами. Сепаратор вместе с чашкой крепится к ведомому зубчатому колесу главной передачи и образует корпус дифференциала.
Наружная звездочка имеет на внутренней поверхности шесть равномерно распложенных кулачков. Она устанавливается свободно внутри чашки и соединяется шлицами с полуосью.
Внутренняя звездочка имеет на внешней поверхности два ряда по шесть кулачков, расположенных в шахматном порядке. Эта звездочка находится в отверстии сепаратора и соединяется шлицами со второй полуосью.
В рабочем положении детали дифференциала устанавливаются таким образом, что сухари соприкасаются с кулачками наружной и внутренней звездочек.
Самоблокирующийся кулачковый дифференциал работает следующим образом
При движении автомобиля по ровной дороге все детали дифференциала вращаются вокруг обшей оси как одно целое, при этом угловые скорости колесных валов и корпуса дифференциала равны между собой. Сухари относительно сепаратора не перемещаются.Крутящий момент передается от ведомого зубчатого колеса главной передачи на сепаратор 2, с него на сухари 5, которые давят на кулачки звездочек 1 и 3, приводя их во вращение. Сила нормального давления сухарей на кулачки наружной и внутренней звездочек одинакова, но окружные силы Р, вращающие звездочки, вследствие разных углов наклона профилей кулачков на звездочках разные.
На внутренней звездочке, имеющей больший угол наклона кулачков, окружная сила больше, чем на наружной.
Бóльшая окружная сила, приложенная на меньшем радиусе наружной звездочки, дает такой же крутящий момент, как и меньшая окружная сила, действующая на бóльшем радиусе наружной звездочки.
При движении на повороте или по неровной дороге одно из колес начинает вращаться быстрее другого. Звездочка, соединенная с отстающим колесом, вращается медленнее. Своими кулачками она толкает сухари в сторону второй звездочки, ускоряя ее вращение, тем самым дифференциал позволяет колесам вращаться с разными угловыми скоростями.
При скольжении сухарей по кулачкам на их поверхности возникают силы трения Ртр. На звездочке, имеющей бóльшую скорость, сила трения направлена против вращения, притормаживая ее, а на отстающей звездочке – в сторону вращения, увеличивая тем самым окружную силу, в результате чего передаваемый на колесо крутящий момент возрастает в три-четыре раза.
Применение самоблокирующегося кулачкового дифференциала транспортного средства, установленного в ведущих мостах, позволяет:
— более полно использовать сцепной вес, приходящийся на ведущие колеса; — увеличивает тяговое усилие на колесах;
— повышает проходимость;
— повышает возможность трогания с места на скользких подъемах;
— улучшает устойчивость движения в тяжелых дорожных условиях.
Источники информации Дифференциалы колесных машин /А.Ф. Андреев, В.В. Ванцевич, А.Х. Лефаров. Под общ. ред. А.Х. Лефарова. — М.: Машиностроение, 1987. — 176 с; ил. с 71-75 — прототип.
На нашем сайте доступны для заказа:
Дифференциал самоблокирующийся БТР 60 на УАЗ мост Спайсер (кулачковый) «Autogur73»
Дифференциал самоблокирующийся БТР 60 на УАЗ мост Тимкен/Гибрид (кулачковый) «Autogur73»
Преимущества кулачкового самоблокирующегося дифференциала:
— простота монтажа;
— не прихотливы к смазочным материалам;
— не требуют специального обслуживания.
Отличия от червячных(винтовых) и Блокка (Локрайт):
— в отличии от червячных (винтовых) самоблокирующихся дифференциалов не нужно делать преднатяг;
Дифференциал повышенного трения (самоблокирующийся дифференциал) для Лада 4х4 и Шевроле Нива (задний редуктор), классика ВАЗ.
Межколесные, самоблокирующиеся дифференциалы винтового (червячного) типа, 8-ми сателлитный (патент РФ №55063 от 27.07.2006г.).
youtube.com/embed/9WjEXZGE4YU?autohide=1&controls=1&showinfo=0″/>
Межколесный дифференциал повышенного трения (самоблокирующийся дифференциал) — 22 шлица, задний редуктор.
(Передний редуктор 2121 НИВА автомобилей до 2002-2003 года выпуска.
Устанавливается в задний редуктор автомобилей ВАЗ классической компоновки всех годов выпуска и автомобиля ВАЗ 2121 Нива и начиная с 1977 года до настоящего времени.
Модели автомобилей: ВАЗ 2101-2107 (задний привод), ВАЗ 2121 НИВА, Лада 4х4, Лада Урбан, ВАЗ 2329 пикап, Лада 4х4 Пикап, ВИС 2346, ВИС 2946, ИЖ 27175 (пикап на базе 2104), Лада 4х4 Медицинский, ВИС БРОНТО 4х4, ВИС РЫСЬ4х4.
Устанавливается в задний редуктор всех комплектаций автомобиля Шевроле НИВА, начиная с начала производства, 2003 год, до настоящего времени.
Устанавливается в передний редуктор модели 2121, 22 шлица, автомобилей ВАЗ 2121 НИВА с 1977 года до 2002-03 года.
Самоблокирующийся дифференциал ВАЛ-РЕЙСИНГ, устанавливаются взамен серийного дифференциала по существующим технологиям заводов изготовителей автомобилей и по заводским регулировкам, без доработки внутренних поверхностей редукторов.
Степень блокирования «ЛЕГКАЯ»
подробно по ссылке: ВЫБОР ДИФФЕРЕНЦИАЛА ВАЛ-РЕЙСИНГ.
Все блокировки собираются только с одним значением начального момента трения до 5 кг.
подробно по ссылке: Муфта комфорта самоблока ВАЛ-РЕЙСИНГ.
Допускается снижение начального момента трения в дифференциале на автомобиле после прикатки и заправки масла.
Обозначение на упаковке — ВАЗ 2101-07-Лада 4х4-Шевроле Нива-22 шлица-ВИНТОВОЙ-ЛЕГКАЯ.
Серийный номер в коде на корпусе дифференциала
Ссылка на маркировку изделий ВАЛ-РЕЙСИГ.:Маркировка самоблокирующихся дифференциалов производства ВАЛ-РЕЙСИНГ.
Рекомендован при ежедневной эксплуатации в большей степени заднеприводного автомобиля. Улучшает проходимость и устойчивость заднеприводного автомобиля, особенно в зимних условиях. Улучшает старт с места и подъем в гору. Работая в автоматическом режиме, позволяет максимально исключить возможность пробуксовки колес оси с дифференциалом Мягок при включении. Минимизирует риск поломки сопряженных деталей.
Устанавливается в задний редуктор серийных автомобилей Лада 4х4 Рысь и ЛАДА 4х4 Бронто, снегоболотоходов «Петрович» и «Странник».
Рекомендован для подготовки и технического тюнинга автомобилей:
— наиболее подходят для установки в задний редуктор автомобилей ВАЗ -2101-2107 заднеприводной компоновки.
— для «гражданского» применения в любых целях в городе и на легком бездорожье;
— для автотуризма и путешествий на автомобилях,
!При гражданской эксплуатации не рекомендуется эксплуатация автомобиля с задним приводом (ВАЗ 2101-07) в зимних условиях без специальной «зимней» резины.
ВАЖНОЕ!
Дифференциалы повышенного трения не работают при 100% диагональном вывешивании автомобиля, в связи с тем, что свободно вращающиеся колесо имеет нулевой (незначительный) коэффициент сцепления с поверхностью и соответственно нулевую силу тяги. Если у Вас часты случаи попадания в диагональное вывешивание, особенно с остановкой, при трогании с места, когда автомобиль находиться в вывешенном состоянии рекомендуется комплектовать полноприводные автомобили по схеме один самоблок + раздатка с понижением, или 2-мя самоблокирующимися дифференциалами.
ОБРАТИТЕ ВНИМАНИЕ!
Касается автомобилей Лада 4х4 и автомобилей на их базе.
При блокировании межосевого дифференциала, происходит значительное увеличение нагрузки на все узлы трансмиссии автомобиля.
При эксплуатации автомобиля с межколесным дифференциалом повышенного трения, не рекомендуется движение автомобиля с заблокированным межосевым дифференциалом в раздаточной коробке, по хорошим дорогам (асфальтовое покрытие, твердые грунтовые дороги и т.п.). Это сокращает срок службы механизмов силовой передачи. Возможно появление посторонних звуков в трансмиссии автомобиля, что не является неисправностью и не относится к гарантийным обязательствам.
Дифференциалы повышенного трения увеличивают нагрузку на сопряженные детали трансмиссии (подшипники, полуоси и т.п.)
В случае установки на автомобиль с пробегом, рекомендуется при замене базового дифференциала на самоблокирующий, установить новые подшипники дифференциала.
При эксплуатации автомобиля на среднем и жестком бездорожье, установке пониженных пар главной передачи в редукторы и раздаточную коробку, рекомендуется для повышения надежности заднего моста и автомобиля в целом, установка усиленных полуосей и проведение работ по усилению кожуха («чулка») заднего моста.
Применяемое масло:
При эксплуатации автомобиля с самоблокирующимся дифференциалом «VAL-racing»:
— параметры и характеристики масел рекомендуется использовать из руководства по эксплуатации автомобиля, в который устанавливается самоблокирующийся дифференциал «VAL-racing», обязательно с учетом температурных характеристик региона, где будет эксплуатироваться самоблокирующийся дифференциал.
Подробнее о масле для самоблокирующихся дифференциалов по ссылке:
О масле для самоблокирующихся дифференциалов ВАЛ-РЕЙСИНГ.
Конструкция дифференциал ВАЛ-РЕЙСИНГ винтового типа.
Самоблокирующийся дифференциал ВАЛ-РЕЙСИНГ. Конструкция.
1.Корпус дифференциала. 2.Крышка дифференциала, 3. Шестерня полуоси корпуса 4.Шестерня полуоси крышки. 5.Сателлит длинный. 6.Сателлит короткий. 7 Обойма. 8.9. Шлицевое кольцо. 10.Тарельчатые пружины. 11.Крепежный винт.
Ведомая шестерня дифференциала в комплекте не поставляется (серийная деталь, показана условно).
Крепежный болт ведомой шестерни (номер детали ВАЛ-РЕЙСИНГ №2101-1005127VR), специальный, доработка ВАЛ-РЕЙСИНГ — поставляются в комплекте — 8 штук.
Номер серийного болта (не доработанный): Болт крепления маховика 2108 (№21080-1005127-00).
(Болты имеют увеличенную длину резьбовой части и заниженную головку.
Применение доработанных болтов необходимо в связи с увеличенной толщины базовой, посадочной, торцевой поверхности блокировки для ведомой шестерни. Увеличение толщины необходимо для повышения надежности конструкции блокировки, в связи с увеличением нагрузок на дифференциал при эксплуатации автомобиля.)
Устройство самоблокирующегося межосевого дифференциала
В 2005 году Audi приступила к следующему этапу развития своей классической системы привода quattro в RS 4 второго поколения. Новый самоблокирующийся межосевой дифференциал, который сегодня используется во многих моделях, остался верен принципу механической функции. Тем не менее, значительный прогресс по сравнению с дифференциалом Torsen.
При нормальных условиях движения мощность распределяется между передней и задней осями в соотношении 40:60. Это асимметричное и динамическое распределение крутящего момента приводит к спортивной управляемости с задним смещением.
Межосевой дифференциал может отводить до 60 процентов мощности вперед и до 80 процентов сзади, если это необходимо. Если колесо на одной оси должно вращаться, электронная блокировка дифференциала EDL управляет им, применяя тормоза.
Самоблокирующийся межосевой дифференциал выполнен в виде планетарной передачи. Внутренняя шестерня содержит солнечную шестерню; между этими двумя элементами вращаются планетарные шестерни в форме ролика, соединенные с вращающимся корпусом. Они распределяют крутящий момент асимметрично — несколько большая фракция течет назад через внутреннюю шестерню, которая имеет больший диаметр, и выходной вал, соединенный с ней. Меньшая часть передается на меньшую солнечную шестерню, откуда она отправляется на переднюю ось.
Если сцепление на одной из осей снижается, спиральная форма зубчатых колес и их наклонные шлицы создают осевые силы в дифференциале.
Эти силы действуют на фрикционные диски, чтобы обеспечить требуемый крутящий момент и отвести мощность на колеса с лучшими значениями трения.
Полноразмерный внедорожник Audi Q7 использует специальную форму трансмиссии quattro — в данном случае самоблокирующуюся межосевой дифференциал интегрирован в отдельную раздаточную коробку. Солнечная шестерня использует цепь для привода вспомогательного вала, который проходит от коробки передач к передней оси.
Цепь используется для транспортировки масла, что устраняет необходимость в обычно используемом масляном насосе. Вся трансмиссия Ауди Q7 потеряла значительный вес на последнем этапе эволюции. Несмотря на это, раздаточная коробка очень прочная. Это также обеспечивает высокий дорожный просвет, что является важной чертой для внедорожного использования.
Другая техническая документация по Audi Q7 / Ауди Q7 (4L) находится здесь…
Как здесь найти нужную информацию?
Расшифровка заводской комплектации автомобиля (англ.
)
Расшифровка заводской комплектации VAG на русском!
Диагностика Фольксваген, Ауди, Шкода, Сеат, коды ошибок.
Если вы не нашли информацию по своему автомобилю — посмотрите ее на автомобили построенные на платформе вашего авто.
С большой долей вероятности информация по ремонту и обслуживанию подойдет и для Вашего авто.
SUPERB COMBI — Технические характеристики
ŠKODA SUPERB COMBI выступает за бескомпромиссную безопасность. В дополнение к перечисленным систем безопасности, новый ŠKODA SUPERB может быть оснащен следующими функциями:
› Крепления детских кресел Isofix и Top tether служат для установки детских сидений на втором ряду сидений. Крепление Isofix также устанавливается на сиденье переднего пассажира.
› Система Crew Protect Assist обеспечивает безопасность пространства вокруг водителя и переднего пассажира путем натягивания передних ремней безопасноти и закрывая боковые окна и панорамную крышу.
› После столкновения система Multi-Collision Brake предотвращает дальнейшее неконтролируемое движение автомобиля, отсанавливая его, тем самым снижая риск повторного столкновения.
› В дополнение к круиз-контролю, который поддерживает определенную скорость, ограничитель скорости позволяет водителю поставить ограничение верхнего предела скорости, чтобы не превышать установленный лимит.
> ABS предотвращает блокировку колес при экстренном торможении или при торможении на скользкой дороге.
> Увеличивая давление в тормозной системе, ассистент торможения помогает водителю в ситуациях, когда не обойтись без экстренного торможения. Это может привести к значительному сокращению тормозного пути.
> MSR помогает предотвратить блокирование ведущих колес, которое может возникнуть, когда водитель резко затормозит на скользком дорожном покрытии.
> ASR обеспечивает плавный старт и разгон без пробуксовки колес на скользких дорогах
> EDL помогает при ускорении или движении вверх с низкой тягой под одним из ведущих колес.
> Устройство блокировки дифференциала XDS+ обеспечивает водителю нейтральное поведение автомобиля при резких поворотах, и гарантирует их динамичное прохождение. Управляющие электронные устройства по сути моделируют присутствие самоблокирующегося дифференциала для улучшения сцепления с дорогой и динамичности на поворотах. В результате этого, автомобиль проходит повороты еще четче и легче, чем раньше.
> Система контроля давления в шинах все время информирует водителя о текущем давлении в шинах.
> Ассистент подъема в гору помогает безопасно начать движение на крутом склоне. Система включается автоматически на уклоне от 5% и обеспечивает легкий и безопасный старт без использования ручного тормоза. Hill-Hold Control также предотвращает скатывание автомобиля назад или выключение двигателя.
> Автоматическое включение аварийной сигнализации уменьшает риск наезда сзади, особенно приближаясь к пробкам на шоссе, или при резком торможении перед неожиданным препятствием.
Самоблокирующийся дифференциал винтовая (блокировка) «Классика» IQ Racing Technology
Самоблокирующийся дифференциал повышенного трения червячного типа (Квайф) предназначен для установки в редуктора:
- ВАЗ 2101-2107 задний редуктор;
- ВАЗ — 2121*, 2131 задний редуктор;
- В передний редуктор на автомобили до 2003 г.в.
Данный самоблок имеет конструктив 22 шлица.
Коэффициент блокирования (Kb) = 70%
Начальный момент проворачивания приводных шестерен: 49 Нм (5кгс·м)
Габариты:150х150х150 мм.
Вес: 4,6 кг.
Ресурс: 200 000 км.
Влючение: за счёт разницы моментов сопротивления колёс.
Управление: работает автономно (автоматически).
Обкатка: не требуется.
Совместимость с системами: ESP, ESC, DSC, DTSC, VSA, VSC, VDC, TC и ABS.
Применим для всех автомобилейСталь (18ХГТ)
Прецизионная сборка (зазоры не более ±0,05 мм)
100% соблюдение и контроль всех этапов технологии
Шлифовка всех 46 рабочих поверхностей
Повышенная прочность (твёрдость более 58HRC)
Износостойкость (нитроцементация 0,7мм)
Высокая точность (допуски ±0,02мм)
Антикоррозионное покрытие
Обкатка и притирка после сборке
Контроль неразрушающим способом после обкатки
Смазка для транспортировки и первого пуска
Выходной контроль ключевых параметровПродажа от производителя, без посредников.
Гарантия 5 лет, что эквивалентно 150 тыс.км. пробега
Срок службы 10 лет, что эквивалентно 450 тыс.км. пробега
Бесплатная доставка по России и СНГ по договоренности .
Не требует обкатки.
Изготовлен по полному технологическому циклу.
Лояльная гарантийная политика.
Не требует доработки заднего моста или редуктора.
Рекомендуется установка во все автомобили (в том числе используемые для трофи- рейдов, триалов, джип- спринтах и прочих соревнованиях). Блокировка поставляется с коэффициентом от 4,5 до 9 кгс.м.
Блокировка производства IQ Racing Technology, что подтверждает высокое качество исполнения.
Очень многие задают вопросы:
«Что такое дифференциал?»
«Что такое блокировка дифференциала и для чего она нужна?!»
«Как меняется поведение автомобиля?»
В этой статье я постараюсь ответить вам на эти вопросы.
Итак,
Что такое дифференциал, как он работает и для чего нужен.
Простыми словами…
На автомобилях без блокировки дифференциала или дифференциала повышенного трения (а это около 95% всех выпускаемых автомобилей с заводов в мире)
У ВАС ПОД НАГРУЗКОЙ НАХОДИТСЯ ТОЛЬКО ОДНО ИЗ КОЛЕС.
НИ ПРИ КАКИХ ОБСТОЯТЕЛЬСТВАХ ОБА КОЛЕСА ВМЕСТЕ НЕ КРУТЯТСЯ.
Грубо говоря, двигатель передает мощность только на одно из колес, или правое, или левое в зависимости от ситуации.
Почему?
Это сделано для уменьшении нагрузки на привода колес, для того чтобы не сломать и не погнуть их. Иначе при любом резком повороте можно было просто порвать резину или сломать толстый металлический привод как зубочистку.
Как это работает?
Дифференциал, установленный в КПП распределяет нагрузку так, что под нагрузку попадает только самое разгруженное колесо.
Если не вдаваться в подробности и сложности механизма дифференциала, то проверить его работу можно очень простым опытным путем, для этого необходимо встать одним из ведущих колес на скользкое покрытие, а другим на твердую и цепкую поверхность.
Прекрасно подойдет грязь и асфальт или твердый укатанный снег и лед.
Когда вы начнете трогаться с места, то начнет буксовать колесо, которое находится на скользком покрытии.
Исходя из этого можно сделать вывод, что два колеса одновременно не могут получать нагрузку от мотора из-за особенностей работы дифференциала.
Возможно каждый из вас попадал в ситуацию, когда автомобиль застревал, особенно зимой, буквально на ровном месте, и при попытке самостоятельно выехать одно из колес крепко держалось за дорогу, будто оно ни при чем, а второе безнадежно буксовало на льду…
Эту проблему поможет решить блокировка дифференциала или дифференциал повышенного трения.
Эти системы позволяют распределять нагрузку на два колеса не ломая привода, вплоть до 100% блокировки на оба колеса.
В природе существует довольно много видов различных дифференциалов и поэтому я опишу лишь те, которые предпочтительны на наши автомобили.
1. Простой дифференциал (свободный)
Работа описана выше
2. Дифференциал повышенного трения дисковый.
Такая система работает за счет фрикционных дисков, (на подобие работы системы сцепления с коробкой).
Она блокирует колеса до определенных пиковых нагрузок, имеет ряд преимуществ и недостатков.
Её надо довольно часто обслуживать, менять спец масло в КПП, фрикционные диски и прочие расходные материалы.
Возможно это лучший выбор для автомобилей с задним приводом, который планируется использовать для участия в соревнованиях.
3. Блокировка дифференциала с преднатягом (червячного типа).
Та что стоит у меня. Как мне показалось это лучший выбор для автомобиля, который можно использовать как в соревнованиях, так и в гражданских условиях.
У этой системы достоинств значительно больше, чем недостатков.
Плюсы:
+ блокировка колес вплоть до 70%
+ не ощущается на руле никаких рывков
+ не требуется заливать спец масло в КПП
+ практически не требует обслуживания
+ при установке не возникает никаких проблем
+ практически неограниченный срок службы
+ высокая проходимость
+ застрять довольно сложно
+ отличная управляемость
+ увеличение скорости прохождения поворотов
+ значительно легче вывести автомобиль из заноса
+ появляется чувство равновесия
Минусы
— в ходе эксплуатации падает преднатяг
(чтобы восстановить преднатяг необходимо менять регулировочные шайбы)
— в случае не соблюдения регламентных работ система будет работать, как обычный дифференциал.
Подведем итог:
Свободный дифференциал — плохо
Заварить дифференциал — значит приговорить к смерти привода и шрусы
Дифференциал повышенного трения и аналоги — хорошо.
Блокировка дифференциала винтовая «Классика» преднатяг выставляется по заказу клиента.
Блокировка дифференциалов автомобиля. Виды блокировок Знания-сила!
« НазадБлокировка дифференциалов автомобиля. Дифференциал повышенного трения («Квайфа») 01.02.2019 08:16 Дифференциал автомобиля — устройство, распределяющее крутящий момент с ведущего вала на правое и левое ведущие колеса одной оси (межколесный дифференциал) или передающее момент с двигателя на переднюю или заднюю ось ( межосевой дифференциал). Это чисто механическое устройство отличается простотой (обычно в нем всего четыре конических шестерни), компактностью и полностью соответствует своему названию: если оба колеса моста имеют одинаковое сцепление с дорогой и усилие, необходимое для раскручивания каждого из колёс одинаковое, дифференциал делит крутящий момент в фиксированном соотношении (обычно 50:50) и никак не препятствует вращению выходных валов с разной скоростью.
Но стоит только появится ощутимой разнице в сцеплении колёс с дорогой (например, одно колесо попало на лёд, а другое осталось на асфальте), как дифференциал тут же начнёт перераспределять момент на то колесо, усилие для раскрутки которого наименьшее (то есть на то, которое находится на льду). В результате, колесо, находящееся на асфальте перестанет получать крутящий момент и остановится, а колесо, находящееся на льду примет на себя весь момент и будет вращаться с увеличенной угловой скоростью, причем планетарный механизм будет играть роль редуктора, повышающего скорость вращения этого колеса. Естественно, это явление сильно ухудшает проходимость и управляемость автомобиля. Ведь по логике вещей, в рассмотренной ситуации момент желательно передавать на колесо, расположенное на асфальте, чтобы автомобиль мог продолжить движение.
Выходом из подобной ситуации стало использование автоматического дифференциала повышенного трения . Автором этой конструкции является англичание Rod Quaife.
Конструкция дифференциала представляет собой планетарный редуктор, состоящий из червячных шестерен: ведомых (полуосевых) и ведущих (сателлитов). Оси сателлитов параллельны полуосям , а сами сателлиты расположены в своеобразных карманах чашки дифференциала. При этом парные сателлиты имеют не прямозубое зацепление, а образуют между собой еще одну гипоидную пару, которая расклиниваясь, так же участвует в процессе блокировки полуосей.
Когда одно из колес (напрмер, правое) начинает отставать, связанная с ним полуосевая шестерня 1 вращается медленнее корпуса дифференциала
и поворачивает входящий с ней в зацепление червячный сателлит 2 . Он передает движение парному с ним сателлиту 3 из левого ряда, а тот — на левую полуосевую шестерню 4. Так обеспечиваются разные угловые скорости колес в повороте.
Благодаря разности крутящих моментов на колесах в винтовом зацеплении возникают осевые и радиальные силы, прижимающие полуосевые шестерни 1, 4 и сателлиты 2, 3 торцами к корпусу и крышке диференциала.
Сателлиты 2 и 3 также прижимаются к поверхностям отверстий, в которых они расположены. За счет этого и возникают силы, осуществляющие частичную блокировку полуосей. Степень блокировки определяется коэффициентом блокировки .
Основными характеристиками самоблокирующего дифференциала являются: коэффициент блокировки (%) и величина преднатяга (кг).
Кооффициент бокировки дифференциала (КБД) — это отношение между моментами на отстающем и забегающем колесе. КБД выражается в проценте — от 0 до 100%. Коэффициент блокировки определяется углом наклона зуба червячного сателлита. Обычно — 24 градуса. Настоящий фирменный «Квайф» имеет угол наклона зуба сателлитов 36 градусов. Стопроцентым КБД обладают две сваренные между собой полуоси ведущего моста.
Преднатяг задается установкой пакета специальных пружинных шайб , что обеспечивает предварительный «распор» шестеренок внутри блокировки. Набор шайб в пакете обычно равен 1 см в сложенном состоянии.
Шайбы имеют различную толщину для возможности подбора и регулировки момента преднатяга. Ресурсным преднатягом является натяг до 5 кг, т.к. шайбы при таком натяге не сдавлены до полоского состояния. Блокировка с таким натягом может критично не терять свих свойств 3…4 года. Любая натяжная блокировка теряет до 1 кг натяга в первые 2 месяца эксплуатации. По рекомендациям специалистов, величина преднатяга переднего винтового самоблокирующегося дифференциала не должна превышать 5,0 кг, а заднего — 7,0 кг. Если блокировка имеет максимальное значение преднатяга 8-9 кг, то шайбы в пакете будут сжаты до плоского состояния, что приведет к потере пружинных свойств пакета.
Преднатяг – это компромисс между комфортом езды и тяговыми качествами авто. Чем больше величина преднатяга, тем раньше и резче срабатывает блокировка, и это хорошо на бездорожье, но может быть опасно при обычных условиях движения. Особенно это важно при установке «самоблока» в передний мост, поскольку может привести к нежелательному рывку на руле.
Вавод таков: много ездите по бездорожью, вам важно раннее срабатывание блокировки – выбирайте большой предварительный натяг, большую часть времени катаетесь по нормальным дорогам – подойдут блокировки с меньшим значением.
Основные достоинства самоблокирующегося дифференциала «Квайфа»
- позволяет частично устранить пробуксовку при разных коэффициентах сцепления колес авто
- повышает проходимость и управляемость авто при при движении на дорогах с разным покрытием
- улучшает динамику разгона авто на дорогах с любым покрытием
- не требует специальных усилий от водителя (включение самоблока происходит автоматически)
- взаимозаменяем со стандартными дифференциалами
- полной блокировки не наступает, что исключает поломку полуосей
- разблокируется при сбросе газа
Винтовые самоблокирующиеся дифференциалы наиболее пригодны для использования на обычном автомобиле. Они надежны (сопоставимы по ресурсу с КПП), имеют наиболее сглаженные моменты включения-выключения и широкие возможности по блокировке.
Prometeo Meccanica Самоблокирующийся дифференциал для Abarth 500
Описание продукта
Как и любой спортивный автомобиль с передним приводом, Abarth 500 (или Abarth 595) может иметь низкое тяговое усилие из-за высокого крутящего момента, передаваемого на шины.
Такая ситуация обычно возникает на выходе из поворота, когда внутреннее колесо частично разгружено текущим весом из-за привода центробежной нагрузки; Таким образом, одно колесо способно передавать на землю крутящий момент, намного меньший, чем другое.
Обратите внимание, что свободный дифференциал отличается тем, что он всегда делит крутящий момент на две одинаковые доли; таким образом, максимальный крутящий момент, который может быть разгружен на землю, обусловлен сцеплением менее нагруженного колеса.
Abarth 500-595 обычно оснащается электронным устройством под названием TTC, которое ИМОДЕЛИРУЕТ самоблокирующийся дифференциал. Когда ведущее колесо теряет сцепление с дорогой, ЭБУ подает электрический импульс на тормозной суппорт пробуксовывающего колеса; отрицательный крутящий момент, добавленный к колесу, позволяет ввести в заблуждение нормальный («открытый») дифференциал, приводя к тому же самому крутящему моменту к колесу с более высоким сцеплением.
TTC — это значительная и безопасная система, которая позволяет хорошо контролировать автомобиль, но — мы настаиваем — это не самоблокирующийся дифференциал, и она не гарантирует характеристик, которые может дать только хорошо сделанный самоблокирующийся дифференциал. .
Если вы ездите на Abarth 500 в трек-дни или вас раздражает неприятное проскальзывание внутреннего колеса на каждом выходе из резкого поворота, настоящий самоблокирующийся дифференциал — ваше решение.
Самоблокирующийся дифференциал Prometeo с косозубой шестерней (также называемый «дифференциал ограниченного трения»), испытанный на автомобилях с крутящим моментом двигателя более 30 кгм (~ 300 Нм), позволяет асимметрично распределять крутящий момент, исходящий от двигателя.Это означает, что колесо с большим сцеплением получит дополнительный крутящий момент по сравнению с другим (более ненагруженным) колесом. Степень блокировки дифференциала Prometeo при движении составляет около 35%. Мы предпочли не превышать эту скорость, потому что Abarth 500 или Abarth 595 является и остается дорожным автомобилем.
Дифференциал с косозубой шестерней работает очень прогрессивно и не вызывает неприятных ощущений при стандартном приводе. Частота блокировки в режиме торможения двигателем ограничена 25%, чтобы не влиять на торможение и прохождение поворотов.
Очень сложно описать словами достигнутый эффект, но ощущение, которое испытываешь, когда открываешь дроссельную заслонку после вершины поворота и не чувствуешь, что передняя часть уходит по касательной, но ведет во внутреннюю часть, — это что-то неизвестное. для стандартного дифференциала переднего привода.
Кроме того, дифференциальная работа Prometeo совместима с TTC.
Как работает самоблокирующийся дифференциал?
Прежде всего, рассмотрим открытый (= стандартный) дифференциал в переднем приводе.
Дифференциал — это устройство, способное разделить крутящий момент, исходящий от коробки передач, на две абсолютно идентичные половины, независимо от разницы в скорости вращения колес на одной оси.
Итак, как вы можете видеть на изображении, указано 100 (условные единицы) крутящего момента, поступающего на дифференциал, каждое колесо получит крутящий момент 50.
Следует учитывать еще один важный фактор: сцепление шин с землей. Крутящий момент можно разгружать на землю до предела сцепления колеса; этот предел пропорционален величине нагрузки, действующей на колесо, и коэффициенту сцепления, который, очевидно, строго зависит от состояния почвы, а также шин.
Итак, если одно из колес переднего привода проходит зону с меньшим сцеплением (например, скользкий асфальт) или оно имеет низкую нагрузку при движении по быстрому повороту (внутреннее колесо), крутящий момент, который это колесо может передать на землю уменьшается, поскольку достигает предела скольжения. Из-за стандартной функции дифференциала, упомянутой ранее (механизм распределяет приходящий крутящий момент на равные части), такое же (низкое) значение крутящего момента будет передаваться на другое колесо, хотя оно будет иметь хорошее сцепление с землей.
Как вы можете видеть на предыдущем изображении, указанное 30 — это предел проскальзывания переднего левого колеса, правое колесо не может сделать ничего лучше, чем разгрузить 30 на землю.Таким образом, общая тяга передней трансмиссии снижается до 60, что значительно меньше, чем 100 в предыдущем примере.
Если установить самоблокирующийся дифференциал Prometeo без штатного, тяга улучшится. Посмотрим, как и сколько.
Прежде всего, при хорошем и равномерном сцеплении самоблокирующийся дифференциал ведет себя как открытый дифференциал, как показано на следующем рисунке.
Если колесо теряет сцепление с дорогой, по сравнению с открытым дифференциалом, дополнительный крутящий момент около 35% передается на другое колесо.
Итак, весь крутящий момент передней трансмиссии без нагрузки на землю выше, чем крутящий момент без нагрузки от открытого дифференциала.
Следующее изображение очень поясняет способ работы.
Коэффициент 35% — лучший компромисс, найденный в ходе множества тестов, проведенных в различных условиях.
Не забывайте, что чрезмерная скорость блокировки может привести к недостаточной поворачиваемости автомобиля при нормальной езде и, как следствие, к проблемам для водителя. С другой стороны, слишком малая скорость блокировки снизила бы преимущества самоблокирующегося дифференциала, сделав его практически бесполезным.
Система управления динамикой автомобиля с активным дифференциалом
В последние годы автомобильная промышленность проявляет растущий интерес к изучению области активно управляемых дифференциалов в связи с многообещающими ожиданиями их применения для улучшения характеристик управляемости. Рассматриваемый здесь дифференциал имеет две муфты, которые соединяют каждый приводной вал со второй частью, которая через шестерню всегда вращается быстрее. Это устройство позволяет системе управления передавать крутящий момент от одного колеса к другому практически независимо от их относительной скорости.
Разработка алгоритмов управления была проведена с использованием модели транспортного средства, которая может точно имитировать реакцию управления, динамику трансмиссии и поведение системы привода.
Чтобы получить репрезентативный отклик трансмиссии, потребовалась разработка настраиваемой библиотеки в Simulink. Результаты этого предварительного этапа моделирования показаны в первой части статьи.
Применяя методологию, обычно разделяемую производителями автомобилей, для этого исследования был принят двухэтапный подход: во-первых, была проведена интенсивная кампания моделирования для разработки и настройки контроллера в виртуальной среде; во-вторых, логика была протестирована с использованием методов HIL.
Во второй части статьи представлена общая структура разработанной системы управления и ее основные алгоритмы. Подчеркнуты улучшения характеристик автомобиля, оцененные с помощью моделирования и HIL-тестов.
Целью системы управления, представленной в этом документе, является улучшение динамики автомобиля с использованием возможностей активного дифференциала полноприводного спортивного автомобиля. Такая компоновка силового агрегата отличается наличием трех дифференциалов и, в частности, одним центральным самоблокирующимся дифференциалом.
Как лучше объяснено в [7] и [15], этот тип устройства может физически блокироваться, уменьшая количество степеней свободы. В этом случае два выходных вала вращаются с одинаковой скоростью, и дифференциал не передает крутящий момент с точки зрения его номинальной производительности. Как также подчеркивается в [9], в состоянии заблокированной оси распределение крутящего момента во многом определяется поведением шин. В связи с этим этап моделирования всех этих явлений был проведен с большой осторожностью. В этой работе было необходимо принять надежный инструмент моделирования для разработки представленной системы управления.В следующем разделе обсуждаются критические аспекты взаимодействия между транспортным средством, шинами и трансмиссией, уделяя особое внимание этому конкретному применению. Затем представлена общая структура и принципы разработанных алгоритмов, а также обнадеживающие результаты моделирования. В связи с промышленными соглашениями о конфиденциальности масштабы наиболее значимых участков не сообщаются.
В любом случае относительное улучшение пассивного поведения транспортного средства будет представлено, подчеркнуто и обсуждено.
Как 4X4 стали такими хорошими
Джип
Лето 1974 года, и вы готовы взлететь пылью на калифорнийском Rubicon Trail на своем Jeep CJ-5. Надеюсь, ты готов к тренировке. Чтобы задействовать полный привод старого джипа, сначала нужно выбраться наружу и заблокировать ступицы на передней оси. Как только это, наконец, будет сделано, прыгайте обратно внутрь и полностью потяните рычаг за ноги обратно в 4WD Low (это потребует некоторой силы руки).Теперь, когда грузовик готов, вам лучше убедиться, что вы тоже готовы. Если эти шины начали проскальзывать по мокрым камням, вам нужно будет регулировать дроссельную заслонку и тормоза, одновременно распиливая руль, чтобы найти места, где шины могут зацепиться. Чтобы продвигаться вперед, нужно много работать.
Теперь перенесемся на 40 лет вперед.
На этот раз вы едете по той же легендарной трассе на новом Jeep Wrangler Rubicon. Водитель может переключиться на 4WD, даже не выходя из кабины. Когда шины теряют устойчивость, электронный контроль тяги замедляет вращающееся колесо и распределяет крутящий момент на колеса с наилучшим сцеплением.Нужно еще больше тяги? Просто нажмите кнопки, чтобы включить электронную блокировку дифференциалов и отключить передний стабилизатор поперечной устойчивости — и все это не выходя из комфортной кабины Jeep с климат-контролем.
Четыре десятилетия автомобильных достижений привели к огромным скачкам в области полноприводных автомобилей. То, что когда-то было медленным аналоговым процессом, требовавшим огромных усилий и ноу-хау, было автоматизировано и доступно одним нажатием кнопки. Тем не менее, это не означает, что основные навыки вождения по бездорожью больше не важны или что преодоление тропы больше не является сложным или веселым занятием.Фактически, поскольку в распоряжении водителя гораздо больше инструментов, человеку за рулем необходимо изучить не только эти классические методы 4WD, но и пройти ускоренный курс по современным технологиям и тому, когда их использовать.
Это дивный новый мир. Вот тропа, которая привела нас сюда.
Кнопка 4WD
Селектор Ford F-150 4WD.Ford
Еще в 1970-х годах просто переключение на 4WD представляло собой многоступенчатый процесс: скручивание трудно поворачиваемых стопорных ступиц на передней оси, а затем нажатие на жесткий и зазубренный рычаг, установленный на полу кабины, для включения четырехколесного привода. привод.Все это нужно было сделать задолго до того, как трасса станет сложной. Подождите слишком долго, и вы можете обнаружить, что пытаетесь заблокировать эти ступицы своими ботинками в шести дюймах грязи. Хуже того, сам грузовик мог быть закопан в навоз по осям. И включение 4WD после того, как вы застряли, не гарантирует, что 4WD выберет вас из колеи.
К 1980-м годам стали распространены ступицы с автоматической блокировкой, которые могли включать полный привод из кабины, как и более сложные узлы отключения центральной оси. Некоторые из этих ранних систем были ненадежными.
Но к началу 2000-х годов эти системы были усовершенствованы и позволили перейти от 2WD к 4WD быстро, плавно и надежно на скоростях, близких к шоссе. В наши дни стремительно растущий рынок кроссоверов сделал полноприводные модели очень популярными, поэтому передние оси, которые предназначены для постоянного вращения, часто используются и на полноприводных автомобилях без вибрации или влияния на экономию топлива.
Благодаря электронике исчезли громоздкие рычаги переключения 4WD. Их заменили простые ручки или кнопки, которые с помощью электроники переключают раздаточную коробку.Таким образом, переход от полного привода к низкому диапазону не требует больше мускулов для работы и занимает не больше места в кабине, чем переключатель электрического стеклоподъемника. Это переключение режимов трансмиссии может происходить плавно, даже если вы не покидаете сиденья. Это явная победа для технологий. Но настоящий скачок произошел, когда современная электроника начала управлять тягой.
Ram Power Wagon
Умные системы
Противобуксовочная система, как и система, которая, вероятно, установлена на автомобиле в вашем гараже, работает путем включения антиблокировочной тормозной системы (ABS).
Типичная четырехканальная система АБС использует датчик скорости вращения каждого колеса, электронный блок управления АБС и блок управления гидравликой для определения предстоящей блокировки тормозов. Если одно или несколько колес начинают блокироваться, система регулирует тормоза, предотвращая блокировку и предотвращая занос. Противобуксовочная система, которая начала применяться в легковых автомобилях в конце 1980-х годов, использует этот компонент ABS для торможения одного или нескольких колес, если они теряют сцепление с дорогой и начинают вращаться. После торможения колеса или колес система передает крутящий момент через ось на колесо, у которого есть сцепление.
Стандартные роскошные полноприводные автомобили начали использовать системы контроля тяги всех четырех колес в конце 1990-х годов. Сегодня антипробуксовочная система на основе тормозов используется практически на каждом полноприводном автомобиле. Он быстро вмешивается, чтобы добавить уровень возможностей, которого у многих старых грузовиков никогда не было.
Например, на крутом спуске старый грузовик с открытыми дифференциалами мог застрять, когда колеса теряли сцепление с дорогой. Но трекшн-контроль может остановить вращающееся колесо, даже если оно высоко поднято в воздух, и вернуть все на правильный путь.Пока водитель подает нужное количество газа, эти системы будут достаточно мощными, чтобы вытащить 4X4 на некоторые опасные склоны.
Jeep Cherokee Trailhawk переключатель режимовБен Стюарт
Самые сложные системы, например, в некоторых Land Rover, Jeep и Toyotas, связывают антипробуксовочную систему и тормоза с АБС с другими органами управления автомобилем. Эти передовые системы могут изменять чувствительность дроссельной заслонки, точки переключения передач, контроль устойчивости и даже работу электронной блокировки дифференциала, адаптируя их реакцию к конкретным условиям бездорожья.В некоторых случаях это так же просто, как сопоставить пиктограмму под ручкой 4WD с тропой впереди.
Например, контроль тяги становится менее ограничивающим в режимах «песок» и «грязь», когда требуется больше пробуксовки колес, чтобы вы продолжали двигаться вперед. Но в «каменном» режиме грузовик может снизить чувствительность дроссельной заслонки для облегчения движения. У Toyota даже есть функция под названием «Crawl Control», которая связывает эти системы вместе с круиз-контролем. Просто выберите подходящую скорость (из пяти различных настроек), и Crawl Control будет регулировать дроссельную заслонку и тягу за вас.Все, что нужно водителю, — это рулить.
Точно так же программы спуска с холма плавно включают тормоза для вас на крутых спусках. Лучшие из них регулируются и позволяют водителю выбирать скорость автомобиля в зависимости от крутизны холма. Эти системы могут быстро тормозить и отпускать каждое колесо по отдельности — уровень контроля скорости на спуске, который был почти невозможен всего несколько лет назад.
А когда местность настолько суровая, даже антипробуксовочная система не помогает, электронная блокировка дифференциалов может экспоненциально расширить возможности автомобиля.
Блокировка дифференциала
Открытые дифференциалы предназначены для того, чтобы левое и правое колеса на оси могли поворачиваться с разной скоростью во время поворота. Например, на правом повороте внешнее колесо должно пройти большее расстояние, чем внутреннее колесо. Так что внешнее колесо должно вращаться с большей скоростью. (Автопроизводители сняли несколько великолепных фильмов в 1930-х, чтобы объяснить эту технологию, вот так 🙂
Этот контент импортирован с YouTube. Вы можете найти тот же контент в другом формате или найти дополнительную информацию на их веб-сайте.
Открытый дифференциал позволяет сделать это плавно. Проблема в том, что на скользкой поверхности открытый дифференциал передает большую часть своей мощности на колесо, которое вращается с наименьшим сопротивлением. На обледенелой дороге или грязной дороге, когда одно колесо вращается, автомобиль не движется.
Вот где это немного сложно. Дифференциалы повышенного трения — отличные устройства для увеличения тяги в грязи, потому что они могут смещать крутящий момент между левым и правым колесами.
Но они никогда не блокируются полностью, чтобы обеспечить одинаковую мощность на оба колеса.Единственное устройство, которое может это сделать, — это блокировка дифференциала. Пока колеса движутся прямо, рундук будет делить мощность поровну между левым и правым. Установите блокируемый дифференциал на переднюю и заднюю оси полноприводного автомобиля, и мощность распределяется поровну на все четыре колеса — и тяга будет невероятной.
Проблема в том, что шкафчики на улице — это не весело. При прохождении поворотов этот дифференциал должен разблокироваться, чтобы учесть разницу в скорости левого и правого колеса.Дифференциал с автоматической блокировкой старого образца обычно разблокируется с треском и тревожным покачиванием шасси. Вот почему практически ни один автопроизводитель не предлагал их с завода на серийных полноприводных автомобилях. Но в конце 1990-х некоторые автопроизводители начали предлагать дифференциалы с электронной блокировкой. В заблокированном состоянии оба колеса на оси обеспечивают равное и постоянное тяговое усилие.
Одним нажатием кнопки дифференциал разблокируется и работает как обычный открытый дифференциал для использования на асфальте.
Тойота
Сегодня эти выбираемые рундуки являются дополнительными на многих полноприводных автомобилях. Самые сложные внедорожники, такие как некоторые Land Rover, предлагают активную блокировку дифференциала, которая может блокировать и разблокировать плавно и прозрачно, когда это необходимо, без какого-либо вмешательства со стороны водителя. Эти сложные интеллектуальные шкафчики помогают снизить нагрузку на систему контроля тяги. Вместе создайте невероятный уровень возможностей.
Регулировка подвески
Как и дифференциалы, системы подвески для полноприводных автомобилей раньше были компромиссом: те, которые хорошо работают на улице, обычно плохо себя чувствуют на бездорожье.Раньше длинноходные пружины, амортизаторы и стабилизаторы поперечной устойчивости, разработанные для полноприводных автомобилей, на улице казались неаккуратными.
Однако благодаря новым технологиям многие из лучших на сегодняшний день полноприводных автомобилей могут демонстрировать отличные характеристики на грязи и асфальте.
Jeep Grand Cherokee пневмоподвеска
С 2003 года Jeep Wrangler Rubicon, символ бездорожья, использует не только переключаемые дифференциалы блокировки, но и передний стабилизатор поперечной устойчивости с электронным отключением.Стабилизатор поперечной устойчивости или стабилизатор поперечной устойчивости — это то, что крепится к раме автомобиля, а также к каждой стороне подвески. Когда автомобиль проезжает поворот, штанга поворачивается, чтобы ограничить крен кузова. Такой уровень управления подвеской отлично подходит для улицы, но стабилизатор поперечной устойчивости, предназначенный для уличных характеристик, может ограничить свободу движения подвески на бездорожье.
С электронно отключаемым стабилизатором поперечной устойчивости одно нажатие кнопки на приборной панели отключает невероятный ход передних колес и шарнирное сочленение оси.
Больший ход колес означает, что шины могут поддерживать контакт с дорогой на самых неровных участках. Нажмите эту кнопку еще раз, и стабилизатор поперечной устойчивости снова прикрепится, обеспечивая контроль крена, необходимый для использования на улице. У Toyota есть еще более продвинутая система на внедорожниках, таких как 4Runner и Land Cruiser, под названием Kinetic Dynamic Suspension System (KDDS). Эта система автоматически отключает стабилизаторы поперечной устойчивости, когда требуется большее сочленение оси. Нет необходимости даже нажимать кнопку.
Точно так же технология регулируемой пневматической подвески позволяет повысить производительность как на улице, так и на бездорожье.Например, на многих продуктах Land Rover в независимой подвеске с длинным ходом используются регулируемые пневматические рессоры, которые могут изменять высоту и дорожный просвет в зависимости от условий. Это позволяет автомобилю двигаться на более стабильной, даже более низкой высоте по дороге, а затем, одним нажатием кнопки, подниматься, чтобы обеспечить просвет, который в некоторых случаях может соперничать с модифицированным транспортным средством.
Такой уровень надежной настройки по требованию был просто невозможен много лет назад.
Открытие тропы
Ленд Ровер
Дело не только в том, что более новые электронные системы полного привода умнее и производительнее, чем более простые, которые были до них.Эта технология также была демократизирована — она доступна на относительно недорогих автомобилях. F-150 4X4 2016 года стандартно поставляется с системой контроля тяги всех четырех колес. Электронная блокировка заднего дифференциала стоит всего 325 долларов. Это кража. Эти системы могут занять места демонстрационного зала 4X4, которые оставили бы их предшественников десятилетий назад застрявшими в грязи.
Возможно, самая большая выгода — это конец компромисса. Поскольку все это электронное оборудование 4WD не влияет на управляемость на улице, эти внедорожники так же счастливы на дороге, как и вне ее.
Этот контент создается и поддерживается третьей стороной и импортируется на эту страницу, чтобы помочь пользователям указать свои адреса электронной почты.
Вы можете найти больше информации об этом и подобном контенте на сайте piano.io.
Оценка эффективности транспортного средства с различными межколесными дифференциалами для различных условий сцепления по бокам в режиме разгона — STUME Journals
- 1 Учебно-научный институт машиностроения и транспорта Национального технического университета «Харьковский политехнический институт», г. Харьков, Украина
Аннотация
В статье анализируется динамика разгона и затрат энергии для автомобилей с различными типами межколесных дифференциалов.Описываются используемые динамические модели для привода с: классическим симметричным коническим открытым дифференциалом, полностью заблокированным дифференциалом и дифференциалами с ограниченным проскальзыванием, для которых момент блокировки зависит от нагрузки или относительной скорости вращения. В ходе исследования варьировали соотношения коэффициентов адгезии по правой и левой сторонам.
В результате работы сформулированы задачи для дальнейшего более детального анализа дифференциалов повышенного трения.
Ключевые слова
Список литературы
- Афанасьев Б.А., Жеглов Л.Ф., Зузов В.Н. и др., Полунгян А.А. — редактор. Конструирование полноприводной колесной техники: Учебник для вузов в 3-х томах, Т.2. Москва: Изд-во МГТУ имени Н.Е. Баумана. 2008.
- Павлов В.В. Расчеты на проектирование специальной техники: Учебное пособие. Москва: Изд-во Московского автомобильно-дорожного института. 2014.
- Дифференциал (механическое устройство) из Википедии.Получено с https://en.wikipedia.org/wiki/Differential_%28 Mechanical_device% 29; 28 января 2018.
- Блокировка дифференциала из Википедии. Получено с https://en.wikipedia.org/wiki/Locking_differential; 22 июля, 2017.
- Дифференциал повышенного трения из Википедии. Получено с https://en.wikipedia.org/wiki/Limited-slip_differential; 10 февраля 2018.

- Михайлидис А., Неранцис И. Последние разработки в автомобильной дифференциальной конструкции.В кн .: Силовые передачи. Материалы 4-й Международной конференции, состоявшейся в Синая, Румыния, 20–23 июня 2012 г. — Том 13 из серии «Механизмы и машиноведение». –Р.Р. 125–140. DOI 10.1007 / 978-94-007-6558-0_8.
- Волонцевич Д.О., Мормыло Я.М. Об определении зоны нечувствительности самоблокирующегося межколесного дифференциала с блокировкой передаточного числа, зависящего от скорости относительного вращения колес. Механика и машиностроение (Украина) 2016; №1: 30-35.
- Mattijs Klomp. Дипломный проект 2005: M025: Анализ систем полного привода легковых автомобилей. Университет Тролльхеттана / Уддевалла, факультет технологии, математики и информатики. — 41 с. Получено с http://www.diva-portal.org/smash/record.jsf?pid=diva2%3A215317&dswid=1997; 10 февраля 2018.
- Annicchiaricom C., Rinchi M., Pellari S. и Capitani R. Разработка полуактивного дифференциала для улучшения динамики автомобиля, ASME 45837, т.
1, 2014. - Келлер А., Алиуков С., Анчуков В. Исследование устойчивости и управления движением многоцелевого транспортного средства. Труды Всемирного конгресса по машиностроению 2017 Том II WCE 2017, 5-7 июля 2017 г., Лондон, Великобритания
- Андреев А.Ф., Кабанов В., Ванцевич В. Трансмиссионные системы наземных транспортных средств: теория и конструкция. 2010. CRC Press (Серия: Наземная техника).
- Позин Б.М., Трояновская И.П., Юсупов А.А. Оптимальное распределение мощности между колесами мобильной техники в различных почвенных условиях. Международная конференция по промышленной инженерии. Разработка процедур 129 (2015) 713–717.
- Келлер А., Мурог И. и Алиуков С., Сравнительный анализ методов распределения мощности в механических трансмиссиях и оценка их эффективности, Технический доклад SAE 2015-01-1097, 2015, https://doi.org/10.4271/2015 -01-1097.
- Келлер А.В., Посин Б.М., Трояновская И.П., Бондарь В.Н., Юсупов А.А.
Для распределения мощности между колесами подвижного транспортного средства. Тракторы и сельскохозяйственная техника (РФ). — 2015. — №3. — Р. 10-12.
Полный текст статьи
Скачать PDF
Системы контроля тяги и дифференциалы — дифференциал блокировки SmartLocker, ограниченное проскальзывание, контроль тяги, ATV
Главная »Продукция» Системы контроля тяги и дифференциалы
TEAM Industries разрабатывает и поставляет различные дифференциалы с блокировкой, дифференциалы повышенного трения, оси и сопутствующие товары.Эти продукты варьируются от простых золотниковых осей (без дифференциала) до сложных электронных блокировок дифференциалов и систем контроля тяги.
SmartLocker ™
Запатентованный дифференциал электронного контроля тяги SmartLocker ™ компании TEAM обеспечивает самую элегантную и сложную систему контроля тяги, доступную для квадроциклов, UTV и легковых автомобилей.
SmartLocker — это система полного привода (4WD) в автомобильном стиле, которая обеспечивает истинное тяговое усилие полного привода (AWD) автоматически и на лету.
На поверхностях с хорошим сцеплением автомобиль, оснащенный системой дифференциала SmartLocker, будет работать с открытым дифференциалом, не влияющим на газон и легким в управлении. На скользкой поверхности или при преодолении препятствий система определяет величину пробуксовки, автоматически передает мощность на ведущее колесо и решает, насколько сильно заблокировать дифференциал.
Smartlocker является программируемым и с помощью функции автоматического отключения TEAM автоматически выбирает 2WD, 3WD или 4WD по мере необходимости.Технология SmartLocker была разработана как для передней, так и для задней оси.
Ограниченное скольжение и открытые дифференциалы
Для менее требовательных приложений TEAM разработала и изготовила несколько дифференциалов повышенного трения как для передней, так и для задней оси.
Эти механические системы гарантируют, что каждому колесу будет передан по крайней мере некоторый крутящий момент.
Выберите Limited-Slip или Open Differentials для:
- Легкий
- Для защиты газона
- на дорогах
Тормоза мокрого типа
TEAM также разработала мокрые тормозные системы для мостов малых транспортных средств.Эти системы обеспечивают закрытое торможение, практически не требующее обслуживания, которое может длиться весь срок службы автомобиля. У нас есть запатентованные системы как для золотниковых задних осей, так и для осей с дифференциалами. Последняя система обеспечивает одинаковое, несмещенное торможение обоих колес, при этом позволяя дифференциалу функционировать должным образом.
Устройства ограничения крутящего момента
Использование более крупных и мощных двигателей в современных транспортных средствах привело к необходимости ограничивать скачки крутящего момента трансмиссии в некоторых областях применения.
TEAM разработала, запатентовала и изготовила системы, ограничивающие максимальный крутящий момент, испытываемый частями трансмиссии во время прыжков и других маневров. Эти устройства могут быть встроены в карданные валы, выходы трансмиссии или входы оси. TEAM также может включить функцию ограничения крутящего момента в свой межосевой разъединитель.
Свяжитесь с нами для получения дополнительной информации о системах контроля тяги TEAM.
IRJET — Запрошенная вами страница не найдена на нашем сайте
IRJET приглашает статьи из различных инженерных и технологических дисциплин для Тома 8, выпуск 5 (май-2021)
Отправить сейчас
IRJET Vol-8, выпуск 5, Май 2021 г. Публикация продолжается…
Обзор статей
IRJET получил «Импакт-фактор научного журнала: 7,529» за 2020 год.
Проверить здесь
IRJET получил сертификат регистрации ISO 9001: 2008 для своей системы управления качеством.
IRJET приглашает исследователей различных инженерных и технологических и научных дисциплин для Тома 8, выпуск 5 (май 2021 г.)
Отправить сейчас
IRJET Vol-8, выпуск 5, май 2021 г. Публикация продолжается…
Обзор статей
IRJET получил «Импакт-фактор научного журнала: 7,529» за 2020 год.
Проверить здесь
IRJET получил сертификат регистрации ISO 9001: 2008 для своей системы управления качеством.
IRJET приглашает исследователей различных инженерных и технологических и научных дисциплин для Тома 8, выпуск 5 (май 2021 г.)
Отправить сейчас
IRJET Vol-8, выпуск 5, май 2021 г. Публикация продолжается…
Обзор статей
IRJET получил «Импакт-фактор научного журнала: 7,529» за 2020 год.
Проверить здесь
IRJET получил сертификат регистрации ISO 9001: 2008 для своей системы управления качеством.
IRJET приглашает исследователей различных инженерных и технологических и научных дисциплин для Тома 8, выпуск 5 (май 2021 г.
)
Отправить сейчас
IRJET Vol-8, выпуск 5, май 2021 г. Публикация продолжается…
Обзор статей
IRJET получил «Импакт-фактор научного журнала: 7,529» за 2020 год.
Проверить здесь
IRJET получил сертификат регистрации ISO 9001: 2008 для своей системы управления качеством.
IRJET приглашает исследователей различных инженерных и технологических и научных дисциплин для Тома 8, выпуск 5 (май 2021 г.)
Отправить сейчас
IRJET Vol-8, выпуск 5, май 2021 г. Публикация продолжается…
Обзор статей
IRJET получил «Импакт-фактор научного журнала: 7,529» за 2020 год.
Проверить здесь
IRJET получил сертификат регистрации ISO 9001: 2008 для своей системы управления качеством.
IRJET приглашает исследователей различных инженерных и технологических и научных дисциплин для Тома 8, выпуск 5 (май 2021 г.)
Отправить сейчас
IRJET Vol-8, выпуск 5, май 2021 г.
Публикация продолжается…
Обзор статей
IRJET получил «Импакт-фактор научного журнала: 7,529» за 2020 год.
Проверить здесь
IRJET получил сертификат регистрации ISO 9001: 2008 для своей системы управления качеством.
IRJET приглашает исследователей различных инженерных и технологических и научных дисциплин для Тома 8, выпуск 5 (май 2021 г.)
Отправить сейчас
IRJET Vol-8, выпуск 5, май 2021 г. Публикация продолжается…
Обзор статей
IRJET получил «Импакт-фактор научного журнала: 7,529» за 2020 год.
Проверить здесь
IRJET получил сертификат регистрации ISO 9001: 2008 для своей системы управления качеством.
IRJET приглашает исследователей различных инженерных и технологических и научных дисциплин для Тома 8, выпуск 5 (май 2021 г.)
Отправить сейчас
IRJET Vol-8, выпуск 5, май 2021 г. Публикация продолжается.
..
Обзор статей
IRJET получил «Импакт-фактор научного журнала: 7,529» за 2020 год.
Проверить здесь
IRJET получил сертификат регистрации ISO 9001: 2008 для своей системы управления качеством.
Проектирование: Блокировка дифференциала — HandWiki
Дифференциал ARB с воздушной блокировкой, установленный на Mitsubishi Delica L400 LWB DiffБлокируемый дифференциал разработан для преодоления главного ограничения стандартного открытого дифференциала путем «блокировки» обоих колес на оси вместе, как если бы они были на общем валу.Это заставляет оба колеса вращаться в унисон, независимо от тяги (или ее отсутствия), доступной каждому колесу по отдельности.
Когда дифференциал разблокирован (открытый дифференциал), он позволяет каждому колесу вращаться с разной скоростью (например, при прохождении поворота), что позволяет избежать истирания шин. Открытый (или разблокированный) дифференциал всегда обеспечивает одинаковый крутящий момент (вращающую силу) на каждое из двух колес на этой оси.
Таким образом, хотя колеса могут вращаться с разной скоростью, они прилагают одинаковую силу вращения, даже если одно полностью неподвижно, а другое вращается.(Равный крутящий момент, неравная скорость вращения).
Напротив, заблокированный дифференциал вынуждает левое и правое колеса одной оси вращаться с одинаковой скоростью почти во всех обстоятельствах, независимо от разницы в сцеплении, наблюдаемой на каждом из колес. Следовательно, каждое колесо может прилагать столько вращательной силы, сколько позволяет тяга под ним, и крутящие моменты на каждом боковом валу будут неравными. (Неравный крутящий момент, равные скорости вращения). Исключения относятся к автоматическим шкафчикам, обсуждаемым ниже.
Заблокированный дифференциал может обеспечить значительное преимущество тяги по сравнению с открытым дифференциалом, но только тогда, когда тяга под каждым колесом значительно отличается.
Все приведенные выше комментарии относятся как к центральным дифференциалам, так и к дифференциалам на каждой оси: автомобили с постоянным полным приводом (часто называемые «All Wheel Drive») имеют три дифференциала, по одному на каждую ось и центральный.
между передней и задней осями (раздаточная коробка).
Типы
Автоматические шкафчики
Автоматические шкафчики запираются и открываются автоматически без прямого участия водителя.Некоторые конструкции дифференциала с автоматической блокировкой гарантируют, что мощность двигателя всегда передается на оба колеса, независимо от условий тяги, и «разблокируются» только тогда, когда одно колесо должно вращаться быстрее, чем другое во время поворота. Их правильнее было бы назвать дифференциалами автоматической разблокировки, потому что их положение в состоянии покоя заблокировано. Они никогда не позволят ни одному колесу вращаться медленнее, чем водило дифференциала или ось в целом, но позволят колесу двигаться быстрее, чем скорость водила.Наиболее распространенным примером этого типа может быть Detroit Locker производства Eaton Corporation, также известный как Detroit No-Spin, который заменяет весь узел картера дифференциала. Другие, иногда называемые шкафчиками для ланчбоксов, используют штатную опору дифференциала и заменяют только внутренние крестовины и валы блокирующими пластинами.
Оба типа автоматических запирающих устройств обеспечивают определенную степень разницы в скорости вращения колес при поворотах в условиях равного сцепления, но в противном случае блокируют оба полуоси вместе, когда этого требуют условия тягового усилия.
- Плюсы: Автоматическое действие, без остановки для включения или выключения при изменении дорожных условий.
- Минусы: повышенный износ шин и заметное влияние на поведение при вождении. При прохождении поворота, какая из полуосей отсоединена, зависит от направления крутящего момента, прикладываемого трансмиссией. Когда направление крутящего момента меняется на противоположное, скорость трансмиссии внезапно изменяется с внутренней оси на внешнюю, что сопровождается стуком шин и сильным рывком. При прохождении поворотов автоматическая блокировка руля характеризуется сильной недостаточной поворачиваемостью, которая мгновенно переходит в избыточную поворачиваемость при превышении тягового усилия.
Некоторые другие автоматические блокираторы работают как открытый дифференциал до тех пор, пока не произойдет проскальзывание колес, а затем они заблокируются.
Эти типы обычно используют внутренний регулятор для контроля скорости автомобиля и пробуксовки колес. Примером этого является автоматическая блокировка дифференциала Eaton (ALD) или автоматическая блокировка дифференциала Eaton (ADL), разработанная корпорацией Eaton и представленная в 1973 году для звукоснимателей серии C / K серии C / K и электрических устройств компании GM. [1] Eaton ADL иногда неправильно называют Gov-Lok, несмотря на то, что ни GM, ни Eaton никогда не называли его таким именем.Гов-Лок — это скорее неофициальное имя неизвестного происхождения, набирающее популярность с годами. И Eaton, и GM не знают, откуда взялось это название, и Eaton в прошлом предпринял несколько неудачных попыток опровергнуть название Gov-Lok. [2] Обновленная версия старой конструкции Eaton ADL все еще доступна от Eaton, теперь известная как механическая блокировка дифференциала Eaton mLocker. [3]
Некоторые другие автоматические шкафчики работают как открытый дифференциал, пока не будет приложен высокий крутящий момент, а затем они заблокируются.
В этом стиле обычно используются внутренние зубчатые передачи с очень высоким коэффициентом трения. Примером этого является тип скользящих штифтов и кулачков ZF, которые использовались в ранних моделях Volkswagen.
Шкафчики с возможностью выбора MRT
У Dodge Power Wagons есть передний и задний дифференциалы с возможностью выбора блокировки.Регулируемые рундуки позволяют водителю по желанию блокировать и разблокировать дифференциал с сиденья водителя. Это можно сделать разными способами.
- Воздух сжатый (пневматика).
- Механизм с тросовым приводом, используемый в «Ox Locker».«
- Электронные соленоиды и (электромагнетики) наподобие Eaton «ELocker». Однако производители оригинального оборудования также начинают предлагать электронные шкафчики. Электрический шкафчик Nissan Corporation можно найти в качестве дополнительного оборудования на Frontier (Navara) и Xterra. Ford предлагает электронный задний рундук на грузовиках F-серии и Ranger.
В настоящее время Toyota предлагает задний электронный шкафчик для Tacoma и 4Runner (только в комплектации TRD Off-Road и TRD Pro), но в прошлом также предлагал передний и задний электронный шкафчик на таких транспортных средствах, как Land Cruiser.- Плюсы: Позволяет дифференциалу работать как «открытый» дифференциал для улучшения управляемости и маневренности, обеспечивает полную блокировку, когда это желательно или необходимо.
- Минусы: механически сложный, с большим количеством деталей, которые могут выйти из строя. Некоторые шкафчики требуют остановки транспортного средства для входа. Требует человеческого взаимодействия и дальновидности в отношении предстоящей местности. Неквалифицированные водители часто создают огромную нагрузку на компоненты трансмиссии, оставляя дифференциал в заблокированном состоянии на местности, не требующей рундука.
Катушка
Золотник — это устройство, которое соединяет две оси непосредственно с зубчатым венцом.
Здесь нет дифференциации из стороны в сторону, поэтому автомобиль, оснащенный катушкой, будет лаять шины при поворотах и может стать неуправляемым в сырую или снежную погоду. Катушки обычно предназначены для спортивных автомобилей, которые не ездят по улице. [4]
Мини-золотник использует держатель приклада и заменяет только внутренние компоненты дифференциала, аналогично установке шкафчика для ланчбокса.Полная катушка заменяет весь узел держателя одной обработанной деталью. Заполненная шпуля, возможно, является самым сильным средством блокировки оси, но не имеет возможности вообще различать скорости вращения колес, что создает большую нагрузку на все затронутые компоненты трансмиссии.
Внутренние крестовины открытого дифференциала также могут быть сварены вместе для создания заблокированной оси; этот метод не рекомендуется, поскольку процесс сварки серьезно ухудшает металлургический состав свариваемых компонентов и может привести к выходу агрегата из строя под нагрузкой.
Недостатки
Поскольку дифференциалы с автоматической блокировкой работают не так плавно, как стандартные дифференциалы, они часто вызывают повышенный износ шин. Известно, что некоторые старые дифференциалы с автоматической блокировкой издают щелчки или стук при блокировке и разблокировке, когда автомобиль преодолевает повороты. Это раздражает многих водителей. Кроме того, автоматическая блокировка дифференциалов повлияет на способность транспортного средства управлять, особенно если шкафчик расположен на передней оси.Помимо истирания шин при повороте на любой угол на поверхностях с высоким коэффициентом трения (низкое скольжение) заблокированные оси вызывают недостаточную поворачиваемость и, при использовании на передней оси, увеличивают усилие на рулевом колесе, необходимое для поворота автомобиля. Кроме того, автоматическая блокировка дифференциалов может вызвать потерю управления на льду, когда открытый дифференциал позволяет одному колесу вращаться, а другому удерживать , не передавая мощность .
Примером этого может быть автомобиль, припаркованный боком на скользком уклоне. Когда оба колеса пробуксовывают, автомобиль теряет сцепление с дорогой и скатывается по уклону.
Альтернативы
Дифференциалы повышенного трения считаются компромиссом между стандартным дифференциалом и блокируемым дифференциалом, поскольку они работают более плавно и направляют некоторый дополнительный крутящий момент на колесо с наибольшим тяговым усилием по сравнению со стандартным дифференциалом, но они не способны на 100%. % блокировки.
Противобуксовочные системы также используются во многих современных транспортных средствах в качестве дополнения или вместо блокировки дифференциалов. Примерами являются электронная блокировка дифференциала от Volkswagen (EDL), Opel TC +, впервые установленная в Opel Astra G (2001) и т. Д.На самом деле это не блокировка дифференциала, она действует на каждом колесе. Датчики контролируют скорость вращения колес, и если одно из них вращается на несколько (например, 100) оборотов в минуту больше, чем другое (например, проскальзывает), система контроля тяги мгновенно тормозит его.
Это передает больше мощности на другое колесо, [5] , но при этом используется открытый дифференциал, такой же, как на автомобилях без опции EDL. Если все ведущие колеса теряют сцепление с дорогой, управление дроссельной заслонкой может быть применено автоматически. Электронные системы контроля тяги могут быть интегрированы с антиблокировочными тормозными системами, которые оказывают аналогичное действие на торможение и используют некоторые аналогичные компоненты.Такие системы используются, например, на последних моделях Nissan Pathfinder, Land Rover Defender, Land Rover Freelander, McLaren P1 и McLaren 650.
Приложения
- Гоночные автомобили часто используют блокировку дифференциалов, чтобы поддерживать сцепление с дорогой во время маневров на высокой скорости или при экстремальном ускорении. Кроме того, динамика транспортного средства становится более предсказуемой при потере тяги, поскольку водитель знает, что ни одно колесо не будет внезапно терять мощность, если столкнется с поверхностью с низким коэффициентом трения.

- Некоторые грузовые автомобили, такие как эвакуаторы, вилочные погрузчики, тракторы и тяжелое оборудование, используют блокируемые дифференциалы для сохранения тяги, особенно при движении по мягким, грязным или неровным поверхностям. Шкафчики распространены в сельскохозяйственной технике и военных грузовиках. На некоторых сельскохозяйственных тракторах есть педаль, на которую можно наступить пяткой оператора, чтобы заблокировать дифференциал при необходимости.
- Блокировка дифференциала также может использоваться в дрифте в качестве альтернативы дифференциалу повышенного трения.
- В полноприводных автомобилях, которые ездят по бездорожью, часто используется блокировка дифференциала, чтобы не застревать при движении по рыхлой, грязной или каменистой местности. Блокировка дифференциалов считается важным оборудованием для серьезной езды по бездорожью. Многие такие автомобили имеют блокировку дифференциала на центральном дифференциале (между передней и задней осями), заднем дифференциале и переднем дифференциале; или любая комбинация любого из трех.
Блокировки дифференциала также используются на некоторых полноприводных автомобилях, не являющихся универсальными (например, Mitsubishi Shogun), для компенсации относительного отсутствия шарнирного сочленения оси (вертикального движения колес).Для езды по бездорожью желательна высокая степень сочленения, чтобы колеса могли поддерживать контакт с землей на неровной поверхности, но это может привести к чрезмерному крену кузова на высоких скоростях на дороге, а также к нечеткому рулевому управлению. Такие внедорожники часто имеют системы подвески, разработанные как компромисс между шарнирно-сочленением и управляемостью. Если шарнирное сочленение ограничено, одно колесо на оси может быть оторвано от земли на пересеченной местности, что приведет к потере сцепления со всеми колесами (вся мощность передается поднятому колесу, которое свободно вращается).Задний блокируемый дифференциал часто поставляется, чтобы компенсировать этот компромисс — если колесо отрывается от земли, блокируемый дифференциал может быть задействован, приводя в движение колесо, которое остается на земле.


1, 2014.
Для распределения мощности между колесами подвижного транспортного средства. Тракторы и сельскохозяйственная техника (РФ). — 2015. — №3. — Р. 10-12.
В настоящее время Toyota предлагает задний электронный шкафчик для Tacoma и 4Runner (только в комплектации TRD Off-Road и TRD Pro), но в прошлом также предлагал передний и задний электронный шкафчик на таких транспортных средствах, как Land Cruiser.
Блокировки дифференциала также используются на некоторых полноприводных автомобилях, не являющихся универсальными (например, Mitsubishi Shogun), для компенсации относительного отсутствия шарнирного сочленения оси (вертикального движения колес).Для езды по бездорожью желательна высокая степень сочленения, чтобы колеса могли поддерживать контакт с землей на неровной поверхности, но это может привести к чрезмерному крену кузова на высоких скоростях на дороге, а также к нечеткому рулевому управлению. Такие внедорожники часто имеют системы подвески, разработанные как компромисс между шарнирно-сочленением и управляемостью. Если шарнирное сочленение ограничено, одно колесо на оси может быть оторвано от земли на пересеченной местности, что приведет к потере сцепления со всеми колесами (вся мощность передается поднятому колесу, которое свободно вращается).Задний блокируемый дифференциал часто поставляется, чтобы компенсировать этот компромисс — если колесо отрывается от земли, блокируемый дифференциал может быть задействован, приводя в движение колесо, которое остается на земле.