Устройство однодискового сцепления | Устройство автомобиля
Какое сцепление называется постоянно замкнутым?
Постоянно замкнутым называется такое сцепление, в котором ведущие и ведомые диски постоянно находятся во включенном (прижатом, замкнутом) состоянии. Его выключают (разъединяют ведущие и ведомые диски) только на время включения или переключения передач, при остановках. В устройство такого сцепления входит механизм и привод выключения механизма сцепления, который может быть механическим, гидравлическим, пневматическим и комбинированным.
Что входит в устройство механизма сцепления автомобиля ГАЗ-53А?
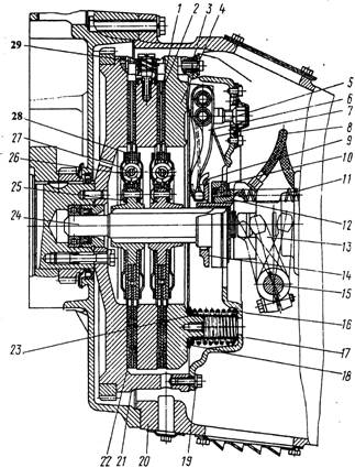
Механизм сцепления автомобиля ГАЗ-53А (рис.124) состоит из ведомого диска 3 с фрикционными накладками, изготовленными из асбокартона, асбокаучука или асбобакелита, обладающими высоким коэффициентом трения. Этот диск своей ступицей 9 смонтирован на шлицах ведущего вала 11 коробки передач так, что он может передвигаться в осевом направлении по валу и вращаться вместе с ним.
Рис.124. Сцепление автомобиля ГАЗ-53А.
Таким образом, рабочие пружины постоянно сжаты и вследствие этого нажимной диск 4 прижимается к ведомому 3, а он к маховику 1. Между дисками и маховиком возникает сила трения, благодаря которой при вращении коленчатого вала все диски сцепления будут вращаться вместе с маховиком как одно целое, а так как ведомый диск 3 своей ступицей 9 установлен на ведущем (первичном) валу коробки передач, то и он будет вращаться, передавая крутящий момент на колеса автомобиля.
Что нужно сделать для выключения сцепления, как устроен и работает механический привод выключения сцепления?
Для выключения сцепления необходимо, сжав рабочие пружины, отвести нажимной диск 4 (рис.124) от ведомого 3. Для отвода нажимного диска от ведомого на его тыльной стороне выполнены три прилива, в которых просверлены отверстия, а в них на игольчатых подшипниках установлены три рычажка 5, вторые концы которых находятся строго в одной плоскости. Каждый рычажок подвешен к кожуху сцепления с помощью опорной вилки 7 и закрепляется регулировочной гайкой. Если одновременно нажать на все рычажки, то они, поворачиваясь на опорах вилок, вторыми своими концами отведут нажимной диск от ведомого, еще больше сжав рабочие пружины, трение между дисками прекратится, ведомый диск остановится, а вместе с ним остановится и ведущий вал коробки передач. Сцепление выключится.
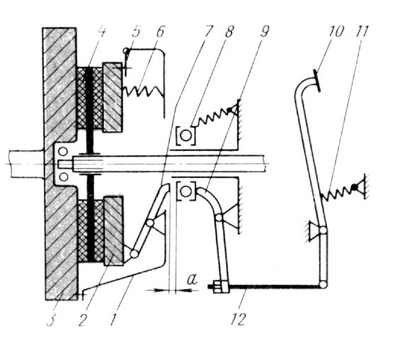
Для воздействия на рычажки выключения служит привод выключения сцепления, который состоит из упорного шарикоподшипника 10 с муфтой, перемещающейся по направляющему стакану, свободно одетому на ведущий вал коробки передач.
Для смазки стакана имеется масленка 6. В муфту упирается вилка 12, которая опирается на шаровую опору 13, закрепленную неподвижно в картере 2, а вторым концом соединяется с тягой 17 и крепится регулировочной гайкой 16. Пружина 18 оттягивает вилку в исходное положение, чтобы муфта через шарикоподшипник не воздействовала на рычажки выключения при включенном сцеплении. Тяга 17 соединяется с рычагом 19 вала педали 21, смонтированного в кронштейне 23. На этом валу есть также педаль 20 рабочего тормоза. Пружина 22 оттягивает педаль выключения сцепления в исходное положение.
Как работает привод выключения сцепления?
При нажатии водителем на педаль 21 (рис.124) вал поворачивается и через рычаг 19, тягу 17 воздействует на вилку выключения 12, а она перемещает муфту 10 вместе с упорным подшипником в сторону рычажков выключения 5, которые отводят нажимной диск от ведомого. Сцепление выключено.
Чтобы включить сцепление, необходимо плавно отпускать педаль сцепления.
Рабочие пружины 15, распрямляясь, перемешают нажимной диск к ведомому, прижимая его к маховику. Для плавного включения сцепления фрикционные накладки ведомого диска к одной стороне приклепываются через пластинчатые пружины. Кроме того, ведомый диск соединяется со своей ступицей через демпферные пружины 8 гасителя крутильных колебаний, установленные по окружности диска с небольшим зазором. При включении сцепления накладки ведомого диска, прижавшись к маховику, получают от него крутящий момент. Пружины, сжимаясь, препятствуют резкой передаче крутящего момента от диска к ступице и ведущему валу коробки передач, что обеспечивает плавное включение сцепления и безударную передачу крутящего момента на шестерни коробки передач. Кроме того, эти пружины гасят крутильные колебания, возникающие в коленчатом валу вследствие периодического воздействия расширяющихся газов.
***
Проверьте свои знания и ответьте на контрольные вопросы по теме «Сцепление»
вал, ведомый, включение, диск, маховик, передача, пружина, сцепление
Смотрите также:
Однодисковые фрикционные сцепления.

Ступенчатые трансмиссии
Однодисковые сцепления получили наибольшее применение вследствие простоты конструкции, незначительного момента инерции ведомых деталей, лучшего теплоотвода и полноты выключения.
Конструкцию однодисковых сцеплений и особенности их работы рассмотрим на примере сухого однодискового сцепления автомобилей марки «ВАЗ» и «ЗИЛ».
***
Сцепление легкового автомобиля
Устройство однодискового сцепления легкового автомобиля ВАЗ-2110 представлено на рис. 1. Конструктивно оно представляет собой постоянно замкнутое, сухое сцепление с мембранной центральной нажимной пружиной и механическим приводом.
Стальной штампованный кожух сцепления 3 крепится к маховику 6 шестью болтами 4, а с нажимным диском 5 соединяется тремя парами упругих стальных пластин 18, которые обеспечивают перемещение нажимного диска в осевом направлении и передают крутящий момент с кожуха на нажимной диск.
Кожух центрируется относительно маховика с помощью штифтов.
На кожухе с внутренней стороны устанавливаются кольца
Нажимная пружина 11 выполняется методом штамповки из листовой стали и в свободном состоянии имеет форму усеченного конуса. Внутренняя часть нажимной пружины имеет радиальные прорези, которые образуют лепестки, работающие как рычаги. Давление пружины создается ее участком между опорными кольцами и наружным краем пружины.
Ведущие детали сцепления проходят статическую балансировку путем высверливания металла на нажимном диске.
Ведомый диск 7 сцепления состоит из диска с фрикционными накладками 16 и гасителя крутильных колебаний. Диск стальной, с радиальными прорезями, делящими его на сектора, отогнутые поочередно в разные стороны, что придает волнообразную форму его рабочей поверхности.
К секторам ведомого диска независимо одна от другой приклепаны фрикционные накладки 16. Головки заклепок утопают в отверстиях накладок, а их стержни расклепаны на поверхности ведомого диска. Для этого в противоположной фрикционной накладке выполнены отверстия бόльшего диаметра.
Такое крепление накладок способствует повышению плавности включения сцепления.
Ведомый диск соединяется со ступицей 15 с помощью гасителя крутильных колебаний, позволяющего смещаться ступице относительно диска в тангенциальном направлении (по касательной) за счет деформации пружин 17 гасителя.
Поглощение энергии колебаний происходит при совершении работы трения фрикционных элементов, расположенных между ведомым диском и диском, к которому приклепана ступица. Усилие, сжимающие эти диски, установлено при сборке на заводе-изготовителе.
Окна в ступице делаются одинаковыми, а в ведомом диске часть окон имеет бόльшую длину, поэтому не все пружины начинают деформироваться одновременно.
***
Сцепление грузового автомобиля
На автомобилях марки «ЗИЛ» применяется сухое однодисковое сцепление с периферийным расположением нажимных пружин, гасителем крутильных колебаний и механическим приводом (рис. 2).
Общее устройство такого сцепление во многом похоже на устройство рассмотренного выше сцепления легкового автомобиля, но здесь в качестве нажимного устройства вместо центральной мембранной пружины применяются периферийно расположенные цилиндрические витые пружины.
Чугунный нажимной диск 2 расположен в стальном штампованном кожухе 12, прикрепленном восемью центрирующими болтами 21 к маховику 1 двигателя.
Диск соединяется с кожухом четырьмя упругими пластинами 14, концы которых заклепками крепятся к кожуху и болтами с втулками – к нажимному диску.
Через эти пластины усилие передается от кожуха сцепления на нажимной диск, в то же время, благодаря упругой деформации пластин, диск может перемещаться в осевом направлении.
Между кожухом и диском установлено шестнадцать нажимных пружин 13. Пружины центрируются на нажимном диске с помощью специальных выступов и опираются на него через теплоизолирующие шайбы 15.
Между маховиком и нажимным диском расположен ведомый диск 3, установленный на шлицах первичного вала 4 коробки передач. К стальному диску заклепками приклепывают фрикционные накладки, которые увеличивают коэффициент трения, а радиальные прорези в диске предотвращают его коробление при нагревании, а также служат своеобразными каналами для отвода теплоты от диска.
Гаситель крутильных колебаний устроен следующим образом.
Ведомый диск 3, кольцо 33 гасителя и стальные фрикционные пластины 31 соединены друг с другом заклепками.
К ступице 30 приклепаны два диска 29 гасителя и маслоотражатель 32.
Упругой муфтой гасителя является восемь равномерно расположенных по окружности пружин 28. Каждая пружина вместе с опорными пластинами 27 размещена в прямоугольных вырезах ведомого диска 3 и дисков 29 гасителя. Опорные пластины имеют четыре боковых выступа, удерживающих их в вырезах ведомого диска.
Фрикционным элементом являются поверхности трения фрикционных пластин 31 и внутренние поверхности дисков 29 гасителя.
При сжимании пружин гасителя возможно поворачивание ступицы относительно ведомого диска, при этом преодолеваются силы упругости пружин и силы трения в фрикционном элементе (рис. 3). Максимальный угол закручивания определяется полным сжатием пружин до соприкосновения витков.
Четыре рычага 5 выключения сцепления (рис. 2) соединены с помощью осей 18 и игольчатых подшипников 20 с нажимным диском 2 и вилками 6.
Вилки присоединены к кожуху регулировочными гайками 16, имеющими сферическую опорную поверхность.
Гайки прижимаются к кожуху стопорными пластинами 17, каждая из которых закреплена на кожухе двумя болтами. Благодаря сферической поверхности гаек вилки могут покачиваться относительно кожуха, что необходимо при повороте рычагов выключения (при выключении и включении сцепления). Этими же гайками регулируется положение рычагов при сборке сцепления.
***
Сухое двухдисковое сцепление
Главная страница
- Страничка абитуриента
Дистанционное образование
- Группа ТО-81
- Группа М-81
- Группа ТО-71
Специальности
- Ветеринария
- Механизация сельского хозяйства
- Коммерция
- Техническое обслуживание и ремонт автотранспорта
Учебные дисциплины
- Инженерная графика
- МДК.
01.01. «Устройство автомобилей» - Карта раздела
- Общее устройство автомобиля
- Автомобильный двигатель
- Трансмиссия автомобиля
- Рулевое управление
- Тормозная система
- Подвеска
- Колеса
- Кузов
- Электрооборудование автомобиля
- Основы теории автомобиля
- Основы технической диагностики
- Основы гидравлики и теплотехники
- Метрология и стандартизация
- Сельскохозяйственные машины
- Основы агрономии
- Перевозка опасных грузов
- Материаловедение
- Менеджмент
- Техническая механика
- Советы дипломнику
Олимпиады и тесты
- «Инженерная графика»
- «Техническая механика»
- «Двигатель и его системы»
- «Шасси автомобиля»
- «Электрооборудование автомобиля»
29.
2. Устройство однодискового сцепления 29.2. Устройство однодискового сцепления| Предыдущий раздел | Библиотека | Оглавление | Следующий раздел |
29.2. Устройство однодискового сцепления
На рис. 158 и 159 показано устройство однодискового сцепления полуцентробежного типа. К маховику 5 привернут болтами кожух 23 сцепления с тремя окнами 33, в которые входят выступы ведущего (нажимного) диска 6 — проушины 7. Через стенки окон 33, проушины 7 и кожух 23 сцепления ведущему диску 6 передается крутящий момент двигателя.
Рис. 158 — Однодисковое сцепление полуцентробежного типа (автомобиль ГАЗ-51):
1 — фрикционная накладка; 2 — ведомый диск; 3 — фланцы ступицы ведомого диска; 4 — ступица ведомого диска; 5 — маховик; 6 — ведущий (нажимной) диск; 7 — проушина ведущего диска; 8 — грузик; 9 — масленка; 10 и 11 — оси рычага выключения; 12 — кронштейн рычага выключения; 13 — рычаг выключения; 14 — регулировочный болт; 15 — упорный подшипник; 16 — нажимная муфта; 17 — крышка подшипника коробки передач; 18 — пружина нажимной муфты; 19 — ведущий (первичный) вал коробки передач; 20 — вилка выключения; 21 — опора вилки; 22 — пружина; 23 — кожух сцепления; 24 — пружина вилки; 25 — тяга; 26 — рычаг; 27 — вал педали сцепления; 28 — кронштейн; 29 — пружина педали; 30 — педаль сцепления; 31 — регулировочная гайка.
Рис. 159 — Детали однодискового сцепления полуцентробежного типа (автомобиль ГАЗ-51):
32 — пластинчатые пружины; 33 — окно;
(Наименование деталей 2-25 то же, что и на рис. 158).
Между кожухом сцепления и ведущим диском установлено девять силовых спиральных пружин 22, стремящихся прижать ведущий диск к маховику. Между маховиком и ведущим диском помещается ведомый диск 2 сцепления, выполненный из листовой стали с радиальными разрезами.
Ведомый диск приклепан к фланцам 3 ступицы 4, посаженной на шлицы ведущего (первичного) вала 19 коробки передач.
К ведомому диску приклепаны накладки 1 из фрикционной ткани, причем между задней накладкой и диском расположены шесть пластинчатых пружин 32. Один конец каждой пружины приклепан к диску, а другой к накладке. Пластинчатые пружины, постепенно выпрямляясь под усиливающимся давлением ведущего диска, способствуют плавному включению сцепления.
Выключают сцепление при помощи трех рычагов 13 с грузиками 8 на верхнем конце и регулировочными болтами 14 — на нижнем.
Каждый рычаг выключения соединяется с проушиной 7 ведущего диска и с кронштейном 12, привернутым к кожуху сцепления. С проушиной 7 рычаг соединяется посредством оси 10 (с игольчатым подшипником), а с кронштейном 12 — посредством оси 11 (с роликом). Ролик между нижним отверстием рычага выключения и осью 11 необходим, потому что при выключении и включении сцепления расстояние между осями 10 и 11 несколько изменяется.
Когда сцепление включено, а двигатель работает, маховик 5, кожух 23, ведущий диск 6 с рычагами 13 выключения и ведомый диск 2 вращаются как одно целое. При этом грузики 8 рычагов выключения, стремясь под действием центробежной силы повернуть рычаги выключения на осях 11, нажимают через оси 10 на ведущий диск; поэтому он будет испытывать давление пружин 22 и одновременно центробежной силы.
При небольших оборотах коленчатого вала двигателя (примерно до 1000 об/мин) давление грузиков на ведущий диск очень незначительно, но при возрастании оборотов оно сильно увеличивается.
Это позволяет ставить менее сильные пружины 22, благодаря чему уменьшается усилие, затрачиваемое водителем на выключение сцепления, и достигается более плавное включение.
С 1952 г. на автомобилях ГАЗ-51 устанавливается сцепление с более сильными пружинами 22 и без грузиков на рычагах выключения.
Чтобы выключить сцепление, водитель нажимает на педаль 30, которая повертывает вал 27, установленный в кронштейне 28 рамы. При повертывании вала 27 движение передается через жестко связанный с ним рычаг 26, регулируемую тягу 25 с фасонной гайкой 31 и вилку 20 выключения, установленную на шаровой опоре 21 в картере сцепления, нажимной муфте 16 с упорным подшипником 15. Перемещаясь по цилиндрической части крышки 17 подшипника коробки передач, упорный подшипник 15 нажимает на головки регулировочных болтов 14 рычагов выключения 13 и повертывает рычаги вокруг осей 11. При этом длинные концы рычагов приближаются к маховику, а короткие удаляются от него.
Короткие концы рычагов, действуя на оси 10, отводят ведущий диск 6 от ведомого диска 2, в результате чего между дисками образуется небольшой зазор и крутящий момент двигателя ведомому диску сцепления не передается.
Когда водитель отпускает педаль, она и вилка 20 выключения возвращаются в исходное верхнее положение пружинами 29 и 24, нажимная муфта 16 и упорный подшипник 15 перемещаются к коробке передач пружиной 18 и удерживаются ею в этом положении; силовые пружины 22, разжимаясь, перемещают ведущий диск к маховику.
Плавное включение сцепления (без рывка автомобиля) обеспечивается пластинчатыми пружинами 32 и плавным отпусканием педали сцепления.
Когда педаль сцепления отпущена, между упорным подшипником 15 и головками регулировочных болтов 14 должен быть небольшой зазор (несколько миллиметров) для того, чтобы подшипник постоянно не надавливал на пружины 22 через рычаги выключения. Благодаря этому зазору педаль 30 имеет свободный ход.
Колпачковая масленка 9 служит для смазки упорного подшипника 15 и нажимной муфты 16.
На рис. 160 и 161 показано устройство и действие однодискового сцепления, в котором давление центральной пружины передается ведущему диску через большое количество упругих рычагов (автомобиль МАЗ-200).
Рис. 160 — Однодисковое сцепление с упругими рычагами выключения (автомобиль МАЗ-200):
1 — маховик; 2 — кольцо обоймы нажимных рычагов; 3 — ведомый диск; 4 — опорное кольцо; 5 — регулировочные прокладки; 6 — удерживающие пластины; 7 — болт; 8 — фасонная тарелка; 9 — шарик; 10 — кольцо обоймы нажимных рычагов; 11 — упорный подшипник; 12 — нажимная муфта; 13 — втулка; 14 — пружина; 15 — упругие нажимные рычаги; 16 — ведущий диск; 17 — пружина; а — буртик фасонной тарелки; б — буртик ведущего диска.
Рис. 161 — Схема работы однодискового сцепления с упругими рычагами выключения (автомобиль МАЗ-200):
а — сцепление включено; б — сцепление выключено;
(Наименование деталей то же, что и на рис. 160).
К маховику 1 привернуто опорное кольцо 4, в прорези которого входят шипы ведущего диска 16.
В центральное отверстие опорного кольца 4 вставлена фасонная тарелка 8, удерживаемая пластинами 6, прикрепленными болтами 7 к опорному кольцу 4. Под пластинами установлены регулировочные прокладки 5, определяющие положение тарелки 8 относительно опорного кольца 4.
На переднем конце втулки 13 укреплена обойма из двух колец 2 и 10, в которой помещаются шарики 9, установленные в отверстиях девятнадцати упругих нажимных рычагов 15. Шарики препятствуют выскакиванию рычагов из обоймы под действием центробежной силы при вращении. Между тарелкой 8 и фланцем втулки 13 расположена центральная силовая пружина 14.
Когда сцепление включено (рис. 161, а), пружина 14 отжимает втулку 13 вправо, причем нажимные рычаги 15, опираясь на буртик а тарелки 8, нажимают на буртик б ведущего диска 16, передавая ему давление пружины 14. Поэтому ведомый диск 3 сцепления, будучи зажат между плоскостью маховика 1 и ведущим диском 16, вращается вместе с ними как одно целое.
Так как внешнее плечо нажимных рычагов 15 (между буртиками а и б) значительно меньше внутреннего плеча рычага (от буртика а до оси шариков 9), то усилне, с которым нажимные рычаги давят на ведущий диск 16, соответственно больше давления пружины 14 на втулку 13.
Поэтому при помощи одной центральной силовой пружины можно передать через сцепление большой крутящий момент.
Когда сцепление выключается (рис. 161, б), движение нажимной муфты 12 с упорным подшипником 11 передается втулке 13, перемещение которой вызывает сжатие пружины 14 и поворачивание нажимных рычагов 15. При этом ведущий диск 16 освобождается от давления пружины 14 и отводится от ведомого диска 3 четырьмя небольшими пружинами 17.
Более плавное включение сцепления обеспечивается упругостью нажимных рычагов 15, несколько прогибающихся при включении сцепления.
При износе накладок ведомого диска 3 расстояние между плоскостями маховика и ведущего диска 16 при включенном сцеплении уменьшается (как и в сцеплениях других конструкций). Это вызывает смещение внутренних концов нажимных рычагов 15 и втулки 13 от маховика; уменьшается зазор между втулкой 13 и упорным подшипником 11, а также свободный ход педали сцепления. Пружина 14 при этом несколько разжимается, давление ее на нажимные рычаги 15 уменьшается, в результате чего возможна пробуксовка сцепления при передаче большого крутящего момента.
Давление пружины 14 на нажимные рычаги можно восстановить, удаляя регулировочные прокладки 5 с каждого болта 7; при уменьшении числа прокладок (при каждой регулировке удаляется только по одной прокладке) тарелка 8, а вместе с ней внутренние концы нажимных рычагов 15 и втулка 13 приблизятся к маховику, вследствие чего давление силовой пружины возрастет. Восстановив силу давления пружины 14, регулируют зазор между втулкой 13 и упорным подшипником 11, изменяя длину соединительной тяги привода сцепления.
| Предыдущий раздел | Библиотека | Оглавление | Следующий раздел |
Хостинг от uCoz
Один диск – Механизм сцепления
Комплекты сцепления
Марка автомобиля
Выберите марку
Модель автомобиля
Выберите модель
Год автомобиля
Выберите год
Комплекты однодискового сцепления Action Clutch содержат ряд систем сцепления от Street до High Performance, которые превосходят конкурентов.
Все сценические декорации изготовлены с использованием американских материалов, которые закупаются здесь, в Лос-Анджелесе, как мы и делаем уже 60 лет. Каждый комплект ступеней имеет свои преимущества, а также фрикционные материалы собственной формулы. По мере того, как вы продвигаетесь вверх в наших ступенчатых комплектах, усилие зажима нажимной пластины увеличивается, чтобы обеспечить больший крутящий момент, это достигается при сохранении комфортного ощущения от педали.
Все наши ступенчатые комплекты поставляются в комплекте с диском сцепления, нажимным диском, выжимным/выжимным подшипником, направляющим подшипником/втулкой (если применимо) и приспособлением для выравнивания. Компоненты также можно приобрести по отдельности.
10 с
ЭТАП 1
НА 70 % УВЕЛИЧЕНА ГРУЗОПОДЪЕМНОСТЬSFI 1.1
ПРИМЕНЕНИЕ НА УЛИЦАХ/ТРЕКЕ (НЕПРЕРЫВНОЕ ИСПОЛЬЗОВАНИЕ НА ТРЕКЕ – ТРАССА/АТАКА НА ВРЕМЯ/ГОНКИ ПО ДОРОГАМ).
В нашем комплекте 1OS Stage 1 используется усиленный медно-кевларовый фрикционный материал на стальной основе. Этот комплект оснащен прочной нажимной пластиной с одной диафрагмой, сохраняя при этом ощущение педали, похожее на OEM, и плавное зацепление. Этот усиленный комплект рессор из органического кевлара с высоким содержанием меди разработан для автомобилей, которые варьируются от стандартных до базовых автомобилей с болтовым креплением. Как и все наши комплекты пружин, наш комплект Stage 1 включает в себя полностью закрытые фиксаторы пружин, помогающие защитить ваши вложения от любых выпадающих пружин, которые могут нанести катастрофический ущерб вашей трансмиссии или двигателю, как это наблюдается у конкурентов. После того, как каждый комплект собран, он проходит несколько проверок качества, прежде чем он будет утвержден одним из наших ведущих инженеров (общий опыт работы более 50 лет).
Процедура обкатки
500 уличных миль / Поддерживайте обороты ниже 4500, не более половины газа, без наддува (если применимо)
Особенности диска сцепления
- Полнолицевая медь со стальной основой Kevlar® Органический фрикционный материал
- Полностью закрытые пружинные фиксаторы
- Подпружиненная втулка для легкого зацепления
- Заклепки американского сорта
Инструкции по установке
ЧТО В КОРОБКЕ?
- — (1OS) Диск сцепления 1-й ступени
- — Нажимной диск HD с одинарной диафрагмой
- — Выжимной подшипник
- — Направляющий подшипник/втулка (если применимо)
- — Инструмент для выравнивания сцепления
- — Информационный лист сцепления Свэг
1КС
ЭТАП 2
НА 110 % УВЕЛИЧЕНА ВМЕСТИМОСТЬSFI 1.1
ПРИМЕНЕНИЕ НА УЛИЦЕ/ТРЕКЕ (НЕПРЕРЫВНОЕ ИСПОЛЬЗОВАНИЕ НА ТРЕКЕ — ЦЕПЬ / АТАКА НА ВРЕМЯ / ДОРОЖНЫЕ ГОНКИ).
В комплекте 1KS Stage 2 используется наш усиленный фрикционный материал Full Face Kevlar® на стальной основе. Этот комплект включает в себя усиленную нажимную пластину с одной диафрагмой, при этом сохраняя ощущение педали, как у OEM, и супер плавное зацепление после надлежащей обкатки. Несколько больших преимуществ Kevlar® — это его долговечность, сверхгладкое зацепление и рассеивание тепла. Этот усиленный пружинный диск Kevlar® разработан для автомобилей с базовыми креплениями на болтах или для автомобилей Северной Америки с головным устройством, таким как кулачки, или с очень низким наддувом, или с закисью азота.
Эти волокна имеют низкий коэффициент статического и динамического трения, что делает их идеальным выбором для приложений, где важно плавное сцепление (например, ежедневное вождение, движение с частыми остановками, движение по бездорожью). Благодаря свойствам Kevlar® наши комплекты Stage 2 имеют исключительный срок службы с минимальным увеличением ощущения педали и более уверенным включением. Как и все наши комплекты пружин, наш комплект Stage 2 оснащен полностью закрытыми держателями пружин, которые помогают защитить ваши инвестиции от любых выпадающих пружин, которые могут нанести катастрофический ущерб вашей трансмиссии или двигателю, как это наблюдается у конкурентов. Чтобы получить максимальную долговечность и удерживающую способность от нашего комплекта Kevlar®, крайне важно, чтобы вы прирабатывали это сцепление как можно консервативнее. После того, как каждый комплект собран, он проходит несколько проверок качества, прежде чем он будет утвержден одним из наших ведущих инженеров (общий опыт работы более 50 лет).
Процедура обкатки
1000 миль по улицам / Поддерживайте обороты ниже 4500, не более чем на полдросселя, без наддува (если применимо)
Особенности диска сцепления
- Фрикционный материал Kevlar® со стальной основой
- Полностью закрытые пружинные фиксаторы
- Подпружиненная втулка для легкого зацепления
- Заклепки американского сорта
Инструкции по установке
ЧТО В КОРОБКЕ?
- — (1KS) Ступень 2 Диск сцепления
- — Нажимная пластина HD с одинарной диафрагмой
- — Выжимной подшипник
- — Направляющий подшипник/втулка (если применимо)
- — Инструмент для выравнивания муфты
- — Информационный лист
- — Механизм сцепления
1МС
ЭТАП 3
НА 170 % УВЕЛИЧЕНА ГРУЗОПОДЪЕМНОСТЬSFI 1.
1УЛИЧНЫЕ ИСПОЛЬЗОВАНИЯ В ТЯЖЕЛЫХ УСЛОВИЯХ И ИНДИВИДУАЛЬНЫЕ ДРАГ / ДОРОЖНЫЕ ГОНКИ / ДРИФТ
В комплекте 1MS Stage 3 используется наш чрезвычайно прочный, высокоэффективный пружинный керамический диск MIBA. Этот комплект включает прочную прижимную пластину с одной диафрагмой и усиленными приводными ремнями для увеличения срока службы. Он доступен в конфигурации с 4 и 6 керамическими шайбами MIBA, причем 4 шайбы являются более агрессивными из двух. Этот комплект MIBA Sprung Ceramic разработан для автомобилей с малой/мягкой мощностью. Наш комплект Stage 3 MIBA Sprung Ceramic обеспечивает быстрое зацепление, а также вибрацию сцепления, которая должна быть минимальной после завершения надлежащей обкатки. Как и все наши комплекты пружин, наш комплект Stage 3 включает в себя полностью закрытые держатели пружин, которые помогают защитить ваши инвестиции от любых выпадающих пружин, которые могут нанести катастрофический ущерб вашей трансмиссии или двигателю, как это наблюдается у конкурентов.
После того, как каждый комплект собран, он проходит несколько проверок качества, прежде чем он будет утвержден одним из наших ведущих инженеров (общий опыт работы более 50 лет).Процедура обкатки
500 уличных миль / Поддерживайте обороты ниже 4500, не более половины газа, без наддува (если применимо)- Усиленные приводные ремни для тяжелых условий эксплуатации
- 4-ступенчатая термообработанная диафрагменная пружина
- Заклепки американского сорта
- 100% динамическая балансировка вращения
Особенности диска сцепления
- Накладки из фрикционного керамического материала MIBA
- Подпружиненная втулка для легкого зацепления
- Заклепки американского сорта
- Полностью закрытые пружинные фиксаторы
- Доступен в конфигурациях с 4/6 шайбами
* Диски сцепления на керамической основе предназначены для увеличения удерживающей способности и долговечности сцепления, а не для увеличения ожидаемого срока службы.
Использование материала на керамической основе для легкого движения по улицам может привести к преждевременному износу комплекта сцепления из-за более жесткого включения и из-за более высокой склонности сцепления к проскальзыванию при вождении по улицам. Керамические диски никогда не рекомендуются для стандартных или слегка модифицированных транспортных средств.
Инструкции по установке
ЧТО В КОРОБКЕ?
- — (1MS) Диск сцепления 3-й ступени
- — Нажимной диск HD с одинарной диафрагмой
- — Выжимной подшипник
- — Направляющий подшипник/втулка (если применимо)
- — Инструмент для выравнивания сцепления 4 Лист
- — Информация Муфта сцепления
1МД
ЭТАП 4
НА 170 % УВЕЛИЧЕНИЕ ВМЕСТИМОСТИSFI 1.
1ТЯЖЕЛЫЙ ДРЭГ / ДОРОЖНЫЙ / ДРИФТ-ГОНКИ
В комплекте 1MD Stage 4 используется наш чрезвычайно прочный, высокоэффективный неподрессоренный керамический диск MIBA. Этот комплект включает прочную прижимную пластину с одной диафрагмой и усиленными приводными ремнями для увеличения срока службы. Этот комплект включает и выключает зацепление и рекомендуется строго для гоночных целей. Он доступен в конфигурации с 4 и 6 керамическими шайбами MIBA, причем 4 шайбы являются более агрессивными из двух. Этот комплект MIBA Unsprung Ceramic разработан для автомобилей с малой/мягкой мощностью. Наш комплект Stage 4 MIBA Unsprung Ceramic обеспечивает быстрое зацепление, а также некоторую вибрацию сцепления, которая должна быть минимальной после завершения надлежащей обкатки. После того, как каждый комплект собран, он проходит несколько проверок качества, прежде чем он будет утвержден одним из наших ведущих инженеров (общий опыт работы более 50 лет).
Процедура обкатки
500 дорожных миль / Поддерживайте обороты ниже 4500, не более чем на полдросселя, без наддува (если применимо)
Особенности нажимной пластины
- Фрикционные керамические накладки MIBA 9004
- Усиленные приводные ремни для тяжелых условий эксплуатации
- 4-ступенчатая термообработанная диафрагменная пружина
- Заклепки американского сорта
- 100% динамическая балансировка вращения
Особенности диска сцепления
- Накладки из фрикционного керамического материала MIBA
- Жесткая втулка, тип
- Заклепки американского сорта
- Доступен в конфигурациях с 4/6 шайбами
ОТКАЗ ОТ ОТВЕТСТВЕННОСТИ: Использование комплекта сцепления с неподрессоренным диском сцепления на стандартном или слегка модифицированном двигателе, предназначенном для ежедневного/уличного движения, может сломать заклепки на ступице диска сцепления.
Использование комплекта сцепления с неподрессоренным диском сцепления на стандартном или слегка модифицированном мощном двигателе, предназначенном для ежедневного или уличного движения, не рекомендуется и может привести к преждевременному выходу из строя. Это можно сравнить с пробежкой марафона в сандалиях по сравнению с обычными кроссовками. Если вы пробежите марафон в сандалиях, у вас не будет амортизации или комфорта, и вы можете получить травму или измотать себя быстрее, чем в подходящей беговой обуви. При жестком диске чрезмерное переключение на пониженную передачу может привести к преждевременному выходу из строя сцепления.
ПРИМЕЧАНИЕ: Приобретение комплекта сцепления, не подходящего для конкретной выходной мощности двигателя, может привести к преждевременному отказу сцепления, повреждению трансмиссии и аннулированию гарантии. Если вы не уверены, какой комплект подходит именно вам, напишите нам в любой из наших социальных сетей или заполните нашу форму для запросов.
* Диски сцепления на керамической основе предназначены для увеличения удерживающей способности и долговечности сцепления, а не для увеличения ожидаемого срока службы. Использование материала на керамической основе для легкого движения по улицам может привести к преждевременному износу комплекта сцепления из-за более жесткого включения и из-за более высокой склонности сцепления к проскальзыванию при вождении по улицам. Керамические диски никогда не рекомендуются для стандартных или слегка модифицированных транспортных средств.
Инструкции по установке
ЧТО В КОРОБКЕ?
- — (1MD) Диск сцепления 4-й ступени
- — Нажимной диск HD с одинарной диафрагмой
- — Выжимной подшипник
- — Направляющий подшипник/втулка (если применимо)
- — Инструмент для выравнивания сцепления 4 Лист
- — Информация Сцепление Swag
2МС
ЭТАП 5
НА 200 % УВЕЛИЧЕНИЕ ГРУЗОПОДЪЕМНОСТИSFI 1.
1ГОНОЧНЫЕ ПРИМЕНЕНИЯ / ИСПОЛЬЗОВАНИЕ НА ТЯЖЕЛЫХ ТРАССАХ
В комплекте 2MS Stage 5 используется чрезвычайно прочный и высокопроизводительный пружинный керамический диск MIBA. Этот комплект оснащен усиленной прижимной пластиной с двойным зажимом и усиленными приводными ремнями для увеличения срока службы. Наш комплект с двойным зажимом обеспечивает почти вдвое большее усилие зажима, чем наши комплекты для ступеней 3 и 4, что увеличивает пропускную способность TQ. Он доступен в конфигурации с 4 и 6 керамическими шайбами MIBA, причем 4 шайбы являются более агрессивными из двух. Этот комплект MIBA Sprung Ceramic разработан для автомобилей с малой/мягкой мощностью. Наш комплект Stage 5 MIBA Sprung Ceramic обеспечивает быстрое зацепление, а также вибрацию сцепления, которая должна быть минимальной после завершения надлежащей обкатки. Как и все наши комплекты пружин, наш комплект Stage 5 оснащен полностью закрытыми держателями пружин, которые помогают защитить ваши инвестиции от любых выпадающих пружин, которые могут нанести катастрофический ущерб вашей трансмиссии или двигателю, как это наблюдается у конкурентов.
После того, как каждый комплект собран, он проходит несколько проверок качества, прежде чем он будет утвержден одним из наших ведущих инженеров (общий опыт работы более 50 лет).
Процедура обкатки
500 уличных миль / Поддерживайте обороты ниже 4500, не более половины газа, без наддува (если применимо)
Особенности диска сцепления
- Накладки из фрикционного керамического материала MIBA
- Полностью закрытые пружинные фиксаторы
- Подпружиненная втулка для легкого зацепления
- Заклепки американского сорта
- Доступен в конфигурациях с 4/6 шайбами
* Диски сцепления на керамической основе предназначены для увеличения удерживающей способности и долговечности сцепления, а не для увеличения ожидаемого срока службы.
Использование материала на керамической основе для легкого движения по улицам может привести к преждевременному износу комплекта сцепления из-за более жесткого включения и из-за более высокой склонности сцепления к проскальзыванию при вождении по улицам. Керамические диски никогда не рекомендуются для стандартных или слегка модифицированных транспортных средств.
Инструкции по установке
ЧТО В КОРОБКЕ?
- — (2MS) Диск сцепления 5-й ступени
- — Нажимной диск Dual HD
- — Выжимной подшипник
- — Направляющий подшипник / втулка (если применимо)
- — Инструмент для выравнивания сцепления
- — 4 Механизм сцепления
- — Информационный лист Свэг
2МД
ЭТАП 6
НА 200 % УВЕЛИЧЕНИЕ ГРУЗОПОДЪЕМНОСТИSFI 1.
1ТЯЖЕЛЫЙ ДРЭГ / ДОРОЖНЫЙ / ДРИФТ-ГОНКИ
В комплекте 2MD Stage 6 используется наш чрезвычайно прочный, высокоэффективный неподрессоренный керамический диск MIBA. Этот комплект оснащен усиленной прижимной пластиной с двойным зажимом и усиленными приводными ремнями для увеличения срока службы. Наш комплект с двойным зажимом обеспечивает почти вдвое большее усилие зажима, чем наши комплекты для ступеней 3 и 4, что увеличивает пропускную способность TQ. Этот комплект включает и выключает зацепление и рекомендуется строго для гоночных целей. Он доступен в конфигурации с 4 и 6 керамическими шайбами MIBA, причем 4 шайбы являются более агрессивными из двух. Этот комплект MIBA Unsprung Ceramic разработан для автомобилей с малой/мягкой мощностью. Наш комплект Stage 6 MIBA Unsprung Ceramic обеспечивает быстрое зацепление, а также некоторую вибрацию сцепления, которая должна быть минимальной после завершения надлежащей обкатки. После того, как каждый комплект собран, он проходит несколько проверок качества, прежде чем он будет утвержден одним из наших ведущих инженеров (общий опыт работы более 50 лет).
Процедура обкатки
500 уличных миль / Поддерживайте обороты ниже 4500, не более половины газа, без наддува (если применимо)
Особенности диска сцепления
- Накладки из фрикционного керамического материала MIBA
- Жесткая втулка, тип
- Заклепки американского сорта
- Доступен в конфигурациях с 4/6 шайбами
ОТКАЗ ОТ ОТВЕТСТВЕННОСТИ: Использование комплекта сцепления с неподрессоренным диском сцепления на стандартном или слегка модифицированном двигателе, предназначенном для ежедневного/уличного движения, может сломать заклепки на ступице диска сцепления.
Использование комплекта сцепления с неподрессоренным диском сцепления на стандартном или слегка модифицированном мощном двигателе, предназначенном для ежедневного или уличного движения, не рекомендуется и может привести к преждевременному выходу из строя. Это можно сравнить с пробежкой марафона в сандалиях по сравнению с обычными кроссовками. Если вы пробежите марафон в сандалиях, у вас не будет амортизации или комфорта, и вы можете получить травму или измотать себя быстрее, чем в подходящей беговой обуви. При жестком диске чрезмерное переключение на пониженную передачу может привести к преждевременному выходу из строя сцепления.
ПРИМЕЧАНИЕ: Приобретение комплекта сцепления, не подходящего для конкретной выходной мощности двигателя, может привести к преждевременному отказу сцепления, повреждению трансмиссии и аннулированию гарантии. Если вы не уверены, какой комплект подходит именно вам, напишите нам в любой из наших социальных сетей или заполните нашу форму для запросов.
* Диски сцепления на керамической основе предназначены для увеличения удерживающей способности и долговечности сцепления, а не для увеличения ожидаемого срока службы. Использование материала на керамической основе для легкого движения по улицам может привести к преждевременному износу комплекта сцепления из-за более жесткого включения и из-за более высокой склонности сцепления к проскальзыванию при вождении по улицам. Керамические диски никогда не рекомендуются для стандартных или слегка модифицированных транспортных средств.
Инструкции по установке
ЧТО В КОРОБКЕ?
- — (2MD) Диск сцепления 6-й ступени
- — Нажимной диск Dual HD
- — Выжимной подшипник
- — Направляющий подшипник/втулка (если применимо)
- — Инструмент для выравнивания сцепления
- — 4 Информационный лист 90lutch Свэг
ЖЕЛЕЗНЫЙ ЧЕЛОВЕК
НА 250 % УВЕЛИЧЕНИЕ ГРУЗОПОДЪЕМНОСТИSFI 1.
1СПЕЦИАЛЬНО РАЗРАБОТАН ТОЛЬКО ДЛЯ ТРЕНИРОВОК
В нашем легендарном комплекте Ironman используется чрезвычайно прочный фрикционный материал American Sintered Iron. Этот комплект лучше всего подходит для тех, кто еще не хочет переходить на многодисковый комплект и хочет насладиться чем-то доступным с высоким крутящим моментом. Наш комплект нагрузки с двойным зажимом обеспечивает почти удвоенное усилие зажима, что увеличивает производительность TQ. Комплект Ironman предлагает некоторое проскальзывание при взлете, что делает этот комплект GO-TO комплектом с его повторяемостью и выносливостью. Обязательно узнайте, как пробуксовывать сцепление, прежде чем делать это, незнание может привести к перегреву и сгоранию сцепления. Разработанное для специализированных мощных гоночных автомобилей, включение сцепления для нашего Ironman является агрессивным с ощущением включения / выключения и доступно в подрессоренной и неподрессоренной ступице. Этот комплект не будет приводить к дребезгу сцепления, но будет издавать легкий шум при включении и некоторый грохот шестерен.
Этот комплект не рекомендуется для повседневного использования и рекомендуется только для соревнований. После того, как каждый комплект собран, он проходит несколько проверок качества, прежде чем он будет утвержден одним из наших ведущих инженеров (общий опыт работы более 50 лет).
Процедура обкатки
500 уличных миль / Поддерживайте обороты ниже 4500, не более половины газа, без наддува (если применимо)
Особенности диска сцепления
- Фрикционный материал из спеченного чугуна
- Жесткая или пружинная втулка, тип
- Тип втулки с пружиной включает полностью закрытые пружинные фиксаторы
- Заклепки американского сорта
ОТКАЗ ОТ ОТВЕТСТВЕННОСТИ: Использование комплекта сцепления с неподрессоренным диском сцепления на стандартном или слегка модифицированном двигателе, предназначенном для ежедневного/уличного движения, может сломать заклепки на ступице диска сцепления.
Использование комплекта сцепления с неподрессоренным диском сцепления на стандартном или слегка модифицированном мощном двигателе, предназначенном для ежедневного или уличного движения, не рекомендуется и может привести к преждевременному выходу из строя. Это можно сравнить с пробежкой марафона в сандалиях по сравнению с обычными кроссовками. Если вы пробежите марафон в сандалиях, у вас не будет амортизации или комфорта, и вы можете получить травму или измотать себя быстрее, чем в подходящей беговой обуви. При жестком диске чрезмерное переключение на пониженную передачу может привести к преждевременному выходу из строя сцепления.
ПРИМЕЧАНИЕ: Приобретение комплекта сцепления, не подходящего для конкретной выходной мощности двигателя, может привести к преждевременному отказу сцепления, повреждению трансмиссии и аннулированию гарантии. Если вы не уверены, какой комплект подходит именно вам, напишите нам в любой из наших социальных сетей или заполните нашу форму для запросов.
Инструкции по установке
ЧТО В КОРОБКЕ?
- — Диск сцепления Ironman
- — Диск сцепления Dual HD
- — Выжимной подшипник
- — Направляющий подшипник/втулка (если применимо)
- — Инструмент для выравнивания муфты
- — Информационный лист
- — Обжимная муфта
Муфты RAM 75-2173S RAM Однодисковая нажимная переделка Комплекты муфт C4 Corvette
Напишите первый отзыв
Номер детали: RAM-75-2173S
Изображение является представлением этого элемента.
Фактический элемент может отличаться.
- Картинки
Изображение является представлением этого элемента.
Фактический элемент может отличаться.
Обзор
Марка:
Муфты оперативной памяти
Номер детали производителя:
75-2173С
Тип детали:
Комплекты сцепления
Линейка продуктов:
Комплекты сцепления RAM Single Disc Push-Type C4 Corvette для модификации C4
Номер по каталогу Summit Racing:
РАМ-75-2173С
Использование сцепления:
Производительность
Диск сцепления Количество:
1
Маховик В комплекте:
Да
Количество входных сплайнов:
26
Диаметр входного вала:
1,125 дюйма
Диаметр диска (дюймы):
9 500 дюймов
Диаметр диска (мм):
241 мм
Материал диска:
Органический
Тип диска:
Анфас
Тип втулки:
Подрессоренная
Тип прижимной пластины:
Диафрагма
Выжимной подшипник В комплекте:
Да
Тип выжимного подшипника:
Гидравлический
Инструмент для выравнивания В комплекте:
Да
Направляющая втулка В комплекте:
№
Материал маховика:
Заготовка стальная
Вспомогательный противовес:
№
Монтажное оборудование в комплекте:
Да
Количество:
Продается комплектом.
Комплекты сцепления RAM для однодисковой нажимной муфты C4 Corvette
Эти однодисковые нажимные комплекты сцепления RAM C4 Corvette предназначены для замены тянущего сцепления и двухмассового маховика на вашем заводе 1989-96 С4 Шевроле Корвет. Они состоят из алюминиевого маховика, прижимной пластины в стиле Borg и Beck с высоким зажимом и нагрузкой 2800 фунтов и органического диска сцепления RAM 300 Series. В комплектах однодискового сцепления RAM C4 Corvette для преобразования нажимного типа используется внутренний гидравлический выжимной подшипник, заменяющий заводской механизм выключения, для завершения установки. Лучше всего то, что эти комплекты сцепления способны выдерживать мощность до 700 л.с.
Рекомендуется для вас
Приложения
Вопросы и ответы Задать вопрос о продукте
Задать вопрос
Вопрос какого типа вы хотите задать?
У меня есть вопрос
службы поддержки клиентов (заказ, доставка, возврат и т.
д.).
Вопрос по обслуживанию клиентов
— ИЛИ ЖЕ —
Я хотел бы задать другим клиентам
вопрос об этом продукте .
Вопрос, связанный с продуктом
отзывов Написать рецензию
Некоторые детали не разрешены к использованию в Калифорнии или других штатах с аналогичными законами/правилами.
Позвоните для заказа
Это заказная часть. Вы можете заказать эту деталь, связавшись с нами.
Варианты для международных клиентов
Варианты доставки
Если вы являетесь международным покупателем и отправляете товар на адрес в США, выберите «Доставка по США», и мы соответствующим образом оценим даты доставки.
- Международный доставка
- Доставка в США
Валютные опции
Если вы являетесь международным клиентом и хотите изменить валюту, в которой отображаются цены, вы можете сделать это здесь.
Обратите внимание, что расчетные цены будут указаны в долларах США.
Клатч Valair | Однодисковые и двухдисковые муфты и детали муфт
Фильтры Hide Фильтры Hide
Инструмент для центровки Valair 1,375 дюйма AT-5385 5,00 Муфта Valair 5385
Инструмент для центровки Valair 1,375 дюйма Valair 1.375″ Центровочный инструмент VALAIR NV5600/G56 Регулируемая муфта для тяжелых условий эксплуатации Гидравлика 03-18 5,9 л/6,7 л Dodge Cummins NMU70HYD-03 15,00 Сцепление Valair NMU70HYD-03
VALAIR NV5600/G56 Регулируемая муфта для тяжелых условий эксплуатации-8 039 5,9Dodge Cummins, л/6,7 л $ 338,34 2050-01-01
Power Products предлагает замену VALAIR NV5600/G56 Heavy Duty Adjustable Hydraulic Master/Slave 03-18 5,9 л/6,7 л Dodge Cummins Valair Стандартный выжимной подшипник (выжимной подшипник) ) NV4500/NV5600/G56 94-09 5,9 л/6,7 л Dodge Cummins VAL-BRG063 12,00 Valair Clutch BRG063
Стандартный выжимной подшипник Valair (выжимной подшипник) NV4500/NV5600/G56 94-09 5,9 л/6,7 л Dodge Cummins $ 38,8 2050-01-01
Power Products использует стандартный выжимной подшипник Valair (выжимной подшипник) NV4500/NV5600/G56 94-09 5,9 л/6,7 л Dodge Cummins Valair 12,25″ x 1,25″ Запасное органическое сцепление 91-93 Ford IDI NMU70244 -01-01
Diesel Power Products предлагает стандартное органическое сменное сцепление Valair 12,25 x 1,25 дюйма для 88-93 Ford IDI VALAIR 13 x 1,25 дюйма органическое сменное сцепление HD 94-97 7,3 л Ford Powerstroke 400 л.
с. NMU70263-01-SFC 55.00 Сцепление Valair NMU70263-01-SFC
Органическое сменное сцепление VALAIR 13 x 1,25 дюйма HD 94-97 7,3 л Ford Powerstroke 400 л.с. VALAIR 13″ x 1,25″ Performance Clutch Ceramic/Kevlar HD Spring Hub 94-97 7,3L Ford Powerstroke NMU70263-06-Main 0,00 Valair Clutch NMU70263-06
VALAIR 13″ x 1,25″ Performance Clutch Ceramic/Kevlar HD Spring Hub 94- 97 7,3 л Ford Powerstroke $ 853,48 2050-01-01
Diesel Power Products носит сменное сцепление VALAIR 13 «x 1,25» с керамической / кевларовой кнопкой HD Spring Hub 94-97 7,3 л Ford Powerstroke 500HP VALAIR 13 «x 1,25» Stock Organic Сменное сцепление 94-97 7,3 л Ford Powerstroke NMU70263-Main 0.00 Сцепление Valair NMU70263
Запасное органическое сцепление VALAIR 13 x 1,25 дюйма 94-97 7,3 л Ford Powerstroke4-98 7,3 л Ford Powerstroke 400 л.с. VALAIR 13 x 1,375 дюйма OEM сменное сцепление для тяжелых условий эксплуатации 99-03 7,3 л Ford Powerstroke 400 л.с. NMU70241-01 55,00 Valair сцепление NMU70241-01 -03 7,3 л Ford Powerstroke 400 л.
с. Керамические кнопки сцепления HD Spring Hub 99-03 Ford Powerstroke 7,3 л NMU70241-04 55,00 Сцепление Valair NMU70241-04
Высокопроизводительное сцепление VALAIR 13 x 1,375 дюймов Керамические кнопки Ступица пружины HD 99-03 Ford Powerstroke 7,3 л $ 747,9 2050-01-01
Diesel Power Products VALAIR 13″ x 1,375″ Performance Сменное сцепление Керамические кнопки HD Spring Hub 99-03 7.3L Ford Powerstroke 600HP VALAIR 13″ x 1,375″ Performance Clutch Ceramic/Kevlar HD Spring Hub 99-03 7.3L Ford Powerstroke NMU70241-06 55.00 Valair Сцепление NMU70241-06
VALAIR 13″ x 1,375″ Performance Clutch Ceramic/Kevlar HD Spring Hub 99-03 7,3L Ford Powerstroke $ 946,52 2050-01-01
Diesel Power Products несет сменные керамические/кевларовые кнопки сцепления VALAIR 13″ x 1,375″ Performance HD Spring Hub 99-03 7.3L Ford Powerstroke 500HP Valair 6-скоростной маховик для трансмиссии Ford ZF6 V-2130 30,00 Valair Clutch V2130
Valair 6-скоростной маховик для трансмиссии Ford ZF6 6-скоростной маховик для трансмиссий Ford ZF6 VALAIR Clutch NV4500, тянущий утяжеленный тройной диск 94-03 5.
9L Cummins NMU70NV45TRIPLE-COMP 149.00 КЛЕЧЕСТВА VALAIR NMU70NV45TRIPLE-COMP
КАНТА ВАРА NV4500 PULLING ОТВЕТСТВЕННЫЙ ДИСК 94-03 5.9L Cummins $ 2777,78 2050-01-01
DOISEL POSTICEL $ 2777,78 2050-01-01
DOISEL POSTION. Тройной диск 94-03 Dodge Cummins NV4500
Valair Clutch
- Описание
- Часто задаваемые вопросы
Когда мы в Diesel Power Products начали искать производителя дизельного сцепления для демонстрации, у нас был большой выбор. стало ясно, что одна компания предложила сочетание качества, долговечности, обслуживания клиентов, цены и честности, которое мы искали Valair Clutch не подвела, чтобы оправдать наши ожидания.
Компания Valair начала свою деятельность как Vallance Remanufacturing в Минерал-Уэллс, штат Техас, примерно в 60 милях к западу от Форт-Уэрта, в начале 1990-х годов. Компания сосредоточилась на восстановлении узлов сцепления для тяжелых грузовиков и сельскохозяйственной техники.
Местоположение позволило компании Valair снизить затраты и снабжать Даллас/Форт-Уэрт, а также местные районы качественными запасными частями.
В 2004 году компания Valair проявила интерес к рынку высокопроизводительных сцеплений для мощных дизельных грузовиков. Исследования и разработки начали искать детали для этих приложений. Компания Valair уже создавала сцепления для большинства грузовиков OTR, способные выдерживать крутящий момент до 2250 футо-фунтов, и адаптировала эти принципы из этих сцеплений OTR в меньший пакет для грузовиков ¾ и 1 тонны.
После двух лет исследований и разработок муфты Performance Series от Valair были проданы энтузиастам дизельных грузовиков, которым требовалось качественное высокопроизводительное сцепление по разумной цене. Все эти сцепления собираются в Минерал-Уэллс, штат Техас, из доступных деталей самого высокого качества и в настоящее время продаются по всему миру.
Независимо от того, ищете ли вы запасное сцепление, сцепление для буксировки или высокопроизводительное сцепление для буксировки саней или дрэг-рейсинга, у них есть именно то сцепление, которое вам нужно.

01.01. «Устройство автомобилей»
1
После того, как каждый комплект собран, он проходит несколько проверок качества, прежде чем он будет утвержден одним из наших ведущих инженеров (общий опыт работы более 50 лет).