Устройство гидроусилителя руля информация на сайте
Долгое время автомобильные конструкторы и не помышляли о сервоусилителях руля. Невысокие требования к управляемости и комфорту и небольшое пятно контакта сравнительно узких шин позволяли обходиться одной человеческой силой даже в управлении тяжелыми грузовиками. Средство для уменьшения усилия на руле было одно: сделать побольше передаточное отношение привода и диаметр баранки. А с тем, что водителю придется наяривать огромным рулем пять-шесть оборотов от отбоя до отбоя, да и точность управления будет невысокой, приходилось мириться.
Сначала усилители рулевого управления появились на тяжелой технике — карьерных самосвалах. Произошло это в конце 30-х годов, перед войной. Правда, сначала стали использовать пневмоусилители — они были несложными и запитывались от компрессора уже существующих пневматических тормозов. Но гидравлика, хотя была сложнее и дороже пневматики, работала тише и точнее. На ней и остановились конструкторы легковых автомобилей.
Сначала — о самих рулевых механизмах, коих на автомобилях насчитывается три типа. Один из них, хорошо знакомый нам по классическим Жигулям, Москвичам и Волгам, носит неаппетитное название “червяк-сектор” или “червяк-ролик” из-за того, что его действие основано на использовании червячной шестеренчатой пары. Насаженный на конец рулевого вала глобоидальный червяк через зубчатый сектор или ролик поворачивает рулевую сошку, а та тянет вправо-влево тяги рулевой трапеции.
Такой механизм практически сошел со сцены, уступив место в рулевых приводах грузовых и легковых автомобилей классической компоновки более сложным устройствам. Полное их название – “винт-шариковая гайка-рейка-сектор”. Винт, которым оканчивается рулевой вал, через циркулирующие по резьбе шарики толкает вдоль своей оси поршень-рейку.
Но с середины 70-х годов, с распространением на легковых автомобилях переднего привода, стал входить в моду древнейший тип рулевого механизма – “шестерня-рейка” или попросту реечный. Да-да, именно древнейший – ведь на самых первых автомобилях конца 19 столетия для поворота управляемых колес уже использовалось это простейшее сочетание шестерни на рулевом валу и зубчатой рейки в поворотном механизме! Не забывали о нем конструкторы и в середине 20 века – например, реечными механизмами снабжались автомобили BMW 30-х годов. А потом выяснилось, что механизм шестерня-рейка, будучи легче и технологичнее других механизмов, идеально подходит для переднеприводной компоновки и подвески McPherson, обеспечивая большую легкость и точность рулевого управления. И теперь подавляющее большинство механизмов на легковых автомобилях (в том числе и классической компоновки)- реечные. А грузовые машины, пикапы и большие внедорожники в основном по-прежнему довольствуются устройствами с винтом и гайкой на рециркулирующих шариках.
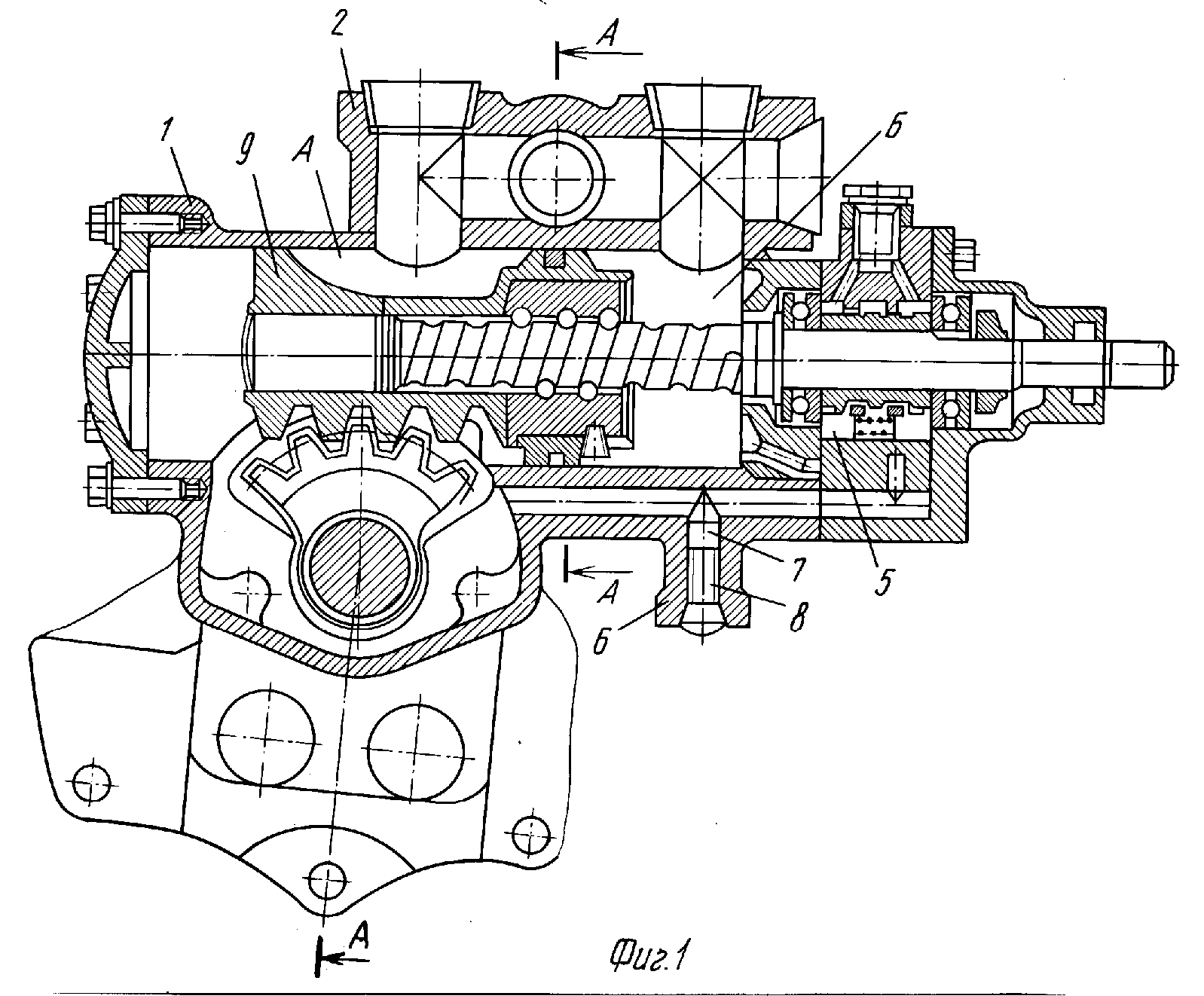
| Рулевой механизм типа червяк—ролик. 1 — глобоидальный червяк; 2 — двухгребневый ролик; 3 — вал сошки; 4 — регулировочный винт | На всякий хитрый винт найдется своя шариковая гайка (рулевой механизм ZF типа винт—шариковая гайка—рейка—сектор с гидроусилителем). 1 — распределитель; 2 — винт; 3 — шарики с трубкой рециркуляции; 4 — поршень-рейка; 5 — зубчатый сектор; 6 — вал сошки; 7 — ограничительный клапан |
Гидроусилитель руля – ГУР
Исполнительный механизм гидроусилителя легкового автомобиля, как правило, выполнен заодно с рулевым механизмом – такие усилители называются интегральными. В качестве рабочей жидкости в гидроусилителях иномарок используется масло ATF- то же, что и в автоматических коробках передач.
А отечественные агрегаты работают на масле марки Р, по своим свойствам близком к обычной “веретенке”.
Реечный рулевой механизм с гидроусилителем. Если рулевые тяги, как здесь, располагаются по бокам рейки, то поршень размещается посередине корпуса. А если тяги крепятся к центральной части рейки, как это сделано на Самарах и Москвиче-2141, то поршень выносят вбок.
1 — рулевая рейка; 2 — поршень; 3 — сальники; 4 — шарниры рулевых тяг; 5 — распределитель с золотником; 6 — шестерня; 7 — торсион; 8 — роторный гидронасос
Водитель поворачивает руль, колеса сопротивляются – торсион закручивается тем сильнее, чем больше усилие на руле. Золотник открывает каналы и направляет масло в исполнительное устройство. В механизме типа “винт-шариковая гайка” большее давление подается или за поршень, или до него, помогая тому перемещаться вдоль рулевого вала. А в реечном механизме масло подается в корпус рейки — в ту или иную сторону от поршня, связанного с рейкой, и подталкивает ее вправо или влево. Когда баранка уже повернута до упора, срабатывают предохранительные клапаны, сбрасывая давление масла и сохраняя детали механизма от повреждения. Поможет электроника
Неоспоримое преимущество рулевого усилителя – облегчение работы рук при парковочных маневрах, когда приходится совершать много оборотов баранки при максимальном усилии, или в затяжных поворотах. Но усилитель обладает еще одним полезным свойством – он ослабляет передачу на руль ударов от неровностей дороги.
А недостатки? Владельцы автомобилей с ГУР часто жалуются на отсутствие или нехватку реактивного усилия на руле.
Увы, в этом чаще всего виноват гидроусилитель – он слишком активно помогает водителю, оказывая тому еще и медвежью услугу, убирая ту толику возвращающего усилия, которая и обеспечивает “чувство автомобиля”. И задача конструкторов при разработке и настройке ходовой части оказывается чертовски сложной. Ведь чтобы добиться хорошей информативности рулевого привода и одновременно не сделать баранку слишком тугой, нужно увязать воедино массу факторов: производительность насоса, параметры золотника и жесткость торсиона, геометрию передней подвески и углы установки колес (от этого в первую очередь зависит величина возвращающего усилия), параметры задней подвески, уводные характеристики шин и даже жесткость кузова на скручивание! Поэтому немудрено, что безупречные с этой точки зрения автомобили (например, Peugeot 405, 306 или BMW 3-й серии) попадаются очень и очень редко. Впрочем, многие фирмы специально жертвуют информативностью в пользу комфорта, зная привязанности своей клиентуры.
Еще одна задача, которая стоит перед конструкторами, – сделать так, чтобы на маленькой скорости руль был легким, а на большом ходу становился более упругим и информативным.
А в немецких гидроусилителях ZF Servotronic, которые стоят на машинах Audi A6 и A8, BMW 5-й и 7-й серий и всех моделях Jaguar, на помощь золотнику приходит электрогидравлический модулятор давления – с ростом скорости по сигналу от управляющего блока он ограничивает давление в рабочем контуре, и помощь гидроусилителя сходит на нет. Существует еще один вариант решения – приводить насос гидроусилителя не от коленчатого вала двигателя, а от электромотора. Тогда, с помощью электроники изменяя частоту вращения электропривода, можно варьировать производительность насоса как угодно. Такая схема применяется в гидроусилителях автомобилей Mercedes-Benz А-класса. Правда, заманчивая идея на прямой вообще отключать насос, чтобы экономить топливо (на привод гидронасоса уходит несколько лошадиных сил), на практике неосуществима — при резком отклонении баранки давление не успеет возрасти так быстро, и руль может “закусить”.
Электроусилитель руля – ЭУР
Это электроусилители, в которых не осталось никакой гидравлики! На торсионе следящего устройства стоит датчик, и в зависимости от его сигнала электроника подает ток нужной полярности и силы на обмотки электромотора, связанного с рулевым механизмом через червячную передачу.
А по сигналам от датчика скорости можно изменять характеристику усилителя в соответствии с любой заложенной в память блока зависимостью. Преимущества электроусилителя налицо:
– независимость работы усилителя от оборотов двигателя автомобиля,
– информативность (самонастройка усилителя руля к скорости автомобиля),
– независимость работы усилителя руля от температурных перепадов,
– экономичность:
а) усилитель руля потребляет энергию только при вращении руля, в отличие от гидроусилителя, когда рабочая жидкость всегда гоняется по трубам, на что тратится дополнительная энергия.
б) Коэффициент полезного действия электродвигателя намного выше КПД гидронасоса.
– надежность (отсутствие шлангов, ремней, прокладок, сальников, жидкостей),
– не требует обслуживания (замены, доливки рабочей жидкости),
– на порядок выше симметричность руля (отсутствие разницы вращающего усилия в левом и правом вращениях руля)
| Вариант для автомобилей малого класса — усилитель встроен в рулевую колонку | Вариант для автомобилей среднего класса | Вариант для автомобилей большого класса и микроавтобусов — электропривод усилителя интегрирован с рулевой рейкой |
Электроусилитель ZF Servolectric в зависимости от полной массы и компоновки автомобиля может встраиваться в различные звенья рулевого управления.
1 — рулевая колонка; 2 — электроусилитель с червячной передачей и электронным блоком управления; 3 — промежуточный вал; 4 — реечный рулевой механизм; 5 — следящее устройство с торсионом; 6 — блок управления; 7 — электропривод с механизмом винт—шариковая гайка—рейка
Рулевой механизм с переменным отношением
А нельзя ли изменять еще и передаточное отношение? Ведь около нулевого положения баранки, когда едешь по прямой на высокой скорости, излишняя острота рулевого управления добра не приносит, заставляя водителя напрягаться. А при парковке или развороте, наоборот, хотелось бы иметь передаточное отношение поменьше — чтобы поворачивать руль на как можно меньший угол. Для этого существует несколько схем реечных рулевых механизмов.
Так работает реечный рулевой механизм ZF с переменным передаточным отношением. Здесь изменяются профиль зубьев рейки и плечо зацепления | Реечный рулевой механизм Honda VGR (Variable Gear Ratio — переменное передаточное отношение) использовался на автомобилях Honda NSX |
Фирма ZF использует зубья рейки с переменным профилем: в околонулевой зоне зубья треугольные, а ближе к краям — трапецеидальной формы. Шестерня входит с ними в зацепление с разным плечом, что и помогает немного изменить передаточное отношение. А другой, более сложный, вариант использовала Honda на своем суперкаре NSX – кстати, в сочетании с электроусилителем. Здесь зубья рейки и шестерни сделаны с переменными шагом, профилем и кривизной. Правда, шестерню приходится двигать вверх-вниз, но зато варьировать передаточное отношение можно в гораздо более широких пределах. Фирма Honda продемонстрировала и другой подход. Представьте себе две рейки, установленные коаксиально одна внутри другой и связанные через червячный привод с электромотором.
Одна рейка, как обычно, вращается шестерней рулевого вала, а другая связана с рулевыми тягами. По сигналу от управляющего блока электродвигатель подает ведомую рейку вправо или влево от ведущей – и колеса поворачиваются на больший угол.
по материалам http://amastercar.ru
ремонт гидроусилителя руля и полная замена насоса ГУРа по адекватным ценам в СПб
Главная
Ремонт авто
Mazda
Безупречный сервис рулевого механизма Мазда 3: ремонт гидроусилителя руля и замена насоса ГУРа
На большинстве автомобилей Мазда в качестве усилителя рулевого управления установлен электрический механизм. Он считается более современным, но не отличается такой надежностью, как давно уже ставший традиционным гидравлический.
Достоинства гидроусилителя руля или доступный для владельцев Мазда 3 ремонт ГУРа
Несмотря на то, что его устройство значительно более сложное, нежели у ЭУР, он обладает целым рядом преимуществ перед последним:
- Во-первых, в случае появления в нем неисправности, ГУР никогда не отказывает сразу полностью – его эффективность снижается постепенно, пока вовсе не сходит на нет;
- Во-вторых, даже полностью выйдя из строя, гидроусилитель не будет препятствовать вращению руля, в то время как с электрическим механизмом подобные «фокусы» возможны;
- Большинство поломок ГУРа так или иначе связаны с утечкой его рабочей жидкости, так что мастеру остается просто найти место разгерметизации рабочего контура системы и устранить течь;
- Конечно, гидравлический усилитель более громоздок, нежели электрический механизм, и состоит из большего количества компонентов.
Зато почти все они поддаются ремонту, а те, которые в процессе восстановления его работоспособности приходится менять, недороги и, главное, универсальны. Так что вовсе не обязательно устанавливать на машину дорогие запчасти оригинального производства. Поэтому от владельца Мазда 3 ремонт ГУРа не потребует больших затрат; - Да и вообще, такой усилитель существенно дешевле своего электрического коллеги.
Так что решение японских конструкторов установить на автомобиль Мазда 3, позиционирующийся как молодежный и спортивный, ГУР, который одновременно и создаст комфорт водителю, и обеспечит машине хорошую управляемость, и не подведет в пути, вполне объяснимо.
Устройство гидравлического усилителя рулевого механизма
Принцип работы этого механизма таков: при вращении водителем рулевого колеса, в рабочем контуре жидкости ГУРа открываются специальные шлюзы, через которые жидкость из бачка распределителя поступает в правую или левую полость гидравлического цилиндра – в зависимости от того, в какую сторону водитель вращает руль.
Тем самым создается повышенное давление, которое толкает поршень. А эта деталь, в свою очередь, толкает рулевую рейку.
ЗАМЕТКИ НА ПОЛЯХ. Хоть ГУР и участвует в процессе поворота колес автомобиля, считать его частью механизма рулевого управления было бы не совсем корректно, ведь он не осуществляет передачу вращательного движения колесам – он лишь снижает усилие, требуемое для этого. И еще один немаловажный момент: гидроусилитель, в отличие от электрического, не способен менять передаточное число между углом поворотов руля и колес. На авто, оснащенных этой функцией, устанавливается ЭУР.
Состоит гидравлический механизм усиления руля из следующих компонентов:
- Бачка рабочей жидкости. Из него она подается в правую или левую полости цилиндра, после чего, отработав, стекает обратно;
- Самой жидкости, представляющей собой то же моторное масло, только значительно менее вязкое;
- Насоса, посредством которого осуществляется циркуляция масла в устройстве.
Это обыкновенный лопастной механизм, приводящийся в движение посредством ременной передачи, соединяющий его шкив с коленчатым валом; - Механизма распределения, которые направляет жидкость в ту или иную полость цилиндра. Они на ГУРах мазд разных годов выпуска могут существенно разниться. Тем не менее, большинство из них взаимозаменяемы, а принцип их работы основан на использовании золотника, который, поворачиваясь одновременно с рулевым валом, открывает для тока жидкости правый или левый канал;
- Гидравлического цилиндра с двумя полостями;
- Соединительных шлангов (в большинстве своем пластиковых), резиновых сальников и прокладок, крепежных элементов.
Сервисный на Мазда 3 ремонт гидроусилителя руля: специфика процедуры
Конечно, нет такой детали в автомобиле, которая теоретически не могла бы сломаться. И ГУР не является исключением. Но, как показывает практика, чаще всего выходят из строя три его компонента: сальники, шланги и циркулирующая по ним жидкость.
Последняя вообще является расходным материалом, как и любое масло, заливаемое в двигатель, коробку передач и т.п. Таким образом, для Мазда 3 ремонт гидроусилителя руля в большинстве своем заключается именно в замене этих элементов. Что же касается жидкости, то залить в ГУР новую никогда не будет лишним, ведь в процессе работы она постепенно (хоть и не так быстро, как моторное масло, но все же) теряет свои свойства.
Главное в случае этой поломки – определить место протечки. Большинство специалистов решает эту проблему кардинально, меняя сразу все сальники. И в этом есть определенный смысл: эти детали изнашиваются одинаково, так что, если прохудился один, вскорости та же участь постигнет и остальные. Тем более, что стоят сальники недорого и продаются обычно комплектами.
Ремонт или для Мазда 3 замена насоса ГУРа на СТО — доверьте работу специалистам!
Более затратным может оказаться ремонт насоса ГУР Мазда 3. Во-первых, по причине более высокой стоимости его компонентов (если замена таковых потребуется).
Чаще всего это ременная передача, подшипники шкива этого устройства и крыльчатка. Признаком поломки агрегата станет появление шума, свиста или даже скрежета из-под капота при вращении руля.
ВНИМАНИЕ! К сожалению, не все насосы, которыми комплектуются маздовские ГУРы, подлежат ремонту. Все их можно разделить на две одинаковые по количеству группы: разборные и неразборные. Последние, как можно понять из их названия, отремонтировать невозможно. А потому единственный выход из ситуации – замена. Критерий, которым следует руководствоваться при выборе этого агрегата, – его габариты, дабы они позволили элементу без проблем занять свое штатное место.
На автомобилях Мазда 3 замена насоса ГУРа – процедура несложная, но имеющая свои тонкости. Так, большинство новичков, взявшись за эту работу самостоятельно, забывают перекрыть доступ жидкости к элементу, в результате чего та не просто вытекает (это-то не страшно), а вот одежду горе-ремонтника приходится потом нести в химчистку – такое масло не отстирывается никаким порошком.
И самое главное, прежде чем демонтировать старый насос, до него еще нужно добраться, что тоже требует определенных навыков.
Доверив же эту процедуру специалистам автосервиса, вы сэкономите и время, и нервы, и деньги. Потому как мастер поможет не только с установкой, но и с приобретением требуемого агрегата.
Greenlight Guru: QMS №1 для медицинских устройств
York Инициирован York Да НетMedTech, модернизированный.
Greenlight Guru — ведущий поставщик программного обеспечения и центр успеха для отрасли медицинского оборудования. Качество, скорость, эффективность, совершенство — мы устанавливаем новый стандарт.
All New
Решения для управления рисками
Расширенное управление рисками в сочетании с интеллектуальным анализом на основе искусственного интеллекта
Мы помогли более чем 1000 компаний MedTech улучшить свои системы, обеспечить соответствие требованиям и масштабировать:
Специально разработан для MedTech От характеристик к валидации.

Больше не нужно перепроверять соответствие, вручную обновлять формы, бороться с аудитами или уделять внимание качеству.
С Greenlight Guru вы получаете больше, чем программные инструменты. Вы получаете более плавный, быстрый и более совместный жизненный цикл продукта.
Кроме того, ваше программное обеспечение предварительно проверено на соответствие отраслевым требованиям и нормам.
Гуру Greenlight QMS
Переосмыслите возможности вашей системы управления качеством.
Обновите свою бумажную или универсальную систему управления качеством, чтобы вы могли отслеживать события качества, прослеживать элементы управления проектированием до рисков, обеспечивать соответствие и т. д. — и все это в облаке.
Управление процессами качества
Управление документооборотом
Управление проектированием
Управление рисками
Управление обучением
9 0004Шаблоны СОП
Ознакомьтесь с программным обеспечением QMS
SMART-TRIAL от Greenlight Guru
Более разумный способ сбора клинических данных и управления ими
Собирайте и управляйте всеми клиническими данными, данными о безопасности и эффективности в рамках
одного универсального набора инструментов.

eCRF: Индивидуальные формы отчетов о случаях
ePRO/eCOA: Сбор данных по SMS и электронной почте
Предварительно подтвержденные опросы PMCF
Сбор данных по конкретным случаям
9 0004Построитель трехэтапного исследования
Соответствие нормативным требованиям Шаблоны
Исследуйте SMART-TRIAL
Академия гуру GreenlightОбучение премиум-класса для специалистов в области медицинских технологий
Продвиньтесь по карьерной лестнице в области разработки продуктов, обеспечения качества и соблюдения нормативных требований с помощью Академии Greenlight Guru.
Получите мгновенный бесплатный доступ сегодня и начните учиться у самых успешных лидеров отрасли.
Откройте для себя Академию гуру GreenlightКомплексное руководство и поддержка
Изучите наши разнообразные ресурсы, созданные, чтобы помочь вам справиться с постоянно меняющимися сложностями соответствия и качества в отрасли медицинского оборудования.
Guru Services
Получите персональную поддержку 1:1 по программному обеспечению, нормативным требованиям, снижению рисков и бизнес-препятствиям.
Узнать больше
Партнеры
Наша партнерская сеть состоит из более чем 200 ведущих в отрасли поставщиков медицинских консультационных услуг и решений в области качества, регулирования, тестирования, проектирования и клинических исследований.
См. обзор партнеров
Валидация
Программные решения Greenlight Guru поставляются готовыми к проверке в соответствии с отраслевыми нормами и требованиями.
Узнать больше
Контрольные списки и шаблоны
Скачать бесплатно! Получите советы, контрольные списки и шаблоны, разработанные профессионалами в области медицинского оборудования.
Просмотрите каталог
Подкаст
Присоединяйтесь к более чем 720 000 слушателей, которые учатся у самых ярких умов MedTech.
Слушайте последний эпизод
Сообщество
Присоединяйтесь к обсуждению в нашем эксклюзивном сообществе, созданном для профессионалов MedTech.
Узнать больше
Веб-семинары
Бесплатные образовательные веб-семинары с участием экспертов отрасли по широкому кругу тем в области медицинских технологий.
Просмотр вебинаров
Блог
Наш самый большой каталог руководств, советов и лучших практик. Постоянно обновляется, заходите почаще!
Просмотреть блог
Guru Services
Partners
Получите индивидуальную поддержку по программному обеспечению, нормативным требованиям, снижению рисков и бизнес-препятствиям.
Узнать больше
Наша партнерская сеть состоит из более чем 200 ведущих в отрасли поставщиков консультационных и консультационных услуг и решений MedTech в области качества, регулирования, тестирования, проектирования и клинических исследований.
См. обзор партнеров
Проверка
Контрольные списки и шаблоны
Программные решения Greenlight Guru поставляются готовыми к проверке в соответствии с отраслевыми нормами и требованиями.
Узнать больше
Скачать бесплатно! Получите советы, контрольные списки и шаблоны, разработанные профессионалами в области медицинского оборудования.
Просмотрите каталог
Подкаст
Сообщество
Присоединяйтесь к более чем 720 000 слушателей, которые учатся у самых ярких умов MedTech.
Слушайте последний эпизод
Присоединяйтесь к обсуждению в нашем эксклюзивном сообществе, созданном для профессионалов MedTech.
Узнать больше
Вебинары
Блог
Бесплатные образовательные вебинары с участием экспертов отрасли по широкому кругу тем MedTech.
Просмотрите вебинары
Наш самый большой каталог руководств, советов и лучших практик. Постоянно обновляется, заходите почаще!
Просмотреть блог
Наши клиенты говорят, что это лучше всего
Создание СМК Greenlight Guru сыграл важную роль в том, чтобы помочь нам эффективно ориентироваться в процессе Системы управления качеством и разработать наше представление FDA.
Райан Нолан Соучредитель / вице-президент по клиническим операциям, Photonicare
Впечатление аудиторовGreenlight Guru отличает нас от других стартапов. Наши аудиторы сказали нам: «Вау, вы на несколько шагов впереди всех».
Эми Папранек Вице-президент по клиническим операциям, Critical Care Diagnostics, Inc.
Более быстрые клинические испытанияSMART-TRIAL от Greenlight Guru помогает нам проводить более качественные и быстрые тесты. Это откроет новые возможности в том, как мы проводим тестирование в Oticon.
Джейкоб Андерс Руг Технический аудиолог, Oticon
Greenlight Guru сыграл важную роль в том, чтобы помочь нам эффективно ориентироваться в процессе системы управления качеством и разработать наше представление FDA.
Райан Нолан Соучредитель / вице-президент по клиническим операциям, Photonicare
Greenlight Guru отличает нас от других стартапов.
Наши аудиторы сказали нам: «Вау, вы на несколько шагов впереди всех».
Эми Папранек Вице-президент по клиническим операциям, Critical Care Diagnostics, Inc.
SMART-TRIAL от Greenlight Guru помогает нам проводить более качественные и быстрые тесты. Это откроет новые возможности в том, как мы проводим тестирование в Oticon.
Джейкоб Андерс Руг Технический аудиолог, Oticon
ГУР Швейный Супермаркет | Швейные машины | Галантерея | Ткани
ГУР Швейный супермаркет | Швейные машины | Галантерея | Ткани | Товары для рукоделияШвейный Супермаркет Гур
УДИВИТЕЛЬНЫЕ ПРЕДЛОЖЕНИЯ
Только в ГУР СУПЕРМАГАЗИН
СКИДКА ДО 50% 100 товаров
- Распродажа
- Специальные предложения
- Швейные машинки
Gur Sewing Superstore
ШАНС ПОЛУЧИТЬ БЕСПЛАТНЫЙ ПОДАРОК
ОТПРАВЬТЕ СВОЙ ПРЯМО СЕЙЧАС!
- ПОДЕЛИТЬСЯ
Gur Sewing Superstore
0% Беспроцентная
Доступные средства
Доступно для большинства товаров
- Узнать больше
Gur Sewing Superstore
Jaguar DQS 377
Шин
Machine
, в то время как акции прошли
- КУПИТЬ СЕЙЧАС
Гур Швейный Супермаркет
JAGUAR DQS 401
ШИТЬЕ
МАШИНА
ПОКА ЕСТЬ ЗАПАС
- КУПИТЬ СЕЙЧАС
Gur Sewing Superstore
JAGUAR 489
ОВЕРЛОКЕР
ПОКА ЕСТЬ АКЦИЯ
- КУПИТЬ СЕЙЧАС
Гур Швейный Супермаркет
JAGUAR DQS 403 QSE
ШВЕЙНАЯ
МАШИНА
ПОКА ЕСТЬ ЗАПАС
- 9023 0
КУПИТЬ СЕЙЧАС
Gur Sewing Superstore
JANOME 8002DG
ОВЕРЛОКЕР
МАШИНА
ПОКА ЕСТЬ ЗАПАС
- КУПИТЬ СЕЙЧАС
Гур Швейный Супермаркет
JANOME 230DC
ШВЕЙНАЯ
МАШИНА
ПОКА ЕСТЬ ЗАПАС
- КУПИТЬ СЕЙЧАС
СПЕЦИАЛЬНЫЕ ПРЕДЛОЖЕНИЯ НА ЭТОЙ НЕДЕЛЕ
КАЧЕСТВЕННЫЕ ШВЕЙНЫЕ МАШИНЫ
Добро пожаловать в GUR Sewing On-Line Superstore, ведущий интернет-магазин швейных машин и принадлежностей для швейных машин.
Имея более чем 30-летний опыт работы в швейной промышленности, мы не только являемся основными агентами крупных брендов, таких как Brother, Elna, Janome, Jaguar, Novum & Horn, но и обладаем покупательной способностью, которая позволяет нам экономить на наших клиентах и дать вам лучшие предложения в Интернете. GUR Sewing Superstore предлагает тысячи товаров, готовых к доставке к вашей двери.
МАРКИ ШВЕЙНЫХ МАШИН
СКИДКИ СКИДКИ ДО 50%
Швейная фурнитура
Запчасти и аксессуары
Наши счастливые клиенты
Прочитайте реальные отзывы довольных клиентов и расскажите, почему они делают покупки у нас.
ПРОЧИТАТЬ ВСЕ ОТЗЫВЫОпубликовано в GUR Швейные машины
Helen Maliska 27 июня 2023 г.
Это новаторский подход, с ним так легко работать, больше нет проблем с пяльцами.
GUR — отличная компания, с которой можно иметь дело от заказа до доставки на следующий день. Я очень рекомендую продукт и компанию.
Опубликовано ГУР Швейные Машины
Бет 02 Июня 2023
Ой какая машинка! Я люблю его за качество и простоту использования, а также за то, что он очень тихий! сервис от этой компании GUR также 5 * Я заказал это в четверг, получил его в пятницу, машина заработала через 30 минут, хочу, чтобы я купил ее раньше
Опубликовано в GUR Швейные машины
Мистер Грэм Джон Фишер 01 мая 2023 г.
Только что удивительная машина. Очень очень очень доволен.
Размещено на Швейные машины ГУР
Ширли Фриман от 04 апреля 2023
Быстрая доставка из ГУРов. Это хорошая, крепкая мебель для швейной машины, которую я купил для своего HD9. Простота сборки, гаечный ключ и шестигранный ключ прилагаются. Он предоставляет значительную площадь для поддержки ваших проектов.
Опубликовано в GUR Швейные машины
Аманда Джонс 25 марта 2023 г.
Я еще не пробовала использовать створчатую раму, но поиграла с ней. Я получил его, потому что мне нравится тот факт, что вы можете выполнять непрерывный квилтинг, не снимая одеяло с рамы или машины. Вам нужно использовать его с широким столом на вашей вышивальной машине из-за веса квилта. Обслуживание и доставка были превосходными, это второй товар, который я приобрел в GUR, и я очень доволен ими обоими
Опубликовано в GUR Швейные машины
Миссис Сьюзан Чаппелл 31 января 2023 г.
Я очень доволен как шкафом, так и обслуживанием водителя, хотя ему пришлось вынуть его из коробки, чтобы доставить через дверной проем, и перед отъездом он убедился, что она работает правильно по высоте, так как у него была неправильная вставка, но она собиралась разместить ее прямо, и он сказал мне, куда ее положить, когда она прибудет
. Январь 2023
Я был немного разочарован тем, что доставка товара заняла больше времени, чем ожидалось, но ожидание того стоило.

Здесь изменяются профиль зубьев рейки и плечо зацепления
Зато почти все они поддаются ремонту, а те, которые в процессе восстановления его работоспособности приходится менять, недороги и, главное, универсальны. Так что вовсе не обязательно устанавливать на машину дорогие запчасти оригинального производства. Поэтому от владельца Мазда 3 ремонт ГУРа не потребует больших затрат;
Это обыкновенный лопастной механизм, приводящийся в движение посредством ременной передачи, соединяющий его шкив с коленчатым валом;