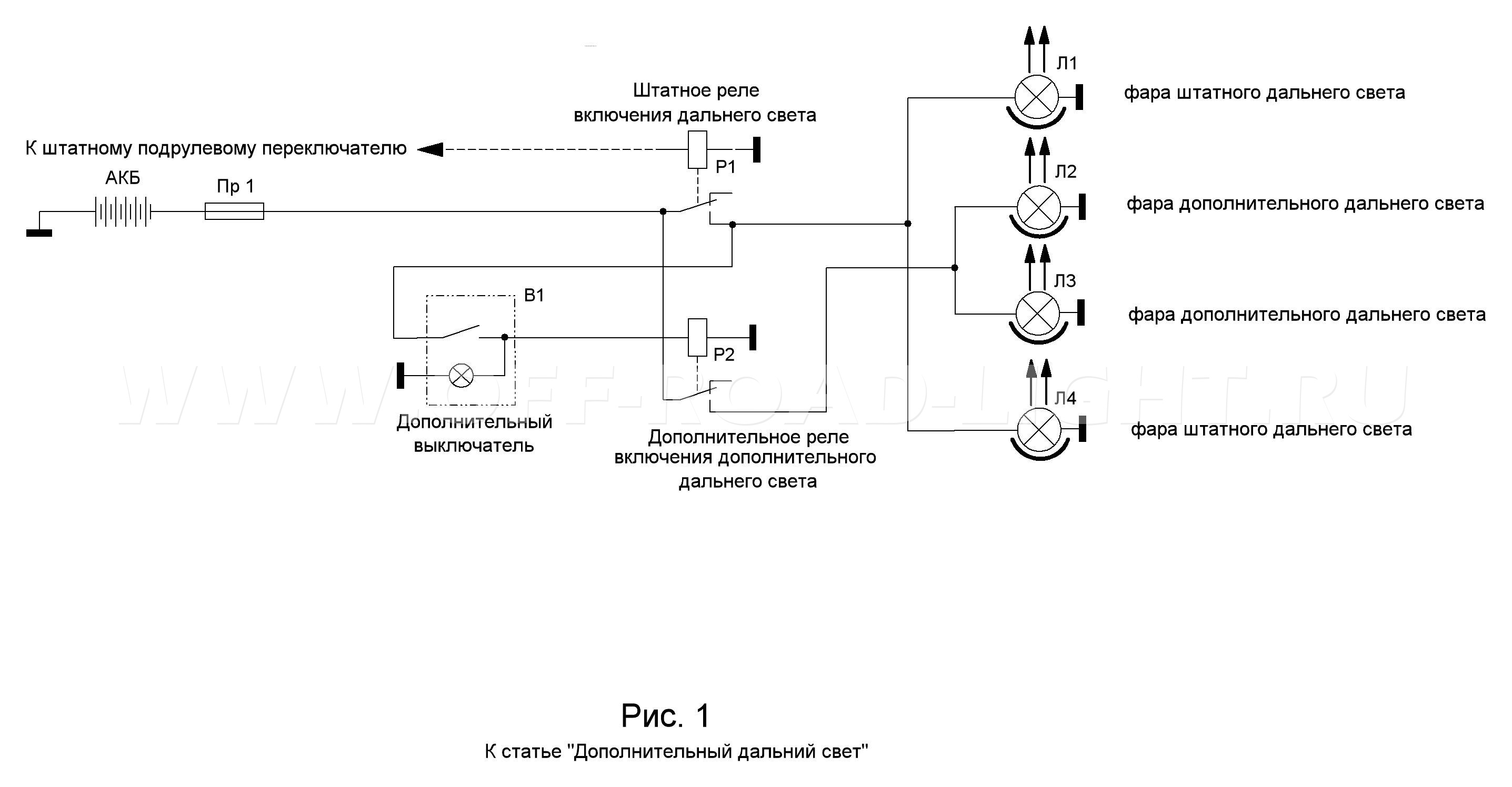
Π£ΡΡΠ°Π½ΠΎΠ²ΠΊΠ° Π΄ΠΎΠΏ.ΡΠ²Π΅ΡΠΎΠ²ΠΎΠ³ΠΎ ΠΎΠ±ΠΎΡΡΠ΄ΠΎΠ²Π°Π½ΠΈΡ
Π’ΡΠ½ΠΈΠ½Π³ ΡΠ°Ρ ΠΈ ΠΎΠΏΡΠΈΠΊΠΈ Π°Π²ΡΠΎΠΌΠΎΠ±ΠΈΠ»Ρ
ΠΠ΅ ΡΡΡΡΠ°ΠΈΠ²Π°Π΅Ρ ΡΠ²Π΅Ρ ΡΠ°Ρ Π² Π°Π²ΡΠΎΠΌΠΎΠ±ΠΈΠ»Π΅? Π₯ΠΎΡΠΈΡΠ΅ ΠΏΡΠΎΠΈΠ·Π²Π΅ΡΡΠΈ Π·Π°ΠΌΠ΅Π½Ρ ΡΡΡΠ°ΡΠ΅Π²ΡΠΈΡ ΡΠ²Π΅ΡΠΎΠ²ΡΡ ΠΏΡΠΈΠ±ΠΎΡΠΎΠ²? ΠΠ»ΠΈ ΡΠ΅ΡΠΈΠ»ΠΈ Π²ΡΠ΄Π΅Π»ΠΈΡΡΡΡ ΡΡΠ΅Π΄ΠΈ Π΄ΡΡΠ³ΠΈΡ Π°Π²ΡΠΎΠΌΠΎΠ±ΠΈΠ»ΠΈΡΡΠΎΠ² Ρ ΠΏΠΎΠΌΠΎΡΡΡ ΡΡΠΊΠΎΠΉ ΠΏΠΎΠ΄ΡΠ²Π΅ΡΠΊΠΈ? Π’ΡΠ½ΠΈΠ½Π³ ΡΠ²Π΅ΡΠ° ΡΠΆΠ΅ Π΄Π°Π²Π½ΠΎ ΡΡΠ°Π» ΡΠ΅ΠΌ-ΡΠΎ ΠΏΡΠΎΡΡΡΠΌ ΠΈ Π΄ΠΎΡΡΡΠΏΠ½ΡΠΌ, Π³Π»Π°Π²Π½ΠΎΠ΅ ΠΎΠΏΡΠ΅Π΄Π΅Π»ΠΈΡΡΡΡ β ΡΡΠΎ ΠΈΠΌΠ΅Π½Π½ΠΎ ΠΈ Π³Π΄Π΅ Π΄Π΅Π»Π°ΡΡ.
ΠΠ°ΡΠ½Π΅ΠΌ Ρ ΠΏΡΠ°Π²ΠΎΠ²ΠΎΠ³ΠΎ Π°ΡΠΏΠ΅ΠΊΡΠ°. ΠΠ°ΠΆΠ½ΠΎ ΠΏΠΎΠΌΠ½ΠΈΡΡ, Π»ΡΠ±Π°Ρ, Π΄Π°ΠΆΠ΅ ΡΠ°ΠΌΠ°Ρ Π½Π΅Π·Π½Π°ΡΠΈΡΠ΅Π»ΡΠ½Π°Ρ Π½Π° ΠΏΠ΅ΡΠ²ΡΠΉ Π²Π·Π³Π»ΡΠ΄ ΠΌΠΎΠ΄ΠΈΡΠΈΠΊΠ°ΡΠΈΡ ΡΠ²Π΅ΡΠΎΠ²ΠΎΠΉ ΠΎΠΏΡΠΈΠΊΠΈ Π°Π²ΡΠΎΠΌΠΎΠ±ΠΈΠ»Ρ Π΄ΠΎΠ»ΠΆΠ½Π° ΠΏΡΠ΅ΠΆΠ΄Π΅ Π²ΡΠ΅Π³ΠΎ ΡΠΎΠΎΡΠ²Π΅ΡΡΡΠ²ΠΎΠ²Π°ΡΡ ΡΠ΅ΠΊΡΡΠ΅ΠΌΡ Π·Π°ΠΊΠΎΠ½ΠΎΠ΄Π°ΡΠ΅Π»ΡΡΡΠ²Ρ.
ΠΠ° ΡΠΏΡΠ°Π²Π»Π΅Π½ΠΈΠ΅ Π°Π²ΡΠΎΠΌΠΎΠ±ΠΈΠ»Π΅ΠΌ Ρ Π½Π΅ΡΡΠ°Π½Π΄Π°ΡΡΠ½ΡΠΌΠΈ ΡΠ²Π΅ΡΠΎΠ²ΡΠΌΠΈ ΠΏΡΠΈΠ±ΠΎΡΠ°ΠΌΠΈ ΡΡ. 12.5 ΠΠΎΠΠ Π Π€ ΠΏΡΠ΅Π΄ΡΡΠΌΠ°ΡΡΠΈΠ²Π°Π΅Ρ Π»ΠΈΡΠ΅Π½ΠΈΠ΅ ΠΏΡΠ°Π² Π½Π° ΡΡΠΎΠΊ ΠΎΡ 6 Π΄ΠΎ 12 ΠΌΠ΅ΡΡΡΠ΅Π².
ΠΡΠ΅Π½ΠΎΠ½
ΠΠ°ΡΠ½Π΅ΠΌ, ΠΏΠΎΠΆΠ°Π»ΡΠΉ, Ρ ΡΡΡΠ°Π½ΠΎΠ²ΠΊΠΈ ΠΊΡΠ΅Π½ΠΎΠ½Π°. ΠΡΠΎ ΡΠ°ΠΌΡΠΉ ΠΏΡΠΎΡΡΠΎΠΉ ΠΈ ΡΠ°ΡΠΏΡΠΎΡΡΡΠ°Π½Π΅Π½Π½ΡΠΉ Π²Π°ΡΠΈΠ°Π½Ρ ΡΡΠ½ΠΈΠ½Π³Π° β Π·Π°ΠΌΠ΅Π½Π° ΡΡΠ°Π΄ΠΈΡΠΈΠΎΠ½Π½ΠΎΠ³ΠΎ ΠΈΡΡΠΎΡΠ½ΠΈΠΊΠ° Π³ΠΎΠ»ΠΎΠ²Π½ΠΎΠ³ΠΎ ΡΠ²Π΅ΡΠ°.
Π£ΡΡΠ°Π½ΠΎΠ²ΠΊΠ° ΠΊΡΠ΅Π½ΠΎΠ½Π° Π½Π° Π°Π²ΡΠΎΠΌΠΎΠ±ΠΈΠ»Ρ ΠΏΠΎΠ·Π²ΠΎΠ»ΡΠ΅Ρ ΡΠ»ΡΡΡΠΈΡΡ Π·Π°Π²ΠΎΠ΄ΡΠΊΠΎΠ΅ ΠΎΡΠ²Π΅ΡΠ΅Π½ΠΈΠ΅, ΠΊΠΎΡΠΎΡΠΎΠ΅ Π½Π΅ Π²ΡΠ΅Π³Π΄Π° Π΄Π°Π΅Ρ Ρ
ΠΎΡΠΎΡΡΡ Π²ΠΈΠ΄ΠΈΠΌΠΎΡΡΡ Π² ΡΠ΅ΠΌΠ½ΠΎΠ΅ Π²ΡΠ΅ΠΌΡ ΡΡΡΠΎΠΊ.
Π‘ ΠΊΡΠ΅Π½ΠΎΠ½ΠΎΠ²ΡΠΌΠΈ ΡΠ°ΡΠ°ΠΌΠΈ ΠΆΠ΅ Π°Π²ΡΠΎΠΌΠΎΠ±ΠΈΠ»Ρ ΠΏΠΎΠ»ΡΡΠ°Π΅Ρ ΠΌΠΎΡΠ½ΡΠ΅ ΠΈΡΡΠΎΡΠ½ΠΈΠΊΠΈ ΠΎΡΠ²Π΅ΡΠ΅Π½ΠΈΡ, ΠΏΠΎΠ²ΡΡΠ°ΡΡΠΈΠ΅ Π²ΠΈΠ΄ΠΈΠΌΠΎΡΡΡ Π² Π½Π΅ΡΠΊΠΎΠ»ΡΠΊΠΎ ΡΠ°Π·.
Π ΡΠ΅ΠΌ ΠΏΠΎΠ΄Π²ΠΎΡ ?
ΠΡΠ΅ΠΆΠ΄Π΅ ΡΠ΅ΠΌ ΡΡΡΠ°Π½ΠΎΠ²ΠΈΡΡ ΠΊΡΠ΅Π½ΠΎΠ½ΠΎΠ²ΡΠ΅ Π»Π°ΠΌΠΏΡ, ΡΠ»Π΅Π΄ΡΠ΅Ρ ΡΠ±Π΅Π΄ΠΈΡΡΡΡ, ΡΡΠΎ ΠΎΠ½ΠΈ ΠΏΠΎΠ΄Ρ ΠΎΠ΄ΡΡ ΠΊ ΠΊΠΎΠ½ΠΊΡΠ΅ΡΠ½ΠΎΠΌΡ ΡΠΈΠΏΡ ΡΠ°Ρ. ΠΠ°ΠΌΠ΅Π½ΡΡΡΠΈΠ΅ ΠΊΡΠ΅Π½ΠΎΠ½ΠΎΠ²ΡΠ΅ Π»Π°ΠΌΠΏΠΎΡΠΊΠΈ Π΄ΠΎΠ»ΠΆΠ½Ρ ΠΈΠΌΠ΅ΡΡ ΡΡ ΠΆΠ΅ ΠΌΠΎΡΠ½ΠΎΡΡΡ, ΡΡΠΎ ΠΈ Π·Π°Π²ΠΎΠ΄ΡΠΊΠΈΠ΅. Π ΠΏΡΠΈΠΌΠ΅Π½ΡΡΡ ΠΈΡ ΡΠ»Π΅Π΄ΡΠ΅Ρ ΡΠΎΠ»ΡΠΊΠΎ Π² ΡΠ°ΡΠ°Ρ , ΡΡΠ΅ΠΊΠ»Π° ΠΊΠΎΡΠΎΡΡΡ Π½Π΅ ΠΈΠΌΠ΅ΡΡ ΡΠ°ΡΡΠ΅ΠΈΠ²Π°ΡΠ΅Π»Π΅ΠΉ ΠΈ ΡΠ΅Π±Π΅Ρ (ΠΈΠ½Π°ΡΠ΅ ΡΠ²Π΅Ρ Π±ΡΠ΄Π΅Ρ ΠΏΡΠ΅Π»ΠΎΠΌΠ»ΡΡΡΡΡ).
ΠΠΏΡΠ΅Π΄Π΅Π»ΠΈΡΡ Π·Π°ΠΊΠΎΠ½Π½ΠΎΡΡΡ ΠΊΡΠ΅Π½ΠΎΠ½Π° ΠΏΡΠΎΡΡΠΎ β Π΅ΡΠ»ΠΈ Π½Π° ΡΠ°ΡΠ΅ ΡΡΠΎΠΈΡ ΠΌΠ°ΡΠΊΠΈΡΠΎΠ²ΠΊΠ°, Π½Π°ΡΠΈΠ½Π°ΡΡΠ°ΡΡΡ Ρ Π±ΡΠΊΠ²Ρ Β«DΒ» — ΡΡΠΎ ΡΠ°ΡΠ° Π΄Π»Ρ ΠΊΡΠ΅Π½ΠΎΠ½Π°, Π΅ΡΠ»ΠΈ Ρ Β«HΒ» — Π΄Π»Ρ Π³Π°Π»ΠΎΠ³Π΅Π½Π°. Π Π°ΡΡΠ΅ΠΈΠ²Π°Π½ΠΈΠ΅ ΡΠ²Π΅ΡΠ° Ρ Π»Π°ΠΌΠΏ ΡΠ°Π·Π½ΠΎΠ³ΠΎ ΡΠΈΠΏΠ° ΠΎΡΠ»ΠΈΡΠ°Π΅ΡΡΡ, ΠΈ ΡΠ°ΡΠ° ΠΈΠ·Π½Π°ΡΠ°Π»ΡΠ½ΠΎ Π΄ΠΎΠ»ΠΆΠ½Π° Π±ΡΡΡ ΡΠΊΠΎΠ½ΡΡΡΡΠΈΡΠΎΠ²Π°Π½Π½ΠΎΠΉ ΠΈΠΌΠ΅Π½Π½ΠΎ Π΄Π»Ρ ΡΠ°ΠΊΠΎΠ³ΠΎ ΡΠΈΠΏΠ° ΡΠ²Π΅ΡΠ°.
ΠΠΎΠΏΠΎΠ»Π½ΠΈΡΠ΅Π»ΡΠ½ΡΠ΅ ΡΠ°ΡΡ
ΠΡΠ»ΠΈ Π½Π΅Π»ΡΠ·Ρ Π·Π°ΠΊΠΎΠ½Π½ΠΎ ΡΠ»ΡΡΡΠΈΡΡ ΡΠ²Π΅Ρ ΠΊΠ°ΡΠ΅ΡΡΠ²ΠΎΠΌ, ΡΠΎ ΠΌΠΎΠΆΠ΅Ρ ΠΌΠΎΠΆΠ½ΠΎ ΠΊΠΎΠ»ΠΈΡΠ΅ΡΡΠ²ΠΎΠΌ β ΡΡΡΠ°Π½ΠΎΠ²ΠΈΠ² Π΄ΠΎΠΏΠΎΠ»Π½ΠΈΡΠ΅Π»ΡΠ½ΡΠ΅ ΡΠ°ΡΡ?
Π§ΡΠΎ ΠΏΠΎ ΡΡΠ°Π½Π΄Π°ΡΡΠ°ΠΌ? Π‘ΡΠΈΡΠ°Π΅ΠΌ Π²ΠΌΠ΅ΡΡΠ΅. ΠΠΠ‘Π’ ΡΠ°Π·ΡΠ΅ΡΠ°Π΅Ρ ΠΈΠΌΠ΅ΡΡ Π² Π°Π²ΡΠΎΠΌΠΎΠ±ΠΈΠ»Π΅ 2 ΡΠ°ΡΡ Π±Π»ΠΈΠΆΠ½Π΅Π³ΠΎ ΡΠ²Π΅ΡΠ°, 2 ΠΈΠ»ΠΈ 4 ΡΠ°ΡΡ Π΄Π°Π»ΡΠ½Π΅Π³ΠΎ ΡΠ²Π΅ΡΠ°, 2 ΠΏΡΠΎΡΠΈΠ²ΠΎΡΡΠΌΠ°Π½Π½ΡΠ΅ ΡΠ°ΡΡ ΠΈ ΠΠ₯Π (Ρ
ΠΎΠ΄ΠΎΠ²ΡΡ
ΠΎΠ³Π½Π΅ΠΉ).
ΠΡΠ»ΠΈ Ρ Π²Π°Ρ Ρ Π·Π°Π²ΠΎΠ΄Π° Π½Π΅ ΠΏΠΎΠ»Π½ΡΠΉ ΠΊΠΎΠΌΠΏΠ»Π΅ΠΊΡ, ΡΠΎ Π½Π΅Π΄ΠΎΡΡΠ°ΡΡΠ΅Π΅ ΠΌΠΎΠΆΠ½ΠΎ ΡΡΡΠ°Π½ΠΎΠ²ΠΈΡΡ ΡΠ°ΠΌΠΎΡΡΠΎΡΡΠ΅Π»ΡΠ½ΠΎ. Β ΠΡΠ»ΠΈ Π°Π²ΡΠΎΠΌΠΎΠ±ΠΈΠ»Ρ ΡΠ΅ΡΡΠΈΡΠΈΡΠΈΡΠΎΠ²Π°Π½ Π΄Π»Ρ ΠΈΡΠΏΠΎΠ»ΡΠ·ΠΎΠ²Π°Π½ΠΈΡ Π΄ΠΎΠΏΠΎΠ»Π½ΠΈΡΠ΅Π»ΡΠ½ΡΡ
ΡΠ²Π΅ΡΠΎΠ²ΡΡ
ΠΏΡΠΈΠ±ΠΎΡΠΎΠ², ΡΠΎ ΡΠ΅Π³ΠΈΡΡΡΠΈΡΠΎΠ²Π°ΡΡ ΡΠ°ΠΊΡΡ ΠΏΠ΅ΡΠ΅Π΄Π΅Π»ΠΊΡ Π½Π΅ Π½ΡΠΆΠ½ΠΎ.Β
Π‘ΡΡΠ΅ΡΡΠ²ΡΡΡ ΠΎΠ±ΡΠΈΠ΅ ΡΡΠ΅Π±ΠΎΠ²Π°Π½ΠΈΡ β ΠΏΡΠΎΡΠΈΠ²ΠΎΡΡΠΌΠ°Π½ΠΊΠΈ Π½Π΅ Π΄ΠΎΠ»ΠΆΠ½Ρ ΡΡΠΎΡΡΡ Π²ΡΡΠ΅ ΡΠ°Ρ Π±Π»ΠΈΠΆΠ½Π΅Π³ΠΎ ΡΠ²Π΅ΡΠ°, ΡΠ°ΡΡ Π΄Π°Π»ΡΠ½Π΅Π³ΠΎ ΡΠ²Π΅ΡΠ° Π½Π΅ Π΄ΠΎΠ»ΠΆΠ½Ρ ΡΡΠΎΡΡΡ ΡΠΈΡΠ΅ ΡΠ°Ρ Π±Π»ΠΈΠΆΠ½Π΅Π³ΠΎ ΡΠ²Π΅ΡΠ° ΠΈ ΡΠ°ΠΊ Π΄Π°Π»Π΅Π΅. Π‘Π°ΠΌΠΎΠ΅ Π³Π»Π°Π²Π½ΠΎΠ΅ ΡΡΠ΅Π±ΠΎΠ²Π°Π½ΠΈΠ΅ β Π²ΡΠ΅, ΡΡΠΎ ΡΠ²Π΅ΡΠΈΡ Π²ΠΏΠ΅ΡΠ΅Π΄, Π΄ΠΎΠ»ΠΆΠ½ΠΎ ΡΠ²Π΅ΡΠΈΡΡ Π±Π΅Π»ΡΠΌ, Π»ΠΈΠ±ΠΎ, Π² ΠΊΠ°ΡΠ΅ΡΡΠ²Π΅ ΠΈΡΠΊΠ»ΡΡΠ΅Π½ΠΈΡ, ΠΆΠ΅Π»ΡΡΠΌ ΡΠ²Π΅ΡΠΎΠΌ.
ΠΠ½ΠΎΠ΅ Π΄Π΅Π»ΠΎ Π΅ΡΠ»ΠΈ ΠΎΠ±ΠΎΡΡΠ΄ΠΎΠ²Π°Π½ΠΈΠ΅ Π½Π΅ ΠΏΡΠ΅Π΄ΡΡΠΌΠΎΡΡΠ΅Π½ΠΎ Ρ Π·Π°Π²ΠΎΠ΄Π°. ΠΡΠ»ΠΈ ΡΡΠ½ΠΈΠ½Π³ ΡΠ²Π΅ΡΠ° ΡΠΎΠΎΡΠ²Π΅ΡΡΡΠ²ΡΠ΅Ρ ΠΠΠ‘Π’Ρ, ΡΠΎ Π΅Π³ΠΎ ΡΡΡΠ°Π½ΠΎΠ²ΠΊΠ° ΡΠ°Π·ΡΠ΅ΡΠ΅Π½Π°, Π½ΠΎ ΡΡΠ΅Π±ΡΠ΅Ρ ΡΠ΅Π³ΠΈΡΡΡΠ°ΡΠΈΠΈ Π² ΠΠΠΠΠ, Π²Π΅Π΄Ρ Ρ ΡΠΎΡΠΊΠΈ Π·ΡΠ΅Π½ΠΈΡ Π·Π°ΠΊΠΎΠ½Π° Π² ΠΊΠΎΠ½ΡΡΡΡΠΊΡΠΈΡ Π°Π²ΡΠΎΠΌΠΎΠ±ΠΈΠ»Ρ Π²Π½Π΅ΡΠ΅Π½Ρ ΠΈΠ·ΠΌΠ΅Π½Π΅Π½ΠΈΡ.Β
ΠΡΠΎΡΠΈΠ²ΠΎΡΡΠΌΠ°Π½ΠΊΠΈ.
Π£ ΡΡΡΠ°Π½ΠΎΠ²ΠΊΠΈ ΠΏΡΠΎΡΠΈΠ²ΠΎΡΡΠΌΠ°Π½Π½ΡΡ
ΡΠ°Ρ Π΅ΡΡΡ Π½Π΅ΡΠΊΠΎΠ»ΡΠΊΠΎ ΠΎΠ³ΡΠ°Π½ΠΈΡΠ΅Π½ΠΈΠΉ. ΠΠ° Π»Π΅Π³ΠΊΠΎΠ²ΡΠ΅ ΠΌΠ°ΡΠΈΠ½Ρ Π΄ΠΎΠΏΡΡΠΊΠ°Π΅ΡΡΡ ΠΌΠΎΠ½ΡΠ°ΠΆ ΠΏΡΠΎΡΠΈΠ²ΠΎΡΡΠΌΠ°Π½ΠΎΠΊ Π² ΠΊΠΎΠ»ΠΈΡΠ΅ΡΡΠ²Π΅ Π½Π΅ Π±ΠΎΠ»Π΅Π΅ Π΄Π²ΡΡ
ΡΡΡΠΊ, Ρ ΡΠ°ΡΡΠ΅ΠΈΠ²Π°ΡΠ΅Π»ΡΠΌΠΈ ΠΆΠ΅Π»ΡΠΎΠ³ΠΎ ΠΈΠ»ΠΈ Π±Π΅Π»ΠΎΠ³ΠΎ ΡΠ²Π΅ΡΠ°. ΠΠΎΠΏΠΎΠ»Π½ΠΈΡΠ΅Π»ΡΠ½ΡΠ΅ ΡΠ°ΡΡ Π΄ΠΎΠ»ΠΆΠ½Ρ ΡΠ°ΡΠΏΠΎΠ»Π°Π³Π°ΡΡΡΡ ΡΠΈΠΌΠΌΠ΅ΡΡΠΈΡΠ½ΠΎ ΠΎΡ ΠΏΡΠΎΠ΄ΠΎΠ»ΡΠ½ΠΎΠΉ ΠΎΡΠΈ.
Π Π°ΡΡΡΠΎΡΠ½ΠΈΠ΅ ΠΎΡ ΠΏΠ»ΠΎΡΠΊΠΎΡΡΠΈ Π±ΠΎΠΊΠΎΠ²ΠΎΠ³ΠΎ Π³Π°Π±Π°ΡΠΈΡΠ° Π½Π΅ Π΄ΠΎΠ»ΠΆΠ½ΠΎ ΠΏΡΠ΅Π²ΡΡΠ°ΡΡ 40 ΡΠΌ (ΠΏΠΎ Π²Π½Π΅ΡΠ½Π΅ΠΉ ΠΊΠΎΡΠΌΠ΅ ΡΠ°ΡΡ). ΠΡΠ½ΠΎΡΠΈΡΠ΅Π»ΡΠ½ΠΎ ΡΡΠΎΠ²Π½Ρ Π΄ΠΎΡΠΎΠΆΠ½ΠΎΠ³ΠΎ ΠΏΠΎΠΊΡΡΡΠΈΡ, ΠΎΡΠ²Π΅ΡΠΈΡΠ΅Π»ΡΠ½ΡΠ΅ ΡΠ»Π΅ΠΌΠ΅Π½ΡΡ ΠΌΠΎΠ³ΡΡ ΡΡΡΠ°Π½Π°Π²Π»ΠΈΠ²Π°ΡΡΡΡ Π½Π΅ Π½ΠΈΠΆΠ΅ 25 ΡΠΌ (ΠΏΠΎ Π½ΠΈΠΆΠ½Π΅ΠΌΡ ΠΊΡΠ°Ρ ΡΠ°ΡΡ).Β
ΠΠ½Π΅Π²Π½ΡΠ΅ Ρ ΠΎΠ΄ΠΎΠ²ΡΠ΅ ΠΎΠ³Π½ΠΈ. ΠΠ΄Π½Π° ΠΈΠ· ΡΠ°ΠΌΡΡ ΠΏΠΎΠΏΡΠ»ΡΡΠ½ΡΡ ΡΡΠ½ΠΈΠ½Π³-ΡΠ°Π±ΠΎΡ ΠΏΠΎ ΡΠ²Π΅ΡΡ β ΡΡΡΠ°Π½ΠΎΠ²ΠΊΠ° ΡΠ²Π΅ΡΠΎΠ΄ΠΈΠΎΠ΄Π½ΡΡ Ρ ΠΎΠ΄ΠΎΠ²ΡΡ ΠΎΠ³Π½Π΅ΠΉ (ΠΠ₯Π, ΠΎΠ½ΠΈ ΠΆΠ΅ DRL). Π§ΡΠΎΠ±Ρ Π½Π΅ ΡΠ°ΡΡ ΠΎΠ΄ΠΎΠ²Π°ΡΡ Π»ΠΈΡΠ½Π΅Π΅ ΡΠΎΠΏΠ»ΠΈΠ²ΠΎ ΠΈ ΡΠ΅ΡΡΡΡ ΠΎΡΠ½ΠΎΠ²Π½ΡΡ ΡΠ°Ρ ΠΏΡΠΈ Π΅Π·Π΄Π΅ Π΄Π½Π΅ΠΌ, ΡΠ°ΠΌΠΎΠ΅ ΡΠ°ΡΠΈΠΎΠ½Π°Π»ΡΠ½ΠΎΠ΅ ΡΠ΅ΡΠ΅Π½ΠΈΠ΅ — ΡΡΡΠ°Π½ΠΎΠ²ΠΈΡΡ ΡΠΏΠ΅ΡΠΈΠ°Π»ΡΠ½ΡΠ΅ ΡΠ²Π΅ΡΠΎΠ΄ΠΈΠΎΠ΄Π½ΡΠ΅ ΡΠΎΠ½Π°ΡΠΈ. ΠΠ»Π°Π²Π½ΠΎΠ΅, ΡΠΎΠΎΡΠ²Π΅ΡΡΡΠ²ΠΎΠ²Π°ΡΡ ΡΡΠ΅Π±ΠΎΠ²Π°Π½ΠΈΡΠΌ.
ΠΠΎ Π³Π°Π±Π°ΡΠΈΡΠ½ΠΎΠΉ ΡΠΈΡΠΈΠ½Π΅ Π°Π²ΡΠΎΠΌΠΎΠ±ΠΈΠ»Ρ β ΠΎΡ ΠΊΡΠ°Ρ Π½Π΅ Π±ΠΎΠ»Π΅Π΅ 40 ΡΠΌ. ΠΡΠ½ΠΎΡΠΈΡΠ΅Π»ΡΠ½ΠΎ Π΄ΠΎΡΠΎΠ³ΠΈ ΠΏΠΎ Π²ΡΡΠΎΡΠ΅ β ΠΎΡ 25 Π΄ΠΎ 150 ΡΠΌ. ΠΠ΅ΠΆΠ΄Ρ ΠΌΠΎΠ΄ΡΠ»ΡΠΌΠΈΒ ΠΠ₯ΠΒ β 60 ΡΠΌ. Π ΡΠ»ΡΡΠ°Π΅ Π½Π΅Π±ΠΎΠ»ΡΡΠΈΡ Π³Π°Π±Π°ΡΠΈΡΠΎΠ² Π°Π²ΡΠΎΠΌΠΎΠ±ΠΈΠ»Ρ Π΄ΠΎ 1300 ΡΠΌ, Π΄ΠΎΠΏΡΡΠΊΠ°Π΅ΡΡΡ ΡΠ°ΡΡΡΠΎΡΠ½ΠΈΠ΅ ΠΌΠ΅ΠΆΠ΄Ρ ΠΎΠ³Π½ΡΠΌΠΈ Π² 40ΡΠΌ.
ΠΡΠΎΠΆΠ΅ΠΊΡΠΎΡΡ.
ΠΠΎΠΏΠΎΠ»Π½ΠΈΡΠ΅Π»ΡΠ½ΡΠΉ Π΄Π°Π»ΡΠ½ΠΈΠΉ ΡΠ²Π΅Ρ Π°ΠΊΡΡΠ°Π»Π΅Π½ ΠΏΡΠΈ Π΅Π·Π΄Π΅ Π½Π° ΠΎΠΏΠ°ΡΠ½ΡΡ ΡΡΠ°ΡΡΠΊΠ°Ρ Π΄ΠΎΡΠΎΠ³ΠΈ ΠΈΠ»ΠΈ Π½Π° ΠΏΠ΅ΡΠ΅ΡΠ΅ΡΠ΅Π½Π½ΠΎΠΉ ΠΌΠ΅ΡΡΠ½ΠΎΡΡΠΈ.
ΠΠΎΠ½ΡΡΠ½ΠΎ, ΡΡΠΎ ΠΏΡΠΎΠΆΠ΅ΠΊΡΠΎΡ Π΄Π°Π΅Ρ ΠΌΠ½ΠΎΠ³ΠΎ ΡΠ²Π΅ΡΠ°, Π±Π»Π°Π³ΠΎΠ΄Π°ΡΡ ΡΠ΅ΠΌΡ Ρ
ΠΎΡΠΎΡΠΎ ΠΎΡΠ²Π΅ΡΠ°Π΅ΡΡΡ Π½Π΅ ΡΠΎΠ»ΡΠΊΠΎ Π΄ΠΎΡΠΎΠΆΠ½ΠΎΠ΅ ΠΏΠΎΠ»ΠΎΡΠ½ΠΎ, Π½ΠΎ ΠΈ ΠΎΠ±ΠΎΡΠΈΠ½Π°.
Π‘ Π΄ΡΡΠ³ΠΎΠΉ ΡΡΠΎΡΠΎΠ½Ρ, ΡΠΈΠ»ΡΠ½ΠΎ ΡΠ»Π΅ΠΏΠΈΡ ΠΈ Π΅Π³ΠΎ Π½Π΅ ΡΠ΅ΠΊΠΎΠΌΠ΅Π½Π΄ΡΠ΅ΡΡΡ ΠΈΡΠΏΠΎΠ»ΡΠ·ΠΎΠ²Π°ΡΡ Π½Π° ΠΎΠΆΠΈΠ²Π»Π΅Π½Π½ΡΡ
ΡΡΠ°ΡΡΠ°Ρ
, Π³Π΄Π΅ ΡΡΡΠ΅ΡΡΠ²ΡΠ΅Ρ ΠΎΠΏΠ°ΡΠ½ΠΎΡΡΡ ΠΎΡΠ»Π΅ΠΏΠΈΡΡ Π²ΠΎΠ΄ΠΈΡΠ΅Π»Ρ Π²ΡΡΡΠ΅ΡΠ½ΠΎΠΉ ΠΌΠ°ΡΠΈΠ½Ρ.
Π’ΠΎ ΠΆΠ΅ ΠΊΠ°ΡΠ°Π΅ΡΡΡ ΠΈ ΡΠ°ΠΊ Π½Π°Π·ΡΠ²Π°Π΅ΠΌΠΎΠΉ Π»ΡΡΡΡΡ (Π±Π°Π»ΠΊΠΈ) Π½Π° ΠΊΡΡΡΠ΅ Π²Π½Π΅Π΄ΠΎΡΠΎΠΆΠ½ΠΈΠΊΠ°. Π‘Π°ΠΌΠΈ ΠΏΠΎ ΡΠ΅Π±Π΅ Π»ΡΡΡΡΡ Π½Π΅ Π·Π°ΠΏΡΠ΅ΡΠ΅Π½Ρ, Π° Π΅ΡΠ»ΠΈ Ρ ΠΌΠΎΠ΄Π΅Π»ΠΈ Π°Π²ΡΠΎΠΌΠΎΠ±ΠΈΠ»Ρ Π΄Π°Π½Π½Π°Ρ Π²Π΅ΡΡ ΡΠ΅ΡΡΠΈΡΠΈΡΠΈΡΠΎΠ²Π°Π½Π°, ΡΠΎ ΠΏΠ΅ΡΠ΅ΠΎΠ±ΠΎΡΡΠ΄ΠΎΠ²Π°Π½ΠΈΠ΅ Π½Π΅ ΡΡΠ΅Π±ΡΠ΅Ρ ΡΠ΅Π³ΠΈΡΡΡΠ°ΡΠΈΠΈ. ΠΡΡΠ³ΠΎΠ΅ Π΄Π΅Π»ΠΎ β ΡΡΠΎ Π·Π° ΡΠ²Π΅ΡΠΎΠ²ΠΎΠ΅ ΠΎΠ±ΠΎΡΡΠ΄ΠΎΠ²Π°Π½ΠΈΠ΅ ΡΠ°ΠΌ ΡΡΠΎΠΈΡ. Π‘ΡΠΈΡΠ°Π΅ΡΡΡ, ΡΡΠΎ ΠΏΠΎΠ»Π½ΠΎΡΡΡΡ ΡΠΎΠΎΡΠ²Π΅ΡΡΡΠ²ΡΠ΅Ρ Π·Π°ΠΊΠΎΠ½Ρ Π±Π°Π»ΠΊΠ° ΡΠΎΠ»ΡΠΊΠΎ Ρ Π΄Π²ΡΠΌΡ ΡΠ°ΡΠ°ΠΌΠΈ Π΄Π°Π»ΡΠ½Π΅Π³ΠΎ ΡΠ²Π΅ΡΠ°.
Π‘Π²Π΅ΡΠΎΠ΄ΠΈΠΎΠ΄Π½ΠΎΠ΅ Π΄ΠΎΠΏΠΎΠ»Π½Π΅Π½ΠΈΠ΅ ΠΊ Π·Π°Π²ΠΎΠ΄ΡΠΊΠΎΠΉ ΠΎΠΏΡΠΈΠΊΠ΅
Π‘Π²Π΅ΡΠΎΠ΄ΠΈΠΎΠ΄Π½ΡΠΉ ΡΡΠ½ΠΈΠ½Π³ ΡΠ°Ρ ΠΌΠΎΠΆΠ΅Ρ ΡΠ΄Π΅Π»Π°ΡΡ ΠΏΡΠ°ΠΊΡΠΈΡΠ΅ΡΠΊΠΈ Π»ΡΠ±ΠΎΠΉ Π°Π²ΡΠΎΠΌΠΎΠ±ΠΈΠ»ΠΈΡΡ. Π£ΡΠΎΠ²Π΅ΡΡΠ΅Π½ΡΡΠ²ΠΎΠ²Π°Π½ΠΈΠ΅ ΠΎΠΏΡΠΈΠΊΠΈ ΠΏΡΠΎΠΈΡΡ ΠΎΠ΄ΠΈΡ Π²Π½Π΅Π΄ΡΠ΅Π½ΠΈΡ Π² ΠΎΡΠ²Π΅ΡΠΈΡΠ΅Π»ΡΠ½ΡΠΉ ΡΠ»Π΅ΠΌΠ΅Π½Ρ Π³ΠΎΠ»ΠΎΠ²Π½ΠΎΠ³ΠΎ ΡΠ²Π΅ΡΠ° ΡΠ²Π΅ΡΠΎΠ΄ΠΈΠΎΠ΄Π½ΠΎΠΉ Π»Π΅Π½ΡΡ.
ΠΠΎ, ΠΊΠ°ΠΊ ΠΌΡ ΡΠΆΠ΅ ΠΏΠΈΡΠ°Π»ΠΈ Π²ΡΡΠ΅, ΡΠ»Π΅Π΄ΡΠ΅Ρ Π²ΡΠ΅Π³Π΄Π° ΠΏΠΎΠΌΠ½ΠΈΡΡ ΠΎ ΡΠΎΠΎΡΠ²Π΅ΡΡΡΠ²ΠΈΠΈ ΡΠ°ΠΊΠΎΠ³ΠΎ ΡΠ²Π΅ΡΠΎΠ²ΠΎΠ³ΠΎ ΡΡΠ½ΠΈΠ½Π³Π° Π·Π°ΠΊΠΎΠ½ΠΎΠ΄Π°ΡΠ΅Π»ΡΡΡΠ²Ρ.
ΠΠ΅Π»ΡΠ·Ρ ΡΠ°ΡΠΏΠΎΠ»Π°Π³Π°ΡΡ Π΄ΠΈΠΎΠ΄Ρ Π²Π½ΡΡΡΠΈ ΡΠ°ΡΡ, ΠΎΠ½ΠΈ Π΄ΠΎΠ»ΠΆΠ½Ρ Π½Π°Ρ
ΠΎΠ΄ΠΈΡΡΡΡ Π½Π° Π΅Π΅ ΠΏΠΎΠ²Π΅ΡΡ
Π½ΠΎΡΡΠΈ. Π Π°ΡΠΏΠΎΠ»Π°Π³Π°ΡΡ ΡΠ²Π΅ΡΡΡΡΡΡΡ Π»Π΅Π½ΡΡ ΡΠ»Π΅Π΄ΡΠ΅Ρ ΠΈΡΠΊΠ»ΡΡΠΈΡΠ΅Π»ΡΠ½ΠΎ ΠΏΠΎ Π΄Π»ΠΈΠ½Π΅ ΡΠ°Ρ.
ΠΠ°ΠΊ Π·Π°ΠΊΠΎΠ½ ΡΠ΅Π°Π³ΠΈΡΡΠ΅Ρ Π½Π° ΡΠ²Π΅ΡΠΎΠ΄ΠΈΠΎΠ΄Π½ΡΠΉ ΡΡΠ½ΠΈΠ½Π³?
ΠΠΎΠ½Π΅ΡΠ½ΠΎ, Π²ΡΠ΅ Π²ΠΎΠ·ΠΌΠΎΠΆΠ½ΡΠ΅ Π²Π°ΡΠΈΠ°Π½ΡΡ Π½Π΅ ΠΏΡΠΎΠΏΠΈΡΠ°Π½Ρ Π² Π΄ΠΎΠΊΡΠΌΠ΅Π½ΡΠ°Ρ , Π΅ΡΡΡ Π»ΠΈΡΡ ΠΎΠ±ΡΠΈΠ΅ ΡΡΠ΅Π±ΠΎΠ²Π°Π½ΠΈΡ, ΠΊΠΎΡΠΎΡΡΠΌ Π΄ΠΎΠΏΠΎΠ»Π½ΠΈΡΠ΅Π»ΡΠ½ΡΠΉ ΡΠ²Π΅ΡΠΎΠ΄ΠΈΠΎΠ΄Π½ΡΠΉ ΡΠ²Π΅Ρ Π΄ΠΎΠ»ΠΆΠ΅Π½ ΡΠΎΠΎΡΠ²Π΅ΡΡΡΠ²ΠΎΠ²Π°ΡΡ. ΠΠ°ΠΏΠΎΠΌΠΈΠ½Π°Π΅ΠΌ Π³Π»Π°Π²Π½ΡΠ΅ Π΄Π²Π°:
1. ΠΠ΅ ΠΌΠ΅ΡΠ°ΡΡ ΡΠ°Π±ΠΎΡΠ΅ ΡΡΠ°ΡΠ½ΡΡ ΠΎΡΠ²Π΅ΡΠΈΡΠ΅Π»ΡΠ½ΡΡ ΠΏΡΠΈΠ±ΠΎΡΠΎΠ².
2. ΠΠ΅ ΠΏΡΠΎΠ²ΠΎΡΠΈΡΠΎΠ²Π°ΡΡ Π½Π΅Π³Π°ΡΠΈΠ²Π½ΡΠ΅ ΡΠ²Π»Π΅Π½ΠΈΡ, Π½Π°ΠΏΡΠΈΠΌΠ΅Ρ, ΠΎΡΠ»Π΅ΠΏΠ»Π΅Π½ΠΈΠ΅ Π²ΡΡΡΠ΅ΡΠ½ΡΡ ΠΈΠ»ΠΈ ΠΏΠΎΠΏΡΡΠ½ΡΡ Π²ΠΎΠ΄ΠΈΡΠ΅Π»Π΅ΠΉ, ΠΈΡΠΊΠ°ΠΆΠ΅Π½ΠΈΡ ΠΎΠ±ΡΠ°Π·Π° ΡΡΠ°Π½ΡΠΏΠΎΡΡΠ½ΠΎΠ³ΠΎ ΡΡΠ΅Π΄ΡΡΠ²Π° ΠΈ Ρ.Π΄.
ΠΠ±ΡΡΠ½ΠΎ ΠΏΠΎΠ΄ Π·Π°ΠΏΡΠ΅Ρ ΠΏΠΎΠΏΠ°Π΄Π°Π΅Ρ Π²ΡΠ΅, ΡΡΠΎ ΡΠ²Π΅ΡΠΈΡ Π²ΠΏΠ΅ΡΠ΅Π΄ ΠΈΠ»ΠΈ Π½Π°Π·Π°Π΄ (Π½Π°ΠΏΡΠΈΠΌΠ΅Ρ, ΠΏΠΎΠ΄ΡΠ²Π΅ΡΠΊΠ° ΡΠ°ΠΌΠΊΠΈ Π½ΠΎΠΌΠ΅ΡΠ° ΠΈΠ»ΠΈ Π»ΠΎΠ³ΠΎΡΠΈΠΏΠ° ΠΊΠΎΠΌΠΏΠ°Π½ΠΈΠΈ) β ΡΠ°ΠΊΠΎΠΉ ΡΠ²Π΅Ρ ΠΌΠΎΠΆΠ΅Ρ Π»Π΅Π³ΠΊΠΎ ΠΎΡΠ»Π΅ΠΏΠΈΡΡ Π΄ΡΡΠ³ΠΈΡ Π²ΠΎΠ΄ΠΈΡΠ΅Π»Π΅ΠΉ, Π΄Π° ΠΈ ΡΠ²Π΅Ρ ΠΌΠΎΠΆΠ΅Ρ Π½Π΅ ΡΠΎΠΎΡΠ²Π΅ΡΡΡΠ²ΡΠ΅Ρ ΡΡΠ΅Π±ΠΎΠ²Π°Π½ΠΈΡΠΌ. Π§ΡΠΎ ΠΊΠ°ΡΠ°Π΅ΡΡΡ ΠΎΡΡΠ°Π»ΡΠ½ΡΡ Π²ΠΈΠ΄ΠΎΠ² ΡΡΠ½ΠΈΠ½Π³Π° (Π½Π°ΠΏΡΠΈΠΌΠ΅Ρ, ΠΏΠΎΠ΄ΡΠ²Π΅ΡΠΊΠ° Π΄Π½ΠΈΡΠ°, Π΄Π²Π΅ΡΠ΅ΠΉ ΠΈΠ»ΠΈ Π΄ΠΈΡΠΊΠΎΠ²), ΠΎΠ±ΡΡΠ½ΠΎ ΠΏΡΠΎΠ±Π»Π΅ΠΌ Ρ Π½ΠΈΠΌΠΈ Π½Π΅ Π²ΠΎΠ·Π½ΠΈΠΊΠ°Π΅Ρ, Π΅ΡΡΠ΅ΡΡΠ²Π΅Π½Π½ΠΎ Π΅ΡΠ»ΠΈ ΠΎΠ½ΠΈ Π½Π΅ ΠΌΠ΅ΡΠ°ΡΡ Π΄ΡΡΠ³ΠΈΠΌ Π²ΠΎΠ΄ΠΈΡΠ΅Π»ΡΠΌ. ΠΡΠΎΠΌΠ΅ ΡΠΎΠ³ΠΎ, Π½Π΅ Π·Π°Π±ΡΠ²Π°Π΅ΠΌ, ΡΡΠΎ Π½ΡΠΆΠ½ΠΎ ΠΎΠ±ΡΠ·Π°ΡΠ΅Π»ΡΠ½ΠΎ Π·Π°ΡΠ΅Π³ΠΈΡΡΡΠΈΡΠΎΠ²Π°ΡΡ ΡΠ°ΠΊΠΎΠΉ Π²ΠΈΠ΄ ΡΡΠ½ΠΈΠ½Π³Π° ΡΠ²Π΅ΡΠΎΠ²ΠΎΠ³ΠΎ ΠΎΠ±ΠΎΡΡΠ΄ΠΎΠ²Π°Π½ΠΈΡ Π² ΠΠΠΠΠ.
Π ΡΠ΅Π»ΠΎΠΌ, ΡΡΠ½ΠΈΠ½Π³ ΡΠ²Π΅ΡΠ° Π² Π°Π²ΡΠΎΠΌΠΎΠ±ΠΈΠ»Π΅ Π΄ΠΎΡΡΠ°ΡΠΎΡΠ½ΠΎ ΡΡΡΠ΄Π½Π°Ρ Π·Π°Π΄Π°ΡΠ°.
ΠΡΠΆΠ½ΠΎ ΡΠ»ΠΎΠΆΠΈΡΡΡΡ Π² ΡΡΡΠΎΠ³ΠΈΠ΅ ΡΠ°ΠΌΠΊΠΈ ΡΠ°Π·ΡΠ΅ΡΠ΅Π½Π½ΠΎΠ³ΠΎ, Π°, ΠΏΡΠΈ Π½Π΅ΠΎΠ±Ρ
ΠΎΠ΄ΠΈΠΌΠΎΡΡΠΈ, Π΅ΡΠ΅ ΠΈ Π·Π°ΡΠ΅Π³ΠΈΡΡΡΠΈΡΠΎΠ²Π°ΡΡ Π΄ΠΎΡΠ°Π±ΠΎΡΠΊΡ.
ΠΠΎΠΌΠ½ΠΈΡΠ΅, ΠΎΠΏΡΠΈΠΊΠ° Π°Π²ΡΠΎΠΌΠΎΠ±ΠΈΠ»Ρ Π΄ΠΎΠ»ΠΆΠ½Π° ΠΎΠ±Π΅ΡΠΏΠ΅ΡΠΈΠ²Π°ΡΡ Ρ ΠΎΡΠΎΡΡΡ Π²ΠΈΠ΄ΠΈΠΌΠΎΡΡΡ ΠΈ ΠΏΡΠΈ ΡΡΠΎΠΌ Π½Π΅ ΡΠΎΠ·Π΄Π°Π²Π°ΡΡ ΠΏΠΎΠΌΠ΅Ρ Π²ΡΡΡΠ΅ΡΠ½ΠΎΠΌΡ Π²ΠΎΠ΄ΠΈΡΠ΅Π»Ρ.
ΠΡΠ½Π°ΡΠ΅Π½ΠΈΠ΅ ΡΡΠ°Π½ΡΠΏΠΎΡΡΠ° Π΄ΠΎΠΏΠΎΠ»Π½ΠΈΡΠ΅Π»ΡΠ½ΡΠΌΠΈ ΡΠ°ΡΠ°ΠΌΠΈ, Π² ΡΡΠ»ΠΎΠ²ΠΈΡΡ Π½Π΅Π΄ΠΎΡΡΠ°ΡΠΎΡΠ½ΠΎΠΉ Π²ΠΈΠ΄ΠΈΠΌΠΎΡΡΠΈ ΡΠ½ΠΈΠΆΠ°Π΅Ρ ΡΠΈΡΠΊ Π²ΠΎΠ·Π½ΠΈΠΊΠ½ΠΎΠ²Π΅Π½ΠΈΡ Π°Π²Π°ΡΠΈΠΉΠ½ΠΎΠΉ ΡΠΈΡΡΠ°ΡΠΈΠΈ Π½Π° 50%. ΠΠΎ Π΄Π»Ρ Π΄ΠΎΡΡΠΈΠΆΠ΅Π½ΠΈΡ ΡΠ°ΠΊΠΈΡ ΠΏΠΎΠΊΠ°Π·Π°ΡΠ΅Π»Π΅ΠΉ, ΡΠ²Π΅ΡΠΎΠ²ΡΠ΅ ΡΠ»Π΅ΠΌΠ΅Π½ΡΡ Π΄ΠΎΠ»ΠΆΠ½Ρ ΠΏΡΠ΅Π΄Π²Π°ΡΠΈΡΠ΅Π»ΡΠ½ΠΎ ΠΏΡΠΎΠΉΡΠΈ ΠΏΡΠΎΠ²Π΅ΡΠΊΡ ΠΈ ΡΠ΅Π³ΡΠ»ΠΈΡΠΎΠ²ΠΊΡ. Π’ΠΎΠ»ΡΠΊΠΎ ΠΏΠΎΡΠ»Π΅ ΡΡΠΎΠ³ΠΎ ΠΈΡ ΠΌΠΎΠΆΠ½ΠΎ ΡΡΡΠ°Π½Π°Π²Π»ΠΈΠ²Π°ΡΡ Π½Π° Π°Π²ΡΠΎΠΌΠΎΠ±ΠΈΠ»Ρ. Π ΡΠΎΠΌΡ ΠΆΠ΅, ΠΏΡΠΎΡΠ΅Π΄ΡΡΠ° ΠΌΠΎΠ½ΡΠ°ΠΆΠ° ΡΠΎΠΆΠ΅ Π΄ΠΎΠ»ΠΆΠ½Π° ΠΏΡΠΎΠ²ΠΎΠ΄ΠΈΡΡΡΡ Π² ΡΡΡΠΎΠ³ΠΎΠΌ ΡΠΎΠΎΡΠ²Π΅ΡΡΡΠ²ΠΈΠΈ Ρ Π½ΠΎΡΠΌΠ°ΡΠΈΠ²Π½ΡΠΌΠΈ Π΄ΠΎΠΊΡΠΌΠ΅Π½ΡΠ°ΠΌΠΈ.
ΠΠΎΡΡΠΎΠΌΡ ΡΡΡΠ°Π½ΠΎΠ²ΠΊΡ Π΄ΠΎΠΏΠΎΠ»Π½ΠΈΡΠ΅Π»ΡΠ½ΠΎΠ³ΠΎ ΡΠ²Π΅ΡΠΎΠ²ΠΎΠ³ΠΎ ΠΎΠ±ΠΎΡΡΠ΄ΠΎΠ²Π°Π½ΠΈΡ Π»ΡΡΡΠ΅Β Π΄ΠΎΠ²Π΅ΡΠΈΡΡ ΠΏΡΠΎΡΠ΅ΡΡΠΈΠΎΠ½Π°Π»Π°ΠΌ, ΠΊΠΎΡΠΎΡΡΠ΅ Π½Π΅ ΡΠΎΠ»ΡΠΊΠΎ ΡΠΌΠΎΠ³ΡΡ ΠΏΡΠΎΠΊΠΎΠ½ΡΡΠ»ΡΡΠΈΡΠΎΠ²Π°ΡΡ Π²Π°Ρ ΠΏΠΎ Π²ΡΠ΅ΠΌ Π²ΠΎΠΏΡΠΎΡΠ°ΠΌ Π²ΠΎΠ·ΠΌΠΎΠΆΠ½ΠΎΠ³ΠΎ ΡΡΠ½ΠΈΠ½Π³Π° ΡΠ²Π΅ΡΠΎΠ²ΡΡ ΠΏΡΠΈΠ±ΠΎΡΠΎΠ², Π½ΠΎ ΠΈ ΠΊΠΎΡΡΠ΅ΠΊΡΠ½ΠΎ Π²ΡΠΏΠΎΠ»Π½ΡΡ Π²ΡΠ΅ Π½Π΅ΠΎΠ±Ρ ΠΎΠ΄ΠΈΠΌΡΠ΅ ΡΠ°Π±ΠΎΡΡ.Β
ΠΡΠ»ΠΈ Π²Ρ Π·Π°Π΄ΡΠΌΠ°Π»ΠΈΡΡ ΠΎΠ± ΡΡΡΠ°Π½ΠΎΠ²ΠΊΠ΅ Π΄ΠΎΠΏΠΎΠ»Π½ΠΈΡΠ΅Π»ΡΠ½ΠΎΠΉ ΡΠ²Π΅ΡΠΎΠ²ΠΎΠΉ ΠΎΠΏΡΠΈΠΊΠΈ Π½Π° ΡΠ²ΠΎΠΉ Π°Π²ΡΠΎΠΌΠΎΠ±ΠΈΠ»Ρ, Π²Ρ Π²ΡΠ΅Π³Π΄Π° ΠΌΠΎΠΆΠ΅ΡΠ΅ ΠΎΠ±ΡΠ°ΡΠΈΡΡΡΡ Π² Π½Π°Ρ Π°Π²ΡΠΎΡΠ΅ΡΠ²ΠΈΡ.
Β Β«ΠΠΈΡΡΠ΅Ρ ΠΠΉΠ»Β» Π½Π° Π‘Π°Ρ
Π°Π»ΠΈΠ½ΡΠΊΠΎΠΉ, 8Π°Β ΠΏΠΎΠΌΠΎΠΆΠ΅Ρ Π²Π°ΠΌ ΠΏΠΎΠ΄ΠΎΠ±ΡΠ°ΡΡ ΠΏΠΎΠ΄Ρ
ΠΎΠ΄ΡΡΠΈΠΉ Π²Π°ΡΠΈΠ°Π½Ρ Π΄Π»Ρ Π²Π°ΡΠ΅Π³ΠΎ Π°Π²ΡΠΎΠΌΠΎΠ±ΠΈΠ»Ρ ΠΈ ΠΏΡΠΎΠΈΠ·Π²Π΅ΡΡΠΈ Π·Π°ΠΌΠ΅Π½Ρ ΡΡΡΠ°ΡΠ΅Π²ΡΠ΅Π³ΠΎ ΠΈΠ»ΠΈ ΡΡΡΠ°Π½ΠΎΠ²ΠΊΡ Π½ΠΎΠ²ΠΎΠ³ΠΎ Π΄ΠΎΠΏΠΎΠ»Π½ΠΈΡΠ΅Π»ΡΠ½ΠΎΠ³ΠΎ ΡΠ²Π΅ΡΠ°.Β
ΠΠ²ΠΎΠ½ΠΈΡΠ΅ +7 (423) 275-11-85 ΠΈΠ»ΠΈ ΠΏΠΈΡΠΈΡΠ΅ Π½Π°ΠΌ Π½Π° WhatsApp +7 914 703-68-97.
Π£ΡΡΠ°Π½ΠΎΠ²ΠΊΠ° Π°Π²ΡΠΎΡΠ²Π΅ΡΠ° ΠΈ Π΄ΠΎΠΏΠΎΠ»Π½ΠΈΡΠ΅Π»ΡΠ½ΠΎΠ³ΠΎ ΠΎΠ±ΠΎΡΡΠ΄ΠΎΠ²Π°Π½ΠΈΡ Π² ΠΠΈΠ΅Π²Π΅
ΠΠ²ΡΠΎΡΠ΅ΡΠ²ΠΈΡ βAvtoHUBβ ΠΏΡΠ΅Π΄ΠΎΡΡΠ°Π²Π»ΡΠ΅Ρ ΡΡΠ»ΡΠ³ΠΈ ΠΏΠΎ ΡΡΡΠ°Π½ΠΎΠ²ΠΊΠ΅ Π°Π²ΡΠΎΡΠ²Π΅ΡΠ° ΠΈ Π΄ΠΎΠΏΠΎΠ»Π½ΠΈΡΠ΅Π»ΡΠ½ΠΎΠ³ΠΎ ΠΎΠ±ΠΎΡΡΠ΄ΠΎΠ²Π°Π½ΠΈΡ Π½Π° Π»Π΅Π³ΠΊΠΎΠ²ΡΠ΅ Π°Π²ΡΠΎΠΌΠΎΠ±ΠΈΠ»ΠΈ.
ΠΠΎΠ»ΡΡΠΈΡΠ΅ Π±Π΅ΡΠΏΠ»Π°ΡΠ½ΡΡ ΠΊΠΎΠ½ΡΡΠ»ΡΡΠ°ΡΠΈΡ ΠΈ Π·Π°ΠΏΠΈΡΠΈΡΠ΅ΡΡ Π½Π° ΡΡΡΠ°Π½ΠΎΠ²ΠΊΡ.
ΠΠΎΠ»ΡΡΠΈΡΡ ΠΊΠΎΠ½ΡΡΠ»ΡΡΠ°ΡΠΈΡ
Π£Π·Π½Π°ΡΡ ΡΠ΅Π½Ρ
Π£ΡΡΠ°Π½ΠΎΠ²ΠΈ StarLine
Π² Π°Π²ΡΠΎΡΠ΅ΡΠ²ΠΈΡΠ΅ AvtoHUB
ΠΠ·ΠΌΠ΅Π½Π΅Π½ΠΈΠ΅ Π΄ΠΈΠ·Π°ΠΉΠ½Π° ΡΠ°Ρ
Π€ΡΠ°Π·Π° Β«ΡΠ°ΠΊΠ°Ρ ΠΆΠ΅, Π½ΠΎ Ρ ΠΏΠ΅ΡΠ»Π°ΠΌΡΡΡΠΎΠ²ΡΠΌΠΈ ΠΏΡΠ³ΠΎΠ²ΠΈΡΠ°ΠΌΠΈΒ» Π·Π½Π°ΠΊΠΎΠΌΠ° Ρ Π΄Π΅ΡΡΡΠ²Π°. Π§Π°ΡΡΠΎ Π² Π°Π²ΡΠΎ ΡΡΠΈΠΌΠΈ Β«ΠΏΡΠ³ΠΎΠ²ΠΈΡΠ°ΠΌΠΈΒ» Π²ΡΡΡΡΠΏΠ°ΡΡ ΡΠ°ΡΡ. ΠΡΠ»ΠΈ Π²Ρ Ρ
ΠΎΡΠΈΡΠ΅ ΠΎΠ±Π½ΠΎΠ²ΠΈΡΡ ΠΈΠ»ΠΈ ΠΈΠ½Π΄ΠΈΠ²ΠΈΠ΄ΡΠ°Π»ΠΈΠ·ΠΈΡΠΎΠ²Π°ΡΡ Π΄ΠΈΠ·Π°ΠΉΠ½ Π°Π²ΡΠΎΠΌΠΎΠ±ΠΈΠ»Ρ, Π½Π°ΡΠ° ΠΊΠΎΠΌΠ°Π½Π΄Π° Π³ΠΎΡΠΎΠ²Π° ΠΏΡΠΎΠ²Π΅ΡΡΠΈ ΡΠ°Π±ΠΎΡΡ ΠΏΠΎ ΠΈΠ·ΠΌΠ΅Π½Π΅Π½ΠΈΡ Π΄ΠΈΠ·Π°ΠΉΠ½Π° ΡΠ°Ρ. ΠΡ ΡΠ°Π·ΡΠ°Π±ΠΎΡΠ°Π΅ΠΌ Π½ΠΎΠ²ΡΠΉ Π΄ΠΈΠ·Π°ΠΉΠ½ ΠΈ ΠΏΠΎΡΠ»Π΅ ΡΠΎΠ³Π»Π°ΡΠΎΠ²Π°Π½ΠΈΡ Π²ΡΠΏΠΎΠ»Π½ΠΈΠΌ Π½Π΅ΠΎΠ±Ρ
ΠΎΠ΄ΠΈΠΌΡΠ΅ ΠΈΠ·ΠΌΠ΅Π½Π΅Π½ΠΈΡ ΡΠ°ΡΡΠΈ ΠΊΠΎΡΠΏΡΡΠ° ΠΈ Π²Π½Π΅Π΄ΡΠ΅Π½ΠΈΠ΅ Π½ΠΎΠ²ΡΡ
ΡΠ°Ρ Π² ΠΏΠΎΠ»Π½ΠΎΠΉ ΠΊΠΎΠΌΠΏΠ»Π΅ΠΊΡΠ°ΡΠΈΠΈ.
Π Π΅ΠΌΠΎΠ½Ρ ΡΠ°Ρ
ΠΡΠΈ Π΅ΡΡΠ΅ΡΡΠ²Π΅Π½Π½ΠΎΠΌ ΠΈΠ·Π½ΠΎΡΠ΅ ΠΈΠ»ΠΈ ΠΏΠΎΡΠ»Π΅ ΠΌΠ΅Ρ Π°Π½ΠΈΡΠ΅ΡΠΊΠΈΡ ΠΏΠΎΠ²ΡΠ΅ΠΆΠ΄Π΅Π½ΠΈΠΉ Π² ΡΠ»Π΅Π΄ΡΡΠ²ΠΈΠΈ ΠΠ’Π, ΡΠ°ΡΡ ΡΠ°ΡΡΠΎ ΡΡΠ΅Π±ΡΡΡ ΡΠΏΠ΅ΡΠΈΠ°Π»ΠΈΠ·ΠΈΡΠΎΠ²Π°Π½Π½ΠΎΠΉ ΠΏΠΎΠΌΠΎΡΠΈ. ΠΠΎΠ»Π½ΠΎΡΠ΅Π½Π½ΡΠΉ ΠΈΠ»ΠΈ ΡΠ°ΡΡΠΈΡΠ½ΡΠΉ ΡΠ΅ΠΌΠΎΠ½Ρ ΠΏΠΎΠ·Π²ΠΎΠ»ΠΈΡ Π²Π΅ΡΠ½ΡΡΡ ΡΠ°ΡΡ ΠΊ ΠΆΠΈΠ·Π½ΠΈ, ΠΎΠ±Π½ΠΎΠ²ΠΈΡΡ ΡΡΡΠ΅ΡΡΠ²ΡΡΡΡΡ ΠΏΠΎΠ²Π΅ΡΡ Π½ΠΎΡΡΡ ΠΈΠ»ΠΈ Π·Π°ΠΌΠ΅Π½ΠΈΡΡ Π΅Π΅ Π½Π° Π½ΠΎΠ²ΡΡ, Π²ΠΎΡΡΡΠ°Π½ΠΎΠ²ΠΈΡΡ Π³Π΅ΡΠΌΠ΅ΡΠΈΡΠ½ΠΎΡΡΡ Π΄Π»Ρ ΠΊΠΎΡΡΠ΅ΠΊΡΠ½ΠΎΠΉ ΡΠ°Π±ΠΎΡΡ. ΠΠ±Π½ΠΎΠ²Π»Π΅Π½Π½Π°Ρ ΡΠ°ΡΠ° ΠΌΠΎΠΆΠ΅Ρ ΠΈΠΌΠ΅ΡΡ ΠΈΠ΄Π΅Π½ΡΠΈΡΠ½ΡΠΉ Π²ΠΈΠ΄ Β«ΡΠΎΠ΄Π½ΠΎΠΌΡΒ» ΠΈΠ·Π΄Π΅Π»ΠΈΡ ΠΈΠ»ΠΈ Π²ΠΊΠ»ΡΡΠ°ΡΡ ΡΡΠ΄ ΠΈΠ·ΠΌΠ΅Π½Π΅Π½ΠΈΠΉ ΠΏΠΎ Π²Π°ΡΠ΅ΠΌΡ ΠΆΠ΅Π»Π°Π½ΠΈΡ.
ΠΠ΅ΡΠ΅ΠΏΠ°ΠΊΠΎΠ²ΠΊΠ° ΡΠ°Ρ (ΠΠ·ΠΈΡ/ΠΠΌΠ΅ΡΠΈΠΊΠ°)
ΠΡΠΈ Π½Π°Π»ΠΈΡΠΈΠΈ Π·Π½Π°ΡΠΈΡΠ΅Π»ΡΠ½ΡΡ ΠΏΠΎΠ²ΡΠ΅ΠΆΠ΄Π΅Π½ΠΈΠΉ ΡΠ°Ρ Π½Π΅ΠΎΠ±Ρ ΠΎΠ΄ΠΈΠΌΠΎ ΠΏΡΠΎΠ²ΠΎΠ΄ΠΈΡΡ ΠΏΠ΅ΡΠ΅ΠΏΠ°ΠΊΠΎΠ²ΠΊΡ ΡΠ°Ρ, ΠΊΠΎΡΠΎΡΠ°Ρ Π²ΠΊΠ»ΡΡΠ°Π΅Ρ ΠΏΠΎΠ»Π½ΡΠΉ ΠΊΠΎΠΌΠΏΠ»Π΅ΠΊΡ ΡΠ°Π±ΠΎΡ ΠΏΠΎ ΠΎΠ±Π½ΠΎΠ²Π»Π΅Π½ΠΈΡ ΠΈ Π·Π°ΠΌΠ΅Π½Π΅ ΠΏΠΎΠ²ΡΠ΅ΠΆΠ΄Π΅Π½Π½ΠΎΠΉ ΡΠ°ΡΡ. ΠΠΎ ΡΠ΅Π·ΡΠ»ΡΡΠ°ΡΠ°ΠΌ ΡΠ°Π±ΠΎΡΡ Π²Ρ ΠΏΠΎΠ»ΡΡΠ°Π΅ΡΠ΅ Π½ΠΎΠ²ΡΡ, Π³ΠΎΡΠΎΠ²ΡΡ ΠΊ ΡΠΊΡΠΏΠ»ΡΠ°ΡΠ°ΡΠΈΠΈ ΡΠ°ΡΡ. ΠΠ°ΠΌΠ΅Π½Ρ ΠΌΠΎΠΆΠ½ΠΎ ΠΏΡΠΎΠ²ΠΎΠ΄ΠΈΡΡ ΠΊΠ°ΠΊ ΡΠΎΡΠ΅ΡΠ½ΠΎ, ΡΠ°ΠΊ ΠΈ ΠΊΠΎΠΌΠΏΠ»Π΅ΠΊΡΠ½ΠΎ. ΠΡΠΈ ΠΏΡΠΎΠ²Π΅Π΄Π΅Π½ΠΈΠΈ ΠΏΠ΅ΡΠ΅ΠΏΠ°ΠΊΠΎΠ²ΠΊΠΈ ΠΈΡΠΏΠΎΠ»ΡΠ·ΡΡΡΡΡ ΠΈΡΠΊΠ»ΡΡΠΈΡΠ΅Π»ΡΠ½ΠΎ ΠΊΠ°ΡΠ΅ΡΡΠ²Π΅Π½Π½ΡΠ΅ ΡΠ΅ΡΡΠΈΡΠΈΡΠΈΡΠΎΠ²Π°Π½Π½ΡΠ΅ ΠΊΠΎΠΌΠΏΠ»Π΅ΠΊΡΡΡΡΠΈΠ΅.
Π£ΡΡΠ°Π½ΠΎΠ²ΠΊΠ° Π΄ΠΈΠΎΠ΄Π½ΡΡ Π»Π°ΠΌΠΏ
Π£ΡΡΠ°Π½ΠΎΠ²ΠΊΠ° Π΄ΠΈΠΎΠ΄Π½ΡΡ
Π»Π°ΠΌΠΏ ΡΡΠ°Π½ΠΎΠ²ΠΈΡΡΡ Π²ΡΠ΅ ΠΏΠΎΠΏΡΠ»ΡΡΠ½Π΅Π΅ ΠΈ Π²ΡΠ΅ ΡΠ°ΡΠ΅ Π½Π° Π΄ΠΎΡΠΎΠ³Π΅ ΠΌΠΎΠΆΠ½ΠΎ Π²ΡΡΡΠ΅ΡΠΈΡΡ Π²ΠΎΠ΄ΠΈΡΠ΅Π»Π΅ΠΉ Ρ ΠΊΠ°ΡΠ΅ΡΡΠ²Π΅Π½Π½ΡΠΌ ΡΠ²Π΅ΡΠΎΠΌ.
ΠΠ°ΠΌΠ΅Π½Π° Π»Π°ΠΌΠΏΠΎΡΠ΅ΠΊ
ΠΡΠΈ Π΅ΡΡΠ΅ΡΡΠ²Π΅Π½Π½ΠΎΠΌ ΠΈΠ·Π½ΠΎΡΠ΅ Π»Π°ΠΌΠΏΡ ΠΏΠ΅ΡΠ΅Π΄Π½Π΅Π³ΠΎ ΡΠ²Π΅ΡΠ° ΡΡΡΠΊΠ½Π΅ΡΡ ΠΈ Π² ΡΠ΅Π·ΡΠ»ΡΡΠ°ΡΠ΅ ΠΏΠ΅ΡΠ΅Π³ΠΎΡΠ°ΡΡ. Π ΡΠ°ΠΊΠΎΠΌ ΡΠ»ΡΡΠ°Π΅ Π½Π΅ΠΎΠ±Ρ ΠΎΠ΄ΠΈΠΌΠ° ΡΠΊΡΡΡΠ΅Π½Π½Π°Ρ Π·Π°ΠΌΠ΅Π½Π° Π»Π°ΠΌΠΏ, ΠΏΠΎΡΠΊΠΎΠ»ΡΠΊΡ Π΅Π·Π΄Π° Π±Π΅Π· ΠΎΡΠ²Π΅ΡΠ΅Π½ΠΈΡ Π½Π΅ ΡΠΎΠ»ΡΠΊΠΎ Π½Π΅ Π·Π°ΠΊΠΎΠ½Π½Π°, Π½ΠΎ ΠΈ ΠΎΠΏΠ°ΡΠ½Π° Π΄Π»Ρ ΠΆΠΈΠ·Π½ΠΈ. ΠΡ ΠΏΡΠΎΠ²Π΅Π΄Π΅ΠΌ ΡΠ°Π±ΠΎΡΡ ΠΏΠΎ Π·Π°ΠΌΠ΅Π½Π΅ ΠΎΡΠ²Π΅ΡΠΈΡΠ΅Π»ΡΠ½ΠΎΠ³ΠΎ ΡΠ»Π΅ΠΌΠ΅Π½ΡΠ° Π² ΠΊΡΠ°ΡΡΠ°ΠΉΡΠΈΠ΅ ΡΡΠΎΠΊΠΈ ΡΠΎ 100% Π³Π°ΡΠ°Π½ΡΠΈΠ΅ΠΉ. ΠΠΎΡΠ»Π΅ ΡΡΡΠ°Π½ΠΎΠ²ΠΊΠΈ ΡΠ΅Π»ΠΎΡΡΠ½ΠΎΡΡΡ Π»Π°ΠΌΠΏΡ Π³Π°ΡΠ°Π½ΡΠΈΡΠΎΠ²Π°Π½Π°. ΠΡ ΠΏΠΎΠ΄Π±ΠΈΡΠ°Π΅ΠΌ ΡΠΎΠ»ΡΠΊΠΎ ΠΊΠ°ΡΠ΅ΡΡΠ²Π΅Π½Π½ΡΠ΅ Π»Π°ΠΌΠΏΡ Ρ ΠΏΡΠΎΠ΄ΠΎΠ»ΠΆΠΈΡΠ΅Π»ΡΠ½ΡΠΌ ΡΡΠΎΠΊΠΎΠΌ ΡΠ°Π±ΠΎΡΡ ΠΈ ΠΎΠΏΡΠΈΠΌΠ°Π»ΡΠ½ΡΠΌ ΡΡΠΎΠ²Π½Π΅ΠΌ ΠΎΡΠ²Π΅ΡΠ΅Π½ΠΈΡ.
Π£ΡΡΠ°Π½ΠΎΠ²ΠΊΠ° ΠΏΡΠΎΡΠΈΠ²ΠΎΡΡΠΌΠ°Π½Π½ΡΡ ΡΠ°Ρ
ΠΡΠΎΡΠΈΠ²ΠΎΡΡΠΌΠ°Π½Π½ΡΠ΅ ΡΠ°ΡΡ ΠΏΠΎΠ·Π²ΠΎΠ»ΡΡΡ ΠΎΠΏΡΠΈΠΌΠΈΠ·ΠΈΡΠΎΠ²Π°ΡΡ ΡΠ°Π±ΠΎΡΡ ΠΎΡΠ²Π΅ΡΠΈΡΠ΅Π»ΡΠ½ΡΡ
ΠΏΡΠΈΠ±ΠΎΡΠΎΠ², ΡΠΏΡΠ°Π·Π΄Π½ΠΈΡΡ Π½Π΅ΠΎΠ±Ρ
ΠΎΠ΄ΠΈΠΌΠΎΡΡΡ Π°ΠΊΡΠΈΠ²ΠΈΡΠΎΠ²Π°ΡΡ ΡΠ²Π΅Ρ Π΄Π½Π΅ΠΌ, ΡΠΎΡ
ΡΠ°Π½ΠΈΡΡ ΡΠ΅Π»ΠΎΡΡΠ½ΠΎΡΡΡ Π»Π°ΠΌΠΏ Π½Π° Π±ΠΎΠ»Π΅Π΅ ΠΏΡΠΎΠ΄ΠΎΠ»ΠΆΠΈΡΠ΅Π»ΡΠ½ΡΠΉ ΡΡΠΎΠΊ ΡΠ»ΡΠΆΠ±Ρ ΠΈ ΠΎΠ±Π΅Π·ΠΎΠΏΠ°ΡΠΈΡΡ ΠΏΠΎΠ΅Π·Π΄ΠΊΡ Π² Π½Π΅ΠΏΠΎΠ³ΠΎΠ΄Ρ.
Π£ΡΡΠ°Π½ΠΎΠ²ΠΊΠ° ΠΊΡΠ΅Π½ΠΎΠ½Π° ΠΈ Π±ΠΈΠΊΡΠ΅Π½ΠΎΠ½Π°
Π―ΡΠΊΠΈΠΉ ΠΈ ΠΎΠΏΡΠΈΠΌΠ°Π»ΡΠ½ΡΠΉ Π² ΡΠ΅Π½ΠΎΠ²ΠΎΠΌ ΡΠ΅Π³ΠΌΠ΅Π½ΡΠ΅ ΠΊΡΠ΅Π½ΠΎΠ½, ΠΈ Π±ΠΈ ΠΊΡΠ΅Π½ΠΎΠ½ ΡΠ΄Π΅Π»Π°ΡΡ ΠΎΡΠ²Π΅ΡΠΈΡΠ΅Π»ΡΠ½ΡΠ΅ ΠΏΡΠΈΠ±ΠΎΡΡ Π°Π²ΡΠΎΠΌΠΎΠ±ΠΈΠ»Ρ Π±ΠΎΠ»Π΅Π΅ ΡΡΡΠ΅ΠΊΡΠΈΠ²Π½ΡΠΌΠΈ. ΠΡ ΠΏΠΎΠ΄Π±ΠΈΡΠ°Π΅ΠΌ ΠΊΠ°ΡΠ΅ΡΡΠ²Π΅Π½Π½ΡΠ΅ ΡΠ΅ΡΡΠΈΡΠΈΡΠΈΡΠΎΠ²Π°Π½Π½ΡΠ΅ ΠΊΠΎΠΌΠΏΠ»Π΅ΠΊΡΡΡΡΠΈΠ΅ Ρ ΠΏΡΠΎΠ΄ΠΎΠ»ΠΆΠΈΡΠ΅Π»ΡΠ½ΡΠΌ ΡΡΠΎΠΊΠΎΠΌ ΡΠ»ΡΠΆΠ±Ρ ΠΈ Π³Π°ΡΠ°Π½ΡΠΈΡΡΠ΅ΠΌ ΡΠΎΡ ΡΠ°Π½Π½ΠΎΡΡΡ Π»Π°ΠΌΠΏ ΠΏΠΎΡΠ»Π΅ ΡΡΡΠ°Π½ΠΎΠ²ΠΊΠΈ. ΠΠΎΡΡΠ΅ΠΊΡΠ½ΠΎΠ΅ Π²Π½Π΅Π΄ΡΠ΅Π½ΠΈΠ΅ ΡΠ²Π΅ΡΠ° ΠΏΠΎΠ·Π²ΠΎΠ»ΡΠ΅Ρ Π±Π΅ΡΠΏΡΠ΅ΠΏΡΡΡΡΠ²Π΅Π½Π½ΠΎ ΠΈΡΠΏΠΎΠ»ΡΠ·ΠΎΠ²Π°ΡΡ ΠΎΡΠ²Π΅ΡΠ΅Π½ΠΈΠ΅ ΡΡΠ°Π·Ρ ΠΏΠΎ ΠΎΠΊΠΎΠ½ΡΠ°Π½ΠΈΡ ΡΠ°Π±ΠΎΡ, Π½Π° ΠΊΠΎΡΠΎΡΡΠ΅ ΠΌΡ ΠΏΡΠ΅Π΄ΠΎΡΡΠ°Π²Π»ΡΠ΅ΠΌ Π³Π°ΡΠ°Π½ΡΠΈΡ.
Π Π΅ΠΌΠΎΠ½Ρ Π·Π°ΠΏΠΎΡΠ΅Π²ΡΠΈΡ ΡΠ°Ρ
ΠΠ°ΠΊΠΎΠΏΠ»Π΅Π½Π½ΠΎΠ΅ Π·Π°ΠΏΠΎΡΠ΅Π²Π°Π½ΠΈΠ΅ ΡΠ°Ρ Π½Π΅ ΠΏΠΎΠ·Π²ΠΎΠ»ΡΠ΅Ρ ΠΈΡΠΏΠΎΠ»ΡΠ·ΠΎΠ²Π°ΡΡ ΠΎΡΠ²Π΅ΡΠΈΡΠ΅Π»ΡΠ½ΡΠ΅ ΠΏΡΠΈΠ±ΠΎΡΡ Π½Π° ΠΏΠΎΠ»Π½ΡΡ ΠΌΠΎΡΠ½ΠΎΡΡΡ ΠΈ ΡΠ½ΠΈΠΆΠ°ΡΡ Π½Π΅ ΡΠΎΠ»ΡΠΊΠΎ ΠΈΡ
ΡΡΡΠ΅ΠΊΡΠΈΠ²Π½ΠΎΡΡΡ, Π½ΠΎ ΠΈ Π±Π΅Π·ΠΎΠΏΠ°ΡΠ½ΠΎΡΡΡ Π²ΠΎΠΆΠ΄Π΅Π½ΠΈΡ. Π ΡΠΎΠΌΡ ΠΆΠ΅, Π²Π»Π°Π³Π°, ΡΠΊΠ°ΠΏΠ»ΠΈΠ²Π°ΡΡΠ°ΡΡΡ Π²Π½ΡΡΡΠΈ ΡΠ°ΡΡ, Π½Π΅Π³Π°ΡΠΈΠ²Π½ΠΎ Π²Π»ΠΈΡΠ΅Ρ Π½Π° Π»Π°ΠΌΠΏΡ. ΠΡΠΎΠΈΡΡ
ΠΎΠ΄ΠΈΡ ΡΡΠΎ ΠΈΠ·-Π·Π° ΡΠ°Π·Π³Π΅ΡΠΌΠ΅ΡΠΈΠ·Π°ΡΠΈΠΈ ΡΠ°ΡΡ ΠΈΠ»ΠΈ Π½Π°Π»ΠΈΡΠΈΡ ΠΌΠΈΠΊΡΠΎΡΠ°ΡΠ°ΠΏΠΈΠ½. ΠΡ Π²ΠΎΡΡΡΠ°Π½ΠΎΠ²ΠΈΠΌ Π³Π΅ΡΠΌΠ΅ΡΠΈΡΠ½ΠΎΡΡΡ, ΠΎΡΠΈΡΡΠΈΠΌ ΡΠ°ΡΡ ΠΈ Π²Π°Ρ Π°Π²ΡΠΎΠΌΠΎΠ±ΠΈΠ»Ρ Π±ΡΠ΄Π΅Ρ Π² ΠΏΠΎΠ»Π½ΠΎΠΉ Π³ΠΎΡΠΎΠ²Π½ΠΎΡΡΠΈ Π² ΠΊΡΠ°ΡΠΊΠΈΠ΅ ΡΡΠΎΠΊΠΈ.
ΠΠΈΠΎΠ΄Π½Π°Ρ ΠΏΠΎΠ΄ΡΠ²Π΅ΡΠΊΠ°
ΠΠΈΠΎΠ΄Π½Π°Ρ ΠΏΠΎΠ΄ΡΠ²Π΅ΡΠΊΠ° ΡΠΊΡΠ°ΡΠ°Π΅Ρ ΠΈ Π²ΡΠ΄Π΅Π»ΡΠ΅Ρ Π°Π²ΡΠΎΠΌΠΎΠ±ΠΈΠ»Ρ ΠΈΠ· ΡΠΎΡΠ΅Π½ ΡΠ°ΠΊΠΈΡ ΠΆΠ΅. ΠΠ°ΡΠ΅ΡΡΠ²Π΅Π½Π½ΠΎΠ΅ ΠΈ ΡΠΎΡΠ½ΠΎΠ΅ Π²Π½Π΅Π΄ΡΠ΅Π½ΠΈΠ΅ ΠΏΠΎΠ΄ΡΠ²Π΅ΡΠΊΠΈ ΠΏΠΎΠ΄ΡΠ΅ΡΠΊΠ½Π΅Ρ Π»ΠΈΠ½ΠΈΠΈ Π°Π²ΡΠΎ, ΡΠ΄Π΅Π»Π°Π΅Ρ Π΅Π³ΠΎ ΡΡΠΊΠΈΠΌ ΠΈ ΡΡΠΈΠ»ΡΠ½ΡΠΌ, Π° ΡΠ°ΠΊΠΆΠ΅ ΠΏΠΎΠ·Π²ΠΎΠ»ΠΈΡ Π²ΡΡΠ°Π·ΠΈΡΡ ΡΠ²ΠΎΠ΅ Β«Π―Β» Π²Π»Π°Π΄Π΅Π»ΡΡΡ ΡΡΠ°Π½ΡΠΏΠΎΡΡΠ°. ΠΡ ΠΏΠΎΠ΄Π³ΠΎΡΠΎΠ²ΠΈΠΌ ΠΈΠ½Π΄ΠΈΠ²ΠΈΠ΄ΡΠ°Π»ΡΠ½ΡΠΉ ΠΏΡΠΎΠ΅ΠΊΡ ΠΈ ΠΏΡΠ΅Π΄Π»ΠΎΠΆΠΈΠΌ Π°ΠΊΡΡΠ°Π»ΡΠ½ΡΠ΅ ΡΠ΅ΡΠ΅Π½ΠΈΡ. Π’ΠΎΠ»ΡΠΊΠΎ ΠΏΠΎΡΠ»Π΅ ΡΠΎΠ³Π»Π°ΡΠΎΠ²Π°Π½ΠΈΡ Π²ΡΠ΅Ρ Π΄Π΅ΡΠ°Π»Π΅ΠΉ Π½Π°ΡΠΈ ΡΠΏΠ΅ΡΠΈΠ°Π»ΠΈΡΡΡ ΠΏΡΠΎΠ²Π΅Π΄ΡΡ ΡΠ°Π±ΠΎΡΡ ΠΏΠΎ Π²Π½Π΅Π΄ΡΠ΅Π½ΠΈΡ Π΄ΠΈΠΎΠ΄Π½ΠΎΠΉ ΠΏΠΎΠ΄ΡΠ²Π΅ΡΠΊΠΈ.
Π£ΡΡΠ°Π½ΠΎΠ²ΠΊΠ° Π»ΠΈΠ½Π·, Π±ΠΈ Π»ΠΈΠ½Π·
ΠΠ°ΡΠ΅ΡΡΠ²ΠΎ ΡΠ²Π΅ΡΠ° Π·Π°Π²ΠΈΡΠΈΡ Π½Π΅ ΡΠΎΠ»ΡΠΊΠΎ ΠΎΡ Π»Π°ΠΌΠΏΡ ΠΈ ΠΏΡΠΎΠ·ΡΠ°ΡΠ½ΠΎΡΡΠΈ ΡΠ°ΡΡ. ΠΠΎΠ»ΡΡΠΎΠΉ Π²Π΅Ρ Π² ΠΎΡΠ³Π°Π½ΠΈΠ·Π°ΡΠΈΠΈ ΠΎΡΠ²Π΅ΡΠ΅Π½ΠΈΡ ΠΈΠ³ΡΠ°Π΅Ρ ΠΊΠ°ΡΠ΅ΡΡΠ²ΠΎ Π»ΠΈΠ½Π·Ρ. Π£ΡΡΠ°Π½ΠΎΠ²ΠΊΠ° Π»ΠΈΠ½Π· ΠΈ Π±ΠΈ Π»ΠΈΠ½Π· ΠΏΠΎΠ·Π²ΠΎΠ»ΡΠ΅Ρ ΡΠ»ΡΡΡΠΈΡΡ ΡΠΎΠΊΡΡΠΈΡΠΎΠ²ΠΊΡ Π»ΡΡΠ°, ΡΡΠΎ ΠΏΡΠΈΠ²ΠΎΠ΄ΠΈΡ ΠΊ Π±ΠΎΠ»Π΅Π΅ ΡΠ΅ΡΠΊΠΈΠΌ Π³ΡΠ°Π½ΠΈΡΠ°ΠΌ ΡΠ²Π΅ΡΠ°. Π’Π°ΠΊ Π²Π°Ρ ΠΎΡΠ²Π΅ΡΠΈΡΠ΅Π»ΡΠ½ΡΠΉ ΠΏΡΠΈΠ±ΠΎΡ ΡΡΠ°Π½Π΅Ρ Π±ΠΎΠ»Π΅Π΅ ΡΡΡΠ΅ΠΊΡΠΈΠ²Π½ΡΠΌ, Π° ΡΠ°ΠΊΠΆΠ΅ ΡΠ½ΠΈΠ·ΠΈΡ ΡΠ²ΠΎΠ΅ Π²ΠΎΠ·Π΄Π΅ΠΉΡΡΠ²ΠΈΠ΅ Π½Π° Π·ΡΠ΅Π½ΠΈΠ΅ Π²ΠΎΠ΄ΠΈΡΠ΅Π»Ρ Π²ΡΡΡΠ΅ΡΠ½ΠΎΠ³ΠΎ Π°Π²ΡΠΎΠΌΠΎΠ±ΠΈΠ»Ρ. ΠΡ ΠΈΡΠΏΠΎΠ»ΡΠ·ΡΠ΅ΠΌ ΠΈΡΠΊΠ»ΡΡΠΈΡΠ΅Π»ΡΠ½ΠΎ ΡΠ΅ΡΡΠΈΡΠΈΡΠΈΡΠΎΠ²Π°Π½Π½ΡΠ΅ ΠΊΠΎΠΌΠΏΠ»Π΅ΠΊΡΡΡΡΠΈΠ΅ ΠΈ ΠΌΠ΅ΡΠΎΠ΄Ρ Π²Π½Π΅Π΄ΡΠ΅Π½ΠΈΡ.
ΠΠ°ΠΌΠ΅Π½Π° ΡΡΠ°ΡΠ½ΡΡ Π»ΠΈΠ½Π·
ΠΡΠΈ ΠΏΡΠΎΡΠ²Π»Π΅Π½ΠΈΠΈ Π½Π°ΡΡΡΠ΅Π½ΠΈΡ ΡΠ΅Π»ΠΎΡΡΠ½ΠΎΡΡΠΈ ΠΌΠ΅ΡΡΠ½ΠΎΠΉ Π»ΠΈΠ½Π·Ρ, Π½Π΅ΠΎΠ±Ρ
ΠΎΠ΄ΠΈΠΌΠΎ ΠΏΡΠΎΠ²Π΅ΡΡΠΈ ΡΠ°Π±ΠΎΡΡ ΠΏΠΎ ΠΈΡ
Π·Π°ΠΌΠ΅Π½Π΅.
Π―Π²Π½ΡΠΌ ΡΠΈΠ³Π½Π°Π»ΠΎΠΌ ΠΎ Π½Π΅ΠΎΠ±Ρ
ΠΎΠ΄ΠΈΠΌΠΎΡΡΠΈ ΠΏΡΠΎΠ²Π΅Π΄Π΅Π½ΠΈΡ ΡΡΠΎΡΠ½ΡΡ
ΡΠ°Π±ΠΎΡ β ΡΡ
ΡΠ΄ΡΠ΅Π½ΠΈΠ΅ ΡΠ°ΡΡΠ΅ΠΈΠ²Π°Π½ΠΈΡ ΡΠ²Π΅ΡΠ°, ΡΠ½ΠΈΠΆΠ΅Π½ΠΈΠ΅ ΡΡΡΠ΅ΠΊΡΠΈΠ²Π½ΠΎΡΡΠΈ ΠΎΡΠ²Π΅ΡΠ΅Π½ΠΈΡ, Π²ΡΠ³ΠΎΡΠ°Π½ΠΈΠ΅ ΠΊΡΠ΅Π½ΠΎΠ½Π°. ΠΠΎΡΠ»Π΅ Π·Π°ΠΌΠ΅Π½Ρ ΡΡΠ°ΡΠ½ΡΡ
Π»ΠΈΠ½Π· Π²Ρ ΠΏΠΎΠ»ΡΡΠΈΡΠ΅ ΠΏΠΎΠ»Π½ΠΎΡΠ΅Π½Π½ΠΎΠ΅ Π²ΠΎΠ·ΠΎΠ±Π½ΠΎΠ²Π»Π΅Π½ΠΈΠ΅ ΠΏΡΠ΅ΠΆΠ½Π΅Π³ΠΎ ΡΡΡΠ΅ΠΊΡΠ° ΠΎΡ ΠΎΡΠ²Π΅ΡΠΈΡΠ΅Π»ΡΠ½ΠΎΠ³ΠΎ ΠΏΡΠΈΠ±ΠΎΡΠ°. ΠΡΠ΅ ΠΊΠΎΠΌΠΏΠ»Π΅ΠΊΡΡΡΡΠΈΠ΅ ΠΈΡΠΏΠΎΠ»ΡΠ·ΡΠ΅ΠΌΡΠ΅ ΠΏΡΠΈ Π·Π°ΠΌΠ΅Π½Π΅ ΡΠ΅ΡΡΠΈΡΠΈΡΠΈΡΠΎΠ²Π°Π½Ρ ΠΈ ΠΏΠΎΠ»Π½ΠΎΡΡΡΡ ΡΠΎΠ²ΠΏΠ°Π΄Π°ΡΡ ΠΏΠΎ Π΄ΠΈΠ·Π°ΠΉΠ½Ρ Ρ Β«ΡΠΎΠ΄Π½ΡΠΌΠΈΒ».
ΠΠΎΠΌΠΏΠ»Π΅ΠΊΡΠ½ΠΎΠ΅ ΠΎΠ±ΡΠ»ΡΠΆΠΈΠ²Π°Π½ΠΈΠ΅ ΠΈ ΡΠ»ΡΡΡΠ΅Π½ΠΈΠ΅ Π°Π²ΡΠΎΡΠ²Π΅ΡΠ°
ΠΡΠΈ ΡΡ ΡΠ΄ΡΠ΅Π½ΠΈΠΈ ΠΎΡΠ²Π΅ΡΠ΅Π½ΠΈΡ, Π½Π°Π»ΠΈΡΠΈΠΈ ΠΌΠ΅Ρ Π°Π½ΠΈΡΠ΅ΡΠΊΠΈΡ ΠΏΠΎΠ²ΡΠ΅ΠΆΠ΄Π΅Π½ΠΈΠΉ ΠΈΠ»ΠΈ Π½Π°ΡΡΡΠ΅Π½ΠΈΠΉ ΡΠ°Π±ΠΎΡΡ ΠΈΠ½ΠΎΠ³ΠΎ ΡΠΈΠΏΠ°, Π½Π΅ΠΎΠ±Ρ ΠΎΠ΄ΠΈΠΌΠΎ ΠΏΡΠΎΠ²Π΅ΡΡΠΈ ΠΊΠΎΠΌΠΏΠ»Π΅ΠΊΡΠ½ΡΠ΅ ΡΠ°Π±ΠΎΡΡ ΠΏΠΎ ΡΠ΅ΡΡΠ°ΠΉΠ»ΠΈΠ½Π³ΠΊ ΠΈ Π²ΠΎΡΡΡΠ°Π½ΠΎΠ²Π»Π΅Π½ΠΈΡ Ρ ΠΎΠ΄ΠΎΠ²ΡΡ ΠΎΠ³Π½Π΅ΠΉ, ΡΠ°Ρ, ΠΏΠΎΠ²ΠΎΡΠΎΡΠ½ΠΈΠΊΠΎΠ². ΠΠΎΠΌΠΏΠ»Π΅ΠΊΡΠ½ΠΎΠ΅ ΠΎΠ±ΡΠ»ΡΠΆΠΈΠ²Π°Π½ΠΈΠ΅ Π²ΠΊΠ»ΡΡΠ°Π΅Ρ Π² ΡΠ΅Π±Ρ Π½Π΅ ΡΠΎΠ»ΡΠΊΠΎ Π²ΠΎΡΡΡΠ°Π½ΠΎΠ²Π»Π΅Π½ΠΈΠ΅, Π½ΠΎ ΠΈ ΠΈΠ·Π³ΠΎΡΠΎΠ²Π»Π΅Π½ΠΈΠ΅ ΠΎΠ³Π½Π΅ΠΉ Π΄Π»Ρ ΡΠ»ΡΡΡΠ΅Π½ΠΈΡ ΠΎΡΠ²Π΅ΡΠ΅Π½ΠΈΡ ΠΏΠΎ ΠΈΠ½Π΄ΠΈΠ²ΠΈΠ΄ΡΠ°Π»ΡΠ½ΠΎΠΌΡ ΠΏΡΠΎΠ΅ΠΊΡΡ. ΠΡ Π²ΡΠΏΠΎΠ»Π½ΡΠ΅ΠΌ ΡΠΊΡΠΊΠ»ΡΠ·ΠΈΠ²Π½ΡΠ΅ ΠΏΡΠΎΠ΅ΠΊΡΡ Π»ΡΠ±ΠΎΠΉ ΡΠ»ΠΎΠΆΠ½ΠΎΡΡΠΈ ΡΠΎΠ³Π»Π°ΡΠ½ΠΎ ΡΡΠ΅Π±ΠΎΠ²Π°Π½ΠΈΡΠΌ Π·Π°ΠΊΠ°Π·ΡΠΈΠΊΠ°.
ΠΠ°ΡΠΈΡΠΈΡΠ΅ ΡΠ²ΠΎΠΉ Π°Π²ΡΠΎΠΌΠΎΠ±ΠΈΠ»Ρ ΠΎΡ Π½Π΅ΠΊΠ°ΡΠ΅ΡΡΠ²Π΅Π½Π½ΠΎΠ³ΠΎ ΡΠ΅ΠΌΠΎΠ½ΡΠ°
ΠΠ°ΠΏΠΈΡΠΈΡΠ΅ΡΡ Π½Π° Π±Π΅ΡΠΏΠ»Π°ΡΠ½ΡΡ ΠΊΠΎΠ½ΡΡΠ»ΡΡΠ°ΡΠΈΡ!
Π‘ΠΈΠ»ΡΠ½ΡΠ΅ ΡΡΠΎΡΠΎΠ½Ρ Π°Π²ΡΠΎΡΠ΅ΡΠ²ΠΈΡΠ°
ΠΠΎΡΠ΅ΠΌΡ Π²ΡΠ±ΠΈΡΠ°ΡΡ ΠΈΠΌΠ΅Π½Π½ΠΎ Π½Π°Ρ?
- ΠΠ°ΡΠ°Π½ΡΠΈΡ Π½Π° Π²ΡΠ΅ Π²ΡΠΏΠΎΠ»Π½Π΅Π½Π½ΡΠ΅ ΡΠ°Π±ΠΎΡΡ
- Π‘Π΅ΡΡΠΈΡΠΈΡΠΈΡΠΎΠ²Π°Π½Π½ΡΠ΅ ΠΈ ΠΎΠΏΡΡΠ½ΡΠ΅ ΡΠΏΠ΅ΡΠΈΠ°Π»ΠΈΡΡΡ
- Π Π°Π±ΠΎΡΠ°Π΅ΠΌ Π² ΠΌΠ°ΠΊΡΠΈΠΌΠ°Π»ΡΠ½ΠΎ ΡΠΆΠ°ΡΡΠ΅ ΡΡΠΎΠΊΠΈ
- ΠΠ°Π΄Π΅ΠΆΠ½ΠΎΠ΅ ΠΎΠ±ΠΎΡΡΠ΄ΠΎΠ²Π°Π½ΠΈΠ΅ ΠΈ ΠΊΠΎΠΌΠΏΠ»Π΅ΠΊΡΡΡΡΠΈΠ΅
- ΠΠ΅ΡΠΏΠ»Π°ΡΠ½Π°Ρ Π΄ΠΈΠ°Π³Π½ΠΎΡΡΠΈΠΊΠ° Π°Π²ΡΠΎΠΌΠΎΠ±ΠΈΠ»Ρ Π² ΡΠ΅ΡΠ²ΠΈΡΠ΅
- ΠΠ΅ΡΠ΅ΠΌΡΡ Π·Π° ΡΠ°Π±ΠΎΡΡ Π»ΡΠ±ΠΎΠΉ ΡΠ»ΠΎΠΆΠ½ΠΎΡΡΠΈ
ΠΠ΅Π΄ΠΎΡΠΎΠ³ΠΈΠ΅ ΡΡΡΠ°Π½ΠΎΠ²ΡΠΈΠΊΠΈ ΡΠ²Π΅ΡΠΎΠ΄ΠΈΠΎΠ΄Π½ΡΡ ΡΠΎΠ½Π°ΡΠ΅ΠΉ ΡΡΠ΄ΠΎΠΌ Ρ Π²Π°ΠΌΠΈ
ΠΠ°ΠΏΠΎΠ»Π½ΠΈΡΠ΅ ΠΊΠΎΡΠΎΡΠΊΡΡ ΡΠΎΡΠΌΡ ΠΈ ΠΏΠΎΠ»ΡΡΠΈΡΠ΅ ΡΠ°ΡΡΠ΅Π½ΠΊΠΈ ΠΎΡ ΠΏΡΠΎΡΠ΅ΡΡΠΈΠΎΠ½Π°Π»ΡΠ½ΡΡ ΡΡΠ»ΡΠ³ ΠΏΠΎ ΡΡΡΠ°Π½ΠΎΠ²ΠΊΠ΅ ΡΠ²Π΅ΡΠΎΠ΄ΠΈΠΎΠ΄Π½ΡΡ ΡΠΎΠ½Π°ΡΠ΅ΠΉ
ΠΡΠ»ΠΈ Π²Ρ Ρ ΠΎΡΠΈΡΠ΅ ΡΡΡΠ°Π½ΠΎΠ²ΠΈΡΡ ΡΠ²Π΅ΡΠΎΠ΄ΠΈΠΎΠ΄Π½ΡΠ΅ ΡΠΎΠ½Π°ΡΠΈ Π½Π° ΡΠ²ΠΎΠΉ Π°Π²ΡΠΎΠΌΠΎΠ±ΠΈΠ»Ρ
- Π£ΡΡΠ°Π½ΠΎΠ²ΠΊΠ° Π°Π²ΡΠΎΠΌΠΎΠ±ΠΈΠ»ΡΠ½ΠΎΠ³ΠΎ ΠΎΡΠ²Π΅ΡΠ΅Π½ΠΈΡ
- Π£ΡΡΠ°Π½ΠΎΠ²ΠΊΠ° Π°Π²ΡΠΎΠΌΠΎΠ±ΠΈΠ»ΡΠ½ΠΎΠ³ΠΎ ΠΎΡΠ²Π΅ΡΠ΅Π½ΠΈΡ
- Π‘Π²Π΅ΡΠΎΠ΄ΠΈΠΎΠ΄ ΡΡΡΠ°Π½ΠΎΠ²ΠΊΠ° ΡΠ°Ρ
- ΡΡΡΠ°Π½ΠΎΠ²ΠΊΠ° ΠΏΠΎΠ΄ΡΠ²Π΅ΡΠΊΠΈ
- ΡΡΡΠ°Π½ΠΎΠ²ΠΊΠ° ΡΠΎΠΊ
- β¦ ΠΈΠ»ΠΈ ΡΡΠΎ-ΡΠΎ Π΅ΡΠ΅
ΠΠΎ 50% Π΄Π΅ΡΠ΅Π²Π»Π΅, ΡΠ΅ΠΌ Ρ ΡΡΠ°Π½ΡΠ°ΠΉΠ·ΠΈΠ½Π³ΠΎΠ²ΡΡ Π΄ΠΈΠ»Π΅ΡΠΎΠ²
Π Π°Π±ΠΎΡΠ° Π½Π΅ Π±ΡΠ²Π°Π΅Ρ ΡΠ»ΠΈΡΠΊΠΎΠΌ Π±ΠΎΠ»ΡΡΠΎΠΉ ΠΈΠ»ΠΈ ΠΌΠ°Π»Π΅Π½ΡΠΊΠΎΠΉ
ΠΠ΅Π·ΠΎΠΏΠ°ΡΠ½ΡΠ΅ Π±Π΅Π·Π½Π°Π»ΠΈΡΠ½ΡΠ΅ ΠΏΠ»Π°ΡΠ΅ΠΆΠΈ
ΠΠ±ΡΠ»ΡΠΆΠΈΠ²Π°Π½ΠΈΠ΅ Π² ΡΠΎΡ ΠΆΠ΅ ΠΈΠ»ΠΈ Π½Π° ΡΠ»Π΅Π΄ΡΡΡΠΈΠΉ Π΄Π΅Π½Ρ Π±Π΅Π· Π΄ΠΎΠΏΠΎΠ»Π½ΠΈΡΠ΅Π»ΡΠ½ΡΡ Π·Π°ΡΡΠ°Ρ
ΠΡΡΡΠΈΠ΅ ΡΡΡΠ°Π½ΠΎΠ²ΡΠΈΠΊΠΈ ΡΠ²Π΅ΡΠΎΠ΄ΠΈΠΎΠ΄Π½ΡΡ ΡΠ²Π΅ΡΠΈΠ»ΡΠ½ΠΈΠΊΠΎΠ² ΡΡΠ΄ΠΎΠΌ ΡΠΎ ΠΌΠ½ΠΎΠΉ
Π§ΡΠΎ ΡΠ°ΠΊΠΎΠ΅ Airtasker?
Π Π°Π·ΠΌΠ΅ΡΡΠΈΡΠ΅ ΡΠ²ΠΎΡ Π·Π°Π΄Π°ΡΡ
Π Π°ΡΡΠΊΠ°ΠΆΠΈΡΠ΅ Π½Π°ΠΌ, ΡΡΠΎ Π²Π°ΠΌ Π½ΡΠΆΠ½ΠΎ, ΡΡΠΎ ΠΠΠ‘ΠΠΠΠ’ΠΠ.
ΠΠ±Π·ΠΎΡ ΠΏΡΠ΅Π΄Π»ΠΎΠΆΠ΅Π½ΠΈΠΉ
ΠΠΎΠ»ΡΡΠ°ΠΉΡΠ΅ ΠΏΡΠ΅Π΄Π»ΠΎΠΆΠ΅Π½ΠΈΡ ΠΎΡ Π΄ΠΎΠ²Π΅ΡΠ΅Π½Π½ΡΡ ΡΠ°ΡΠΊΠ΅ΡΠΎΠ² ΠΈ ΠΏΡΠΎΡΠΌΠ°ΡΡΠΈΠ²Π°ΠΉΡΠ΅ ΠΏΡΠΎΡΠΈΠ»ΠΈ.
Π‘Π΄Π΅Π»Π°ΠΉ ΡΡΠΎ
ΠΡΠ±Π΅ΡΠΈΡΠ΅ ΠΏΠΎΠ΄Ρ ΠΎΠ΄ΡΡΠ΅Π³ΠΎ ΡΠ΅Π»ΠΎΠ²Π΅ΠΊΠ° Π΄Π»Ρ Π²Π°ΡΠ΅ΠΉ Π·Π°Π΄Π°ΡΠΈ ΠΈ ΡΠ΄Π΅Π»Π°ΠΉΡΠ΅ Π΅Π΅.
ΠΠ°ΡΠ΅ΠΌ Π½Π°Π½ΠΈΠΌΠ°ΡΡ ΡΡΠ»ΡΠ³Ρ ΠΏΠΎ ΡΡΡΠ°Π½ΠΎΠ²ΠΊΠ΅ ΡΠ²Π΅ΡΠΎΠ΄ΠΈΠΎΠ΄Π½ΡΡ ΡΠ²Π΅ΡΠΈΠ»ΡΠ½ΠΈΠΊΠΎΠ² ΡΠ΅ΡΠ΅Π· Airtasker?
ΠΠ°Π½ΡΡΡ ΡΠΏΠ΅ΡΠΈΠ°Π»ΠΈΡΡΠ° Π½Π° Airtasker Π΄Π»Ρ ΡΡΡΠ°Π½ΠΎΠ²ΠΊΠΈ ΡΠ²Π΅ΡΠΎΠ΄ΠΈΠΎΠ΄Π½ΡΡ ΡΠΎΠ½Π°ΡΠ΅ΠΉ Π½Π° Π²Π°Ρ Π°Π²ΡΠΎΠΌΠΎΠ±ΠΈΠ»Ρ ΠΏΡΠΎΡΠ΅ ΠΈ ΡΠ΄ΠΎΠ±Π½Π΅Π΅. ΠΠ°ΠΌ Π±ΠΎΠ»ΡΡΠ΅ Π½Π΅ Π½ΡΠΆΠ½ΠΎ Π΄ΠΎΠ²ΠΎΠ»ΡΡΡΠ²ΠΎΠ²Π°ΡΡΡΡ Π·Π°Π²ΠΎΠ΄ΡΠΊΠΈΠΌ ΠΎΡΠ²Π΅ΡΠ΅Π½ΠΈΠ΅ΠΌ ΡΠ°Π»ΠΎΠ½Π° Π²Π°ΡΠ΅Π³ΠΎ Π°Π²ΡΠΎΠΌΠΎΠ±ΠΈΠ»Ρ. ΠΡ ΠΌΠΎΠΆΠ΅ΡΠ΅ ΡΡΡΠ°Π½ΠΎΠ²ΠΈΡΡ Π±ΠΎΠ»ΡΡΠ΅ ΡΠ°Ρ, ΡΡΠΎΠ±Ρ Π²Π°ΠΌ Π½Π΅ ΠΏΡΠΈΡ ΠΎΠ΄ΠΈΠ»ΠΎΡΡ ΡΡΡΡΡΡ Π² ΡΠ΅ΠΌΠ½ΠΎΡΠ΅ Π² ΠΏΠΎΠΈΡΠΊΠ°Ρ ΡΠΏΠ°Π²ΡΠΈΡ ΠΏΡΠ΅Π΄ΠΌΠ΅ΡΠΎΠ² (Π½Π΅ Π΄Π΅Π»Π°ΠΉΡΠ΅ ΡΡΠΎΠ³ΠΎ Π²ΠΎ Π²ΡΠ΅ΠΌΡ Π²ΠΎΠΆΠ΄Π΅Π½ΠΈΡ!), Π Π²Ρ ΠΌΠΎΠΆΠ΅ΡΠ΅ ΠΏΡΠΈΠ΄Π°ΡΡ ΡΠ²ΠΎΠ΅ΠΌΡ Π°Π²ΡΠΎΠΌΠΎΠ±ΠΈΠ»Ρ ΡΠ½ΠΈΠΊΠ°Π»ΡΠ½ΡΠΉ ΡΡΡΠ΅ΡΠΈΡΠ΅ΡΠΊΠΈΠΉ Π°ΠΏΠ³ΡΠ΅ΠΉΠ΄.
ΠΡΡΡΠ΅ Π½Π°Π½ΡΡΡ ΡΠΏΠ΅ΡΠΈΠ°Π»ΠΈΡΡΠ° ΠΈ Π½Π΅ Π΄Π΅Π»Π°ΡΡ ΡΠ°Π±ΠΎΡΡ ΡΠ°ΠΌΠΎΠΌΡ. ΠΠ°ΠΌ Π½Π΅ Π½ΡΠΆΠ½ΠΎ Π±Π΅ΡΠΏΠΎΠΊΠΎΠΈΡΡΡΡ ΠΎ ΡΠΎΠΌ, ΡΡΠΎ Π²Ρ ΠΎΡΠΈΠ±Π΅ΡΠ΅ΡΡ ΠΈ ΠΏΠΎΠ²Π»ΠΈΡΠ΅ΡΠ΅ Π½Π° ΡΠ»Π΅ΠΊΡΡΠΈΠΊΡ Π²Π°ΡΠ΅Π³ΠΎ Π°Π²ΡΠΎΠΌΠΎΠ±ΠΈΠ»Ρ. ΠΡ ΡΠ°ΠΊΠΆΠ΅ ΠΌΠΎΠΆΠ΅ΡΠ΅ Π½Π΅ ΡΡΠ°ΡΠΈΡΡ Π²ΡΠ΅ΠΌΡ Π½Π° ΠΏΠΎΠΈΡΠΊ ΠΏΠΎΡΡΠ°Π²ΡΠΈΠΊΠΎΠ² ΡΡΠ»ΡΠ³ Π² ΠΠ½ΡΠ΅ΡΠ½Π΅ΡΠ΅.
ΠΡΠ΅, ΡΡΠΎ Π²Π°ΠΌ Π½ΡΠΆΠ½ΠΎ ΡΠ΄Π΅Π»Π°ΡΡ, ΡΡΠΎ ΠΎΠΏΡΠ±Π»ΠΈΠΊΠΎΠ²Π°ΡΡ Π²Π°ΠΊΠ°Π½ΡΠΈΡ Π½Π° Airtasker ΡΠΎ Π²ΡΠ΅ΠΌΠΈ Π²Π°ΠΆΠ½ΡΠΌΠΈ Π΄Π΅ΡΠ°Π»ΡΠΌΠΈ, ΡΠ°ΠΊΠΈΠΌΠΈ ΠΊΠ°ΠΊ Π²Π°Ρ Π°Π΄ΡΠ΅Ρ, Π±ΡΠ΄ΠΆΠ΅Ρ ΠΈ ΠΊΠ°ΠΊ Π±ΡΡΡΡΠΎ Π²Ρ Ρ
ΠΎΡΠΈΡΠ΅, ΡΡΠΎΠ±Ρ ΡΠ°Π±ΠΎΡΠ° Π±ΡΠ»Π° Π²ΡΠΏΠΎΠ»Π½Π΅Π½Π°.
Π‘ΠΏΠ΅ΡΠΈΠ°Π»ΠΈΡΡΡ ΠΏΠΎ ΡΡΡΠ°Π½ΠΎΠ²ΠΊΠ΅ ΡΠ²ΡΠΆΡΡΡΡ Ρ Π²Π°ΠΌΠΈ ΠΏΠΎ ΠΏΠΎΠ²ΠΎΠ΄Ρ ΡΠ°Π±ΠΎΡΡ ΠΈ Π΄Π°Π΄ΡΡ Π²Π°ΠΌ Π±Π΅ΡΠΏΠ»Π°ΡΠ½ΠΎΠ΅ ΠΏΡΠ΅Π΄Π»ΠΎΠΆΠ΅Π½ΠΈΠ΅. ΠΠ°ΠΊ ΡΠΎΠ»ΡΠΊΠΎ Π²Ρ Π΄ΠΎΠ³ΠΎΠ²ΠΎΡΠΈΡΠ΅ΡΡ ΠΎ ΡΠ΅Π½Π΅, ΠΎΠ½ΠΈ ΠΌΠΎΠ³ΡΡ ΠΏΠΎΠΉΡΠΈ ΠΊ Π²Π°ΠΌ, ΡΡΠΎΠ±Ρ ΡΠ΄Π΅Π»Π°ΡΡ ΡΠ°Π±ΠΎΡΡ. ΠΡ ΡΠ°Π·Π±Π»ΠΎΠΊΠΈΡΡΠ΅ΡΠ΅ ΠΏΠ»Π°ΡΠ΅ΠΆ ΠΏΠΎΡΠ»Π΅ ΡΠΎΠ³ΠΎ, ΠΊΠ°ΠΊ ΡΡΠΎ Π±ΡΠ΄Π΅Ρ ΡΠ΄Π΅Π»Π°Π½ΠΎ — ΡΡΠΎ ΡΠ°ΠΊ ΠΏΡΠΎΡΡΠΎ!
ΠΠ°ΠΉΠΌΠΈΡΠ΅ Π»ΡΡΡΠΈΡ ΠΈΡΠΏΠΎΠ»Π½ΠΈΡΠ΅Π»Π΅ΠΉ
ΠΠ°ΠΉΠΌΠΈΡΠ΅ ΠΎΠΏΡΡΠ½ΡΡ ΠΌΠΎΠ½ΡΠ°ΠΆΠ½ΠΈΠΊΠΎΠ² ΡΠ²Π΅ΡΠΎΠ΄ΠΈΠΎΠ΄Π½ΡΡ ΡΠ²Π΅ΡΠΈΠ»ΡΠ½ΠΈΠΊΠΎΠ² Ρ ΡΠ°ΠΌΡΠΌ Π²ΡΡΠΎΠΊΠΈΠΌ ΡΠ΅ΠΉΡΠΈΠ½Π³ΠΎΠΌ, ΡΡΠΎΠ±Ρ ΠΎΠ½ΠΈ ΠΏΡΠ΅Π΄ΠΎΡΡΠ°Π²ΠΈΠ»ΠΈ Π²Π°ΠΌ ΡΡΠ»ΡΠ³Ρ ΠΏΠΎ ΡΡΡΠ°Π½ΠΎΠ²ΠΊΠ΅ ΡΠ²Π΅ΡΠΎΠ΄ΠΈΠΎΠ΄Π½ΡΡ ΡΠ²Π΅ΡΠΈΠ»ΡΠ½ΠΈΠΊΠΎΠ² ΡΡΠ΄ΠΎΠΌ Ρ Π²Π°ΠΌΠΈ.
ΠΡΠ±Π΅ΡΠΈΡΠ΅ ΡΠ²ΠΎΠΉ Π±ΡΠ΄ΠΆΠ΅Ρ
ΠΠ΅ ΡΠΎΡΠΈΡΠ΅ ΠΊΡΡΠ³Π»Π΅Π½ΡΠΊΡΡ ΡΡΠΌΠΌΡ β Π½Π°ΠΉΠ΄ΠΈΡΠ΅ Π»ΡΡΡΡΡ ΠΈ ΡΠ°ΠΌΡΡ Π΄Π΅ΡΠ΅Π²ΡΡ ΡΡΡΠ°Π½ΠΎΠ²ΠΊΡ ΡΠ²Π΅ΡΠΎΠ΄ΠΈΠΎΠ΄Π½ΡΡ ΡΠ²Π΅ΡΠΈΠ»ΡΠ½ΠΈΠΊΠΎΠ² ΡΡΠ΄ΠΎΠΌ Ρ Π²Π°ΠΌΠΈ ΠΈ ΠΎΡΡΠ°Π²Π°ΠΉΡΠ΅ΡΡ Π² ΡΠ°ΠΌΠΊΠ°Ρ Π±ΡΠ΄ΠΆΠ΅ΡΠ°.
ΠΡΡΡΡΡΠ΅ ΠΏΡΠ΅Π΄Π»ΠΎΠΆΠ΅Π½ΠΈΡ
ΠΠ°ΠΌ Π½ΡΠΆΠ½ΠΎ ΠΊΠ°ΠΊ ΠΌΠΎΠΆΠ½ΠΎ ΡΠΊΠΎΡΠ΅Π΅ Π·Π°ΠΊΠ°Π·Π°ΡΡ ΡΡΡΠ°Π½ΠΎΠ²ΠΊΡ ΡΠ²Π΅ΡΠΎΠ΄ΠΈΠΎΠ΄Π½ΡΡ ΡΠ²Π΅ΡΠΈΠ»ΡΠ½ΠΈΠΊΠΎΠ² ΡΡΠ΄ΠΎΠΌ Ρ Π²Π°ΠΌΠΈ? ΠΠΏΡΠ±Π»ΠΈΠΊΡΠΉΡΠ΅ ΡΠ²ΠΎΡ Π·Π°Π΄Π°ΡΡ ΠΈ ΠΏΠΎΠ»ΡΡΠΈΡΠ΅ ΠΏΡΠ΅Π΄Π»ΠΎΠΆΠ΅Π½ΠΈΡ ΠΎΡ ΠΎΠΏΡΡΠ½ΡΡ Β ΡΡΡΠ°Π½ΠΎΠ²ΡΠΈΠΊΠΎΠ² ΡΠ²Π΅ΡΠΎΠ΄ΠΈΠΎΠ΄Π½ΡΡ ΡΠ²Π΅ΡΠΈΠ»ΡΠ½ΠΈΠΊΠΎΠ²Β ΡΡΠ΄ΠΎΠΌ Ρ Π²Π°ΠΌΠΈ.
Π Π΅Π°Π»ΡΠ½ΡΠ΅ ΠΎΡΠ·ΡΠ²Ρ
Π‘ΡΠ΄ΠΈΡΠ΅ ΡΠ°ΠΌΠΈ β ΠΊΠ°ΠΆΠ΄Π°Ρ Π·Π°Π΄Π°ΡΠ° ΠΏΠΎΠ»ΡΡΠ°Π΅Ρ ΠΎΡΠ·ΡΠ².
Top LED Lights ΠΠΎΠΏΡΠΎΡΡ ΠΏΠΎ ΡΡΡΠ°Π½ΠΎΠ²ΠΊΠ΅
ΠΡΠΎ ΠΏΡΠΎΡΠ΅ ΠΈ ΡΠ΄ΠΎΠ±Π½Π΅Π΅.
ΠΠ°ΠΌ Π½Π΅ Π½ΡΠΆΠ½ΠΎ ΠΏΡΠΎΡΠΌΠ°ΡΡΠΈΠ²Π°ΡΡ Π΄Π΅ΡΡΡΠΊΠΈ Π²Π΅Π±-ΡΠ°ΠΉΡΠΎΠ², ΡΡΠΎΠ±Ρ Π½Π°ΠΉΡΠΈ ΠΏΠΎΡΡΠ°Π²ΡΠΈΠΊΠ° ΡΡΠ»ΡΠ³. ΠΠ°Π±ΡΠ΄ΡΡΠ΅ ΠΎ Π·Π°ΡΠΈΡΡΠΊΠ΅ ΠΏΡΠΎΠ²ΠΎΠ΄ΠΎΠ², ΡΡΠ°ΡΠΈΠ²Π°Π½ΠΈΠΈ, ΠΏΠ°ΠΉΠΊΠ΅ ΠΈ ΠΏΠΎΠ΄ΠΊΠ»ΡΡΠ΅Π½ΠΈΠΈ ΡΠΎΠ½Π°ΡΠ΅ΠΉ ΠΊ Π°ΠΊΠΊΡΠΌΡΠ»ΡΡΠΎΡΡ Π²Π°ΡΠ΅Π³ΠΎ Π°Π²ΡΠΎΠΌΠΎΠ±ΠΈΠ»Ρ. Π Π°Π·ΠΌΠ΅ΡΡΠΈΡΠ΅ ΡΠ²ΠΎΡ Π²Π°ΠΊΠ°Π½ΡΠΈΡ Π½Π° Airtasker ΡΠΎ Π²ΡΠ΅ΠΌΠΈ Π²Π°ΠΆΠ½ΡΠΌΠΈ Π΄Π΅ΡΠ°Π»ΡΠΌΠΈ, Π° Π·Π°ΡΠ΅ΠΌ ΠΏΠΎΠ΄ΠΎΠΆΠ΄ΠΈΡΠ΅, ΠΏΠΎΠΊΠ° Taskers ΡΠ΄Π΅Π»Π°Π΅Ρ ΠΏΡΠ΅Π΄Π»ΠΎΠΆΠ΅Π½ΠΈΠ΅, ΠΊΠΎΡΠΎΡΠΎΠ΅ Π²Ρ ΡΡΠΈΡΠ°Π΅ΡΠ΅ ΠΏΡΠΈΠ΅ΠΌΠ»Π΅ΠΌΡΠΌ.
ΠΠ΅Ρ, Π²Ρ Π½Π΅ ΠΎΠ±ΡΠ·Π°Π½Ρ ΠΏΡΠ΅Π΄ΠΎΡΡΠ°Π²Π»ΡΡΡ ΡΠ²ΠΎΠΈ ΠΈΠ½ΡΡΡΡΠΌΠ΅Π½ΡΡ ΠΈΠ»ΠΈ ΠΎΠ±ΠΎΡΡΠ΄ΠΎΠ²Π°Π½ΠΈΠ΅, ΠΊΠΎΠ³Π΄Π° Π½Π°Π½ΠΈΠΌΠ°Π΅ΡΠ΅ ΡΠΏΠ΅ΡΠΈΠ°Π»ΠΈΡΡΠ° ΠΏΠΎ ΡΡΡΠ°Π½ΠΎΠ²ΠΊΠ΅ Π΄Π»Ρ ΡΡΡΠ°Π½ΠΎΠ²ΠΊΠΈ ΡΠ²Π΅ΡΠΎΠ΄ΠΈΠΎΠ΄Π½ΡΡ ΡΠΎΠ½Π°ΡΠ΅ΠΉ. Π£ ΡΠ°ΡΠΊΠΈΡΠΎΠ²ΡΠΈΠΊΠΎΠ² ΠΎΠ±ΡΡΠ½ΠΎ Π΅ΡΡΡ ΡΠ²ΠΎΠΈ ΠΈΠ½ΡΡΡΡΠΌΠ΅Π½ΡΡ ΠΈ ΠΎΠ±ΠΎΡΡΠ΄ΠΎΠ²Π°Π½ΠΈΠ΅ Π΄Π»Ρ Π²ΡΠΏΠΎΠ»Π½Π΅Π½ΠΈΡ ΡΠ°Π±ΠΎΡΡ, ΠΈ Π²Ρ ΠΌΠΎΠΆΠ΅ΡΠ΅ ΠΏΠΎΡΡΠ΅Π±ΠΎΠ²Π°ΡΡ ΠΎΡ ΡΠ°ΡΠΊΠ΅ΡΠΎΠ² ΠΏΡΠΈΠ½Π΅ΡΡΠΈ ΠΈΡ , ΠΊΠΎΠ³Π΄Π° ΠΎΡΠΏΡΠ°Π²Π»ΡΠ΅ΡΠ΅ Π·Π°ΠΏΡΠΎΡ. ΠΠΎ Π΅ΡΠ»ΠΈ Ρ Π²Π°Ρ Π΅ΡΡΡ ΠΊΠ°ΠΊΠΈΠ΅-Π»ΠΈΠ±ΠΎ ΠΈΠ½ΡΡΡΡΠΌΠ΅Π½ΡΡ, ΠΊΠΎΡΠΎΡΡΡ Π½Π΅ Ρ Π²Π°ΡΠ°Π΅Ρ Tasker, ΠΈΠ»ΠΈ Ρ Π²Π°Ρ Π΅ΡΡΡ ΡΠΏΠ΅ΡΠΈΠ°Π»ΡΠ½ΡΠ΅ ΠΈΠ½ΡΡΡΡΠΌΠ΅Π½ΡΡ ΠΈΠ»ΠΈ ΠΎΠ±ΠΎΡΡΠ΄ΠΎΠ²Π°Π½ΠΈΠ΅, ΠΊΠΎΡΠΎΡΡΠ΅ Π²Ρ ΠΏΡΠ΅Π΄ΠΏΠΎΡΠΈΡΠ°Π΅ΡΠ΅ ΠΈΡΠΏΠΎΠ»ΡΠ·ΠΎΠ²Π°ΡΡ, Π²Ρ ΠΌΠΎΠΆΠ΅ΡΠ΅ ΠΎΠ΄ΠΎΠ»ΠΆΠΈΡΡ ΠΈΡ ΠΈΠΌ.
Π’Π°ΡΠΊΠΈΡΠΎΠ²ΡΠΈΠΊΠΈ ΠΌΠΎΠ³ΡΡ ΠΏΠΎΠΌΠΎΡΡ Π²Π°ΠΌ Ρ ΡΡΡΠ°Π½ΠΎΠ²ΠΊΠΎΠΉ, Π½ΠΎ, ΡΡΠΎ Π΅ΡΠ΅ Π»ΡΡΡΠ΅, ΠΎΠ½ΠΈ ΠΌΠΎΠ³ΡΡ Π²ΡΠΏΠΎΠ»Π½ΠΈΡΡ Π²ΡΡ Π·Π°Π΄Π°ΡΡ Π·Π° Π²Π°Ρ. ΠΠ΅ΡΠ΅ΡΠΈΡΠ»ΠΈΡΠ΅ Π²ΡΠ΅ Π²Π°ΠΆΠ½ΡΠ΅ Π΄Π΅ΡΠ°Π»ΠΈ Π² ΠΎΠ±ΡΡΠ²Π»Π΅Π½ΠΈΠΈ ΠΎ Π²Π°ΠΊΠ°Π½ΡΠΈΠΈ.
ΠΠ±ΡΠ°ΡΠΈΡΠ΅ Π²Π½ΠΈΠΌΠ°Π½ΠΈΠ΅, ΡΡΠΎ ΡΡΡΠ°Π½ΠΎΠ²ΠΊΠ° ΡΠ²Π΅ΡΠΎΠ΄ΠΈΠΎΠ΄Π½ΡΡ
ΡΠΎΠ½Π°ΡΠ΅ΠΉ ΠΌΠΎΠΆΠ΅Ρ Π±ΡΡΡ Π²ΡΠΏΠΎΠ»Π½Π΅Π½Π° Π΄Π»Ρ Π²Π°ΡΠ΅Π³ΠΎ Π°Π²ΡΠΎΠΌΠΎΠ±ΠΈΠ»Ρ, Π½ΠΎ Π΅ΡΡΡ Π°Π½Π°Π»ΠΎΠ³ΠΈΡΠ½ΡΠ΅ ΡΠ°Π±ΠΎΡΡ, ΡΠ°ΠΊΠΈΠ΅ ΠΊΠ°ΠΊ ΡΡΡΠ°Π½ΠΎΠ²ΠΊΠ° ΡΠ²Π΅ΡΠΎΠ΄ΠΈΠΎΠ΄Π½ΡΡ
ΠΊΠ°ΠΌΠ΅Π½Π½ΡΡ
ΡΠΎΠ½Π°ΡΠ΅ΠΉ Π² Π²Π°ΡΠ΅ΠΌ ΡΠ°Π΄Ρ ΠΈΠ»ΠΈ ΡΠ²Π΅ΡΠΎΠ΄ΠΈΠΎΠ΄Π½ΡΡ
Π»Π΅Π½Ρ Π½Π° ΠΎΡΠΊΡΡΡΡΡ
ΠΏΠ»ΠΎΡΠ°Π΄ΠΊΠ°Ρ
. ΠΡΠΎ ΠΏΠΎΠΌΠΎΠ³Π°Π΅Ρ Π±ΡΡΡ ΠΎΡΠ΅Π½Ρ ΠΊΠΎΠ½ΠΊΡΠ΅ΡΠ½ΡΠΌ ΠΏΡΠΈ ΠΎΠΏΠΈΡΠ°Π½ΠΈΠΈ ΡΡΡΠ°Π½ΠΎΠ²ΠΊΠΈ ΡΠ²Π΅ΡΠΎΠ΄ΠΈΠΎΠ΄Π½ΠΎΠ³ΠΎ ΠΎΡΠ²Π΅ΡΠ΅Π½ΠΈΡ, ΠΊΠΎΡΠΎΡΡΡ Π²Ρ Ρ
ΠΎΡΠΈΡΠ΅ ΡΠ΄Π΅Π»Π°ΡΡ, ΡΡΠΎΠ±Ρ ΠΏΠΎΠ»ΡΡΠΈΡΡ ΠΏΡΠ°Π²ΠΈΠ»ΡΠ½ΡΠΉ Tasker.
ΠΡΠ΅ΠΌΡ, Π½Π΅ΠΎΠ±Ρ ΠΎΠ΄ΠΈΠΌΠΎΠ΅ Π΄Π»Ρ Π²ΡΠΏΠΎΠ»Π½Π΅Π½ΠΈΡ ΡΡΠΎΠΉ ΡΡΠ»ΡΠ³ΠΈ, Π·Π°Π²ΠΈΡΠΈΡ ΠΎΡ ΡΠ»ΠΎΠΆΠ½ΠΎΡΡΠΈ ΡΠ°Π±ΠΎΡΡ, ΠΊΠΎΠ»ΠΈΡΠ΅ΡΡΠ²Π° ΡΡΡΠ°Π½Π°Π²Π»ΠΈΠ²Π°Π΅ΠΌΡΡ ΡΠ²Π΅ΡΠΎΠ΄ΠΈΠΎΠ΄Π½ΡΡ Π»Π΅Π½Ρ ΠΈ ΡΠΊΠΎΡΠΎΡΡΠΈ Π²Π°ΡΠ΅Π³ΠΎ Π½Π°Π½ΡΡΠΎΠ³ΠΎ Tasker. ΠΡΠΎ Π²Π»Π΅ΡΠ΅Ρ Π·Π° ΡΠΎΠ±ΠΎΠΉ Π½Π΅Π±ΠΎΠ»ΡΡΠΈΠ΅, Π½ΠΎ ΡΠ»ΠΎΠΆΠ½ΡΠ΅ Π·Π°Π΄Π°ΡΠΈ, ΡΠ°ΠΊΠΈΠ΅ ΠΊΠ°ΠΊ Π·Π°ΡΠΈΡΡΠΊΠ° ΠΏΡΠΎΠ²ΠΎΠ΄ΠΎΠ², ΠΏΠ°ΠΉΠΊΠ° ΠΈ ΠΏΠΎΠ΄ΠΊΠ»ΡΡΠ΅Π½ΠΈΠ΅ Π»Π°ΠΌΠΏ ΠΊ ΠΈΡΡΠΎΡΠ½ΠΈΠΊΡ ΠΏΠΈΡΠ°Π½ΠΈΡ, Π° ΡΠ°ΠΊΠΆΠ΅ ΠΈΡ ΠΊΡΠ΅ΠΏΠ»Π΅Π½ΠΈΠ΅ ΠΊ ΠΏΠΎΠ²Π΅ΡΡ Π½ΠΎΡΡΠΈ Ρ ΠΏΠΎΠΌΠΎΡΡΡ ΠΊΠ»Π΅Ρ. ΠΡ ΠΌΠΎΠΆΠ΅ΡΠ΅ ΠΎΠΆΠΈΠ΄Π°ΡΡ, ΡΡΠΎ ΠΊΠ²Π°Π»ΠΈΡΠΈΡΠΈΡΠΎΠ²Π°Π½Π½ΡΠΉ Π°Π²ΡΠΎΡΠ»Π΅ΠΊΡΡΠΈΠΊ Π²ΡΠΏΠΎΠ»Π½ΠΈΡ ΡΠ°Π±ΠΎΡΡ Π² ΡΠ΅ΡΠ΅Π½ΠΈΠ΅ ΠΊΠ°ΠΊ ΠΌΠΈΠ½ΠΈΠΌΡΠΌ 2 ΡΠ°ΡΠΎΠ².
ΠΡΠΎ Π²ΠΊΠ»ΡΡΠ°Π΅Ρ Π² ΡΠ΅Π±Ρ ΡΡΡΠ°Π½ΠΎΠ²ΠΊΡ ΠΈΡ
Π½Π° ΡΠΎΠ½ΠΊΠΈΠ΅ Π°Π»ΡΠΌΠΈΠ½ΠΈΠ΅Π²ΡΠ΅ ΡΡΠ΅ΡΠΆΠ½ΠΈ ΠΈ ΠΏΡΠΈΠΊΠ»Π΅ΠΈΠ²Π°Π½ΠΈΠ΅ ΠΈΡ
ΠΊ ΡΡΠ΅Π½Π΅. Π Π°ΡΠΏΡΠ΅Π΄Π΅Π»ΠΈΡΠ΅Π»ΡΠ½Π°Ρ ΠΊΠΎΡΠΎΠ±ΠΊΠ° ΡΠ²Π΅ΡΠΎΠ΄ΠΈΠΎΠ΄Π½ΠΎΠ³ΠΎ ΠΎΡΠ²Π΅ΡΠ΅Π½ΠΈΡ ΠΈ ΠΈΡΡΠΎΡΠ½ΠΈΠΊ ΠΏΠΈΡΠ°Π½ΠΈΡ ΡΡΡΠ°Π½Π°Π²Π»ΠΈΠ²Π°ΡΡΡΡ Π½Π° ΡΠ΅ΡΠ΄Π°ΠΊΠ΅, Π·Π°ΡΠ΅ΠΌ ΠΏΡΠΎΡΠ²Π΅ΡΠ»ΠΈΠ²Π°ΡΡΡΡ ΠΎΡΠ²Π΅ΡΡΡΠΈΡ Π² ΡΡΠ΅Π½Π΅ ΠΈ ΠΏΡΠΎΠΊΠ»Π°Π΄ΡΠ²Π°Π΅ΡΡΡ ΠΏΡΠΎΠ²ΠΎΠ΄ΠΊΠ° Π΄Π»Ρ ΠΏΠΈΡΠ°Π½ΠΈΡ ΠΎΡΠ²Π΅ΡΠ΅Π½ΠΈΡ.
ΠΠ°ΠΊΡΠ΅ΠΏΠΈΡΠ΅ ΡΠ΅Π½ΡΡΠ°Π»ΡΠ½ΡΡ ΠΏΠ°Π½Π΅Π»Ρ ΡΠΏΡΠ°Π²Π»Π΅Π½ΠΈΡ Π½Π° ΡΡΠ΅Π½Π΅. ΠΠ°Π²Π΅ΡΡΠ°ΡΡΠΈΠΌ ΡΡΠ°ΠΏΠΎΠΌ ΡΡΡΠ°Π½ΠΎΠ²ΠΊΠΈ ΡΠ²Π»ΡΠ΅ΡΡΡ ΠΏΡΠΈΠ±ΠΈΠ²Π°Π½ΠΈΠ΅ ΠΌΠΎΠ»Π΄ΠΈΠ½Π³ΠΎΠ² ΠΊΠΎΡΠΎΠ½Ρ ΠΏΠΎΠ΄ ΡΠ²Π΅ΡΠΎΠ²ΡΠΌΠΈ ΠΏΠΎΠ»ΠΎΡΠ°ΠΌΠΈ. ΠΡ ΡΠ΅ΠΊΠΎΠΌΠ΅Π½Π΄ΡΠ΅ΠΌ Π½Π°Π½ΡΡΡ ΠΎΠΏΡΡΠ½ΡΡ
ΡΠ°ΡΠΊΠ΅ΡΠΎΠ² Π΄Π»Ρ ΡΡΡΠ°Π½ΠΎΠ²ΠΊΠΈ ΡΠ²Π΅ΡΠΎΠ΄ΠΈΠΎΠ΄Π½ΡΡ
Π»Π΅Π½Ρ Π½Π° ΠΏΠΎΡΠΎΠ»ΠΊΠ΅ Π΄Π»Ρ Π²Π°Ρ.
ΠΠΎΠ·ΡΠΌΠΈΡΠ΅ ΡΠ²Π΅ΡΠΎΠ΄ΠΈΠΎΠ΄Π½ΡΡ Π»Π΅Π½ΡΡ Π½ΡΠΆΠ½ΠΎΠΉ Π΄Π»ΠΈΠ½Ρ, ΠΎΡΠΈΡΡΠΈΡΠ΅ ΠΏΠΎΠ²Π΅ΡΡ Π½ΠΎΡΡΡ ΠΊΡΠ΅ΠΏΠ»Π΅Π½ΠΈΡ ΠΌΠ΅Π΄ΠΈΡΠΈΠ½ΡΠΊΠΈΠΌ ΡΠΏΠΈΡΡΠΎΠΌ, ΡΡΠΎΠ±Ρ ΡΠ΄Π°Π»ΠΈΡΡ Π³ΡΡΠ·Ρ, ΠΆΠΈΡ ΠΈΠ»ΠΈ Π³ΡΡΠ·Ρ, ΠΊΠΎΡΠΎΡΡΠ΅ ΠΌΠΎΠ³ΡΡ ΠΏΠΎΠ²Π»ΠΈΡΡΡ Π½Π° Π°Π΄Π³Π΅Π·ΠΈΡ. ΠΡΠΈΠΊΠ»Π΅ΠΈΠ²Π°Ρ ΠΈΡ Π½Π° ΡΡΠ΅Π½Ρ, Π½Π°ΠΊΠ»Π΅ΠΉΡΠ΅ ΠΏΠΎΠ»ΠΎΡΡ Π½Π° Π°Π»ΡΠΌΠΈΠ½ΠΈΠ΅Π²ΡΠ΅ ΠΌΠΎΠ½ΡΠ°ΠΆΠ½ΡΠ΅ ΠΏΠ»Π°Π½ΠΊΠΈ. ΠΠΎ ΠΏΡΠΈ ΡΡΡΠ°Π½ΠΎΠ²ΠΊΠ΅ Π² Π°Π²ΡΠΎΠΌΠΎΠ±ΠΈΠ»Π΅ Π½Π°ΠΊΠ»Π΅ΠΉΡΠ΅ ΡΠ²Π΅ΡΠΎΠ΄ΠΈΠΎΠ΄Π½ΡΠ΅ Π»Π΅Π½ΡΡ ΠΏΡΡΠΌΠΎ Π½Π° ΠΏΠΎΠ²Π΅ΡΡ Π½ΠΎΡΡΡ. ΠΡΠΎ ΡΠ»ΠΎΠΆΠ½Π°Ρ Π·Π°Π΄Π°ΡΠ°, ΠΏΠΎΡΡΠΎΠΌΡ ΠΌΡ ΠΏΡΠ΅Π΄Π»Π°Π³Π°Π΅ΠΌ Π²Π°ΠΌ Π½Π°Π½ΡΡΡ ΡΠ°ΡΠΊΠ΅ΡΠΎΠ², ΠΊΠΎΡΠΎΡΡΠ΅ ΡΠ΄Π΅Π»Π°ΡΡ Π΄Π»Ρ Π²Π°Ρ ΡΡΡΠ°Π½ΠΎΠ²ΠΊΡ ΡΠ²Π΅ΡΠΎΠ΄ΠΈΠΎΠ΄Π½ΠΎΠΉ Π»Π΅Π½ΡΡ, Π° ΡΠ°ΠΊΠΆΠ΅ Π²ΠΈΠ΄Π΅ΠΎΡΠ΅Π³ΠΈΡΡΡΠ°ΡΠΎΡΠΎΠ² ΠΈ Π΄ΠΈΠ½Π°ΠΌΠΈΠΊΠΎΠ².
Π£ΡΠ»ΡΠ³ΠΈ Π°Π²ΡΠΎΡΠ»Π΅ΠΊΡΡΠΈΠΊΠΎΠ²
Π‘ΠΎΠΏΡΡΡΡΠ²ΡΡΡΠΈΠ΅ ΡΡΠ»ΡΠ³ΠΈ ΡΡΠ΄ΠΎΠΌ ΡΠΎ ΠΌΠ½ΠΎΠΉ
Π‘Π°ΠΌΡΠ΅ ΠΏΠΎΠΏΡΠ»ΡΡΠ½ΡΠ΅ ΠΌΠ΅ΡΡΠ°
Π Π΅ΠΊΠΎΠΌΠ΅Π½Π΄ΡΠ΅ΠΌΠ°Ρ Π»ΠΈΡΠ΅ΡΠ°ΡΡΡΠ° ΠΎΠ± ΡΡΡΠ°Π½ΠΎΠ²ΠΊΠ΅ ΡΠ²Π΅ΡΠΎΠ΄ΠΈΠΎΠ΄Π½ΡΡ ΡΠ²Π΅ΡΠΈΠ»ΡΠ½ΠΈΠΊΠΎΠ²
Π§ΡΠΎ Π²ΠΊΠ»ΡΡΠ°ΡΡ Π² ΡΠ΅Π±Ρ ΡΡΠ»ΡΠ³ΠΈ ΠΏΠΎ ΡΡΡΠ°Π½ΠΎΠ²ΠΊΠ΅ ΡΠ²Π΅ΡΠΎΠ΄ΠΈΠΎΠ΄Π½ΡΡ ΡΠ²Π΅ΡΠΈΠ»ΡΠ½ΠΈΠΊΠΎΠ²?
Π ΡΡΠ»ΡΠ³Ρ ΠΏΠΎ ΡΡΡΠ°Π½ΠΎΠ²ΠΊΠ΅ ΡΠ²Π΅ΡΠΎΠ΄ΠΈΠΎΠ΄Π½ΡΡ
ΡΠΎΠ½Π°ΡΠ΅ΠΉ Π²Ρ
ΠΎΠ΄ΠΈΡ Π½Π°ΡΠ΅Π·ΠΊΠ° ΡΠ²Π΅ΡΠΎΠ΄ΠΈΠΎΠ΄Π½ΠΎΠΉ Π»Π΅Π½ΡΡ Π½ΡΠΆΠ½ΠΎΠ³ΠΎ ΡΠ°Π·ΠΌΠ΅ΡΠ°, Π΅ΡΠ»ΠΈ ΡΡΠΎ Π½Π΅ΠΎΠ±Ρ
ΠΎΠ΄ΠΈΠΌΠΎ, Π½Π°ΠΊΠ»Π΅ΠΈΠ²Π°Π½ΠΈΠ΅ ΠΈ ΠΌΠΎΠ½ΡΠ°ΠΆ ΠΏΠΎΠ»ΠΎΡ, ΠΏΠ»Π°Π½ΠΎΠΊ ΠΈΠ»ΠΈ ΡΠ°Ρ Π½Π° Π°Π²ΡΠΎΠΌΠΎΠ±ΠΈΠ»Ρ, ΠΏΠΎΠ΄ΠΊΠ»ΡΡΠ΅Π½ΠΈΠ΅ ΡΠΎΠ½Π°ΡΠ΅ΠΉ ΠΈ ΠΈΡ
ΠΏΠ°Π½Π΅Π»ΠΈ ΡΠΏΡΠ°Π²Π»Π΅Π½ΠΈΡ ΠΈΠ»ΠΈ ΠΏΠ΅ΡΠ΅ΠΊΠ»ΡΡΠ°ΡΠ΅Π»Ρ ΠΊ ΠΈΡΡΠΎΡΠ½ΠΈΠΊΡ ΠΏΠΈΡΠ°Π½ΠΈΡ.
Π£ΡΠ»ΡΠ³Π° ΠΌΠΎΠΆΠ΅Ρ Π²ΠΊΠ»ΡΡΠ°ΡΡ Π² ΡΠ΅Π±Ρ Π΄ΡΡΠ³ΠΈΠ΅ Π΄ΠΎΠΏΠΎΠ»Π½ΠΈΡΠ΅Π»ΡΠ½ΡΠ΅ ΡΠ°Π±ΠΎΡΡ ΠΏΠΎ ΡΡΡΠ°Π½ΠΎΠ²ΠΊΠ΅, ΡΠ°ΠΊΠΈΠ΅ ΠΊΠ°ΠΊ ΠΎΡΠΈΡΡΠΊΠ° ΠΏΠΎΠ²Π΅ΡΡ
Π½ΠΎΡΡΠ΅ΠΉ Π΄Π»Ρ ΠΌΠΎΠ½ΡΠ°ΠΆΠ°.
ΠΠΎΠ΄Π³ΠΎΡΠΎΠ²ΠΊΠ° ΡΠ°Ρ ΠΊ ΡΡΡΠ°Π½ΠΎΠ²ΠΊΠ΅
ΠΠ°Ρ Π°Π²ΡΠΎΡΠ»Π΅ΠΊΡΡΠΈΠΊ ΠΈΠ»ΠΈ Π‘ΠΏΠ°ΡΠΊΠΈ ΠΎΡΡΠ΅Π·Π°Π΅Ρ ΡΠ²Π΅ΡΠΎΠ΄ΠΈΠΎΠ΄Π½ΡΠ΅ ΡΠ°ΡΡ, ΠΊΠΎΡΠΎΡΡΠ΅ ΠΏΠΎΠ΄Ρ ΠΎΠ΄ΡΡ Π΄Π»Ρ Π²Π°ΡΠ΅Π³ΠΎ Π°Π²ΡΠΎΠΌΠΎΠ±ΠΈΠ»Ρ ΠΈΠ»ΠΈ Π²Π½Π΅Π΄ΠΎΡΠΎΠΆΠ½ΠΈΠΊΠ°. ΠΠ»Ρ Π½Π΅ΠΊΠΎΡΠΎΡΡΡ ΠΌΠΎΠ΄Π΅Π»Π΅ΠΉ Π°Π²ΡΠΎΠΌΠΎΠ±ΠΈΠ»Π΅ΠΉ ΠΈΠ»ΠΈ Π²Π½Π΅Π΄ΠΎΡΠΎΠΆΠ½ΠΈΠΊΠΎΠ² ΠΎΠ½ΠΈ ΠΌΠΎΠ³ΡΡ Π²ΡΠ΅ΠΌΠ΅Π½Π½ΠΎ ΡΠ½ΡΡΡ ΠΏΠ΅ΡΠ΅Π΄Π½ΡΡ ΠΏΠ°Π½Π΅Π»Ρ Π²Π°ΡΠ΅Π³ΠΎ Π°Π²ΡΠΎΠΌΠΎΠ±ΠΈΠ»Ρ ΠΈΠ»ΠΈ Π²Π½Π΅Π΄ΠΎΡΠΎΠΆΠ½ΠΈΠΊΠ° Π΄Π»Ρ ΠΎΠ±Π»Π΅Π³ΡΠ΅Π½ΠΈΡ Π΄ΠΎΡΡΡΠΏΠ° ΠΊ ΠΌΠ΅ΡΡΡ ΡΡΡΠ°Π½ΠΎΠ²ΠΊΠΈ. ΠΠ½ΠΈ ΡΠ°ΠΊΠΆΠ΅ ΠΌΠΎΠ³ΡΡ ΡΠ½ΡΡΡ Π±Π°ΡΠ΄Π°ΡΠΎΠΊ Π΄Π»Ρ ΠΈΠ·ΠΌΠ΅ΡΠ΅Π½ΠΈΡ ΠΈ ΠΏΠΎΠ΄Π³ΠΎΡΠΎΠ²ΠΊΠΈ ΠΊ ΡΡΡΠ°Π½ΠΎΠ²ΠΊΠ΅ ΡΠΎ ΡΡΠΎΡΠΎΠ½Ρ ΠΏΠ°ΡΡΠ°ΠΆΠΈΡΠ°. ΠΠ°Ρ ΡΠ»Π΅ΠΊΡΡΠΈΠΊ ΠΎΡΡΠ΅Π·Π°Π΅Ρ ΡΠ²Π΅ΡΠΎΠ΄ΠΈΠΎΠ΄Π½ΡΡ Π»Π΅Π½ΡΡ Π½ΡΠΆΠ½ΠΎΠΉ Π΄Π»ΠΈΠ½Ρ ΠΈΠ»ΠΈ ΠΈΡΠΏΠΎΠ»ΡΠ·ΡΠ΅Ρ ΠΏΠΎΠ΄Ρ ΠΎΠ΄ΡΡΡΡ Π΄Π»ΠΈΠ½Ρ Π³ΠΎΡΠΎΠ²ΡΡ ΡΠ²Π΅ΡΠΎΠ΄ΠΈΠΎΠ΄Π½ΡΡ ΡΡΡΠ±ΠΎΠΊ.
ΠΡΠΈΡΡΠΊΠ° ΠΏΠΎΠ²Π΅ΡΡ Π½ΠΎΡΡΠ΅ΠΉ
ΠΠ΅ΡΠ΅Π΄ ΡΡΡΠ°Π½ΠΎΠ²ΠΊΠΎΠΉ Π»ΡΠ±ΠΎΠΉ ΠΈΠ· ΡΠ²Π΅ΡΠΎΠ΄ΠΈΠΎΠ΄Π½ΡΡ
Π»Π΅Π½Ρ ΠΈΠ»ΠΈ ΡΡΡΠ±ΠΎΠΊ ΡΡΡΠ°Π½ΠΎΠ²ΡΠΈΠΊ ΠΌΠΎΠΆΠ΅Ρ ΠΎΡΠΈΡΡΠΈΡΡ ΠΏΠΎΠ²Π΅ΡΡ
Π½ΠΎΡΡΠΈ, Π½Π° ΠΊΠΎΡΠΎΡΡΠ΅ Π±ΡΠ΄ΡΡ ΠΏΡΠΈΠΊΠ»Π΅ΠΈΠ²Π°ΡΡΡΡ Π»Π΅Π½ΡΡ, Ρ ΠΏΠΎΠΌΠΎΡΡΡ ΠΌΠ΅Π΄ΠΈΡΠΈΠ½ΡΠΊΠΎΠ³ΠΎ ΡΠΏΠΈΡΡΠ°. ΠΡΠΎ ΠΎΠ±Π΅ΡΠΏΠ΅ΡΠΈΡ Π±ΠΎΠ»Π΅Π΅ ΠΏΡΠΎΡΠ½ΡΡ Π°Π΄Π³Π΅Π·ΠΈΡ, ΡΠ°ΠΊ ΠΊΠ°ΠΊ Π³ΡΡΠ·Ρ, ΠΆΠΈΡ ΠΈΠ»ΠΈ ΠΊΠΎΠΏΠΎΡΡ ΠΌΠΎΠ³ΡΡ ΡΠ½ΠΈΠ·ΠΈΡΡ ΡΡΡΠ΅ΠΊΡΠΈΠ²Π½ΠΎΡΡΡ ΠΊΠ»Π΅Ρ, ΠΈΡΠΏΠΎΠ»ΡΠ·ΡΠ΅ΠΌΠΎΠ³ΠΎ Π΄Π»Ρ ΠΊΡΠ΅ΠΏΠ»Π΅Π½ΠΈΡ ΡΠ²Π΅ΡΠΎΠ΄ΠΈΠΎΠ΄Π½ΡΡ
ΡΡΡΠ±ΠΎΠΊ ΠΈΠ»ΠΈ Π»Π΅Π½Ρ.
ΠΠΎΡΠ»Π΅ ΠΎΡΠΈΡΡΠΊΠΈ Π²Π°Ρ Π°Π²ΡΠΎΡΠ»Π΅ΠΊΡΡΠΈΠΊ Π΄Π°Π΅Ρ ΠΏΠΎΠ²Π΅ΡΡ
Π½ΠΎΡΡΠΈ Π²ΡΡΠΎΡ
Π½ΡΡΡ ΠΎΠΊΠΎΠ»ΠΎ ΠΌΠΈΠ½ΡΡΡ, ΠΏΡΠ΅ΠΆΠ΄Π΅ ΡΠ΅ΠΌ ΠΏΠ΅ΡΠ΅ΠΉΡΠΈ ΠΊ ΡΠ»Π΅Π΄ΡΡΡΠ΅ΠΌΡ ΡΠ°Π³Ρ.
ΠΠΎΠ½ΡΠ°ΠΆ ΡΠΈΡΡΠ΅ΠΌΡ ΡΠ²Π΅ΡΠΎΠ΄ΠΈΠΎΠ΄Π½ΠΎΠ³ΠΎ ΠΎΡΠ²Π΅ΡΠ΅Π½ΠΈΡ
ΠΠΎΡΠ»Π΅ ΠΎΡΠΈΡΡΠΊΠΈ ΠΏΠΎΠ²Π΅ΡΡ Π½ΠΎΡΡΠ΅ΠΉ, Π½Π° ΠΊΠΎΡΠΎΡΡΡ ΡΠ°ΡΠΏΠΎΠ»ΠΎΠΆΠ΅Π½Ρ ΡΠ²Π΅ΡΠΎΠ΄ΠΈΠΎΠ΄Π½ΡΠ΅ ΡΡΡΠ±ΠΊΠΈ ΠΈΠ»ΠΈ ΠΏΠΎΠ»ΠΎΡΡ, Π° ΡΠ°ΠΊΠΆΠ΅ ΠΏΠ°Π½Π΅Π»Ρ ΡΠΏΡΠ°Π²Π»Π΅Π½ΠΈΡ ΠΈΠ»ΠΈ Π²ΡΠΊΠ»ΡΡΠ°ΡΠ΅Π»Ρ, Π°Π²ΡΠΎΡΠ»Π΅ΠΊΡΡΠΈΠΊΠΈ ΠΏΡΠΈΠΊΡΠ΅ΠΏΠ»ΡΡΡ ΠΈΡ ΠΊ ΠΏΠΎΠ΄Π³ΠΎΡΠΎΠ²Π»Π΅Π½Π½ΡΠΌ ΠΏΠΎΠ²Π΅ΡΡ Π½ΠΎΡΡΡΠΌ. Π Π·Π°Π²ΠΈΡΠΈΠΌΠΎΡΡΠΈ ΠΎΡ ΠΈΡ ΡΠΈΠΏΠ°, Π²Π°Ρ ΡΠ»Π΅ΠΊΡΡΠΈΠΊ ΠΌΠΎΠΆΠ΅Ρ ΠΈΡΠΏΠΎΠ»ΡΠ·ΠΎΠ²Π°ΡΡ ΠΏΡΠΎΠΌΡΡΠ»Π΅Π½Π½ΡΠΉ ΠΊΠ»Π΅ΠΉ ΠΈΠ»ΠΈ ΡΡΡΠΆΠΊΠΈ Π΄Π»Ρ ΠΈΡ ΠΊΡΠ΅ΠΏΠ»Π΅Π½ΠΈΡ. ΠΠ°ΡΠ΅ΠΌ ΠΏΠ°Π½Π΅Π»Ρ ΡΠΏΡΠ°Π²Π»Π΅Π½ΠΈΡ ΠΈΠ»ΠΈ ΠΏΠ΅ΡΠ΅ΠΊΠ»ΡΡΠ°ΡΠ΅Π»Ρ ΡΠΈΡΡΠ΅ΠΌΡ ΠΎΡΠ²Π΅ΡΠ΅Π½ΠΈΡ ΠΏΡΠΈΠΊΠ»Π΅ΠΈΠ²Π°Π΅ΡΡΡ ΠΊ ΠΌΠ΅ΡΡΡ Π½Π° ΠΎΡΠ΄Π΅Π»ΠΊΠ΅ ΡΠ΅Π½ΡΡΠ°Π»ΡΠ½ΠΎΠΉ ΠΊΠΎΠ½ΡΠΎΠ»ΠΈ ΡΠΎ ΡΡΠΎΡΠΎΠ½Ρ Π²ΠΎΠ΄ΠΈΡΠ΅Π»Ρ. Π Π°Π±ΠΎΡΠΈΠ΅ ΠΌΠΎΠ³ΡΡ ΡΠ½ΠΎΠ²Π° ΠΏΡΠΈΠΊΡΠ΅ΠΏΠΈΡΡ Π±Π°ΡΠ΄Π°ΡΠΎΠΊ ΠΈ ΠΏΠ°Π½Π΅Π»Ρ ΠΎΡΠ΄Π΅Π»ΠΊΠΈ ΠΏΡΠΈΠ±ΠΎΡΠ½ΠΎΠΉ ΠΏΠ°Π½Π΅Π»ΠΈ ΠΏΠΎΡΠ»Π΅ ΠΌΠΎΠ½ΡΠ°ΠΆΠ°.
ΠΠΎΠ΄ΠΊΠ»ΡΡΠ΅Π½ΠΈΠ΅ ΠΊ ΠΈΡΡΠΎΡΠ½ΠΈΠΊΡ ΠΏΠΈΡΠ°Π½ΠΈΡ
ΠΠΎΡΠ»Π΅ ΡΠΎΠ³ΠΎ, ΠΊΠ°ΠΊ ΡΠ²Π΅ΡΠΎΠ΄ΠΈΠΎΠ΄Π½ΡΠ΅ ΡΡΡΠ±ΠΊΠΈ ΠΈΠ»ΠΈ ΠΏΠΎΠ»ΠΎΡΡ ΠΈ ΠΏΠ°Π½Π΅Π»Ρ ΡΠΏΡΠ°Π²Π»Π΅Π½ΠΈΡ ΠΏΡΠΈΠΊΡΠ΅ΠΏΠ»Π΅Π½Ρ, Π’Π°ΡΠΊΠΈΡΠΎΠ²ΡΠΈΠΊΠΈ ΠΌΠΎΠ³ΡΡ ΠΏΡΠΈΡΡΡΠΏΠΈΡΡ ΠΊ ΠΏΠΎΠ΄ΠΊΠ»ΡΡΠ΅Π½ΠΈΡ ΠΈΡ
ΠΊ ΠΈΡΡΠΎΡΠ½ΠΈΠΊΡ ΠΏΠΈΡΠ°Π½ΠΈΡ. Π Π·Π°Π²ΠΈΡΠΈΠΌΠΎΡΡΠΈ ΠΎΡ ΡΠΎΠ³ΠΎ, ΠΊΠ°ΠΊ ΡΠ°Π±ΠΎΡΠ°Π΅Ρ ΡΠ²Π΅ΡΠΎΠ΄ΠΈΠΎΠ΄Π½ΠΎΠ΅ ΠΎΡΠ²Π΅ΡΠ΅Π½ΠΈΠ΅, ΡΠ°ΡΠΊΠ΅ΡΡ ΠΌΠΎΠ³ΡΡ ΠΏΠΎΠ΄ΠΊΠ»ΡΡΠΈΡΡ Π΅Π³ΠΎ ΠΊ Π°ΠΊΠΊΡΠΌΡΠ»ΡΡΠΎΡΡ Π²Π°ΡΠ΅Π³ΠΎ Π°Π²ΡΠΎΠΌΠΎΠ±ΠΈΠ»Ρ, ΠΏΡΠΈΠΊΡΡΠΈΠ²Π°ΡΠ΅Π»Ρ ΠΈΠ»ΠΈ Π±Π»ΠΎΠΊΡ ΠΏΡΠ΅Π΄ΠΎΡ
ΡΠ°Π½ΠΈΡΠ΅Π»Π΅ΠΉ.
ΠΠ° ΡΡΠΎΠΌ ΡΡΠ°ΠΏΠ΅ ΡΠΏΠ΅ΡΠΈΠ°Π»ΠΈΡΡΡ ΠΏΠΎ ΡΠ»Π΅ΠΊΡΡΠΎΠΌΠΎΠ½ΡΠ°ΠΆΡ Π²ΡΠΏΠΎΠ»Π½ΡΡΡ ΡΠ°ΠΊΠΈΠ΅ ΡΠ°Π±ΠΎΡΡ, ΠΊΠ°ΠΊ Π·Π°ΡΠΈΡΡΠΊΠ° ΠΏΡΠΎΠ²ΠΎΠ΄ΠΎΠ², ΡΡΠ°ΡΠΈΠ²Π°Π½ΠΈΠ΅ ΠΈ ΠΏΠ°ΠΉΠΊΠ°. Π Π°Π±ΠΎΡΠ½ΠΈΠΊΠΈ ΡΠ»Π΅Π΄ΡΡ Π·Π° ΡΠ΅ΠΌ, ΡΡΠΎΠ±Ρ ΡΠΈΡΡΠ΅ΠΌΠ° ΠΎΡΠ²Π΅ΡΠ΅Π½ΠΈΡ ΠΏΠΎΠ»ΡΡΠ°Π»Π° Π½ΡΠΆΠ½ΠΎΠ΅ ΠΊΠΎΠ»ΠΈΡΠ΅ΡΡΠ²ΠΎ ΡΠ½Π΅ΡΠ³ΠΈΠΈ ΠΈ Π½Π΅ ΠΌΠ΅ΡΠ°Π»Π° ΡΠ°Π±ΠΎΡΠ΅ ΡΡΠ°ΡΡΠ΅ΡΠ° ΠΈΠ»ΠΈ Π΄ΡΡΠ³ΠΈΠΌ ΡΠ»Π΅ΠΊΡΡΠΎΠ½Π½ΡΠΌ ΡΡΡΡΠΎΠΉΡΡΠ²Π°ΠΌ Π°Π²ΡΠΎΠΌΠΎΠ±ΠΈΠ»Ρ.
ΠΠΎΠ΄ΠΊΠ»ΡΡΠ΅Π½ΠΈΠ΅ ΡΠ²Π΅ΡΠΎΠ΄ΠΈΠΎΠ΄Π½ΡΡ ΡΠ°Ρ
ΠΠ²ΡΠΎΡΠ»Π΅ΠΊΡΡΠΈΠΊΠΈ, Π·Π°Π½ΠΈΠΌΠ°ΡΡΠΈΠ΅ΡΡ ΡΡΡΠ°Π½ΠΎΠ²ΠΊΠΎΠΉ ΡΠ²Π΅ΡΠΎΠ΄ΠΈΠΎΠ΄Π½ΡΡ ΡΠ°Ρ, ΠΌΠΎΠ³ΡΡ Π²ΡΠΏΠΎΠ»Π½ΠΈΡΡ Π²ΡΠ΅ ΡΠ°Π±ΠΎΡΡ, Π½Π΅ΠΎΠ±Ρ ΠΎΠ΄ΠΈΠΌΡΠ΅ Π΄Π»Ρ ΠΌΠΎΠ΄Π΅ΡΠ½ΠΈΠ·Π°ΡΠΈΠΈ ΡΠ°Ρ Π²Π°ΡΠ΅Π³ΠΎ Π°Π²ΡΠΎΠΌΠΎΠ±ΠΈΠ»Ρ. ΠΡΠΎ Π²ΠΊΠ»ΡΡΠ°Π΅Ρ Π² ΡΠ΅Π±Ρ ΡΠ΄Π°Π»Π΅Π½ΠΈΠ΅ ΡΡΠ°ΡΡΡ Π³Π°Π»ΠΎΠ³Π΅Π½Π½ΡΡ Π»Π°ΠΌΠΏ ΡΠ°Ρ Π²Π°ΡΠ΅Π³ΠΎ Π°Π²ΡΠΎΠΌΠΎΠ±ΠΈΠ»Ρ, ΠΎΡΠΈΡΡΠΊΡ ΠΊΠΎΠ½ΡΠ°ΠΊΡΠ½ΡΡ ΡΠΎΡΠ΅ΠΊ, ΡΡΡΠ°Π½ΠΎΠ²ΠΊΡ Π½ΠΎΠ²ΡΡ ΡΠ²Π΅ΡΠΎΠ΄ΠΈΠΎΠ΄Π½ΡΡ Π»Π°ΠΌΠΏ ΡΠ°Ρ ΠΈ Π½Π΅ΠΎΠ±Ρ ΠΎΠ΄ΠΈΠΌΡΡ ΠΎΡΠΈΡΡΠΊΡ ΡΠ°Ρ Π΄Π»Ρ ΠΏΠΎΠ²ΡΡΠ΅Π½ΠΈΡ ΡΠ΅ΡΠΊΠΎΡΡΠΈ. ΠΠ²ΡΠΎΡΠ»Π΅ΠΊΡΡΠΈΠΊΠΈ ΡΠ°ΠΊΠΆΠ΅ ΠΌΠΎΠ³ΡΡ Π²ΡΠΏΠΎΠ»Π½ΠΈΡΡ Π½Π΅ΠΎΠ±Ρ ΠΎΠ΄ΠΈΠΌΡΡ Π·Π°ΡΠΈΡΡΠΊΡ ΠΏΡΠΎΠ²ΠΎΠ΄ΠΎΠ², ΠΏΠ°ΠΉΠΊΡ ΠΈ ΡΡΠ°ΡΠΈΠ²Π°Π½ΠΈΠ΅, ΡΡΠΎΠ±Ρ ΠΏΠΎΠ΄ΠΊΠ»ΡΡΠΈΡΡ Π½ΠΎΠ²ΡΠ΅ ΡΠ²Π΅ΡΠΎΠ΄ΠΈΠΎΠ΄Π½ΡΠ΅ ΡΠ°ΡΡ ΠΊ Π°ΠΊΠΊΡΠΌΡΠ»ΡΡΠΎΡΡ Π°Π²ΡΠΎΠΌΠΎΠ±ΠΈΠ»Ρ.
ΠΠ΅Π΄Π°Π²Π½ΠΈΠ΅ Π·Π°Π΄Π°ΡΠΈ ΠΏΠΎ ΡΡΡΠ°Π½ΠΎΠ²ΠΊΠ΅ ΡΠ²Π΅ΡΠΎΠ΄ΠΈΠΎΠ΄Π½ΡΡ ΡΠ°Ρ
Π£ΡΡΠ°Π½ΠΎΠ²ΠΊΠ° ΡΠ²Π΅ΡΠΎΠ΄ΠΈΠΎΠ΄Π½ΡΡ ΡΠ°Ρ Π² ΠΌΠΎΡ ΠΌΠ°ΡΠΈΠ½Ρ
150 Π΄ΠΎΠ»Π»Π°ΡΠΎΠ² Π‘Π¨Π
Π― Ρ
ΠΎΡΠ΅Π» Π±Ρ ΡΡΡΠ°Π½ΠΎΠ²ΠΈΡΡ ΡΠ²Π΅ΡΠΎΠ΄ΠΈΠΎΠ΄Π½ΡΠ΅ ΡΠ°ΡΡ Π² ΠΌΠΎΡ ΠΌΠ°ΡΠΈΠ½Ρ ΡΠΏΠ΅ΡΠ΅Π΄ΠΈ ΠΈ ΡΠ·Π°Π΄ΠΈ, ΠΏΠΎΠ΄ ΠΏΡΠΈΠ±ΠΎΡΠ½ΠΎΠΉ ΠΏΠ°Π½Π΅Π»ΡΡ ΠΈ Ρ.
Π΄.
—
Π‘ΡΠΎΠΊ Π²ΡΠΏΠΎΠ»Π½Π΅Π½ΠΈΡ: Π³ΠΈΠ±ΠΊΠΈΠΉ
Π£ΡΡΠ°Π½ΠΎΠ²ΠΊΠ° ΡΠ²Π΅ΡΠΎΠ΄ΠΈΠΎΠ΄Π½ΡΡ ΡΠΎΠ½Π°ΡΠ΅ΠΉ Π² ΠΌΠΎΡ ΠΌΠ°ΡΠΈΠ½Ρ
200 Π΄ΠΎΠ»Π»Π°ΡΠΎΠ² Π‘Π¨Π
ΡΡΡΠ°Π½ΠΎΠ²ΠΊΠ° ΡΠ²Π΅ΡΠΎΠ΄ΠΈΠΎΠ΄Π½ΡΡ Π°Π²ΡΠΎΠΌΠΎΠ±ΠΈΠ»ΡΠ½ΡΡ Π»Π°ΠΌΠΏ Π² ΡΠ°Π»ΠΎΠ½ ΠΌΠΎΠ΅ΠΉ ΠΌΠ°ΡΠΈΠ½Ρ — Π‘ΡΠΎΠΊ Π²ΡΠΏΠΎΠ»Π½Π΅Π½ΠΈΡ: ΠΠΈΠ±ΠΊΠΈΠ΅
Π‘Π²Π΅ΡΠΎΠ΄ΠΈΠΎΠ΄Π½ΡΠ΅ ΡΠ°ΡΡ Π²Π½ΡΡΡΠΈ ΠΌΠΎΠ΅ΠΉ ΠΌΠ°ΡΠΈΠ½Ρ
150 Π΄ΠΎΠ»Π»Π°ΡΠΎΠ² Π‘Π¨Π
Π£ ΠΌΠ΅Π½Ρ Π΅ΡΡΡ ΠΊΠΎΠΌΠΏΠ»Π΅ΠΊΡ ΡΠ²Π΅ΡΠΎΠ΄ΠΈΠΎΠ΄Π½ΡΡ ΡΠ°Ρ, ΠΈ ΠΌΠ½Π΅ Π½ΡΠΆΠ΅Π½ ΠΊΡΠΎ-ΡΠΎ, ΡΡΠΎΠ±Ρ ΡΡΡΠ°Π½ΠΎΠ²ΠΈΡΡ ΡΠ°ΡΡ Π²Π½ΡΡΡΠΈ ΠΌΠΎΠ΅ΠΉ ΠΌΠ°ΡΠΈΠ½Ρ — Π‘ΡΠΎΠΊ Π²ΡΠΏΠΎΠ»Π½Π΅Π½ΠΈΡ: Π³ΠΈΠ±ΠΊΠΈΠΉ
Π£ΡΡΠ°Π½ΠΎΠ²ΠΊΠ° ΡΠ²Π΅ΡΠΎΠ΄ΠΈΠΎΠ΄Π½ΡΡ ΡΠΎΠ½Π°ΡΠ΅ΠΉ ΠΏΠΎΠ΄ ΠΊΠΎΠ»Π΅ΡΠ½ΡΠ΅ Π½ΠΈΡΠΈ ΠΈ Π³ΡΡΠ·ΠΎΠ²ΠΈΠΊ
200 Π΄ΠΎΠ»Π»Π°ΡΠΎΠ² Π‘Π¨ΠΠ£ ΠΌΠ΅Π½Ρ Π΅ΡΡΡ ΠΊΠΎΠΌΠΏΠ»Π΅ΠΊΡ ΡΠ²Π΅ΡΠΎΠ΄ΠΈΠΎΠ΄Π½ΡΡ ΡΠΎΠ½Π°ΡΠ΅ΠΉ Ρ Π΄Π΅ΡΡΡΡΡ Π»Π°ΠΌΠΏΠ°ΠΌΠΈ, Ρ Π±Ρ Ρ ΠΎΡΠ΅Π», ΡΡΠΎΠ±Ρ 4 ΠΈΠ· Π½ΠΈΡ Π±ΡΠ»ΠΈ ΡΡΡΠ°Π½ΠΎΠ²Π»Π΅Π½Ρ Π² ΠΊΠΎΠ»Π΅ΡΠ½ΡΡ Π½ΠΈΡΠ°Ρ , Π° ΠΎΡΡΠ°Π»ΡΠ½ΡΠ΅ ΠΏΠΎΠ΄ ΠΌΠΎΠΈΠΌ Π³ΡΡΠ·ΠΎΠ²ΠΈΠΊΠΎΠΌ, Ρ ΠΌΠ΅Π½Ρ GMC sierra 2004 Π³ΠΎΠ΄Π° Π²ΡΠΏΡΡΠΊΠ°. SLT. — Π‘ΡΠΎΠΊ Π²ΡΠΏΠΎΠ»Π½Π΅Π½ΠΈΡ: Π³ΠΈΠ±ΠΊΠΈΠΉ
ΠΠΈΠ·Π°ΠΉΠ½ ΠΈ ΡΡΡΠ°Π½ΠΎΠ²ΠΊΠ° ΡΠ²Π΅ΡΠΎΠ΄ΠΈΠΎΠ΄Π½ΠΎΠ³ΠΎ ΠΎΡΠ²Π΅ΡΠ΅Π½ΠΈΡ Π² ΡΡΡΠ³ΠΎΠ½Π΅ Π³ΡΡΠ·ΠΎΠ²ΠΈΠΊΠ°
1500 Π΄ΠΎΠ»Π»Π°ΡΠΎΠ² Π‘Π¨Π
Π― Ρ ΠΎΡΡ, ΡΡΠΎΠ±Ρ Π²Ρ ΡΠΏΡΠΎΠ΅ΠΊΡΠΈΡΠΎΠ²Π°Π»ΠΈ ΠΈ ΡΡΡΠ°Π½ΠΎΠ²ΠΈΠ»ΠΈ ΡΠ²Π΅ΡΠΎΠ΄ΠΈΠΎΠ΄Π½ΠΎΠ΅ ΠΎΡΠ²Π΅ΡΠ΅Π½ΠΈΠ΅ Π²Π½ΡΡΡΠΈ ΠΈ ΡΠ½Π°ΡΡΠΆΠΈ ΡΡΡΠ³ΠΎΠ½Π° — Π‘ΡΠΎΠΊ Π²ΡΠΏΠΎΠ»Π½Π΅Π½ΠΈΡ: Π³ΠΈΠ±ΠΊΠΈΠΉ
Π― Ρ ΠΎΡΡ ΡΡΡΠ°Π½ΠΎΠ²ΠΈΡΡ ΡΠ²Π΅ΡΠΎΠ΄ΠΈΠΎΠ΄Π½ΡΠ΅ ΡΠΎΠ½Π°ΡΠΈ Π½Π° ΡΠ²ΠΎΠΉ Nissan Sentra 9 2018 Π³ΠΎΠ΄Π°.
0035500 $
Π― Ρ ΠΎΡΡ ΡΡΡΠ°Π½ΠΎΠ²ΠΈΡΡ ΡΠ²Π΅ΡΠΎΠ΄ΠΈΠΎΠ΄Π½ΡΠ΅ ΡΠΎΠ½Π°ΡΠΈ Π½Π° ΡΠ²ΠΎΠΉ Nissan Sentra 2018 Π³ΠΎΠ΄Π° — Π‘ΡΠΎΠΊ Π²ΡΠΏΠΎΠ»Π½Π΅Π½ΠΈΡ: ΠΠΈΠ±ΠΊΠΈΠΉ
Π‘Π²Π΅ΡΠΎΠ΄ΠΈΠΎΠ΄Π½ΡΠ΅ Π»Π°ΠΌΠΏΡ ΡΠ°Π»ΠΎΠ½Π° Π°Π²ΡΠΎΠΌΠΎΠ±ΠΈΠ»Ρ ΠΏΠΎΡΠΈΠ½ΠΈΡΡ
$100
ΠΡΡΠΎΠ΅Π΄ΠΈΠ½ΠΈΠ»ΡΡ ΠΏΡΠΎΠ²ΠΎΠ΄ ΡΠ²Π΅ΡΠΎΠ΄ΠΈΠΎΠ΄Π½ΡΡ Π»Π°ΠΌΠΏ ΡΠ°Π»ΠΎΠ½Π° Π°Π²ΡΠΎΠΌΠΎΠ±ΠΈΠ»Ρ — Π‘ΡΠΎΠΊ Π²ΡΠΏΠΎΠ»Π½Π΅Π½ΠΈΡ: Π½Π΅ΠΎΠ±Ρ ΠΎΠ΄ΠΈΠΌΠΎ Π²ΡΠΏΠΎΠ»Π½ΠΈΡΡ Π² ΠΏΡΡΠ½ΠΈΡΡ, 28 Π°ΠΏΡΠ΅Π»Ρ 2023 Π³.
Π£ΡΡΠ°Π½ΠΎΠ²ΠΊΠ° ΡΠ²Π΅ΡΠΎΠ΄ΠΈΠΎΠ΄Π½ΡΡ ΡΠΎΠ½Π°ΡΠ΅ΠΉ
150 Π΄ΠΎΠ»Π»Π°ΡΠΎΠ² Π‘Π¨Π
ΠΠ΅ΠΎΠ±Ρ ΠΎΠ΄ΠΈΠΌΠΎ ΠΏΠΎΠ΄ΠΊΠ»ΡΡΠΈΡΡ ΠΏΡΠΎΠ²ΠΎΠ΄ ΠΊ Π°ΠΊΠΊΡΠΌΡΠ»ΡΡΠΎΡΡ ΠΈ Π·Π°ΠΊΡΠ΅ΠΏΠΈΡΡ Π½Π° Π΄Π½ΠΈΡΠ΅ Π°Π²ΡΠΎΠΌΠΎΠ±ΠΈΠ»Ρ — Π‘ΡΠΎΠΊ ΡΠ΄Π°ΡΠΈ: Π³ΠΈΠ±ΠΊΠΈΠΉ
Π£ΡΡΠ°Π½ΠΎΠ²ΠΊΠ° ΡΠ²Π΅ΡΠΎΠ΄ΠΈΠΎΠ΄Π½ΠΎΠ³ΠΎ ΠΎΡΠ²Π΅ΡΠ΅Π½ΠΈΡ ΡΠ°Π»ΠΎΠ½Π° Π°Π²ΡΠΎΠΌΠΎΠ±ΠΈΠ»Ρ
ΠΡΠΆΠ½Π° ΠΏΠΎΠΌΠΎΡΡ Π² ΡΡΡΠ°Π½ΠΎΠ²ΠΊΠ΅ ΠΊΠΎΠΌΠΏΠ»Π΅ΠΊΡΠ° Π²Π½ΡΡΡΠ΅Π½Π½Π΅Π³ΠΎ ΠΎΡΠ²Π΅ΡΠ΅Π½ΠΈΡ Π°Π²ΡΠΎΠΌΠΎΠ±ΠΈΠ»Ρ. ΠΠΎΠ»ΡΡΠ°Ρ ΡΠ°ΡΡΡ ΡΠ°Π±ΠΎΡΡ Π±ΡΠ΄Π΅Ρ Π·Π°ΠΊΠ»ΡΡΠ°ΡΡΡΡ Π² ΡΠ½ΡΡΠΈΠΈ Π²Π½ΡΡΡΠ΅Π½Π½ΠΈΡ Π΄Π²Π΅ΡΠ½ΡΡ ΠΏΠ°Π½Π΅Π»Π΅ΠΉ. Π£ ΠΌΠ΅Π½Ρ Π΅ΡΡΡ Π½Π΅ΠΎΠ±Ρ ΠΎΠ΄ΠΈΠΌΡΠ΅ Π΄Π΅ΡΠ°Π»ΠΈ ΠΈ ΠΏΡΠΎΠ²ΠΎΠ΄ΠΊΠ°, Π° ΡΠ°ΠΊΠΆΠ΅ ΠΈΠ½ΡΡΡΡΠΊΡΠΈΠΈ ΠΏΠΎ ΡΠ½ΡΡΠΈΡ Π΄Π²Π΅ΡΠΈ. ΠΠ°ΡΠΊΠ° Π°Π²ΡΠΎΠΌΠΎΠ±ΠΈΠ»Ρ BMW 330i 2019 Π³ΠΎΠ΄Π° Π²ΡΠΏΡΡΠΊΠ°. — Π‘ΡΠΎΠΊ Π²ΡΠΏΠΎΠ»Π½Π΅Π½ΠΈΡ: Π½Π΅ΠΎΠ±Ρ ΠΎΠ΄ΠΈΠΌΠΎ Π²ΡΠΏΠΎΠ»Π½ΠΈΡΡ Π² ΠΏΡΡΠ½ΠΈΡΡ, 14 Π°ΠΏΡΠ΅Π»Ρ 2023 Π³.
Π£ΡΡΠ°Π½ΠΎΠ²ΠΊΠ° ΡΠ²Π΅ΡΠΎΠ΄ΠΈΠΎΠ΄Π½ΡΡ ΡΠΎΠ½Π°ΡΠ΅ΠΉ Π² Π°Π²ΡΠΎΠΌΠΎΠ±ΠΈΠ»Π΅
100 Π΄ΠΎΠ»Π»Π°ΡΠΎΠ² Π‘Π¨Π
Π― ΠΊΡΠΏΠΈΠ» ΡΠ²Π΅ΡΠΎΠ΄ΠΈΠΎΠ΄Π½ΡΠ΅ ΠΏΠΎΠ»ΠΎΡΡ Π΄Π»Ρ ΡΠ²ΠΎΠ΅ΠΉ ΠΌΠ°ΡΠΈΠ½Ρ ΠΈ ΠΌΠ½Π΅ Π½ΡΠΆΠ΅Π½ ΠΊΡΠΎ-ΡΠΎ, ΡΡΠΎΠ±Ρ ΠΏΡΠ°Π²ΠΈΠ»ΡΠ½ΠΎ ΠΈΡ ΡΡΡΠ°Π½ΠΎΠ²ΠΈΡΡ — Π‘ΡΠΎΠΊ Π²ΡΠΏΠΎΠ»Π½Π΅Π½ΠΈΡ: Π³ΠΈΠ±ΠΊΠΈΠΉ
Π£ΡΡΠ°Π½ΠΎΠ²ΠΈΡΡ ΡΠ²Π΅ΡΠΎΠ΄ΠΈΠΎΠ΄Π½ΡΠ΅ ΡΠ°ΡΡ Π² ΠΌΠΎΡ ΠΌΠ°ΡΠΈΠ½Ρ
100 Π΄ΠΎΠ»Π»Π°ΡΠΎΠ²
Π― ΠΊΡΠΏΠΈΠ» Π½ΠΎΠ²ΡΠ΅ ΡΠ²Π΅ΡΠΎΠ΄ΠΈΠΎΠ΄Π½ΡΠ΅ Π»Π°ΠΌΠΏΡ Π΄Π»Ρ ΡΠ°Ρ, ΠΈ ΠΌΠ½Π΅ Π½ΡΠΆΠ½ΠΎ ΠΈΡ
ΡΡΡΠ°Π½ΠΎΠ²ΠΈΡΡ Π΄Π»Ρ ΠΌΠΎΠ΅Π³ΠΎ ΠΏΡΠ΅ΡΠ΅Π½Π΄Π΅Π½ΡΠ° 2022 Π³ΠΎΠ΄Π°.
—
Π‘ΡΠΎΠΊ Π²ΡΠΏΠΎΠ»Π½Π΅Π½ΠΈΡ: ΠΠΈΠ±ΠΊΠΈΠΉ
Π‘Π²Π΅ΡΠΎΠ΄ΠΈΠΎΠ΄Π½ΡΠ΅ ΡΠ°ΡΡ Π½Π° ΠΌΠ°ΡΠΈΠ½Π΅
100 Π΄ΠΎΠ»Π»Π°ΡΠΎΠ² Π‘Π¨Π
ΠΠ½Π΅ Π½ΡΠΆΠ½ΠΎ ΡΠ΄Π΅Π»Π°ΡΡ ΠΏΠΎΠ΄ΡΠ²Π΅ΡΠΊΡ Π½Π° ΠΌΠΎΠ΅ΠΉ ΠΌΠ°ΡΠΈΠ½Π΅ ΠΈ ΡΠ²Π΅ΡΠΎΠ΄ΠΈΠΎΠ΄Π½ΡΠ΅ Π°ΠΊΡΠ΅Π½ΡΡ Π½Π° ΠΏΠ΅ΡΠ΅Π΄Π½Π΅ΠΉ ΡΠ°ΡΡΠΈ Π£ ΠΌΠ΅Π½Ρ ΡΠΆΠ΅ Π΅ΡΡΡ ΠΌΠ°ΡΠ΅ΡΠΈΠ°Π» Π΄Π»Ρ ΡΡΠΎΠ³ΠΎ Π― ΠΏΡΠΎΡΡΠΎ Π½Π΅ Π·Π½Π°Ρ, ΠΊΠ°ΠΊ — Π‘ΡΠΎΠΊ Π²ΡΠΏΠΎΠ»Π½Π΅Π½ΠΈΡ: ΠΠΈΠ±ΠΊΠΈΠΉ
ΠΠ²ΡΠΎΠΌΠΎΠ±ΠΈΠ»ΡΠ½ΡΠ΅ ΡΠ²Π΅ΡΠΎΠ΄ΠΈΠΎΠ΄Π½ΡΠ΅ ΡΠΎΠ½Π°ΡΠΈ
80 Π΄ΠΎΠ»Π»Π°ΡΠΎΠ² Π‘Π¨Π
Π― ΠΊΡΠΏΠΈΠ» ΡΡΠΈ ΡΠ²Π΅ΡΠΎΠ΄ΠΈΠΎΠ΄Π½ΡΠ΅ ΡΠΎΠ½Π°ΡΠΈ Π΄Π»Ρ ΡΠ²ΠΎΠ΅ΠΉ ΠΌΠ°ΡΠΈΠ½Ρ, Π½ΠΎ ΡΡΠΎ Π½Π΅ΠΌΠ½ΠΎΠ³ΠΎ ΡΠ»ΠΎΠΆΠ½ΠΎ Π½Π°ΡΡΡΠΎΠΈΡΡ ΡΠ°ΠΌΠΎΡΡΠΎΡΡΠ΅Π»ΡΠ½ΠΎ — Π‘ΡΠΎΠΊ Π²ΡΠΏΠΎΠ»Π½Π΅Π½ΠΈΡ: Π΄ΠΎ ΠΏΡΡΠ½ΠΈΡΡ, 31 ΠΌΠ°ΡΡΠ° 2023 Π³.
Π‘Π²Π΅ΡΠΎΠ΄ΠΈΠΎΠ΄Π½ΡΠ΅ ΡΠ°ΡΡ Π² ΠΏΠΈΠΊΠ°ΠΏΠ΅
250 Π΄ΠΎΠ»Π»Π°ΡΠΎΠ² Π‘Π¨Π
Π― Ρ ΠΎΡΡ Π·Π°ΠΌΠ΅Π½ΠΈΡΡ Π³Π°Π»ΠΎΠ³Π΅Π½Π½ΡΠ΅ ΡΠ°ΡΡ Π½Π° ΡΠ²Π΅ΡΠΎΠ΄ΠΈΠΎΠ΄Π½ΡΠ΅ Π² ΡΠ²ΠΎΠ΅ΠΌ Π°Π²ΡΠΎΠΌΠΎΠ±ΠΈΠ»Π΅ — Π‘ΡΠΎΠΊ Π²ΡΠΏΠΎΠ»Π½Π΅Π½ΠΈΡ: Π³ΠΈΠ±ΠΊΠΈΠΉ
ΠΠΎΠΌΠΎΠ³ΠΈΡΠ΅ ΡΡΡΠ°Π½ΠΎΠ²ΠΈΡΡ ΡΠ²Π΅ΡΠΎΠ΄ΠΈΠΎΠ΄Π½ΡΠ΅ ΡΠΎΠ½Π°ΡΠΈ Π² ΠΌΠ°ΡΠΈΠ½Ρ
300 Π΄ΠΎΠ»Π»Π°ΡΠΎΠ² Π‘Π¨Π
ΠΠΎΠΉ ΠΏΠ°ΡΠ΅Π½Ρ ΠΊΡΠΏΠΈΠ» ΡΠ²Π΅ΡΠΎΠ΄ΠΈΠΎΠ΄Π½ΡΠ΅ ΡΠΎΠ½Π°ΡΠΈ, ΠΌΠ΅Π½ΡΡΡΠΈΠ΅ ΡΠ²Π΅Ρ, Π΄Π»Ρ ΡΠ°Π»ΠΎΠ½Π° ΡΠ²ΠΎΠ΅ΠΉ ΠΌΠ°ΡΠΈΠ½Ρ, Π½ΠΎ Π½Π΅ ΡΠΌΠΎΠ³ ΡΡΡΠ°Π½ΠΎΠ²ΠΈΡΡ ΠΈΡ
ΡΠ°ΠΌΠΎΡΡΠΎΡΡΠ΅Π»ΡΠ½ΠΎ. Π£ Π½Π΅Π³ΠΎ Π΅ΡΡΡ Honda Pilot 2014 Π³ΠΎΠ΄Π° Π²ΡΠΏΡΡΠΊΠ°, ΠΈ ΠΎΠ½ Ρ
ΠΎΡΠ΅Π» Π±Ρ, ΡΡΠΎΠ±Ρ Π΅Π΅ ΡΡΡΠ°Π½ΠΎΠ²ΠΈΠ»ΠΈ ΠΏΡΠΎΡΠ΅ΡΡΠΈΠΎΠ½Π°Π»ΡΠ½ΠΎ.
—
Π‘ΡΠΎΠΊ Π²ΡΠΏΠΎΠ»Π½Π΅Π½ΠΈΡ: Π΄ΠΎ ΠΏΠΎΠ½Π΅Π΄Π΅Π»ΡΠ½ΠΈΠΊΠ°, 13 ΠΌΠ°ΡΡΠ° 2023 Π³.
Π£ΡΡΠ°Π½ΠΎΠ²ΠΊΠ° ΠΌΠΎΠΈΡ ΡΠ²Π΅ΡΠΎΠ΄ΠΈΠΎΠ΄Π½ΡΡ ΡΠΎΠ½Π°ΡΠ΅ΠΉ ΠΏΠΎΠ΄ Π²Π½Π΅Π΄ΠΎΡΠΎΠΆΠ½ΠΈΠΊ
150 Π΄ΠΎΠ»Π». Π‘Π¨Π
Π‘Π²Π΅ΡΠΎΠ΄ΠΈΠΎΠ΄Π½Π°Ρ Π»Π΅Π½ΡΠ° RGB Ρ ΠΏΠΎΠ΄ΡΠ²Π΅ΡΠΊΠΎΠΉ, ΠΊΠΎΡΠΎΡΡΡ Ρ ΠΊΡΠΏΠΈΠ» ΠΈ Ρ ΠΎΡΡ ΡΡΡΠ°Π½ΠΎΠ²ΠΈΡΡ ΠΏΠΎΠ΄ Π²Π½Π΅Π΄ΠΎΡΠΎΠΆΠ½ΠΈΠΊ Honda 2012 Π³ΠΎΠ΄Π° — Π‘ΡΠΎΠΊ Π²ΡΠΏΠΎΠ»Π½Π΅Π½ΠΈΡ: ΠΠΈΠ±ΠΊΠΈΠΉ
Π‘Π²Π΅ΡΠΎΠ΄ΠΈΠΎΠ΄Π½ΡΠ΅ Π»Π°ΠΌΠΏΡ Π½ΠΈΠΆΠ½Π΅Π³ΠΎ ΡΠ²Π΅ΡΠ° Π½Π° ΠΌΠΎΠ΅ΠΌ Ford F
300 Π΄ΠΎΠ»Π»Π°ΡΠΎΠ² Π‘Π¨Π
ΠΠ²ΡΠΎΠΌΠΎΠ±ΠΈΠ»ΡΠ½ΡΠ΅ ΡΠ²Π΅ΡΠΎΠ΄ΠΈΠΎΠ΄Π½ΡΠ΅ ΡΠΎΠ½Π°ΡΠΈ, ΡΡΡΠ°Π½ΠΎΠ²Π»Π΅Π½Π½ΡΠ΅ Π² ΠΌΠΎΠ΅ΠΉ ΠΌΠ°ΡΠΈΠ½Π΅
250 Π΄ΠΎΠ»Π»Π°ΡΠΎΠ² Π‘Π¨Π
ΠΠ½Π΅ Π½ΡΠΆΠ½ΠΎ ΡΡΡΠ°Π½ΠΎΠ²ΠΈΡΡ ΡΠΎΠ½Π°ΡΠΈ Π² Π΄Π²Π΅ΡΠ½ΡΠ΅ ΠΏΠ°Π½Π΅Π»ΠΈ, ΠΏΡΠΈΠ±ΠΎΡΠ½ΡΡ ΠΏΠ°Π½Π΅Π»Ρ ΠΈ Π² Π½ΠΎΠ³ΠΈ, ΠΏΡΠΎΠ²ΠΎΠ΄ΠΊΡ ΡΠΏΡΡΡΠ°ΡΡ ΠΊΠ°ΠΊ ΠΌΠΎΠΆΠ½ΠΎ Π»ΡΡΡΠ΅ — Π‘ΡΠΎΠΊ Π²ΡΠΏΠΎΠ»Π½Π΅Π½ΠΈΡ: Π΄ΠΎ ΠΏΠΎΠ½Π΅Π΄Π΅Π»ΡΠ½ΠΈΠΊΠ°, 20 ΡΠ½Π²Π°ΡΡ 2023 Π³.
Π‘Π²Π΅ΡΠΎΠ΄ΠΈΠΎΠ΄Π½ΡΠ΅ ΡΠ°ΡΡ Π΄Π»Ρ Π°Π²ΡΠΎΠΌΠΎΠ±ΠΈΠ»Ρ
250 $
Π‘Π²Π΅ΡΠΎΠ΄ΠΈΠΎΠ΄Π½ΡΠ΅ ΡΠ°ΡΡ Π΄Π»Ρ ΡΠ°Π»ΠΎΠ½Π° Honda crv — Π‘ΡΠΎΠΊ Π²ΡΠΏΠΎΠ»Π½Π΅Π½ΠΈΡ: ΠΠΈΠ±ΠΊΠΈΠΉ
Π‘Π²Π΅ΡΠΎΠ΄ΠΈΠΎΠ΄Π½ΡΠ΅ ΡΠΎΠ½Π°ΡΠΈ, ΡΡΡΠ°Π½ΠΎΠ²Π»Π΅Π½Π½ΡΠ΅ Π½Π° Π°Π²ΡΠΎΠΌΠΎΠ±ΠΈΠ»Π΅
$200
ΠΠ½Π΅ Π½ΡΠΆΠ½ΠΎ ΡΡΡΠ°Π½ΠΎΠ²ΠΈΡΡ Π·Π°Π΄Π½ΠΈΠ΅ ΡΠ²Π΅ΡΠΎΠ΄ΠΈΠΎΠ΄Π½ΡΠ΅ ΡΠΎΠ½Π°ΡΠΈ Π΄Π»Ρ Π·Π°Π΄Π½ΠΈΡ
ΠΏΠΎΠ²ΠΎΡΠΎΡΠ½ΠΈΠΊΠΎΠ².
—
Π‘ΡΠΎΠΊ Π²ΡΠΏΠΎΠ»Π½Π΅Π½ΠΈΡ: Π½Π΅ΠΎΠ±Ρ
ΠΎΠ΄ΠΈΠΌΠΎ Π²ΡΠΏΠΎΠ»Π½ΠΈΡΡ Π² ΡΡΠ±Π±ΠΎΡΡ, 21 ΡΠ½Π²Π°ΡΡ 2023 Π³.
ΠΠ°ΠΊ ΡΡΡΠ°Π½ΠΎΠ²ΠΈΡΡ ΡΠ²Π΅ΡΠΎΠ΄ΠΈΠΎΠ΄Π½ΡΠ΅ Π»Π΅Π½ΡΡ Π² ΡΠ°Π»ΠΎΠ½Π΅ Π°Π²ΡΠΎΠΌΠΎΠ±ΠΈΠ»Ρ? — ΠΠΎΠ²ΠΈ
ΠΠ΄ΠΎΡ Π½ΠΈΡΠ΅ Π½ΠΎΠ²ΡΡ ΠΆΠΈΠ·Π½Ρ Π² ΡΠ²ΠΎΠΉ Π°Π²ΡΠΎΠΌΠΎΠ±ΠΈΠ»Ρ Ρ ΠΏΠΎΠΌΠΎΡΡΡ ΡΠ²Π΅ΡΠΎΠ΄ΠΈΠΎΠ΄Π½ΡΡ Π»Π΅Π½Ρ.
ΠΠΎΠ±Π°Π²ΡΡΠ΅ ΠΊΡΠ°ΡΠΎΠΊ ΡΠ²ΠΎΠ΅ΠΌΡ Π°Π²ΡΠΎΠΌΠΎΠ±ΠΈΠ»Ρ Ρ ΠΏΠΎΠΌΠΎΡΡΡ ΡΠ²Π΅ΡΠΎΠ΄ΠΈΠΎΠ΄Π½ΡΡ Π»Π΅Π½Ρ
ΠΠΎΠ±Π°Π²Π»Π΅Π½ΠΈΠ΅ ΡΠ²Π΅ΡΠΎΠ΄ΠΈΠΎΠ΄Π½ΡΡ Π»Π΅Π½Ρ Π΄Π»Ρ Π°Π²ΡΠΎΠΌΠΎΠ±ΠΈΠ»Π΅ΠΉ Π² ΠΈΠ½ΡΠ΅ΡΡΠ΅Ρ ΠΈ ΡΠΊΡΡΠ΅ΡΡΠ΅Ρ ΠΌΠΎΠΆΠ΅Ρ ΡΠ΄Π΅Π»Π°ΡΡ Π²Π°Ρ Π°Π²ΡΠΎΠΌΠΎΠ±ΠΈΠ»Ρ ΠΏΠΎΡ ΠΎΠΆΠΈΠΌ Π½Π° Π³Π΅ΡΠΎΡ ΡΡΠ°Π½ΡΠΈΠ·Ρ Β«Π€ΠΎΡΡΠ°ΠΆΒ». ΠΡΠΈ ΠΈΠ·ΡΡΠ½ΡΠ΅, Π΄ΠΎΠ»Π³ΠΎΠ²Π΅ΡΠ½ΡΠ΅ ΡΠ°ΡΡ ΠΏΡΠΈΠ΄Π°ΡΡ Π²ΡΠΏΠ»Π΅ΡΠΊ ΡΠ²Π΅ΡΠ° ΡΡΠΎΡΡΠ°ΡΡ ΠΏΠΎΠ΄ Π²Π°ΡΠΈΠΌ Π°Π²ΡΠΎΠΌΠΎΠ±ΠΈΠ»Π΅ΠΌ. ΠΡΠΎΠΌΠ΅ ΡΠΎΠ³ΠΎ, ΠΎΠ½ΠΈ ΡΠ°ΠΊΠΆΠ΅ ΠΌΠΎΠ³ΡΡ ΠΎΡΠ²Π΅ΡΠ°ΡΡ ΠΏΡΠΎΡΡΡΠ°Π½ΡΡΠ²ΠΎ Π΄Π»Ρ Π½ΠΎΠ³ ΠΈ Π±Π°Π³Π°ΠΆΠ½ΠΈΠΊ, ΡΡΠΎΠ±Ρ Π²Ρ ΠΌΠΎΠ³Π»ΠΈ Π»Π΅Π³ΠΊΠΎ ΠΎΠ±Π½Π°ΡΡΠΆΠΈΡΡ Π²Π΅ΡΠΈ Π²Π½ΡΡΡΠΈ. Π‘Π²Π΅ΡΠΎΠ΄ΠΈΠΎΠ΄Π½ΡΠ΅ ΡΠΎΠ½Π°ΡΠΈ
ΡΠ»Π°Π²ΡΡΡΡ ΡΠ²ΠΎΠΈΠΌ Π½ΠΈΠ·ΠΊΠΈΠΌ ΡΠ½Π΅ΡΠ³ΠΎΠΏΠΎΡΡΠ΅Π±Π»Π΅Π½ΠΈΠ΅ΠΌ, ΠΏΠΎΡΡΠΎΠΌΡ ΡΡΠΈ 12-Π²ΠΎΠ»ΡΡΠΎΠ²ΡΠ΅ ΡΠ²Π΅ΡΠΎΠ΄ΠΈΠΎΠ΄Π½ΡΠ΅ Π»Π΅Π½ΡΡ Π΄Π»Ρ Π°Π²ΡΠΎΠΌΠΎΠ±ΠΈΠ»Π΅ΠΉ Π½Π΅ ΠΎΠΊΠ°ΠΆΡΡ Π½ΠΈΠΊΠ°ΠΊΠΎΠ³ΠΎ Π²Π»ΠΈΡΠ½ΠΈΡ Π½Π° ΡΠ½Π΅ΡΠ³ΠΎΠΏΠΎΡΡΠ΅Π±Π»Π΅Π½ΠΈΠ΅ Π²Π°ΡΠ΅Π³ΠΎ Π°Π²ΡΠΎΠΌΠΎΠ±ΠΈΠ»Ρ.
ΠΠ΅Π·Π°Π²ΠΈΡΠΈΠΌΠΎ ΠΎΡ ΡΠΎΠ³ΠΎ, Ρ
ΠΎΡΠΈΡΠ΅ Π»ΠΈ Π²Ρ ΡΠΈΡΡΡ Π² Π΄ΠΎΡΠΎΠ³Π΅ ΠΈΠ»ΠΈ ΠΏΡΠΎΡΡΠΎ ΡΠΏΡΠΎΡΡΠΈΡΡ ΠΏΠΎΠΈΡΠΊ ΡΠΎΠ»Π½ΡΠ΅Π·Π°ΡΠΈΡΠ½ΡΡ
ΠΎΡΠΊΠΎΠ² ΠΈ ΠΏΡΠΎΠ΄ΡΠΊΡΠΎΠ² Π² ΠΌΠ°ΡΠΈΠ½Π΅, ΡΠ²Π΅ΡΠΎΠ΄ΠΈΠΎΠ΄Π½ΡΠ΅ ΡΠΎΠ½Π°ΡΠΈ ΠΌΠΎΠ³ΡΡ Π·Π½Π°ΡΠΈΡΠ΅Π»ΡΠ½ΠΎ ΡΡΠΊΠΎΠ½ΠΎΠΌΠΈΡΡ Π²ΡΠ΅ΠΌΡ.
ΠΠ°ΡΡΡΠΎΠΉΠΊΠ° ΡΠ²Π΅ΡΠΎΠ΄ΠΈΠΎΠ΄Π½ΠΎΠ³ΠΎ ΠΎΡΠ²Π΅ΡΠ΅Π½ΠΈΡ Π² Π°Π²ΡΠΎΠΌΠΎΠ±ΠΈΠ»Π΅
ΠΡΠ±ΠΎΡ ΠΏΠΎΠ΄Ρ ΠΎΠ΄ΡΡΠ΅Π³ΠΎ ΠΏΡΠΎΠ΄ΡΠΊΡΠ°
Π§ΡΠΎΠ±Ρ Π½Π°ΡΠ°ΡΡ ΠΏΡΠΎΡΠ΅ΡΡ ΡΡΡΠ°Π½ΠΎΠ²ΠΊΠΈ, Π²Π°ΠΌ ΡΠ½Π°ΡΠ°Π»Π° Π½Π΅ΠΎΠ±Ρ ΠΎΠ΄ΠΈΠΌΠΎ ΠΏΡΠΈΠΎΠ±ΡΠ΅ΡΡΠΈ ΡΠ²Π΅ΡΠΎΠ΄ΠΈΠΎΠ΄Π½ΡΠ΅ ΡΠΎΠ½Π°ΡΠΈ, ΠΊΠΎΡΠΎΡΡΠ΅ Π²Ρ Π±ΡΠ΄Π΅ΡΠ΅ ΡΡΡΠ°Π½Π°Π²Π»ΠΈΠ²Π°ΡΡ Π² ΡΠ²ΠΎΠΉ Π°Π²ΡΠΎΠΌΠΎΠ±ΠΈΠ»Ρ. Π₯ΠΎΡΡ Ρ Π²Π°Ρ ΠΌΠΎΠΆΠ΅Ρ Π²ΠΎΠ·Π½ΠΈΠΊΠ½ΡΡΡ ΡΠΎΠ±Π»Π°Π·Π½ ΠΊΡΠΏΠΈΡΡ ΠΎΡΠ΄Π΅Π»ΡΠ½ΡΠ΅ ΠΊΠΎΠΌΠΏΠΎΠ½Π΅Π½ΡΡ ΠΈ ΡΠ΄Π΅Π»Π°ΡΡ ΡΡΠΎΡ ΠΏΡΠΎΠ΅ΠΊΡ ΡΠ²ΠΎΠΈΠΌΠΈ ΡΡΠΊΠ°ΠΌΠΈ Ρ Π½ΡΠ»Ρ, ΠΌΡ Π½Π°ΡΡΠΎΡΡΠ΅Π»ΡΠ½ΠΎ ΡΠ΅ΠΊΠΎΠΌΠ΅Π½Π΄ΡΠ΅ΠΌ Π²Π°ΠΌ ΠΎΠ±Π»Π΅Π³ΡΠΈΡΡ ΡΠ΅Π±Π΅ Π·Π°Π΄Π°ΡΡ.
Π¦Π²Π΅ΡΠ½ΡΠ΅ ΡΠ²Π΅ΡΠΎΠ΄ΠΈΠΎΠ΄Π½ΡΠ΅ ΡΠΎΠ½Π°ΡΠΈ ΡΡΠ΅Π±ΡΡΡ ΠΈΡΡΠΎΡΠ½ΠΈΠΊΠ° ΠΏΠΈΡΠ°Π½ΠΈΡ ΠΈ Π°Π΄Π°ΠΏΡΠ΅ΡΠ° Π΄Π»Ρ ΠΏΡΠ°Π²ΠΈΠ»ΡΠ½ΠΎΠΉ ΡΠ°Π±ΠΎΡΡ. ΠΡΠ»ΠΈ Π²Ρ Π½Π΅ Π·Π½Π°Π΅ΡΠ΅, ΡΡΠΎ Π΄Π΅Π»Π°Π΅ΡΠ΅, ΡΠ±ΠΎΡΠΊΠ° ΠΏΡΠ°Π²ΠΈΠ»ΡΠ½ΡΡ
ΠΊΠΎΠΌΠΏΠΎΠ½Π΅Π½ΡΠΎΠ² ΠΌΠΎΠΆΠ΅Ρ ΡΡΠ°ΡΡ ΠΏΡΠΎΠ±Π»Π΅ΠΌΠΎΠΉ. Π¦Π΅Π»Π΅ΡΠΎΠΎΠ±ΡΠ°Π·Π½ΠΎ ΠΏΡΠΈΠΎΠ±ΡΠ΅ΡΡΠΈ Π³ΠΎΡΠΎΠ²ΡΠ΅ ΠΊΠΎΠΌΠΏΠ»Π΅ΠΊΡΡ ΡΠ²Π΅ΡΠΎΠ΄ΠΈΠΎΠ΄Π½ΡΡ
ΡΠ²Π΅ΡΠΈΠ»ΡΠ½ΠΈΠΊΠΎΠ², Π² ΠΊΠΎΡΠΎΡΡΠ΅ Π²Ρ
ΠΎΠ΄ΡΡ ΡΠ²Π΅ΡΠΎΠ΄ΠΈΠΎΠ΄Π½ΡΠ΅ Π»Π΅Π½ΡΡ USB Π΄Π»Ρ Π°Π²ΡΠΎΠΌΠΎΠ±ΠΈΠ»Π΅ΠΉ. Π ΠΈΠ΄Π΅Π°Π»Π΅ Π²Ρ ΠΌΠΎΠΆΠ΅ΡΠ΅ ΠΏΡΠΈΠΎΠ±ΡΠ΅ΡΡΠΈ ΡΠ°ΠΊΠΎΠΉ ΠΏΡΠΎΠ΄ΡΠΊΡ, ΠΊΠ°ΠΊΒ Π‘Π²Π΅ΡΠ° ΠΏΡΠΎΠΊΠ»Π°Π΄ΠΊΠΈ Π‘ΠΠ Π°Π²ΡΠΎΠΌΠΎΠ±ΠΈΠ»Ρ Govee RGBIC ΡΠΌΠ½ΡΠ΅ .
ΠΠΎΠ΄ΠΎΠ±Π½ΡΠ΅ Π½Π°Π±ΠΎΡΡ ΡΠ΄Π΅Π»Π°ΡΡ Π²Π΅ΡΡ ΠΏΡΠΎΡΠ΅ΡΡ ΡΡΡΠ°Π½ΠΎΠ²ΠΊΠΈ ΠΏΡΠΎΡΠ΅ ΠΈ Π±ΡΡΡΡΠ΅Π΅.
Π£ΡΡΠ°Π½ΠΎΠ²ΠΊΠ° ΡΠ°Ρ
ΠΠ°ΠΊ ΡΡΡΠ°Π½ΠΎΠ²ΠΈΡΡ ΡΠ²Π΅ΡΠΎΠ΄ΠΈΠΎΠ΄Π½ΡΠ΅ Π»Π΅Π½ΡΡ Π² Π°Π²ΡΠΎΠΌΠΎΠ±ΠΈΠ»Π΅?
ΠΠΎΠ΄Π³ΠΎΡΠΎΠ²ΠΊΠ° Β — ΠΠ΅ΡΠ΅Π΄ ΡΡΡΠ°Π½ΠΎΠ²ΠΊΠΎΠΉ ΡΠΎΠ½Π°ΡΠ΅ΠΉ Π²Π°ΠΌ Π½Π΅ΠΎΠ±Ρ ΠΎΠ΄ΠΈΠΌΠΎ ΠΊΡΠΏΠΈΡΡ ΡΠ°ΠΌΠΈ ΡΠΎΠ½Π°ΡΠΈ. ΠΠΎΠΊΡΠΏΠΊΠ° ΠΊΠΎΠΌΠΏΠ»Π΅ΠΊΡΠ° ΡΠ²Π΅ΡΠΎΠ΄ΠΈΠΎΠ΄Π½ΡΡ Π°Π²ΡΠΎΠΌΠΎΠ±ΠΈΠ»ΡΠ½ΡΡ ΡΠ°Ρ ΠΌΠΎΠΆΠ΅Ρ Π·Π½Π°ΡΠΈΡΠ΅Π»ΡΠ½ΠΎ ΠΎΠ±Π»Π΅Π³ΡΠΈΡΡ Π²Π°ΡΡ ΠΆΠΈΠ·Π½Ρ. ΠΠΎΠΌΠΏΠ»Π΅ΠΊΡΡ Π±ΡΠ΄ΡΡ Π²ΠΊΠ»ΡΡΠ°ΡΡ Π±Π»ΠΎΠΊ ΠΏΠΈΡΠ°Π½ΠΈΡ , ΠΊΠΎΡΠΎΡΡΠΉ ΠΏΠΎΠ΄ΠΊΠ»ΡΡΠ°Π΅ΡΡΡ ΠΊ ΡΠΎΠ·Π΅ΡΠΊΠ΅ ΠΏΡΠΈΠΊΡΡΠΈΠ²Π°ΡΠ΅Π»Ρ Π°Π²ΡΠΎΠΌΠΎΠ±ΠΈΠ»Ρ Π½Π° 12 Π; 9ΠΊΠΎΠ½ΡΡΠΎΠ»Π»Π΅Ρ 0269 , ΠΊΠΎΡΠΎΡΡΠΉ ΠΏΠΎΠΌΠΎΠΆΠ΅Ρ Π²Π°ΠΌ ΠΏΠ΅ΡΠ΅ΠΊΠ»ΡΡΠ°ΡΡΡΡ ΠΌΠ΅ΠΆΠ΄Ρ Π½Π°ΡΡΡΠΎΠΉΠΊΠ°ΠΌΠΈ ΠΎΡΠ²Π΅ΡΠ΅Π½ΠΈΡ, Π²Π΅ΡΠΎΡΡΠ½ΠΎ, Ρ ΠΏΠΎΠΌΠΎΡΡΡ ΠΏΡΠ»ΡΡΠ° Π΄ΠΈΡΡΠ°Π½ΡΠΈΠΎΠ½Π½ΠΎΠ³ΠΎ ΡΠΏΡΠ°Π²Π»Π΅Π½ΠΈΡ ΠΈ/ΠΈΠ»ΠΈ Π²Π°ΡΠ΅Π³ΠΎ ΡΠ΅Π»Π΅ΡΠΎΠ½Π°; ΠΈ ΡΠ°ΠΌΠΈ ΡΠ²Π΅ΡΠΎΠ΄ΠΈΠΎΠ΄Π½ΡΠ΅ Π»Π΅Π½ΡΡ . Π‘Π²Π΅ΡΠΈΠ»ΡΠ½ΠΈΠΊΠΈ Π΄Π»Ρ ΡΠΊΡΡΠ΅ΡΡΠ΅ΡΠ° Π΄ΠΎΠ»ΠΆΠ½Ρ ΠΈΠΌΠ΅ΡΡ Π·Π°ΡΠΈΡΠ½ΡΠΉ Π²ΠΎΠ΄ΠΎΠ½Π΅ΠΏΡΠΎΠ½ΠΈΡΠ°Π΅ΠΌΡΠΉ ΡΠ»ΠΎΠΉ.
ΠΡΠ»ΠΎ Π±Ρ Π½Π΅ΠΏΠ»ΠΎΡ
ΠΎ ΠΏΠΎΠ΄Π³ΠΎΡΠΎΠ²ΠΈΡΡ ΠΊΠΎΠ΅-ΡΡΠΎ ΠΏΠΎΠΌΠΈΠΌΠΎ ΡΠΎΠ³ΠΎ, ΡΡΠΎ Π±ΡΠ΄Π΅Ρ Π² ΠΊΠΎΡΠΎΠ±ΠΊΠ΅. Π§ΡΠΎΠ±Ρ ΠΎΠ±Π»Π΅Π³ΡΠΈΡΡ ΠΏΡΠΎΡΠ΅ΡΡ ΡΡΡΠ°Π½ΠΎΠ²ΠΊΠΈ, Π²Ρ ΠΌΠΎΠΆΠ΅ΡΠ΅ Π·Π°Ρ
ΠΎΡΠ΅ΡΡ ΠΈΠΌΠ΅ΡΡ Π΄ΠΎΠΏΠΎΠ»Π½ΠΈΡΠ΅Π»ΡΠ½ΡΡ ΠΎΠΏΠΎΡΡ Π΄Π»Ρ Π°Π΄Π³Π΅Π·ΠΈΠΈ. Π‘ΠΈΠ»ΡΠ½ΡΠΉ ΠΊΠ»Π΅ΠΉ, ΠΊΠΎΡΠΎΡΡΠΉ Π±ΡΠ΄Π΅Ρ Ρ
ΠΎΡΠΎΡΠΎ ΡΡΠ΅ΠΏΠ»ΡΡΡΡΡ Ρ ΠΌΠ΅ΡΠ°Π»Π»ΠΎΠΌ Π°Π²ΡΠΎΠΌΠΎΠ±ΠΈΠ»Ρ, ΠΌΠΎΠΆΠ΅Ρ ΠΏΠΎΠΌΠΎΡΡ Π»Π΅Π½ΡΠ΅ 3M ΠΏΡΠΈΠΊΠ»Π΅ΠΈΡΡΡΡ Π½Π΅ΠΌΠ½ΠΎΠ³ΠΎ Π»ΡΡΡΠ΅.
Π£Π±Π΅Π΄ΠΈΡΠ΅ΡΡ, ΡΡΠΎ ΠΏΠΎΠ»ΠΎΡΠΊΠΈ ΠΏΡΠΈΠΊΡΠ΅ΠΏΠ»Π΅Π½Ρ ΡΠ°ΠΊΠΈΠΌ ΠΎΠ±ΡΠ°Π·ΠΎΠΌ, ΡΡΠΎΠ±Ρ ΠΏΠΎΠ΄Π³ΠΎΡΠΎΠ²ΠΈΡΡ ΠΈΡ ΠΊ Π΄Π²ΠΈΠΆΠ΅Π½ΠΈΡΠΌ Π°Π²ΡΠΎΠΌΠΎΠ±ΠΈΠ»Ρ, Π½Π΅ΠΏΠΎΠ³ΠΎΠ΄Π΅ ΠΈ Π½Π΅ΠΈΠ·Π±Π΅ΠΆΠ½ΠΎΠΌΡ ΠΈΠ·Π½ΠΎΡΡ, Π²ΡΠ·Π²Π°Π½Π½ΠΎΠΌΡ Π²ΡΠ΅ΠΌΠ΅Π½Π΅ΠΌ. ΠΠ°ΡΡΠ΅ΠΆΠΊΠΈ-ΠΌΠΎΠ»Π½ΠΈΠΈ ΡΠΎΠΆΠ΅ ΠΎΡΠ»ΠΈΡΠ½ΠΎ ΡΠ°Π±ΠΎΡΠ°ΡΡ. Π Π΄Π»Ρ Π±ΠΎΠ»Π΅Π΅ ΠΎΡΡΠΎΡΠΎΠΆΠ½ΡΡ Π»ΡΠ΄Π΅ΠΉ Π²Ρ ΠΌΠΎΠΆΠ΅ΡΠ΅ Π΄Π°ΠΆΠ΅ ΠΏΠΎΠΏΡΠΎΠ±ΠΎΠ²Π°ΡΡ ΠΏΡΠΎΡΠ²Π΅ΡΠ»ΠΈΡΡ Π½Π΅ΡΠΊΠΎΠ»ΡΠΊΠΎ ΠΎΡΠ²Π΅ΡΡΡΠΈΠΉ Π΄Π»Ρ Π²ΠΈΠ½ΡΠΎΠ² ΠΈ ΠΏΡΠΈΠΊΡΠ΅ΠΏΠΈΡΡ ΠΌΠ°Π»Π΅Π½ΡΠΊΠΈΠ΅ ΡΠΊΠΎΠ±Ρ, ΡΡΠΎΠ±Ρ ΡΠ΄Π΅ΡΠΆΠΈΠ²Π°ΡΡ ΡΠΎΠ½Π°ΡΠΈ Π½Π° ΠΌΠ΅ΡΡΠ΅.
Π£ΡΡΠ°Π½ΠΎΠ²ΠΊΠ° Β — Π’Π΅ΠΏΠ΅ΡΡ ΠΎ ΡΠ°ΠΌΠΎΠΉ ΡΡΡΠ°Π½ΠΎΠ²ΠΊΠ΅:
- Π‘ΠΎΡΡΠ°Π²ΡΡΠ΅ ΠΏΠ»Π°Π½. Π£Π±Π΅Π΄ΠΈΡΠ΅ΡΡ, ΡΡΠΎ Π²Ρ Π·Π½Π°Π΅ΡΠ΅, Π³Π΄Π΅ Π±ΡΠ΄ΡΡ ΡΡΡΠ°Π½ΠΎΠ²Π»Π΅Π½Ρ ΡΠ²Π΅ΡΠΈΠ»ΡΠ½ΠΈΠΊΠΈ. ΠΠ΅ΠΊΠΎΡΠΎΡΡΠ΅ ΠΎΠ±Π»Π°ΡΡΠΈ, ΠΊΠΎΡΠΎΡΡΠ΅ ΠΌΠΎΠ³ΡΡ ΠΏΠΎΠΊΠ°Π·Π°ΡΡΡΡ Ρ ΠΎΡΠΎΡΠΈΠΌΠΈ, ΠΌΠΎΠ³ΡΡ Π±ΡΡΡ ΡΠ»ΠΈΡΠΊΠΎΠΌ ΡΠΊΡΡΡΡ ΠΈ Π±ΡΠ΄ΡΡ ΠΏΠ΅ΡΠ΅ΠΊΡΡΠ²Π°ΡΡ ΠΈΡΡΠΎΡΠ½ΠΈΠΊΠΈ ΡΠ²Π΅ΡΠ°, ΡΠΌΠ΅Π½ΡΡΠ°Ρ ΠΎΠ±Π»Π°ΡΡΡ ΠΈΡ ΡΠ²Π΅ΡΠ΅Π½ΠΈΡ. ΠΡΠΎΠ²Π΅ΡΡΡΠ΅ ΡΡΠΎ, ΠΈΡΠΏΠΎΠ»ΡΠ·ΡΡ Π½Π΅Π±ΠΎΠ»ΡΡΠΎΠΉ ΡΡΡΠ½ΠΎΠΉ ΡΠΎΠ½Π°ΡΡ ΠΈ ΡΠΏΡΠΎΠ΅ΡΠΈΡΠΎΠ²Π°Π², ΠΊΠ°ΠΊ Π±ΡΠ΄ΡΡ ΡΠ²Π΅ΡΠΈΡΡΡΡ ΡΠ²Π΅ΡΠΎΠ΄ΠΈΠΎΠ΄Π½ΡΠ΅ ΡΠΎΠ½Π°ΡΠΈ ΠΏΠΎΡΠ»Π΅ ΡΡΡΠ°Π½ΠΎΠ²ΠΊΠΈ. ΠΠΈΠ·ΡΠ°Π»ΠΈΠ·ΠΈΡΡΠΉΡΠ΅, Π½Π°ΠΌΠ΅ΡΡΡΠ΅ ΠΈ ΠΈΠ·ΠΌΠ΅ΡΡΡΠ΅ ΠΎΠ±Π»Π°ΡΡΡ, ΠΊΡΠ΄Π° Π±ΡΠ΄Π΅Ρ ΠΏΠΎΠΏΠ°Π΄Π°ΡΡ ΡΠ²Π΅Ρ.
- ΠΡΠΎΠ²Π΅ΡΠΊΠ° Π»Π°ΠΌΠΏ — ΠΠΎΠ΄ΠΊΠ»ΡΡΠΈΡΠ΅ Π»Π°ΠΌΠΏΡ ΠΈ ΡΠ±Π΅Π΄ΠΈΡΠ΅ΡΡ, ΡΡΠΎ ΠΎΠ½ΠΈ ΡΠ°Π±ΠΎΡΠ°ΡΡ Π΄ΠΎΠ»ΠΆΠ½ΡΠΌ ΠΎΠ±ΡΠ°Π·ΠΎΠΌ. ΠΡ Π±Ρ Π½Π΅ Ρ
ΠΎΡΠ΅Π»ΠΈ ΡΡΠΎΠ»ΠΊΠ½ΡΡΡΡΡ Ρ ΠΏΡΠΎΠ±Π»Π΅ΠΌΠΎΠΉ ΠΈΡ
ΡΡΡΠ°Π½ΠΎΠ²ΠΊΠΈ, Π° Π·Π°ΡΠ΅ΠΌ ΠΏΠΎΠ½ΡΡΡ, ΡΡΠΎ ΠΎΠ½ΠΈ Π½Π΅ ΡΠ°Π±ΠΎΡΠ°ΡΡ Π΄ΠΎΠ»ΠΆΠ½ΡΠΌ ΠΎΠ±ΡΠ°Π·ΠΎΠΌ.
ΠΠ°ΡΠ΅ΠΌ ΠΈΡΠΏΠΎΠ»ΡΠ·ΡΠΉΡΠ΅ ΡΠΊΠΎΡΡ, ΡΡΠΎΠ±Ρ ΡΠ»Π΅Π³ΠΊΠ° ΠΏΡΠΈΠΊΠ»Π΅ΠΈΡΡ Π΅Π³ΠΎ Π² ΠΌΠ΅ΡΡΠ°Ρ
, ΠΊΠΎΡΠΎΡΡΠ΅ Π²Ρ Π½Π°ΠΌΠ΅ΡΠΈΠ»ΠΈ, ΠΏΡΠΎΡΡΠΎ ΡΡΠΎΠ±Ρ ΡΠ±Π΅Π΄ΠΈΡΡΡΡ, ΡΡΠΎ Π΄Π»ΠΈΠ½Π° ΠΏΡΠ°Π²ΠΈΠ»ΡΠ½Π°Ρ, ΠΏΡΠ΅ΠΆΠ΄Π΅ ΡΠ΅ΠΌ ΠΈΡΠΏΠΎΠ»ΡΠ·ΠΎΠ²Π°ΡΡ Π½Π°ΡΡΠΎΡΡΠΈΠΉ ΠΊΠ»Π΅ΠΉ. ΠΡ ΠΌΠΎΠΆΠ΅ΡΠ΅ ΠΎΡΡΠ΅Π³ΡΠ»ΠΈΡΠΎΠ²Π°ΡΡ ΠΈΡ
ΠΈ ΡΠΎΡΡΠ°Π²ΠΈΡΡ Π² ΡΠΌΠ΅ Π±ΠΎΠ»Π΅Π΅ ΡΠ΅ΡΠΊΠΎΠ΅ ΠΏΡΠ΅Π΄ΡΡΠ°Π²Π»Π΅Π½ΠΈΠ΅ ΠΎ ΡΠΎΠΌ, ΠΊΠ°ΠΊ ΠΈΠΌΠ΅Π½Π½ΠΎ ΠΎΠ½ΠΈ Π±ΡΠ΄ΡΡ ΡΠ°ΡΠΏΠΎΠ»ΠΎΠΆΠ΅Π½Ρ. - ΠΡΠΈΡΡΠΈΡΠ΅ ΠΌΠ΅ΡΡΠΎ — Π£Π΄Π°Π»ΠΈΡΠ΅ Π²ΡΠ΅ ΡΠ°ΡΡΠΈΡΡ ΠΏΡΠ»ΠΈ, ΠΎΡΠΈΡΡΠΈΠ² ΠΌΠ΅ΡΡΠΎ, Π³Π΄Π΅ Π±ΡΠ΄ΡΡ ΡΠ°ΡΠΏΠΎΠ»Π°Π³Π°ΡΡΡΡ ΡΠΎΠ½Π°ΡΠΈ, Π²Π»Π°ΠΆΠ½ΠΎΠΉ ΡΠΊΠ°Π½ΡΡ, ΠΆΠ΅Π»Π°ΡΠ΅Π»ΡΠ½ΠΎ ΡΠΏΠΈΡΡΠΎΠ²ΡΠΌ ΡΠΏΡΠ΅Π΅ΠΌ Π΄Π»Ρ Π±ΡΡΡΡΠΎΠ³ΠΎ Π²ΡΡΡΡ Π°Π½ΠΈΡ. ΠΡΠ»ΠΈ ΡΡΠ°ΡΡΠΎΠΊ Π½Π΅ΡΠΎΠ²Π½ΡΠΉ ΠΈΠ»ΠΈ ΠΈΠΌΠ΅Π΅Ρ Π·Π°ΡΠ²Π΅ΡΠ΄Π΅Π²ΡΡΡ Π³ΡΡΠ·Ρ, ΠΎΡΡΠ»ΠΈΡΡΠΉΡΠ΅ Π΅Π³ΠΎ ΠΈ ΡΡΠ°ΡΠ΅Π»ΡΠ½ΠΎ ΠΎΡΠΈΡΡΠΈΡΠ΅ ΠΏΠ΅ΡΠ΅Π΄ ΡΡΡΠ°Π½ΠΎΠ²ΠΊΠΎΠΉ.
- ΠΠΎΡΠ»Π΅ ΠΎΡΠΈΡΡΠΊΠΈ — ΠΠΎΠ΄ΠΎΠΆΠ΄ΠΈΡΠ΅, ΠΏΠΎΠΊΠ° ΡΡΠ°ΡΡΠΊΠΈ Π²ΡΡΠΎΡ Π½ΡΡ, ΠΈ ΠΏΡΠΎΠ²Π΅Π΄ΠΈΡΠ΅ ΠΏΠΎΡΠ»Π΅Π΄Π½ΡΡ ΡΠ±ΠΎΡΠΊΡ, ΡΡΠΎΠ±Ρ ΡΠ±Π΅Π΄ΠΈΡΡΡΡ, ΡΡΠΎ ΠΏΠΎΡΠ»Π΅Π΄Π½ΠΈΠ΅ ΡΠ°ΡΡΠΈΡΡ ΠΏΡΠ»ΠΈ Π½Π΅ ΠΌΠ΅ΡΠ°ΡΡ. ΠΠ°ΡΠ΅ΠΌ Π½Π°ΡΠ½ΠΈΡΠ΅ ΡΠ½ΠΈΠΌΠ°ΡΡ Π±ΡΠΌΠ°Π³Ρ Ρ ΡΠΎΠ½Π°ΡΠ΅ΠΉ ΠΈ ΡΠ°Π·ΠΌΠ΅ΡΠ°ΡΡ ΠΈΡ Π½Π° ΠΏΠΎΠ΄Π³ΠΎΡΠΎΠ²Π»Π΅Π½Π½ΡΡ ΠΌΠ΅ΡΡΠ°Ρ .
- Π£ΠΊΡΠ΅ΠΏΠ»ΡΠΉΡΠ΅ ΠΏΠΎ ΠΌΠ΅ΡΠ΅ Π½Π΅ΠΎΠ±Ρ
ΠΎΠ΄ΠΈΠΌΠΎΡΡΠΈ β ΠΠΎΠ³Π΄Π° Π²Ρ ΡΡΡΠ°Π½Π°Π²Π»ΠΈΠ²Π°Π΅ΡΠ΅ ΠΈΡ
Π½Π° ΠΌΠ΅ΡΡΠΎ, ΡΠ±Π΅Π΄ΠΈΡΠ΅ΡΡ, ΡΡΠΎ ΠΎΠ½ΠΈ Ρ
ΠΎΡΠΎΡΠΎ Π·Π°ΠΊΡΠ΅ΠΏΠ»Π΅Π½Ρ, ΡΡΠΎΠ±Ρ Π²ΡΠ΄Π΅ΡΠΆΠ°ΡΡ Π»ΡΠ±ΡΠ΅ ΡΡΡΠΎΠ²ΡΠ΅ ΡΠΈΡΡΠ°ΡΠΈΠΈ Π² Π±ΡΠ΄ΡΡΠ΅ΠΌ.
ΠΠ°ΠΊ ΡΠΏΠΎΠΌΠΈΠ½Π°Π»ΠΎΡΡ ΡΠ°Π½Π΅Π΅, Π·Π°ΠΊΡΠ΅ΠΏΠΈΡΠ΅ ΠΈΡ
ΡΠ°ΠΊ, ΡΡΠΎΠ±Ρ ΠΎΠ½ΠΈ ΠΌΠΎΠ³Π»ΠΈ Π²ΡΠ΄Π΅ΡΠΆΠ°ΡΡ Π»Π΅Π³ΠΊΠΈΠ΅ ΡΠ΄Π°ΡΡ, ΡΠ°ΡΠ°ΠΏΠΈΠ½Ρ, ΠΏΡΠ»Ρ, ΠΏΠΎΠ³ΠΎΠ΄Ρ ΠΈ Ρ. Π΄. ΠΡΠΈ Π½Π΅ΠΎΠ±Ρ
ΠΎΠ΄ΠΈΠΌΠΎΡΡΠΈ Π·Π°ΠΊΡΠ΅ΠΏΠΈΡΠ΅ Π΄ΠΎΠΏΠΎΠ»Π½ΠΈΡΠ΅Π»ΡΠ½ΡΠΌ ΠΊΠ»Π΅Π΅ΠΌ, ΡΡΡΠΆΠΊΠ°ΠΌΠΈ ΠΈΠ»ΠΈ Π΄Π°ΠΆΠ΅ ΠΏΡΠΎΡΠ²Π΅ΡΠ»ΠΈΡΠ΅ Π½Π΅ΡΠΊΠΎΠ»ΡΠΊΠΎ ΡΠΊΠΎΠ±, ΡΡΠΎΠ±Ρ ΡΠ΄Π΅ΡΠΆΠΈΠ²Π°ΡΡ ΠΈΡ
Π½Π° ΠΌΠ΅ΡΡΠ΅. ΠΠ΅Π·Π°Π²ΠΈΡΠΈΠΌΠΎ ΠΎΡ ΠΌΠ΅ΡΠΎΠ΄Π°, ΠΏΡΠΎΡΡΠΎ ΡΠ±Π΅Π΄ΠΈΡΠ΅ΡΡ, ΡΡΠΎ ΠΎΠ½ΠΈ Π½Π΅ ΡΠΏΠ°Π΄ΡΡ. ΠΠ°ΡΠ°ΡΡ ΠΈΠ³ΡΠ°ΡΡ Β — Π’Π΅ΠΏΠ΅ΡΡ, ΠΊΠΎΠ³Π΄Π° ΡΠ²Π΅Ρ Π½Π°ΡΡΡΠΎΠ΅Π½, ΠΊΠ»Π΅ΠΉ Π²ΡΡΠΎΡ ΠΈ ΠΏΠΈΡΠ°Π½ΠΈΠ΅ ΠΏΠΎΠ΄ΠΊΠ»ΡΡΠ΅Π½ΠΎ, ΠΏΡΠΈΡΠ»ΠΎ Π²ΡΠ΅ΠΌΡ ΠΈΡ ΠΈΡΠΏΠΎΠ»ΡΠ·ΠΎΠ²Π°ΡΡ! ΠΡΠΏΠΎΠ»ΡΠ·ΡΠΉΡΠ΅ ΠΏΡΠ»ΡΡ ΠΈΠ»ΠΈ ΠΏΡΠΈΠ»ΠΎΠΆΠ΅Π½ΠΈΠ΅, ΡΡΠΎΠ±Ρ Π²ΠΊΠ»ΡΡΠΈΡΡ ΠΈΡ ΠΈ Π½Π°ΡΠ°ΡΡ ΠΈΠ³ΡΠ°ΡΡ Ρ ΡΠ°Π·Π»ΠΈΡΠ½ΡΠΌΠΈ Π½Π°ΡΡΡΠΎΠΉΠΊΠ°ΠΌΠΈ ΠΎΡΠ²Π΅ΡΠ΅Π½ΠΈΡ. ΠΠΎΠΏΡΠΎΠ±ΡΠΉΡΠ΅ Π²ΠΊΠ»ΡΡΠΈΡΡ Π΄ΡΡΠ³ΡΡ ΠΌΡΠ·ΡΠΊΡ ΠΈ ΠΏΠΎΡΠΌΠΎΡΡΠΈΡΠ΅, ΠΊΠ°ΠΊ ΠΌΠΈΠΊΡΠΎΡΡ Π΅ΠΌΠ° RGBIC ΡΠΈΠ½Ρ ΡΠΎΠ½ΠΈΠ·ΠΈΡΡΠ΅ΡΡΡ Ρ ΡΠΈΡΠΌΠΎΠΌ, ΡΡΠΎΠ±Ρ ΠΎΠ³Π½ΠΈ ΡΠ°Π½ΡΠ΅Π²Π°Π»ΠΈ Π²ΠΌΠ΅ΡΡΠ΅ Ρ Π²Π°ΠΌΠΈ. ΠΠΏΡΠ΅Π΄Π΅Π»ΠΈΡΠ΅ ΠΈΠ½ΡΠ΅Π½ΡΠΈΠ²Π½ΠΎΡΡΡ ΡΠ²Π΅ΡΠ°, Ρ ΠΊΠΎΡΠΎΡΠΎΠΉ Π²Ρ ΡΡΠ²ΡΡΠ²ΡΠ΅ΡΠ΅ ΡΠ΅Π±Ρ Π½Π°ΠΈΠ±ΠΎΠ»Π΅Π΅ ΠΊΠΎΠΌΡΠΎΡΡΠ½ΠΎ Π² ΠΈΠ½ΡΠ΅ΡΡΠ΅ΡΠ΅, ΡΡΠΎΠ±Ρ ΠΎΠ½ Π½Π΅ ΠΎΡΠ²Π»Π΅ΠΊΠ°Π». ΠΠΎΠ΄Π±Π΅ΡΠΈΡΠ΅ ΡΠ²Π΅Ρ ΠΊΡΠ·ΠΎΠ²Π° ΠΊ ΠΊΡΠ°ΡΠΊΠ΅ Π²Π°ΡΠ΅Π³ΠΎ Π°Π²ΡΠΎΠΌΠΎΠ±ΠΈΠ»Ρ, ΡΡΠΎΠ±Ρ ΡΠΎΠ·Π΄Π°ΡΡ ΡΡΡΠ΅ΠΊΡ ΠΏΡΠ΅Π΅ΠΌΡΡΠ²Π΅Π½Π½ΠΎΡΡΠΈ, ΠΈΠ»ΠΈ ΡΠ΄Π΅Π»Π°ΠΉΡΠ΅ Π²ΡΠ΅ Π²ΠΎΠ·ΠΌΠΎΠΆΠ½ΠΎΠ΅, Π²ΡΠ±ΡΠ°Π² ΡΠ»ΡΡΠ°ΠΉΠ½ΡΠΉ ΡΠ²Π΅Ρ.*
*Π£ΡΠΎΡΠ½ΠΈΡΠ΅ Π² ΠΌΠ΅ΡΡΠ½ΡΡ
ΠΎΡΠ³Π°Π½Π°Ρ
Π²Π»Π°ΡΡΠΈ, ΡΡΡΠ΅ΡΡΠ²ΡΡΡ Π»ΠΈ ΠΊΠ°ΠΊΠΈΠ΅-Π»ΠΈΠ±ΠΎ ΠΎΠ³ΡΠ°Π½ΠΈΡΠ΅Π½ΠΈΡ Π² ΠΎΡΠ½ΠΎΡΠ΅Π½ΠΈΠΈ Π½Π°ΡΡΠΆΠ½ΠΎΠ³ΠΎ ΠΎΡΠ²Π΅ΡΠ΅Π½ΠΈΡ.
ΠΠ°ΠΏΡΠΈΠΌΠ΅Ρ, Π²ΠΎ ΠΌΠ½ΠΎΠ³ΠΈΡ
ΠΌΠ΅ΡΡΠ°Ρ
Π·Π°ΠΏΡΠ΅ΡΠ΅Π½ΠΎ ΠΈΡΠΏΠΎΠ»ΡΠ·ΠΎΠ²Π°Π½ΠΈΠ΅ ΡΠΈΠ½ΠΈΡ
ΠΈ ΠΊΡΠ°ΡΠ½ΡΡ
ΠΎΠ³Π½Π΅ΠΉ, ΡΠ°ΠΊ ΠΊΠ°ΠΊ ΠΈΡ
ΠΌΠΎΠΆΠ½ΠΎ ΠΏΡΠΈΠ½ΡΡΡ Π·Π° ΠΏΠΎΠ»ΠΈΡΠ΅ΠΉΡΠΊΠΈΠ΅. ΠΠ΅ΡΠ΅ΠΏΡΠΎΠ²Π΅ΡΡΡΠ΅, ΡΡΠΎΠ±Ρ ΠΈΠ·Π±Π΅ΠΆΠ°ΡΡ Π½Π΅Π½ΡΠΆΠ½ΡΡ
Π½Π΅Π΄ΠΎΡΠ°Π·ΡΠΌΠ΅Π½ΠΈΠΉ.
Π‘Π²Π΅ΡΠΎΠ΄ΠΈΠΎΠ΄Π½ΡΠ΅ Π°Π²ΡΠΎΠΌΠΎΠ±ΠΈΠ»ΡΠ½ΡΠ΅ ΡΠ°ΡΡ Govee Π΄Π»Ρ ΡΠ°Π»ΠΎΠ½Π° ΠΈ ΡΠΊΡΡΠ΅ΡΡΠ΅ΡΠ°
ΠΠ°ΠΊ ΡΠΏΠΎΠΌΠΈΠ½Π°Π»ΠΎΡΡ ΡΠ°Π½Π΅Π΅, Π»ΡΡΡΠΈΠ΅ ΡΠ²Π΅ΡΠΎΠ΄ΠΈΠΎΠ΄Π½ΡΠ΅ Π»Π΅Π½ΡΡ Π΄Π»Ρ ΡΠ°Π»ΠΎΠ½Π° ΠΈ ΡΠΊΡΡΠ΅ΡΡΠ΅ΡΠ° Π°Π²ΡΠΎΠΌΠΎΠ±ΠΈΠ»Ρ β ΡΡΠΎ Π³ΠΎΡΠΎΠ²ΡΠ΅ ΠΊ ΠΈΡΠΏΠΎΠ»ΡΠ·ΠΎΠ²Π°Π½ΠΈΡ. Π’Π°ΠΊΠΈΠΌ ΠΎΠ±ΡΠ°Π·ΠΎΠΌ, ΠΏΡΠΎΡΠ΅ΡΡ ΡΡΡΠ°Π½ΠΎΠ²ΠΊΠΈ ΠΏΡΠΎΡ ΠΎΠ΄ΠΈΡ Π³Π»Π°Π΄ΠΊΠΎ ΠΈ Π±Π΅Π· ΡΡΡΠ΅ΡΡΠ°.
Π’Π°ΠΊΠΈΠ΅ Π±ΡΠ΅Π½Π΄Ρ, ΠΊΠ°ΠΊ Govee , ΠΏΡΠ΅Π΄Π»Π°Π³Π°ΡΡ ΠΏΡΠ΅Π²ΠΎΡΡ ΠΎΠ΄Π½ΡΠΉ ΠΏΡΠΎΠ΄ΡΠΊΡ, ΠΊΠΎΡΠΎΡΡΠΉ ΠΌΠΎΠΆΠ΅Ρ ΠΊΠΎΠ½ΠΊΡΡΠΈΡΠΎΠ²Π°ΡΡ Ρ ΠΏΡΠΎΠ΄ΡΠΊΡΠ°ΠΌΠΈ Π²Π΅Π΄ΡΡΠΈΡ Π±ΡΠ΅Π½Π΄ΠΎΠ² ΠΈ ΡΡΠΎΠΈΡ Π½Π°ΠΌΠ½ΠΎΠ³ΠΎ Π΄Π΅ΡΠ΅Π²Π»Π΅. ΠΠ΅ΠΊΠΎΡΠΎΡΡΠ΅ Π±ΡΠ΅Π½Π΄Ρ Π±Π΅ΡΡΡ ΡΠΎΡΠ½ΠΈ ΠΈ Π΄Π°ΠΆΠ΅ ΡΡΡΡΡΠΈ Π΄ΠΎΠ»Π»Π°ΡΠΎΠ² Π·Π° ΠΎΡΠ²Π΅ΡΠ΅Π½ΠΈΠ΅ ΠΈ ΡΡΡΠ°Π½ΠΎΠ²ΠΊΡ. ΠΠ·Π±Π΅Π³Π°ΠΉΡΠ΅ ΡΠ°ΠΊΠΈΡ Π±ΡΠ΅Π½Π΄ΠΎΠ² ΠΈ Π±ΡΠ΄ΡΡΠ΅ ΡΠ²Π΅ΡΠ΅Π½Ρ, ΡΡΠΎ Govee ΠΏΡΠ΅Π΄ΠΎΡΡΠ°Π²ΠΈΡ Π²Π°ΠΌ Π»ΡΡΡΠ΅Π΅ ΠΊΠ°ΡΠ΅ΡΡΠ²ΠΎ ΠΏΠΎ ΡΠ°ΠΌΠΎΠΉ ΡΠΏΡΠ°Π²Π΅Π΄Π»ΠΈΠ²ΠΎΠΉ ΡΠ΅Π½Π΅.
Π‘ Govee Π²Ρ ΠΌΠΎΠΆΠ΅ΡΠ΅ ΠΏΠΎΠ»ΡΡΠΈΡΡ ΡΠ²Π΅ΡΠΎΠ΄ΠΈΠΎΠ΄Π½ΡΠ΅ Π»Π΅Π½ΡΡ, Π²ΡΡΡΠΎΠ΅Π½Π½ΡΠΉ ΡΠΈΠΏ RGBIC, ΠΊΠΎΡΠΎΡΡΠΉ ΠΏΠΎΠ΄Π±ΠΈΡΠ°Π΅Ρ ΡΠ²Π΅Ρ ΡΠ²Π΅ΡΠ° ΠΊ ΡΠΎΠΌΡ, ΡΡΠΎ Π²Ρ ΡΠ»ΡΡΠ°Π΅ΡΠ΅, ΠΈ ΠΏΡΠΈΠ»ΠΎΠΆΠ΅Π½ΠΈΠ΅, ΠΊΠΎΡΠΎΡΠΎΠ΅ ΠΏΠΎΠ·Π²ΠΎΠ»ΡΠ΅Ρ Π²Π°ΠΌ ΡΠ°Π±ΠΎΡΠ°ΡΡ Π² ΡΠ°ΠΌΡΡ
ΡΠ°Π·Π½ΡΡ
ΡΡΠ΅Π΄Π°Ρ
. ΠΡΠ΅ Π»Π΅Π³ΠΊΠΎ Ρ ΠΏΠΎΠΌΠΎΡΡΡ Π½Π°ΠΆΠ°ΡΠΈΡ ΠΊΠ½ΠΎΠΏΠΊΠΈ Π½Π° Π²Π°ΡΠ΅ΠΌ ΡΠ΅Π»Π΅ΡΠΎΠ½Π΅.
Π ΡΠ°ΠΌΠΎΠ΅ ΠΏΡΠΈΡΡΠ½ΠΎΠ΅ ΡΠΎ, ΡΡΠΎ Govee Π·Π°Π±ΠΎΡΠΈΡΡΡ ΠΎ ΡΠ²ΠΎΠΈΡ
ΠΊΠ»ΠΈΠ΅Π½ΡΠ°Ρ
: Π²ΡΠ΅ ΠΏΡΠΎΠ΄ΡΠΊΡΡ Govee ΠΏΠΎΡΡΠ°Π²Π»ΡΡΡΡΡ Ρ 30-Π΄Π½Π΅Π²Π½ΠΎΠΉ Π³Π°ΡΠ°Π½ΡΠΈΠ΅ΠΉ Π²ΠΎΠ·Π²ΡΠ°ΡΠ° Π΄Π΅Π½Π΅Π³, 1-Π»Π΅ΡΠ½Π΅ΠΉ Π³Π°ΡΠ°Π½ΡΠΈΠ΅ΠΉ ΠΈ ΠΏΠΎΠΆΠΈΠ·Π½Π΅Π½Π½ΡΠΌ ΠΎΠ±ΡΠ»ΡΠΆΠΈΠ²Π°Π½ΠΈΠ΅ΠΌ ΠΊΠ»ΠΈΠ΅Π½ΡΠΎΠ²!
ΠΡΠΈΠ³ΠΎΡΠΎΠ²ΡΡΠ΅ΡΡ ΠΏΠΎΠ»ΡΠ±ΠΈΡΡ Π²ΠΎΠΆΠ΄Π΅Π½ΠΈΠ΅
ΠΡΠ»ΠΈ Π²Ρ Π΅ΡΠ΅ ΡΡΠΎΠ³ΠΎ Π½Π΅ ΡΠ΄Π΅Π»Π°Π»ΠΈ, ΠΏΠΎΡΠ»Π΅ ΡΡΡΠ°Π½ΠΎΠ²ΠΊΠΈ ΡΡΠΈΡ ΡΠΎΠ½Π°ΡΠ΅ΠΉ Π²Ρ ΠΏΠΎΠ»ΡΠ±ΠΈΡΠ΅ Π²ΠΎΠΆΠ΄Π΅Π½ΠΈΠ΅. ΠΠΎΠ·ΠΌΠΎΠΆΠ½ΠΎ, Π²Ρ ΠΎΠ±Π½Π°ΡΡΠΆΠΈΡΠ΅, ΡΡΠΎ Ρ ΠΎΡΠΈΡΠ΅ ΡΠ°ΡΠ΅ Ρ ΠΎΠ΄ΠΈΡΡ Π² ΠΌΠ°Π³Π°Π·ΠΈΠ½ ΠΈ Ρ ΠΎΡΠ΅ΡΡ ΠΏΡΠΎΠΉΡΠΈ Π΄ΠΎΠ»Π³ΠΈΠΉ ΠΏΡΡΡ Π΄ΠΎΠΌΠΎΠΉ. Π§ΡΠΎ ΠΊΠ°ΡΠ°Π΅ΡΡΡ ΠΏΠΎΠ΄Π³ΠΎΡΠΎΠ²ΠΊΠΈ ΠΊ ΠΏΡΠΎΡΠ΅ΡΡΡ ΡΡΡΠ°Π½ΠΎΠ²ΠΊΠΈ, Ρ ΡΡΠΈΠΌ ΡΡΠΊΠΎΠ²ΠΎΠ΄ΡΡΠ²ΠΎΠΌ Π²Ρ Π΄ΠΎΠ»ΠΆΠ½Ρ Π±ΡΡΡ Π³ΠΎΡΠΎΠ²Ρ ΠΊ ΡΠ°Π±ΠΎΡΠ΅.
ΠΠΎΡΠ»Π΅ ΠΏΠΎΠ»ΡΠ΄Π½Ρ, ΠΊΠΎΠ³Π΄Π° Π½Π΅ ΡΠ»ΠΈΡΠΊΠΎΠΌ ΠΌΠ½ΠΎΠ³ΠΎ Π»ΡΠ΄Π΅ΠΉ, ΡΠ±ΠΈΡΠ°ΠΉΡΠ΅ΡΡ ΠΈ ΡΠΏΠΎΠΊΠΎΠΉΠ½ΠΎ ΡΡΡΠ°Π½Π°Π²Π»ΠΈΠ²Π°ΠΉΡΠ΅ ΡΠ°ΡΡ Π²Π½ΡΡΡΠΈ ΠΈ/ΠΈΠ»ΠΈ ΡΠ½Π°ΡΡΠΆΠΈ Π°Π²ΡΠΎΠΌΠΎΠ±ΠΈΠ»Ρ, ΠΏΠΎΠΊΠ° ΠΎΠ½ΠΈ Π½Π΅ Π±ΡΠ΄ΡΡ ΠΈΠ΄Π΅Π°Π»ΡΠ½ΠΎ ΠΏΠΎΠ΄ΠΎΠ³Π½Π°Π½Ρ ΠΈ Π±ΡΠ΄ΡΡ ΡΠ°Π±ΠΎΡΠ°ΡΡ Π±Π΅Π· ΡΠ±ΠΎΠ΅Π². Π’ΠΎΠ³Π΄Π° ΠΎΡΡΠ°Π΅ΡΡΡ ΡΠΎΠ»ΡΠΊΠΎ Π½Π°ΡΠ»Π°ΠΆΠ΄Π°ΡΡΡΡ. ΠΠΎΠ»ΡΡΠ΅ Π½ΠΈΠΊΠ°ΠΊΠΈΡ ΡΠ΅ΠΌΠ½ΡΡ Π΄ΠΎΡΠΎΠ³ ΠΈΠ»ΠΈ ΠΏΠΎΡΠ΅ΡΡΠ½Π½ΡΡ Π²Π΅ΡΠ΅ΠΉ Π²ΠΎΠΊΡΡΠ³ Π²Π°ΡΠ΅ΠΉ ΠΌΠ°ΡΠΈΠ½Ρ. Π’Π΅ΠΏΠ΅ΡΡ Π²Ρ ΠΎΡΡΡΠΈΡΠ΅ ΠΊΠΎΠΌΡΠΎΡΡ ΠΈ Π°ΡΠΌΠΎΡΡΠ΅ΡΡ ΡΠ²Π΅ΡΡΡΠ΅Π³ΠΎΡΡ ΠΎΡΠ²Π΅ΡΠ΅Π½ΠΈΡ. ΠΠ΅Π·ΠΎΠΏΠ°ΡΠ½ΡΠ΅ ΠΏΡΡΠ΅ΡΠ΅ΡΡΠ²ΠΈΡ!
ΠΠ°Π·Π°Π΄ ΠΊ Π±Π»ΠΎΠ³Π°ΠΌ
Π£ΠΊΡΠ°ΡΡΡΠ΅ ΠΊΡΡ Π½Ρ ΡΠ²Π΅ΡΠΎΠ΄ΠΈΠΎΠ΄Π½ΠΎΠΉ Π»Π΅Π½ΡΠΎΠΉ ΠΏΠΎΠ΄ ΡΠΊΠ°ΡΠΎΠΌ
ΠΡΡΡΠ°ΠΈΠ²Π°Π΅ΠΌΡΠ΅ ΡΠ²Π΅ΡΠΈΠ»ΡΠ½ΠΈΠΊΠΈ Smart RGBWW Β·
Π‘Π΄Π΅Π»Π°ΠΉΡΠ΅ Π²Π°ΡΡ Π²Π°Π½Π½ΡΡ ΠΊΠΎΠΌΠ½Π°ΡΡ ΡΡΡΠ΅ Ρ ΠΏΠΎΠΌΠΎΡΡΡ ΡΠ²Π΅ΡΠΎΠ΄ΠΈΠΎΠ΄Π½ΡΡ ΡΠ²Π΅ΡΠΈΠ»ΡΠ½ΠΈΠΊΠΎΠ²ΠΠΎΠ»ΡΡΠΈΡΠ΅ Π²Π΄ΠΎΡ Π½ΠΎΠ²Π΅Π½ΠΈΠ΅ Π΄Π»Ρ ΡΠΏΠ°Π»ΡΠ½ΠΈ Ρ ΡΡΠΈΠΌΠΈ ΠΈΠ΄Π΅ΡΠΌΠΈ ΡΠ²Π΅ΡΠΎΠ΄ΠΈΠΎΠ΄Π½ΠΎΠ³ΠΎ ΠΎΡΠ²Π΅ΡΠ΅Π½ΠΈΡ
` $(‘#CartDrawerForm .

ΠΠ°ΡΠ΅ΠΌ ΠΈΡΠΏΠΎΠ»ΡΠ·ΡΠΉΡΠ΅ ΡΠΊΠΎΡΡ, ΡΡΠΎΠ±Ρ ΡΠ»Π΅Π³ΠΊΠ° ΠΏΡΠΈΠΊΠ»Π΅ΠΈΡΡ Π΅Π³ΠΎ Π² ΠΌΠ΅ΡΡΠ°Ρ
, ΠΊΠΎΡΠΎΡΡΠ΅ Π²Ρ Π½Π°ΠΌΠ΅ΡΠΈΠ»ΠΈ, ΠΏΡΠΎΡΡΠΎ ΡΡΠΎΠ±Ρ ΡΠ±Π΅Π΄ΠΈΡΡΡΡ, ΡΡΠΎ Π΄Π»ΠΈΠ½Π° ΠΏΡΠ°Π²ΠΈΠ»ΡΠ½Π°Ρ, ΠΏΡΠ΅ΠΆΠ΄Π΅ ΡΠ΅ΠΌ ΠΈΡΠΏΠΎΠ»ΡΠ·ΠΎΠ²Π°ΡΡ Π½Π°ΡΡΠΎΡΡΠΈΠΉ ΠΊΠ»Π΅ΠΉ. ΠΡ ΠΌΠΎΠΆΠ΅ΡΠ΅ ΠΎΡΡΠ΅Π³ΡΠ»ΠΈΡΠΎΠ²Π°ΡΡ ΠΈΡ
ΠΈ ΡΠΎΡΡΠ°Π²ΠΈΡΡ Π² ΡΠΌΠ΅ Π±ΠΎΠ»Π΅Π΅ ΡΠ΅ΡΠΊΠΎΠ΅ ΠΏΡΠ΅Π΄ΡΡΠ°Π²Π»Π΅Π½ΠΈΠ΅ ΠΎ ΡΠΎΠΌ, ΠΊΠ°ΠΊ ΠΈΠΌΠ΅Π½Π½ΠΎ ΠΎΠ½ΠΈ Π±ΡΠ΄ΡΡ ΡΠ°ΡΠΏΠΎΠ»ΠΎΠΆΠ΅Π½Ρ.
ΠΠ°ΠΊ ΡΠΏΠΎΠΌΠΈΠ½Π°Π»ΠΎΡΡ ΡΠ°Π½Π΅Π΅, Π·Π°ΠΊΡΠ΅ΠΏΠΈΡΠ΅ ΠΈΡ
ΡΠ°ΠΊ, ΡΡΠΎΠ±Ρ ΠΎΠ½ΠΈ ΠΌΠΎΠ³Π»ΠΈ Π²ΡΠ΄Π΅ΡΠΆΠ°ΡΡ Π»Π΅Π³ΠΊΠΈΠ΅ ΡΠ΄Π°ΡΡ, ΡΠ°ΡΠ°ΠΏΠΈΠ½Ρ, ΠΏΡΠ»Ρ, ΠΏΠΎΠ³ΠΎΠ΄Ρ ΠΈ Ρ. Π΄. ΠΡΠΈ Π½Π΅ΠΎΠ±Ρ
ΠΎΠ΄ΠΈΠΌΠΎΡΡΠΈ Π·Π°ΠΊΡΠ΅ΠΏΠΈΡΠ΅ Π΄ΠΎΠΏΠΎΠ»Π½ΠΈΡΠ΅Π»ΡΠ½ΡΠΌ ΠΊΠ»Π΅Π΅ΠΌ, ΡΡΡΠΆΠΊΠ°ΠΌΠΈ ΠΈΠ»ΠΈ Π΄Π°ΠΆΠ΅ ΠΏΡΠΎΡΠ²Π΅ΡΠ»ΠΈΡΠ΅ Π½Π΅ΡΠΊΠΎΠ»ΡΠΊΠΎ ΡΠΊΠΎΠ±, ΡΡΠΎΠ±Ρ ΡΠ΄Π΅ΡΠΆΠΈΠ²Π°ΡΡ ΠΈΡ
Π½Π° ΠΌΠ΅ΡΡΠ΅. ΠΠ΅Π·Π°Π²ΠΈΡΠΈΠΌΠΎ ΠΎΡ ΠΌΠ΅ΡΠΎΠ΄Π°, ΠΏΡΠΎΡΡΠΎ ΡΠ±Π΅Π΄ΠΈΡΠ΅ΡΡ, ΡΡΠΎ ΠΎΠ½ΠΈ Π½Π΅ ΡΠΏΠ°Π΄ΡΡ.