Система распределенного впрыска топлива: принцип действия, достоинства и недостатки
Система распределенного впрыска – это современная и наиболее прогрессивная многоточечная система топливной подачи, применяемая на бензиновых двигателях. Особенностью подобной системы является то, что каждый цилиндр ДВС оснащен собственной форсункой, через которую происходит дозированная подача топлива.
Двигатели, оснащенные системой распределенной подачей топлива, имеют более высокие показатели экономичного расхода ТС и низкий уровень токсичности отработанных газов.
Виды систем распределенного впрыска
Современные системы распределенного типа подачи топлива разделены на несколько видов:
- По принципу работы – системы импульсной и непрерывной подачи ТС;
- По способу управления – системы на механическом и электронном типе управления;
- По времени открытия топливных форсунок – системы с попарно-параллельным впрыском (при подаче топлива попарно), одновременным впрыском (при одновременной подаче топлива во все форсунки), фазированным впрыском (при индивидуальной подаче топлива для каждой форсунки), прямым впрыском (подача топлива осуществляется в камеру сгорания цилиндра, минуя впускной коллектор).

Наиболее распространенными системами распределенной подачи ТС являются системы KE-Jetronic, K-Jetronic и L-Jetronic, разработанные компанией Bosch.
Система K-Jetronic относится к механическим топливным системам с непрерывной подачей ТС.
Система типа KE-Jetronic одна из разновидностей механической топливной системы непрерывного типа с электронным способом управления.
Система L-Jetronic представляет собой систему импульсной подачи топлива с электронным типом управления.
Система распределенной подачи ТС состоит из следующих подсистем и компонентов:
- систем подачи и очистки топлива и воздуха;
- системы сжигания бензиновых испарений;
- системы выпуска и сжигания отработанных газов;
- электронного блока управления с входными датчиками
Как работает система распределенной подачи ТС
Работа основных элементов системы – форсунок напрямую зависит от центра управления – управляющего блока, состоящего из бортового компьютера.
Основной функцией управляющего блока является прием электрических сигналов, поступающих от входных датчиков, с последующей обработкой и преобразованием в управляющие сигналы, которые передаются на электромагнитные клапаны топливных форсунок и механизмы исполнения.
Помимо основных функций, блок управления выполняет и дополнительные задачи – проводит своевременную диагностику топливной системы на предмет выявления любых неполадок или поломок в ее работе.
При обнаружении неполадок блок управления сообщает о них водителю через контрольные лампы на приборной панели — Check engine, Check. Информация о более сложных поломках заносится в блок памяти для дальнейшего использования при повторной диагностике.
Расчет нужного количества топлива, происходит на основании данных полученных от температурных датчиков (температуры двигателя и поступающего воздуха), расхода воздуха, подсчета скорости вращения коленвала, угла открытия заслонки и т.д.
Произведя необходимые расчеты на основании полученных данных, бортовой компьютер посылает сигналы в виде электрических импульсов на форсунки для их открытия.
Принимая сигналы, форсунки открывают клапаны, через которые топливо под высоким давлением поступает в топливный коллектор.
Преимущества и недостатки системы распределенной подачи ТС
Подобный тип системы топливной подачи имеет некоторые преимущества и недостатки. Наиболее значимые из них мы отдельно выделим.
Преимущества системы:
- долговечность и надежность;
- высокая экономичность использования топлива;
- низкая токсичность отработанных газов бензиновых ДВС;
- низкая вероятность появления сбоев в работе системы в условиях экстремального вождения (например, при преодолении крутых спусков и подъемов, при езде в дождь или гололед).
Недостатки системы:
- сложная и дорогостоящая конструкция, оснащенная чувствительной системой электронного управления;
- высокая стоимость ремонта и замены основных электронных элементов системы;
- особенность конструкции требует проведения ремонтных и профилактических работ только высококвалифицированными специалистами.

Принцип работы топливной системы двигателя инжектор
Принцип работы топливной системы двигателя
ТСД или система питания мотора предопределена для пуска, очистки и хранения горючего. Именно ТСД в ответе за выработку топливной смеси, её подачу в цилиндры и регулирование на разных оборотах. В бензиновых ТСД в качества топлива выступает бензин, в дизельных – солярка.
ТСД бензинового агрегата
Сегодня большая часть автомобилей оснащены инжекторными системами. Однако встречаются ещё и карбюраторные автомобили. Рассмотрим, как оснащены ТСД обеих систем подробнее.
ТСД на карбюраторе имеет свою уникальную принципиальную схему. Составляющими элементами в ней выступают топливный резервуар, насос, коммуникации, фильтры. Одной из особенностей карбюраторной системы можно назвать то, что здесь используется воздушный фильтр.
Топливный резервуар способен вмещать от 40 до 80 литров горючего (это в среднем). Устанавливается в большинстве случаев сзади автомобиля, наполняется жидкостью через горловину.
Залитый в резервуар бензин обязан проходить фильтрацию. С этой целью устанавливается сетчатый фильтр, задерживающий крупные частички мусора. Кроме того, в баке предусмотрен ДУТ – датчик уровня бензина. Его данные отображаются на приборной панели автомобиля.
Топливный насос
Насос – важное звено, как в карбюраторных, так и в инжекторных ТСД. Только в первом случае он, как правило, устанавливается не внутри резервуара, а снаружи. Именно насос поддерживает нужное рабочее давление в системе, оснащается фильтрами и т.д. На инжекторных системах устанавливается электронный насос, на карбюраторных – механический.
На инжекторных ТСД принято ставить не один, а два фильтра. Один встраивается непосредственно внутрь топливного насоса. Это сетка, задерживающая крупные частички мусора. Другой фильтр называется тонким, его ставят на участке топливных коммуникаций, как правило, под порогом или под капотом.
Нынешние фильтры оснащены также специальным клапаном. Он регулирует давление в системе, путём слива остаточного бензина по обратному каналу назад в резервуар.
Топливные коммуникации состоят из шлангов и трубок. Они должны быть невосприимчивы к бензину, иначе он их просто проест. Топливо постоянно циркулирует по этим трубкам, создаётся постоянное давление.
Воздушный фильтр
Как и говорилось выше, одним из значимых звеньев карбюраторной ТСД является воздушный фильтр. Он предназначен для очистки воздуха, поступающего в карбюратор. Если в воздухе будет много пыли, то мелкие частички осядут на смазанных маслом деталях, и это приведёт к быстрому износу. Принято делить воздушные фильтры на сухие и масляные. Последние отличаются тем, что оснащаются помимо корпуса с фильтром масляной ванной и воздухозаборником. Сухой воздушный фильтр – просто картоновый корпус и воздухозаборник.
Карбюратор – сложное устройство, прибор. Здесь происходит приготовление горючей смеси ТВС. Оно передаётся дальше в цилиндры двигателя. Инжекторные ТСД карбюраторов не имеют, топливо распыляется форсунками в проходящий поток воздуха.
Таким образом, питание ТСД выглядит на карбюраторном двигателе так.
Схема питания карбюраторного ДВС
Бензин в конкретном случае, качаемый насосом, поступает в карбюратор через фильтры. Топливо подаётся из резервуара.
Инжекторная ТСД вместо карбюратора оснащена форсунками. Здесь много различных датчиков, а управление ими выполняет БУ. Однозначно в инжекторной системе питания изменён процесс получения ТВС. Изначально сам насос уже подаёт горючее под сильным давлением. Затем через рейку, на которой установлены форсунки, жидкость подаётся в определённый цилиндр двигателя.
Роль БУ определять, сколько жидкости надо подавать в тот или иной цилиндр. На показатели влияет много чего: объём воздуха, жар двигателя, амплитуда вращения КВШ вала и многое другое. Датчики выдают информацию обо всём этом блоку управления, который считывает информацию и делает соответствующие выводы. Таким образом, осуществляется автоматический контроль подачи горючего.
Принцип работы инжекторного двигателя
На сегодняшний день инжекторные системы по сравнению с карбюраторными имеют много преимуществ.
Это и снижение токсичности выхлопа, и уменьшение расхода топлива, и повышение мощности двигателя, и многое другое.
Примечательно, что система питания двигателя по-разному реагирует на те или иные режимы езды.
- Богатая ТВС создаётся при заводе мотора «на холодную». И это понятно, ведь требуется такой состав, в котором бензина больше, чем воздуха. Однако в таком режиме движение запрещено, так как это вызывает увеличение расхода топлива и быстрый износ элементов двигателя. Поэтому, особенно на карбюраторных автомобилях рекомендуется сначала прогревать мотор несколько минут, а уже потом стартовать с места.
- В режиме ХХ ТВС уже обеднённая. Образуется при движении с горки на спуск или при работе мотора в сильно прогретом состоянии.
- Меняется состав смеси и при движении с частичными нагрузками, при ускорении.
ТСД дизельного агрегата
Дизельные моторы для некоторых людей ассоциируются с повышенным шумом, большим количеством вибраций и высокой детонацией. На самом деле, это устаревшая информация. Современные дизельные агрегаты, благодаря использованию новейших самоуправляемых СУ и технологичным корректировкам, работают почти также тихо, как и бензиновые моторы.
Система питания Коммон Рейл
Система питания – одно из важнейших звеньев. Она сформировалась вместе с остальными частями автомобильной системы. Чего только стоит система Коммон Рейл, покорившая миллионы фанатов по всему миру.
Дизельный мотор, как и бензиновый, является двигателем внутреннего сгорания. По конструкции он мало отличается он него, ведь основу агрегатов составляют цилиндры, поршни и другие части. Но в дизельных ДВС степень сжатия и давление намного выше. Из-за этого дизельный силовой агрегат значительно тяжелее бензинового. Это делается для того чтобы мотор лучше противостоял высоким нагрузкам.
Главное отличие дизельного агрегата – в способе формирования ТВС, воспламенении и сгорании. Если в бензиновом двигателе ТВС формируется в системе впуска, и её воспламенение осуществляется от свечи зажигания, в дизельном агрегате всё по-другому.
- В первую очередь воздух и солярка поступают в цилиндры ДВС порознь. Первым идёт воздух, который накаляется и сжимается до высоких отметок. Затем поступает солярка, тоже под большим давлением, чтобы воспламенение проходило самопроизвольно, ведь свечей в дизельном автомобиле нет.
- Роль свечи в дизельных агрегатах выполняют нагревательные элементы, которые быстренько обогревают воздух в камере, пока ещё двигатель холодный.
Теперь о принципе работы. Дизельное топливо закачивается из резервуара с помощью насоса, и после фильтрации через ТНВД подаётся на форсунки. Последние распыляют солярку.
Как работает дизельный мотор
Примечательно, что в системе дизеля принято говорить о двух типах давления. Низкое образуется в области предшествующей подготовки ТВС, ещё перед отправкой солярки в отдел высокого давления. Что касается высокого давления, то оно образуется непосредственное в отсеке доработки смеси, когда она переходит в рабочую камеру.
ТСД дизельного мотора выполняет разом несколько функций: подаёт горючее в чётко отмеренном объёме, в нужный момент, и под конкретным давлением.
Из-за большого количества требований, ТСД дизеля более сложна, чем топливная система бензинового агрегата. И стоит она тоже, дороже.
В дизельных автомобилях большую роль играет ТНВД. Этот насос отвечает за высокое давление, его достаточность. Если в бензиновой машине мощностный режим агрегата варьируется нажатиями на педаль газа, то в новых дизельных автомобилях объём подаваемой солярки от этого не увеличивается, а меняется только программа, управляющая регуляторами.
Несколько слов по топливу
Так, для обеспечения экономичной и надёжной работы двигателя топливо всегда должно обладать достаточной детонастойкостью и хорошо, быстро испаряться. Слово детонационный означает взрывной. Другими словами, топливо сгорать очень быстро, как при взрыве, не должно. Очевидно, что это недопустимо, так как будет иметь место высокая нагрузка на поршни, подшипники. Одновременно увеличится расход топлива, а мощность двигателя уменьшится. При повышенной детонации увеличивается также дымность выхлопа, клапан и поршни прогорают.
Детонационные свойства топлива
Как правило, детонационные свойства связывают в первую очередь с бензиновым топливом. Оно и понятно, ведь в бензине имеется гептан – высокодетанирующее вещество. Если бы не изооктан – второе вещество в бензине, топливо бы просто взрывалось.
Соответственно с этими понятиями выделяют октановое число топлива. Процентное соотношение изооктана и гептана должно быть идеальным, чтобы и детонационные свойства горючего были на должном уровне.
Таким образом, принцип работы ТСД обеих систем в некоторых моментах аналогичен, однако в остальном разница между дизельной и бензиновой системами питания огромная.
Устройство топливной системы дизельного двигателя
Дизельные двигатели изначально имели ярко выраженное «тракторное происхождение», и до сих пор поэтому ассоциируются у многих с шумностью, «львиным рычанием», повышенными показателями вибрации и детонации. Но это явно устаревшее представление. Современные дизели, благодаря применению новых автоматических систем управления и подкорректированным принципам работы топливной системы, в значительной степени избавились от пресловутых дрожи и звука.
Сохранив при этом свои лучшие качества – мощную тягу и экономичность. Как эволюционировала, вместе с дизельным мотором, его топливная система, и что она из себя представляет на данный момент, рассмотрим в этой статье.
О конструктивных особенностях дизелей, в сравнении с бензомоторами
И дизель, и бензиновый мотор являются двигателями внутреннего сгорания. В глобальном смысле, по своей конструкции дизель не отличается от бензомотора: и там, и здесь – цилиндры, поршни и шатуны в них. Однако в дизелях степень сжатия гораздо выше (19-24 единицы, а у бензинового – 9-11). Потому и все детали, и клапаны в значительной степени усилены (чтобы противостоять намного более высоким нагрузкам). Потому и вес, и габариты дизельного мотора гораздо более внушительны, чем бензинового.
Главное же различие состоит в способах формирования топливно/воздушной смеси, её воспламенения и сгорания. В бензиновых моторах смесь топлива с воздухом формируется во впускной системе, а воспламеняется она от искры свечи зажигания.
В дизельных же моторах горючее и воздух подаются в рабочие полости цилиндров по отдельности. Сначала воздух. Он накаляется до семи-восьми сотен градусов и сжимается. Когда затем в камеру сгорания под большим давлением впрыскивается топливо, то оно самовоспламеняется, практически мгновенно.
Таким образом, искры никакой не требуется. А свечи накаливания, которые установлены в цилиндрической головке представляют собой нагревательные элементы, типа паяльника, и предназначены они для быстрого обогрева воздуха в камере сгорания, покуда мотор ещё не прогрелся. Это называется системой предпускового подогрева.
Когда включается зажигание, свечи накаливания за несколько мгновений разогреваются до 800-900 градусов, прогревая воздух и обеспечивая процесс самовоспламенения. Сигналы о работе данной системы подаёт водителю контрольная лампа. Электропитание снимается со свечей в автоматическом режиме, спустя 15-20 секунд после запуска непрогретого двигателя, когда его устойчивая и стабильная работа уже вполне обеспечена.
Решающая же роль в обеспечении подобных показателей работы мотора принадлежит его топливной системе, об устройстве которой и пойдёт речь.
Принцип и общая схема работы топливной системы
Последовательность работы топливной системы дизельного двигателя следующая. Солярка закачивается из топливного бака при помощи топливоподкачивающего насоса (шестерёнчатого, либо помпового типа), а после фильтрации она подаётся топливным насосом высокого давления (ТНВД) на форсунки. Топливо после закачки из бака проходит сначала через фильтр грубой очистки, избавляясь от крупных включений. Далее, уже непосредственно перед топливным насосом высокого давления – сквозь фильтр тонкой очистки. В связке с ТНВД работают форсунки, через которые солярка в распылённом состоянии и впрыскивается в цилиндры.
Схему топливной системы дизельного двигателя двигателя можно не условно, а вполне чётко разделить на два отсека: высокого давления и низкого. На участке низкого давления осуществляется предварительная подготовка, фильтрация топливной смеси, перед его отправкой в отдел высокого давления.
Отсек высокого давления, в свою очередь, дорабатывает смесь до конца и переводит её в рабочую камеру.
Основная функция топливной системы, описание её работы
Предназначение топливной системы дизельного двигателя состоит в том, чтобы подавать в цилиндры чётко отмеренный объём дизтоплива, в конкретный момент времени и под определённым давлением. Поэтому, из-за необходимости обеспечения постоянно высокого давления, а также за счёт высоких требований к точности работы, топливная система дизельного двигателя будет посложнее в конструкции, чем у бензинового, и достаточно дорого стоит.
Теперь попробуем представить себе бесперебойную работу топливной системы в поэтапном режиме, а для этого разберём по порядку отдельные её составные части. Итак, топливный бак служит для размещения солярки и обеспечения бесперебойной её подачи в систему. Эту функцию выполняют трубопроводы. Вначале топливоподкачивающий насос высасывает из бака горючее и через фильтры подаёт его в распределительную магистраль низкого давления.
При этом в системе поддерживается стабильное давление в три атмосферы. Топливо дважды проходит фильтрацию, проходя через фильтры грубой и тонкой очистки.
В задачу топливных фильтров входит контроль за чистотой горючего и избавлением его от возможных посторонних примесей – от частичек грязи, воды, песчинок. Прошли те времена, когда дизели были весьма непритязательными к качеству топлива. Современные дизельные моторы требуют очень чистой солярки для сохранения достойных показателей своей работы. Чистота горючего сейчас – одно из основных и непременных условий эффективной работы двигателя. Топливо подаётся только в том случае, если в системе нет воздуха.
После фильтрации солярка попадает в магистраль высокого давления. Эта часть топливной системы обеспечивает подачу и впрыскивание необходимого количества топлива в цилиндры двигателя в определённые моменты. Топливный насос высокого давления, в соответствии с порядком работы цилиндров, по топливопроводам высокого давления подаёт солярку к форсункам.
Форсунки, размещённые в головках цилиндров, впрыскивают и распыляют горючее в камеры сгорания двигателя. Так как топливоподкачиваюший насос постоянно подаёт топливному насосу высокого давления топлива «с запасом», то есть несколько больше, чем нужно, то его избыток, а с ним – и попавший в систему воздух, по специальным дренажным трубопроводам, отводится обратно в бак.
Для обеспечения синхронного впрыска горючего устроена специальная топливная рамка, к которой и подсоединяются форсунки. Они своими головками находятся во впускной трубе и распыляют топливо, сразу же в момент его подачи.
ТНВД создаёт необходимый для впрыска показатель давления, и топливо распределяется по всем цилиндрам мотора. Количество впрыскиваемого топлива, а вместе с ним – и мощностной режим работы двигателя, варьируются нажатиями на педаль акселератора. В современных дизельных двигателях просто нажатием педали «газа» объём подаваемого топлива не увеличивается, а меняется лишь программа, по которой работают регуляторы.
Да, нажимая на педаль, водитель или механизатор уже не увеличивает этим непосредственную подачу топлива, как это было в карбюраторных движках прошлых лет. А только изменяет тем самым программы работы регуляторов, которые уже сами варьируют объём единовременной подачи горючего, по строго определённым зависимостям от числа оборотов, давления наддува, от положения рычага регулятора и т.п.
Главные составные части топливной системы дизельного двигателя
Итак, помимо топливного бака и магистральных топливопроводов, с которыми всё более или менее ясно, основными составными частями топливной системы дизельного мотора являются: топливоподкачивающий насос, фильтры грубой и тонкой очистки горючего, топливный насос высокого давления (ТНВД) и форсунки.
Топливоподкачивающий насос
Устройство подкачивающего насоса дизельного топлива довольно несложное. Оно представляет собою две находящиеся в постоянном зацеплении шестерни. Когда происходит процесс вращения, зубья этих шестерней выполняют функцию лопастей, создавая и поддерживая ток горючего по направлению к ТНВД.
Главным же действующим элементом подкачивающего насоса, который и непосредственно нагнетает топливо, является поршень. Как уже было отмечено, производительность топливоподкачивающего насоса устроена превышающей производительность насоса высокого давления, поэтому и оборудованы специальные топливопроводы для слива излишков обратно в топливный бак.
Топливный насос высокого давления
ТНВД предназначается для подачи топлива к форсункам под давлением, в соответствии со строго определенной программой, в зависимости от заданных режимов работы двигателя и от управляющих действий водителя. По своей сути, современный всережимный ТНВД совмещает в себе функции сложной системы автоматического управления работой двигателя и, в то же время, главного исполнительного механизма, реагирующего на команды шофера.
Благодаря внедрению в производство топливных насосов высокого давления с электронными системами управлением, а также 2-хступенчатого впрыска топлива и оптимизации процесса сгорания, получилось добиться достаточно устойчивой работы дизеля с неразделённой камерой сгорания на оборотах до 4500 в минуту, оптимизировать его экономичность, снизить показатели шума и вибрации.
Далее: по всей длине насоса, во внутренней его полости, расположен вращающийся вал, снабжённый специальными кулачками. Этот вал ТНВД получает энергию вращения от распределительного вала двигателя. Его кулачки при движении воздействуют на толкатели, которые, в свою очередь, и стимулируют нагнетающую работу поршня-плунжера. При своём продвижении вверх этот плунжер создаёт высокое давление топлива внутри цилиндра. Сила этого давления и выталкивает горючее, которое направляется по топливной магистрали к форсункам.
Для сравнения: на участке топливной системы низкого давления, где топливоподкачивающий насос гонит солярку через фильтры к ТНВД, давление составляет 3 атмосферы. А топливный насос высокого давления толкает горючее к форсункам с силой давления до 2000 атмосфер! Это нужно для того, чтобы обеспечить качественные впрыск и распыление топливной смеси в камеры сгорания цилиндров мотора.
Внутри корпуса, или гильзы, топливного насоса высокого давления расположен плунжер, иначе – специальный поршень, обладающий диаметром, значительно меньшим, чем его длина.
Это называется плунжерной парой. Её детали притёрты друг к другу таким образом, что зазор не превышает 4-х мкм.
Поскольку работа дизеля в разных режимах и на разных оборотах требует, соответственно, и разного количества горючего, устройство плунжера было немного изменено: по его поверхности «пустили» специальную спиральную выточку, позволяющую менять величину активного хода при помощи механизма поворота плунжеров.
Это сделано было для того, чтобы плунжер мог не только нагнетать топливо под давлением по направлению к форсункам, но и регулировать количество, объём этой подачи. Для этого служит подвижная часть плунжера, которая, в зависимости от изменения параметров, может открывать или закрывать канавки внутри него. Данная подвижная часть соединена с педалью «газа» в кабине механизатора.
В зависимости от того, каков угол поворота плунжера, устанавливается и соответствующая степень открытия каналов прохождения топлива, и его непосредственное количество, подаваемое на форсунки.
Форсунки
Другой важнейший элемент топливной системы дизельного двигателя – это форсунки, на каждом из его цилиндров. Они, совместно с ТНВД, обеспечивают подачу строго дозированного количества топлива в камеры сгорания. Регулировки давления открытия форсунки формируют рабочее давление в топливной системе, а типы распылителей определяют форму факела топлива, которая имеет важное значение для активизации процессов самовоспламенения и сгорания. В современных дизельных моторах обычно применяются форсунки двух типов: со шрифтовым, или с многодырчатым распределителем.
Форсункам на двигателе приходится работать в очень тяжёлых условиях: игла распылителя совершает возвратно/поступательные движения с частотою в половину меньшей, чем обороты двигателя, и при этом распылитель всё время непосредственно контактирует с камерой сгорания. Поэтому распылитель форсунки изготавливается из специальных, высоко-жаропрочных сплавов, делается с особой точностью и является прецизионным элементом.
Распределитель форсунок выполняет функцию равномерного поступления топлива в камеры сгорания и наиболее эффективное его воспламенение. Чем более мелко распыляется топливная смесь, тем устойчивее, в целом, получается работа силового агрегата. Не менее важный фактор – это равномерность распыления горючего, во всех возможных направлениях. Современные форсунки производятся с многочисленными мельчайшими отверстиями, как раз для того, чтобы распыление топливной смеси происходило во всех направлениях, и в равномерном режиме.
Кроме того, работа форсунок поддерживает следующие процессы, с которыми напрямую связана эффективная работа двигателя:
- Обеспечение высокого давления и температуры в камерах сгорания;
- Смешивание солярки с воздухом в оптимальном объёме;
- Соответствие угла опережения впрыска частоте вращения коленчатого вала мотора.
Форсунки бывают с механическим, либо с электромагнитным управлением. В обычных форсунках открытие отверстия распылителя связано с тем давлением, которое имеется на тот момент в топливной магистрали.
Отверстие форсунки перекрывается иглой, соединённой со специальным поршнем вверху форсунки. Пока давления нет, игла перекрывает выход топлива через отверстие распылителя. Когда происходит поступление топлива под давлением, поршень перемещается вверх и тянет за собою иглу. Отверстие раскрывается, и распыление начинается.
В современных дизельных двигателях используются форсунки с электромагнитной системой управления. Их работа регулируется уже не по механическому принципу, а с помощью электромагнитных импульсов, поступающих от блока управления. Каждая из форсунок снабжена электромагнитным клапаном, открывающим либо закрывающим распыление топлива.
На эти электромагнитные элементы форсунок поступают сигналы от электронного бока управления (ЭБУ), который, в соответствии с информацией от целого ряда датчиков, подаёт ту или иную команду на установку нужной степени распыления.
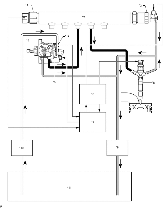
Несколько слов о системе «КоммонРэйл»
Говоря о топливной системе современных дизельных двигателей, нельзя не упомянуть такую её модификацию, как «Аккумуляторная топливная система CommonRail» («Общая рамка», или «Общая магистраль» в переводе с английского).
Она проявляет очень хорошие показатели экономичности и эффективности, и вполне заслуженно завоёвывает всё большую популярность. В первую очередь – на дизельных двигателях коммерческого автотранспорта, разумеется.
В ней также используется ТНВД, подающий горючее в напорную магистраль, которая играет роль аккумулятора давления. Электронный блок управления регулирует производительность насоса, для поддержания необходимого давления в магистрали по мере расхода топлива.
В «КоммонРэйл» управляемые электроникой электрогидравлические форсунки с электромагнитным или пьезоэлектрическим приводом управляющих клапанов впрыскивают выверенные дозы дизельного топлива под высоким давлением в рабочие полости цилиндров.
Компьютерная система управления подачей горючего позволяет впрыскивать его в камеры сгорания цилиндров максимально точно дозированными дозами. Сначала впрыскивается микроскопическая, всего лишь в районе миллиграмма, порция, которая своим сгоранием накаляет температуру в камере, а за ней следует основной «заряд».
Как результат – дизельные двигатели, оснащённые системой «КоммонРэйл», показывают лучшую экономичность (до 20 процентов). Доля новых дизельных двигателей, оснащённых системой «CommonRail», год от года неуклонно растёт.
Заключение
В целом, именно усовершенствованиям, которым подверглась топливная система дизельных двигателей в наше время, значительно укрепили позиции дизельных двигателей на рынке и в экономике. Дизели стали более экономичными и менее шумными, чем были прежде, а потому завоёвывают всё больше сегментов своего непосредственного применения на рынке.
как обслуживать топливную систему :: Autonews
Неисправность топливной системы — серьезный дефект, при возникновении которого эксплуатация автомобиля становится невозможной.
Поэтому пристально следить за всеми частями топливной системы стоит с первого дня окончания официальной гарантии на машину. Чтобы избавить себя от проблем и дорогостоящего ремонта, лучше периодически проверять топливный насос, фильтр и систему впрыска.
Из чего состоит топливная система
Любая топливная система состоит из бака, системы топливопроводов, насоса, фильтра, а также устройства формирования топливно-воздушной смеси или системы впрыска топлива в цилиндры. Также в топливную систему современных автомобилей входит блок управления, который регулирует подачу бензина или дизеля, а также режимы работы двигателя на основе показаний датчиков разных узлов системы.
Автосервисы Autonews
Искать больше не нужно. Гарантируем качество услуг.Всегда рядом.
Выбрать сервисБак — это резервуар для хранения топлива. Насос подает топливо из бака к двигателю под высоким давлением. Топливных фильтров обычно два — тонкой и грубой очистки.
Они обеспечивают очистку топлива от мелкой грязи и посторонних твердых частиц. Горючую смесь топлива с воздухом формирует система впрыска с топливной рампой и форсунками, либо — на старых машинах — механический карбюратор.
Именно здесь работает дроссель — заслонка, регулирующая количество подаваемого воздуха. На карбюраторных машинах дроссель напрямую связан с педалью газа, на современных управляется электроникой. Форсунки впрыскивают готовую смесь непосредственно в цилиндры двигателя.
Фото: carshop.co.uk
Как понять, что есть проблемы
Самая распространенная проблема топливной системы — резкое увеличение расхода топлива. Как правило, это сопровождается и другими симптомами: потерей тяги, плохим пуском, вибрациями и неустойчивой работой двигателя на холостых.
Насторожиться также стоит, если бортовой компьютер выдает соответствующие коды ошибок, а датчик уровня топлива дает неверные показания. Еще одна причина поехать на диагностику топливной системы в сервис — запах топлива при работе двигателя. При визуальном осмотре шлангов, трубопроводов и мест их соединения должны насторожить следы протекания и влага. При замене свечей зажигания косвенным признаком проблем является ненормальный налет на электродах.
Фото: Depositphotos / PhotoXPress.ru
Какие могут быть неполадки
Одна из причин дефектов топливной системы — использование горючего низкого качества. Проблемы может доставить попадание в бак воды и грязи. Поэтому нужно выбирать только проверенные автозаправки с качественным бензином или соляркой.
Из механических причин неисправностей можно выделить засорение элементов системы питания: фильтров, трубопроводов, впрыскивающих форсунок, топливного насоса и карбюратора. Еще один частый диагноз — поломка или снижение производительности насоса.
Нельзя также исключить износ узлов и деталей либо их механические повреждения в результате аварий или других неполадок. К сбоям работы топливной системы приводит и электрика — например, поломки соответствующих датчиков. Чтобы определить точную причину неисправности, необходима тщательная диагностика, произвести которую можно только на станции технического обслуживания.
Что бывает зимой с дизелем
В холодное время года больше всего проблем испытывают владельцы дизельных автомобилей. Дизельное топливо, в котором нет разжижающих зимних присадок, банально замерзает, превращаясь в густую массу, которую топливный насос не в состоянии прокачать по трубкам. Пуск двигателя становится невозможным, либо он работает с перебоями.
Самостоятельно прочистить систему почти невозможно — приходится транспортировать автомобиль в теплый гараж, отогревать систему и полностью сливать летнюю солярку.
Фото: Günter Flegar / imageBROKER.com / Global Look Press
Еще одна зимняя проблема касается новейших автомобилей с нормами токсичности Евро-6 и системой впрыска мочевины AdBlue. При температурах ниже минус пятнадцати градусов AdBlue замерзает и не помогает нейтрализовывать выхлоп, отчего заявленные показатели токсичности не выполняются. Однако это не мешает пуску двигателя и, как правило, не приводит к последующему ремонту.
Как продлить срок службы
Кроме постоянной и рекомендованной каждым автопроизводителем диагностики топливной системы во время периодического ТО, обязательной является регулярная замена топливных фильтров.
Диагностику их состояния обычно проводят при замене моторного масла. Однако часто бывает так, что замена фильтров может потребоваться и раньше. Своевременно заметить проблемы можно при регулярном осмотре системы не реже одного раза в год, особенно если речь идет о машинах старше трех лет.
Не стоит также пренебрегать услугой промывки и очистки топливной системы, которая доступна почти в каждом сервисе. Даже при небольших пробегах в топливной системе могут появляться отложения и грязь, которые попадают в бак вместе с некачественным горючим и в итоге приводят к нарушению подачи топлива и увеличению расхода. Вовремя заметить механические повреждения поможет регулярный осмотр узлов и агрегатов.
Фото: Nikolay Titov / Russian Look
Устройство системы питания автомобиля
3.
Топливный насос (служит для подачи топлива в двигатель). Топливные насосы служат для подачи бензина в цилиндры бензинового двигателя или дизельного топлива дизеля под определенным давлением и в определенный момент точно дозированных порций топлива, соответствующих нагрузке при данном режиме работы двигателя. Топливные насосы различаются по способу впрыска непосредственного действия и с аккумуляторным впрыском. В инжекторной топливной системе применяются электробензонасосы, которые размещаются в модуле топливного бака, вместе с датчиком указания уровня топлива, фильтром и завихрителем.
3.1 Топливный насос дизеля — в системах топливоподачи дизелей применяют поршневые насосы, которые служат для подачи топлива через фильтры к топливному насосу высокого давления (ТНВД).
3.2 Топливный насос высокого давления — (18—20 МПа) подает топливо через форсунки в камеру сгорания в строго определенные моменты и в определенном количестве в зависимости от режима работы двигателя.
На автомобильных двигателях применяют ТНВД золотникового типа с постоянным ходом плунжера и регулировкой окончания подачи топлива.
3.3 ТНВД КАМАЗ — зарекомендовал себя, как насос высокого давления отличного качества. Продажа ТНВД КАМАЗ осуществляется профессионалами и представлена в широком ассортименте.
3.4 Топливный насос с электроприводом — служит для подачи топлива, поддерживает оптимальное давление в системе и обеспечивает правильный впрыск топлива при разных режимах работы.
4. Топливный фильтр (служит для очистки топлива).
4.1Фильтр тонкой очистки топлива ямз
5. Воздушный фильтр (очищает воздух, который используется для приготовления горючей смеси).
5.1Воздухоочиститель
6. Карбюратор (используется для приготовления горючей смеси).
6.1 Простейший карбюратор
6.
2 Вспомогательные устройства карбюратора
6.3 Управление карбюратором
6.4 Устройство карбюратора
6.5 Поплавковая камера карбюратора
6.6 Системы карбюратора
6.7 Карбюраторный двигатель
7. Инжектор
Система питания
Система питания двигателя служит для приготовления горючей смеси из паров топлива и воздуха в определенных пропорциях, подачи ее в цилиндры двигателя и отвода из них отработавших газов. За подачу топлива в цилиндры в современных автомобилях отвечает система впрыска топлива, основными элементами, которой являются форсунки.
Устройство системы питания
В систему питания карбюраторного двигателя входят: топливный бак, фильтр-отстойник, топливопроводы, топливный насос, фильтр тонкой очистки топлива, карбюратор, воздухоочиститель, впускной трубопровод, выпускной трубопровод, приемные трубы, глушитель, приборы контроля уровня топлива.
Работа система питания
При работе двигателя топливный насос засасывает топливо из топливного бака и через фильтры подает в поплавковую камеру карбюратора. При такте впуска в цилиндре двигателя создается разрежение и воздух, пройдя через воздухоочиститель, поступает в карбюратор, где смешивается с парами топлива и в виде горючей смеси подается в цилиндр, и там, смешиваясь с остатками отработавших газов, образуется рабочая смесь. После совершения рабочего хода, отработавшие газы выталкиваются поршнем в выпускной трубопровод и по приемным трубам через глушитель в окружающую среду.
Системы питания и выпуска отработавших газов двигателя автомобиля:
1 — канал подвода воздуха к воздушному фильтру; 2 — воздушный фильтр; 3 — карбюратор; 4 — рукоятка ручного управления воздушной заслонкой; 5 — рукоятка ручного управления дроссельными заслонками; 6 — педаль управления дроссельными заслонками; 7 — топливо проводы; 8 — фильтр-отстойник; 9 — глушитель; 10 — приемные трубы; 11 — выпускной трубопровод; 12 — фильтр тонкой очистки топлива; 13 — топливный насос; 14 — указатель уровня топлива; 15 — датчик указателя уровня топлива; 16 — топливный бак; 17— крышка горловины топливного бака; 18 — кран; 19 — выпускная труба глушителя.
Топливо. В качестве топлива в карбюраторных двигателях обычно используют бензин, который получают в результате переработки нефти.
Требования, предъявляемые к бензинам:
• быстрое образование топливовоздушной смеси;
• скорость сгорания не более 40 м/с;
• минимальное коррозирующее воздействие на детали двигателя;
• минимальное отложение смолистых веществ в элементах системы питания;
• минимальное вредное воздействие на организм человека и окружающую среду;
• способность длительное время сохранять свои свойства.
Автомобильные бензины в зависимости от количества легко испаряющихся фракций подразделяют на летние и зимние.
Для автомобильных карбюраторных двигателей выпускают бензины А-76, АИ-92, АИ-98 и др. Буква «А» обозначает, что бензин автомобильный, цифра — наименьшее октановое число, характеризующее детонационную стойкость бензина.
Наибольшей детонационной стойкостью обладает изооктан, (его стойкость принимают за 100), наименьшей — н-гептан (его стойкость равна 0). Октановое число, характеризующее детонационную стойкость бензина, — процентное содержание изооктана в такой смеси с н-гептаном, которая по детонационной стойкости равноценна испытуемому топливу. Например, исследуемое топливо детонирует так же, как смесь 76 % изооктана и 24 % н-гептана. Октановое число данного топлива равно 76. Октановое число определяется двумя методами: моторным и исследовательским. При определении октанового числа вторым методом в маркировке бензина добавляется буква «И». Октановое число определяет допустимую степень сжатия.
Топливный бак. На автомобиле устанавливают один или несколько топливных баков. Объем топливного бака должен обеспечивать 400—600 км пробега автомобиля без заправки. Топливный бак состоит из двух сварных половинок, выполненных штамповкой из освинцованной стали.
Внутри бака имеются перегородки, придающие жесткость конструкции и препятствующие образованию волн в топливе. В верхней части бака приварена наливная горловина, которая закрывается пробкой. Иногда для удобства заправки бака топливом используют выдвижную горловину с сетчатым фильтром. На верхней стенке бака крепится датчик указателя уровня топлива и топливо заборная трубка с сетчатым фильтром. В днище бака имеется резьбовое отверстие для слива отстоя и удаления механических примесей, которое закрыто пробкой. Наливную горловину бака закрывают плотно пробкой, в корпусе которой имеется два клапана — паровой и воздушный. Паровой клапан при повышении давления в баке открывается и выводит пар в окружающую среду. Воздушный клапан открывается, когда идет расход топлива и создается разрежение.
Топливные фильтры. Для очистки топлива от механических примесей применяют фильтры грубой и тонкой очистки. Фильтр-отстойник грубой очистки отделяет топливо от воды и крупных механических примесей.
Фильтр-отстойник состоит из корпуса, отстойника и фильтрующего элемента, который собран из пластин толщиной 0,14 мм. На пластинах имеются отверстия и выступы высотой 0,05 мм. Пакет пластин установлен на стержень и пружиной поджимается к корпусу. В собранном состоянии между пластинами имеются щели, через которые проходит топливо. Крупные механические примеси и вода собираются на дне отстойника и через отверстие пробки в днище периодически удаляются.
Топливный бак (а) и работа выпускного (б) и впускного (в) клапанов: 1— фильтр-отстойник; 2 — кронштейн крепления бака; 3 — хомут крепления бака; 4 — датчик указателя уровня топлива в баке; 5 — топливный бак; 6 — кран; 7 — пробка бака; 8 — горловина; 9 — облицовка пробки; 10 — резиновая прокладка; П — корпус пробки; 12 — выпускной клапан; 13 — пружина выпускного клапана; 14 — впускной клапан; 15 — рычаг пробки бака; 16 -пружина впускного клапана.
Фильтр-отстойник: 1 — топливо провод к топливному насосу; 2 — прокладка корпуса; 3 — корпус-крышка; 4 — топливо провод от топливного бака; 5 — прокладка фильтрующего элемента; 6 — фильтрующий элемент; 7— стойка; 8 — отстойник; 9— сливная пробка; 10 — стержень фильтрующего элемента; 11 — пружина; 12 — пластина фильтрующего элемента; 13 — отверстие в пластине для прохода очищенного топлива; 14 — выступы на пластине; 15 — отверстие в пластине для стоек; 16 — заглушка; 17 — болт крепления корпуса-крышки.
Фильтры тонкой очистки топлива с фильтрующими элементами: a — сетчатый; б — керамический; 1— корпус; 2— входное отверстие; 3— прокладка; 4— фильтрующий элемент; 5— съемный стакан-отстойник; 6 — пружина; 7— винт креплении стакана; 8— канал для отвода топлива.
Фильтр тонкой очистки. Для очистки топлива от мелких механических примесей применяют фильтры тонкой очистки , которые состоят из корпуса, стакана-отстойника и фильтрующего сетчатого или керамического элемента. Керамический фильтрующий элемент — пористый материал, обеспечивающий лабиринтное движение топлива. Фильтр удерживается скобой и винтом.
Топливо проводы соединяют приборы топливной системы и изготовляются из медных, латунных и стальных трубок.
Топливный насос системы питания
Топливный насос служит для подачи топлива через фильтры из бака в поплавковую камеру карбюратора. Применяют насосы диафрагменного типа с приводом от эксцентрика распределительного вала.
Насос состоит из корпуса, в котором крепится привод — двуплечий рычаг с пружиной, головки, где размещены впускные и нагнетательные клапаны с пружинами, и крышки. Между корпусом и головкой зажаты края диафрагмы. Шток диафрагмы к рычагу привода крепится шарнирно, что позволяет диафрагме работать с переменным ходом.
Когда двуплечий рычаг (коромысло) опускает диафрагму вниз, в полости над диафрагмой создается разрежение, за счет чего открывается впускной клапан и наддиафрагменная полость заполняется топливом. При сбегании рычага (толкателя) с эксцентрика диафрагма поднимается вверх под действием возвратной пружины. Над диафрагмой давление топлива повышается, впускной клапан закрывается, открывается нагнетательный клапан и топливо поступает через фильтр тонкой очистки в поплавковую камеру карбюратора. При смене фильтров поплавковую камеру заполняют топливом с помощью устройства для ручной подкачки. В случае выхода диафрагмы из строя (трещина, прорыв и т. п.) топливо поступает в нижнюю часть корпуса и вытекает через контрольное отверстие.
Воздушный фильтр служит для очистки воздуха, поступающего в карбюратор, от пыли. Пыль содержит мельчайшие кристаллы кварца, который, оседая на смазанных поверхностях деталей, вызывает их изнашивание.
Требования, предъявляемые к фильтрам:
• эффективность очистки воздуха от пыли;
• малое гидравлическое сопротивление;
• достаточная пылеемкость:
• надежность;
• удобство в обслуживании;
• технологичность конструкции.
По способу очистки воздуха фильтры делятся на инерционно-масляные и сухие.
Инерционно-масляный фильтр состоит из корпуса с масляной ванной, крышки, воздухозаборника и фильтрующего элемента из синтетического материала.
При работе двигателя воздух, проходя через кольцевую щель внутри корпуса и, соприкасаясь с поверхностью масла, резко изменяет направление движения. Вследствие этого крупные частицы пыли, находящиеся в воздухе, прилипают к поверхности масла.
Далее воздух проходит через фильтрующий элемент, очищается от мелких частиц пыли и поступает в карбюратор. Таким образом, воздух проходит двухступенчатую очистку. При засорении фильтр промывают.
Воздушный фильтр сухого типа состоит из корпуса, крышки, воздухозаборника и фильтрующего элемента из пористого картона. При необходимости фильтрующий элемент меняют.
Авиационные топливные системы
Авиационные топливные системы Меню- Для работы авиационных двигателей требуется источник топлива, почти всегда в виде авиационного бензина (AVGAS)
- Топливная система предназначена для обеспечения бесперебойной подачи чистого топлива из топливных баков в двигатель
- Для подачи топлива в двигатель при любых условиях мощности двигателя, высоты, положения и во время всех маневров полета требуется соответствующая авиационная топливная система.
- Справочник пилотов по авиационным знаниям,
Система цветовой кодировки авиационного топлива - Авиационный бензин (AVGAS) идентифицируется октановым числом или рабочим числом (классом), которое обозначает антидетонационное значение или детонационную стойкость топливной смеси в цилиндре двигателя [Рис. 4]
- Чем выше марка бензина, тем большее давление может выдержать топливо без детонации.
- Более низкие сорта топлива используются в двигателях с более низкой степенью сжатия, поскольку эти виды топлива воспламеняются при более низкой температуре
- Более высокие марки используются в двигателях с более высокой степенью сжатия, поскольку они воспламеняются при более высоких температурах, но не преждевременно.

- Правильный сорт топлива указан в AFM / POH, на табличках в кабине экипажа и рядом с крышками заливных горловин.
- Если надлежащий сорт топлива недоступен, используйте следующий более высокий (никогда более низкий!) Сорт вместо
- Это может привести к тому, что температура головки цилиндров и температура моторного масла превысят их нормальный рабочий диапазон, что может привести к детонации.
- Необходимо проявлять осторожность, чтобы гарантировать, что правильный авиационный класс используется для конкретного типа двигателя
- Автомобильный газ НИКОГДА нельзя использовать в авиационных двигателях, если самолет не был модифицирован с помощью Дополнительного сертификата типа (STC), выданного Федеральным авиационным управлением (FAA)
- Текущий метод определяет AVGAS для самолетов с поршневыми двигателями по октановому числу и эксплуатационному номеру, а также по аббревиатуре AVGAS .
- Хотя AVGAS 100LL работает так же, как сорт 100, «LL» указывает на то, что он имеет низкое содержание свинца.

- Топливо для самолетов с газотурбинными двигателями классифицируется как JET A, JET A-1 и JET B
- Реактивное топливо представляет собой керосин с характерным запахом керосина
- Поскольку использование правильного топлива имеет решающее значение, в него добавляются красители, помогающие определить тип и сорт топлива
- Помимо цвета самого топлива, система цветовой кодировки распространяется на наклейки и различное оборудование для обработки топлива в аэропортах
- Например, все AVGAS идентифицируются по имени с использованием белых букв на красном фоне
- Топливо для турбин, напротив, обозначается белыми буквами на черном фоне
- Справочник пилотов по авиационным знаниям,
Система цветовой кодировки авиационного топлива
- Аварии, связанные с отказом силовой установки из-за загрязнения топлива, часто связывают с:
- Недостаточный предполетный осмотр пилотом
- Обслуживание самолетов с неправильно отфильтрованным / смешанным топливом из небольших баков или бочек
- Хранение самолетов с частично заполненными топливными баками
- Отсутствие надлежащего обслуживания
- Типы загрязнений:
- Химический: обычно в результате непреднамеренного смешивания нефтепродуктов, этот тип влияет на химические и физические свойства топлива и может быть обнаружен только с помощью специальных лабораторных тестов
- Материал (твердые частицы): обычно состоит из воды, микробиологических образований и твердых частиц, которые обычно можно обнаружить визуально.

- Микробиологический: состоит из живых организмов, которые растут на границе раздела топливо-вода.
- Топливо необходимо слить из фильтра быстрого слива топливного фильтра и отстойника каждого топливного бака в прозрачную емкость, а затем проверить на наличие грязи и воды.
- Должно быть хорошо видно, что грязь плавает в образце, но вода, поскольку она более плотная, будет опускаться на дно
- Вода будет прозрачной на фоне цвета AVGAS, который вы используете
- Когда сливается топливный фильтр, вода в баке может не появиться до тех пор, пока все топливо не будет слито из трубопроводов, ведущих к баку.
- Это означает, что вода остается в баке и не вытесняет топливо из топливных магистралей, ведущих к сетчатому фильтру топлива
- Следовательно, слейте достаточно топлива из топливного фильтра, чтобы убедиться, что топливо сливается из бака
- Сумма будет зависеть от длины топливопровода от бака до слива
- Если вода или другие загрязнители обнаружены в первой пробе, слить последующие пробы, пока не исчезнут следы
- Вода также может оставаться в топливных баках после того, как слив из топливного фильтра перестал показывать какие-либо следы воды
- Эта остаточная вода может быть удалена только путем слива сливного отверстия поддона топливного бака
- Вода — основной загрязнитель топлива
- Взвешенные капли воды в топливе можно определить по мутности топлива или по четкому отделению воды от цветного топлива, которое происходит после того, как вода осела на дно бака.

- В качестве меры безопасности топливные отстойники должны сливаться перед каждым полетом во время предполетной проверки.
- Топливные баки следует заправлять после каждого полета или после последнего полета дня, чтобы предотвратить конденсацию влаги в баке.
- Во избежание загрязнения топлива избегать заправки топливом из канистр и бочек
- В отдаленных районах или в чрезвычайных ситуациях альтернативы дозаправке из источников с неадекватными системами защиты от заражения может быть нет
- Хотя замшевые шкуры и воронка могут быть единственными возможными средствами фильтрации топлива, их использование опасно
- Помните, что использование замши не всегда обеспечивает обеззараживание топлива
- Изношенная замша не фильтрует воду; и новая чистая замша, уже смоченная водой или влажная
- Большинство искусственных замшевых шкурок не фильтруют воду
- Цветовая идентификация:
- Обратите внимание, что вода и / или топливо Jet A, смешанные с обычным 100LL, по-прежнему будут синими, хотя и не синими
- Однако вода будет отделяться от топлива, в отличие от Jet A, который останется смешанным
- Запах:
- Jet A Пахнет керосином
- Сенсорный:
- Залить горючее белое бумажное полотенце
- Если топливо быстро испаряется, оставляет легкий синий оттенок и сухое на ощупь, это хорошие признаки того, что оно 100LL
- При наличии реактивного топлива оно оставляет маслянистый блеск и не испаряется быстро
- Газоохладители могут использоваться для внутренней фильтрации воды и мусора перед подачей топлива в двигатель для сгорания.

- Справочник пилота по авиационным знаниям,
Система гравитационной подачи - Система подачи под действием силы тяжести использует силу тяжести для передачи топлива из баков в двигатель [Рис. 1]
- Например, на самолетах с высокорасположенным крылом топливные баки установлены в крыльях, и топливо под действием силы тяжести подается через систему в карбюратор
- Справочник пилота по авиационным знаниям,
- Справочник пилота по авиационным знаниям,
Система топливного насоса - Если конструкция самолета такова, что сила тяжести не может использоваться для перекачки топлива, устанавливаются топливные насосы [Рис. 2]
- Например, на самолетах с низкорасположенным крылом топливные баки в крыльях расположены под карбюратором, для чего требуется насос
- Самолет с топливонасосными системами с двумя топливными насосами
- Основная насосная система приводится в действие двигателем с помощью вспомогательного насоса с электрическим приводом, предназначенного для использования при запуске двигателя и в случае отказа насоса двигателя
- Вспомогательный насос, также известный как подкачивающий насос, обеспечивает дополнительную надежность топливной системы и приводится в действие переключателем в кабине экипажа.
- Справочник пилота по авиационным знаниям,
- Летучесть: склонность топлива к испарению
- Топливо с более высокой летучестью будет испаряться при более низких температурах, чем топливо с более низким рейтингом летучести
- Повышение температуры увеличивает летучесть, образуя больше паров
- Когда образуется достаточно паров, так что топливо легко воспламеняется, это температура вспышки
- Температура воспламенения: самая низкая температура, при которой горючая жидкость (топливо) выделяет пары в количестве, достаточном для воспламенения с применением пламени.
- В систему как с гравитационной подачей, так и с топливным насосом может быть встроен топливный заправщик.
- Заполнитель топлива используется для забора топлива из баков для его испарения непосредственно в цилиндры перед запуском двигателя.
- В холодную погоду, когда двигатель запускается с трудом, топливоподкачивающее устройство помогает, потому что недостаточно тепла для испарения топлива в карбюраторе
- Важно зафиксировать грунтовку на месте, когда она не используется
- Если ручка движется свободно, она может вибрировать во время полета и вызывать чрезмерно богатую смесь
- Чтобы избежать чрезмерного заправки, прочтите инструкции по заправке для самолета.
- Справочник пилота по авиационным знаниям,
Клапан переключения топлива - Клапан переключения топлива позволяет выбирать топливо из различных баков [Рис. 3]
- Обычный тип переключающего клапана содержит четыре положения:
- Выбор положения ВЛЕВО или ВПРАВО позволяет подавать топливо только из этого бака, в то время как при выборе положения ОБЕИ топливо подается из обоих баков
- Изменяя положение, можно уравновесить количество топлива, оставшееся в каждом крыльевом баке
- Таблички с топливом показывают ограничения на использование топливных баков, такие как «только горизонтальный полет» и / или «и то и другое» для посадки и взлета.
- Важно, чтобы пилоты не забывали менять танки, если не на «ОБЕИХ».
- Справочник пилота по авиационным знаниям,
- Указатели количества топлива показывают количество топлива, измеренное датчиком в каждом топливном баке, и отображается в галлонах или фунтах
- Правила сертификации самолетов требуют точности указателей уровня топлива только тогда, когда они показывают «пустой».
- Любые показания, кроме «пустого», следует проверять путем проверки уровня топлива в каждом баке во время предполетного осмотра, а затем сравнения его с соответствующим показателем количества топлива
- Если в топливной системе установлен топливный насос, также включается манометр топлива
- Нормальное рабочее давление можно найти в AFM / POH или на манометре по цветовой кодировке
- Указатели расхода топлива показывают количество топлива, протекающего через систему
- Топливные баки, обычно расположенные внутри крыльев самолета, различаются по конструкции в зависимости от самолета, но обычно используют алюминий, «мокрое крыло» или гибкие баллоны
- Баки будут иметь заливное отверстие в верхней части крыла, через которое они могут быть заполнены
- Резервуары вентилируются наружу для поддержания атмосферного давления внутри резервуара через крышку заливной горловины или через трубку, проходящую через поверхность крыла
- Топливные баки также включают слив для перелива, который может стоять отдельно или совмещаться с вентиляционным отверстием топливного бака.
- Это позволяет топливу расширяться при повышении температуры без повреждения самого бака
- Если баки наполнялись в жаркий день, нередко можно увидеть, как топливо выходит из сливного отверстия
- Охладители топлива / масла работают путем замены горячего масла на холодное топливо на более холодное масло на более теплое топливо
- Справочник пилотов по авиационным знаниям,
Система цветовой кодировки авиационного топлива - После выхода из топливного бака и до того, как оно попадет в карбюратор, топливо проходит через топливный фильтр, который удаляет влагу и другие отложения в системе.
- Поскольку эти загрязнители тяжелее авиационного топлива, они оседают в отстойнике в нижней части узла фильтра.
- Картер — это нижняя точка топливной системы и / или топливного бака
- Пробы топлива следует слить и визуально проверить на наличие воды и загрязнений
- Вода в отстойнике опасна, так как в холодную погоду вода может замерзнуть и заблокировать топливопроводы.
- В теплую погоду может затечь в карбюратор и остановить двигатель
- Если вода присутствует в отстойнике, вероятно, в топливных баках будет больше воды, и их следует сливать до тех пор, пока не исчезнут признаки воды
- Никогда не взлетайте, пока из топливной системы двигателя не будут удалены вся вода и загрязнения.
- Из-за различий в топливных системах, внимательно ознакомьтесь с системами, применимыми к летательному аппарату
- Проконсультируйтесь с AFM / POH для конкретных рабочих процедур
- Справочник пилотов по авиационным знаниям,
- Необеспеченная крышка топливного бака
- Статическое электричество образуется за счет трения воздуха, проходящего по поверхности летательного аппарата в полете, и за счет потока топлива через шланг и сопло во время дозаправки.
- Одежда из нейлона, дакрона или шерсти особенно склонна к накоплению и передаче статического электричества от человека к воронке или насадке
- Чтобы предотвратить возгорание паров топлива статическим электричеством, перед снятием крышки топливного бака с бака к самолету должен быть прикреплен провод заземления.
- Поскольку и самолет, и заправщик имеют разные статические заряды, соединение обоих компонентов друг с другом имеет решающее значение.
- Это означает, что при контакте металла с металлом статический дифференциальный заряд выравнивается.
- Заправочная форсунка должна быть прикреплена к самолету до начала заправки и должна оставаться прикрепленной на протяжении всего процесса заправки.
- При использовании бензовоза его следует заземлить до соприкосновения топливной форсунки с летательным аппаратом.
- Если необходима заправка топливом из бочек или канистр, важны надлежащее соединение и заземление. Барабаны
- следует размещать возле заземляющих столбов и соблюдать следующую последовательность подключений:
- Барабан на землю
- Земля — самолет
- Прикрепить барабан к самолету или сопло к самолету до снятия крышки топливного бака
- При отсоединении выполните обратный порядок
- Прохождение топлива через замшу увеличивает заряд статического электричества и опасность искр
- ЛА необходимо правильно заземлить, а сопло, замшевый фильтр и воронку прикрепить к ЛА.
- Если используется канистра, ее следует подсоединять либо к заземляющему столбу, либо к воронке.
- Ни при каких обстоятельствах нельзя использовать пластиковое ведро или аналогичный токонепроводящий контейнер для этой операции.
- Во избежание телесных повреждений следует надевать какие-либо средства защиты глаз, а заправку топлива производить в хорошо вентилируемом помещении.
- Работа полностью осушенного бака может привести к попаданию воздуха в топливную систему и вызвать паровую пробку, что затрудняет перезапуск двигателя
- Замок от пара: в двигателях с впрыском топлива топливо становится настолько горячим, что испаряется в топливопроводе, не позволяя топливу достигать цилиндров
- Падение давления топлива может быть вызвано неисправностью / отказом насосов или кавитацией
- Сообщите УВД о вашем минимальном топливном статусе, когда ваш запас топлива достиг состояния, при котором по достижении пункта назначения вы не можете мириться с какой-либо неоправданной задержкой
- Имейте в виду, что это не чрезвычайная ситуация, а просто предупреждение, указывающее, что чрезвычайная ситуация возможна в случае возникновения неоправданной задержки
- При первоначальном контакте следует использовать термин «минимальное количество топлива» после позывного
- «Подход к Солт-Лейк-Сити, Юнайтед 621, минимум топлива»
- Имейте в виду, что рекомендация по минимальному расходу топлива не подразумевает необходимости в приоритете трафика.
- Если оставшийся полезный запас топлива предполагает необходимость приоритета движения для обеспечения безопасной посадки, вы должны объявить чрезвычайную ситуацию из-за низкого уровня топлива и сообщить остатка топлива в минутах
- Остаток топлива: Фраза, используемая пилотами или диспетчерами, когда речь идет о топливе, оставшемся на борту до фактического исчерпания топлива.При передаче такой информации в ответ либо на вопрос диспетчера, либо в ответ на предупреждение, инициированное пилотом, диспетчеру воздушного движения, пилоты сообщают ПРИБЛИЗИТЕЛЬНОЕ КОЛИЧЕСТВО МИНУТ, в течение которых полет может продолжаться с оставшимся топливом. Все резервное топливо ДОЛЖНО БЫТЬ ВКЛЮЧЕНО в указанное время, как и поправку на установленную ошибку системы указателя уровня топлива .
- Когда самолет объявляет о состоянии минимального количества топлива, передать эту информацию объекту, которому передана юрисдикция
- Будьте внимательны к любому происшествию, которое может задержать самолет
- Аварийное топливо — объявление аварийного
- Аварийное топливо запрашивает приоритет у диспетчера, идёт прямо на ближайший аэродром для немедленной приземления
- Идентификация NTSB: ANC14CA014: Национальный совет по безопасности на транспорте определяет вероятную причину (ы) этой аварии: Неспособность пилота должным образом удалить загрязненное водой топливо во время предполетной проверки, что привело к полной потере мощности двигателя.
- Идентификация NTSB: CEN13LA354: Национальный совет по безопасности на транспорте определяет вероятную причину (ы) этой аварии: Неспособность пилота определить загрязнение топливной системы водой во время предполетной проверки, что привело к полной потере мощности двигателя. во время набора высоты
- Идентификация NTSB: ATL03FA133: Национальный совет по безопасности на транспорте определяет вероятную причину (ы) этого происшествия: Неспособность пилота поддерживать контроль над самолетом во время схемы ПВП для предупредительной посадки, что привело к неконтролируемому снижению и последующей столкновение с местностью.Также причиной был недостаточный предполетный осмотр самолета пилотом, в результате чего ему не удалось закрепить крышку топливного бака .
- Мастерские для пилотов — Предполетный контрольный список?
- Два бака для авиационного топлива 100LL (AVGAS)
- Каждый бак вмещает 28 галлонов, что в сумме составляет 56 галлонов топлива
- В каждом баке 1,5 галлона непригодного для использования топлива, всего 3 галлона непригодного для использования
- Таким образом, общее количество используемого топлива составляет 26.5 галлонов на бак или всего 53 галлона
- Вентиляция каждого топливного бака осуществляется через отдельные вентиляционные отверстия
- «Заправка« вкладок »соответствует примерно 17,5 галлонам в каждом баке
- Топливо измеряется двумя датчиками поплавкового типа
- Давление топлива измеряется датчиком
- Два бака для авиационного топлива 100LL (AVGAS)
- Два бака для авиационного топлива 100LL (AVGAS)
- Каждый резервуар вмещает 38.5 галлонов, всего 77 галлонов топлива
- В каждом баке 2,5 галлона неиспользуемого топлива, всего 5 галлонов непригодного для использования
- Таким образом, общий объем используемого топлива составляет 36 галлонов на бак или 72 галлона всего
- Вентиляция каждого топливного бака осуществляется через отдельные вентиляционные отверстия
- Заправка «вкладок» соответствует примерно 25 галлонам в каждом баке
- Цистерны цельные
- Для каждого бака существуют отдельные указатели количества топлива
- Переключатель топлива можно установить в положение ВЫКЛ., ЛЕВЫЙ БАК или ПРАВЫЙ БАК.
- Два бака для авиационного топлива 100LL (AVGAS)
- Безопасность всегда важна, и обращение с топливом является особо регулируемой операцией
- Рекомендуется, чтобы пилот снимал всех пассажиров с самолета во время операций заправки топливом и наблюдал за дозаправкой, чтобы убедиться, что топливо и количество заправлено в самолет надлежащим образом, и что все крышки и капоты должным образом закреплены после заправки топливом
- Для получения дополнительной информации см. Стандарт Национальной ассоциации противопожарной защиты для обслуживания авиационного топлива
- Если между топливными баками существует разрыв, подрезать шар до нижнего бака
- AOPA предоставляет диаграмму, показывающую драматические последствия неправильного использования топлива.
- Все еще что-то ищете? Продолжить поиск:
Б-17Г.Оборудование. Топливная система.
Топливная система
Топливная система B-17F состоит из 4 независимых источников топлива примерно равной мощности, каждый из которых питает один двигатель. В каждом крыле по 3 бака, предусмотрены 2 дополнительные группы питающих баков внешнего крыла. Эти питающие резервуары внешнего крыла (резервуары Tokyo) состоят из 9 отдельных складных самоуплотняющихся ячеек на крыло. Запас топлива также может быть увеличен за счет дополнительных установок сменных топливных баков в бомбоотсеке.
Топливо в любом баке доступно для любого топливного бака в самолете через систему подачи топлива, состоящую из 2 переключающих клапанов и электрического перекачивающего насоса.
В бомбоотсеке также имеется ручной перекачивающий насос в качестве средства аварийной перекачки. Подкачивающие насосы на выходах 4-х основных крыльевых баков устраняют паровую пробку между баком и топливным насосом двигателя. Они также подают топливо в карбюратор при выходе из строя насоса двигателя. Запорный топливный клапан с электрическим управлением установлен в магистрали за подкачивающим топливным насосом, чтобы предотвратить поток топлива через разорванную топливную магистраль.
| ТОПЛИВНЫЕ БАКИ | ГАЛЛОНОВ США * КАЖДЫЙ | ВСЕГО ГАЛЛОНОВ США |
|---|---|---|
| Двигатели № 1 и № 4 | 425 | 850 |
| Двигатели № 2 и № 3 | 213 | 426 |
| Питатели (2) | 212 | 424 |
| Подвесное крыло 1-5 (всего) с | 270 | 540 |
| Внутреннее крыло 6-9 (всего) | 270 | 540 |
| Всего топлива (перегрузка) | 2780 | |
| Дополнительное оборудование бомбового отсека (2) | 410 | 820 |
| Всего топлива (специальное) | 3600 (13626 л) |
* 1 ед.Галлон = 3,785 л
Подкачивающий насос
Подкачивающие насосы (на выходе на нижней стороне каждого из 4 основных баков) служат для: (1) подачи топлива в топливный насос двигателя при взлете и посадке, а также при полете на высоте менее 1000 футов или более 10000 футов выше земли; (2) предотвращение паровой пробки в топливных магистралях; (3) подавать топливо в карбюраторы при запуске двигателей. Подкачивающий насос № 3 также подает давление в грунтовочный насос при запуске двигателя.
Они имеют электрическое управление и управляются тумблерами на центральном пульте управления. На большой высоте в бензине образуются пузырьки. Когда бензин проходит через воронку, центробежное действие пропеллера выбрасывает эти пузырьки через боковые стороны экрана обратно в бак. Только жидкий бензин попадает в насос и отправляется в топливную систему.
Включите подкачивающие насосы на глубине ниже 1000 футов; включите их на высоте более 10 000 футов в качестве защиты от испарения.
Клапаны отсечки топлива
Запорные клапаны обеспечивают аварийное перекрытие потока топлива в случае разрыва топливопроводов. Клапаны для резервуаров №1 и №4 находятся перед резервуарами между маслоохладителями. Клапаны для баков №2 и №3 находятся между баками и задним лонжероном. Каждый клапан подпружинен, чтобы оставаться открытым, и закрывается с помощью соленоида, управляемого отдельным тумблером в кабине.
Топливный насос с приводом от двигателя
Топливный насос подает в двигатели достаточно топлива для работы на высоте до 10 000 футов.На высоте более 10 000 футов топливному насосу должен помогать подкачивающий топливный насос, расположенный на правой дополнительной подушке двигателя.
Топливо всасывается в насос за счет работы лопастей внутри гильзы. Топливо, застрявшее между лопатками во входном отверстии, проталкивается между внутренней стенкой гильзы и ротором и переносится к выпускному отверстию. Когда количество перекачиваемого топлива превышает потребность карбюратора, избыточное топливо имеет достаточное давление, чтобы поднять клапан регулирования давления с его гнезда.Это позволяет избытку топлива уйти на впускную сторону насоса.
Топливо, используемое для запуска, перекачивается подкачивающими насосами через топливный насос с приводом от двигателя. Топливо поступает во впускной канал (топливный насос с приводом от двигателя теперь работает на холостом ходу) и заставляет перепускной клапан открываться, что позволяет стартовому топливу течь через насос с приводом от двигателя к карбюратору.
Праймер для двигателя
Обеспечивает заправку двигателей для запуска. Он находится на полу справа от второго пилота.Топливо всасывается в капсюль из топливного фильтра гондолы № 3 и нагнетается в 5 верхних цилиндров выбранного двигателя. Обычно требуется несколько ходов для втягивания первоначального потока топлива в капсюль.
(Рабочую информацию см. В процедуре запуска на стр. 57).
Подкачивающий топливный насос для двигателя № 3 должен быть включен для работы заправочного насоса. Не оставляйте плунжер капсюля двигателя в верхнем положении, так как это позволяет топливу проходить напрямую через капсюль к выбранному двигателю.
Масляная система
Масляная система самолета В-17Ф выполняет несколько функций: (1) обеспечивает смазку изнашиваемых поверхностей двигателя; (2) он помогает в качестве охлаждающей жидкости отводить тепло от двигателя; (3) он обеспечивает гидравлическое давление для регулирования нагнетателя; (4) он обеспечивает гидравлическое давление для управления шагом винта и механизмом флюгирования гребного винта.
Каждый двигатель имеет собственную независимую масляную систему. Самоуплотняющиеся масляные баки находятся в гондолах.Масляный радиатор и регуляторы температуры масла находятся в передней кромке крыльев. Регуляторы гидравлического нагнетателя находятся в гондолах подвесных двигателей и сразу за нагнетателями внутренних двигателей. Двигатели и насосы флюгирования гребного винта находятся на передней стороне каждой противопожарной перегородки гондолы.
Операция
Масло течет из бака под действием силы тяжести и за счет всасывания масляного насоса с приводом от двигателя, который нагнетает масло под давлением к различным движущимся частям двигателя.Затем масло опускается в поддон, где оно всасывается продувочным насосом с приводом от двигателя и проходит через маслоохладитель. Затем масло возвращается в резервуар.
Маслопроводы к регуляторам нагнетателя отводятся от кожухов вспомогательного оборудования двигателя на стороне нагнетания насоса. Это масло циркулирует под давлением к регулятору, а затем возвращается в двигатель, где стекает в поддон.
Маслопровод для флюгирования гребного винта отводится от основного маслопровода от бака к двигателю.Насос флюгирования гребного винта всасывает масло из этой линии и под давлением нагнетает его к клапану флюгирования гребного винта в куполе гребного винта.
Все маслопроводы изолированы (изолированы) для предотвращения охлаждения и застывания масла на большой высоте.
Топливопровод для разбавления масла соединяется с основным масляным трубопроводом от бака у сливного клапана Y-крана.
Масляный радиатор
Для охлаждения моторного масла, возвращающегося из картера в топливный бак, для каждого двигателя имеется маслоохладитель.Он состоит из сердечника, муфты и регулятора температуры масла.
Сердечник пропускает масло через большую зону охлаждения; муфта — это обход сердечника в случае его застывания.
Регулятор температуры масла регулирует количество охлаждающего воздуха, проходящего через сердечник, и зависит от температуры и давления моторного масла.
Работа заслонок маслоохладителя полностью автоматическая; поэтому в кабине нет органов управления масляным радиатором.
Каждый двигатель оснащен самоуплотняющимся масляным баком емкостью 37 галлонов плюс примерно 10-процентное пространство для расширения.
Всего 148 галлонов для всех четырех баков требуется для максимальной загрузки топлива с полными крыльевыми баками и баками бомбовых отсеков.
Заполнить масляные баки согласно ТУ № АН ВВ-0-446, марка 1120 для нормальной эксплуатации, марка 1100А для холодной погоды.
Гидравлическая система (B-17F)
Гидравлическая система на B-17F управляет закрылками капота и колесными тормозами.Он состоит из основной системы и аварийной системы для работы заслонок капота и тормозов.
Рабочее давление в системе составляет от 600 до 800 фунтов на кв. Дюйм. Это давление создается гидравлическим насосом с электрическим приводом, который обслуживает как основную, так и аварийную системы. Однако во всех полетах аварийная система отключена от основной системы и в качестве источника энергии использует гидравлическую жидкость, хранящуюся в аварийном аккумуляторе.
Масло и емкость системы
Гидравлическое масло, используемое в гидравлической системе B-17F, — это AN VV-O-366a, а общий объем гидравлического масла в системе составляет приблизительно 6 галлонов.
Операция
Когда переключатель гидравлического насоса на панели управления пилота находится в положении «АВТО», давление автоматически регулируется с помощью реле отключения давления, включающего насос, когда давление падает до 600 фунтов, и останавливает насос, когда давление падает. увеличивается до 800 фунтов. В случае отказа автоматического реле давления поддерживайте давление, удерживая переключатель гидравлического насоса в положении «РУЧНОЙ». Предохранительный клапан открывается, если давление в системе достигает 900 фунтов.
В случае утечки в гидравлической системе остановите насос, чтобы предотвратить утечку жидкости. Снимите предохранитель переключателя гидравлического насоса в главной панели предохранителей в кабине или отсоедините электрическую розетку на реле давления.
В некоторых самолетах гидравлический насос управляется двухпозиционным переключателем на панели управления пилота. Этот переключатель должен быть в положении «ВКЛ» для поддержания давления.
Тормоза
Тормозные узлы находятся на внутренней стороне основных опорных колес, за исключением B-17G и поздних F, которые имеют двойные тормоза.
Гидравлическое давление, прикладываемое из кабины, расширяет расширительные трубки, прижимая тормозные накладки к тормозу.
Тормозите как можно реже и то только на короткие, жесткие интервалы. Чрезмерное и ненужное использование тормозов приведет к выделению тепла, достаточного для выхода из строя расширительных трубок и растрескивания тормозных барабанов и колес. Вырулите самолет с выключенными бортовыми двигателями и сохраните курсовую управляемость с помощью подвесных двигателей после завершения миссии.
Не оставляйте стояночный тормоз включенным, если тормоза горячие от предыдущего использования. Это приведет к тому, что тепло в барабанах пройдет через футеровку и буквально сожжет трубку расширителя, которая затем станет хрупкой. Не подавайте гидравлическое давление на тормоз при снятом колесе, так как это приведет к разрыву расширительных трубок.
Система аварийного торможения
Запасной аккумулятор и дополнительный дозирующий клапан обеспечивают работу аварийного торможения. Красная сигнальная лампа на приборной панели пилота загорается, когда давление в аварийной системе падает примерно до 700 фунтов.кв. дюйм. Чтобы зарядить аварийный аккумулятор, откройте ручной запорный вентиль. Если установлен селективный обратный клапан, установите его в положение «СЕРВИСНОЕ ОБСЛУЖИВАНИЕ», если только он не заблокирован в положении «НОРМАЛЬНОЕ». (Эти блоки находятся на правой боковой стенке в задней части отсека пилота.) Создайте в системе давление 800 фунтов, затем верните селективный обратный клапан в положение «НОРМАЛЬНОЕ» и закройте ручной запорный клапан.
Система аварийного торможения удалена с самолетов более поздних моделей.
Манометры
Давление в системе рабочего и аварийного торможения отображается двумя датчиками на приборной панели пилота.
Ручной насос
Ручной насос на боковой стенке справа от второго пилота используется для подачи давления при наземных операциях и для подзарядки аккумуляторов в случае выхода из строя электрического насоса.
Электрическая система (B-17F)
Электроэнергия управляет большей частью вспомогательного оборудования самолета, такого как башни, шасси, закрылки, приборы, двери бомбовых отсеков и другое разное оборудование.По всему самолету распределены различные блоки электрической системы. (См. Диаграмму.)
В B-17F используется система постоянного тока 24 В. Инверторы типа Mg-149 устанавливаются для подачи переменного тока на все оборудование, для работы которого требуется переменный ток.
Управление электрической системой осуществляется в основном на постах пилота и второго пилота. Бомбардир и штурман управляют подразделениями, необходимыми для их работы.
Щитки предохранителей, доступные в полете, находятся на переборке позади кресла пилота и на перегородке в отсеке радиоприемника. Также в каждой гондоле есть щитки-предохранители. Щит предохранителя переменного тока, доступный в полете, находится этажом ниже пилота.
Генераторы
Генераторы на дополнительной панели в задней части каждого двигателя являются основным источником электроэнергии. Они поддерживают заряд аккумуляторов и обеспечивают питание электрооборудования во время полета.Генераторы приводятся в движение двигателями при частоте вращения двигателя в \ уг разы. Они будут обеспечивать мощность при оборотах двигателя выше 1350 или 1400 об / мин.
Вспомогательное силовое оборудование
Генератор с приводом от бензинового двигателя, расположенный в задней части фюзеляжа и предназначенный только для использования на земле и в воздухе в аварийных ситуациях, подает вспомогательную электроэнергию для подзарядки аккумуляторных батарей или ограниченного радиообмена.
Система переменного тока
Переменный ток для приборов автосинхронизации, измерителя дрейфа, радиокомпаса и трансформатора предупреждающих сигналов обеспечивается одним из двух инверторов, один из которых является резервным для другого.Один инвертор находится под сиденьем пилота, а другой — под сиденьем второго пилота. Однополюсный двухпозиционный переключатель на панели управления пилота контролирует мощность постоянного тока, подаваемую на инверторы, и выбирает инвертор, который будет использоваться. В положении «НОРМАЛЬНОЕ» включен левый инвертор, а в положении «АЛЬТЕРНАТИВ» — правый инвертор.
Использование вспомогательной энергии
Не используйте двигатели-генераторы на земле. Поскольку нецелесообразно разряжать батареи без необходимости, следует использовать другой источник энергии для запуска двигателей.
Используйте вспомогательную силовую установку везде, где это возможно, для работы на земле. Это не только ¦ экономит аккумуляторы, но и заряжает их, а использование этого устройства гарантирует его исправное состояние, если оно понадобится в аварийной ситуации.
Если вы не можете использовать вспомогательный агрегат, запускайте двигатели с помощью аккумуляторных тележек или полевого блока питания. Экономия аккумуляторов особенно важна в предполетную и холодную погоду.
Функция регулятора напряжения
Двигатель-генератор, установленный в задней части каждого двигателя, имеет привод для трехкратного поворота, а двигатель — для двух оборотов.Переменная частота вращения двигателя могла бы изменить выходную мощность генератора, если бы не регулятор напряжения во вспомогательной секции самолета.
Регулятор работает с переменным сопротивлением, которое изменяет напряженность магнитов поля генератора. На переменное сопротивление воздействует электромагнит, который действует против натяжения пружины. Настройка напряжения генератора устанавливается изменением пружины. напряжения регулятора или путем изменения величины тока, позволяющего течь в электромагнит, в зависимости от конкретного типа используемого регулятора.Регуляторы напряжения находятся в щите под полом пилота на подиуме, ведущем в кабину бомбардира.
(7) Назначение уравнительной катушки — помочь уравновесить нагрузки генератора только тогда, когда небольшое изменение напряжения приводит к неравным показаниям амперметра. Если один генератор выключен, а другие включены и производят большой ток, на катушку выравнивателя может быть помещена слишком большая нагрузка, и регулятор может выйти из строя. Либо все исправно работающие генераторы включены, либо все выключены (за исключением проверки).
(8) Неисправный генератор никогда полностью не отключается от электрической системы, пока не будет снят регулятор. Если генератор не работает должным образом, снимите его регулятор. Если вы летите, выключите этот выключатель. Если вы находитесь на земле, снимите также заглушку с пушки генератора, чтобы предотвратить повреждение проводки, и заклейте выключатель в кабине. В B-17 потеря генератора несерьезная. Доступной мощности более чем в два раза больше, чем потребуется. Если неисправный генератор правильно отключен, остальная система не пострадает.
(9) Не просите инженера подключать генераторы параллельно, когда двигатели работают со скоростью менее 1800 об / мин. Не пытайтесь делать параллели при взлете; подождите, пока вы не выровняетесь. Установите напряжение при выключенных генераторах. Выполняйте параллельную работу по малой силе тока при включенных выключателях и небольшой нагрузке на систему.
(10) Пилот должен знать расположение и расположение предохранителей в панелях предохранителей. Замена перегоревших предохранителей часто делает ненужными экстренные действия.
<< | >>
Компоненты системы впрыска топлива
Компоненты системы впрыска топливаХанну Яэскеляйнен, Магди К.Хаир
Это предварительный просмотр статьи, ограниченный некоторым исходным содержанием. Для полного доступа требуется подписка DieselNet.
Пожалуйста, войдите в систему , чтобы просмотреть полную версию этого документа.
Abstract : Систему впрыска топлива можно разделить на стороны низкого и высокого давления. Компоненты низкого давления включают топливный бак, топливный насос и топливный фильтр. Компоненты стороны высокого давления включают насос высокого давления, аккумулятор, топливную форсунку и форсунку топливной форсунки.Для использования с различными типами систем впрыска топлива было разработано несколько конструкций форсунок и различные методы приведения в действие.
Компоненты стороны низкого давления
Обзор
Чтобы система впрыска топлива выполняла свое предназначение, топливо должно подаваться в нее из топливного бака. Это роль компонентов топливной системы низкого давления. Сторона низкого давления топливной системы состоит из ряда компонентов, включая топливный бак, один или несколько насосов подачи топлива и один или несколько топливных фильтров.Кроме того, многие топливные системы содержат охладители и / или нагреватели для лучшего контроля температуры топлива. На рисунке 1 показаны два примера схем топливных систем низкого давления: один для грузовика с дизельным двигателем большой грузоподъемности и один для легкового легкового автомобиля с дизельным двигателем [1590] [1814] .
Рисунок 1 . Примеры топливных систем низкого давления для тяжелых и легких дизельных транспортных средствТопливный бак и насос подачи топлива
Топливный бак — это резервуар, в котором хранится запас топлива и который помогает поддерживать его температуру на уровне ниже точки воспламенения.Топливный бак также служит важным средством отвода тепла от топлива, которое возвращается из двигателя [528] . Топливный бак должен быть коррозионно-стойким и герметичным до давления не менее 30 кПа. Он также должен использовать некоторые средства для предотвращения чрезмерного накопления давления, такие как выпускной или предохранительный клапан.
Насос подачи топлива, часто называемый подъемным насосом, отвечает за всасывание топлива из бака и подачу его к насосу высокого давления. Современные топливные насосы могут иметь электрический или механический привод от двигателя.Использование топливного насоса с электрическим приводом позволяет размещать насос в любом месте топливной системы, в том числе внутри топливного бака. Насосы, приводимые в действие двигателем, прикреплены к двигателю. Некоторые топливные насосы могут быть включены в блоки, выполняющие другие функции. Например, так называемые тандемные насосы — это агрегаты, в состав которых входят топливный насос и вакуумный насос для усилителя тормозов. Некоторые топливные системы, например, на основе насоса распределительного типа, включают в себя подающий насос с механическим приводом и насос высокого давления в одном блоке.
Топливные насосы обычно рассчитаны на подачу большего количества топлива, чем потребляется двигателем в любой конкретной операционной системе. Этот дополнительный поток топлива может выполнять ряд важных функций, включая подачу дополнительного топлива для охлаждения форсунок, насосов и других компонентов двигателя и поддержание более постоянной температуры топлива во всей топливной системе. Кроме того, избыточное топливо, которое нагревается при контакте с горячими компонентами двигателя, может быть возвращено в бак или топливный фильтр для улучшения работоспособности автомобиля при низких температурах.
Топливный фильтр
Безотказная работа дизельной системы впрыска возможна только на фильтрованном топливе. Топливные фильтры помогают уменьшить повреждение и преждевременный износ от загрязнений, задерживая очень мелкие частицы и воду, чтобы предотвратить их попадание в систему впрыска топлива. Как показано на рисунке 1, топливные системы могут содержать одну или несколько ступеней фильтрации. Во многих случаях экран курса также расположен на входе топлива, расположенном в топливном баке.
В двухступенчатой системе фильтрации обычно используется первичный фильтр на впускной стороне топливоперекачивающего насоса и вторичный фильтр на выпускной стороне.Фильтр предварительной очистки требуется для удаления более крупных частиц. Вторичный фильтр необходим, чтобы выдерживать более высокое давление и удалять более мелкие частицы, которые могут повредить компоненты двигателя. Одноступенчатые системы удаляют более крупные и мелкие частицы с помощью одного фильтра.
Фильтры могут быть коробчатого типа или сменного элемента, как показано на рисунке 2. Фильтр коробчатого типа может быть полностью заменен при необходимости и не требует очистки. Фильтры со сменным элементом должны быть тщательно очищены при замене элементов, и необходимо соблюдать осторожность, чтобы избежать любых остатков грязи, которые могут мигрировать на сложные части системы впрыска топлива.Фильтры могут быть изготовлены из металла или пластика.
Рисунок 2 . Два типа топливных фильтров(а) Коробчатого типа; (b) Тип элемента
Обычными материалами для современных топливных фильтрующих элементов являются синтетические волокна и / или целлюлоза. Также можно использовать микроволокна, но из-за риска миграции мелких кусочков стекловолокна, отломанных от основного элемента, в критические компоненты топливной системы, их использование в некоторых приложениях не допускается [2046] . В прошлом также использовались гофрированная бумага, упакованная хлопковая нить, древесная щепа, смесь упакованной хлопковой нити и древесных волокон и намотанный хлопок [529] .
Требуемая степень фильтрации зависит от конкретного применения. Как правило, когда два фильтра используются последовательно, первичный фильтр задерживает частицы размером примерно 10–30 мкм, а вторичный фильтр способен задерживать частицы размером более 2–10 мкм. По мере развития топливных систем зазоры и нагрузки на компоненты высокого давления увеличиваются, и потребность в чистом топливе становится все более острой. Как способность топливных фильтров соответствовать требованиям к более чистому топливу [2047] , так и методы количественной оценки приемлемых уровней загрязнения топлива потребовались для развития [2048] .
Помимо предотвращения попадания твердых частиц в оборудование для подачи топлива и впрыска, необходимо также предотвратить попадание воды в топливе в критические компоненты системы впрыска топлива. Свободная вода может повредить смазываемые топливом компоненты системы впрыска топлива. Вода также может замерзнуть в условиях низких температур, а лед может заблокировать небольшие проходы системы впрыска топлива, перекрывая подачу топлива к остальной части системы впрыска топлива.
Воду можно удалить из топлива двумя способами.Поступающее топливо может подвергаться центробежным силам, которые отделяют более плотную воду от топлива. Гораздо более высокая эффективность удаления может быть достигнута с помощью фильтрующего материала, который отделяет воду. На рис. 3 показан фильтр, использующий комбинацию средового и центробежного подходов.
Рисунок 3 . Топливный фильтр с водоотделителемРазличные среды разделения воды работают по разным принципам. Гидрофобная барьерная среда , такая как обработанная силиконом целлюлоза, отталкивает воду и заставляет ее скатываться вверх по поверхности.По мере того, как бусинки становятся больше, они под действием силы тяжести стекают по лицевой стороне элемента в чашку. Гидрофильная коалесцирующая среда , такая как стеклянное микроволокно, имеет высокое сродство к воде. Вода в топливе связывается со стеклянными волокнами, и со временем по мере того, как больше воды поступает со стороны выше по потоку, образуются массивные капли. Вода проходит через фильтр с топливом и на выходе из потока топлива выпадает в сборный стакан.
Более широкое использование поверхностно-активных присадок к топливу и компонентов топлива, таких как биодизель, сделало обычные разделяющие среды менее эффективными, и производителям фильтров потребовалось разработать новые подходы, такие как композитные среды и коалесцирующие среды со сверхвысокой площадью поверхности [2049] [2050] [2051] .Также были затронуты методы количественной оценки эффективности отделения топлива от воды [2052] .
Топливные фильтры также могут содержать дополнительные элементы, такие как подогреватели топлива, тепловые переключающие клапаны, деаэраторы, датчики воды в топливе, индикаторы замены фильтров.
Подогреватель топлива помогает минимизировать накопление кристаллов парафина, которые могут образовываться в топливе при его охлаждении до низких температур. В обычных методах нагрева используются электрические нагреватели, охлаждающая жидкость двигателя или рециркулируемое топливо. На рисунке 1 показаны два подхода, в которых для нагрева поступающего топлива используется теплое возвращаемое топливо.
Перелив топлива и утечка топлива, возвращающегося в бак, также переносят воздух и пары топлива. Присутствие газообразных веществ в топливе может вызвать затруднения при запуске, а также нормальную работу двигателя в условиях высоких температур. Таким образом, выпускные клапаны и деаэраторы используются для удаления паров и воздуха из системы подачи топлива и обеспечения бесперебойной работы двигателя.
###
.