Система обогрева автомобиля
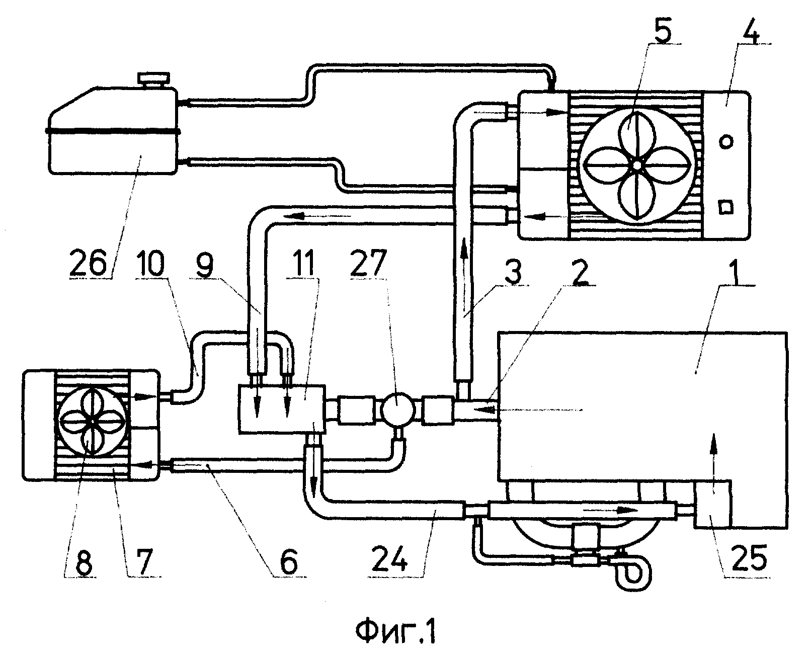
От слаженной работы системы обогрева автомобиля зависит температура внутри его салона. Температурный режим влияет не только на комфорт его водителя и пассажиров, но и на способность оптимального управления транспортным средством. Ключевую роль в работе системы отопления играет кран отопителя, который позволит в нужный момент запустить или остановить работу соответствующей системы.
Обогрев салона автомобиля в холодное время года является не только необходимым, но и обязательным условием его эксплуатации. Ведь от температурного режима внутри автомобиля зависит комфорт и работоспособность водителя. При снижении температуры ниже минимально предусмотренной падает реакция водителя и это может спровоцировать аварийную ситуацию на дороге. Поэтому работе отопительной системы транспортных средств уделяется значительное внимание.
Отопительная система автомобиля
Система отопления современных автомобилей имеет практически одинаковую принципиальную схему, отличия состоят только в конструкционных особенностях отдельных ее элементов.
|
|
Обогревающий радиатор представляет собой специальный теплообменник, по которому циркулирует нагретый тосол, отдавая тепло металлическим элементам. В качестве материала для радиатора используется материал с высокими показателями теплопроводности и теплоотдачи (в основном алюминий или медь).
Кран отопителя — элемент, используемый для прерывания подачи тосола в отопительный радиатор.
Циркуляционный насос — обеспечивает движение жидкости через теплообменник обогревателя.
Вентилятор — обеспечивает движение нагретого воздуха от обогревателя в салон автомобиля.
Система управления — состоит из специальных рычажков, кнопок и переключателей (в зависимости от модели автомобиля), которые применяются для регулировки подачи нагретого тосола в теплообменник обогревателя.
Система дефлекторов — обеспечивает нужное направление теплого воздуха, поступающего от печки в салон.
Кран отопителя: важный элемент системы отопления автомобиля
Кран отопителя, входящий в состав отопительной системы, играет, пожалуй, ключевую роль, управляя тем, будет ли тепло в салоне автомобиля или нет. Функция отопительного крана сводится к обеспечению подачи нагретого тосола из системы охлаждения мотора к теплообменнику обогревающего радиатора автомобильной печки. В холодное время года кран открывается при помощи элементов системы управления печкой, и горячий тосол попадает в теплообменник, нагревая его. В теплое время года кран перекрывается, препятствуя попаданию жидкости из системы охлаждения силового агрегата в обогреватель печки, исключая повышение температуры в салоне.
Сам кран имеет достаточно простую конструкцию и состоит из корпуса с каналами, через которые происходит вход и отвод рабочей жидкости, а также запирающего элемента шарового типа и резиновых прокладок.
Крепление крана выполняется при помощи фиксирующих болтов, а соединение с патрубками осуществляется при помощи червячных хомутов.
Основные неисправности отопительного крана
Основной «болезнью» отопительных кранов отечественных автомобилей ГАЗ, ВАЗ, УАЗ, ЗИЛ, УРАЛ, МАЗ является их протекание и закисание. Поскольку об отопительном кране вспоминают только с наступлением холодов, а остальное время он находится в отключенном состоянии, то после нескольких лет эксплуатации он просто-напросто закисает. Его шаровой запирающий элемент приваривается к корпусу крана и не представляется возможным его открытие или закрытие.
Другим распространенным дефектом этих узлов является их протекание. Следствием этого станет прорыв прикипевшей и утратившей эластичность резиновой прокладки в кране. В результате этого, тосол, поступающий из системы охлаждения двигателя, будет постепенно вытекать, что может привести к перегреву двигателя вследствие уменьшения объема рабочей жидкости в системе.
Мало того, вытекание тосола происходит и в салон автомобиля, что весьма вредно для здоровья: испаряющийся этиленгликоль, входящий в состав тосола, вреден для здоровья.
Многие пытаются ремонтировать кран, прочищая и разрабатывая его шаровой запирающий механизм, меняя резиновые прокладки. Но этого хватает не надолго — лучше сразу установить новый кран и не испытывать судьбу, ведь кран может сломаться в самый неподходящий момент, когда под рукой не будет ни нового крана, ни материала для его ремонта.
Замена отопительного крана
Замена крана отопителя не является сложной задачей и может быть выполнена самостоятельно в гаражных условиях. Все работы следует выполнять при холодном двигателе, чтобы исключить возможность ожога. Для снятия поврежденного крана нужно отсоединить от него приточный и отводящий патрубки. Следует учитывать то, что часть жидкости может из патрубков вылиться, поэтому нужно иметь под рукой посуду, которую можно будет подставить под патрубки. Для снятия крана нужно открутить крепежные болты.
Процесс установки нового узла выполняется в обратной последовательности. После установки крана следует проверить уровень тосола в машине, при необходимости долив до необходимого уровня.
Процесс замены не занимает много времени, поэтому его можно выполнить даже в дорожных условиях. Бывалые автомобилисты даже советуют возить запасной кран в своем ремкомплекте, что позволит при поломке крана сразу же его заменить.
Керамический отопительный кран
Многие автолюбители, сталкивающиеся с проблемой закисания отопительного крана, устанавливают керамический кран, в котором запирающий механизм выполнен из металлокерамики. Отличительной чертой этого типа крана является больший эксплуатационный ресурс и меньшая склонность к закисанию. Использование керамического крана позволяет гарантировать высокую износостойкость отопительной системы, надежность и плавность регулировки крана в процессе использования печки.
Металлокерамика, из которой производят краны, рассчитана на работу в условиях температур от -30°С до +150°С.
В процессе производства литого корпуса крана он проходит проверку на герметичность под давлением в 1,8 атм., что в 3 раза превышает рабочее давление в системе отопления автомобиля. То есть керамические краны имеют трехкратный запас по прочности.
радиатора, мотора, вентилятора, крана и других элементов
Наличие печки в любом автомобиле является обязательным, особенно, если речь идет о транспортных средствах, использующихся на территории стран бывшего СССР. Если в жару работоспособность отопительной системы не так важна, то с приходом холодов без печки использовать авто практически невозможно. Какие функции выполняет в системе отопителя радиатор, какие неисправности характерны для печки и как их устранить — ответы вы найдете в этой статье.
Содержание
[ Раскрыть]
[ Скрыть]
Особенности устройства печки
В зависимости от модели транспортного средства, конструкция системы отопления может быть разной.
Типичная печка, в целом, имеет сравнительно простое устройство:
- радиаторное устройство, которое соединено с охладительной системой;
- вентилятор печки, предназначенный для обдува радиаторного узла;
- резистор вентилятора;
- насос печки;
- системы патрубков и воздуходувов, которые используются для подачи прогретого воздушного потока в салон авто;
- крана отопителя;
- мотора отопительной системы, выполняющего функцию запуска узла;
- блока управления отопителем, расположенного на центральной консоли авто в салоне и предназначенного для управления регулировкой режимов работы.
Практически все элементы системы, в том числе электрокран и двигатель печки, обычно располагаются под центральной консолью салона транспортного средства. В некоторых авто часть составляющих узлов находится в подкапотном пространстве.
Принцип работы
К радиаторному устройству подключены два патрубка, по которым в него поступает расходный материал — антифриз. Вещество циркулирует по системам отопления, а также охлаждения мотора при помощи насосного устройства. После того, как мотор прогревается до рабочей температуры, происходит обмен теплом — хладагент охлаждает силовой агрегат, забирая у него тепло, после чего горячая охлаждающая жидкость поступает в радиаторный узел.
Последний разогревается по принципу нагрева обычной бытовой батареи, после чего вентилирующее устройство передает холодный воздушный поток через него. В результате опять осуществляется теплообмен — радиаторный узел передает тепло воздушному потоку, который, в свою очередь, охлаждает устройство (автор видео — Олег Краснощеков).
В итоге теплый воздушный поток поступает в салон автомобиля, а охлажденный хладагент вновь поступает в силовой агрегат и производит его охлаждение. Данный вариант отопительной системы считается одним из наиболее распространенных, а также эффективных. Чтобы в период холодов автомобильный салон должны образом прогревался, из отопителя должен выходить воздушный поток температурной примерно 30 градусов. Мощность работы печки, а также направление воздуха — на ноги, в лицо, на лобовое и боковые стекла — водитель может регулировать с помощью управляющего модуля, расположенного на торпеде. Если вы не будете пускать обдув на лобовое стекло, то оно начнет запотевать, при этом в салон может попадать грязь извне.
Сама по себе печка представляет собой дополнительный радиаторный узел. В том случае, если мотор машины не прогрет до необходимой температуры, то при активации отопителя будет осуществляться дополнительное охлаждение.
В результате это приведет к образованию коррозийных процессов на корпусе радиаторного механизма, а силовой агрегат придется прогревать дольше. Помимо этого, возрастет и влажность воздуха, что приведет к запотеванию стекол. Именно поэтому отопительная система должна включаться только тогда, когда двигатель прогреется не менее, чем до 50 градусов, а лучше — до рабочей температуры, то есть примерно до 90 градусов (автор видео — канал Автоэлектрика ВЧ).
Возможные неисправности
Для диагностики отопителя следует просто включить агрегат и оценить — эффективно ли он работает или нет. Если эффективность работы снижена либо же в салоне авто появились следы подтеков охлаждающей жидкости, то узел нуждается в более тщательной диагностике и ремонте.
Какие неисправности характерны для отопителя:
- Выход из строя управляющего модуля, расположенного на торпеде.
Возможно, произошло механическое повреждение элементов управления, в результате чего отопитель не может работать в разных режимах. - Вышел из строя радиатор отопителя салона. При поломке этот узел, как правило, начинает течь, что способствует образованию лужи в салоне авто, под передними ковриками (обычно под пассажирским).
- Потек электрический или механический краник отопителя. Эта неисправность также способствует утечке рабочей жидкости, проблема решается путем замены детали.
- Выход из строя электродвигателя. Если моторчик по каким-то причинам ломается, то, как можно понять, работа устройства будет невозможной. Как правило, электромотор ремонту не подлежит, поэтому его нужно менять в сборе.
- Выход из строя температурного контроллера, который, как правило, расположен в салоне. Этот датчик необходим для автоматической активации отопительного устройства.
- Еще одной причиной, по которой узел будет работать не эффективно, является утечка охлаждающей жидкости.
Если утечка не связана с поломкой радиатор или крана, то скорей всего, причиной являются изношенные шланги. Перед добавлением антифриза следует заменить износившиеся патрубки.
Фотогалерея «Основные неисправности»
Особенности эксплуатации и ремонта печки
Поскольку основным элементом любого отопительного узла является электромотор, предлагаем ознакомиться с процессом его замены на примере автомобиля ВАЗ 2110.
Как поменять электродвигатель своими руками:
- В первую очередь следует снять щетки стеклоочистителя, затем произвести демонтаж жабо.
- Само жабо следует отодвинуть в сторону, а затем, используя отвертку с крестовым наконечником, открутить три самореза.
- Сделав это, вы можете отсоединить провода от имеющего электродвигателя.
- Теперь вам остается только извлечь из посадочного места старый моторедуктор и произвести его замену на новое устройство. Дальнейшая сборка осуществляется в обратной последовательности.
Что касается основных особенностей эксплуатации, то для того, чтобы не допустить поломок в работе отопителя, рекомендуем руководствоваться следующими правилами:
- Если ваше транспортное средство оснащено кондиционером, то лучше всего его включать в сырую погоду, поскольку кондер позволяет убрать влагу из салона.

- Никогда и ничем не заграждайте воздуходувы, через которые подается воздушный поток в салон, в частности, речь идет о соплах, которые расположены в нижней части и используются для обдува ног.
- В холодное время года стекла транспортного средства должны быть тщательно очищены от влаги, а также загрязнений.
- Кроме того, в период морозов специалисты рекомендуют использовать два положения регулировки печки. Если нужно быстро осушить лобовое стекло, то включается конкретно обдув стекла. А когда вы начинаете движение, то лучше всего активировать режим обдува ног.
Видео «Меняем радиатор»
Инструкция по замене приведена ниже (автор — канал Ремонт Двигателя! И интересное!).
Конструкция и принцип работы печки, виды обогревателей. — Словарь автомеханика
Печка, она же радиатор отопителя, в автомобиле выполняет ту же функцию,
что и в любом другом месте – обогревает пространство, в данном случае салон.
Кроме того, предназначается для противодействия запотеванию стекол.
По норме при 25 градусах мороза в салоне авто должно быть минимум +16 для обеспечения нормального состояния
водителя и комфортной эксплуатации транспортного средства. Именно для такой цели придумали отопитель салона. Если у вас ещё возникнут вопросы, то у нас есть дополнительный материал почему с печки дует холодный воздух.
Конструкция и принцип работы
Конструктивно печка салона автомобиля не представляет собой ничего сложного.
Тепло передается воздуху в салоне от работающего двигателя.
Нагретый тосол, который циркулирует по системе охлаждения мотора, попадает и в отопительную систему,
где поступает в радиатор печки, выполняющий функцию квартирной батареи.
Вентилятор прогоняет через соты радиатора забортный воздух, который таким способом прогревается
и через воздуховоды поступает в салон.
Тосол, который проходит через радиатор отопителя,
сразу возвращается в двигатель, и эта циркуляция обеспечивает постоянно высокую температуру радиатора.
Именно так функционирует печка отопителя на подавляющем большинстве моделей автомобилей.
Схема работы отопителя салона авто
Регулируется температура в салоне по-разному для различных автомобилей. В более дешевых моделях управлять можно только распределением потока поступающего воздуха и оборотами нагнетающего вентилятора. В моделях подороже можно довольно точно настраивать температуру самого воздуха.
Существующие виды обогревателей
Описанная выше печка называется жидкостной. Кроме нее в новых автомобилях также встречаются
жидкостные электроподогреваемые и воздушные отопители, которые чаще всего применяются
в качестве дополнительного отопления автомобиля.
Устройство радиатора печки.
Принцип действия жидкостных электроподогреваемых печек похож на функционирование стандартных жидкостных отопительных. Только в данном случае для подогрева воздуха используется не тепло мотора, а подогреваемая калорифером вода. Патрубки, по которым воздух попадает в салон, проходят через наполненный горячей водой бак, что и обеспечивает необходимый подогрев воздушного потока. В данном случае радиатор печки – это бак с водой.
Воздушные отопители работают по аналогичному принципу, только здесь нагревается непосредственно воздух,
проходящий сквозь разогретую до необходимой температуры камеру. Такие системы часто используются
в качестве дополнительного отопления салонов больших машин, например, переоборудованных из грузовых
в пассажирские микроавтобусы.
Радиатор печки здесь компактен, поэтому разместить прибор можно,
не нарушая эстетику и функциональность салона.
Неисправности отопительной системы
Несмотря на простоту конструкции, печка тоже может выйти из строя. Наиболее распространенные виды поломок, это:
- проблемы с помпой;
- засорение радиатора;
- поломка или засорение краника;
- воздушные пробки в системе теплообмена;
- электронная неисправность вентилятора печки.
При возникновении течи или засора радиатора — целесообразней его менять на новый.
Если неисправна помпа, салон все равно может нагреваться, но гораздо хуже, чем раньше.
Но поломка помпы, это не только проблема системы обогрева салона, но и неисправность системы охлаждения двигателя,
что гораздо хуже, ведь из-за этого может выйти из строя головка блока цилиндров,
что автоматически означает капитальный ремонт машины.
Так же, печка может работать некачественно из-за поломки краника, который забиться грязью или выходит из строя по причине износа. Когда входной шланг возле радиатора отопления горячий, в то время как выходной остается холодным, проблемы с краном. Если после замены крана остались те же признаки, скорее всего, засорился накипью сам радиатор, который также придется заменить.
Не работает регулировка скорости обдува — скорее виноват или моторчик или его резистор.
Проблему завоздушивания системы, по причине наличия в системе циркуляции антифриза воздушного пузыря,
нарушающего поток, могут решить материалы (видео и статьи) с нашего сайта. Избавиться от него просто:
нужно прогреть двигатель, ослабить на входящем в печку шланге хомут до образования небольшой щели,
через которую воздух и стравится.
Когда не регулируются режимы обогрева (не работает какая то скорость печки), неисправность кроется в резисторе вентилятора или же моторчик и вовсе может не крутится по электрической или механической причине. На автомобилях имеющих систему заслонок, не редкостью, нарушения работы отопителя, вызвано нарушением работы привода заслонки в нужное положение.
Часто задаваемые вопросы
-
Как работает печка авто?
Вентилятор печки втягивает воздух с улицы либо внутри салона и прогоняет его сквозь соты радиатора печки, где он нагревается. Дальше нагретый воздух по воздуховодам попадает в салон. Само нагревание воздуха происходит когда по радиатору циркулирует горячая охлаждающая жидкость системы охлаждения двигателя.
Можно сказать, что принцип работы печки похож на работу обычных домашних батарей отопления только распространение воздуха регулируется вентилятором. -
Где находится печка?
Печка находится перед передней панелью салона автомобиля, в центральной части. В таком случае для доступа к ней необходимо разобрать всю переднюю панель (торпедо). Иногда может устанавливаться в подкапотном пространстве, со стороны, которая ближе всего к салону, в центральной части, под лобовым стеклом автомобиля.
Связанные термины
Плохо греет печка. Причины плохой работы отопителя в салоне машины
С приходом холодов часто востребованной в автомобиле становится печка. Теплый уютный салон, в котором можно защититься от осенней и зимней непогоды – мечта любого водителя и пассажира.
Но, иногда печка в машине греет слабо настолько, что о том, чтобы обогреться не идет и речи. Если автомобиль еще и стоял без движения какое-то время, то что делать потом с сильно обмороженными окнами – серьезный вопрос. Из-за чего же периодически начинаются проблемы с отоплением автомобиля и плохо греет печка? Для того, чтобы лучше разобраться в этом, надо поближе познакомиться со всей системой отопления.
Для того, чтобы печка работала в полном режиме и без сбоев необходимо исправное состояние всех ее запчастей. Устроена она достаточно просто и состоит из непосредственно радиатора, специального устройства для регулирования движения жидкости, патрубков, по которым циркулирует охлаждающая жидкость, воздушных заслонок и воздуховода. Также в систему отопления автомобиля входит вентилятор. Печка будет работать, если нет сбоев в работе каждой отдельной ее части.
Основные составные печки автомобиля. Печка и её неисправности.
Основные причины отказа работы печки
- Система отопления не будет работать в нормальном режиме, если в нее попал воздух в момент замены охлаждающей жидкости.

- Воздух может попадать в систему отопления, если имеются повреждения основного блока цилиндров.
- Может заклинить термостат в открытом положении. Если при достаточно быстром движении, Ваша печка не справляется с отоплением, а на малых скоростях греет хорошо, то, скорее всего, проблема именно в этом.
- Также система отопления – охлаждения не может работать на 100%, если забит радиатор печки. Это может случиться по нескольким причинам. В радиатор попадают насекомые, листья и пылью. Либо в радиатор мог попасть герметик. Возникнет проблема, если в радиатор попала вода или некачественный тосол.
- К сбоям в отоплении может привести и салонный фильтр в случае сильного загрязнения.
- Достаточно частой поломкой является поломка самого вентилятора. Подшипники или щетки могут выйти из строя, и это приведет к нестабильной работе всей системы. Могут возникать и проблемы непосредственно связанные с электроникой.

Это несколько наиболее распространенных проблем. Иногда, система отопления выходит из строя из-за повреждений радиаторной заслонки. Воздух может не попадать в систему или попадать в недостаточном количестве.
Плохо работающие заслонки радиатора и дефлекторы часто становятся причиной плохой работы печки.
Немного по-другому обстоит дело, если речь идет об отечественных автомобилях. Выделим несколько причин, по которым плохо греет печка ВАЗ, в этих автомобилях может не работать система отопления.
- Рычаг крана отопителя сработался. Могли пересохнуть резинки или сам рычаг закисает. В этом случае следует заменить его на новый вместе с радиатором самой печки.
- Сломался верхний патрубок. Из-за его расположения в автомобиле, этот патрубок очень легко нечаянно задеть. Он ломается и совершенно не пригоден для ремонта. Его также следует заменить на новый, после чего работа печки должна нормализоваться.

- Мог выйти из строя блок управления печкой, он же контролер отопителя. Это станет заметно, если вентилятор будет плохо работать в положении 1 и 2. К сбоям в работе системы отопления может привести неисправный датчик температуры воздуха в салоне автомобиля.
Сильно засоренный или поврежденный радиатор отопителя является одной из основных причин плохо греющей печки.
Для того, чтобы печка всегда находилась в рабочем состоянии и не подвела в нужный момент, необходимо следовать нескольким простым советам:
- Необходимо регулярно чистить радиаторы от различного вида засорений. Внешний радиатор можно очистить потоками сжатого воздуха, а при необходимости его можно снять и вымыть под струями воды. Внутренней радиатор очистится и пылесосом, если уровень загрязнения не очень велик.
- При использовании не оригинального или просто не совсем качественного тосола не избежать наростов внутри каналов патрубков. Можно легко очистить радиатор не снимая его.
Нужно просто поменять местами верхние и нижние патрубки и дать машине немного поработать. Также произвести очистку можно бытовой лимонной кислотой или использовать специальную промывающую жидкость. Чтобы такая проблема не возникала вовсе, рекомендуется менять антифриз не реже одного раза в год. - Срочной замене подлежит неисправный термостат. Если он заклинил в открытом состоянии, то печка не сможет полностью прогреть салон, а сам автомобиль будет греться дольше. Если же термостат заклинил в открытом состоянии, то это может привести к перегреву всего автомобиля, что повлечет за собой большой ремонт.
- Если воздух из печки горячий, но его поток очень слабый, то, скорее всего, забился салонный фильтр. Использовать автомобиль без салонного фильтра не рекомендуется, так как вся пыль и микробы с улицы будут попадать напрямую в салон. Поэтому фильтр следует заменить на новый.
- Система отопления будет работать плохо, если в ней образовались пузырьки воздуха.
Это не страшная проблема, решить ее можно. Для начала следует попробовать выгнать воздух при заглушенном двигателе. Открыть пробку расширительного бочка, найти шланг от бочка к радиатору и попробовать переливать антифриз вручную. Если этот способ не подходит, то необходимо дать автомобилю поработать на холостом ходу. - Также нужно обращать внимание на рычаги управления заслонками самой печки. Если соскочил тросик или кран отопителя, это может быть причиной плохой работы всей системы.
- Периодически следует смазывать подшипники на вентиляторе печки, а также очищать ее от пыли.
Если при температуре воздуха на улице -25 градусов, печка Вашего автомобиля прогревает салон до +16 градусов снизу и +10 градусов сверху, печка может считаться вполне исправной. Температура на задних сидениях автомобиля при этом должна составлять приблизительно +15 градусов. Наличие такого заметного перепада между температурой внизу салона и температурой вверху обеспечит комфортную поездку, как водителю, так и пассажиру.![]()
Во избежание подобных проблем рекомендуется вовремя и тщательно проводить все профилактические мероприятия. Это позволит Вам наслаждаться спокойным передвижением в хорошо прогретом автомобиле. Вы защитите стекла от намерзшего слоя, благодаря чему передвижение станет более безопасным. Чем больше срок службы автомобиля, тем больше внимания требует его система отопления. Это касается всех автомобилей, независимо от страны – производителя.
Автор: Иван Матиешин
Спрашивайте в комментариях. Ответим обязательно!
Система отопления автомобиля: неисправности и ремонт
Морозным утром вы садитесь в машину, запускаете двигатель и включаете обогрев салона. Проходит 5, 10, 15 минут, и… ничего не происходит. На лобовом стекле все еще сохранилась корочка льда, да и вы совсем не согрелись. И в этот миг приходит осознание, что сегодняшний день не сулит ничего хорошего — “печка” накрылась.
С наступлением холодов исправность системы отопления автомобиля играет одну из ключевых ролей в вопросе комфортной езды.
Поэтому важно как можно скорее выявить и устранить возможную причину поломки.
Первые симптомы неисправной “печи”
Кроме того, что температура в салоне автомобиля не повышается до комфортной отметки, есть и другие признаки поломок в системе отопления:
При включении “печки” заметен специфический запах пыли и гари.
Наблюдается протекание охлаждающей жидкости.
При отоплении отмечается недостаточно сильный поток воздуха.
Воздух в “печке” то горячий, то холодный.
Если вы столкнулись хотя бы с одним из этих признаков, то стоит задуматься о диагностике или ремонте системы отопления.
Система отопления: что может сломаться?
Причин неисправной “печки” в автомобиле на самом деле не так много. И сегодня мы рассмотрим самые распространенные.
Неисправный вентилятор.
Самая банальная и частая поломка, которая и перечеркивает исправность всей отопительной системы. В таком случае необходимо поменять или сам вентилятор, или электронику, отвечающую за его работу.
Недостаток охлаждающей жидкости. В случаях утечки или же несвоевременного техобслуживания, эта проблема тоже может стать причиной нерабочей “печки”. Мы рекомендуем регулярно следить за герметичностью радиатора и целостностью патрубков, а также заботиться об уровне тосола или антифриза.
Воздушные пробки. Чтобы избавиться от этой проблемы, можно попытаться “выгнать воздух” при заглушенном двигателе. Для этого открываем пробку расширительного бачка и с помощью шланга, который соединяет бачок и радиатор, переливаем антифриз. Второй способ — дать автомобилю поработать на холостом ходу.
Засоры в радиаторе. Герметики, коррозия и накипь, осадок и другие последствия неправильного обслуживания системы отопления могут привести к тому, что радиатор придется или промывать, или полностью менять.

Поломка термостата. Его может просто напросто заклинить. И в таком случае охлаждающая жидкость будет прогреваться или слишком долго, или при крепких морозах, и вовсе не успеет прогреться. В такой ситуации данная деталь просто заменяется.
Чинить или менять?
С мелкими неисправностями в виде попадания воздуха или недостатка охлаждающей жидкости легко справится каждый водитель.
Однако, иногда поломки настолько велики, что куда быстрее и дешевле будет заменить деталь.
В нашем интернет-магазине вы можете приобрести б/у запчасти для микроавтобуса любой марки и года выпуска. Для этого вам достаточно выбрать в системе фильтров свою модель автомобиля, год выпуска, и в группе товаров выбрать графу “Система отопления и кондиционирования”.
В наших каталогах только оригинальные запчасти, качество которых мы проверили лично.
Не греет печка в салоне в автомобиля.
Где искать причину?
Летом многие автомобилисты поддерживают комфортный климат в салоне при помощи кондиционера или хотя бы открытыми окнами. Но зимний период значительно сложнее для владельцев авто, и очень важно, чтобы в салоне авто было комфортабельно и тепло.
За все это отвечает система обогрева салона автомобиля. А как говориться – «готовь сани летом», следует летом проверить состояние этой системы, особенно если отмечено, что печка плохо греет. Лучше сейчас потратить время и сделать так, чтобы печка в салоне работала в нормальном режиме, чем зимой мерзнуть. Поэтому мы попробуем разобраться, что может стать причиной уменьшения производительности системы обогрева салона.
Устройство системы обогрева салона
Общее устройство системы отопления в автомобиле
Вначале пройдемся по устройству системы обогрева салона. Получить тепло в салоне при минимальных конструктивных изменениях позволяет жидкостная система охлаждения силовой установки. Оптимальной температурой для двигателя является 80-90 град.
С, именно в этом диапазоне поддерживает ее система охлаждения за счет отвода излишков тепла при помощи жидкости. При этом антифриз, залитый в систему, достаточно сильно разогревается, и для его охлаждения его пропускают через радиатор, отводящий тепло в окружающую среду.
По принципу отвода чрезмерной температуры из двигателя и пошли при установке в салоне системы отопления. Конструкторы просто взяли и добавили еще один небольшой радиатор в систему охлаждения и установили его в салоне под передней панелью. Получилось, что жидкость, циркулируя по системе, поступает в радиатор, установленный в салоне, где и частично отдает тепло.
Чтобы повысить производительность печки, под этот радиатор установили электродвигатель с крыльчаткой, который принудительно прогоняет воздух через соты радиатора, чтобы он больше взял тепла и передал его в салон.
Это две основных составляющих системы обогрева салона – радиатор и вентилятор. Но печка должна греть только когда надо, а не постоянно.
Для решения этой проблемы пошли двумя путями – установкой перекрывающих кранов или заслонки, которая отгораживает радиатор от салона.
При этом нужно еще и управлять системой обогрева – увеличивать интенсивность подачи воздуха, перенаправлять горячие потоки в необходимые зоны, включать и отключать обогрев. Для этого в систему включены механизмы управления обогревателем, которые выведены на переднюю панель.
1 – рычаг заслонки управления отопителем; 2 – левый кожух отопителя; 3 – тяга заслонки обогрева ног; 4 – прокладка радиатора; 5 – радиатор; 6 – прокладка отопителя; 7 – электродвигатель; 8 – кожухи вентилятора; 9 – рабочее колесо вентилятора; 10 – заслонка обогрева ветрового стекла; 11 – воздухопровод обогрева ветрового стекла; 12 – воздухопровод бокового сопла; 13 – боковое сопло; 14 – тяга заслонки обогрева ветрового стекла; 15 – центральное сопло; 16 – заслонка обогрева ног;
17 – правый кожух отопителя; 18 – рукоятка управления отопителем; 19 – тяга управления краном; 20 – тяга заслонки управления отопителем; 21 – рукоятка управления заслонкой обогрева ветрового стекла; 22 – рукоятка управления заслонкой обогрева ног; 23 – кронштейн рычагов управления; 24 – скоба крепления кожухов отопителя; 25 – воздухопровод внутренней вентиляции; 26 – окно подачи воздуха в ноги водителя; 27 – заслонка управления отопителем; 28 – рычаг заслонки обогрева ног
Это и вся конструкция печки:
- радиатор;
- вентилятор;
- воздуховоды, по которым воздушные потоки движутся в определенные зоны;
- механизмы управления.

Стоит отметить, что не только неисправности системы обогрева внутри автомобиля могут дать такой результат, повлиять на плохую работу печки могут и другие системы. Но начнем мы с радиатора печки.
Основные причины по которым автомобильная печка плохо греет можно разделить на три группы:
- Проблемы с радиатором печки.
- Неисправности в механизме управления печкой.
- Проблемы с системой вентиляции и охлаждения.
Рассмотрим эти неисправности более детально.
Неисправности радиатора печки
Радиатор печки – один из главных элементов системы обогрева, и одна из самых частых причин слабой производительности. Сам радиатор – небольшой по размерам, а значит, и его трубки, по которым движется охлаждающая жидкость, небольшого диаметра. При этом в них часто устанавливаются кавитационные ленты, которые хоть и обеспечивают лучшую теплоотдачу, но уменьшают пропускную способность.
1. Засорение радиатора
Конструкция радиатора простая и с ним, по сути, ничего не может произойти, кроме пробития.
Но жидкость в системе охлаждения, двигаясь по кругу, контактирует с разными поверхностями, и вступает с ними в реакцию, результат которой — появление осадка. А он уже будет оседать везде, и особенно там, где движение жидкости замедляется, то есть в радиаторе печки, поскольку пропускная способность его небольшая. В итоге, сильная загрязненность системы охлаждения является причиной того, что радиатор обогревателя просто забивается, жидкость уже не в состоянии проходить по нему, поэтому она и не может отдать тепло.
Решить проблему можно двумя путями – попытаться промыть радиатор или же просто заменить его. Но для того, чтобы промыть его, лучше обратиться к специалистам. Дело в том, что зачастую радиатор изготавливают из меди или латуни, а составные части его спаивают между собой. Для качественной же промывки необходимо разобрать его, чтобы тщательно промыть трубки, а потом заново спаять.
Поменять же радиатор вроде и проще, но оригинальные латунный или медный радиатор печки обычно стоит очень дорого.
Видео: Почему плохо греет печка в автомобиле?
2. Завоздушивание системы
Вторая причина по которой печка плохо греет – воздушные пузыри в радиаторе. Обычно такое явление появляется после смены охлаждающей жидкости. Дело в том, что радиатор – наивысшая точка в системе охлаждения и при замене антифриза не всегда удается выгнать воздух из него.
Для решения проблемы на некоторых авто устанавливается специальная заливная пробка, расположенная выше радиатора печки. То есть, после замены тосола достаточно через эту пробку долить жидкость в радиатор и выпустить воздух из него, а после прогнать весь антифриз по системе, дав несколько минут поработать двигателю.
Если же такой заливной пробки нет, то можно попытаться выгнать воздух из радиатора путем установки передка авто на подъем, чтобы моторный отсек находился выше уровня радиатора печки с последующей интенсивной прогонкой жидкости по системе.
Неисправности в механизмах управления печкой
Частая проблема с плохо работающей печкой возникает из-за крана перекрытия подачи антифриза в радиатор. Он просто может заклинить в закрытом или полуоткрытом положении, из-за чего жидкость не будет доходить к радиатору.
В процессе обслуживания системы обогрева салона обязательно следует проверить работоспособность крана. Если же он заклинил, его можно попробовать разработать или же просто заменить.
Немного по механизму управления. При помощи рычагов или ползунков на панели посредством тросов осуществляется открытие и закрытие крана или заслонки, а также перенаправляются потоки воздуха. Так вот, если наконечник троса соскочит с крана или заслонки, то нарушается управление. Устранить все можно, просто установив наконечник обратно.
Видео: Плохо дует печка?
Система вентиляции и охлаждения
Пройдемся по тем системам, которые могут повлиять на производительность печки. Первой из них является система вентиляции салона.
В зимний период при помощи заслонок перекрывается подача воздуха в салон извне. Но со временем уплотнители этих заслонок изнашиваются, из-за чего они начинают пропускать холодный воздух. А поскольку он проходит по тем же воздуховодам, что разогретый от радиатора печки воздух, то эти потоки смешиваются. В результате воздух сильно охлаждается. Решается эта проблема просто заменой уплотнителей на заслонках системы вентиляции салона.
На работу обогревателя салона в значительной мере влияет система охлаждения силовой установки, поскольку она обеспечивает печку носителем тепла.
Значительно снизить эффективность системы обогрева салона может термостат. Если он заклинит в открытом положении, то жидкость будет постоянно циркулировать по большому кругу. При низкой температуре окружающей среды, охлаждение антифриза будет проходить очень быстро. То есть, жидкость просто не сможет разогреться до высокой температуры, а значит, и отдать большое количество тепла в салон у нее не получится. Из-за этого печка будет дуть слабо разогретым воздухом.
Проверить работоспособность термостата несложно. Проверка делается на холодном двигателе. Его нужно запустить, и сразу же пойти взяться за патрубок, ведущий к радиатору от термостата. При исправном термостате жидкость на радиатор пойдет только после достижения оптимальной температуры мотора. Если же тепло в патрубке чувствуется еще до прогрева установки, термостат, скорее всего, заклинил в открытом положении.
Бывает так, что печка не греет из-за воздушных пробок. Но после их удаления печка через некоторое время снова начинает дуть холодным воздухом из-за тех же пробок. Это является сигналом серьезной проблемы с двигателем – пробоем прокладки ГБЦ, из-за чего антифриз попадает в цилиндры. А поскольку радиатор – наивысшая точка в системе, то в первую очередь оттуда уйдет жидкость и появятся пробки. Решается все это только заменой прокладки.
Здесь мы попытались рассмотреть все основные причины того, что печка греет слабо. И если вы отметили, что эффективность работы обогревателя вашего авто снизилась, то лучше уже сейчас приступать к поиску причины этой неисправности и ее устранению, ведь зимой это сделать будет значительно хуже.
Вот что вам нужно знать
Автомобильный обогреватель не работает по многим причинам.
Авторемонт стоит ДОРОГОЙ
Замена двигателя: 1300 $ +
Трансмиссия: 1000 $ +
Кондиционер: 750 $ +
Система обогрева автомобиля является частью его системы охлаждения. Следовательно, проблемы с системой охлаждения также могут привести к проблемам с системой отопления.
Если система отопления вашего автомобиля не работает, проблема может быть вызвана одной из четырех причин: проблемы с системой охлаждения, проблемы с нагревательным сердечником, неисправный водяной насос или неисправный вентилятор нагревателя.
Проблемы с системой обогрева автомобиля не помешают ехать на нем в дождливые дни; однако вы должны отремонтировать его, чтобы иметь возможность водить машину в холодные зимние дни.
Хотя некоторые причины могут быть простыми и дешевыми для устранения (например, термостат, изношенные шланги, утечки и т. Д.), Другие причины, такие как проблемы с водяным насосом, могут быть более сложными и требуют более высоких затрат на устранение.
В этой статье мы расскажем, как работает система отопления в вашем автомобиле, выделим основные причины неисправной системы отопления.Наконец, мы предложим необходимый ремонт по причинам, чтобы ваша система отопления снова заработала.
Как работает система обогрева автомобиля?
Чтобы выявить основные причины того, что отопление автомобиля не работает, нужно понимать, как работает система отопления.
В любом автомобиле тепло вырабатывается системой охлаждения. Когда двигатель запускается, охлаждающая жидкость обтекает двигатель, чтобы снизить его температуру.Затем нагретая охлаждающая жидкость проходит через радиатор, теряет температуру и остывает.
Часть нагретой охлаждающей жидкости может циркулировать по сердечнику обогревателя для повышения его температуры и, следовательно, подачи горячего воздуха в автомобиль. Вы можете контролировать количество тепла, поступающего в автомобиль, с помощью различных переключателей на приборной панели автомобиля. Эти переключатели управляют нагнетательным вентилятором и клапаном нагревателя.
Почему не работает обогреватель автомобиля?
Автомобильный обогреватель не будет работать, если в вашем автомобиле есть проблемы с одним из четырех компонентов:
системы охлаждения, сердечника нагревателя, клапанов нагревателя или нагнетательного вентилятора.
Проблемы с системой охлаждения
Система охлаждения может выйти из строя, если в ней низкий уровень охлаждающей жидкости, неисправный термостат, существующая воздушная пробка в системе охлаждения, изношенные шланги системы охлаждения, негерметичный радиатор или неисправный водяной насос.
- Уровень охлаждающей жидкости : тепло передается нагревательному элементу через нагретую охлаждающую жидкость.Если в системе недостаточно охлаждающей жидкости, необходимое тепло, необходимое для нагревательного элемента, не будет производиться. Следовательно, сердечник не сможет дуть в автомобиль горячим воздухом.
- Термостат : термостат автомобиля отвечает за регулировку температуры охлаждающей жидкости вокруг двигателя.
Термостат работает как клапан, чтобы предотвратить попадание охлаждающей жидкости в радиатор, когда двигатель недостаточно нагружен.Когда двигатель достигает максимально допустимой температуры, термостат открывается и позволяет охлаждающей жидкости пройти через радиатор и остыть.
Если в автомобиле заедал открытый термостат, охлаждающая жидкость все время оставалась бы холодной, и, следовательно, система отопления не выдувала горячий воздух.
- Воздушный затвор : иногда в охлаждающей жидкости могут образовываться большие пузырьки воздуха из-за утечек. Этот воздушный пузырь может повлиять на передачу температуры от теплоносителя к нагревательному элементу.Следовательно, при включении системы отопления может не быть достигнута необходимая температура нагрева.
- Проблемы со шлангами : как и любые другие детали автомобиля, шланги системы охлаждения могут со временем порваться и изнашиваться, что приведет к утечке жидкости и, вероятно, к потере тепла в окружающую среду.
Проблемы со шлангами чаще всего возникают в старых автомобилях, где шланги кажутся губками, что указывает на срочную необходимость их замены.
- Утечка в радиаторе: в более старых автомобилях из радиатора двигателя может протекать часть охлаждающей жидкости, что приводит к низкому уровню охлаждающей жидкости. Как мы упоминали ранее, низкий уровень охлаждающей жидкости не будет передавать необходимое тепло нагревательному элементу и, следовательно, вызовет проблемы с системой отопления.
- Проблема с крышкой радиатора: крышка радиатора автомобиля отвечает за поддержание соответствующего уровня давления охлаждающей жидкости.Если крышка радиатора застрянет открытой, в системе охлаждения будет недостаточно давления. В результате охлаждающая жидкость не будет течь должным образом вокруг нагревательного элемента и, следовательно, повлияет на тепловую мощность автомобиля.
- Неисправный водяной насос: водяной насос отвечает за перекачивание охлаждающей жидкости и ее циркуляцию с необходимой мощностью вокруг двигателя. Если насос не обеспечивает оптимальную мощность для циркуляции хладагента, теплопередача будет нарушена, что повлияет на производительность системы отопления.
Проблемы с водяным насосом считаются самой сложной причиной неисправности системы отопления. Ремонт водяного насоса — один из самых дорогих ремонтов автомобиля; однако это происходит только в старых автомобилях.
- Проблемы с вентилятором двигателя: новые автомобили теперь оснащены дополнительным вентилятором двигателя. Этот вентилятор отвечает за дальнейшее охлаждение двигателя, когда он становится слишком горячим. Неисправный вентилятор двигателя может работать все время, в результате чего охлаждающая жидкость все время остается при низкой температуре.Холодная охлаждающая жидкость не будет генерировать необходимое тепло, необходимое для системы отопления, и поэтому отопление вашего автомобиля не будет работать должным образом.
Проблемы с сердечником нагревателя
- Засорен внутренний канал : сердцевина обогревателя работает как радиатор, который собирает тепло от горячей охлаждающей жидкости вокруг него и затем передает его воздуху, поступающему в автомобиль.
Сердечник нагревателя может засориться из-за накопления загрязнений или частиц во время использования. Забитый сердечник обогревателя предотвратит попадание тепла внутрь автомобиля.
- Засорение внешних ребер сердечника нагревателя : снаружи сердечника нагревателя есть небольшие ребра, которые позволяют воздуху циркулировать в сердечнике нагревателя. Эти плавники могут со временем забиться частицами или мусором, что вызовет проблемы с системой обогрева автомобиля.
Проблемы с нагнетательным вентилятором
Нагнетательный вентилятор отвечает за выдувание горячего воздуха из радиатора обогревателя внутрь автомобиля. Если вентилятор не работает, то система отопления не сможет полностью обогреть автомобили внутри.
Сердечник обогревателя имеет клапан для регулирования передачи тепла от радиатора в кабину автомобиля.Застрявший закрытый клапан может препятствовать попаданию тепла в автомобиль и, следовательно, вызывать сбои в работе системы отопления.
Как отремонтировать неработающую систему отопления?
Ремонт системы отопления зависит от причины проблемы.
Например, если система отопления не работает из-за проблем с системой охлаждения, вы можете выполнить одно из следующих действий в зависимости от неисправной детали:
- Убедитесь, что уровень охлаждающей жидкости в системе охлаждения соответствующий.Если вы добавили охлаждающую жидкость и заметили, что уровень охлаждающей жидкости недостаточно повышается, это может указывать на утечку в системе. В этом случае вам необходимо найти источник утечки и заменить или отремонтировать его.
- Проверьте, не связана ли проблема с неисправным термостатом. Для этого переключите термостат с горячего на холодный и следите за звуком. Когда вы переключаете термостат с горячего на холодное, вы должны услышать движение дверцы смесителя термостата. Если вы не слышали этого звука, это означает, что в термостате возникла внутренняя проблема, и, возможно, его необходимо заменить.
- Если проблема связана с неисправным термостатом, вам необходимо удалить его и установить новый. Установка нового термостата — очень простое решение, которое вы можете сделать самостоятельно, чтобы сэкономить на трудозатратах.
- Если проблема связана с пузырьками воздуха в охлаждающей жидкости, необходимо избавиться от пузырьков воздуха в системе. Для этого откройте крышку бачка с охлаждающей жидкостью, дайте двигателю поработать пару минут и, наконец, закройте крышку бачка с охлаждающей жидкостью.
- Проблемы в системе отопления, связанные с радиатором, можно устранить одним из следующих способов: проверьте и устраните любые утечки в радиаторе, установите новую крышку радиатора, если она не работает должным образом, или установите новый радиатор при более серьезных проблемах.
- Если водяной насос не работает должным образом, вам необходимо обратиться к профессиональному механику для проверки. Механик может решить, подлежит ли он ремонту или вам нужно установить новый водяной насос.
- Убедитесь, что вентилятор двигателя работает только при необходимости и не работает постоянно. Неисправный вентилятор двигателя необходимо заменить, чтобы система отопления работала нормально.
- Проверьте, не связана ли проблема с сердечником нагревателя. Вы можете почувствовать температуру двух шлангов сердечника нагревателя, и если один из них холоднее другого, то, возможно, что-то блокирует попадание горячего хладагента в сердечник нагревателя.
- Проблемы с сердечником нагревателя можно устранить, выполнив одно из следующих действий: промойте канал нагревателя и внешние поверхности, чтобы избавиться от мусора или блокирующих частиц; если очистка не решила проблему, вам может потребоваться заменить весь нагревательный элемент
- Поврежденный или неисправный вентилятор можно устранить, заменив перегоревший предохранитель или заменив весь вентилятор, если это необходимо.
- Если механик определил, что проблема в системе отопления связана с неисправностью клапана отопления, клапан следует немедленно отремонтировать.
Крепление клапана отопления зависит от типа клапана, установленного в автомобиле. Если у вас есть ручной клапан, механик может исправить это, заменив неисправные детали. С другой стороны, электронный клапан должен быть диагностирован опытным механиком, чтобы определить точную причину проблемы.
Сколько стоит ремонт системы отопления автомобиля?
Как мы упоминали ранее, существует широкий спектр причин выхода из строя системы отопления.
Следовательно, трудно назвать фиксированную цену, чтобы ваша система отопления снова заработала.
Стоимость ремонта зависит от марки, модели и года выпуска автомобиля. Кроме того, это зависит от того, насколько серьезны проблемы и насколько легко добраться до неисправной детали.Например, замена водяного насоса требует больших затрат труда, так как до него трудно добраться.
В целом, ремонт большинства проблем с отоплением обходится примерно в 300–1000 долларов.
Может ли регулярное техническое обслуживание предотвратить отказ системы отопления?
Короткий ответ — да. Если у вас есть механик, проверяйте систему отопления во время регулярного обслуживания, вы можете предотвратить высокие затраты на ремонт системы отопления.
Например, механик может сказать вам, если уровень охлаждающей жидкости ниже оптимального, что является признаком утечки в системе.
Как правило, проблемы с системой отопления возникают только в старых автомобилях и автомобилях с большим пробегом (например, от 60 000 до 100 000). Поэтому рекомендуется, если вы управляете старым автомобилем, регулярно проверять уровень охлаждающей жидкости и других внутренних компонентов, чтобы предотвратить отказ системы отопления.
Заключение
Проблемы с системой обогрева автомобиля не помешают вам управлять автомобилем в дождливые дни. Однако вам необходимо отремонтировать систему, если вы едете в морозные зимние дни.
Система обогрева может выйти из строя из-за проблем с одним из следующих компонентов: система охлаждения, нагревательный элемент, вентилятор двигателя и клапан обогревателя.
Некоторые из упомянутых проблем можно легко устранить по более низкой цене, например, заменой термостата или изношенных шлангов.С другой стороны, некоторые проблемы могут быть более сложными и потребовать устранения более высоких цен, например, замена водяного насоса.
Вы можете отремонтировать систему отопления, подтвердив наличие необходимого уровня охлаждающей жидкости, устраняя любые утечки, заменяя неисправный вентилятор, клапан отопления или радиатор.
Несмотря на причину проблемы с отоплением, вам необходимо устранить ее, чтобы избежать повышения цен на ремонт в будущем.
Система обогрева автомобилей Beavercreek
Система обогрева автомобиля Beavercreek
Если у вашего автомобиля проблемы с двигателем или трансмиссией, или он просто нуждается в регулярном плановом техническом обслуживании, очень важно найти автомастерскую, которой можно доверять.Когда вы найдете хорошую автомастерскую, вы можете доверять механикам, которые будут работать с вашим автомобилем, чтобы они сделали надежную работу и, честно говоря. Многие ремонтные мастерские используют тот факт, что у вас нет возможности узнать, не поступают ли они нечестно, говоря вам, что нужно отремонтировать, и это может стоить вам сотен долларов ненужного ремонта вашего автомобиля. Еще одна проблема с теневой механикой заключается в том, что на вашей машине ничего не ремонтируют, но в любом случае за это взимается плата.
Но найти честную и честную автомастерскую невозможно.Просто нужно немного больше исследовать, чем заехать в первый магазин, который вы увидите. Вы можете начать с того, что спросите совета у семьи и друзей, но особенно спросите совета у разбирающихся в автомобилях людей. Обычно они могут определить, когда механик пытается вести себя нечестно, и часто знают самую честную автомастерскую в этом районе.
Конечно, честность важна, но если сервис, предлагаемый автомастерской, не самого высокого качества, то ремонт все равно не будет стоить потраченных на него денег.Некоторые автомастерские нанимают механиков с небольшим опытом или без формального образования, надеясь заработать больше денег, выплачивая им более низкую заработную плату. Но эти механики, даже если они хорошо разбираются в работе с собственными автомобилями, могут совершать ошибки и упускать из виду детали, которые могут нанести гораздо больший ущерб вашему автомобилю. Даже простой фильтр, если его не заменить или неправильно вклинить, может привести к повреждению всего двигателя, не подлежащему ремонту.
Наконец, еще одна часть головоломки — найти автомастерскую, которая предлагает все услуги.Наличие 3 или 4 различных автомастерских, которые вы посещаете, расстраивает и бесполезно тратит время, потому что одна занимается только заменой масла, а другая занимается только тормозами, регулировкой или шинами. Перестаньте тратить время зря, установите отношения с компанией по обслуживанию автомобилей, которая делает все это и имеет репутацию, подтверждающую это.
Ваш лучший вариант в районе Биверкрик, штат Огайо, — это Murphy’s Autocare. Это семейный бизнес с более чем 125-летним опытом работы в автомобильной промышленности.Они нанимают только обученных на заводе и опытных технических специалистов ASE Master и предлагают полный спектр услуг по техническому обслуживанию и ремонту всех транспортных средств. Это самый надежный магазин в этом районе.
Чтобы узнать больше об этом замечательном объекте, вы можете посетить их в Интернете по адресу http://murphysautocare.com/
Они также обслуживают все типы домов на колесах: автодома, туристические трейлеры, лодки и все трейлеры.
Система обогрева автомобилей Beavercreek
Система обогрева автомобиля Beavercreek
Murphy’s Autocare
Поддержание вашего автомобиля в хорошем рабочем состоянии сегодня важнее, чем когда-либо.Выбор авторемонтного предприятия также важен. Ваш выбор автосервиса может повлиять на ваш кошелек, вашу безопасность и окружающую среду. При выборе необходимо учитывать множество факторов. Давайте посмотрим на несколько.
Поиск хорошей автомастерской всегда был большой проблемой для большинства людей. Вы хотите не только получить отличное обслуживание и получить достойные деньги, вам также нужно место, где вы чувствуете себя комфортно и непринужденно. Все были в ситуации, когда они идут в автомагазин, и механик быстро проталкивает вас, и вы уходите с ощущением, будто вас использовали в своих интересах.К счастью, сегодня существует множество ремонтных мастерских, поэтому никто не должен останавливаться на достигнутом. Однако есть несколько вещей, которые следует учитывать при поиске хорошего автомагазина.
Одна из самых важных вещей, которую легко понять, заходя в автомагазин, — это уровень профессионализма. Когда вы входите в хорошую автомастерскую, вас должен приветствовать кто-то, предупреждающий о том, что нужно подождать. Это не только показывает, что они организованы, но и внимательны к вам.Еще одним признаком хорошего профессионального образования являются сертификаты Национального института качества автомобильного обслуживания (ASE). Эта организация обеспечивает постоянное тестирование и сертификацию механиков и является отличным способом для потребителей проверить, действительно ли механик способен выполнять свою работу.
Еще одна вещь, на которую стоит обратить внимание, — это механики, которые устанавливают с вами хорошие отношения. Это означает наличие механика, который будет смотреть вам в глаза, выслушивать все ваши опасения и подробно объяснять, как они могут вам помочь.Это знак того, что они заслуживают доверия и обеспокоены вашими проблемами.
Еще одна важная характеристика хорошей ремонтной мастерской — четко сформулированная политика. Сюда входят сметы и гарантии на выполненные работы. Эти правила должны быть изложены в письменной форме и подробно разъяснены вам в автомагазине.
Еще одна вещь, которую следует помнить при поиске хорошего автомагазина, — это всегда делать покупки поблизости. Посетите разные магазины, познакомьтесь с сотрудниками, владельцами, менеджерами и спросите рекомендаций у друзей и соседей.В качестве альтернативы, когда вы посещаете новую ремонтную мастерскую, спросите других людей в зоне ожидания, пользовались ли они этой мастерской раньше и как им это понравилось. Постоянные клиенты — хороший знак того, что вы работаете в авторитетном заведении.
Наконец, ища хороший автомобильный магазин, не забудьте провести небольшое исследование. Есть много мест, куда можно направить свой бизнес, поэтому потратьте время на поиски подходящего места. Семейный магазин автомобилей Murphy’s Autocare с хорошей репутацией. Компания Murphy’s Autocare предоставляет отличные услуги в течение многих лет.Их сотрудники сертифицированы ASE и позволят вам почувствовать себя семьей. Независимо от того, куда вы решите поехать, помните все советы, упомянутые выше, и вы обязательно найдете хорошее место для всех ваших автомобильных потребностей.
Пожалуйста, посетите их веб-сайт для получения дополнительной информации. http://www.murphysautocare.com/
