Как работает система курсовой стабилизации ESP
ESP — это аббревиатура английского обозначения «программа электронной стабилизации» или «электронная система курсовой устойчивости». Что касается того, как работает ESP, то она увеличивает шансы выжить в опасной ситуации на дороге. Это особенно полезно на скользких поверхностях или при выполнении резких манёвров на дороге, например, при преодолении препятствий или слишком крутого угла поворота. В таких ситуациях это устройство распознаёт угрозу на ранних стадиях и помогает водителю удерживать авто в правильном положении.
Немного истории
Большой шаг вперёд в безопасности вождения был сделан в середине 1990-х, когда был введён первый электронный контроль курсовой устойчивости. Первое устройство было разработано немецким поставщиком Bosch, а на первых сериях автомобилей Mercedes-Benz S-класса и BMW 7-й серии впервые установлены новые нормативные конструкции безопасности.
Это было около 25 лет назад.
Все эти устройства, независимо от их названия, используют высокотехнологичные датчики, центральный компьютер автомобиля и механические меры для оказания помощи в безопасности вождения. Мы часто читаем о высокопроизводительных машинах, имеющих тенденцию к недостаточной или избыточной поворачиваемости, но правда состоит в том, что любой автотранспорт может отклониться от курса, особенно если этому способствуют плохие дорожные условия.
Видео о системе ESP:
youtube.com/embed/iVwzulgQxLA?feature=oembed» frameborder=»0″ allowfullscreen=»»/>
Недостаточная поворачиваемость происходит, когда передним колёсам не хватает тяги и автомашина продолжает двигаться вперёд, а не поворачивать. Избыточная поворачиваемость как раз наоборот: машина поворачивает намного больше, чем того желает водитель. Электронная система курсовой устойчивости может помочь исправить обе эти ситуации.
Электронный контроль устойчивости — разъяснения
Понять то, как работает программа курсовой стабилизации, довольно непросто, ведь подобное устройство не работает в полном одиночестве. Оно использует другие нормативные устройства безопасности автомобиля, такие как антиблокировочная и антипробуксовочная системы, чтобы исправить проблемы, прежде чем случится авария.
Центр ESP также является центром автомобиля. Этот датчик почти всегда расположен максимально близко к самому центру автотранспортного средства. Если вы сидите в сиденье водителя, датчик будет под вашим правым локтем, где-то между вами и пассажирским креслом.
Если контроль курсовой устойчивости обнаруживает, что автомобиль раскачивается слишком сильно, он начинает действовать, чтобы помочь.
Используя все современные электронные устройства, ESP может активировать один или несколько отдельных тормозов, в зависимости от увеличения безопасности вождения, и контролировать дроссель, чтобы при необходимости уменьшить скорость. Датчик ищет различия между управлением левого колеса и направлением автомобиля и вносит необходимые корректировки в компьютер машины для приведения направления в соответствии с тем, чего хочет водитель.
На видео — тестирование ESP:
Электронные компоненты устройства
Электронная система контроля устойчивости использует ABS и трэкшн-контроль, а также несколько специальных датчиков, чтобы сделать свою работу.
Система ABS
До 1990 годов водителю нужно было нажимать на педаль тормоза очень сильно, чтобы удерживать тормозную блокировку и вызывать замедление.
С изобретением антиблокировочной системы тормозов безопасное движение стало намного легче. ABS с электронным насосом тормозит быстрее, чем сам водитель, вызывая тем самым недостаточную или избыточную поворачиваемость. ESP использует устройство для устранения проблемы путём активации ABS, по мере необходимости, для отдельного колеса.
Система контроля тяги
На видео — что такое ESP автомобиля:
Работает устройство довольно динамично — информация подаётся в центральный компьютер автомобиля с помощью трёх типов датчиков:
- Датчик скорости колеса.
Такие датчики стоят на каждом колесе и измеряют скорость в движении, компьютер сравнивает её со скоростью двигателя. - Датчики угла поворота рулевого колеса. Эти датчики находятся в рулевой колонке и измеряют направление, которое выбирает водитель в движении.
- Датчик угловой скорости. Находится в середине автомобиля и измеряет движение из стороны в сторону автомобиля.
Дополнительные возможности
С момента своего запуска, ESP постоянно обновляется. С одной стороны, снижается вес всего устройства (модель производства Bosch весит меньше чем 2 кг), а с другой стороны, увеличивается количество функций, которые она может выполнять.
Система курсовой устойчивости предотвращает скатывание автомобиля, когда он едет вверх по склону. В тормозах автоматически поддерживается давление, пока водитель снова не нажмёт на педаль газа.
На видео — принцип действия системы:
youtube.com/embed/zzPUH8aZJiI?feature=oembed» frameborder=»0″ allowfullscreen=»»/>
Преимущества электронного контроля курсовой устойчивости
Наиболее важную роль ESP играет в безопасности движения, снижая тем самым количество и тяжесть аварий. Почти каждый водитель попадал в неприятные, сложные дорожные условия в какой-то момент, будь то ливень, внезапный град или ледяная дорога. Электронная система контроля курсовой устойчивости, наряду с другими системами безопасности и регулятивными устройствами, на борту современных транспортных средств может помочь сохранить контроль на дороге водителю.
Как работает система стабилизации ESP: victorborisov — LiveJournal
Несмотря на тот факт, что система электронного контроля устойчивости уже более 15 лет устанавливается на автомобили, большинство водителей до сих пор не понимает как она работает. При этом существует две крайности: одни полностью полагаются на электронику не принимая в расчёт законы физики, а другие твёрдо уверены, что электроника им только мешает.

Попробуем вместе в этом разобраться.
Массовое внедрение систем контроля курсовой устойчивости началось в конце 90-х годов прошлого века. В то же время произошёл один из самых скандальных случаев в истории компании Mercedes, когда представленный осенью 1997 года новый А-класс (без системы стабилизации) позорно перевернулся на прохождении «лосиного теста». Именно этот случай в какой-то мере стал толчком к массовому оснащению автомобилей системами электронной стабилизации.
Первое время система предлагалась в качестве опции на автомобилях представительского и бизнес-класса. Затем она стала более доступной и для более компактных бюджетных автомобилей. В настоящее время система электронного контроля устойчивости является обязательной (в Европе, США, Канаде и Австралии) для всех новых легковых автомобилей начиная с осени 2011 года. А с 2014 года абсолютно все продаваемые автомобили должны быть оборудованы системой ESP.
Как работает ESP
Задача системы стабилизации помочь автомобилю двигаться в том направлении, куда повёрнуты передние колёса.
В простейшем представлении система состоит из нескольких датчиков, контролирующих положение автомобиля в пространстве, электронного блока управления и насоса с раздельным управлением тормозными магистралями каждого колеса (он же используется для работы антиблокировочной системы ABS).
Четыре датчика на каждом колесе с частотой 25 раз в секунду отслеживают скорости вращения колёс, датчик на рулевой колонке определяет угол поворота рулевого колеса, и еще один датчик расположен максимально близко к осевому центру автомобиля — Yaw sensor, фиксирующий вращение вокруг вертикальной оси (обычно это гироскоп, но в современных системах используются акселерометры).
Электронный блок сопоставляет данные о скорости вращения колёс и боковых ускорений с углом поворота рулевого колеса и если эти данные не совпадают, то происходит вмешательство в систему подачи топлива и тормозные магистрали. Важно понимать, что система стабилизации не знает и не может знать правильную траекторию движения, всё что она делает — пытается направить автомобиль в том направлении, куда водитель повернул руль.
При этом система стабилизации способна сделать то, что физически не способен сделать ни один водитель — выборочное притормаживание отдельных колёс автомобиля. А ограничение подачи топлива используется для того, чтобы прекратить ускорение автомобиля и максимально быстро его стабилизировать.
Существует два основных случая отклонения автомобиля с намеченной траектории: снос (потеря сцепления с дорогой и боковое скольжение передних колёс автомобиля) и занос (потеря сцепления с дорогой и боковое скольжение задних колёс автомобиля). Снос возникает в том случае, когда водитель пытается выполнить манёвр на высокой скорости, и передние колёса теряют сцепление с дорогой, автомобиль прекращает реагировать на вращение рулевого колеса и продолжает двигаться прямо. В этом случае система стабилизации затормаживает заднее внутреннее к повороту колесо, тем самым удерживая автомобиль от сноса. Занос обычно возникает уже на выходе из поворота и преимущественно на заднеприводных автомобилях при резком нажатии на педаль газа, когда задняя ось поскальзывается и начинает двигаться наружу поворота.
В этом случае система стабилизации затормаживает внешнее переднее колесо, тем самым гася начинающийся занос.
На самом деле для динамической стабилизации автомобиля используется выборочное торможение с различной интенсивностью не только одного колеса. В некоторых случаях используется торможение двух колёс одной стороны одновременно или даже трёх (кроме внешнего переднего).
Некоторые водители считают, что система стабилизации мешает им ездить, однако простейший эксперимент на ледовой трассе со среднестатистическим водителем за рулём показывает, что без системы стабилизации у него гораздо больше шансов вылететь с трассы, не говоря уже о том, что лучшее время он способен показать только при помощи со стороны электроники.
Если вы не имеете титула мастера спорта по авторалли и при этом уверены, что система стабилизации мешает вам ездить — значит вы просто не умеете ездить правильно и совершенно не знакомы с законами физики, балансом автомобиля и техникой управления автомобилем.
А на дорогах общего пользования не существует ситуаций, где отсутствие системы стабилизации может помочь избежать аварии. Больше всего претензий к системе стабилизации у водителей, которые не понимают простой истины: Электроника пытается направить автомобиль в том направлении, куда повёрнуты передние колёса.
У разных автопроизводителей разные настройки чувствительности и скорости срабатывания системы стабилизации. Это в том числе связано с массой и габаритами автомобиля. Некоторые системы обладают крайне высокой чувствительностью, это сделано потому, что снос и занос проще всего погасить в самом начале, не дожидаясь критических углов отклонения автомобиля от траектории.
Система стабилизации будет лишней только в двух случаях — либо вы хотите эффектно покружиться волчком, либо вы мастер спорта и на гоночной трассе у вас стоит задача проехать как можно быстрее. В этом случае система стабилизации будет мешать использовать управляемый занос для доворота автомобиля (особенно при использовании техники смены скольжения с одной стороны на другую), а ограничение подачи топлива не позволит ускоряться в боковых скольжениях.
При этом даже включенная система стабилизации в разумных пределах позволяет скользить боком в управляемом заносе. Всё, что для этого нужно — не вращать руль в сторону заноса, т.к. это приведёт к моментальному вмешательству электроники (машина скользит в одну сторону, а поворачивая руль вы направляете её в другую). Если же на выходе из поворота вам надо ускориться, а система стабилизации ограничила подачу топлива, то просто поставьте руль прямо, реальное направление движения автомобиля совпадёт с требуемым и система стабилизации прекратит своё вмешательство. То есть необходимо просто ездить правильно, чтобы передние колёса всегда были направлены туда, куда реально едет автомобиль.
Но учиться правильно управлять автомобилем нужно с выключенной системой стабилизации, иначе у вас не будет навыков чтобы определить начало сноса или заноса, и соответственно правильно рассчитывать скорость при выполнении манёвров. Единственной возможностью в случае, если автопроизводитель не предусмотрел возможность отключения электроники штатными средствами — отключить один из датчиков скорости с любого колеса или предохранитель насоса ABS.
При этом следует иметь ввиду, что вы также лишитесь антиблокировочной системы и системы распределения тормозных усилий по осям.
Система стабилизации не в силах изменить законы физики и она эффективна до тех пор, пока не достигнут предел сцепления шин с дорогой. Во всех остальных случаях она является главным элементом активной безопасности любого современного автомобиля.
Система курсовой устойчивости ESP как способ избежать заноса
Система курсовой стабилизации автомобиля в движении имеет 20-летнюю историю развития, в течение которой она получила всеобщее признание, и применяется в настоящее время практически на всех моделях современных автомашин. Она предназначена для автоматической корректировки курсового положения автомобиля в условиях заноса.
ESP стабилизирует положение автомобиля в условиях заноса
Каждый производитель автомобильной техники систему курсовой устойчивости на своих моделях называл по-разному. Поэтому она имеет много разных сокращённых наименований, способных ввести в заблуждение неискушённых автолюбителей.
ESP и его синонимы
Аббревиатура этого наименования ESP получила самое большое распространение и применяется практически на всех моделях европейских и американских производителей авто. На других моделях можно встретить такие сокращения и названия системы курсовой устойчивости:
- на моделях Hyundai, Kia, Honda её принято называть Electronic Stability Control ESC;
- на моделях Rover, Jaguar, BMW устанавливается динамический стабилизатор управления Dynamic Stability Control – DSC;
- на Volvo она носит название Dynamic Stability Traction Control – DTSC;
- на японских марках Acura и Honda она получила название Vehicle Stability Assist – VSA;
- на «Тойотах» применяется наименование Vehicle Stability Control — VSC;
- такое же оборудование под именем Vehicle Dynamic Control (VDC) используется на авто марки Subaru, Nissan и Infiniti.

Несмотря на большое количество имён, всё это оборудование используется для достижения одной цели – помочь водителю справиться с управлением на скользкой, мокрой или покрытой гравием дороге, где маневрирование автомашины приводит к заносам и потере курса.
Система курсовой устойчивости глазами экспертов
Основная цель этой системы состоит в предотвращении срыва автомобиля в занос и бокового скольжения за счёт изменения передаваемого момента вращения на одно из колёс ведущей пары.При этом происходит предотвращение дальнейшего развития начавшегося заноса и стабилизируется положение машины на траектории перемещения во время выполняемого манёвра на скользкой дороге. В отдельных технических источниках она называется противозаносной системой, потому что такая ESP в автомобиле устраняет заносы и обеспечивает этим устойчивость удержания курса.
Эта картинка хорошо иллюстрирует работу системы ESP, которая удерживает автомобиль в крутом повороте
Действенность использования оборудования автоматической курсовой стабилизации подтверждается научными изысканиями, проведёнными экспертами американского института IIHS.
По результатам проведённых исследований было выявлено, что использование ESP в автомашинах, попавших в дорожное происшествие, сократило смертность ДТП от 43 до 56%. Случаи переворачивания авто со смертельным исходом снизились на 77-80%. Автомобиль, оборудованный ESC, имеет значительно меньшую вероятность опрокидывания по сравнению с необорудованным автомобилем.
Данные германских страховых компаний свидетельствуют о том, что 35-40% всех смертельных ДТП могли бы быть предотвращены либо иметь более благоприятный исход, если бы на авто их участников была установлена система курсовой устойчивости. По мнению экспертов, данное оборудование однозначно оказывает помощь автолюбителю в экстремальных ситуациях. Оно во многих случаях является палочкой-выручалочкой малоопытных автолюбителей.
Устройство и работа оборудования ESP
Современное оборудование контроля курсовой стабильности работает в комплексе с системой антиблокировки колёс ABS, заодно используя её механизмы. Единый комплекс этих двух систем работает согласованно, выполняя одновременно несколько процедур по обеспечению безопасного движения автомобиля.
Структура системы курсовой устойчивости состоит из:
- управляющего блока, представляющего собой контроллер, непрерывно сканирующий состояние различных сигнализаторов и считывающий их сигналы;
- датчики АБС, определяющие скорость вращения колёс;
- датчики разворота рулевого колеса;
- датчики давления в цилиндрах тормозов;
- G-сенсор, прибор чувствительный к боковой скорости и ускорению автомобиля и фиксирующий появление скольжения в боковом направлении.
Таким образом, на входах контроллера постоянно имеется информация о скорости движения, об угле разворота руля, оборотах двигателя, давления в цилиндрах тормоза, об угловой скорости поперечного скольжения и её градиенте. Информация с датчиков непрерывно сравнивается с расчётными данными, запрограммированными в контроллере. При наличии отклонений контроллер вырабатывает корректирующие управляющие сигналы, поступающие на исполнительные механизмы тормозных цилиндров, подтормаживающие соответствующие колёса для возвращения траектории движения автомобиля к расчётной кривой.
Выбор подтормаживающих колёс и степень их торможения определяется системой автоматически и индивидуально, в зависимости от возникающей ситуации. Для автоматического торможения колёс применяется гидравлический модулятор ABS, который создаёт дополнительное давление в тормозных цилиндрах. В то же время в систему подачи топлива на двигатель поступает опережающий сигнал, уменьшающий поступление горючей смеси. В результате одновременно с торможением осуществляется уменьшение вращающего момента, подаваемого на колесо.
Примеры и особенности работы системы ESP
Чтобы наглядно представить, что такое ESP в автомобиле, обратите внимание на рисунки.
На этой иллюстрации все прекрасно видно и понятно
На данной картинке показаны линии вероятного движения автомобиля при превышении максимально допустимой скорости вхождения в крутой вираж на трассе. При повороте руля начинается занос машины. На левом рисунке красным пунктиром показана линия движения автомобиля без ESC при торможении водителем (машину разворачивает поперёк с выездом на встречную полосу).
На правом рисунке красным пунктиром обозначена траектория движения без торможения, когда машину выносит в кювет. Зелёной линией и факелами на обеих картинках обозначены траектория движения автомобиля, оборудованного системой ESC, и колёса, которые автоматически подтормаживаются системой при появлении заноса.
Благодаря выборочному торможению системы ESP происходит стабилизация направления движения автомобиля
Система контроля срабатывает и действует в любых ситуациях, будь то разгон, накат или торможение. Алгоритм работы схемы контроля определяется возникающей ситуацией и системой привода колёс. Например, если при повороте машины влево срабатывает датчик заноса заднего моста, то ESC сокращает подачу топлива в двигатель и замедляет скорость. Если данная мера не устраняет занос, то происходит частичное торможение переднего правого колеса. За этой операцией следует дальнейшее действие по установленной программе, пока не будет устранено возникшее боковое скольжение задних колёс.
В ESP предусмотрена возможность регулирования трансмиссии в автомобилях с электронным управлением АКПП. В таких автомобилях происходит автоматическое переключение на низшую передачу при появлении скольжения по аналогии с зимним способом вождения. Опытные водители, которые привыкли ездить на предельных скоростях и возможностях, отмечают, что система стабилизации курса мешает водить автомашину в таком режиме.
Система стабилизации машины ESP. Принципы управления
Такие ситуации могут возникать в определённые моменты, когда требуется увеличить тягу двигателя, а система контроля наоборот уменьшает её, устраняя скольжение автомобиля. Для таких случаев конструкторы устанавливают выключатели, с помощью которых можно принудительно отключить контрольную систему и осуществлять полностью ручное управление автомашиной.
Оборудование автоматической стабилизации курса входит в бортовой комплекс активной безопасности машины.
Основное достоинство системы в том, что оборудованный ею автомобиль становится более послушным и нетребовательным к квалификации водителя. От него требуется только поворачивать руль, а система уже дальше самостоятельно выполняет все необходимые действия для правильного выполнения манёвра.
Однако всегда нужно помнить, что эта система также имеет пределы своих возможностей. При слишком большой скорости или слишком маленьком радиусе поворота даже самая совершенная система контроля устойчивости не сможет спасти машину от неконтролируемого заноса и переворота
Система электронного контроля устойчивости esc как работает. Что такое ESP в автомобиле
Оснащение современного автомобиля делает процесс управления простым. В то же время нельзя сказать, что это уж слишком легкое дело. Требуется учитывать много нюансов, чтобы не оказаться на обочине не только дороги, но и жизни. Важны дорожные изгибы, погодные условия, опыт вождения и многое другое.
Автомобиль способен вести себя на дороге непредсказуемо. Утрата контроля может спровоцировать аварию. Как предотвратить такое развитие событий?
Это можно сделать с помощью ESP. Под этой аббревиатурой скрывается система, обеспечивающая курсовую устойчивость. С позиции английского языка расшифровывается так: Electronic Stability Program.
Что такое ESP
Под ней понимается система безопасности, которая посредством компьютера управляет автомобилем в нестандартных ситуациях. Если автомобиль теряет устойчивость на дороге, то есть начинает выписывать опасную траекторию, то его положение принудительно выравнивается.
ESP не является единым обозначением систем динамической стабилизации. Перед нами популярная торговая марка и не более. Поэтому будем рассматривать именно ее. Хотя своя популярность есть и у других подобных систем, например, ESC и DSC.
История
Первый патент на систему рассматриваемого вида был выдан в 1959 году. Разработка называлась «Управляющее устройство».
Ее инициатором стал концерн Daimler-Benz. Результат оказался посредственным. Инженеры концерна не смогли предложить продукт, который мог бы стать реальным помощником водителя.
Все изменилась спустя много лет. В 1994 году премиальные Мерседесы получили оснащение полноценной системой безопасности. Несколько позднее курсовая стабилизация стала доступна на серийных машинах компании Mercedes-Benz.
Устройство
Сама по себе ESP не способна выполнять возложенные на нее задачи. В помощь требуются электронные датчики. Обработкой поступающих от них сигналов занимается специальный блок. Электроника вовремя информирует систему о неадекватном поведении автомобиля, что дает возможность вернуть контроль над транспортным средством.
Перечень составных элементов формируется за счет:
- основного блока, предназначенного для обработки сигналов от датчиков и управления конкретными устройствами;
- датчиков, фиксирующих, с какой скоростью вращается каждое колесо;
- датчиков, измеряющих скорость и отклонение транспортного средства по оси.
Датчики этого вида находятся внутри одного корпуса; - контроллера, способного определить, как рулевое колесо изменяет угол поворота;
- гидравлического блока, инициирующего тормозные усилия.
К помощникам также относят следующие системы:
- ABS – исключение вероятности блокировки колес во время торможения;
- EBD – распределение усилий при управлении тормозными дисками;
- ASR – контроль того, насколько проскальзывают колеса, с последующим перераспределением крутящего момента. Исключается пробуксовка;
- EDS – дополнение к ASR. Блокировка дифференциального механизма.
Как это работает
Курсовая стабилизация посредством ESP невозможна без ABS. Антиблокировочная система – это важный момент корректировки поведения автомобиля. Процесс стабилизации также обеспечивается за счет функциональности антипробуксовочной системы и блока, способного изменять режим работы двигателя.
ESP определяет развитие заноса по нескольким параметрам.
Например, при малом угле поворота колес может фиксироваться превышение поперечного ускорения и значительное изменение угла поворота транспортного средства. Это выходит за рамки «правильной езды», поэтому система начинает действовать.
На практике происходит подтормаживание конкретных колес или ослабление тормозного усилия. Гидромодулятор изменяет состояние тормозной системы в части ее давления. Работа силового агрегата корректируется. Блок-контроллер сокращает подачу топлива, что уменьшает крутящий момент, передающийся на колеса. В результате машине придается прежняя траектория.
В структуре имеется главный блок, принимающий и обрабатывающий информацию, поступающую от датчиков. Под такой информацией понимается несколько моментов: с какой скоростью вращаются колеса, в каком положении руль и насколько давление в тормозной системе соответствует норме. На основе подобных данных ESP принимает решение, как ей действовать. При этом наиболее важны сигналы от двух датчиков, считывающих поперечное ускорение и угловую скорость.
Рассмотрим на примере упрощенную схему того, как происходит курсовая стабилизация.
Занос
На блок-контроллер поступают данные:
- задняя ось начинает смещаться по тому направлению, куда заносит;
- величина скорости скольжения выходит за рамки допустимых значений.
Если вы опытный водитель, то поддадите газу и постараетесь выйти из заноса. Ключевое слово здесь «опытный», но за рулем в большинстве своем оказываются те, кто не был в подобных ситуациях. Они могут растеряться. Также стоит учитывать невнимательность. Именно здесь и возникает необходимость в ESP.
Система возвращает автомобиль на прежний курс с помощью торможения переднего колеса с внешней стороны.
Снос
Датчики сигнализируют о нестандартном поведении транспортного средства:
- фиксируется смещение передней оси по такому направлению, как внешняя сторона поворота;
- скорость рысканья определяется как небольшая.
Система стабилизирует автомобиль, что достигается торможением заднего колеса с внутренней стороны.
Обязательность наличия ESP
Эксплуатируемые в странах ЕС автомобили оснащаются ESP, что узаконено с 2014 года. Это обязательно для минимальной комплектации. Что касается России, то такое правило также имеется, но оно действует лишь при сертификации новых авто. Для остальных машин усовершенствование этого плана возможно только за дополнительную плату.
Самостоятельная установка
При желании и определенном умении можно установить ESP самому. Для этого необходимо знать, какие элементы системы нужны, куда они устанавливаются, как использовать сканер и соответствующее ПО. В остальном надо будет приобрести:
- блок-контроллер;
- СИМ-модуль;
- датчик рысканья;
- штекер.
Неисправности
Сигнал о том, что ESP вышла из строя, поступает на приборную панель, где имеется контрольный указатель. Такая ситуация возможна в результате:
- поломки блок-контроллера;
- обрыва цепи, что преимущественно происходит с датчиками скорости;
- выхода из строя датчика тормозного усилия и т.
д.
В любом случае надо вовремя реагировать на сигнал неисправности. Для конкретизации проблемы требуется проведение компьютерной диагностики.
Вывод
Некоторые автолюбители считают, что ESP – это препятствование нормальному вождению и невозможность выхода из критических ситуаций. Последнее утверждение верно, но отчасти. Процент неадекватного поведения ESP ничтожно мал.
Система, обеспечивающая курсовую устойчивость, эффективна. Она не позволяет водителям вести себя на дроге слишком вольготно. Пресекаются попытки вождения, выходящие за рамки дозволенного. Потеря же мощности на скользких покрытиях в условиях бездорожья покрывается электронной имитацией блокировок, что помогает преодолевать препятствия, когда происходит диагональное вывешивание.
Видео
Несмотря на тот факт, что система электронного контроля устойчивости уже более 15 лет устанавливается на автомобили, большинство водителей до сих пор не понимает как она работает. При этом существует две крайности: одни полностью полагаются на электронику не принимая в расчёт законы физики, а другие твёрдо уверены, что электроника им только мешает.

Попробуем вместе в этом разобраться.
Массовое внедрение систем контроля курсовой устойчивости началось в конце 90-х годов прошлого века. В то же время произошёл один из самых скандальных случаев в истории компании Mercedes, когда представленный осенью 1997 года новый А-класс (без системы стабилизации) позорно перевернулся на прохождении «лосиного теста». Именно этот случай в какой-то мере стал толчком к массовому оснащению автомобилей системами электронной стабилизации.
Первое время система предлагалась в качестве опции на автомобилях представительского и бизнес-класса. Затем она стала более доступной и для более компактных бюджетных автомобилей. В настоящее время система электронного контроля устойчивости является обязательной (в Европе, США, Канаде и Австралии) для всех новых легковых автомобилей начиная с осени 2011 года. А с 2014 года абсолютно все продаваемые автомобили должны быть оборудованы системой ESP.
Как работает ESP
Задача системы стабилизации помочь автомобилю двигаться в том направлении, куда повёрнуты передние колёса.
В простейшем представлении система состоит из нескольких датчиков, контролирующих положение автомобиля в пространстве, электронного блока управления и насоса с раздельным управлением тормозными магистралями каждого колеса (он же используется для работы антиблокировочной системы ABS).
Четыре датчика на каждом колесе с частотой 25 раз в секунду отслеживают скорости вращения колёс, датчик на рулевой колонке определяет угол поворота рулевого колеса, и еще один датчик расположен максимально близко к осевому центру автомобиля — Yaw sensor, фиксирующий вращение вокруг вертикальной оси (обычно это гироскоп, но в современных системах используются акселерометры).
Электронный блок сопоставляет данные о скорости вращения колёс и боковых ускорений с углом поворота рулевого колеса и если эти данные не совпадают, то происходит вмешательство в систему подачи топлива и тормозные магистрали. Важно понимать, что система стабилизации не знает и не может знать правильную траекторию движения , всё что она делает — пытается направить автомобиль в том направлении, куда водитель повернул руль.
При этом система стабилизации способна сделать то, что физически не способен сделать ни один водитель — выборочное притормаживание отдельных колёс автомобиля. А ограничение подачи топлива используется для того, чтобы прекратить ускорение автомобиля и максимально быстро его стабилизировать.
Существует два основных случая отклонения автомобиля с намеченной траектории: снос (потеря сцепления с дорогой и боковое скольжение передних колёс автомобиля) и занос (потеря сцепления с дорогой и боковое скольжение задних колёс автомобиля). Снос возникает в том случае, когда водитель пытается выполнить манёвр на высокой скорости, и передние колёса теряют сцепление с дорогой, автомобиль прекращает реагировать на вращение рулевого колеса и продолжает двигаться прямо. В этом случае система стабилизации затормаживает заднее внутреннее к повороту колесо, тем самым удерживая автомобиль от сноса. Занос обычно возникает уже на выходе из поворота и преимущественно на заднеприводных автомобилях при резком нажатии на педаль газа, когда задняя ось поскальзывается и начинает двигаться наружу поворота.
В этом случае система стабилизации затормаживает внешнее переднее колесо, тем самым гася начинающийся занос.
На самом деле для динамической стабилизации автомобиля используется выборочное торможение с различной интенсивностью не только одного колеса. В некоторых случаях используется торможение двух колёс одной стороны одновременно или даже трёх (кроме внешнего переднего).
Некоторые водители считают, что система стабилизации мешает им ездить, однако простейший эксперимент на ледовой трассе со среднестатистическим водителем за рулём показывает, что без системы стабилизации у него гораздо больше шансов вылететь с трассы, не говоря уже о том, что лучшее время он способен показать только при помощи со стороны электроники.
Если вы не имеете титула мастера спорта по авторалли и при этом уверены, что система стабилизации мешает вам ездить — значит вы просто не умеете ездить правильно и совершенно не знакомы с законами физики, балансом автомобиля и техникой управления автомобилем.
А на дорогах общего пользования не существует ситуаций, где отсутствие системы стабилизации может помочь избежать аварии. Больше всего претензий к системе стабилизации у водителей, которые не понимают простой истины: Электроника пытается направить автомобиль в том направлении, куда повёрнуты передние колёса.
У разных автопроизводителей разные настройки чувствительности и скорости срабатывания системы стабилизации. Это в том числе связано с массой и габаритами автомобиля. Некоторые системы обладают крайне высокой чувствительностью, это сделано потому, что снос и занос проще всего погасить в самом начале, не дожидаясь критических углов отклонения автомобиля от траектории.
Система стабилизации будет лишней только в двух случаях — либо вы хотите эффектно покружиться волчком, либо вы мастер спорта и на гоночной трассе у вас стоит задача проехать как можно быстрее. В этом случае система стабилизации будет мешать использовать управляемый занос для доворота автомобиля (особенно при использовании техники смены скольжения с одной стороны на другую), а ограничение подачи топлива не позволит ускоряться в боковых скольжениях.![]()
При этом даже включенная система стабилизации в разумных пределах позволяет скользить боком в управляемом заносе. Всё, что для этого нужно — не вращать руль в сторону заноса, т.к. это приведёт к моментальному вмешательству электроники (машина скользит в одну сторону, а поворачивая руль вы направляете её в другую). Если же на выходе из поворота вам надо ускориться, а система стабилизации ограничила подачу топлива, то просто поставьте руль прямо, реальное направление движения автомобиля совпадёт с требуемым и система стабилизации прекратит своё вмешательство. То есть необходимо просто ездить правильно, чтобы передние колёса всегда были направлены туда, куда реально едет автомобиль.
Но учиться правильно управлять автомобилем нужно с выключенной системой стабилизации , иначе у вас не будет навыков чтобы определить начало сноса или заноса, и соответственно правильно рассчитывать скорость при выполнении манёвров. Единственной возможностью в случае, если автопроизводитель не предусмотрел возможность отключения электроники штатными средствами — отключить один из датчиков скорости с любого колеса или предохранитель насоса ABS.
При этом следует иметь ввиду, что вы также лишитесь антиблокировочной системы и системы распределения тормозных усилий по осям.
Система стабилизации не в силах изменить законы физики и она эффективна до тех пор, пока не достигнут предел сцепления шин с дорогой. Во всех остальных случаях она является главным элементом активной безопасности любого современного автомобиля.
Зачем автомобилю система стабилизации? Явно напрашивается ответ в стиле Капитана Очевидность. Однако ESP умеет гораздо больше, нежели чем просто удерживать машину на дороге…
Система стабилизации автомобиля
ESC, DSC, VSC, DSTC, VDC, PTM, CST… Как только сегодня не изгаляются маркетологи автомобильных фирм, придумывая оригинальные обозначения для, в общем-то, одной и той же системы — динамической стабилизации.
А началось всё, кстати, ровно 20 лет назад. Когда в 1995 году компания Bosch начала поставлять инновационную на тот момент электронику марке Mercedes-Benz для комплектации дорогущей двухдверки S 600 Coupe.
С тех пор контролем устойчивости обзавелись даже бюджетные малолитражки, а выпуск системы наладили почти два десятка фирм по всему миру. Ещё бы, ведь в Америке и Евросоюзе продажа новых автомобилей без стабилизации в базовом оснащении вот уже несколько лет как запрещена.
Первым серийным с системой стабилизации считается роскошное купе Mercedes-Benz S 600, на котором ESP фирмы Bosch появилась в 1995 году. Впрочем, конкуренты ответили на этот выпад незамедлительно. В том же году свои варианты представили BMW и Toyota, следом подтянулись Audi и Volvo. А сегодня без электроники поддержания курсовой устойчивости в США и Евросоюзе уже не обходится ни одна, даже самая дешёвая, модель
Сразу скажу, в официальной терминологии систему поддержания курсовой устойчивости принято называть ESC — Electronic Stability Control. Но для простоты далее по тексту мы будем использовать именно историческое, знакомое всем, бошевское обозначение — ESP, что значит Electronic Stability Program или же (по-немецки) Elektronisches Stabilitätsprogramm.
На суть дела это не повлияет.
Назначение ESP вроде бы и правда очевидно.
Она призвана помочь водителю удержать машину на дороге, когда возможностей или умений человека за рулем для этого уже не хватает, или если он совершил ошибку. Одно время начинающие журналисты при описании какой-нибудь новой модели даже любили поговаривать, что, дескать, «строгий ошейник ESP мешает опытному пилоту показать всё своё мастерство». Враки, конечно, — современная стабилизация просто так вмешиваться в управление не станет. Хотя в случае опасности может это сделать довольно резко и грубо.
Но всё же доля правды в тех дилетантских словах есть. Ведь если копнуть глубже, то выяснится — на современном ESP работает… практически постоянно! Как же так!? Давайте разбираться вместе.
Как видно из этой схемы, структура ESP немногим сложнее, чем у её прародительницы — ABS. Вся соль системы стабилизации — в другом гидравлическом блоке, новых датчиках и прочных электронных связях с другими системами машины
Сначала поймём, откуда эта самая стабилизация вообще появилась.
Фактически, ESP стала эволюционным развитием антиблокировочной — ABS. Ведь на современных автомобилях она позволяет контролировать тормозной контур каждого из колёс в отдельности. Скорости их вращения отслеживают специальные датчики, а блок управления по этим сигналам оценивает обстановку и выдаёт команду так называемому модулятору — хитрому блоку клапанов и гидроаккумуляторов. Именно он регулирует давление жидкости в каждом тормозном механизме, при необходимости оперативно его сбрасывая посредством откачивающего насоса с электроприводом. И вот однажды инженеры подумали — а почему бы этот самый насос не заставить работать как бы в обратную сторону? Чтобы, когда потребуется, не растормаживать, а наоборот — притормаживать одно из колёс?
Принцип работы системы стабилизации уже многим известен. Так что мы не будем на этом подробно останавливаться. А тем, кто с ESP знаком мало, рекомендуем посмотреть этот наглядный видеоролик — в нём всё доходчиво объясняется
Сказано — сделано.
Так в середине 80-х годов прошлого века, задолго до дебюта самой ESP, родилась её первая «побочная» функция. На мощных моделях Toyota, Mercedes-Benz и BMW стали применять Traction Control (TC), то есть антипробуксовочную систему. Её назначение ясно из названия. Но всё же на всякий случай напомним, что она срабатывает, если водитель слишком сильно давит на газ, и колёса срываются в пробуксовку. Тогда, чтобы восстановить сцепление с дорогой, электроника задействует штатные тормоза и, если потребуется, уменьшает тягу двигателя. Алгоритм довольно примитивный, но эффективный. Наверное, каждый из нас зимой наблюдал в комбинации приборов жёлтую моргающую лампочку — признак работы TC. Без него стартовать на льду со светофора было бы гораздо сложнее, не так ли? Заднеприводные модели могут так вообще остаться на месте…
Так выглядит начинка рабочего модуля ESP. Не правда ли, впечатляет, сколько всего помещается в этой маленькой коробочке? Кстати, инфографика компании Bosch наглядно показывает, что с развитием системы стабилизации её главный блок становился не только легче и компактнее, но и «умнее» — память микропроцессора неуклонно увеличивалась
Но технологии шли вперёд.
И постепенно электронный контроль появился не только в моторах, коробках передач или тормозах, но и в едва ли не в каждой системе машины. Это и привело к прорыву в области активной безопасности — появлению полноценной ESP. По сути, её блок управления стал главным органом чувств автомобиля. Сюда направили информацию от датчиков продольного и поперечного ускорений, поворота руля, вращения относительно вертикальной оси, нажатия на акселератор и тормоз, скорости вращения колёс и т.д., и т.п. Компьютер в режиме реального времени сравнивает текущие показатели с заложенными в память и оценивает — сможет ли, например, этот лихой водила при такой езде удержаться на траектории в повороте? Нет? Значит, пора принимать меры спасения.
Собственно, маркетологи сразу нашли, как за это зацепиться, чтобы привлечь больше покупателей. И попросили инженеров поставить в салоне автомобиля «волшебную» кнопку. В зависимости от назначения и типажа машины водителю разрешили или совсем вырубать ESP (что полезно, например, для внедорожников), или ограничивать её помощь.
На моделях со спортивным уклоном это даёт возможность почувствовать себя крутым дрифтером без опаски убраться в первом же вираже. А Ferrari так пошла ещё дальше и научила свою стабилизацию поддерживать постоянный угол заноса — ведь раз человек отвалил такие деньги за суперкар, у него нет права опозориться.
Набирающие популярность системы активного круиз-контроля и автоматического аварийного торможения были бы невозможны без ESP. Каким бы способом не измерялась дистанция до препятствия впереди, команда на экстренную остановку в любом случае реализуется через модуль системы стабилизации. Кстати, даже если водитель в последний момент сам среагирует на опасность, остановиться ему всё равно будет проще. Ведь ESP заранее поднимет давление в системе и подведёт колодки к дискам
Но есть у ESP и другие «секретные» функции, о которых рядовой автолюбитель обычно вообще не подозревает. Вот, например, распространённый случай. Дама в красках описывает подруге, как перед ней на светофоре резко затормозил какой-то идиот.
Остановилась наша героиня в считанных миллиметрах от его бампера. Чуть бы зазевалась — и на тебе ДТП. И невдомёк нашей барышне, что ESP, скорее всего, сработала даже при торможении. Ведь, как показывает статистика, большинство из нас в экстренной ситуации бьёт по педали тормоза резко, но недостаточно сильно. Поэтому остановочный путь оказывается больше, чем мог бы быть. А электроника по нарастанию давления в системе это видит и активирует насос модулятора. Соответственно, тормозные механизмы развивают максимально возможное для данных условий усилие. Обычно такую функцию называют Brake Assist — ассистент торможения. Кстати, она может помочь не только хрупким барышням, но и брутальным мужикам, у которых на сухом асфальте и хороших покрышках тоже не хватает сил, чтобы «продавить» педаль до срабатывания ABS.
Теперь же я рискую навлечь на себя гнев автодилеров и маркетологов, поскольку раскрою их страшную тайну. Изрядная часть подобных водительских ассистентов и систем, которые зачастую входят в список опций и стоят немалых денег, на поверку оказываются… просто программными функциями ESP! Поскольку никаких дополнительных деталей в данном случае не требуется.
Для активации продвинутых возможностей в буквальном смысле обычно достаточно поставить галочку в системном меню соответствующего блока управления. Само собой, для этого нужен диагностический сканер. Но такие вещи сегодня стоят копейки, так что энтузиасты многих автоклубов поставили электронный апгрейд своих машин на поток.
Когда тормоза обычного дорожного автомобиля раскаляются, их эффективность падает. Чтобы этого не заметил водитель, ESP автоматически повышает давление в системе, сильнее прижимая колодки к дискам. Получается своего рода дополнительный гидроусилитель тормозов
А между тем, практически бесплатно можно получить весьма полезные вещи. В частности, на многих моделях концерна Volkswagen легко активируется функция XDS — имитация динамической блокировки дифференциала. В поворотах ESP станет подтормаживать внутреннее разгруженное колесо, направляя крутящий момент на внешнюю шину, имеющую лучший зацеп. Тем самым, вы станете реже вспоминать, что такое снос передней оси.![]()
Также легко можно подключить ассистент трогания на подъёме. В этом случае при отпускании педали тормоза ESP будет несколько секунд сохранять давление в тормозных механизмах — до тех пор, пока тяги мотора не станет достаточно для уверенного старта без отката назад.
Удивительно, но ESP умеет измерять даже… давление в шинах! Не напрямую, конечно, а косвенно — при помощи датчиков скорости вращения колёс. Работает простая математика. Если шина спустила, значит, её диаметр стал меньше, соответственно крутится она теперь быстрее других. Это и отслеживает блок управления. Появились подозрения на утечку воздуха? Водитель тут же увидит предупреждение в комбинации приборов.
Скандал с переворотом Mercedes-Benz A-класса во время «лосиного теста» в 1997 году не только ускорил внедрение ESP, но и привёл к появлению ещё одной чисто программной функции — защиты от опрокидывания. Суть этого ассистента в том, что электроника отслеживает не только собственно скольжения, но и уровень боковых ускорений, который при данной загрузке машины может привести к её перевороту.
Сейчас функцией ROP (Rollover Protection) располагают многие внедорожники, пикапы и кабриолеты. Причём у последних ESP отвечает ещё и за активацию выдвижных дуг безопасностиТакже косвенно ESP способна определить наличие прицепа. Раз замкнулся электроразъём (попросту — розетка) «фаркопа», значит, автомобиль превратился в тягач. Теперь система перестроит свои алгоритмы с тем расчётом, чтобы исключить характерные колебания кормы и «болтанку» — электроника просто станет в противофазе подтормаживать передние колёса. Опять же неимоверно просто, но насколько полезно!
Хотите ещё волшебства? Пожалуйста! Как вам связь ESP со стеклоочистителями и датчиком дождя? Когда они срабатывают, электроника понимает — начинается ливень, на дороге влажно и скользко. Тормозной путь будет увеличиваться. Чтобы хоть немного исправить ситуацию, модулятор поднимет давление в тормозных трубках и станет циклически подводить колодки к дискам, срезая на них водяную плёнку. Водитель этого даже не замечает, а механизмы приводятся в боевую готовность…
Святая святых — рулевое управление и то попало под вездесущее око ESP.
Представьте: автомобиль заносит, водитель начинает крутить руль, но явно промахивается, допустим, не хватает опыта. Не беда! Электроника заставит электроусилитель подсказывать импульсами усилия, куда и на какой угол повернуть «баранку». Переусердствовал? Ощутишь тяжесть. Руль полегчал? Значит, всё делаешь верно. Кстати, этот же ассистент помогает при торможениях на миксте. Когда, например, левые колёса оказались на асфальте, а правые съехали на грунтовую обочину. Обычную машину тут же начнёт разворачивать, а оснащённую ESP — нет.
При необходимости стабилизация может вмешаться и в работу автоматической трансмиссии, на время заблокировав в ней переключения, чтобы скачки тяги на колёсах не нарушали баланс автомобиля.
Различные варианты имитации блокировок межколёсных дифференциалов — исключительно программная функция ESP. То есть для её реализации не нужны дополнительные датчики или детали. Тем не менее, например, владельцам кроссоверов с короткоходными подвесками этот ассистент здорово помогает на off-road
Даже на бездорожье ESP нашлось применение.
Видели, как умело современные кроссоверы без жёстких блокировок справляются с диагональным вывешиванием и прочими затруднительными ситуациями? Разгруженные колёса помолотят в воздухе немного, как вдруг автомобиль дёрнется и медленно поедет дальше. Это ESP перераспределяет тягу на покрышки, имеющие лучший контакт с грунтом. Кстати, именно датчики системы стабилизации позволили реализовать превентивное срабатывание автоматического полного привода. Муфта для передачи тяги на заднюю ось на современных SUV замыкается не по факту пробуксовки передних колёс (когда порой уже поздно), а по тревожному сигналу блока ESP.
А вот впереди крутой спуск. Активируем Hill Descent Control (HDC) — ассистент спуска с холма. Отпускаем все педали и вуа-ля! Автомобиль под хруст тормозов плавно и ровно скатывается вниз. Опять же стоит сказать спасибо ESP — это тоже часть её программы.
Благодаря системе стабилизации едва ли не каждый полноприводный кроссовер обзавёлся ассистентом спуска с холма. Водителю надо просто задать курс рулём и отпустить обе педали.
А электроника сама поддержит нужную скорость и подстрахует от разворота на склоне
И, повторюсь, всё это может быть реализовано на одной агрегатной базе, без серьёзной доработки начинки машины. В компьютерном мире такая фантастика называется читерством, сродни вводу в игре секретного кода на вечную жизнь или бесконечные патроны. Но в автомобильной среде за такое не наказывают. В конце концов, задача у нас всех общая — победить дорогу. Поэтому ESP действительно работает почти всегда: и при старте с места, и в движении, и при замедлении… Так что рассматривать систему стабилизации только лишь как средство последней надежды в наши дни уже неправильно.
Система стабилизации автомобиля (ESP)
5 (100%) проголосовало 3Добрый день, уважаемые читатели.
В этой статье из серии «Системы безопасности автомобиля» речь пойдет о системе активной безопасности ESP . ESP — Electronic Stability Program — система динамической стабилизации или система курсовой устойчивости .
Так же как и рассмотренная в предшествующей статье серии , система ESP служит не для устранения аварии, а для ее предотвращения.
Однако в отличие от той же , система динамической стабилизации распространена еще не слишком сильно, и на относительно недорогих зарубежных и тем более отечественных легковых автомобилях ее встретить пока невозможно.
Полагаю, что это дело времени, и лет так через 5 esp станет общепринятым стандартом, а автомобилей без этой системы просто не будут выпускать.
Пришло самое время перейти к подробному рассмотрению системы, однако для начала я хочу привести пример ситуации, в которой esp могла бы помочь избежать ДТП.
Ситуация, в которой ESP могла бы предотвратить ДТП
Итак, предлагаю Вам ознакомиться с видео, в котором автомобиль попадает в занос на сухой дороге и провоцирует ДТП:
Как Вы уже поняли при просмотре видео, виновником ДТП является автомобиль, который попал в занос. Хотя на самом деле нарушают чуть ли не все участники инцидента.
Система ESP позволяет избежать именно таких заносов, например, возникших при попадании колеса или нескольких колес автомобиля на обочину.
Как работает система динамической стабилизации
Постараюсь описать принципы работы системы динамической стабилизации максимально просто, чтобы у Вас не осталось никаких вопросов.
ESP работает следующим образом : система контролирует положение рулевого колеса автомобиля и его реальное направление движения. До тех пор, пока автомобиль едет строго по направлению руля, система не вмешивается в работу.
Однако в том случае, если траектория автомобиля вдруг перестанет соответствовать положению рулевого колеса (такое может произойти в случае заноса или сноса), система немедленно вмешается и поможет водителю избежать ДТП.
Конечно же в реальности работа системы протекает более сложно. ESP является расширением и во многом задействует устройства и механизмы, которые присутствую в ABS. Однако для ESP необходимо наличие также акселерометра (датчика, определяющего реальное направление движения автомобиля) и датчика, определяющего положение рулевого колеса автомобиля.
В случае расхождения результатов двух вышеперечисленных датчиков система ограничивает тормозные усилия, прикладываемые к одному или нескольким колесам (заставляя их тормозить меньше), а в некоторых случаях вмешивается и в работу двигателя (заставляя автомобиль разгоняться или притормаживать).
Система курсовой стабилизации автомобиля в движении имеет 20-летнюю историю развития, в течение которой она получила всеобщее признание, и применяется в настоящее время практически на всех моделях современных автомашин. Она предназначена для автоматической корректировки курсового положения автомобиля в условиях заноса.
ESP стабилизирует положение автомобиля в условиях заноса
Каждый производитель автомобильной техники систему курсовой устойчивости на своих моделях называл по-разному. Поэтому она имеет много разных сокращённых наименований, способных ввести в заблуждение неискушённых автолюбителей. Первые автоматы курсовой стабилизации немецких автомобилей Mercedes Benz и BMW получили название Elektronisches Stabilitatsprogramm.
ESP и его синонимы
Аббревиатура этого наименования ESP получила самое большое распространение и применяется практически европейских и американских производителей авто. На других моделях можно встретить такие сокращения и названия системы курсовой устойчивости:
- на моделях Hyundai, Kia, Honda её принято называть Electronic Stability Control ESC;
- на моделях Rover, Jaguar, BMW устанавливается динамический стабилизатор управления Dynamic Stability Control – DSC;
- на Volvo она носит название Dynamic Stability Traction Control – DTSC;
- на японских марках Acura и Honda она получила название Vehicle Stability Assist – VSA;
- на «Тойотах» применяется наименование Vehicle Stability Control — VSC;
- такое же оборудование под именем Vehicle Dynamic Control (VDC) используется на авто марки Subaru, Nissan и Infiniti.
Несмотря на большое количество имён, всё это оборудование используется для достижения одной цели – помочь водителю справиться с управлением на скользкой, мокрой или покрытой гравием дороге, где маневрирование автомашины приводит к заносам и потере курса.
Система курсовой устойчивости глазами экспертов
Основная цель этой системы состоит в предотвращении срыва автомобиля в занос и бокового скольжения за счёт изменения передаваемого момента вращения на одно из колёс ведущей пары.При этом происходит предотвращение дальнейшего развития начавшегося заноса и стабилизируется положение машины на траектории перемещения во время выполняемого манёвра на скользкой дороге. В отдельных технических источниках она называется противозаносной системой, потому что такая ESP в автомобиле устраняет заносы и обеспечивает этим устойчивость удержания курса.
Эта картинка хорошо иллюстрирует работу системы ESP, которая удерживает автомобиль в крутом повороте
Действенность использования оборудования автоматической курсовой стабилизации подтверждается научными изысканиями, проведёнными экспертами американского института IIHS. По результатам проведённых исследований было выявлено, что использование ESP в автомашинах, попавших в дорожное происшествие, сократило смертность ДТП от 43 до 56%.
Случаи переворачивания авто со смертельным исходом снизились на 77-80%. Автомобиль, оборудованный ESC, имеет значительно меньшую вероятность опрокидывания по сравнению с необорудованным автомобилем.
Данные германских страховых компаний свидетельствуют о том, что 35-40% всех смертельных ДТП могли бы быть предотвращены либо иметь более благоприятный исход, если бы на авто их участников была установлена система курсовой устойчивости. По мнению экспертов, данное оборудование однозначно оказывает помощь автолюбителю в экстремальных ситуациях. Оно во многих случаях является палочкой-выручалочкой малоопытных автолюбителей.
Устройство и работа оборудования ESP
Современное оборудование контроля курсовой стабильности работает в комплексе с системой антиблокировки колёс ABS, заодно используя её механизмы. Единый комплекс этих двух систем работает согласованно, выполняя одновременно несколько процедур по обеспечению безопасного движения автомобиля. Структура системы курсовой устойчивости состоит из:
- управляющего блока, представляющего собой контроллер, непрерывно сканирующий состояние различных сигнализаторов и считывающий их сигналы;
- датчики АБС, определяющие скорость вращения колёс;
- датчики разворота рулевого колеса;
- датчики давления в цилиндрах тормозов;
- G-сенсор, прибор чувствительный к боковой скорости и ускорению автомобиля и фиксирующий появление скольжения в боковом направлении.

Таким образом, на входах контроллера постоянно имеется информация о скорости движения, об угле разворота руля, оборотах двигателя, давления в цилиндрах тормоза, об угловой скорости поперечного скольжения и её градиенте. Информация с датчиков непрерывно сравнивается с расчётными данными, запрограммированными в контроллере. При наличии отклонений контроллер вырабатывает корректирующие управляющие сигналы, поступающие на исполнительные механизмы тормозных цилиндров, подтормаживающие соответствующие колёса для возвращения траектории движения автомобиля к расчётной кривой.
Выбор подтормаживающих колёс и степень их торможения определяется системой автоматически и индивидуально, в зависимости от возникающей ситуации. Для автоматического торможения колёс применяется гидравлический модулятор ABS, который создаёт дополнительное давление в тормозных цилиндрах. В то же время в систему подачи топлива на двигатель поступает опережающий сигнал, уменьшающий поступление горючей смеси.
В результате одновременно с торможением осуществляется уменьшение вращающего момента, подаваемого на колесо.
Примеры и особенности работы системы ESP
Чтобы наглядно представить, что такое ESP в автомобиле, обратите внимание на рисунки.
На этой иллюстрации все прекрасно видно и понятно
На данной картинке показаны линии вероятного движения автомобиля при превышении максимально допустимой скорости вхождения в крутой вираж на трассе. При повороте руля начинается занос машины. На левом рисунке красным пунктиром показана линия движения автомобиля без ESC при торможении водителем (машину разворачивает поперёк с выездом на встречную полосу). На правом рисунке красным пунктиром обозначена траектория движения без торможения, когда машину выносит в кювет. Зелёной линией и факелами на обеих картинках обозначены траектория движения автомобиля, оборудованного системой ESC, и колёса, которые автоматически подтормаживаются системой при появлении заноса.
Благодаря выборочному торможению системы ESP происходит стабилизация направления движения автомобиля
Система контроля срабатывает и действует в любых ситуациях, будь то разгон, накат или торможение.
Алгоритм работы схемы контроля определяется возникающей ситуацией и системой привода колёс. Например, если при повороте машины влево срабатывает датчик заноса заднего моста, то ESC сокращает подачу топлива в двигатель и замедляет скорость. Если данная мера не устраняет занос, то происходит частичное торможение переднего правого колеса. За этой операцией следует дальнейшее действие по установленной программе, пока не будет устранено возникшее боковое скольжение задних колёс.
В ESP предусмотрена возможность регулирования трансмиссии в автомобилях с электронным . В таких автомобилях происходит автоматическое переключение на низшую передачу при появлении скольжения по аналогии с зимним способом вождения. Опытные водители, которые привыкли ездить на предельных скоростях и возможностях, отмечают, что система стабилизации курса мешает водить автомашину в таком режиме.
Система стабилизации машины ESP. Принципы управления
Такие ситуации могут возникать в определённые моменты, когда требуется увеличить тягу двигателя, а система контроля наоборот уменьшает её, устраняя скольжение автомобиля.
Для таких случаев конструкторы устанавливают выключатели, с помощью которых можно принудительно отключить контрольную систему и осуществлять полностью ручное управление автомашиной.
Оборудование автоматической стабилизации курса входит в бортовой комплекс активной безопасности машины. Основное достоинство системы в том, что оборудованный ею автомобиль становится более послушным и нетребовательным к квалификации водителя. От него требуется только поворачивать руль, а система уже дальше самостоятельно выполняет все необходимые действия для правильного выполнения манёвра.
Однако всегда нужно помнить, что эта система также имеет пределы своих возможностей. При слишком большой скорости или слишком маленьком радиусе поворота даже самая совершенная система контроля устойчивости не сможет спасти машину от неконтролируемого заноса и переворота
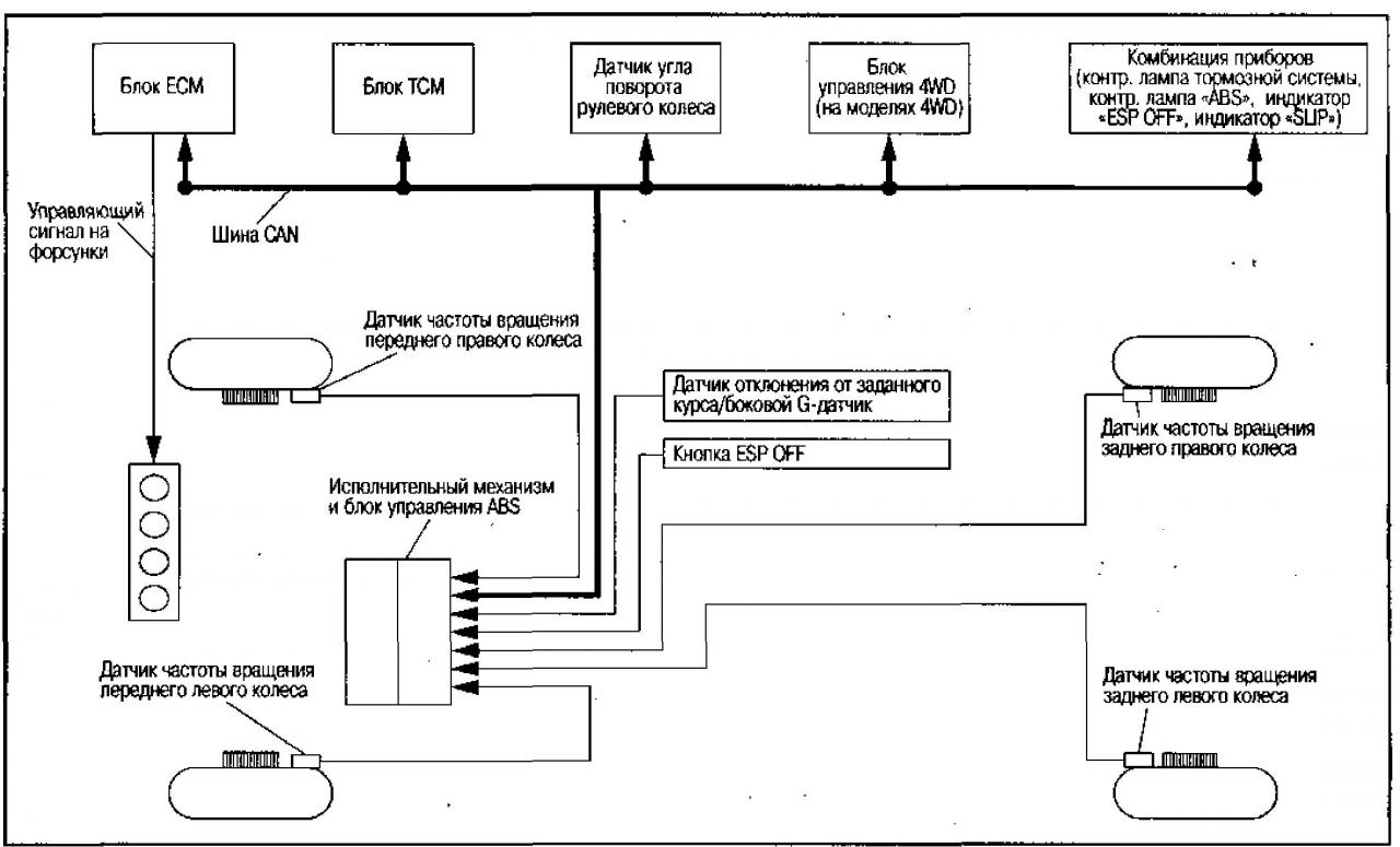
Электронный контроль устойчивости | Analog Devices
ADXC1500 – это гироскоп угла рыскания и двухосевой акселерометр, объединенные в одном корпусе.
Компонент предназначен для электронного контроля стабильности (ESC) и других высокотехнологичных областей применения, где требуется одновременное измерение скорости вращения по углу рыскания и ускорения. Внутренний датчик температуры осуществляет компенсацию показателей смещения и стабильности, обеспечивая превосходную стабильность в температурном диапазоне от −40°C до +105°C.
Для передачи измеренных значений ускорения и скорости вращения по углу рыскания в управляющий микроконтроллер используется интерфейс последовательного порта (SPI). Для обнаружения ошибок при передаче данных через SPI применяется 4-разрядный циклический проверочный код с избыточностью (CRC), а целостность измеренных показаний ускорения и скорости вращения обеспечиваются внутренними процедурами обнаружения отказов. Для контроля работоспособности каждого из элементов, выполненных по технологии МЭМС, используется полностью интегрированная процедура непрерывного электромеханического самотестирования (CST), которая обеспечивает возможность диагностики в процессе эксплуатации.
Усовершенствованная схема гироскопического датчика обеспечивает подавление эффектов линейного ускорения, вызванных ударными нагрузками и вибрацией, что позволяет использовать ADXC1500 в жестких рабочих условиях. Сигнальная цепочка акселерометра разработана таким образом, чтобы обеспечить функционирование при перегрузках, вызванных работой в тех же жестких условиях.
ADXC1500 работает с напряжением питания 3.3 В или 5 В. Благодаря потребляемому току менее 16 мА ADXC1500 может использоваться в задачах, где требуется повышенная энергоэффективность.
Области применения
- Электронное управление стабильностью
- Управление автомобильными стабилизаторами
За что отвечает система ESP на «Ладе Весте»? 🦈 AvtoShark.com
Обычно отечественный аналог ESP – ЕСЦ на «Весте» работает постоянно. Отключать его рекомендуется для возврата ручного контроля над маневренностью и скоростным режимом автомобиля.
Владельцы «Лады» Vesta сами решают – оснащать свое авто блоком стабилизации и устойчивости ESP (ESC в каталоге АвтоВАЗа) или же отключить предохранитель курсового управления на панели приборов в салоне. Но кто знает, как работает ЕСП на «Весте», обязательно выберет эту опцию из дополнительного списка к базовым настройкам авто.
Что это такое
Electronic stability program (ESP) – система электронного контроля устойчивости, которая срабатывает при опасной траектории движения, принудительно выравнивает положение автомобиля за счет торможения.
Если вы стали владельцем новой машины, протестируйте, как работает ЕСП на «Весте» на сложных дорожных участках. 78% автолюбителей довольны этой опцией. Курсовая устойчивость «Лада Веста» показывает себя при движении по обледенелой дороге, при входе в крутые повороты.
Как работает система ЕСП
Безотказно работает ЕСП на «Весте» при заносах и резких маневрах, не допуская агрессивного неконтролируемого вождения. Компьютерные продольные и поперечные датчики ускорения мгновенно считывают положение машины, распознают потерю устойчивости на дороге, вхождение в опасную траекторию и совместно с АБС (антиблокировочной системой) автоматически сбрасывают скорость, притормаживают, выравнивая положение авто на дороге.
Если отключить ESP на «Весте», тогда не сработает система стабилизации транспортного средства за счет торможения заднего колеса с внутренней стороны и антипробуксовочная система.
Индикатор ESP
Индикатор Vesta ESP (ESC) установлен на панели приборов.
Имеется возможность отключить ЕСП на «Весте» в одно нажатие. Как следствие, система не будет ограничивать крутящий момент на ведущих колесах авто, притормаживать, помогая плавно вписаться в поворот, не допуская срыва авто в занос или неконтролируемого скольжения.
Включаться ESC «Лада Веста» может также автоматически при наборе скорости или при очередном включении зажигания. Помните, что желтый цвет индикатора означает отключение ESP на «Весте» – система временно прекращает работать.
Как включить курсовую устойчивость на «Весте»
ЕСЦ как аналог ЕСП входит в базовую комплектацию «Лада Веста». При движении по сложным участкам дороги автоматически работает на «Весте» курсовая устойчивость, базируясь на показаниях датчиков.
ESP входит в базовую комплектацию «Весты»
Электроника на больших скоростях обязательно «вмешается» в управление: ослабит и перераспределит тормозные усилия, уменьшит крутящий момент колес, чтобы вернуть машине безопасную траекторию движения.
Когда надо отключить ЕСП
Обычно отечественный аналог ESP – ЕСЦ на «Весте» работает постоянно. Отключать его рекомендуется для возврата ручного контроля над маневренностью и скоростным режимом автомобиля в следующих случаях:
- при движении по заснеженной дороге на подъем;
- по бездорожью после проливных дождей;
- при затяжном подъеме;
- при скоростной езде;
- при участии в любительских гонках на оборудованных треках;
- на время сложного маневрирования;
- при потребности осуществить быстрый старт и набор скорости;
- на участках дороги с песком или мелким гравием.
Помните, что выключение ЕСП на Vesta «Кросс» седан спровоцирует рост процента «работы» водителя рулем и газом на поворотах и крутых спусках-подъемах.
Как отключить курсовую устойчивость на «Весте»
Разработчики Lada Cross заверили автолюбителей, что индикатор ESP можно отключить одним нажатием, не покидая салон. Загораться датчик будет в том случае, если работа системы принудительно завершена.
Если появилось желание выключать ЕСП навсегда, во время длительной остановки или до момента старта:
- Загляните под капот и отыщите в монтажном блоке моторного отсека группу предохранителей.
- Отключите только один, отвечающий за работу ESC, – F62 (40 A) оранжевый контроллер системы курсовой устойчивости.
Предохранитель ESP
Несложно эту процедуру сделать самостоятельно, без участия автоэлектриков.
Почему не отключается ESP
Сидите в салоне, машинально нажимаете на индикатор, но все равно не отключается ESP на «Весте»? Рекомендуется нажать и удержать кнопку несколько секунд, пока датчик не загорится оранжевым цветом. Система электронного контроля устойчивости может автоматически включаться при резком наборе скорости до 60-70 км/ч.
Экстренное отключение ESP
Экстренное отключение ESP не такое уж и немедленное. Ведь водителю надо будет остановиться, заглушить мотор, выключить зажигание, дать машине остыть, и только в этом случае демонтировать в моторном отсеке один-единственный предохранитель, отвечающий за ESP и АБС.
Можно и в салоне нажать на индикатор, дождаться отключения системы, потом уже осторожно маневрировать, набирая скорость до 40 км/ч и не больше, иначе сработает автоматика.
ESP на «Весте» работает слаженно и имеет кнопку отключения функционала курсовой устойчивости.
Система курсовой устойчивости на лада веста. Как работает esc Лада веста есп зимой
аббревиатуры
Вопросы & Ответы
аббревиатуры
ЭКУ (Система электронного контроля устойчивости). См. ESC
ESC (Electronic Stability Control) — Электронный контроль устойчивости.
ESP ® (Electronic Stability Program) — Программа электронной стабилизации BOSCH . См. ESC.
ABS (Anti-lock Braking System) — Антиблокировочная система
Автоматизированная система предотвращающая блокировку колёс автомобиля в случае торможения. Главной задачей системы является обеспечение управляемости транспортного средства при резком торможении.
ASR (Antriebs Schlupf Regelung) — Антипробуксовочная система (АПС )
Логичное продолжение развития антиблокировочной системы ABS . Данная система существенно упрощает управление автомобилем на влажной или сырой трассе. См. TCS
TCS (Traction Control System) — Антипробуксовочная система / Система контроля тяги
Электрогидравлическая система автомобиля, предназначенная для предотвращения потери тяги посредством контроля за пробуксовкой ведущих колёс. Активируется при склонности одного из ведущих колес к пробуксовке.
BAS (Brake Assist System) — Усилитель экстренного торможения
Система предназначена для помощи при экстремальном торможении. Работает совместно с системами ABS
и EBD.
Система оценивает, с какой скоростью была нажата педаль тормоза, другие датчики фиксируют скорость вращения колеса и скорость автомобиля. Если скорость большая и педаль тормоза нажата очень быстро, то система BAS
, заставляет работать тормоза на полную мощь, но не блокируя работу ABS
.
HSA (Hill Start Assist) — Система помощи при трогании на подъеме
Облегчает старт за счет поддержания тормозного давления в течение около 2 секунд после отпускания педали тормоза. У водителя появляется достаточно времени на перенос ноги с педали тормоза на педаль газа без использования ручного тормоза. Машина спокойно трогается с места, не откатываясь назад, что намного повышает комфорт и безопасность вождения.
TPMS (Tires Pressure Monitoring System) — Система контроля давления в шинах
Предназначена для предупреждения об опасном изменении давления в шинах. Падение давления в шине влечет за собой изменение угловой скорости колеса. Путем сравнения скоростей вращения колес выявляется потенциально сдутое колесо. Эта дополнительная функция позволяет контролировать давление в шинах без использования датчиков давления в шинах.
HBA (Hydraulic Break Assist) — Гидравлический усилитель торможения
Гидравлический усилитель тормозов распознает угрозу экстренного торможения, контролируя положение педали тормоза и градиент давления.
Если водитель тормозит недостаточно сильно, то гидроусилитель тормозов увеличивает тормозное усилие до максимума. Тормозной путь сокращается.
EBD (Electronic Brake Distribution) — Электронный регулятор тормозных усилий
Система распределения тормозных усилий предназначена для предотвращения блокировки задних колес за счет управления тормозным усилием. При резком торможении автомобиля происходит дополнительное уменьшение нагрузки на заднюю ось, так как центр тяжести смещается вперед. А задние колёса, при этом, могут оказаться заблокированными.
Вопросы и ответы
Для чего мне ESC ?
Не менее 40% всех смертей в ДТП – результат заноса. Исследования показали, что ESC может предотвратить до 80% всех ДТП, происходящих из-за заноса.
В чем разница между ESC и ESP® ?
Принцип действия и эффект всех систем динамической стабилизации в плане безопасности движения одинаков. Разница лишь в названии и производителе данных систем.
Как работает ESC?
В ESC используется ряд «умных» датчиков, фиксирующих потерю управления.
Система с частотой 25 раз в секунду сравнивает заданную водителем траекторию с фактической. При их несовпадении, и если автомобиль становится неуправляемым, срабатывает ESC. Уменьшается мощность двигателя, чтобы восстановить устойчивость автомобиля. Если этого недостаточно, то система дополнительно притормаживает отдельные колеса. Результирующее поворотное движение автомобиля противодействует заносу. В пределах физических возможностей автомобиль сохраняет курсовую устойчивость.
Можно ли дооснастить автомобиль системой ESC?
Нет. ESC нельзя установить на машину, где ее не было. Поэтому при покупке автомобиля изначально примите правильное решение.
Нужно ли включать ESC при запуске двигателя?
Нет. При работающем двигателе система активна всегда. Некоторые модели оборудуются выключателем ESС. При нажатии на него, как правило, деактивируется TCS (Противобуксовочная Тормозная Система), в то время как функции программы электронной стабилизации сохраняются. Отключение сигнализируется контрольной лампой на панели приборов.
Нужно ли менять стиль вождения при управлении автомобилем с ESС?
Нет. Менять стиль вождения не требуется. ESСпросто поддерживает водителя в критических ситуациях – при угрозе заноса. Тем не менее, вы должны быть всегда внимательны и соблюдать осторожность на дороге.
Отличается ли ESCот антиблокировочной (ABS) и противобуксовочной систем (TCS)?
ESС объединяет в себе все компоненты ABS и TCS, при этом дополнительным преимуществом является динамическая стабилизация автомобиля. Предотвращая блокирование колес, ABS сохраняет управляемость автомобиля в случае экстренного торможения. TCS предотвращает пробуксовывание колес при резком разгоне, обеспечивая оптимальную тягу. В то время как ABS и TCS работают в продольном направлении, ESC помогает противодействовать боковым смещениям, приводящим к заносу.
Занос — одна из основных причин тяжелых ДТП. Мокрое дорожное покрытие, неожиданный крутой поворот или внезапно появившееся на дороге препятствие, вынуждающее водителя к резкому маневру или торможению значительно повышают опасность срыва в занос.
И это относится даже к опытным водителям.
Она отвечает за курсовую устойчивость автомобиля, предотвращая его боковое скольжение, срыв в занос и вращение, когда водитель из-за недостатка времени или опыта не может выполнить нужный маневр самостоятельно. В результате автомобиль всегда остается на выбранной водителем траектории.
Система ESC объединяет в себе функции ABS и TCS, а кроме того, обеспечивает контроль устойчивости автомобиля. Система помогает водителю в любой дорожной ситуации. Она определяет опасность опрокидывания и применяет торможение отдельных колес или снижает мощность двигателя, чтобы восстановить устойчивость автомобиля.
Система электронного контроля устойчивости (ESC):
Не оставляет заносу ни единого шанса
Потеря контроля при прохождении поворота
Водитель превысил скорость, из-за чего ему пришлось резко тормозить в крутом повороте.
В обычной ситуации, автомобиль под воздействием силы инерции должен был бы заскользить на обочину.
Система ESC притормаживает заднее колесо, движущееся по внутреннему радиусу поворота, уменьшив радиус движения и позволив автомобилю благополучно вписаться в вираж.
Внезапно появившееся препятствие
При внезапном возникновении препятствия, экстренного торможения может оказаться недостаточно. Для предотвращения столкновения водителю нужно тормозить и выполнять маневр уклонения одновременно.
Поскольку колеса автомобиля без ESC блокируются, то машина перестает реагировать на повороты руля и уклониться от столкновения с препятствием становится невозможным и автомобиль срывается в занос.
Система ESC притормаживает переднее колесо, движущееся по внешнему радиусу поворота и автомобиль уверенно объезжает препятствие.
Юбилей безопасности
BOSCH отмечает очередной юбилей. В 2015 году исполняется 20 лет с момента разработки и внедрения программы электронной стабилизации автомобиля ESP® .
История успеха компании началась в 1978 г., когда она первой в мире создала и запустила в серийное производство ABS – антиблокировочную систему с электронным управлением, которая стала основой для всех следующих систем активной безопасности.
В 1986 г. за ней последовала противобуксовочная система ASR/TCS,
а в 1995 г. – программа электронной стабилизации ESP® / ESC.
Уже с 2009 года BOSCH совместно с АВТОВАЗом реализует в нашей стране программу популяризации систем активной безопасности автомобиля среди российских автомобилистов.
Сегодня производятся модели LADA Granta и LADA Kalina , которые оснащены системой электронного контроля устойчивости (ESC).
Для LADA Vesta система ESC будет входить
во все базовые комплектации.
Система ESC активна постоянно. Сигналы датчиков обрабатываются микрокомпьютером, который с частотой 25 раз в секунду проверяет, соответствуют ли управляющие усилия водителя фактическому направлению движения. Если автомобиль движется в другом направлении, то система распознает критическую ситуацию и немедленно реагирует на нее – независимо от водителя.
Для возвращения автомобиля на заданную траекторию здесь используется тормозная система. Благодаря выборочному притормаживанию отдельных колес, система создает нужную противодействующую силу, и машина ведет себя так, как того хотел водитель.
Система ESC не только инициирует вмешательство тормозной системы, но может также заставить двигатель ускорить ведущие колеса. Таким образом, в пределах законов физики, автомобиль надежно удерживается на заданной траектории.
Обмен данными с
блоком управления двигателем
По шине обмена данными блок управления ESC сообщатся с блоком управления двигателем. В определенных ситуациях может уменьшить крутящий момент двигателя, когда водитель слишком сильно давит на педаль газа. Также можно скомпенсировать излишнюю пробуксовку ведущих колес, вызванную тормозным моментом двигателя.
Датчик угла поворота руля
Определяет положение рулевого колеса. На основе угла поворота руля, скорости автомобиля и тормозного давления или положения педали газа, вычисляется заданная водителем траектория движения.
Датчик угловой скорости колеса
Блок управления использует информацию датчиков угловых скоростей колес. Датчик бесконтактный и измеряет скорости вращения колес через магнитное поле.
Он может определять направление вращения и неподвижное состояние колеса.
ESP® распознает критическую ситуацию и немедленно реагирует на нее – независимо от водителя
Гидроагрегат с блоком управления
Для тех, кто не в курсе, что это за звери такие: ABS и ESP.
Система ABS является антиблокировочной системой, способной противодействовать прокручиванию колес во время маневра торможения – это необходимо для обеспечения большей безопасности движения.
Система ESP представляет собой решение по обеспечению курсовой устойчивости, призванное предотвращать заносы машины (необходимые колеса подтормаживаются, это контролируется электронным блоком). К слову, сама ESP без ABS абсолютно бесполезна, потому что является, скажем так, довеском к ней.
Как ведет себя Vesta на льду с использованием ABS и ESP?
Мы решили испытать Lada Vesta в зимний период времени – интересно, как поведет себя работа вышеуказанных систем. Для тестирования нами был выбран ледовый полигон длиной 700м.
Нам важно было выяснить, в каких случаях система проявят себя плохо, а в каких – хорошо. Для пущей устойчивости тестируемый экземпляр мы оснастили шинами Nokian.
Обычно подобные тесты начинают с того, что отключают обе системы. Это и неудивительно – ведь нам важно знать, как ведет себя на льду «голая» машина. Чтобы отключить ABS+ESP, потребуется убрать подачу напряжения – а именно, вынуть отвечающий за их работу предохранитель. Если его не вытащить, то сколько бы вы не тыкали пальцем в кнопку выключения ESP, бортовая электроника в любом случае принудительно включит ее на скорости свыше 50 км/час.
Итак, стартуем, благо хорошие шипованные шины помогают троганию со льда. Видим поворот, пытаемся в него вписаться – при этом ощущаем, что машину начинает заносить. Передние колеса уверенно держат сцепление с трассой, но зад неустойчив – впрочем, ничего критичного.
Автомобилист с опытом без особых трудностей преодолеет подобный маленький занос, придавив педаль акселератора – благо, полигон это позволяет.
То, что машина едет даже на обледенелом покрытии весьма уверенно, определенно радует – при этом качество управления не страдает, Vesta четко откликается на малейшее вращение рулевого колеса, мягко проходит повороты, не юлит во время перемещения по дуге.
Останавливаемся и включаем системы антиблокировки и курсовой устойчивости. Заводимся и снова в путь – при этом машина практически не страдает от потери динамики.
В который раз снова нас выручают отличные колеса. В данном случае ESP+ABS отзываются на изменение условий движения не мгновенно.
Скорее всего, проблемы будут начинаться лишь при тотальном заносе машины. Если вы попадете в настоящий боковой снос, электроника вас уже вряд ли выручит. В такой ситуации шофер может и не спасти ситуацию, ведь управление топлиподачей уже будет контролировать бортовая электроника – сколько ни жми на газ, адекватной реакции от автомобиля не получишь.
ИТОГИ:
Подытоживая вышеописанное, можно смело заявить, что с отключенным системами курсовой устойчивости и антиблокировки Vesta показала время прохождения трассы на 8 секунд быстрее, нежели при включении ABS и ESP.
Как нетрудно предположить, такой результат связан с тем, что включенные системы некоторым образом пресекали действия водителя, тратя драгоценное время на оценку откликов различных датчиков. Однако при рядовой поездке на ледяной дороге системы, наоборот, будут лишь помогать при езде, предотвращая потерю курса и заносы.
Как ездить – с ASB+ESP или без них, решать лишь вам. Влияют на это решение лишь стиль езды и ваш водительский опыт.
Кюветный тест Lada Vesta с ESP и без
Зимняя дорога сулит немало скрытых опасностей. Зачастую правая сторона обочины выглядит как заснеженная ровная поверхность. Однако очень большое число автолюбителей, которые по той или иной причине должны съехать на нее, с досадой (и, увы, с опозданием) попадают в самый настоящий кювет, прикрытый с виду горизонтальным слоем снега.
Наша новая проверка Lada Vesta призвана выяснить, какие плюсы обеспечивает система ESP, как раз предназначенная для управления распределением усилий автомобиля в сложных ситуациях. Для большей наглядности мы решили съехать в кювет и попробовать выбраться из него сначала без системы курсовой стабилизации, а затем с ее использованием.
Сразу скажем, машине пришлось потрудиться. Она почти в болтающемся состоянии двумя колесами балансировала на краях кювета – в этом случае, как правило, без помощи со стороны обойтись почти невозможно. Но смеем вас заверить, заводская электроника нас не подвела. Бортовые «мозги» точно дозировали впрыск бензина, позволив не просто позволить автомобилю встать ровно, но и вскарабкаться на противоположную сторону кювета, вернувшись на проезжую часть.
Напомним, все вышеуказанные маневры мы выполнили при задействованной системе ESP.
Далее мы отключили ESP. В этом случае никакие попытки и ухищрения сдвинуть автомобиль из неудобного положения не увенчались успехом. Колеса передней оси лишь вгрызались в снег и лед сильнее и сильнее. Выехать из кювета при такой ситуации можно лишь при большом везении или с посторонней помощью.
ИТОГИ:
Результаты тестирования выявили однозначную пользу, оказываемую системой ESP на Lada Vesta. Это касается и гладкой дорожной поверхности, и дорог с плохой проходимостью. В целом наличие электронной системы курсовой устойчивости будет отличным подспорьем как новичкам, так и опытным водителям – ведь когда тебе хотят помочь, стоит ли отказываться?
Тестируем Lada Vesta на подъем в горку со включенной и выключенной системой электронной стабилизации курсовой устойчивости
«АвтоВАЗ» разрабатывал Lada Vesta для эксплуатации в городской черте. Но порой случается так, что машинам иногда приходится уезжать за пределы города, и не секрет, что дорожное покрытие за пределами мегаполиса может содержать выбоины, дыры и прочие неровности.
Новое тестирование для Lada Vesta проходило на специальной трассе, которая как нельзя лучше помогла нам выяснить, как же все-таки лучше преодолевать подъемы в горку – с использованием системы ESP или без таковой.
У современных западных моделей комплекс электронных помощников водителя может включать больше десятка-двух различных систем. Бюджетникам В-класса такая роскошь пока не положена по статусу, но по этой части Веста готова дать фору конкурентам. Помимо привычного набора из ABS и EBD вазовская новинка уже в базовой комплектации оснащена системой курсовой устойчивости (ESC). За зиму ее поведение мне удалось изучить достаточно, чтобы поставить ее настройкам самую высокую оценку.
Во-первых, она дает вволю побуксовать на первой передаче, позволяя преодолеть трудный участок двора или нерасчищенной стоянки. Противобуксовочная система в этом случае вмешиваться не спешит — и правильно делает. Аналогично она ведет себя и при излишне резвом старте со светофора на скользком асфальте. Это мне тоже по душе: нет истеричной помощи электроники в тех ситуациях, когда она вовсе и не требуется.
Отмечу, что за минувшую снежную зиму система стабилизации ни разу не сработала неожиданно для меня. Спишу это на хорошие зимние шины и правильный выбор скорости. Зато в безопасных местах наэкспериментировался с ней вволю.
А как вы считаете, следует ли делать ESC обязательным оснащением для недорогих моделей? Есть ли от нее, по вашему мнению, реальная польза или же это очередной способ содрать с покупателя побольше денег?
Активная безопасность автомобиля включает в себя электронику, позволяющую предотвратить аварию. Лада Веста оборудована множеством таких помощников, которые способствуют сохранению управляемости авто при поездках. Кроме всего прочего, водителю следует знать, как работает антипробуксовочная система Лада Веста.
Для передвижения машины важно сцепление с дорожным полотном. Но его надёжность сильно падает, если дорога мокрая или скользкая, из-за чего повышается вероятность пробуксовки. Она становится причиной таких неприятностей, как:
- потеря динамики при разгоне;
- ухудшенная управляемость;
- высокая вероятность заноса;
- повышенный износ шин.
Система курсовой устойчивости на Lada Vesta работает в связке с противобуксовкой (TCS), которая позволяет водителю трогаться с места на скользкой поверхности с минимальной вероятностью пробуксовки.
На деле это выглядит так: если колесо при разгоне начинает слишком быстро вращаться, пробуксовочная система срабатывает и принимает корректирующие меры: притормаживание или снижение передаваемого крутящего момента. Автомобиль вместе с тем остаётся устойчивым.
На заметку!
На Ладе Весте антибукс работает во всех комплектациях.
Как отключить антипробуксовочную систему
Включается ТКС сразу после запуска двигателя. Отключение возможно вместе с ESC. Для этого следует нажать клавишу на центральной консоли. Отдельное выключение не предусмотрено.
Надёжность TCS на Лада Веста
Каждая система стабилизации автомобиля подвергалась тестам при различном состоянии дорожного покрытия (мокрый асфальт, слякоть, гололёд и т.д.). Противобуксовочная система TCS показала себя с лучшей стороны: «вмешивается» только при необходимости и прекрасно срабатывается с другой электроникой.
Владельцы тоже в основном довольны, хотя некоторым потребовалось время, чтобы приспособиться ко всему функционалу Весты.
Система контроля тягиНа заметку!
Лучше несколько раз подумайте прежде, чем отключать ТКС. Электронные системы безопасности, в том числе и антибукс Лада Веста, увеличивают Ваши шансы на благополучный исход опасной ситуации на дороге. Да и при обычных условиях вождения можно чувствовать себя увереннее, зная, что есть такая подстраховка.
и системы контроля устойчивости: в чем разница?
Разница между контролем тяги и контролем устойчивости подобна разнице между GED и степенью магистра или доктора философии в области безопасности транспортных средств. Контроль устойчивости — это просто противобуксовочная система с дополнительным обучением (компьютерное программирование) и лучшими инструментами (более мощный процессор и больше электронных датчиков).
Ясно, что антиблокировочная тормозная система, или ABS, как мы ее теперь знаем, была первой — на Imperial 1971 года.В том же году Buick Riviera представила MaxTrac, примитивную систему контроля тяги без вмешательства тормозов, которая вместо этого сравнивала выходную скорость трансмиссии со скоростью передних колес, чтобы обнаружить пробуксовку и отсечь искру двигателя до тех пор, пока скорости передних и задних колес не выровняются. Сообщается, что из-за отсутствия возможности уменьшить количество топлива, протекающего через карбюратор, это привело к впечатляющим обратным результатам.
Система контроля устойчивости дебютировала в 1990 году на японском рынке Mitsubishi Diamante, которую по-разному называли системой активного контроля трассировки и тяги, затем Active Skid and Traction Control (ASTC), но впервые в Америке появилась система, подобная тем, которые мы знаем сегодня. с помощью Bosch на купе Mercedes-Benz S600 1995 года.Давайте рассмотрим и сравним существующие сегодня системы.
Что такое трекшн-контроль?
Просмотреть все 4 фотографииЭта функция активной безопасности была разработана, чтобы позволить транспортным средствам оптимально использовать ускоряющуюся тягу, имеющуюся на любой заданной поверхности, путем измерения пробуксовки колес и последующего управления ею с помощью гидравлических соленоидов антиблокировочной тормозной системы. тормозного давления и / или использования электронного управления дроссельной заслонкой, топливом или искрой двигателя для уменьшения мощности и замедления вращающегося колеса.Эти системы часто предлагают возможность отключения. Кнопка для этого может быть помечена TC, TCL или значком, изображающим заднюю часть автомобиля над двумя знаками выгорания в форме буквы S. Если ваш автомобиль оснащен системой контроля тяги и устойчивости, они почти наверняка будут управляться одной и той же кнопкой, которая затем может быть помечена как ESC, VSC или со значком. Чтобы увидеть полный список сокращений, используемых для контроля тяги и устойчивости, прокрутите эту статью до конца.
Что такое система контроля устойчивости?
В современных системах контроля устойчивости используется все оборудование, необходимое для противобуксовочной системы и антиблокировочной системы тормозов (датчик нажатия педали тормоза и датчики скорости вращения колес на каждом колесе, а также корпус гидравлического клапана, способный сбрасывать или увеличивать давление в тормозной контур для каждого колеса независимо) и добавляет несколько новых датчиков.Датчик положения рулевого колеса соединяется с датчиками педали тормоза и акселератора, чтобы сообщить системе предполагаемый путь и скорость водителя. Датчик рыскания измеряет, насколько автомобиль вращается вокруг своей вертикальной оси (то, что вы ощущаете как занос или вращение), а модуль трехосного акселерометра определяет как поперечное, так и продольное ускорение, а также любой угловой уклон, по которому движется автомобиль. . Обратившись ко всем этим датчикам, более мощный компьютер затем сравнивает фактическое движение автомобиля с намерением водителя.Если они не совпадают, система применяет отдельные колесные тормоза (а также органы управления двигателем, если необходимо), чтобы привести путь транспортного средства в соответствие с намерениями водителя. Обратите внимание: поскольку контроль устойчивости стал обязательным в США в 2012 году, все новые легковые автомобили оснащены святой троицей систем помощи водителю: АБС, системой контроля тяги и устойчивости.
Как система стабилизации изменяет траекторию движения автомобиля?
Если вы когда-либо занимались греблей на каноэ, каяках или рафтингом, вы, вероятно, управляли лодкой, гребя спиной по той стороне, в которую хотите направиться.Система контроля устойчивости делает то же самое — усиливает тормозное давление с одной стороны автомобиля, чтобы мягко поворачивать его в этом направлении, с разными результатами в зависимости от того, задействованы ли передние или задние тормоза и насколько сильно. Помните, что водитель уже набрал желаемое количество рулевого управления, поэтому, если автомобиль не реагирует должным образом, то снижение тяги, сильный ветер или какая-то другая внешняя сила вызывает отклонение пути, поэтому просто заказав электрический помощь в управлении рулем вряд ли даст желаемый эффект.Система контроля устойчивости делает свою работу незаметно для водителя, за исключением, возможно, мигания лампы контроля устойчивости, которая указывает на то, что система работает.
Просмотреть все 4 фотографииКак работают вместе ABS, антипробуксовочная система и система курсовой устойчивости?
Системы полностью интегрированы, поэтому невозможно обеспечить контроль устойчивости или антипробуксовочную систему без ABS. Блок гидравлических клапанов антиблокировочной тормозной системы позволяет регулировать скорость вращения колес, необходимую для ограничения пробуксовки колес для контроля тяги, а также для контроля устойчивости, чтобы регулировать траекторию движения автомобиля.Некоторые автомобили позволяют водителям отключать или снижать эффективность систем. Кнопки отключения трекшн-контроля являются наиболее распространенными, кнопки отключения стабилизации менее распространены (и когда они существуют, они могут быть вложены в экранные меню, и они редко полностью выключают систему, как мы часто обнаруживаем в нашем тестировании Figure Eight). Как уже отмечалось, эти системы также имеют одну и ту же кнопку. Обратите внимание, что начиная с B3 (’86 -’92) Audi 80/90 не предлагала выключатель ABS.
Моя система контроля устойчивости предлагает настройки — какие из них лучше?
Некоторые высокопроизводительные автомобили предлагают различные настройки (например, Chevrolet Corvette, многие модели Cadillac V-cars или любой автомобиль BMW M), адаптированные к более агрессивным дорожным ситуациям.Иногда они предлагают так много настроек, что форумы владельцев, вероятно, лучше подготовлены для ответа на этот вопрос. Транспортные средства, ориентированные на бездорожье, которые обеспечивают различные режимы местности, адаптируют уровень вмешательства системы стабилизации в каждом к разным местностям, поэтому лучше всего просто настроить этот режим в соответствии с местностью, которую вы покрываете. В противном случае, John & Jane Q Public лучше всего не трогать эти кнопки контроля тяги и устойчивости на дорогах общего пользования. Настройки режима производительности часто доступны только из глубины дерева меню информационно-развлекательной системы или путем нажатия и удерживания кнопки в течение многих секунд.Они, как правило, делают систему более допускающей нейтральное скольжение или даже некоторую избыточную поворачиваемость. Если у вас были высокопроизводительные курсы обучения водителей, и вы планируете водить машину по закрытой трассе с ограждениями и т. Д. (И готовы к страховым случаям, если что-то пойдет не так), включение этих настроек может действительно сделать вашу машину намного более увлекательной для вождения. Обратите внимание, что многие (но не все) из этих систем возвращаются в режим полной безопасности, если вы касаетесь тормозов или нажимаете на них в середине слайда.
Когда следует выключать антипробуксовочную систему?
Если вы находитесь в обычном автомобиле без режимов движения, который слегка застревает в песке или снегу из-за того, что ваша система убивает мощность при первом намеке на пробуксовку колес, отключение части системы контроля тяги может позволить достаточно крутить, чтобы «сжечь» сквозь снег или песок до более цепкой поверхности внизу, и автомобиль снова начнет движение.
Когда следует выключать систему контроля устойчивости?
Вы выиграли титул SCCA или закончили гонку LeMans? Вы помогаете Ким Рейнольдс измерить производительность MotorTrend Figure Eight на нашем испытательном стенде? Если вы ответили «нет» на все это, то, возможно, никогда, поэтому производители обычно затрудняют доступ к режиму «выключено», чтобы никто случайно не отключил его.Мы не можем порекомендовать когда-либо полностью отключать контроль устойчивости на дороге общего пользования, но исключительные водители, стремящиеся полностью изучить возможности своего высокопроизводительного автомобиля на закрытой дороге или трассе, могут найти настройку «Выкл» ценной.
Что вызывает загорание контрольной лампы устойчивости?
Просмотреть все 4 фотографииКонтроль устойчивости — это система безопасности, поэтому ее работоспособность постоянно контролируется бортовой диагностической электроникой. Этот свет появляется, когда система либо выключена, либо переключена на более низкий уровень чувствительности, либо имеет какой-либо вид неисправности (некоторые режимы бездорожья снижают эффективность системы настолько, чтобы загораться лампа в этих режимах).Итак, если вы не коснулись переключателя, а он загорелся, у вас, вероятно, неисправность системы. Наиболее распространенными из них являются неисправности датчиков, и первыми должны выйти из строя датчики, установленные в элементах, такие как датчики скорости вращения колес. Они могут выйти из строя, повредиться в результате дорожно-транспортных происшествий или подвергнуться коррозии. Свет будет часто мигать, когда система контроля тяги и / или устойчивости активно вмешивается, чтобы вернуть автомобиль под контроль.
Какие еще названия для контроля устойчивости?
Вот список названий, которые различные производители используют для своих систем контроля устойчивости по всему миру:
Acura: Vehicle Stability Assist (VSA) (ранее CSL 4-Drive TCS)
Alfa Romeo: Vehicle Dynamic Control (VDC)
Audi: электронная система стабилизации (ESP)
Bentley: электронная система стабилизации (ESP)
BMW: партнер по совместным разработкам и изобретатель с Robert Bosch GmbH и Continental (TEVES) Система динамического контроля устойчивости (DSC) (включая систему динамического контроля тяги)
Bugatti : Электронная система стабилизации (ESP)
Buick: StabiliTrak
Cadillac: StabiliTrak и StabiliTrak3.0 с активным передним рулевым управлением (AFS)
Chevrolet: StabiliTrak и активным управлением (только Corvette и Camaro)
Chrysler: Электронная программа стабилизации (ESP)
Dodge: Электронная программа стабилизации (ESP)
Fiat: Электронная система контроля устойчивости (ESC) и автомобиль Система динамического контроля (VDC)
Ferrari: Controllo Stabilità (CST)
Ford: AdvanceTrac с системой контроля устойчивости при крене (RSC), интерактивной динамикой автомобиля (IVD) и электронной программой стабилизации (ESP)
General Motors: StabiliTrak
Honda: Система стабилизации автомобиля ( VSA) (ранее CSL 4-Drive TCS)
Hyundai: Электронная система стабилизации (ESP), Электронный контроль устойчивости (ESC) и Система стабилизации автомобиля (VSA)
Infiniti: Система динамического контроля автомобиля (VDC)
Jaguar: Система динамической стабилизации (DSC) ) и автоматический контроль устойчивости (ASC)
Jeep: электронная программа стабилизации (ESP)
Kia: электронная система контроля устойчивости (ESC) и электронная программа устойчивости (ESP)
Lamborghini: электронная система стабилизации курсовой устойчивости am (ESP)
Land Rover: система динамической стабилизации (DSC)
Lexus: интегрированная система управления динамикой автомобиля (VDIM) с системой стабилизации автомобиля (VSC)
Lincoln: AdvanceTrac
Maserati: программа стабилизации Maserati (MSP)
Mazda: система динамической стабилизации (DSC) (включая систему динамического контроля тяги)
Mercedes-Benz соавтор с Robert Bosch GmbH: электронная система стабилизации (ESP)
Mini: система динамического контроля устойчивости
Mitsubishi: активный мультирежимный контроль скольжения и противобуксовочная система и активный контроль устойчивости (ASC)
Nissan: система динамического контроля автомобиля (VDC)
Porsche: система стабилизации Porsche (PSM)
Subaru: система контроля динамики автомобиля (VDC)
Toyota: система контроля устойчивости автомобиля (VSC) и интегрированное управление динамикой автомобиля (VDIM)
Tesla: система электронного контроля устойчивости ( ESC)
Volvo: система динамической стабилизации и контроля тяги (DSTC)
Volkswagen: электронная система стабилизации (ESP)
Equal Parts Safety and Fun
В апрельском выпуске C / D исследовал «нарушителей», людей, продукты и технологические достижения, которые помогли изменить автомобильную промышленность.–Эд.
Из апрельского выпуска журнала Car and Driver за 2020 год.
Очень приятно, когда бортовой компьютер вашего автомобиля выдает точную информацию. Еще приятнее, когда ваш двигатель работает плавно и надежно. Но из всего, что компьютерная мощность привнесла в автомобиль за последние пару десятилетий, лишь немногие из них оказали столь же положительный эффект, как электронный контроль устойчивости (ESC).
ESC включает в себя различные датчики — скорости колеса, поперечного ускорения, скорости рыскания, угла поворота рулевого колеса и скорости — все они передают информацию на бортовой компьютер, чтобы помочь вашему автомобилю распознать, когда он, говоря языком, «вышел из-под контроля». людей, которые не любят водить машины.Важно отметить, что ESC также может помочь исправить это состояние — неконтролируемая часть, а не часть людей, которые не любят водить машину. Наибольшее влияние он оказал на снижение смертности. По оценкам NHTSA, с 2010 по 2014 год ESC спасла 4100 жизней. Системы стали обязательными для всех легковых автомобилей в 2012 модельном году.
Даже самый жестокий скряга не мог спорить о том, что матери и братья не умирают. Но дело не только в спасенных жизнях. Для энтузиастов ESC стал настоящим подарком.Да, с момента своего появления в конце 20-го века, ESC насмешливо называли «няней» у самых волосатых водителей, но пора отбросить эту идею. Потому что другим положительным эффектом ESC является то, что эти системы позволили нам создать более веселые автомобили и получить от них больше удовольствия.
«Системы контроля устойчивости позволили нам создать больше забавных автомобилей, а нам — получать от них больше удовольствия».
Спросите любого аэробалиста: работа с сеткой имеет определенные психологические преимущества.ESC позволяет вам исследовать пределы транспортного средства (конечно, на закрытом курсе с профессиональным водителем) так, как вы иначе не стали бы. И процентная доля мощного автомобиля, которую вы можете с комфортом использовать, прямо пропорциональна удовольствию от вождения. Только безрассудные водители соблазняют на дороге гнев Dodge Viper первого поколения.
Система защиты также оказывает положительное влияние на автопроизводителей. Мы не говорим, что автопроизводители будут производить спортивный автомобиль с «счастливым хвостом», потому что они знают, что есть система, которая компенсирует это.Но ESC дает им некоторую свободу в настройке мощного автомобиля, чтобы он управлялся более нейтрально, чем когда-либо. Honda, например, подтверждает, что Civic Type R не был бы таким нейтральным автомобилем, если бы не наличие ESC. Во времена, когда еще не было ESC, Honda чувствовала себя обязанной добавить немного больше недостаточной поворачиваемости. И никому не нравится недостаточная поворачиваемость.
Хотите больше автомобиля и водителя?
Подпишитесь сейчас!
Этот контент создается и поддерживается третьей стороной и импортируется на эту страницу, чтобы помочь пользователям указать свои адреса электронной почты.Вы можете найти дополнительную информацию об этом и подобном контенте на сайте piano.io.
Электронный контроль устойчивости (ESC)
Электронный контроль устойчивости (ESC)
ESC — это наиболее значительный прорыв в области безопасности транспортных средств с момента появления ремня безопасности и одна из самых важных систем предотвращения столкновений, доступных в настоящее время. Эта технология противоскольжения уже помогла предотвратить сотни тысяч аварий с потерей управления и спасла десятки тысяч жизней.
На сухой, мокрой или скользкой дороге, если автомобиль начинает заносить, ESC корректирует скольжение, уменьшая крутящий момент двигателя и притормаживая отдельные колеса, чтобы вернуть автомобиль на курс. Система использует датчики для постоянного контроля устойчивости автомобиля. Когда обнаруживается нестабильное состояние, например, в результате внезапного изменения направления, ESC реагирует в миллисекундах и стабилизирует автомобиль. Если система обнаруживает избыточную поворачиваемость (т. Е. Что задняя часть автомобиля начинает уклоняться от поворота), ESC применяет тормоза к переднему колесу вне поворота, чтобы создать противодействующий крутящий момент вокруг вертикальной оси автомобиля. .Это стабилизирует автомобиль и повернет его обратно на путь, указанный водителем.
Семнадцать тематических исследований в период с 2001 по 2007 год показали, что ESC очень эффективна, позволяя избежать аварий с участием одного автомобиля примерно на 30%. В Европейском союзе, где ESC стала обязательным требованием для всех новых автомобилей с 1 ноября 2014 года, по оценкам, с 1995 года было предотвращено не менее 188 500 аварий с травмами и более 6 100 жизней спасены с помощью ESC. В Соединенных Штатах, где ESC стало обязательным с 2012 года, по оценкам, уже было спасено более 6000 жизней.
ESC теперь является обязательным в Австралии, Канаде, Европейском Союзе, Израиле, Японии, Новой Зеландии, России, Южной Корее, Турции и США, а вскоре также будет в Аргентине. Тем не менее, Global NCAP считает, что текущая глобальная ставка ESC на установку чуть более 60% новых легковых и легких грузовых автомобилей является слишком низкой и хочет, чтобы она была увеличена до 100% к 2020 году.
Global NCAP рекомендует, чтобы все государства-члены ООН, особенно те, которые производят значительное количество автомобилей, к 2018 году санкционировали ESC во всех новых моделях, а к концу Десятилетия действий ООН по обеспечению безопасности дорожного движения в 2020 году.Организация Объединенных Наций приняла глобальный стандарт для ESC, что значительно упрощает правительствам во всем мире поддержку обязательного применения системы.
Определение электронного контроля устойчивости (ESC)
Слышали ли вы, что ваш механик использует аббревиатуру ESC или читали ли вы его в руководстве по эксплуатации, но не знаете, что это означает? Сокращенно от электронного контроля устойчивости, ESC — это функция безопасности, которая обнаруживает и помогает предотвратить попадание вашего автомобиля в занос или безопасное восстановление, если оно действительно начинает скользить.Без ESC у вас больше шансов потерять контроль над автомобилем при паническом повороте или при движении по скользкой дороге из-за дождя, снега или льда. Начиная с 2012 года, федеральные законы предписывали, чтобы все новые автомобили весом менее 10 000 фунтов были оснащены ESC.
Как работает система
Электронный контроль устойчивости — это компьютеризированная система, которая работает путем передачи сигналов на блок управления ESC от отдельных датчиков, которые прикреплены к каждому колесу. Если автомобиль начинает вращаться в направлении, отличном от угла поворота рулевого колеса, датчики предупреждают систему, которая затем может при необходимости тормозить отдельные колеса, чтобы исправить избыточную или недостаточную поворачиваемость.Он также замедляет двигатель, пока не будет восстановлено управление. Это позволяет ESC отслеживать заносы и восстанавливаться после них, недоступные водителю-человеку.
ESC против противобуксовочной системы
В то время как контроль тяги может ограничить пробуксовку колеса путем торможения, чтобы передать вращение другому колесу с большим сцеплением, контроль устойчивости делает это путем фактического маневрирования автомобиля. Представьте, что вы едете по заснеженной дороге. Вы указываете рулевым колесом прямо вперед, но внезапно начинаете заносить влево. Затем сработает система стабилизации, отключив мощность двигателя и притормозив соответствующие колеса, чтобы автомобиль переместился туда, куда вы указываете рулевым колесом.Противобуксовочная система только остановит занос. Так что думайте о ESC как о усовершенствованной форме контроля тяги — ESC может выполнять ту же работу, что и контроль тяги, и многое другое, но контроль тяги не может выполнять ту же работу, что и ESC.
Как узнать, когда система ESC активна
Система ESC каждого производителя работает немного по-своему. При использовании некоторых систем вы можете почувствовать, как автомобиль слегка меняет направление, или услышите стук антиблокировочной тормозной системы. Другие системы наносятся так осторожно, что их почти не заметить.Большинство систем ESC имеют сигнальную лампу, которая мигает, когда система активна. ESC, скорее всего, сработает на мокрых, заснеженных или обледенелых дорогах, хотя быстрое движение по извилистым, холмистым дорогам или наезд на неровность во время поворота также может вызвать срабатывание системы ESC. Некоторые ориентированные на производительность системы позволяют развиваться салазкам до того, как они вступят в силу.
Программы контроля устойчивости
Некоторые высокопроизводительные автомобили имеют системы ESC, которые запрограммированы на более разрешительную работу, позволяя автомобилю выходить за пределы своих пределов тягового усилия и фактически немного заносить, прежде чем система сработает и оправится от заноса.Высокопроизводительные автомобили от General Motors, включая Chevrolet Camaro, Chevrolet Corvette, Cadillac ATS-V и CTS-V, имеют многорежимные системы контроля устойчивости, которые позволяют водителю контролировать степень вмешательства и защиты.
Альтернативные термины для ESC
Разные производители используют разные названия для своих электронных систем контроля устойчивости. Некоторые из этих имен включают:
- Электронная система стабилизации (ESP)
- StabiliTrak
- Система стабилизации автомобиля (VSA)
- Система стабилизации автомобиля (VSC)
- Система динамической стабилизации автомобиля (VDC)
- Система динамической стабилизации (DSC)
- AdvanceTrac с системой контроля устойчивости кренам
Не стопроцентное решение
Даже с ESC все еще можно потерять контроль над автомобилем, поэтому всегда будьте осторожны в ненастную погоду или на извилистых дорогах.Чрезмерная скорость, скользкая дорога и чрезмерно изношенные или неправильно накачанные шины — все это факторы, которые могут снизить эффективность ESC.
Прямой материал по электронным системам контроля устойчивости
Новые автомобили 2012 года появятся уже этим летом, а это означает, что еще одна революция в автомобильной электронике коснется каждого специалиста в ремонтном бизнесе. У нас были OBD I и II, ABS, системы контроля тяги, TPMS, системы передачи данных CAN, гибридные электромобили, бензин с прямым впрыском и чистые дизели, и это лишь некоторые из технологий.Что может быть дальше? Ответ: электронный контроль устойчивости (ESC).
С разрешения Национального управления безопасности дорожного движения (NHTSA) электронные системы контроля устойчивости станут обязательными для каждого нового транспортного средства весом менее 10 000 фунтов. выпускается с 2012 модельного года. Но эта революция в электронике уже стала реальностью для многих автомобилей, поступающих сегодня в магазины. Хотя АБС и системы контроля тяги (TCS) существуют уже много лет, полнофункциональная система контроля устойчивости, которая предотвращает потерю контроля даже в большем количестве условий, чем просто торможение или резкое ускорение, начала развиваться в начале 1990-х годов.
Мы мельком познакомились с этой технологией в системе Mitsubishi Active Skid and Traction Control (ASTC). Вскоре после этого Bosch предложила BMW и Mercedes систему — Electronic Stability Program, или ESP. В 1997 году Delphi предоставила Cadillac систему под названием StabiliTrak, а для модели 2000 года Ford выпустил свой AdvanceTrac, а позже добавил в систему функцию стабилизации поперечной устойчивости в 2003 году для Volvo. Toyota начала оснащать все свои внедорожники системой стабилизации в 2004 году, и все производители оригинального оборудования год от года увеличивают развитие и распространение систем стабилизации.Например, в 2006 году система контроля устойчивости была стандартным оборудованием примерно для 29% всех легковых и грузовых автомобилей и 57% всех внедорожников.
Забегая вперед, 85% всех автомобилей 2010 г. и 100% внедорожников 2010 г. имеют систему стабилизации. Внедорожники, как правило, тяжелые, что увеличивает вероятность опрокидывания. По этой причине внедорожники были в верхней части списка, чтобы получить системы ESC в качестве стандартного оборудования даже до того, как эти системы стали федеральным мандатом. Производители оригинального оборудования имеют свои собственные обозначения для своих систем стабилизации (см. «Алфавитный суп, кто угодно?» Ниже), но для простоты мы будем придерживаться общепринятого общего термина «электронный контроль устойчивости» или ESC.
По оценкамNHTSA, 35% всех ДТП можно было бы избежать на автомобилях, оборудованных ESC, а для внедорожников это число возрастает до 67%. Также предполагается, что ежегодно можно было бы избежать 10 000 дорожно-транспортных происшествий со смертельным исходом, если бы все автомобили имели ESC. Это большое число, которое становится еще больше, если вам когда-нибудь посчастливится попасть в серьезную аварию. Я говорю по собственному опыту.
Пока я писал эту статью, моя семья попала в две разные аварии, которые могли иметь фатальные последствия.В первом были развернуты подушки безопасности, которые, несомненно, спасли жизнь моему младшему сыну. Во второй аварии моя жена, мой старший сын и я избежали серьезных травм благодаря большому пикапу, который пострадал от крушения транспортного средства, проехавшего на красный свет. Не технологии там, просто Божья благодать. Но после этих двух близких звонков из реальной жизни просто спросите меня обо всем, что делает автомобиль безопаснее, и я стану еще большим поклонником, чем раньше. Как потребитель я с радостью заплачу немного больше за улучшенную технологию безопасности (около 110 долларов за ESC), а как технический специалист я с удовольствием потрачу время на освоение еще одной новой электронной системы, если она положит деньги в мой карман и удержит моих клиентов безопасный.
Помогает ли ESC полностью избежать аварии или снижает серьезность аварии, которой невозможно избежать, конечный результат — меньше смертельных случаев. Как это может быть плохо? Как я недавно испытал, вы можете заменить автомобиль, но не можете заменить близких!
Детали и программное обеспечение
Что касается совершенно нового оборудования, которое необходимо диагностировать и заменить, то особо особо не о чем говорить, кроме некоторых новых датчиков. Сердцем каждой системы ESC является блок ABS с системой контроля тяги.Оборудование для этих систем существует уже несколько десятилетий и включает в себя узел гидравлического модулятора ABS / TCS, электронный модуль управления ABS / TCS и четыре датчика скорости вращения колес (WSS). Новое оборудование в системах ESC включает датчик рыскания, боковой акселерометр (отдельный или в том же блоке) и датчик угла поворота рулевого колеса, а также датчик опрокидывания, обычно встречающийся на внедорожниках.
Наконец, есть выключатель для выключения системы (на некоторых моделях) и сигнальные лампы, предупреждающие водителя либо об активации системы ESC во время движения, либо о проблеме с самой системой.Остающийся и самый важный компонент невидим — программное обеспечение!
Как работают системы ESC
Давайте сначала упомянем, чего не делает ESC. Это не отменяет законы физики. Это не помогает водителю совершать повороты на более высоких скоростях; лучшая подвеска, рулевое управление и, конечно же, более широкие / липкие шины — все это способствует достижению этой цели. ESC не помогает автомобилю остановиться на более коротком расстоянии не больше, чем ABS. Что действительно делает ESC, так это позволяет превратить незначительное количество неверных решений во время поворота в незначительное прощение за счет снижения мощности двигателя и применения правильного колеса (тормозов) при обнаружении заноса.Все сводится к скорости автомобиля и коэффициенту трения между дорожным покрытием и шинами.
Проблемы при прохождении поворотов возникают по двум причинам: недостаточная и избыточная поворачиваемость. Недостаточная поворачиваемость возникает, когда транспортное средство входит в поворот и вместо того, чтобы завершить этот поворот, просто пытается продолжить движение в исходном направлении. Говорят, что передние колеса «пробуксовывают» и смещаются к внешней стороне поворота. Иногда это называют толчком или плугом, и в зависимости от обстоятельств и / или дорожных условий водитель может столкнуться с другим транспортным средством или даже вынудить его автомобиль съехать с проезжей части.
Избыточная поворачиваемость возникает, когда автомобиль слишком быстро входит в поворот, а задняя часть автомобиля пытается продолжить движение прямо в исходном направлении. Задние колеса пробуксовывают, в результате чего задняя часть автомобиля крутится. Это можно назвать «лузовым» в повороте.
Недостаточная или избыточная поворачиваемость могут привести к полной потере контроля над автомобилем. Традиционно избыточная поворачиваемость более характерна для автомобилей с задним приводом, в то время как недостаточная поворачиваемость более характерна для автомобилей с передним приводом, хотя в последние годы производители добились успеха в разработке систем шасси для автомобилей с задним приводом, которые менее подвержены избыточной поворачиваемости даже без ESC.
Обладая ценной информацией, полученной при изучении данных об авариях, в сочетании с успешными методами гонок и общей динамикой транспортного средства, инженеры имеют возможность учитывать множество переменных, таких как положение дроссельной заслонки, данные датчика скорости колеса, торможение и угол поворота, чтобы точно определить, что должно произойти с мощность двигателя и торможение колес, чтобы дать водителю все шансы сохранить контроль над автомобилем. Все это делается с помощью уникального сочетания алгоритмов датчиков для дальнейшей интеграции угла поворота руля, рыскания и поперечного ускорения в общую картину контроля устойчивости.
По сути, то, что системы ESC делают для борьбы с проблемами рулевого управления и / или контроля устойчивости, — это сначала обнаружение избыточной или недостаточной поворачиваемости с помощью датчиков бокового ускорения и рыскания системы, которые измеряют боковое движение или вращение на оси. Также учитывается воздействие водителя на рулевое колесо через датчик угла поворота. Если автомобиль начинает избыточную поворачиваемость в повороте и задняя часть начинает разворачиваться (выкручиваться), отклонения WSS между левым и правым передними колесами превышают норму.Если автомобиль недостаточно поворачивается (теряет сцепление с передним колесом и движется широко в повороте), разница в скорости между левым и правым передними колесами уменьшается от нормы. Электронный модуль управления ABS / TCS отслеживает фактическое значение рыскания и сравнивает его с числом в программном обеспечении, которое называется желаемым рысканием. Разница называется ошибкой рыскания. Боковое ускорение учитывается в модуле ABS / TCS с ошибкой рыскания и объединяется с дельтой (скоростью изменения) датчика положения рулевого колеса (расположен в рулевой колонке) и общей скоростью автомобиля.Если математические вычисления приводят к потенциальной потере устойчивости автомобиля, ESC активируется.
Как только обнаруживается начало потери устойчивости, системы ESC реагируют пониженным крутящим моментом двигателя на снижение скорости автомобиля в надежде восстановить коэффициент трения с шинами, чтобы автомобиль мог безопасно выполнять поворот без дополнительных проблем с управлением рулевым управлением. Управление крутящим моментом используется в системах ABS / TCS в течение многих лет и работает либо путем замедления угла опережения зажигания, переключения на повышенную передачу, отключения нескольких топливных форсунок или физического уменьшения угла поворота дроссельной заслонки.Последнее стало легкой задачей в наши дни с существующими системами дроссельной заслонки. Это буквально превращается в процесс написания инженером нескольких строк кода для калибровки программного обеспечения. Часто водитель замечает снижение мощности двигателя при слишком большом угле поворота рулевого колеса на слишком быстрой для дорожных условий скорости.
Наконец, если транспортное средство продолжает терять устойчивость, система ESC может включить функцию включения тормоза системы ABS / TCS, чтобы задействовать правильные тормоза колеса (а) для восстановления управления.Например, если автомобиль находится в ситуации избыточной поворачиваемости, которая может вызвать пробуксовку, колеса за пределами поворота будут тормозить через систему ABS / TCS. Водитель может заметить звук срабатывания системы ABS / TCS, который может отличаться от звука при обычных событиях ABS / TCS из-за того, что большинство транспортных средств используют более высокую частоту для двигателя и соленоида во время события ESC.
Водитель также может заметить индикаторную лампу ESC, когда ESC включен, а также зуммер на некоторых моделях.Что касается применения тормоза, то в случае с ESC может быть задействован только один из передних или один из задних тормозов. Например, если автомобиль резко поворачивает направо и начинает проявлять избыточную поворачиваемость, система ESC применяет левый передний тормоз, чтобы помочь восстановить контроль. Чтобы исправить недостаточную поворачиваемость при слишком резком повороте вправо, ESC применяет правый задний тормоз.
Диагностика
Первым этапом диагностики всегда является проверка жалобы клиента. Убедитесь, что в автомобиле даже есть система ESC, и что клиент не видит нормальный свет во время обычных событий ESC.Если у вас действительно загорелась (или продолжала гореть) контрольная лампа неисправности ESC, в модуле ABS / TSC должен быть установлен код неисправности.
Что касается диагностики компонентов, так как сердцем любой системы ESC является хорошая система ABS / TCS, важно понимать эту часть системы. Если вы давно не обновляли ABS / TCS, не торопитесь. Это включает в себя хороший обзор датчиков скорости колеса ABS. За исключением Chrysler и некоторых европейских автомобилей, большинство таких датчиков были двухпроводными пассивными датчиками переменного сопротивления.Очевидно, следите за PID-идентификаторами диагностического прибора на предмет подозрительной активности ABS WSS, но когда вы сталкиваетесь с устойчивыми диагностическими проблемами, всегда прилагайте дополнительные усилия и подключайте осциллограф или вольтметр и наблюдайте, как амплитуда (напряжение) и частота (Гц на некоторых измерителях) увеличиваются по мере увеличения колеса поворачиваются быстрее.
В последние годы некоторые производители оборудования перешли на двухпроводные датчики Холла. Большинство из нас знакомы с трехпроводными датчиками Холла, такими как датчики коленчатого вала. Такой же тип датчика используется во многих приложениях WSS.Земля проходит через корпус датчика, поэтому прямоугольная волна передается по одному из двух проводов датчика. Их легко спутать с двухпроводными датчиками переменного магнитного сопротивления, поэтому убедитесь, что вы знаете, какой тип датчика установлен в автомобиле.
ABS / TCS потребляет достаточное количество тока, когда система активирована, и то же самое относится, когда ESC включен во время скользкой дороги или чрезмерно агрессивного вождения. Когда задействован большой ток, очень много значат соединения на линии питания и заземления, а также состояние контактов реле.Это означает выполнение не только тестов напряжения холостого хода (разъем отсоединен) на узле гидравлического модулятора ABS / TCS, но и динамических тестов напряжения и падения напряжения либо во время активации системы (включите ее с помощью диагностического прибора), либо с использованием соответствующего замените инструмент нагрузки.
Далее в модельном ряду добавлены датчики рыскания и поперечного ускорения. Иногда их объединяют в один блок, устанавливаемый где-нибудь в центре салона автомобиля, например, под центральной консолью.Эти датчики должны быть установлены в правильном положении и с надлежащим крутящим моментом. Незакрепленный датчик вызовет ложные срабатывания датчика, что может создать очень странные проблемы.
Если ваш диагностический прибор может контролировать PID системы контроля устойчивости (обычно доступ к ним осуществляется через модуль ABS), просто снимите датчик, чтобы перемещать его, одновременно отслеживая его выходные данные на диагностическом приборе.
Некоторые датчики имеют цифровой выход как для рыскания, так и для бокового ускорения, тогда как другие представляют собой так называемые интеллектуальные датчики на шине данных, например CAN.Если в автомобиле в вашем отсеке есть интеллектуальный датчик, который работает строго с сообщением шины CAN, вам понадобится диагностический прибор, который может считывать этот PID. Ни осциллограф, ни измеритель не помогут в диагностике. Естественно, как и все узлы на шине данных, этот датчик может передавать не только данные о рысканье и поперечном ускорении; скорее всего, это может быть активный игрок на шине, способный устанавливать коды неисправности связи.
Очевидно, что данные сканирования будут иметь больше смысла в том, как различные PID реагируют во время нормального вождения и вождения, что справедливо включило бы ESC.Я настоятельно рекомендую вам воспользоваться возможностью управлять автомобилями с ESC в ситуации, позволяющей контролировать устойчивость, если у вас есть безопасная и закрытая территория — большая, свободная от препятствий, гравийная площадка или пустая парковка, покрытая снегом — для теста. водить машину.
В целях безопасности будьте осторожны со скоростью. Вам не нужно разгоняться более чем на несколько миль в час, чтобы включить ESC. Графики на рис. 5 и 6 выше показаны два маневра, которые не включали нажатие педали тормоза. В обоих случаях ESC включен.На рис. 5 оба задних колеса заблокированы. Я включил стояночный тормоз, одновременно дернув рулевое колесо (обратите внимание на датчик положения рулевого управления PID), чтобы запустить автомобиль на стоянке с гравием. Моя скорость была около 10 миль в час. Когда я резко повернул рулевое колесо, изменились значения рысканья и бокового поворота, и включилась система ESC. Мощность двигателя была уменьшена с помощью дроссельной заслонки по проводам, а ABS / TSC включила тормоз на правом переднем колесе, когда я резко повернул рулевое колесо влево.
Очевидно, что на некоторых транспортных средствах некоторые инструменты сканирования (такие как Tech 2, который я использовал в этом примере) не позволяют вам видеть, как управление крутящим моментом двигателя и торможение применяются одновременно с данными ESC по рысканью и боковому ускорению.Если вы воссоздаете тот же сценарий вождения, вы можете просто отслеживать эти PID в других меню модуля, чтобы убедиться, что то, что, по вашему мнению, должно происходить, действительно происходит.
На рис. 6 попытка незаконного поворота, вызванного стояночным тормозом, не предпринималась, несмотря на внешность. Я просто перевернул машину на скользкой (но пустой) стоянке. Вы заметите, что был обнаружен рыскание, а боковое движение резко увеличилось, в то же время скорость изменения положения рулевого колеса (дельта) увеличилась.Тут сработала система ESC. В очередной раз автомобиль увяз, и я услышал некоторую активность ABS / TSC. Все шло хорошо. Лучшее обучение тому, как распознать подозрительный PID на проблемном автомобиле в любой новой системе, — это время от времени практиковаться в мониторинге PID на заведомо исправном автомобиле. Кроме того, если вам удастся найти безопасное и уединенное место для такого рода испытаний, это будет немного весело!
Помимо обычных TSB для проблем (таких как обновления калибровки) и конкретных деревьев диагностики проблем, существует несколько общих проблем при обслуживании систем ESC.Номер один — это процедуры сброса, которые могут потребоваться после замены компонента или, в некоторых случаях, после сброса заряда батареи. Сброс может варьироваться от простого поворота рулевого колеса вперед и назад до использования заводского диагностического прибора для сброса положения рулевого управления или датчика рыскания. Часто упускаемые из виду проблемы с ESC возвращают нас к основам работы системы. Убедитесь в отсутствии механических проблем с рулевым управлением, обычной тормозной системой, подвеской, АБС или дифференциалом / раздаточной коробкой.Наконец, убедитесь, что вы не боретесь с проблемой шин. Несоответствующие шины или шины, которые накачаны ненадлежащим образом, привели многих хороших техников к безумной погоне за гусем в поисках высокотехнологичного ответа, когда чрезмерно активная система ESC просто реагирует на простую механическую ситуацию.
Для большинства автомобилей электронный контроль устойчивости — довольно недавнее нововведение, поэтому у покупателей этих автомобилей наверняка возникнут неправильные представления, как это было с ABS несколько лет назад.Потратив время на изучение того, как должен работать ESC, вы сможете передать это понимание своим клиентам. Это будет иметь большое значение для предотвращения путаницы и сохранения всего порядка в вашем магазине.
Скачать PDF
Часто задаваемые вопросы по электронной системе контроля устойчивости
Автомобильные насадки
Загорание контрольной лампы на приборной панели может сигнализировать о проблеме и вызывать беспокойство у водителя. Тем не менее, свечение индикатора электронного контроля устойчивости транспортного средства (ESC) на самом деле указывает на то, что электронная система стабилизации работает, чтобы обеспечить безопасность вашего автомобиля на дороге, будь то маневренные повороты или скользкие, влажные условия вождения.Если вы задаетесь вопросом «Что такое электронный контроль устойчивости?», Джиффи Любе из Южной Калифорнии отвечает на этот и другие вопросы, объясняя, как регулярное техническое обслуживание автомобиля может помочь ESC вашего автомобиля.
Что такое ESC?
Известный под другими названиями, включая электронную программу стабилизации (ESP), ESC — это функция безопасности, которая может предотвратить или остановить скольжение (занос), чтобы водитель сохранял контроль и избегал ситуации аварии или опрокидывания. Стандартное оборудование на всех новых легковых автомобилях с 2012 года, ESC контролирует угол поворота автомобиля и сравнивает его с фактическим направлением движения автомобиля и вмешивается, если обнаруживает отклонение автомобиля от курса.
Почему ESC важен?
Без сомнения, ESC — это технология безопасности транспортных средств, которая спасает жизни. По данным NHTSA, технология ESC уже спасла жизни более 6000 автомобилистов. Consumer Reports называет ESC «самым важным достижением в области автомобильной безопасности с момента разработки ремней безопасности».
Как работает ESC?
Используя высокотехнологичные датчики, микрокомпьютер и другие системы автомобиля, такие как антиблокировочная тормозная система (ABS) и антипробуксовочная система, ESC может определить, движется ли автомобиль не в том направлении, которым управляет водитель.Когда это происходит, ESC автоматически включает ABS транспортного средства, которая накачивает тормоза на одном или нескольких колесах, возможно, даже снижая мощность двигателя, пока транспортное средство не замедлится, не восстановится и не вернется на курс. Для обнаружения пробуксовки колес ESC использует систему контроля тяги и может активировать АБС, чтобы задействовать тормоза на правильном колесе, восстановить сцепление с дорогой и удерживать все четыре колеса на дороге.
Какую пользу от обслуживания автомобиля дает ESC?
Для достижения максимальной производительности ESC зависит от тормозов и шин автомобиля, поэтому важно поддерживать их в хорошем состоянии.Для обеспечения оптимального износа шин и обеспечения оптимального сцепления с дорогой Jiffy Lube предлагает услуги по ротации шин, а также проверку давления в шинах при каждой замене масла. Наши услуги по торможению призваны обеспечить быструю и безопасную остановку вашего автомобиля, дополняют систему ESC и помогают защитить водителя и пассажиров, а также автомобиль. Чтобы ваш ESC работал эффективно, зайдите сегодня в один из наших 120 центров обслуживания Jiffy Lube в районе Лос-Анджелеса.
Мы рекомендуем посетить наш сайт www.jiffylubesocal.com, чтобы получить список услуг в выбранном вами магазине перед тем, как зайти туда.
Электронный контроль устойчивости: краткая история
Электронный контроль устойчивости (ESC), также называемый электронной программой стабилизации (ESP) или динамическим контролем устойчивости (DSC), является обязательной технологией безопасности для всех автомобилей, продаваемых в США, но это не так. т всегда так. Фактически, хотя его происхождение восходит к 1920-м годам, а сама технология была изобретена в 1989 году, она использовалась только в автомобилях класса люкс и премиум-класса.Однако преимущества безопасности электронного контроля устойчивости были сочтены настолько важными, что Национальное управление безопасности дорожного движения (НАБДД) сделало это обязательным.
Сбой для предотвращения сбоевОбщеизвестно, что машины не всегда реагируют так, как хочет водитель. Например, во время панического торможения заблокированные тормоза исключают любое подобие управления — полная противоположность намерениям водителя.
Интересно, что антиблокировочная тормозная система (ABS) возникла еще в 1920-х годах, когда она была разработана для шасси самолетов.Согласно Road & Track, автомобили впервые использовали АБС в начале 1970-х годов. ABS интерпретирует намерение водителя, предотвращая блокировку тормозов и сохраняя контроль водителя. Это именно то, что пришло в голову инженеру по безопасности Mercedes-Benz в 1989 году, когда он оказался в сугробе на севере Швеции. Во время тестовой езды на Mercedes-Benz Франк-Вернер Мон сбежал с обледенелой дороги, едва не пропустив несколько деревьев, когда его осенило: что, если бы ABS помогла ему сохранить контроль над своим автомобилем?
Приводы были там, но требовался новый способ распознавания движения транспортного средства и выполнения намерений водителя.Гироскопический датчик от модели вертолета был хорошим началом, но оказался недостаточно быстрым. Гироскопический датчик ракетной программы сделал свое дело, помогая новой электронной системе контроля устойчивости распознавать и реагировать на движение транспортного средства. Используя индивидуальное управление тормозом и дроссельной заслонкой, ESC успешно удерживает сбившийся с пути автомобиль на дороге без вмешательства водителя.
Как тормоза влияют на электронный контроль устойчивостиПо некоторым оценкам, с момента внедрения технологии Франк-Вернера Мона, возможно, было спасено более миллиона жизней.Предотвращая раскручивание, переворачивание и занос, ESC может даже спасти вашу жизнь, но только если ваш автомобиль находится в хорошем состоянии. Конечно, один из лучших способов поддерживать свой автомобиль в отличной форме — это регулярное техническое обслуживание и своевременный ремонт. Проблемы с двигателем или трансмиссией могут отключить ESC и ABS, сделав их бесполезными.
Кроме того, поддержание в хорошем состоянии шин и тормозов гарантирует, что ESC и ABS работают в полную силу. Низкое давление в шинах, недостаточная глубина протектора шин, аномальный износ шин, застекленные тормозные колодки, заедание тормозных суппортов или губчатые тормоза — все это может сделать электронный контроль устойчивости и антиблокировочную систему тормозов бессмысленной.Качественные детали, такие как тормозные колодки, дадут вашему автомобилю время реакции, необходимое для быстрой реакции на изменения на дороге.


Датчики этого вида находятся внутри одного корпуса;
д.
Как нетрудно предположить, такой результат связан с тем, что включенные системы некоторым образом пресекали действия водителя, тратя драгоценное время на оценку откликов различных датчиков. Однако при рядовой поездке на ледяной дороге системы, наоборот, будут лишь помогать при езде, предотвращая потерю курса и заносы.