Съемник ступичных подшипников
Содержание:
- 1 Делаем съемник для подшипников
- 1.1
- 2 Съёмник для подшипников своими руками
- 3 Съёмник подшипников ступицы универсальный
- 3.1 Особенности изготовления
- 3.2 Особенности универсального съемника
- 3.3 Область применения
- 4 Съёмник сепараторный своими руками.
Делаем съемник для подшипников
Очень крутая и полезная вещь. Съемник для подшипников. Пригодится труба, железная пластина, большая шайба, болт, гайка.
Для начала отметим на трубе размер, который необходимо отпилить. Полученному отрезку приварить шайбу. Ровно поставим на отверстие гайка и приварим. Почистим неровности болгаркой.Отмерить 1,5 сантиметра, сделаем пропил. С другой стороны тоже самое. Отрежем два небольших кусочков от пластины. Они будут вставлены в две прорези. Получился съемник.
Как работает этот инструмент? Одеваем на подшипника. Заходим за него две пластинки.
Вращаем болт. Он упирается в вал и стягивает подшипник с него. С помощью этого приспособления можно без проблем убрать его с генератора и электродвигателя. Наружный диаметр детали не должен превышать внутренний размер трубы.
В магазине такие инструменты стоят недешево. Поэтому решила сделать сам. Взял металлическую полосу шириной 30, толщиной 4 миллиметра. Нарезал её полосками. Сварил. Пластины. Зацепы, чтобы захватывать подшипника. Делаются два пропила болгаркой. Вставлены две гайки, приварены. Червяка взял от старой советской струбцины. Сталь каленая. Чтобы инструмент получился универсальным, сделал по 4 отверстия с каждой стороны. Можно ставить на любую ширину. Если надо, лапы вытаскиваются, переворачивается на другую сторону.
Можно вытаскивать подшипник.
На изготовление инструмента понадобилось 2 часа.
Съёмник для подшипников своими руками
Съёмник для подшипников своими руками
Во время ремонта часто бывают ситуации, когда какого-то нужного инструмента нет «под рукой». В этом случае есть три выхода из положения: купить этот инструмент, взять у знакомых или сделать его своими руками. Все 3 способа имеют право на существование и используются от случая к случаю. Например, в моей истории срочно понадобился съёмник для снятия подшипника с ротора электродвигателя пылесоса Samsung. В этой статье рассмотрим, как можно выйти из этой ситуации.
Предыстория такова: двигатель пылесоса внезапно начал работать с посторонними шумами.
Разобрав корпус и осмотрев его, стало понятно, что развалился верхний подшипник ротора. Снять его без специального съёмника, не повредив при этом ротор, не представляется возможным, поэтому были предприняты попытки найти съёмник у знакомых, которые не увенчались успехом. Покупать этот инструмент в магазине из-за разовой работы я посчитал излишней тратой денег. В дальнейшем так оно и вышло – сделать простой съёмник своими руками оказалось очень легко. На это ушло 20 минут времени и минимум деталей. Единственное условие – наличие сварочного аппарата и умение хотя бы немного им пользоваться.
Итак, по порядку. Есть ротор двигателя с подшипниками, один из которых необходимо заменить.
Чтобы снять подшипник с вала, под него надо подвести какой-нибудь упор. Причём этот упор должен быть определённой прочности и минимальной толщины, так как расстояние между подшипником и якорем составляет несколько миллиметров. Для этого подошла обычная металлическая шайба. Чтобы её можно было завести под подшипник, сделаем в ней вырез.
Для этого зажмём шайбу в тисках и болгаркой вырежем четверть от её окружности.
Проверяем на роторе – подходит.
Теперь подумаем, из чего сделать корпус съёмника. В сарае нашёлся кусок профильной трубы. Отрежем от неё 5-ти сантиметровую часть. Чтобы съёмник можно было подвести под подшипник, необходимо в трубе прорезать одну стенку, причём ширина выреза должна быть больше диаметра подшипника. Зажимаем трубу в тиски и болгаркой вырезаем полосу.
Дальше ставим трубу на торец, кладём на неё подготовленную шайбу и привариваем электросваркой. Соединение должно быть прочным, чтобы во время работы шайба не отвалилась.
Переворачиваем корпус съёмника, установив его шайбой вниз. Сверху надо приварить гайку, в которую будет вкручен болт, чтобы выдавить подшипник. Гайка диаметром меньше размера трубы, поэтому под неё нужно установить какую-нибудь опору. Подойдёт всё, что угодно: шайба, любая пластина, отрезанная стенка трубы. В моём случае шайбы подходящего диаметра не нашлось, поэтому под шайбу меньшего диаметра подложил 2 гвоздя и сваркой приварил их к корпусу съёмника.
Сверху уложил гайку и всё тщательно обварил. Съёмник для подшипника готов.
Осталось установить съёмник на роторе, закрепить его в тисках, ввернуть в гайку болт и, закручивая болт ключом, выдавить подшипник. На валу ротора, в которую упирается болт, нарезана резьба. Чтобы её не повредить, перед съёмом надо накрутить на неё гайку, и уже в гайку упереть болт.
На изготовление съёмника у меня ушло всего 20 минут, и за пару минут был снят подшипник с ротора.
В завершении покажу, как можно быстро и просто запрессовать новый подшипник на вал. Для этого понадобятся тиски, кусок трубы и шайба.
Устанавливаем на вал подшипник, следом к нему прижимаем шайбу, потом кусок трубы и зажимаем эту конструкцию в тисках.
Когда сжимаются тиски, труба давит на шайбу, та — на подшипник. Под действием силы сжатия деталь насаживается на вал ротора. Здесь главное – установить конструкцию ровно, следить за тем, чтобы вал ротора попал в отверстие шайбы и трубы, а не упирался в их стенки, и не согнуть ротор чрезмерным усилием.
Вот так быстро можно сделать съёмник для подшипника своими руками, использовав минимум материалов, практически бесплатно. Конструкция простая, надёжная, главное – рабочая. Недостатком данного устройства является то, что этот съёмник можно применять только для маленьких подшипников. Для больших необходимо изготовить более мощную конструкцию.
Съёмник подшипников ступицы универсальный
Съемник шруса
Съемник универсальный представляет собой некий рабочий металлический инструмент, с помощью которого осуществляется съем и замена ступичных подшипников.
Благодаря тому, что данный съемник является универсальным, он отлично подходит для обслуживания многих автомобилей, таких как:
А также большого количества других автомашин различных производителей. Это главное отличие универсального съемника от других, предназначенных для определенной марки машины.
Особенности изготовления
Фирма-изготовитель предлагает только высококачественные съемники подшипников, выполненные из хорошего материала. Производство осуществляется, согласно технологиям стандарта ISO 9001. Обязательной процедурой является прохождение деталей инструмента термической обработки. В результате этой процедуры износостойкость съемника увеличивается в несколько раз. Для борьбы с коррозией металлических деталей применяется специальное химическое покрытие оправок и колец. Такая сложная процедура изготовления является залогом долгой службы и исправной работы прибора. Более того, производители предлагают широкий ряд моделей для разных видов автомобилей.
Особенности универсального съемника
- Среди особых характеристик можно назвать, в первую очередь, универсальность.
Приобретя один комплект съемника, автолюбитель получает возможность использовать его для ремонта разных автомашин. Особенно эту характеристику оценят профессиональные мастера, работающие в сервисах. - Съёмник подшипников ступицы универсальный помогает в большом количестве разноплановых работ. Он участвует в монтаже и демонтаже аналогичных деталей, заменяя собой сразу несколько инструментов.
- Съемник приобретается в комплекте. Там же присутствует винт съемника и приводная рукоять. Иными словами, инструмент полностью готов к использованию и ничего докупать уже не придется.
- Съемные опоры установить довольно просто. Для этого они устанавливаются в необходимом положении для съема ступицы. При этом окружность болтового крепления имеет показатель не более 190,2 мм.
Область применения
Такой инструмент для обслуживания автомобиля будет незаменим, как для личного использования, так и в условиях автосервиса. В последнем варианте он просто необходим, так как помогает справиться с большим объемом работ намного быстрее и качественнее.
При этом трудозатраты будут минимальными.
Использование данного инструмента дает возможность выполнять множество работ по ремонту и монтажу автомобилей.
С его помощью можно за короткое время произвести снятие полуосей, тормозных барабанов, ступиц и множества других аналогичных деталей. Кроме того, осуществляется демонтаж запрессованных тормозных барабанов.
Стоимость такого приспособления несколько выше, чем других аналогичных приборов, ориентированных на конкретный автомобиль. Однако сфера его применения столь широка, что запросто компенсирует цену.
Съёмник сепараторный своими руками.
Feodos Блог Монтаж ступичных подшипников
Всем привет. Решил изготовить данный съёмник.
Заводское исполнение.
Однозначно вещь очень полезная и нужная. Уже не раз стаскивал им внутреннее кольцо ступичного подшипника, а также подшипники с цапф колен. вала, обойму подшипника с хвостовика редуктора заднего моста.
Прелесть в том, что ему не нужно место под лапы, стаскивает после зажима, а ещё шпильками можно нарастить до нужной длины и смело стягивать подшипник полуоси! Если сделать диаметр больше можно снимать шкивы с валов.
Снимаем обойму пдш с хвостовика.
Подшипник с К/В, который стоит вплотную к щеке.
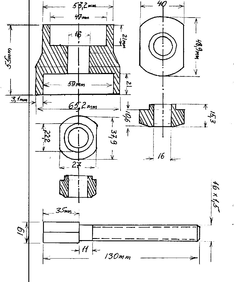
В общем, надо его иметь у себя в хозяйстве, — подумал я, и начал проект. Первым делом модель и чертежи в компасе (фото отчёт):
Модель с удлинителями
Полный размер
Полный размер
Полный размер
Полный размер
Винт с гайкой просто нашёл, вам придётся додумать этот узелок самим.
Полный размер
Выточили основание.
Полный размер
Распилили и фрезеровали.
Полный размер
Проба подшипника.
Полный размер
После термообработки.
Полный размер
Готовый вариант. Ручка взята от воротка для метчиков.
Видео с ютуба как снять внутреннюю обойму ступичного подшипника!
Шкив с вала
гидравлические и механические, их описание и характеристика
Во время ремонтных работ с автомобилем часто требуется демонтировать подшипники, шкивы, шестерни, муфты и прочие посаженные с натягом элементы.
С этой целью применяют специальные съемники подшипников. С их помощью можно аккуратно снять узлы и не повредить их.
- Назначение и особенности приспособления
- Технические характеристики
- Механические съемники подшипников
- Гидравлические съемники
- Как работать с гидравлическим прибором
- Стоимость
Назначение и особенности приспособления
Если в области автомобильных колес появился смущающий вас гул или шум, то это свидетельствует о том, что подшипник ступицы сломался. Ремонт или замену этого узла откладывать не рекомендуется. Если вы не являетесь специалистом в данной области, то как можно скорее обратитесь в ближайшее СТО, где машину осмотрят и проведут консультацию.
Однако далеко не всегда можно воспользоваться услугами профессионалов, в некоторых случаях приходится действовать самому. Одной из сложнейших ремонтных операция является демонтаж подшипников. Для этого требуются специальные инструменты.
Наиболее примитивный съемник подшипников ступицы — это предмет, состоящих из таких элементов:
- металлического стержня;
- лап захвата (2 штуки) с концами, загнутыми внутрь.
Приспособление имеет подвижное соединение и расстояние захвата можно с легкостью менять. Посредством лап можно снимать и фиксировать следующее:
- кольца;
- шарикоподшипники;
- шестерни.
Если инструмент имеет три лапы захвата, то возможностей у него больше, поскольку лапы можно разворачивать и применять с целью снятия внутренних элементов. Его называют съемником внутренних подшипников.
Самым универсальным приспособлением является комбинированный выпрессовщик, обладающий свойствами как двухлапого, так и трехлапового инструмента. Его конструкция предусматривает наличие специальных хомутов, посредством которых можно легко снять поврежденные частицы.
Монтаж и демонтаж подшипников требует приложить ручное стягивающее усилие, чтобы посадить или снять тот или иной элемент. От того, насколько правильного вы подберете инструмент, зависит успешность работы, а также собственная безопасность.
Технические характеристики
Данные инструменты отличаются по разным параметрам. Так, по принципу приведения в действие они бывают следующими:
- съемник внутренних подшипников механического типа — он работает посредством ручного усилия и предназначается для работы с не особо тугими соединениями;
- съёмник подшипников гидравлический — используется для ступичных приспособлений и имеет гидропривод, помогающий откручивать прикипевшие частицы и облегчить усилия оператора.
Имеют разные приборы и разный рабочий диапазон. На них имеется два значения:
- предельная ширина рабочего пространства;
- максимальная длина.
Чем больше эти показатели у инструмента передней ступицы, тем он лучше.
Рабочий диапазон может быть разным, например, 185/225 мм или же 290/380 мм и не только.
Механические съемники подшипников
Съемники механического типа бывают таких видов:
- внутренними;
- двухзахватными;
- трехзахватными.
Двухзахватные инструменты — это надежные и простые конструкции, сделанные на основе высокопрочных сплавов, посредством ковки. Также обеспечивается достойный контроль над всем процессом работы.
Их применяют в качестве съемников ступичных подшипников. Некоторые модификации сконструированы под 1 диаметр. Они более надежные, поскольку имеют монолитную конструкцию. Но универсальные съемники — наиболее распространены, и их можно настроить под любой диаметр. Но такой вариант имеет незначительный люфт при выполнении стягивающего усилия.
Трехзахватные варианты — более совершенные в конструктивном плане и имеют три лапы захвата. Их изготавливают на основе твердосплавной инструментальной стали посредством ковки.
Их применяют в качестве съемников подшипника на передней ступице. Надежная система захвата позволяет также использовать их и в качестве съемников подшипников генератора.
Обязательно учитывайте при выборе инструмента качество сборки его составляющих. В частности, не должно быть неестественного люфта, а зацепки могут быть сделаны под углом к основанию, чтобы правильно зафиксировать съемник на валу.
С помощью внутренних съемников снимают шариковые или игольчатые роликовые подшипники, а также латунные муфты разных валов, коленчатые в частности. А еще подобные съемники нужны для демонтажа втулок и подшипников с плотной посадкой.
Есть еще один вид данного инструмента — специальный, который используется для выпрессовки подшипников разных автомобильных приборов:
- генератор;
- мотор;
- цилиндры и не только.
Данные приборы изготавливаются под определенные диаметры и размеры, только это обеспечивает надежную их работу.
Гидравлические съемники
Гидравлический способ монтажа или демонтажа предусматривает применение специальных инструментов для посадки или полуавтоматического снятия подшипниковых элементов.
Здесь используется гидравлическая тяга.
Гидравлический съемник — это такая гайка, ее внутренняя полость давит на специальный поршень, он передает усилия на деталь, которую снимают или устанавливают. С помощью такого съемника можно снимать подшипники ступицы колес автомобилей разных марок. А еще его применяют в качестве съемника для шкивов.
Гидравлические съемники используются для монтажа и демонтажа подшипников грузовых и крупногабаритных автомобилей. Внутренние их части достаточно массивны, а человеческие силы ограничены.
Как работать с гидравлическим прибором
Чтобы подготовить съемник к работе, нужно сделать следующее:
- проверяем все его детали на исправность. Если есть трещины, деформации или признаки сильного износа, использовать его нельзя;
- предельно точно оцените осевое усилие для снятия детали с вала. Если усилия гидроцилиндра будет мало, его применять нельзя, выберите вариант, максимально подходящий для этого;
- рабочая температура должна составлять до 45 градусов.

Затем приступаем непосредственно к самой работе:
- накиньте лапы-захваты на снимаемую деталь. Винтите гидроцилиндр съемника в гайку с лапами, чтобы конец штока уперся в вал с деталью. Коническая насадка на штоке должна войти в центровочное отверстие вала;
- винт сброса давления заворачиваем до упора;
- рукояткой нагнетаем в гидроцилиндр масло из бака, а шток должен упереться в торец вала, деталь при этом будет двигаться. При съеме детали нужно следить за положением рабочих площадок лап относительно нее, чтобы они не сорвались;
- в зависимости от модели инструмента ход штока должен составлять 50−70 мм.
Многие интересуются тем, как правильно обслуживать инструмент и существуют ли какие-то гарантии на него от продавцов и поставщиков.
Так, гидравлическое масло со временем свои свойства будет терять и загрязнится. Во время работы, возможно, потребуется долить масло или целиком его заменить.
Масло доливают непосредственно в резиновую емкость бака, размещенную под стальным кожухом. Чтобы в съемнике заменить масло, стальной кожух нужно снять, затем масло сливается, но шток при этом выдвигать нельзя. Рабочей жидкостью является специальное гидравлическое масло.
Категорически нельзя допускать попадания воды на инструмент, а его детали нужно вовремя смазывать.
Что касается гарантий, то поставщики предоставляют ее на срок в течение 12 месяцев с момента приобретения, но только при условии, если потребитель соблюдает правила применения устройства, изложенные в руководстве к нему.
Все претензии поставщики принимают только при наличии руководства по эксплуатации, а также при отметки о дате приобретения и штампом компании, осуществившей продажу.
Подобные обязательства по гарантии не распространяются на инструменты с механическими повреждениями, которые были спровоцированы неправильным применением, а также попытками отремонтировать их самостоятельно, а также в случае отсутствия масла в баке либо же если масло в баке не соответствует рекомендуемому производителем.
Качество продукции должно контролироваться. Каждый инструмент должен проходить ряд специальных технических испытаний. Особенно если речь идет о продукции гидравлического типа. Такие съемники могут развивать усилие от 15 тонн и более. Производство их контролируется посредством специальных приборов, которые проводят спектральные и ультразвуковые анализы.
Стоимость
Приобрести специальные съемники для подшипников можно в магазинах автотоваров, а также в интернете. Цены при этом могут быть вполне приемлемыми. Также устройство можно приобрести непосредственно на СТО, если такая продажа у них налажена.
Стоимость зависит как от технических характеристик и марки модели, так и от вида съемника.
Так, двухзахватные механические модели в зависимости от модификации и марки обойдутся покупателям от 5 долларов за одну штуку. А трехзахватные инструменты будут стоить от 10 долларов и выше.
Гидравлические варианты стоят дороже.
В зависимости от разных факторов их стоимость составляет от 100 до 1000 долларов за штуку.
Рассмотренные выше устройства имеют разную модификацию и тип в зависимости от того, как планируется их использовать. Для большинства автовладельцев такой инструмент просто незаменим.
Съемники подшипников своими руками
Главная » Разное » Съемники подшипников своими руками
Съемник подшипников из рожковых ключей своими руками
Доброго всем времени.
В этой статье речь пойдёт, о том как мастер сделал съёмник своими руками из старых рожковых ключей. По словам автора таким инструментом можно снимать, как наружные, так и внутренние подшипники. Кому интересно, читаем статью дальше.
И так автору для данной самоделки потребовались такие материалы: шпилька М 10, пару гаек к ней, четыре прямоугольные металлические пластины толщиной 4 мм и длинной 50 мм, два рожковых ключа одинаковых (у автора 12 на 14) и ещё несколько болтов М 8 и гаек к ним.
Первым делом нанёс разметку на один из ключей.
Затем с помощью УШМ Отрезал всё лишнее.
Обработал срез напильником.
Готовая деталь.
Аналогичным способом сделал и второй ключ.
Далее делает отверстие посередине обработанных ключей.
На всех четырёх пластинах автор делает по два отверстия.
Готовые детали.
Затем накрутив на шпильку две гайки сварит их вместе.
После к этим гайкам с боку приварит ещё по одной гайке.
Когда все детали были готовы приступил к сборке инструмента.
И в завершении к шпильке он приварил кусок арматуры которая будет служить в качестве ручки.
Такой вот универсальный съёмник получился у автора.
Второй край шпильки немного сточил.
Тест. Наружный подшипник.
Для того, чтобы снять внутренний подшипник, Автор перевернул ключи и поставил шпильку по длиннее. Продев шпильку в подшипник накрутил на неё гайку.
Ключи упирает в корпус.
И выкручивает шпильку.
Таким образом подшипник снят. Инструмент со своей задачей справился.
Всем спасибо и до новой встречи.
Видео:
Источник Становитесь автором сайта, публикуйте собственные статьи, описания самоделок с оплатой за текст. Подробнее здесь.
Как сделать наипростейший съемник подшипников якоря
При ремонте различного электроинструмента, такого как болгарка, дрель, шуруповерт, перфоратор или электролобзик возникает необходимость поменять подшипник на якоре. Часто он прикипает и не хочет сниматься. Чтобы ничего не погнуть, лучше его выдавить специальным съемником, который легко сделать своими руками.
Необходимые материалы:
- профильная труба 80х80 мм;
- болт М8 100 мм;
- гайки М8.

Изготовление съемника
В качестве рамы съемника используется узкий обрезок профильной трубы 80х80 мм. Если его нет, то рамку можно сварить из имеющегося в наличии металлолома, чтобы не покупать большую трубу. На двух противоположных сторонах профиля с помощью диагоналей отмечаются центры, в которых сверлятся отверстия сверлом 10 мм.
К одному отверстию нужно прорезать паз конусной формы, чтобы заводить в него валы якорей. На отверстие с обратной стороны аккуратно наваривается гайка М8. Важно не прихватить сваркой ее внутреннюю резьбу. В нее вкручивается болт со сточенным под конус краем.
Также можно приварить к шляпке болта гайку, чтобы вращать его не ключом, а рычагом из отвертки, но это не обязательно. При съеме подшипника потребуется сделать всего несколько оборотов, поэтому использование ключа не вызовет неудобства.
Далее если рамка съемника сделана из профильной трубы с толщиной стенок 4 мм, то со стороны клиновидного выпила нужно сточить стенку до 3 мм.
Дело в том, что у многих якорей зазор между крыльчаткой и подшипником настолько мал, что подошва съемника не помещается. Лучше сразу все сточить, и потом инструмент подойдет абсолютно к любому якорю. Если рамка изготовлена из трубы со стенками 2 мм, то стачивать ничего не нужно.
Чтобы воспользоваться съемником, требуется завести в его паз вал якоря так, чтобы подшипник оказался внутри рамки. После этого нужно упереться конусным концом болта в центр торца вала. Подшипник выдавливается плавным закручиванием болта.
Применение съемника исключает деформацию вала, в частности расклепывание его торца, что возможно в случае неаккуратного выбивания молотком с приставленным пробоем. Кроме этого такой способ бесшумный, так как не сопровождается ударами. Если использовать при изготовлении съемника обрезок от профильной трубы оставшейся от строительства забора, то все затраты ограничиться только покупкой болта с гайкой.
Смотрите видео
Съемник подшипника ступицы своими руками — Peugeot 406, 1.8 л., 1998 года на DRIVE2
Как уже писал правый ступичный подшипник нуждается в замене. Собственно нет ничего сложного в замене подшипника. Выбить его из кулака можно при помощи кувалды и чего-нибудь подходящего размера, но вот для того, чтобы запрессовать его в поворотный кулак нужен съемник ступичных подшипников. Чтобы не покупать этот самый съемник, решил сделать его сам.
Для изготовления съемника понадобятся:
Отрезок трубы, внутренний диаметр которой больше диаметра подшипника.
Небольшой кусок прочного листового металла.
Болт с гайкой и пара шайб.
Болгарка.
К листу металла приложил трубу и подшипник и обвел их по контуру.
С помощью болгарки сначала вырезал из металла будущие детали съемника, а затем обточил до нужных размеров.
Осталось просверлить отверстия под болт в шайбах, и съемник готов.
Ну вот как-то так.
Цена вопроса: 0 ₽
ЗАЗ Sens › Бортжурнал › Подготовка к реанимации гены. Съемник подшипников генератора своими руками.
Итак, делаем примитивный съемник для снятия подшипников генератора. Для этого нам необходимо следующее: подшипник №6203 с генератора, можно б/у, кусок трубы 2 дюйма (можно 57-й), длинной 120 мм, болт М12 (не принципиально, можно любой, какой есть в наличии), длинной приблизительно 80 мм, гайка на этот болт, в моем случае тоже М12, знакомый токарь и немного желания.
Полный размер
Собираем весь вышеперечисленный металлолом, подрываем попу и чешем к знакомому токарю. Просим его чтоб он выточил втулку с наружным диаметром приблизительно 50 мм ( по внутреннему диаметру имеющейся в наличии трубы) и внутренним диаметром 40 мм ( это размер наружной обоймы нашего подшипника ). На втулке с одного торца должно быть просверлено отверстие диаметром 13 -14 мм, чтобы свободно вставлялся болт М12.
С другой стороны должен быть предусмотрен бурт для удержания подшипника по наружной обойме. В последствие изготовленную втулку разрезаем напополам, то ли на фрезерном станке, то ли, как в моем случае, болгаркой. На качество съема это не влияет. Выглядит это так.
Полный размер
Так же просим его выточить упорную крышку на торец подобранной нами трубы, с отверстием под болт. В разрезе это все выглядит примерно так.
Полный размер
Полный размер
Дальше из заготовленной трубы делаем чехол на нашу разрезную втулку, чтобы не расходились половинки, когда будем стягивать подшипник. Так же чехол необходим для упора на торец якоря. Для этого болгаркой делаем на торце трубы две выборки через 180 градусов, чтобы не повредить имеющиеся на якоре вывода обмотки.
Полный размер
Полный размер
Дальше все просто. Две половинки разрезной втулки накидываем на подшипник. В противоположную сторону разрезной втулки вставляем болт. Накручиваем крышку с гайкой. Одеваем чехол.
Упираем в торец якоря. И легким движением гаечного ключа, удерживаемого в правильнорастущих руках, снимаем подшипник.
Полный размер
Завтра пост непосредственно о реанимации гены. Наперед забегая скажу, все получилось не хуже чем у фирмачей.
Всем мира.
Цена вопроса: 0 грн
Когда вам нужен специальный инструмент, вы должны арендовать или купить?
Bryan Gerould Когда махинации с кишащим мышами грузовиком остались позади, я снова обратил внимание на другой странный невинтажный автомобиль на подъездной дорожке — Winnebago Rialta 1996 года выпуска (Volkswagen Eurovan с кузовом Winnebago сзади).
.
Мы с женой планировали отправиться на маленьком фургоне в центр Вермонта на годовщину нашей годовщины в конце августа — поездка по более длинной и холмистой местности, чем двухдневная поездка на Кейп-Код, для которой мы в основном использовали его. Было два ремонта, которые я хотел втиснуть на Риалту перед поездкой. Первым делом нужно было заняться верхними шаровыми опорами. Люфта у них не было, но сапоги порвались. Я писал о ремонте нижних шаровых опор в июле и говорил о «двухстороннем преимуществе», когда при двустороннем ремонте вы учитесь, выполняя первую сторону, поэтому, естественно, работа с другой стороны обычно проходит намного быстрее. К сожалению, для снятия верхних шаровых требуется специальный съемник, а он недешевый, поэтому отложил. Тем не менее, Rialta чувствовала себя несоосной, я не хотел ставить на ней 400 миль, когда она моталась по венечным дорогам, и не было смысла выравнивать ее, пока не были заменены все необходимые элементы передней части.
Второй ремонт — задние ступичные подшипники.
По необъяснимым причинам Winnebago не повысила их рейтинг по сравнению со стандартными подшипниками VW Eurovan, хотя Rialta весит 7000 фунтов, поэтому, если подшипники задних колес начинают проявлять признаки износа (грохот, чирикание или люфт), это Важно не только заменить их, но и установить правильные немецкие сверхпрочные подшипники. Однако для замены заднего ступичного подшипника также требуются некоторые инструменты, которых у меня нет. Они не такие особенные, как специальный съемник передних шаровых шарниров Eurovan — только съемник подшипников с пластинами и чашками и скользящий молоток, — но в настоящее время у меня их нет.
Во всех трех крупных магазинах автозапчастей (AutoZone, Advance Auto Parts и O’Reilly’s) есть программы проката инструментов. По сути, вы покупаете инструмент с помощью кредитной карты, возвращаете его в течение необходимого периода времени (а это варьируется от 24 часов до 45 дней; убедитесь, что вы знаете, что это такое), и они полностью возвращают баланс на вашу карту.
Если у вас мало денег, а у них есть нужный вам инструмент, это отличный способ снизить стоимость ремонта своими руками.
Но если вы похожи на меня (а, признайтесь, вы, вероятно, таковы), вам нравится владеть инструментами. Вы же не хотите, чтобы пришлось бежать в AutoZone, узнавать, что они уже одолжили инструмент или что съемник для подшипников не подходит к вашему подшипнику. Показательный пример: направляющий подшипник в старых BMW очень маленький, и большинство арендованных съемников подшипников, которые я пробовал, не подходят. Мне никогда не везло с техникой «упаковать с хлебом или мылом». Наконец-то я купил правильный съемник подшипников и маленький скользящий молоток, на который он навинчивается. Это было не очень дорого, и мне нравится знать, что он у меня есть, и я могу ввести его в эксплуатацию, не тратя время на его поиски.
Итак, расчет инструмента выглядит примерно так: если вы можете позволить себе специальный инструмент, и вы думаете, что будете использовать его более одного раза, и его можно купить и доставить вам в нужный вам период времени, ИЛИ, если он просто недоступен для аренды, и вы можете себе это позволить, вы покупаете его. Но если покупка действительно дорогая и ее можно взять напрокат, ИЛИ если она вам нужна прямо сейчас и ее предлагает местный магазин, тогда вы берете ее напрокат.
Другим параметром является стоимость инструмента по сравнению с оплатой кому-то другому за выполнение работы. Если инструмент недоступен в аренду и стоит 500 долларов, но ремонт — это всего лишь часовая работа для профессионала, и вы не ожидаете, что когда-либо будете делать это снова, экономия на покупке инструмента, вероятно, не имеет смысла. (если, конечно, вы просто хотите, потому что это круто). Но если ремонт невозможен или обременителен без инструмента, а стоимость его покупки существенно меньше, чем оплата ремонта кому-то еще, то вы рассматриваете возможность его покупки, даже если он только для одноразового использования.
По крайней мере я знаю.
Итак, подходим к первому ремонту — верхние шаровые опоры Риалты/Евровэна. Специальный инструмент — это круто, так как он скользит по выступу в верхнем поворотном рычаге и позволяет выпрессовать старый шаровой шарнир и вставить новый, когда маятник установлен на место. Форумы VW полны упоминаний о Sealey VSE725, профессиональном съемнике верхних шаровых шарниров, который вы бы использовали, если бы владели магазином и ремонтировали его ежедневно, но это инструмент за 350 долларов. Однако, как и в случае со многими подобными специальными инструментами, если спрос достаточно высок, появляются подделки китайского производства. Я обнаружил, что они доступны на Amazon/eBay всего за 80 долларов, и нажал «купить».
Съемник верхних шаровых опор 8MileLake VW T4 за 80 долларов. Rob Siegel Одна вещь, которую следует иметь в виду при покупке недорогой версии инструмента менее чем за четверть стоимости профессиональной модели, заключается в том, что вы обманываете себя, если думаете, что качество такое же, а инструмент выдержит.
к тому же повседневному использованию. В частности, на любом съемнике с резьбой, если в инструкциях к инструменту сказано не использовать на нем пневматические инструменты, не используйте на нем пневматические инструменты. Если видео показывает, как профессионал в магазине с помощью ударного гайковерта выкручивает подшипник или шаровую опору за 10 секунд, он, скорее всего, использует профессиональную версию инструмента с креплениями класса 8, которые предназначены для этого. В недорогих версиях почти наверняка будут использоваться резьбовые стержни и гайки более низкого качества, которые можно разрушить, иногда за одно использование, с помощью ударного гайковерта. К счастью, съемник шаровых шарниров за 80 долларов сделал свое дело с помощью прерывателя и без каких-либо драм.
Тот факт, что я парень с винтажными BMW, а не с Volkswagen Eurovan / T4 / Transporter, и что это может быть единственный раз, когда я использую этот инструмент, меня ничуть не беспокоил.
С учетом того, что местный магазин дал мне оценку в 350 долларов за замену верха, экономическая выгода от покупки имела огромный смысл. И да, вторая сторона шла в два раза быстрее первой.
Задний ступичный подшипник стал намного жестче. Как я уже писал ранее, этот автомобиль мал для фургона (21 фут), но все же это 7000-фунтовая установка, и он слишком высок, чтобы поместиться в моем гараже, поэтому любой подъем домкратом должен происходить на моей асфальтированной дороге. Я делаю это очень осторожно, используя домкрат и стойки на металлических пластинах, а сам домкрат остается на месте во время ремонта.
Безопасный подъем всегда имеет решающее значение. Роб Сигел Здесь специальные инструменты не были чем-то особенным — просто обычные вещи, которыми я не владею (пока). Мне понадобился скользящий молоток весом пять фунтов или больше, чтобы установить его на съемник, который у меня уже есть, и прикрепить его к ступице с помощью гаек с проушинами, а также традиционный съемник подшипников с пластинчатой чашкой и резьбовым стержнем.
Ни то, ни другое не очень дорого; наборы съемников на Amazon стоят всего 65 долларов, а голые скользящие молотки (без насадок) — всего 30 долларов.
Проблема была в том, что я слишком долго ждал. Я запланировал встречу за день до того, как мы должны были уехать, чтобы отрегулировать фургон. Задние ступичные подшипники нужно было сделать до этого, а сроки доставки инструментов с Amazon превышали эти сроки. Harbour Freight продает молотки скольжения и съемники для подшипников скольжения и пластин, но я подумал, что сначала попробую взять их напрокат.
На веб-сайтах AutoZone, O’Reilly’s и Advance Auto Parts указано, какие инструменты они арендуют. Хитрость заключается в том, чтобы определить в Интернете набор, который, по вашему мнению, вам нужен, а затем позвонить в местный магазин и узнать, есть ли он в наличии. Съемники и экстракторы могут быть забавными вещами, поскольку трудно предсказать применимость универсальных инструментов к вашему конкретному автомобилю (зазоры и т.
д.), но в случае с задними ступичными подшипниками в основном нужно было убедиться, что арендованный комплект имел пластину чуть меньше диаметра подшипника и чашку немного большего размера, в которую его втягивали. Компания O’Reilly, расположенная в соседнем городе, продала/сдала мне в аренду ступицу колеса Evertough 67213 и комплект для снятия и установки подшипников (такой же конструкции, как у OEMTools 27213). В дополнение к резьбовому стержню, чашкам и пластинам в нем также был большой полукруглый инструмент для извлечения ступицы из подшипника, но казалось, что для его использования мне нужно будет снять тормозные колодки, поэтому вместо этого я взял напрокат скользящий молоток. , как я делал в прошлом.
К сожалению, у меня нет силы верхней части тела, к которой я привык, малая высота заднего ступичного подшипника RV, кажется, предназначена для того, чтобы разозлить мою спину, и я был измотан повторяющимся ударом .
скользящего молотка, необходимого для извлечения шпинделя ступицы из внутренней втулки подшипника. Затем я настроил пластину, чашку и резьбовой стержень нужного размера для извлечения ступичного подшипника. К сожалению, инструкции к инструменту прямо запрещают использование пневматических инструментов, поэтому мне приходилось проворачивать на четверть оборота полудюймовым прерывателем. Даже с трубой на конце это была утомительная работа.
К тому времени, как я вынул подшипник, я был полностью измотан и на этом остановился.
Успех, хоть и с истощением. Rob SiegelНа следующее утро я повторил процесс в обратном порядке, установив новый усиленный ступичный подшипник. Это было немного проще, так как поверхности можно было смазывать, но все равно приходилось работать пошагово.
Это новый подшипник на месте для втягивания штока и пластин. Роб Сигел Новый подшипник, запрессованный в свое углубление, удерживаемый новым стопорным кольцом.
Роб СигелДалее мне нужно было втянуть ступицу и ее шпиндель обратно во внутреннюю втулку подшипника. То же самое можно сделать с пластинами и резьбовым стержнем, стараясь использовать небольшую пластину, чтобы нагрузка приходилась только на внутреннюю втулку (вы не хотите выдергивать подшипники из кольца). Как только это было сделано, оставалось только затянуть болт, фланец и новую самоконтрящуюся гайку на конце. Крутящий момент в 148 футо-фунтов требовал, чтобы я стоял на конце динамометрического ключа, что мне не нужно делать часто.
Использование всего диапазона динамометрического ключа. Роб Сигел У меня еще был целый день из 48 часов, оставшихся на арендованных инструментах. Можно было подумать, что «двустороннее преимущество» заставило бы меня сразу атаковать задний ступичный подшипник с другой стороны, но вместо этого оно имело обратный эффект. Сделав одну сторону и испытав дискомфорт и усталость, вызванные сочетанием низкого положения, необходимости использования скользящего молотка и ручного проворачивания как для удаления старого подшипника, так и для установки нового и ступицы, Последнее что я хотел сделать, это развернуться и применить это знание к другой стороне.
Только одна сторона гудела. Я заменил эту сторону, назвал это успехом и вернул инструменты. Я сделаю другую сторону в другой раз.
Итак, какие инструменты я буду использовать, когда займусь другой стороной? Если я не буду ограничен во времени, как в этот раз, буду ли я покупать, а не брать напрокат? Размышляя об этом, если бы был удобный способ избежать использования скользящего молотка и всех этих ручных проворачиваний съемника подшипников (имеется в виду снятие тормозных колодок и использование ударного гайковерта), я был бы весь в ушах, но поищу в Интернете , инструкции в недорогом наборе OEMTools 27213 и запрещает использование пневматических инструментов. Похоже, вам нужно перейти на профессиональный комплект OTC 6575 Hub Grappler Wheel Hub и Bearing Puller, чтобы получить достаточно мощный, чтобы его можно было использовать с ударным гайковертом, а это комплект за 500 долларов. Может быть, я буду держать глаза открытыми для подержанного.
(Интересное последнее отступление: глядя на видеоролики об использовании комплектов для съемников ступиц и подшипников, я понял кое-что тонкое.
Чтобы снять подшипники задних колес на Rialta, автомобиль стоял на земле, одно заднее колесо было поднято домкратом. задний кронштейн — то, в чем крепится задний подшипник и ступица, — был неподвижен, не болтался, прямо под ним находился домкрат или подставка для домкрата.0011 может надеть стержень прерывателя на съемник подшипников, проходящий через него, надеть трубу на конец стержня прерывателя и провернуть рукоятку, стоя на трубе, если это необходимо. Напротив, описанные выше комплекты съемников ступиц и подшипников используются на передней части автомобиля с передним приводом. Как правило, автомобиль стоит на подъемнике, а поворотный кулак болтается под каким-то странным углом, потому что он отделен от ШРУСа, чтобы зайти за него и вытащить подшипник. Таким образом, вы, возможно, не сможете надеть прерыватель и трубу на съемник, потому что вы можете легко повредить компоненты, такие как нижний шаровой шарнир, на котором висит вещь. Замечательно, что эти инструменты доступны и позволяют вытягивать подшипники передних колес, не снимая поворотный кулак с автомобиля и не помещая его на настольный гидравлический пресс, но любопытно, что собственное видео OEMTools показывает, как их инструмент используется с ударным гайковертом, когда в инструкциях, по крайней мере, в тех, что я нашел в Интернете, конкретно сказано: «НЕ используйте пневматические инструменты».
)
После всего сказанного я благодарен за программы аренды инструментов в крупных магазинах автозапчастей. Несмотря на мои жалобы на боли в спине, я смог бесплатно одолжить то, что мне было нужно, чтобы заменить подшипник заднего колеса. Если вы воспользуетесь преимуществами проката инструментов, не забудьте продемонстрировать свою поддержку, купив у них некоторые расходные материалы, такие как масло и очиститель тормозов.
***
Новая книга Роба Сигела, The Best Of The Hack Mechanic TM : 35 лет взломов, клугов и различных автомобильных беспределов, доступна на Amazon. Другие семь его книг доступны здесь, или вы можете заказать копии с личной подписью на его веб-сайте www.robsiegel.com.
Как заменить браслет ступичного подшипника — пошаговые инструкции и необходимые инструменты — Sweetandspark
Джиллиан Бремер
Замена браслета ступичного подшипника может быть сложной и трудоемкой задачей, но она необходима для постоянного обслуживания вашего автомобиля. Это гарантирует плавность хода вашего автомобиля и может помочь предотвратить чрезмерный износ подвески. Знание того, как заменить браслет ступичного подшипника, — это навык, которым должен обладать каждый владелец автомобиля, поскольку это относительно простой процесс, который может помочь вам сэкономить деньги на дорогостоящем ремонте. В этой статье приведены пошаговые инструкции по замене браслета ступичного подшипника и инструменты, которые потребуются для выполнения этой работы. В нем также будет обсуждаться важность замены компонентов на регулярной основе для поддержания вашего автомобиля в отличном состоянии.
Можно ли заменить подшипник колеса самостоятельно?
Поскольку ступичные подшипники настолько сложны, заменить подшипники будет сложно. Если у вас нет подъемника и вы не достаточно квалифицированы, чтобы починить его, вам следует обратиться к механику.
Каждое колесо имеет подшипник в смазанном и водонепроницаемом кольце, которое крепится к колесу болтами. Подшипники, как и тормоза, не требуют планового обслуживания и могут служить долго. Несоблюдение этих предупреждающих знаков может привести к полному падению колеса на дорогу, что может привести к травмам и несчастным случаям. Ремонт автомобиля, предполагающий замену колес, относится к среднему уровню. Многие люди предпочитают приносить свой автомобиль для этого ремонта из-за сложности. Можно научиться самостоятельно менять подшипники в домашних условиях и даже приобрести специальные детали, если у вас есть время и деньги.
Информация о стоимости замены ступичного подшипника
Замена ступичного подшипника занимает много времени и может составлять от 30 минут до полутора часов для передних подшипников и от 15 до 45 минут для задних подшипников, в зависимости от марка и модель автомобиля. В случае с подшипником ремонту подлежит только ступица, герметичный узел, неразборный; это единственный вариант.
При расчете цены имейте в виду, что бессмысленно менять подшипники на другом колесе, если один из них вышел из строя. Средняя стоимость замены ступичного подшипника по стране составляет с одним колесом стоит около 350 долларов, но люксовые бренды могут стоить дороже. При замене ступичных подшипников лучше проконсультироваться с профессиональным механиком.
Вам нужен специальный инструмент для замены колесных подшипников?
Источник изображения: https://skatevella.com Замена ступичных подшипников может быть непростой задачей, и для ее выполнения важно иметь подходящие инструменты. В то время как некоторые ступичные подшипники можно заменить с помощью всего нескольких основных ручных инструментов, для других может потребоваться специальный инструмент для правильной замены ступичного подшипника. Если вы не уверены, нужен ли вам специальный инструмент для замены ступичных подшипников, лучше всего проконсультироваться с квалифицированным механиком или обратиться к руководству пользователя вашего автомобиля.
Также важно использовать правильный тип подшипника, так как некоторые колесные подшипники предназначены для установки с помощью специального инструмента. Наличие надлежащих инструментов под рукой может сэкономить время и деньги при замене ступичных подшипников, поэтому важно убедиться, что у вас есть подходящие инструменты для работы.
Колесные подшипники состоят из стальных шариков, помещенных в металлический корпус, известный как обойма, и расположены внутри ступицы колеса. Во время вождения вы можете иногда слышать стон или гул, что, скорее всего, вызвано выходом из строя одного из ступичных подшипников вашего автомобиля. Первым шагом является снятие ротора и внутреннего ступичного подшипника со шпинделей. Шаг 2: Сдвиньте ротор вперед, чтобы снять внешний ступичный подшипник (меньший ступичный подшипник). Корпус должен быть смазан консистентной смазкой. Четвертый и последний шаг – установка нового подшипника. После нанесения смазки на внешнюю полость подшипника затяните внутри полости подшипника .
Если ступичные подшипники вашего автомобиля запрессованы в шпиндели, вам следует отнести их в местную ремонтную мастерскую. В большинстве случаев эта услуга менее затратна, чем другие виды работ. После установки тормозного диска и суппорта можно использовать храповик и соответствующие гнезда, чтобы вернуть их на автомобиль.
При замене колесных подшипников съемник является важным инструментом, поскольку он прост в использовании и может сэкономить значительное количество времени. Губки инструмента специально разработаны для надежного захвата ступичного подшипника или другого компонента во время его снятия с вала или углубления, что позволяет снимать его, не опасаясь повреждения. Даже если у вас есть многолетний опыт, съемник подшипников станет отличным дополнением к любому набору инструментов, поскольку позволяет заменить ступичные подшипники быстрее, чем стандартными методами. Съемник подшипников значительно упрощает и ускоряет замену колесных подшипников, позволяя опытным механикам выполнять работу быстро и безопасно.
Несмотря на то, что замена ступичного подшипника может быть сложной задачей, съемник подшипников делает ее намного проще и быстрее.
Замена ступичного подшипника своими руками: простая задача для экономии денег
Если у вас есть автомобиль, вам вряд ли потребуется регулярно менять ступичные подшипники. Хотя это может показаться сложной задачей, это не так сложно, как вы думаете. В любом случае вам потребуется только набор специализированных инструментов, таких как домкрат, отвертка, плоскогубцы, разводной ключ, молоток и пробойник. Если у вас есть необходимые инструменты, вы можете начать с подъема автомобиля, снятия масленки, шплинта и гайки, снятия ступицы и колеса со шпинделей, снятия и замены подшипников, а затем повторной сборки автомобиля. Вы можете сэкономить много денег, заменив ступичные подшипники самостоятельно, а не нанимая механика; это может занять некоторое время, но оно того стоит. Вы можете обеспечить бесперебойную и безопасную работу вашего автомобиля, если будете следовать этим простым шагам и использовать правильные инструменты.
Сколько рабочих часов требуется для замены ступичного подшипника?
Замена одного ступичного подшипника может занять до 120 минут в зависимости от марки и модели вашего автомобиля. Что вы должны сделать, если вам нужно заменить подшипник колеса: Вот некоторые вещи, которые вы должны сделать. Опытный механик – это тот, кто делает свою работу с честью. Вот и заменили ступичный подшипник.
Крайне важно уделять пристальное внимание ступичным подшипникам. Если неисправный ступичный подшипник не проходит, могут возникнуть повышенные трудности при вождении, а стоимость ремонта колеса может оказаться дороже. К счастью, если проблема обнаружена на ранней стадии, вы можете ограничить повреждение одним ступичным подшипником, что обойдется вам примерно в 350 долларов на ремонт по всей стране. Если вы проедете более 500 миль в таком состоянии, вы можете потратить значительно больше денег на ремонт. Во избежание путаницы важно помнить, что замена ступичного подшипника на одном колесе не обязательно подразумевает замену ступичного подшипника на другом колесе той же оси, так как это не похоже на замену пары шин сразу.
Если ваши ступичные подшипники выходят из строя, вы должны следить за ними и знать, что любой неожиданный ремонт будет стоить вам больше, чем вы имеете право.
Как заменить ступичные подшипники на прицепе
Замена ступичных подшипников на прицепе — это относительно простой процесс, который можно выполнить с помощью основных инструментов и некоторых знаний. Во-первых, вам нужно будет снять колесо, для чего нужно ослабить гайки крепления и поднять прицеп домкратом. Когда колесо снято, вам нужно будет снять ступицу в сборе, которая удерживается несколькими болтами. После того, как ступица будет снята, вы сможете выдвинуть старый подшипник и вставить новый. После того, как новый подшипник будет на месте, вам нужно будет переустановить узел ступицы, убедившись, что все болты надежно затянуты. Наконец, вам нужно будет снова прикрепить колесо, убедившись, что зажимные гайки затянуты. С помощью этих шагов вы сможете успешно заменить ступичные подшипники на вашем прицепе.
Замена ступичных подшипников на прицепе может быть сложной, но простой.
Для начала вам понадобится несколько простых инструментов. Чтобы эффективно использовать свое время, вы должны быть готовы. Подшипники моего прицепа стоят всего 25 долларов за колесо, поэтому я заменяю весь комплект. В этом разделе описан процесс замены ступичных подшипников. После нанесения новой смазки на ступицы вставьте новые внутренние чашки. Шаг 2 определит размеры внутреннего и внешнего диаметров старых.
Третий шаг — тщательно очистить все, что вам понадобится для перемещения подшипников. Прежде чем устанавливать подшипники, их необходимо предварительно заполнить смазкой. В результате это фрикционная посадка, поэтому вы должны постучать по ней молотком, чтобы она оказалась на одном уровне с задней частью втулки. Не забудьте про стиралку. Когда вы будете вращать колесо, немного сильнее затяните гайку. Прежде чем определиться с размером ступицы, необходимо сначала определить ее внутренний диаметр. Установка подшипниковых опор необязательна, но должна быть выполнена. Они используют пружину, чтобы активно проталкивать смазку во втулку, тем самым резко уменьшая проблемы с подшипниками .
Шаг 6 — смазать эти ступицы.
Техническое обслуживание вашего прицепа: ежегодно меняйте ступичные подшипники
Колесные подшипники в прицепе не следует упускать из виду как важнейший компонент технического обслуживания прицепа. Если вы часто используете свой прицеп, рекомендуется менять подшипники колес не реже одного раза в год или каждые 20 000 миль. В зависимости от типа прицепа и размера ступичных подшипников замена ступичных подшипников на прицепе может занять от одного до трех дней. Для подшипники передних колес , процедура может занять от 30 до часа и от 15 до 45 минут для подшипников задних колес. Убедитесь, что соблюдаются инструкции производителя прицепа и используются соответствующие инструменты. Вы также убедитесь, что подшипники на ваших колесах находятся в хорошем рабочем состоянии и что ваш прицеп безопасен для использования.
Джиллиан Бремер
С самого детства я была одержима модой и бизнесом. В результате моего опыта работы в одном из крупнейших ритейлеров модной одежды в Америке я был вдохновлен созданием Sweet & Spark, чтобы поделиться своей любовью к винтажным украшениям и моде со всем миром.
Замена подшипника передней ступицы Volkswagen Golf GTI Mk IV (1999-2005 гг.)
Выберите
ваш автомобиль
Не можете найти нужный автомобиль? Кликните сюда.
Применимые модели:
- VW Golf GTI (1999-00):
— Golf, Cabriolet (1993-2002)
— Golf, R32 (2000-2006) - Фольксваген Гольф ГТИ 1.8Т (2002-05)
- 20-летие VW Golf GTI (2003 г.)
- Фольксваген Гольф ГТИ 337 (2002)
- VW Golf GTI GLS (2001)
- Фольксваген Гольф ГТИ GLX (2000-01)
- Фольксваген Гольф ГТИ ВР6 (2002-05)
Вы начинаете слышать скрежет и вибрацию передних колес? Вы заметили, что колесо трясется, когда вы едете? Скорее всего, ступичные подшипники могут начать выходить из строя.
Неисправный ступичный подшипник может иметь несколько предупреждающих знаков. Наиболее очевидным был бы вой или скрежет переднего колеса во время движения.
Этот шум будет становиться громче, когда вы поворачиваете из стороны в сторону. Вы также можете проверить шумный подшипник колеса на неподвижном автомобиле. Поднимите переднюю часть автомобиля и поверните переднее колесо, при вращении положите руку на переднюю винтовую пружину. Вы должны быть в состоянии уловить вибрацию весной. Также может быть люфт в подшипнике. Вы можете проверить свободный ход, поддомкратив переднюю часть автомобиля и покачивая колесо вверх и вниз. Если есть люфт, замените подшипник.
Самая трудная часть работы — открутить 30-миллиметровую 12-точечную самоконтрящуюся гайку, которая крепит приводной вал к ступице. Гайка затягивается под огромным крутящим моментом. Самый простой способ сделать это — использовать ударный гайковерт, чтобы ослабить гайку. Электрические ударные пистолеты можно купить недорого, и они станут отличным дополнением к вашему набору инструментов. Если у вас нет ударного пистолета, вы можете снять центральную крышку на переднем колесе, оставить автомобиль на земле и вставить 30-мм головку через центр.
Затем поместите самый большой прерыватель, который у вас есть, на гнездо и ослабьте гайку. В итоге мне пришлось поставить трехфутовую трубу на конец стержня прерывателя, чтобы получить достаточное усилие.
Перед тем, как начать все разбирать, положите новый подшипник в морозильную камеру. Это поможет сжать металл и облегчит вдавливание. Поднимите и поддержите переднюю часть автомобиля на домкратах. См. нашу техническую статью о том, как поднять автомобиль домкратом. Вам также нужно будет снять передние тормоза и ротор. Пожалуйста, ознакомьтесь с нашей статьей о замене переднего ротора.
Горячий наконечник
Заморозьте подшипники перед установкой
Уэйн Р. Демпси, соучредитель и эксперт по ремонту
Стив Вернон, мастер-сделай сам
//Фотографии проекта
Рисунок 1 Если у вас нет ударного пистолета, вы можете снять центральную крышку на переднем колесе, оставить автомобиль на земле и вставить 30-мм головку через центр (красная стрелка).
Затем поместите самый большой прерыватель, который у вас есть, на гнездо и ослабьте гайку. В итоге мне пришлось поставить трехфутовую трубу на конец стержня прерывателя, чтобы получить достаточное усилие. Если у вас есть ударный пистолет, снимите колесо, прежде чем использовать ударный пистолет на гайке. фигура 2
На этой фотографии показана 12-гранная гайка оси 30 мм (красная стрелка). Тормозной суппорт и диск сняты. Гайка имеет вставку Nylex и предназначена только для одноразового использования. Не забудьте заменить эту гайку при повторной установке оси. Рисунок 3
Ось будет выталкиваться из ступицы (красная стрелка). Для этого вам нужно будет отметить положение шарового шарнира и удалить три 13-миллиметровых гайки и болта (желтая стрелка, показана одна). Рисунок 4
Вам нужно будет снять шаровой наконечник рулевой тяги. Внутренняя часть болта поперечной рулевой тяги имеет прорезь для шестигранного ключа на 6 мм (красная стрелка).гайка из найлекса мм (желтая стрелка). Рисунок 5
В зависимости от возраста и состояния наконечника рулевой тяги вам может понадобиться использовать вилку для травления или съемник шарового шарнира (красная стрелка), чтобы отделить шаровой шарнир от корпуса подшипника.
Рисунок 6
После удаления наконечника рулевой тяги и шарового шарнира ступица теперь имеет достаточно места для перемещения вперед при выдавливании оси. Используйте стандартный трехрычажный пресс (красная стрелка) и вытолкните ось из втулки. Рисунок 7
Когда ступица ослаблена, ось можно легко отделить от ступицы. Рисунок 8
Есть много способов снять ступицу с крепления, но я нашел самый простой способ — это скользящий молоток. Вы можете одолжить или арендовать его в местном магазине запчастей. Сначала установите одну из гаек и болтов шарового шарнира, чтобы соединить поворотный кулак с нижним рычагом подвески. Просто вставьте молоток в ступицу, закрепите его диском соответствующего размера, чтобы он соответствовал внутреннему диаметру ступицы (красная стрелка), и сделайте пару рывков (зеленая стрелка). Не пытайтесь вытягивать ступицу и подшипник одновременно. На подшипнике есть внутреннее стопорное кольцо, которое необходимо снять, прежде чем подшипник вытащится. Рисунок 9Ступица, скорее всего, оторвется с прикрепленным внутренним кольцом (красная стрелка).
Используйте небольшой трехрычажный съемник со стержнем, чтобы удерживать рычаги съемника на месте, и снимите внутреннюю обойму со ступицы. Проверьте на наличие повреждений и, если концентратор в порядке, поместите его в морозильную камеру, чтобы облегчить установку. Рисунок 10
Сняв ступицу, вы можете увидеть стопорное кольцо, удерживающее подшипник на месте. Используйте инструмент для удаления стопорных колец и снимите зажим (красные стрелки). Возможно, вам придется использовать отвертку, чтобы вытащить зажим, но будьте осторожны, чтобы не повредить монтажный фланец. Рисунок 11
Теперь вы сможете использовать съемник для подшипников (красная стрелка), чтобы снять подшипник. Рисунок 12
Вы также можете снять всю опору или поворотный кулак и выпрессовать подшипник. Рисунок 13
Очистите внутреннюю поверхность крепления с помощью губки Scotch Brite и небольшого количества очистителя тормозов, пока не удалите всю грязь и коррозию (красная стрелка). Рисунок 14
Используйте хорошую высокотемпературную смазку и смажьте внутреннюю часть крепления (красная стрелка).
Не беспокойтесь о сумме, так как все лишнее будет выжато. Рисунок 15
Выньте подшипник из морозильной камеры (красная стрелка, обратите внимание на конденсат) и с помощью пресса для подшипников (желтая стрелка) вдавите его в корпус подшипника. Рисунок 16
Полностью установив подшипник, установите новое стопорное кольцо (красная стрелка). Убедитесь, что он установлен правильно. Рисунок 17
Выньте ступицу из морозилки и вдавите новый подшипник (красная стрелка). Рисунок 18
Обязательно поддерживайте внутреннюю обойму подшипника (желтая стрелка) и не используйте фланец ступицы (красная стрелка) в качестве точки опоры для пресса. Если вы не поддерживаете внутреннюю обойму и используете ступицу в качестве точки крепления, вы в конечном итоге выдавите внутреннюю обойму нового подшипника и разрушите ее. Установка обратна снятию. Не забывайте использовать новое одноразовое оборудование, где это применимо. Добавить новый комментарийСООБЩЕНИЕ: (макс. 2500 символов)
Остались вопросы? Спросите любого из наших автомобильных экспертов.

Вопросы читателей доски объявлений технического форума об этой статье
Применимые модели:
- VW Golf GTI (1999-00):
— Golf, Cabriolet (1993-2002)
— Golf, R32 (2000-2006) - Фольксваген Гольф ГТИ 1.8Т (2002-05)
- 20-летие VW Golf GTI (2003 г.)
- Фольксваген Гольф ГТИ 337 (2002)
- Фольксваген Гольф ГТИ ГЛС (2001)
- Фольксваген Гольф ГТИ ГЛС (2000-01)
Pelican Parts специализируется на запасных частях производительности и качества OEM для Porsche, BMW, Mercedes-Benz, MINI и других европейских марок.
310-626-8765
Пн-Пт: с 7:00 до 17:00 (тихоокеанское время)
1600 240-я улица
Харбор-Сити, Калифорния
Свяжитесь с нами
Колесные подшипники и оси Harley: Окончательная таблица размеров
Stylethority поддерживается читателем.
Когда вы покупаете по ссылкам на сайте, мы можем получать комиссию.
Ксандер | Автозапчасти, направляющие
Всегда возникает некоторая путаница в отношении размеров ступичных подшипников и осей Harley. Я понимаю, почему: несколько десятилетий истории, новые серии каждые несколько лет, несколько отличительных линий мотоциклов…
Для вашего удобства я подготовил подробное руководство по всем ступичным подшипникам, передним и задним мостам Harley Davidson.
Примечание. В 2008 году Harley стал метрическим с размерами осей. Другими словами, каждая модель, начиная с 08, будь то Touring, Sportster или Dyna, оснащена 25-миллиметровыми герметичными подшипниками.
Важно: Не путайте 25 мм с 1 дюймом! 1 дюйм равен 25,4 мм, но поверьте мне, эти дополнительные 0,4 мм имеют решающее значение.
Если вы решите заменить ступичные подшипники своими руками, вам также понадобится съемник , подобный этому .
Это значительно ускорит и упростит процесс.
На подшипники по таблицам размеров!
Таблица размеров ступичных подшипников № 1:Harley Dyna & Sportster
Вот размеры ступичных подшипников и осей для Dyna и Sportster. Серия Dyna может быть особенно сложной, поэтому обратите особое внимание на разницу в размерах передней и задней осей в моделях середины 2000-х годов.
Sportster довольно прямолинеен, так как передняя и задняя оси соответствуют друг другу по размеру на всех моделях XL, будь то однодисковые или двухдисковые.
Как я уже упоминал, следите за различиями моделей Dyna FXD, FXDC, FXDB и FXDL между 00 и 07. Между однодисковыми и двухдисковыми моделями Dyna также есть некоторые нюансы.
Если вы ищете отличную замену 1-дюймовому диску, я особенно люблю All Balls Racing. Этот комплект подшипников подходит для большинства моделей Dyna середины 00-х годов, FLHR Electra Glide между 00-07, большинства моделей Road King, включая FLHR, FLHRC, FLHRCI и т.
д.
Это #25-1394 с точки зрения серийного номера; их диаметр составляет 52 мм, а OEM-номер — 9.247. Перепроверьте их, чтобы быть уверенным.
Прожектор
Подшипники All Balls Racing
Недорогие, качественные и подходят для 1-дюймовых осей. Лучшее соотношение цены и качества с гарантией 1 год.
ПРОВЕРИТЬ ЦЕНУ (Amazon)
Размеры осей Harley Davidson Touring и SoftailК счастью, и Touring, и Softail просты. Их задняя и передняя оси в целом соответствуют друг другу.
Заметным исключением могут быть модели 00-01 Touring, где они отличаются.
Обратите внимание, что эти размеры ступичных подшипников для Harley Touring применимы как к моделям с ABS, так и к моделям без ABS.
Подшипники Harley VROD и FXR по размеру И последнее, но не менее важное: я объединил VROD и FXR в одну таблицу. Эти серии Harley легче всего запомнить.
Мало того, что их оси совпадают друг с другом, так еще и у вас не так много вариаций серий по годам.
Имейте в виду, что в таблицу VROD я включил обе модели VROD с колесами 18×8,50 дюймов (00-07) и Harley VROD 08-17 с ABS или без нее.
Еще раз помните, что 25 мм не совсем равно 1 дюйму. Небольшая разница между размерами двух колесных подшипников/осей может оказаться сложной задачей, если вы решите поменять подшипники друг на друга.
Как часто нужно менять ступичные подшипники Harley Davidson?Что ж, ступичные подшипники мотоциклов — непростая задача. Это относится вдвойне к OEM-подшипникам Harley.
Вы должны рассчитывать на то, что проедете не менее 70 000 миль от правильно изготовленного вторичного ступичного подшипника, а также OEM-подшипника, поставляемого с вашим мотоциклом.
Тем не менее, если вы едете по пересеченной местности и проезжаете на своем Харлее по пыльным дорогам или в других экстремальных условиях… вам, возможно, придется заменить их через 50 тысяч миль или около того.
Если вы ищете замену, вы можете ознакомиться с моими рекомендациями по брендам.
Подходит для общего использования:
Прожектор
Подшипники All Balls Racing
Недорогие, качественные и подходят для 1-дюймовых осей. Лучшее соотношение цены и качества с гарантией 1 год.
ПРОВЕРИТЬ ЦЕНУ (Amazon)
Как мне установить новые ступичные подшипники на свой Harley?Одни говорят, что это легко, другие говорят, что лучше пойти в мотомагазин.
Я думаю, что это в конечном счете ваш выбор, но если у вас средний уровень мастерства, вы сможете сделать это самостоятельно.
Особенно, если вы получите съемник ступичного подшипника , как я рекомендовал заранее.
Вот очень краткое видео об установке ступичного подшипника и передней/задней оси. Имейте в виду, что видео относится к старшему 70-99 модель Харлей Дэвидсон. Все они используют более старые ступичные подшипники Timken:
youtube.com/embed/Pm-20nCGmkY?feature=oembed» allow=»accelerometer; autoplay; clipboard-write; encrypted-media; gyroscope; picture-in-picture; web-share» allowfullscreen=»»/> РезюмеСтупичные подшипники Harley, размеры передней и задней осей могут быть головной болью, чтобы понять. Надеюсь, я предоставил вам исчерпывающую таблицу размеров, чтобы вы могли заменить свои OEM-детали новыми, если для этого пришло время.
Вы можете проверить наличие подшипников у местных дилеров или в магазинах запасных частей. В качестве альтернативы, особенно если у вас есть Prime, вы можете просмотреть каталог Amazon с запасными подшипниками или осями Harley.
Проверьте все подшипники на Amazon
Как заменить подшипники ступицы колеса на квадроцикле или вездеходе — AtvHelper
Подшипники ступицы колеса на вашем квадроцикле или вездеходе, несомненно, нужно будет заменить в какой-то момент. Не так уж сложно сделать это самостоятельно с помощью основных ручных инструментов, которые у вас, вероятно, уже есть.
Они выпускают специальные инструменты, облегчающие работу, но я делал это с помощью обычных инструментов, которые уже есть у каждого в гараже.
Шаги, которые я собираюсь рассмотреть, являются универсальными шагами для всех замен подшипников ступиц колес ATV и UTV до 2010 года. Для квадроциклов или UTV, выпущенных после 2010 года, шаги будут аналогичными, и вы также можете прочитать раздел об альтернативной замене ступичного подшипника внизу этой статьи.
Могут быть небольшие отличия от машины к машине. Но вы поймете, что делать, и сможете справиться с любыми небольшими различиями, которые есть у вашего квадроцикла. Наличие руководства по обслуживанию под рукой поможет. И во всех проектах по техническому обслуживанию лучше надевать защитные очки и перчатки.
Вот шаги по замене подшипников ступицы колеса (ниже я объясню каждый шаг более подробно)
- Поднимите и снимите колесо
- Снимите тормозной суппорт
- Снимите гайку оси
- Снимите болты с шариковых суставов
- Снимите кончики сцепления из сустава
- Снимите болт -бол.
Подшипники - Очистите поворотный кулак и установите новые подшипники
Прежде чем я подробно расскажу о каждом из этих шагов, давайте удостоверимся, что вам действительно нужно заменить подшипники ступицы колеса. Это не очень сложная работа, но она может занять некоторое время и требует, чтобы вы сняли много деталей с вашего квадроцикла. Итак, давайте убедимся, что это необходимо.
Как определить неисправность подшипников ступицы колеса
Вы сможете определить неисправность подшипников ступицы колеса по тому, как ведет себя ваш квадроцикл или вездеход. Одним из наиболее распространенных симптомов является скрежещущий звук и ощущение при езде. Вы также можете услышать лязгающие или стучащие звуки, исходящие от ступицы колеса.
Если они станут достаточно плохими, вы даже почувствуете вибрацию и раскачивание при езде. Чувство раскачивания может также означать другие вещи, например, вам нужно сбалансировать шины ATV или UTV 9.
0080 . Если вы заметили, что машину тянет влево или вправо при торможении, это также может быть признаком неисправных подшипников ступицы колеса.
Если прошло много времени с тех пор, как вы в последний раз заменяли их, или у вас более старая машина, рекомендуется произвести замену, если вы уверены, что проблема не в тормозах или шинах.
Для ручной проверки поддомкратьте соответствующее колесо и попытайтесь подвигать его вперед-назад. Если колесо плотно прикручено болтами, но все еще качается вперед и назад, вам, вероятно, необходимо заменить подшипники ступицы колеса.
Большинство подшипников закрыты, но со временем вода и грязь все равно попадут туда. Есть способы продлить срок службы подшипников, о которых я расскажу позже. Но со временем их необходимо заменить. Теперь по ступенькам.
Поднимите квадроцикл и снимите колесо
Это само собой разумеется, я полагаю, но квадроцикл необходимо поднять и оставить в таком положении на протяжении всего этого процесса.
Рекомендуется установить домкрат на подставки, так как это может занять некоторое время, и вы не хотите, чтобы ваш домкрат вышел из строя.
Еще одна мера безопасности, которую вы можете предпринять, после того, как вы сняли шину, положите ее под квадроцикл возле стойки домкрата. Это хорошо делать на тот случай, если машина упадет с домкрата или домкрат как-нибудь устоит. Если у вас есть нога там, это может избавить вас от боли.
Я всегда начинаю с ослабления проушин, прежде чем поддомкратить. Таким образом, его будет легче снять, когда квадроцикл поднят. Вам не нужно беспокоиться о раскачивании машины, когда она поднята, если вы заедаете упорную гайку.
Снятие тормозного суппортаСуппорт обычно крепится двумя болтами: болтом с шестигранной головкой или болтом на 12 мм.
Снимите оба болта, и суппорт должен легко сняться.
Это может быть подходящее время, чтобы Заменить тормозные колодки на вашем квадроцикле , если это необходимо.
В штангенциркуль может входить линия, это нормально, вам не нужно ее удалять или делать что-либо еще с штангенциркулем. Просто переместите его и оставьте где-нибудь в стороне, насколько это возможно.
Снимите гайку осиПосле того, как вы сняли суппорт, пришло время снять корончатую гайку, удерживающую ступицу на месте. Обычно там будет шплинт, удерживающий корончатую гайку на месте.
Предотвращает ослабление гайки во время езды. Шплинт легко снимается плоскогубцами. На некоторых машинах вместо корончатой гайки здесь будет гайка с колом.
Я обнаружил, что проще всего снять корончатую гайку с помощью ударного гайковерта. Иногда они могут довольно хорошо там застрять, и если у вас нет ломаной планки, сделать это вручную может быть сложно.
После снятия корончатой гайки можно снять ступицу, к которой обычно крепится тормозной диск. Некоторые машины будут иметь защитный кожух, установленный на поворотном кулаке позади тормозного диска.
Снимите защитный кожух, его легко снять, и обычно он удерживается на месте всего несколькими болтами.
Снимите болты для верхнего и нижнего шаровых шарниров
Верхний и нижний шаровые шарниры крепятся к поворотному кулаку с помощью гаек, обычно со шплинтами в них.
Снимите шплинты и снимите гайки, после этого вы сможете выскользнуть из поворотного кулака.
Иногда их приходится немного уговаривать, но обычно они довольно легко выходят из положения легким ударом молотка.
Сделайте это как для верхнего, так и для нижнего соединения шарового шарнира с поворотным кулаком.
Снятие наконечников рулевых тяг с поворотного кулакаДля снятия наконечников рулевых тяг обычно потребуются два гаечных ключа. В большинстве случаев они различаются примерно на один размер, это полезно, если у вас есть только один ключ каждого размера.
Болты наконечников рулевых тяг, скорее всего, тоже будут удерживаться шплинтами. Снимите шплинты и болты, удерживающие конец рулевой тяги на месте.
После откручивания болтов конец поперечной рулевой тяги должен легко подняться. Просто вытащите его из сустава и отодвиньте в сторону. Нет необходимости дополнительно разбирать наконечник рулевой тяги, вы можете просто повернуть его в сторону.
Снятие болта амортизатораВам нужно только снять гайку и болт нижнего амортизатора. Для этой части вам также понадобятся два гаечных ключа.
Амортизатор крепится с помощью болта и гайки, соединенных с поворотным рычагом.
Мне было проще удерживать болт на месте с помощью гаечного ключа, а для откручивания гайки использовать ударный гайковерт.
После снятия болта и гайки вы сможете поднять амортизатор вверх и убрать его с дороги.
На некоторых моделях квадроциклов или квадроциклов этот шаг будет проще сделать сразу после того, как вы сняли колесо. Вы заметите, что диапазон движения всего амортизатора и поворотного рычага увеличился после снятия амортизатора.
Это может облегчить доступ к другим частям, которые необходимо снять на предыдущих шагах.
Я просто всегда делал это таким образом, и у меня никогда не было никаких проблем, это зависит от вашей машины и от того, как вы хотите это сделать.
После того, как вы открутили болты амортизатора и убрали его с дороги, вы сможете просто снять узел поворотного кулака с оси. Иногда он может быть немного упрямым, и вам придется пошевелить им, чтобы начать.
Снимите наружное уплотнение и подшипникиТеперь вам нужно снять уплотнение и подшипники с поворотного кулака. Печать должна выйти в первую очередь.
Они делают специальный инструмент, чтобы сделать это проще Инструмент для съемника подшипников и уплотнений Jecr от Amazon.
Но раньше я делал это с помощью отвертки. Не поймите меня неправильно, инструмент для съема уплотнений значительно упрощает работу, а также полезен для других проектов. Но если вы достаточно настойчивы, вы можете удалить уплотнение с помощью отвертки.
Чтобы вынуть подшипник, вам понадобится длинный кернер. Продолжайте постукивать по подшипнику, чтобы он оставался в центре, когда вы его выбиваете. Скорее всего, вы не сможете протолкнуть подшипник с одной стороны поворотного кулака на другую, поэтому подшипники нужно будет снимать с обеих сторон отдельно, изнутри наружу.
Очистите поворотный кулак и установите новые подшипникиПосле извлечения уплотнения и подшипника из поворотного кулака рекомендуется очистить поворотный кулак от грязи и мусора, которые могут затруднить установку нового подшипника.
Что касается используемых вами подшипников, решать вам. Есть много вариантов, просто убедитесь, что вы выбрали те, которые подходят для вашей машины. Мне нравится использовать подшипники и уплотнения All Balls, в прошлом мне с ними везло.
Вот ссылка на комплект колесных подшипников All Balls 25-1404 на Amazon, в комплект входят подшипник и уплотнения. Это хорошее место, чтобы начать искать подшипники и уплотнения, подходящие для вашего квадроцикла.
Когда у вас есть подшипники, вам нужно установить их в узел поворотного кулака так, как они были, когда вы их сняли. Существует специальный пресс для подшипников, который можно использовать для запрессовки подшипников. часть узла подшипников, потому что это повредит их. Используйте гнездо подходящего размера, которое совпадает с внешним краем подшипникового узла. Вы также можете попробовать использовать старые подшипники, если они все еще целы, в конце концов, они должны быть того же размера.
Уплотнение подшипника вернется к внешней стороне подшипников после их установки. Они должны хорошо сидеть на внешнем крае сустава, как если бы вы сняли старые.
Не забудьте прокладку между подшипниками, если она есть в вашей модели.
Собираем все обратно
Вот и все, вы закончили замену подшипников ступиц на своем квадроцикле или UTV, теперь пришло время собрать все обратно. Все соберется так же, как разобрано, просто выполните шаги, описанные выше, в обратном порядке.
Я рекомендую использовать все новые шплинты. Люди скажут, что вы можете использовать их повторно, и я видел, как люди успешно использовали их повторно. Но они такие дешевые, и рекомендуется каждый раз использовать новые шплинты, что я и делаю.
Вот ссылка на набор шплинтов 555 штук в ассортименте примерно за 12 долларов на Amazon. Я также рекомендую использовать новую гайку кола вместо повторного использования старой. Это применимо только в том случае, если у вас есть гайка кола вместо корончатой гайки из шага удаления гайки оси.
Как продлить срок службы подшипников
Колесные подшипники вашего квадроцикла или вездехода со временем просто изнашиваются. Лучше всего убедиться, что вы правильно устанавливаете уплотнение подшипника. Езда по грязи и воде — одна из лучших вещей в бездорожье, поэтому в конце концов вода и грязь попадут туда. Но хорошее уплотнение может помочь им прослужить дольше.
Кроме того, избегайте мойки узла ступицы под давлением.
Можно мыть машину под давлением, чтобы очистить ее после грязной поездки. Просто будьте осторожны вокруг уплотнения подшипника и области сборки ступицы. Мойка высокого давления может нагнетать воду в подшипник, из-за чего он быстрее изнашивается.
Альтернативная замена колесных подшипников квадроцикла или UTV
Большинство этих шагов будут такими же, за исключением того, что вы будете иметь дело со ступицей в сборе для замены подшипников. Кроме того, вы захотите заморозить новые подшипники перед их заменой в ступице.
Чтобы удалить старые, процесс будет таким же. Используйте длинный пробойник или другой инструмент, чтобы удалить старые колесные подшипники.
Некоторые модели оснащены стопорным кольцом, удерживающим подшипник на месте. Вы можете легко удалить это с помощью пары плоскогубцев для стопорных колец.
С помощью теплового пистолета нагрейте узел ступицы в том месте, где должны быть установлены новые подшипники.
Достаньте новые подшипники из морозилки и запрессуйте их в ступицу.
Вы можете использовать старые подшипники или большую головку и молоток, чтобы вставить подшипники.
Соберите все обратно так же, как вы их разобрали, и все готово. Не забудьте использовать все новые шплинты, чтобы все было затянуто так, как должно быть.
Делиться заботой!
- Фейсбук
- Твиттер
Как заменить подшипник задней ступицы на Ford Explorer
Как заменить подшипник задней ступицы на Ford Explorer | Совет вашего механикаЗадайте вопрос, получите ответ как можно скорее!
ЗАПРОСИТЬ ЦЕНУ
Стоимость замены узла ступицы колеса
Место обслуживания
158,47–673,18 долл. США
Диапазон цен для всех автомобилей
Автомобильные ступичные подшипники являются очень важным компонентом автомобиля. Они отвечают за то, чтобы колеса автомобиля катились по земле с минимальным трением. Они удерживают весь вес автомобиля и подвержены суровым дорожным условиям, а также нагрузке от крутящего момента двигателя.
Когда они выходят из строя, они начинают издавать воющий звук, который перерастает в скрежет, а при полном отказе может заклинить, делая транспортное средство неуправляемым. В этом пошаговом руководстве мы рассмотрим, как заменить ступичный подшипник и ступицу на Ford Explorer 2002–2010 годов.
Часть 1 из 1: Замена подшипника ступицы
Необходимые материалы
- Набор головок для осевых гаек
- Базовый набор ручных инструментов
- Долото
- Молоток
- Домкрат и подставки
- Перемычка с длинной рукояткой
- Трос механика
- Монтировка
- Съемник ступицы колеса
- Проникающее масло
- Динамометрический ключ
- Деревянные блоки
Шаг 1: Ослабьте гайки . Ослабьте зажимные гайки на колесе, подшипник которого необходимо заменить.
Шаг 2: Поднимите и закрепите автомобиль . Поднимите автомобиль и закрепите его на домкратах, затем снимите колесо.
Поместите деревянные бруски под переднюю и заднюю часть колеса по диагонали от того колеса, над которым вы будете работать.
Шаг 3: Снимите суппорт и его болты . После того, как колесо снято, приступайте к откручиванию болтов суппорта, а затем снимите суппорт.
Если суппорт все еще затянут после снятия болтов, вставьте отвертку с плоской головкой между накладкой и суппортом и осторожно подденьте, пока суппорт не освободится.
Когда суппорт освободится, закрепите его где-нибудь на автомобиле, в стороне, с помощью троса механика. Также уделите это время отсоединению тросов стояночного тормоза.
Шаг 4: Снимите ротор . После снятия суппорта снимите ротор, чтобы открыть ступицу.
Если кажется, что ротор застрял, убедитесь, что стояночный тормоз отключен, или попробуйте ударить по поверхности втулки ротора молотком, пока она не освободится.
Шаг 5: Снимите гайку оси .
Снимите гайку оси, используя ломаную планку с длинной рукояткой и соответствующее гнездо для гайки оси.
Шаг 6: Снимите верхний рычаг . Снимите два стяжных болта, которые крепят верхний рычаг подвески и концы шарового шарнира схождения к оси.
Шаг 7: Разъедините шаровые опоры поперечного рычага и схождения . Они должны быть отделены от прижимных скоб на шпинделе.
Обильно побрызгайте на них проникающей жидкостью, так как они, вероятно, заржавеют, а затем используйте монтировку, чтобы освободить их. Если они не отделяются, вставьте долото между зажимными скобами и раздвигайте их, пока соединение не ослабнет.
Шаг 8: Снимите болт нижнего рычага . После того, как оба шарнира разделены, снимите болт нижнего рычага подвески со шпинделя.
Шаг 9: Снимите ступицу с автомобиля . Теперь шпиндель должен быть полностью отвинчен от автомобиля и готов к снятию с помощью съемника ступицы колеса.
Установите съемник ступицы колеса, используя несколько зажимных гаек, а затем затяните центральный болт съемника, пока ступица не будет вытащена.
Шаг 10: Установите новые компоненты концентратора . На этом этапе шпиндель должен быть снят и готов к установке новых деталей.
Поскольку ступица и подшипник запрессованы в шпиндель, потребуется заводской пресс для удаления старого подшипника и ступицы и установки новых компонентов. Если в магазине нет пресса, вы можете попросить профессионала сделать это за вас.
Шаг 11: Установите ступицу на автомобиль . После установки новых компонентов в ступицу переустановите ее на автомобиль в порядке, обратном порядку снятия.
Затяните гайку оси с моментом, указанным производителем, а затем установите колесо на автомобиль.
В большинстве случаев замена подшипника задней ступицы на Ford Explorer является простой задачей, однако могут быть случаи, когда она может стать сложной, например, когда шаровые шарниры приржавели к шпинделю или когда гайка оси затянута слишком сильно и трудно удалить.
В этих случаях может быть хорошей идеей обратиться к профессиональному техническому специалисту, например, к специалисту из YourMechanic, для замены узла ступицы колеса, чтобы убедиться, что работа выполнена правильно.
Следующий шаг
График замены узла ступицы колеса
Самая популярная услуга, которую заказывают читатели этой статьи, — замена ступицы колеса в сборе. Технические специалисты YourMechanic доставят вам услуги дилера, выполняя эту работу у вас дома или в офисе 7 дней в неделю с 7:00 до 21:00. В настоящее время мы охватываем более 2000 городов и имеем более 100 тысяч 5-звездочных отзывов… УЗНАТЬ БОЛЬШЕ
СМОТРЕТЬ ЦЕНЫ И ПРЕДЛОЖЕНИЕ
колеса
ступица колеса в сборе
подшипники
Заявления, приведенные выше, предназначены только для информационных целей и требуют независимой проверки. Пожалуйста, смотрите наш Условия использования для более подробной информации
Отличные рейтинги авторемонта.

4.2 Средняя оценка
Часы работы
7:00–21:00
7 дней в неделю
Номер телефона
1 (855) 347-2779
Часы работы телефона
Пн — Пт / 6:00 — 17:00 по тихоокеанскому времени
Сб — Вс / 7:00 — 16:00 по тихоокеанскому стандартному времени
Адрес
Мы приедем к вам без дополнительной оплаты
Гарантия
Гарантия 12 месяцев/12 000 миль
Наши сертифицированные выездные механики выполняют более 600 услуг, включая диагностику, тормоза, замену масла, плановые ТО, и приедут к вам со всеми необходимыми запчастями и инструментами.
Получите честное и прозрачное предложение прямо перед бронированием.
Отлично
Сводка оценок
ПОСМОТРЕТЬ ОТЗЫВЫ РЯДОМ
Роберт
20 лет опыта
1089 Обзоры
Запрос Роберт
Роберт
20 лет опыта
Запрос Роберт
от Ryan
Dodge Journey V6-3.
6 -3 Спереди, со стороны пассажира спереди) — Денвер, Колорадо
Роберт был великолепен. Я не смог записаться на прием, поэтому договорился с Робертом, чтобы он взял детали и ключи у моего брата. Очевидно, он был очень хорошо осведомлен в том, что он делал, поскольку работа была выполнена примерно в два раза быстрее, чем предполагалось. Безусловно, лучший опыт работы с механикой, который у меня когда-либо был. Роберт держал меня в курсе событий и был более чем готов работать с моим братом, так как я не мог быть там. Я также попросил, чтобы Роберт не заливал коробку передач, так как в моей машине силиконовая прокладка. Роберт понимал это и дошел до того, что сообщил мне, сколько жидкости он восстановил, чтобы я мог заполнить ее сам, как только силикон затвердеет. Большинство мастерских высасывают жидкость ATF и заменяют то, что вытащили. Роберт провел полное обслуживание коробки передач, включая снятие поддона и замену фильтра. Я проверил всю работу, как только вернулся домой, и все выглядело отлично.
Я действительно впечатлен обслуживанием, полученным от Роберта и вашего механика. В ближайшем будущем у меня будет больше работы через них.
by Mona
Chevrolet Suburban 1500 — Замена узла ступицы колеса (со стороны водителя) — Денвер, Колорадо
Удивительно, что он вовремя завершил работу и проверил свою работу, а также убедился, что я доволен. Большое спасибо.
John
27 лет опыта
1019 Обзоры
Запрос John
John
27 лет опыта
Запрос John
от Zack
Gmc Sierra 1500 V8-5.3L -Wheel Hub Assage Assembly Assembly Assemble Assembly Assemble Assemble Assemble Hub Assagemble Assemblemelemelemelemelemelemelemelemelemelememble (Drimcul Боковой фронт) — Лиг Сити, Техас
Джон явился на встречу вовремя, знал о моем ремонте и других аспектах моего автомобиля и выполнил ремонт эффективно и своевременно. Я ОПРЕДЕЛЕННО рекомендую Джона для будущего ремонта себя и всех, кто ищет ремонт своих автомобилей.
110% доволен этим сервисом.
от Alma
Nissan Frontier — Замена узла ступицы колеса (передняя сторона пассажира) — Лиг-Сити, Техас
На самом деле, я приятно удивлен. Джон представительный и прибыл рано, что я ценю. Мы поговорили несколько минут — обсудили работу, которую нужно было сделать, а затем он начал сборку ступицы колеса. Я смог посидеть, пока грузовик обслуживали, а Джон определенно профессионал. Несмотря на то, что нам пришлось перенести сроки из-за задержки запчастей, и у меня было более чем достаточно времени, чтобы подумать о том, чтобы кто-то другой выполнил обслуживание, я рад, что дождался, пока Джон завершит обслуживание. Работал он быстро и ловко — ловко ловко с многолетним опытом — без беспорядка и путаницы. Я ездил на грузовике и пока все хорошо. Надеемся, что Джон завершит другие службы в ближайшие несколько недель.
Бен
41 года опыта
1410 Обзоры
Запрос Бен
Бен
41 года опыта
Запрос Бена
по замену пассажира
.
Задний) — Хьюстон, Техас
Бен был очень любезен, предупредителен и быстр! Мне не пришлось пропускать работу или что-то еще, потому что он пришел вовремя и сделал работу! Спасибо Бен!
от Sinda
Chevrolet Equinox — Замена узла ступицы колеса (со стороны водителя спереди) — Хьюстон, Техас
Бен был своевременным, вежливым и очень профессиональным. Он прибыл вовремя и вышел за рамки обслуживания клиентов. Он был оперативен и выполнил работу в срок. Я очень рекомендую!
Nathaniel
10 -летний опыт работы
326 Обзоры
Запрос Nathaniel
Nathaniel
10 -летний опыт работы
Запрос Nathaniel
By Elvis
SUPARU Imparu Imparu Impremprue Ampare Ampare Ampare Amprza Ampare Ampare Ampare Ampare Ampare Ampare Ampare Asmepbsibpbiml Assembpwsibpwismbembswsibswsive Hooml Assembing Hooml Hooml Assembpwsion Hooml Hooml Hooml. Спереди, со стороны пассажира спереди) — Норфолк, Вирджиния
Натаниэлс — преданный своему делу и опытный механик.
Он заменил две ступицы передних колес на моей Subaru Impreza 2010 года. Несмотря на то, что одна сторона ступицы колеса была сильно проржавела и застряла, Натаниэлс побежал за новым инструментом, чтобы вытащить ржавую ступицу колеса. Я очень ценю его нелегкий труд.
Тимоти
Nissan Quest — Замена узла ступицы колеса (со стороны водителя, спереди со стороны пассажира) — Норфолк, Вирджиния
Г-н Нейт был дружелюбным, профессиональным и очень хорошо осведомленным о сборке ступицы колеса. Он быстро заменил ржавые ступицы колес новыми ступицами для моего Nissan Quest 2006 года выпуска. Я бы порекомендовал его снова. Тим Д.
Нужна помощь с вашим автомобилем?
Наши сертифицированные мобильные механики выезжают на дом в более чем 2000 городов США. Быстрые, бесплатные онлайн-расценки на ремонт вашего автомобиля.
ПОЛУЧИТЬ ЦЕНУ
ПОЛУЧИТЬ ЦЕНУ
Статьи по Теме
Как заменить шпильку колеса
Шпильки автомобильных колес крепят колеса к ступице.
Колесные шпильки выдерживают большое давление и изнашиваются при слишком большом усилии, вызывая ржавчину или повреждения.
Как заменить узел ступицы колеса
Ступица колеса в сборе удерживает колеса автомобиля на месте. Колесные подшипники и ступицы выходят из строя, когда рулевое управление разболтано и колеса издают визг.
Как заменить сальник колеса
Сальники колеса являются частью системы колесных подшипников и защищают эти подшипники от грязи и мусора. Замените колесные уплотнения, если смазка вытекает из подшипников.
Похожие вопросы
Колеса издают шум
Выход из строя подшипника является обычным явлением. Подшипники ступиц имеют тенденцию издавать гудящие звуки, когда они начинают выходить из строя. Шум обычно становится громче или тише во время поворота. Это связано с тем, что на подшипник оказывается большая или меньшая нагрузка.
В крайнем случае…
С новыми задними тормозами машина не едет сама по себе
Здравствуйте. Изучив эту проблему, я не вижу, где у вашего автомобиля задние суппорта, а только барабанные тормоза. Для барабанных тормозов (https://www.yourmechanic.com/services/adjust-drum-brakes), если регулятор недостаточно втянут, колодки будут слишком сильно тянуться. Если ваше транспортное средство…
Дым из двигателя и проверено на соседней линии смазочного экспресса на заправочной станции. Сказали проблема с подшипником компрессора кондиционера.
Привет. Уплотнение на компрессоре системы кондиционирования воздуха имеет течь, что привело к утечке масла и хладагента из компрессора. Подшипники на валу компрессора смазываются маслом в…
Просмотрите другой контент
Смета
Техническое обслуживание
Услуги
Наша команда обслуживания доступна 7 дней в неделю, с понедельника по пятницу с 6:00 до 17:00 по тихоокеанскому времени, с субботы по воскресенье с 7:00 до 16:00 по тихоокеанскому стандартному времени.
