Как проверить датчик положения дроссельной заслонки?
Каково назначение и виды ДПДЗ и какие признаки говорят о неисправности этого узла. Как провести простую диагностику самому.
Практически любое транспортное средство насчитывает в себе большое количество всевозможных механизмов и узлов. Поэтому когда неисправность касается даже небольшого агрегата, все это сулит серьезными проблемами для всей машины. Датчик положения дросcельной заслонки — один из таких небольших и в то же время очень значительных узлов в автомобиле. Рассмотрим его назначение, принцип работы и основные причины неисправностей, а также как с ними бороться.
Датчик положения дроссельной заслонкиСодержание
- Назначение и принцип работы
- Виды ДПДЗ
- Симптомы неисправностей
- Диагностика
Назначение и принцип работы
В автомобильных двигателях внутреннего сгорания, работающих на бензине, неотъемлемой частью системы впуска является дросcельная заслонка. Главной задачей этого механизма является регулирование количества поступающего воздуха в камеры.
Таким образом, она обеспечивает пропорциональное смешивание воздуха с топливом для достижения максимального результата при сгорании. Как и во многих других, в автомобилях марки Киа Спектра этот аппарат монтируется на участке между воздушным фильтром и коллектором впуска. Можно сказать, что его действие сродни воздушному клапану: в открытом состоянии достигается давление равное атмосферному, а в закрытом снижается до вакуума.
В компоненты датчика входят переменный, постоянный и однооборотный резисторы, суммарное сопротивление которых равняется приблизительно 8 кОм. Датчик положения дроссельной заслонки имеет два крайних вывода, на один из которых и поступает напряжение, подаваемое контроллером.
Второй вывод при этом запитан на массу. К контроллеру сигнал поступает через резистор, который передает фактическое положение заслонки на текущий момент. В зависимости от положения, передается сигнал, импульс которого варьируется в пределах 0,7 — 4 В.
Виды ДПДЗ
Как правило, различают два типа ДЗ: электрическая и механическая.
Последняя используется обычно в недорогих автомобилях. Она состоит из следующих компонентов: регулятор холостого хода, корпус, датчик, дроссельная заслонка. Что касается корпуса, то он является частью системы охлаждения. Для обеспечения вентиляции картера и фильтрации бензиновых паров предусмотрена система, которая патрубками соединена с датчиком. Когда дроссельная заслонка находится в закрытом положении, при запуске или прогреве двигателя, регулятор холостого хода обеспечивает необходимую частоту оборотов коленчатого вала. РХХ обеспечивает подачу воздуха в систему впуска мимо перекрытой заслонки.
Датчик дроссельной заслонки электрического типа более популярен и используется в автомобилях последнего поколения. Этот вид наиболее продуктивен и имеет электронную систему управления, чем достигается наиболее идеальное значение крутящего момента, мощность увеличивается, а расход горючего снижается. В отличие от механической, тут отсутствует прямое взаимодействие между педалью газа и заслонкой, а регулирование холостого хода осуществляется путем изменения ее положения.
Помимо этого электроника способна сама просчитывать оптимальное значение крутящего момента. Этот процесс осуществляется благодаря работе блока управления и входных датчиков. Именно благодаря датчикам и блоку управления осуществляются многие процессы связанные в конечном счете с регулированием подачи воздуха.
Этот модуль состоит из дроссельной заслонки, пружинного механизма, электродвигателя, редуктора, ДПДЗ и корпуса. Существует практика установки одновременно двух датчиков положения дроссельной заслонки. Это обусловлено исключительно предосторожностью, поскольку позволяет в случае неисправности одного, переключить работу на другой. В таком случае различают бесконтактный датчик положения дроссельной заслонки и со скользящим контактом. Пружинный механизм обеспечивает возвратное положение заслонки при аварийном режиме.
Тест датчика положения дроссельной заслонкиСимптомы неисправностей
Как и всякий механизм, ДПДЗ подвержен неисправностям. Проверка его состояния позволит определить поломку.
В случае серьезных повреждений, потребуется его замена.
Для начала стоит обратить внимание на количество оборотов, совершаемых двигателем на холостом ходу. Если их значение скачет, тогда следует проверить исправность работы датчика. Возможно потребуется его замена. Еще один момент неисправности — при резком сбрасывании газа глохнет двигатель. Или же при разгоне скачет скорость, отсутствует отклик на нажатие педали газа, обороты двигателя находятся в пределах полторы — три тысячи. Все это свидетельствует о необходимости проверить работоспособность ДПДЗ, а в случае необходимости должна быть произведена замена либо целого узла, либо его компонентов.
Диагностика
Диагностика для любого автомобиля, как и для Киа в том числе, проводится одинаково. Все, что потребуется из инструментов — это мультиметр. Далее, необходимо завести авто и посмотреть не светится ли Чек энджин. Если все в порядке, глушим мотор, находим под капотом массу и снова заводим двигатель.
Начинаем поиски минуса. Отыскиваем запитывающий провод. Следует проверить, поступает ли ток к датчику. Затем необходимо убедиться, что размыкание холостого хода функционирует исправно. Для этого к разъему датчика подсоединяем один из проводов нашего измерительного прибора, а вторым изменяем положение заслонки. Если все исправно, то значение прибора измениться. Если значение не поменялось, это говорит о неисправности переменного резистора и, возможно, необходима будет его замена.
Проверка датчик положения дроссельной заслонки мазда
Главная » Разное » Проверка датчик положения дроссельной заслонки мазда
Как проверить и выставить начальное положение ДЗ и ДПДЗ и в чем разница?
Ответ
Зачем это нужно?
Если вы крутили шестигранник на ДЗ или его крутил кто-то до вас, если на диагностике вам сказали что абсолютное положение дроссельной заслонки отлично от нуля — это значит что блок управления двигателем думает что педаль газа всегда немножечко нажата и холостого хода у вас не будет.
Важно знать!
ДПДЗ (датчики положения дроссельной заслонки) бывают с регулируемым положением (имеют не просто отверстия, а направляющие под крепежные болты, которые позволяют их поворачивать).
Регулировка положения ДЗ нужна по сути только для того чтобы устранить закусывание заслонки, чтобы она легко открывалась и закрывалась. Для этого на заслонках есть ограничитель закрытия, который тоже можно регулировать.
Поэтому регулировка положения ДПДЗ и регулировка положения ДЗ — разные вещи! В случае, когда мы имеем дело с регулируемым ДПДЗ, регулировки положения ДЗ и ДПДЗ производятся независимо. В случае нерегулируемого ДПДЗ регулировка положения ДЗ и ДПДЗ сводятся к одной и той же операции.
На всех дроссельных заслонках двигателей Mazda Familia/323/Protege 98-03 устанавливались регулируемые по положению датчики, кроме автомобилей с двигателями ZM и ZL-VE. На этих двух двигателях стоят нерегулируемые ДПДЗ.
Как проверить положение ДПДЗ?
Проверить положение ДПДЗ можно с помощью вольтметра (по напряжению) либо с помощью сканера (по процентам абсолютного открытия ДЗ).
1. Включаем зажигание, двигатель запускать не обязательно.
2. Находим ДПДЗ, находим средний контакт на нем (для двигателей ZL-VE и ZM верхний контакт) и замеряем напряжение (проколов изоляцию провода либо просунув в разъем тонкий провод или проволоку) между средним контактом и массой автомобиля. Напряжение должно находиться в пределах 0.45-0.55 Вольт ***.
Если у вас есть сканер, нужно убедиться что параметр «Абсолютное положение дроссельной заслонки» (Absolute Throttle Position) равен 0.0%. При этом параметр «Положение дроссельной заслонки» (Throttle Position) должно быть равно 10.19%. Все зависит от того, какой именно параметр показывает ваш сканер. Некоторые сканеры показывают напряжение — то же самое как с вольтметром — 0.45-0.55 Вольт.
3. Если напряжение выходит за допустимые пределы или положение в процентах отлично от приведенных данных, вам необходима регулировка положения ДПДЗ.
*** Замечания
1. Существуют следующие рекомендации производителя, каким должно быть выходное напряжение на датчике (которое мы проверяем) в зависимости от напряжения питания подаваемого на датчик блоком управления двигателем (постоянное напряжение подаваемое сразу при включении зажигания, которое должно находиться в пределах 4.
питание датчика, В выходное напряжение, В
4.5-4.9 0.40 — 0.50
4.9-5.1 0.45 — 0.55
5.1-5.5 0.50 — 0.60
2. Если вы выставите ровно 0.50 В — это будет работать во всех случаях и никаких проблем с настройкой холостых у вас не будет. Значение 0.50 — это золотая середина.
Как отрегулировать положение ДЗ?
Очень просто, нужно сделать так чтобы заслонку не закусывало и она беспрепятственно открывалась и закрывалась. После этого нужно обеспечить натяг тросика газа, но так чтобы тросик не ограничивал закрытие заслонки. После данной процедуры вам НЕОБХОДИМО сделать регулировку положения ДПДЗ. Если вы к этому не готовы, лучше не трогать положение ДЗ а просто подтянуть ослабший тросик. Если вы решили это сделать, то:
1. Ослабьте тросик газа (две гайки на 12).
2. Найдите на блоке ДЗ винт под шестигранник (обычно с контрогайкой на 8), который ограничивает закрытие дроссельной заслонки. Регулируя положение винтом добейтесь чтобы заслонку не закусывало.
3. Подтяните тросик газа так чтобы он давал заслонке спокойно закрываться.
Как отрегулировать положение ДПДЗ если он регулируемый (КРОМЕ двигателей ZM и ZL-VE)?
1. Ослабьте болты крепления ДПДЗ.
2. Поворачивая датчик обеспечьте правильное напряжение либо положение ДЗ по данным сканера.
3. Затяните болты крепления ДПДЗ.
Как отрегулировать положение ДПДЗ если он нерегулируемый (ТОЛЬКО двигатели ZM и ZL-VE)?
1. Ослабьте тросик газа (две гайки на 12).
2. Найдите на блоке ДЗ винт под шестигранник (обычно с контрогайкой на 8), который ограничивает закрытие дроссельной заслонки. Регулируя положение винтом добейтесь правильного напряжения либо положения ДЗ по данным сканера.
3. Подтяните тросик газа так чтобы он давал заслонке спокойно закрываться.
Замечание
Если положение ДЗ у вас было сбито и вам пришлось его настраивать, после настройки настоятельно рекомендуется сброс настроек блока управления двигателем, а так же регулировка оборотов холостого хода.
Симптомы датчика положения дроссельной заслонки — способы найти неисправный
Неисправный датчик положения дроссельной заслонки приведет к множеству серьезных проблем в вашем автомобиле, если вы не обнаружите его неисправности в ближайшее время. Это правда. Неисправный датчик положения дроссельной заслонки отправит неверные данные на компьютер вашего автомобиля, что приведет к сильной тряске автомобиля и снижению расхода топлива, чем обычно. Поэтому изучение некоторых общих симптомов датчика положения дроссельной заслонки очень важно для предотвращения любых дальнейших повреждений.Если вы ищете полезную статью на эту тему, поздравляю, поскольку вы попали в нужное место.
Давайте засучим рукава и приступим прямо сейчас!
Что делает датчик положения дроссельной заслонки?
Перед тем, как углубиться в симптомы неисправности TPS , давайте узнаем, что делает датчик положения дроссельной заслонки для вашего автомобиля.
Датчик положения дроссельной заслонки (известный как TPS) является компонентом системы управления топливом вашего автомобиля. Он работает, чтобы гарантировать, что точное количество топлива и воздуха подается в двигатель вашего автомобиля.Он передает в систему впрыска топлива самый прямой сигнал о том, какая мощность создается двигателем. Его сигнал рассчитывается непрерывно и включается много раз в секунду с другими данными, такими как массовый расход воздуха, частота вращения двигателя, температура воздуха и скорость изменения положения дроссельной заслонки. Собранные данные используются для точного определения количества топлива, подаваемого в двигатель в любой конкретный момент времени.
Если TPS и другие датчики работают нормально, ваш автомобиль будет ускоряться, двигаться по инерции и двигаться эффективно и плавно, как вы хотите, при оптимальном уровне топлива.
Что произойдет, если ваш датчик положения дроссельной заслонки неисправен?
TPS может быть неисправен по многим причинам.
Когда это происходит, это приводит к плохой экономии топлива и, кроме того, подвергает опасности вас и других водителей. Это также может привести к проблемам при установке основного угла опережения зажигания или переключении передач. TPS может выходить из строя постепенно или все сразу. В большинстве ситуаций, когда TPS нарушен, загорится индикатор Check Engine, чтобы предупредить вас о проблемах. Кроме того, большинство автопроизводителей предлагают режим работы «вялый дом» с пониженной мощностью в случае отказа вашего двигателя.Это сделано для того, чтобы водитель мог более безопасно съехать с многолюдного шоссе.
И когда вы обнаружите, что с вашим TPS возникла проблема, все, что вам нужно сделать, это немедленно заменить его. При замене TPS вам необходимо очистить соответствующие коды неисправностей и, возможно, потребуется перепрограммировать программное обеспечение нового модуля TPS, чтобы оно соответствовало другим программам управления двигателем. Лучший способ — доставить вашу машину к опытному механику, который проверит и установит нужную запчасть.
Общие признаки неисправности датчика положения дроссельной заслонки
Вот некоторые общие симптомы датчика положения дроссельной заслонки или неисправный датчик положения дроссельной заслонки, на которые следует обратить внимание:
1.Плохое ускорение
Плохое ускорение — один из симптомов датчика положения дроссельной заслонки.Плохое ускорение — один из контрольных симптомов неисправного датчика положения дроссельной заслонки . Если вы испытываете задержку между моментом нажатия педали газа и моментом, когда автомобиль движется дальше, вы должны показать автомобиль автомобильному эксперту.
2. Неуместная остановка
Неуместное заглохание — явный признак того, что у вашего автомобиля симптомов неисправности датчика положения дроссельной заслонки .Хотя заглохание может быть признаком любой другой проблемы с автомобилем, но если это происходит регулярно, это может быть основной причиной.
Так что не игнорируйте проблему. И, чтобы избежать каких-либо серьезных проблем в будущем, соберите некоторые базовые знания и советы по обслуживанию вашего автомобиля.
3. Скорость разгона
Это один из ключевых симптомов датчика положения дроссельной заслонки. Иногда автомобиль резко увеличивает скорость. Обычно это происходит на шоссе, когда скачки скорости увеличивают скорость автомобиля.Отнесите машину прямо к автомобильному специалисту, чтобы избежать любой аварии.
4. Трудности переключения передач Переключение передач — симптомы датчика положения дроссельной заслонкиСМОТРЕТЬ БОЛЬШЕ:
Ваш автомобиль может столкнуться с проблемой переключения передач из-за неисправного датчика положения дроссельной заслонки . При повышении и понижении передачи вы можете столкнуться с проблемами, которые показывают, что датчик автомобиля работает не очень хорошо.
Если это единственная проблема вашего автомобиля, скорее всего, проблема в системе трансмиссии.Однако, если эта проблема сочетается с проблемой ускорения, это сигнал о неисправности датчика положения дроссельной заслонки.
5. Световая сигнализация обслуживания
Сигнализация служебного света может означать многое, но потенциальной причиной может быть неправильный датчик положения дроссельной заслонки. Неисправный датчик не означает, что автомобиль взорвется во время движения, но это серьезная проблема для вас и вашего автомобиля. При появлении световой сигнализации обслуживания немедленно доставьте автомобиль в сервисный центр.Постарайтесь не затягивать проблему слишком долго, иначе машина может перестать работать и даже возникнут проблемы с ее ремонтом.
Наряду с вышеупомянутым, несколько признаков датчика положения дроссельной заслонки свидетельствуют о его плохой работе. TPS небольшой и сложный; поэтому проблему может решить только специалист.
Обязательно держите автомобиль в наилучшем положении, чтобы избежать внезапной поломки.
Как остановить колебание автомобиля (датчик положения дроссельной заслонки)? Смотрите видео ниже:
Часто задаваемые вопросы
1.Сколько стоит замена датчика положения дроссельной заслонки?
Средняя цена на замену датчика положения дроссельной заслонки варьируется от 159 до 211 долларов. Запчасти стоят от 98 до 133 долларов, а затраты на рабочую силу — от 61 до 78 долларов. Смета не включает сборы и налоги.
2. Могу ли я водить машину с неисправным датчиком положения дроссельной заслонки?
Неисправный датчик положения дроссельной заслонки может привести к невозможности переключения на повышенную передачу, резкому или медленному холостому ходу и отсутствию мощности при ускорении.
Вождение с этими симптомами подвергнет опасности вас и других водителей, поэтому вам следует как можно скорее доставить машину к механику.
3. Каков срок службы датчиков TPS?
Батареи в датчиках TPS рассчитаны на срок службы 5 лет. Они встроены в датчик, поэтому их нельзя заменить, как фонарик. Следовательно, рекомендуется заменять датчики TPS каждые 5 лет.
>> Ищете подержанный автомобиль из Японии в хорошем состоянии? Нажмите здесь
,Самый полный список для Mazda Check Engine Light Codes
Добро пожаловать на страницу с кодами Mazda Check Engine Light. Ниже вы найдете наиболее полный список доступных кодов неисправностей Mazda. Определения кода — хорошая отправная точка при определении причины светового сигнала служебного модуля, но что дальше? У нас есть множество ресурсов, которые помогут вам решить проблему. Вот как мы предлагаем вам действовать. Посмотрите определение вашего кода. Это подскажет вам, с чего начать тестирование.
Если вы не уверены в каких-либо сокращениях, просмотрите список сокращений, щелкнув ссылку слева.
Затем прочтите нашу статью «Тестирование автомобильных цепей 101», и если есть статья, относящаяся к тестируемой системе, например, о датчиках кислорода или системе рециркуляции отработавших газов, прочтите и их. Они предоставят ценную информацию! Если есть ссылка на конкретную стратегию диагностики кода, следуйте ей и начинайте тестирование. Если нет процедуры для кода вашего производителя, я предлагаю обратиться к аналогичному универсальному коду OBD II (они перечислены в числовом виде по типу системы), чтобы получить хорошее представление о том, что искать.Если на этом этапе вам все еще нужна помощь, воспользуйтесь ссылкой «Получить помощь» и сообщите нам, чем мы можем помочь. Мы можем предоставить информацию о расположении компонентов, технических характеристиках, цвете / расположении схемы и многом другом. Мы просим вас сначала прочитать информацию, доступную на сайте, чтобы мы могли уменьшить количество повторяющихся вопросов.
Так что, пожалуйста, прочтите наш отказ от ответственности, и когда будете готовы, присоединяйтесь!
Мы делаем все возможное, чтобы обновлять эти коды индикаторов проверки двигателя Mazda как можно чаще. Если вы обнаружите, что чего-то не хватает, сообщите нам, и мы немедленно добавим его! Пожалуйста, используйте форму на нашей странице контактов, чтобы связаться с нами. Мы, конечно, понимаем, насколько неприятным может быть поиск определения кода и отсутствие его в сети, когда оно вам нужно. И давайте посмотрим правде в глаза, если горит индикатор служебного двигателя, он вам нужен прямо сейчас! Проще всего использовать функцию «Найти на этой странице» в меню «Правка» вашего браузера, чтобы найти коды на этой странице, поскольку список довольно длинный.
Они перечислены в числовом порядке для облегчения поиска.
При извлечении кодов лампочек двигателя Mazda с помощью диагностического прибора OBD II действуйте следующим образом:
1. Подсоедините диагностический прибор к 16-контактному разъему канала передачи данных (DLC), расположенному под рулевой колонкой. Разъем может иметь съемную крышку.
2. Включите зажигание.
3. Следуйте инструкциям производителя сканирующего прибора, чтобы получить доступ к диагностическим кодам неисправностей (DTC).
Помните, что это только коды производителя. См. Наш список общих кодов OBD II для определения всех других диагностических кодов неисправностей Mazda.
Коды производителя
P1000 Тестирование монитора OBD II не завершено
P1001 Невозможно выполнить функцию самотестирования или ошибка SCP
P1100 Неустойчивая цепь датчика массового расхода воздуха — Прочтите нашу статью о тестировании автомобильных цепей, чтобы получить помощь с этим Mazda Проверьте код света двигателя
P1101 Цепь датчика массового расхода воздуха вне диапазона самотестирования
P1102 Сигнал датчика массового расхода воздуха несовместим с датчиком положения дроссельной заслонки
P1103 Сигнал датчика массового расхода воздуха несовместим с частотой вращения двигателя
P1110 Цепь сигнала датчика температуры всасываемого воздуха (динамическая камера) — Прочтите нашу статью о тестировании автомобильных цепей, чтобы получить помощь с этим Mazda Check Engine Light Code
P1112 Неисправность цепи датчика температуры всасываемого воздуха — Прочтите нашу статью о тестировании автомобильных цепей, чтобы получить помощь с этим Mazda Проверьте код света двигателя
P1113 Цепь сигнала датчика температуры всасываемого воздуха (динамическая камера) — Прочтите нашу статью о тестировании автомобильных цепей, чтобы получить помощь с этим Mazda Проверьте код света двигателя
P1114 Низкий входной сигнал цепи датчика температуры воздуха на впуске
P1116 Цепь датчика ECT вне диапазона
тестирования собственной личности P1117 Прерывистый сигнал датчика температуры охлаждающей жидкости
P1120 Датчик положения дроссельной заслонки вне допустимого диапазона, низкий уровень
P1121 Сигнал датчика положения дроссельной заслонки не соответствует сигналу массового расхода воздуха
P1122 Положение дроссельной заслонки застряло в закрытом положении
P1123 Положение дроссельной заслонки застряло в открытом положении
P1124 Сигнал датчика положения дроссельной заслонки вне диапазона проверки собственной личности
P1125 Прерывистый сигнал датчика положения дроссельной заслонки — прочтите нашу статью о тестировании автомобильных цепей, чтобы получить помощь с этим Mazda Проверьте код света двигателя
P1126 Цепь датчика положения дроссельной заслонки (узкий диапазон) — Прочтите нашу статью о тестировании автомобильных цепей, чтобы получить помощь с этим Mazda Проверьте код света двигателя
P1127 HO2S, ряд 1, датчик 2, нагреватель не включается во время работы двигателя, самотестирование
P1128 Датчик HO2S, ряд 1, сигналы датчика 1 поменяны местами в ключе при самотестировании двигателя
P1129 Датчики H02S, расположенные ниже по потоку, поменяны местами
P1130 Датчик кислорода, ряд 1, датчик 1 не переключается (достигнут предел контроля топлива) — прочтите нашу статью о кодах датчика кислорода, чтобы получить помощь с этим Mazda Проверьте код света двигателя
P1131 HO2S, ряд 1, датчик 1, сигнал ниже 0.
45 В (соотношение A / F слишком бедное) — прочтите нашу статью о кодах датчика кислорода, чтобы получить помощь с этим Mazda Проверьте код света двигателя
P1132 HO2S, ряд 1, датчик 1, сигнал выше 0,45 В (соотношение A / F слишком богатое) — прочтите нашу статью о кодах датчика кислорода, чтобы получить помощь с этим Mazda Проверьте код света двигателя
P1133 Блок 1 контроля топлива смещен на обедненную смесь
P1134 Блок 1 управления топливом, переключено обогащение
P1135 HO2S, ряд 1, датчик 1, цепь нагревателя, низкий входной сигнал
P1136 HO2S, ряд 1, датчик 1, цепь нагревателя, высокий входной сигнал
P1137 Датчик кислорода, ряд 1, датчик 2 не переключается (достигнут предел контроля топлива) — прочтите нашу статью о кодах датчиков кислорода, чтобы получить помощь с этим Mazda Проверьте код света двигателя
P1138 HO2S, ряд 1, датчик 2, сигнал выше 0.45 В (соотношение A / F слишком богатое) — прочтите нашу статью о кодах кислородных датчиков, чтобы получить помощь с этим Mazda Проверьте код света двигателя
P1141 HO2S, ряд 1, датчик 2, цепь нагревателя, низкий уровень входного сигнала
P1142 HO2S, ряд 1, датчик 2, цепь нагревателя, высокий уровень
P1143 HO2S, ряд 1, датчик 3, сигнал ниже 0,45 В (соотношение A / F слишком бедное) — прочтите нашу статью о кодах датчика кислорода, чтобы получить помощь с этим Mazda Проверьте код света двигателя
P1144 HO2S, ряд 1, датчик 3, сигнал выше 0.
45 В (соотношение A / F слишком богатое) — прочтите нашу статью о кодах кислородных датчиков, чтобы получить помощь с этим Mazda Проверьте код света двигателя
P1150 Датчик кислорода, ряд 2, датчик 1 не переключается (достигнут предел контроля топлива) — прочтите нашу статью о кодах датчиков кислорода, чтобы получить помощь с этим Mazda Проверьте код света двигателя
P1151 HO2S, ряд 2, датчик 1, сигнал ниже 0,45 В (соотношение A / F слишком бедное) — прочтите нашу статью о кодах датчика кислорода, чтобы получить помощь с этим Mazda Проверьте код света двигателя
P1152 HO2S, ряд 2, датчик 1, сигнал выше 0.45 В (соотношение A / F слишком богатое) — прочтите нашу статью о кодах кислородных датчиков, чтобы получить помощь с этим Mazda Проверьте код света двигателя
P1153 Блок 2 управления топливом с измененной обедненной смесью (FAOSC)
P1154 Блок 2 управления топливом с переключением обогащенной смеси (FAOSC)
P1169 HO2S, ряд 1, датчик 1, фиксированная цепь (ряд 1, датчик 1)
P1170 HO2S, ряд 1, датчик 1, фиксированная цепь (ряд 1, датчик 1)
P1173 Датчик HO2S, ряд 2, датчик 1, фиксированная цепь (ряд 2, датчик 1)
P1182 Цепь соленоида отключения подачи топлива
P1189 Сигнал скорости насоса
P1190 Калибровочный резистор вне допустимого диапазона
P1191 TP (управляемый) Цепь
P1194 ECM, PCM, аналого-цифровой преобразователь
P1195 Цепь датчика наддува EGR
P1196 Цепь запуска переключателя зажигания
P1197 Цепь переключателя пробега
P1213 Пуск цепи форсунки
P1221 Противобуксовочная система
P1222 Выходная цепь контроля тяги
P1226 Цепь датчика управляющей втулки
P1235 Цепь управления топливным насосом
P1236 Выходной диапазон управления топливным насосом
P1248 Давление наддува не обнаружено
P1250 Цепь управляющего электромагнитного клапана регулятора давления
P1251 Цепь соленоида смеси воздуха
P1252 Цепь электромагнитного клапана регулятора давления «2»
P1260 Обнаружен сигнал противоугонной системы — двигатель не работает
P1270 Достигнуты обороты двигателя или предел скорости автомобиля
P1279 Цепь датчика управляющей втулки вне диапазона рабочих характеристик
P1298 Неисправность модуля драйвера форсунки
P1309 Монитор обнаружения пропусков зажигания
P1312 Цепь привода синхронизации топливного насоса
P1318 Цепь датчика положения поршня впрыска
P1319 Цепь датчика положения поршня синхронизации впрыска вне диапазона рабочих характеристик
P1345 Нет сигнала CMP или SGC
П1351 Сигнал монитора диагностики зажигания потерян к ПКМ или вне диапазона
P1352 Первичная цепь катушки зажигания А
P1353 Катушка зажигания B, первичная цепь
P1354 Первичная цепь катушки зажигания C
П1358 Сигнал монитора зажигания диагностический вне диапазона
испытаний собственной личности P1359 Потерян сигнал SPOUT для модуля управления трансмиссией или вне допустимого диапазона
P1360 Вторичный контур катушки зажигания A
P1361 Вторичный контур катушки зажигания B
P1362 Вторичный контур катушки зажигания C
P1364 Первичная цепь катушки зажигания
P1365 Вторичная цепь катушки зажигания
P1382 Цепь электромагнитного клапана 1 регулирования фаз газораспределения
P1387 Цепь электромагнитного клапана 2 регулирования фаз газораспределения
P1390 Короткое замыкание перемычки регулировки октанового числа или обрыв цепи
P1400 Низкий входной сигнал цепи датчика DPFE — прочтите нашу статью о кодах клапана рециркуляции ОГ, чтобы получить помощь с этим Mazda Проверьте код двигателя
P1401 Высокий уровень входного сигнала цепи датчика DPFE — Прочтите нашу статью о кодах клапана рециркуляции ОГ, чтобы получить помощь с этим Mazda.
Проверьте код двигателя
. P1402 Цепь датчика положения клапана рециркуляции ОГ — прочтите нашу статью о кодах клапана рециркуляции ОГ, чтобы получить помощь с этим Mazda Проверьте код света двигателя
P1405 Шланг перед датчиком DPFE отключен или засорен — прочтите нашу статью о кодах клапана рециркуляции ОГ, чтобы получить помощь с этим Mazda Проверьте код света двигателя
P1406 Нижний шланг датчика DPFE отключен или засорен — прочтите нашу статью о кодах клапана рециркуляции ОГ, чтобы получить помощь с этим Mazda Проверьте код света двигателя
P1407 Поток рециркуляции отработавших газов не обнаружен — прочтите нашу статью о кодах клапана рециркуляции отработавших газов, чтобы получить помощь с этим кодом Mazda. Проверьте код двигателя
. P1408 Поток в системе рециркуляции отработавших газов выходит за пределы ключа при работающем двигателе Диапазон самотестирования — прочтите нашу статью о кодах клапана рециркуляции отработавших газов, чтобы получить помощь с этим Mazda Проверьте код света двигателя
P1409 Цепь электромагнитного клапана вакуумного регулятора системы рециркуляции ОГ
P1410: Застрял электромагнитный клапан наддува системы рециркуляции ОГ
P1412 Клапан рециркуляции выхлопных газов заморожен — прочтите нашу статью о кодах клапана рециркуляции отработавших газов, чтобы получить помощь с этим Mazda Проверьте код света двигателя
P1415 Цепь воздушного насоса
P1416 Воздушный контур порта
P1417 Цепь сброса воздуха в порте
P1418 Разделенный воздушный контур №1
P1419 Разделенный воздушный контур № 2
P1439 Цепь переключателя температуры пола
P1443 Ошибка продувки системы EVAP
P1444 Низкое напряжение цепи датчика продувки СУПБ
P1445 Высокое напряжение цепи датчика продувки СУПБ
P1446 Цепь соленоида испарительного вакуума
P1449 Цепь соленоида проверки испарения
P1450 Не удается удалить воздух из вакуумного бака
P1451 Цепь соленоида вентиляции адсорбера
P1455 Цепь датчика уровня топлива в баке
P1456 Цепь датчика температуры топливного бака
P1457 Система управления соленоидом продувки
P1460 Цепь реле отключения дроссельной заслонки кондиционера при большом открытии дроссельной заслонки
P1464 Цепь сигнала управления кондиционером
P1473 Обрыв цепи вентилятора (VLCM)
P1474 Цепь управления вентилятором (первичная обмотка)
P1475 Цепь реле вентилятора (низкий уровень)
P1476 Цепь реле вентилятора (высокий уровень)
P1477 Цепь реле дополнительного вентилятора
P1479 Цепь управления вентилятором (первичный конденсатор)
P1485 Цепь вакуумного соленоида системы рециркуляции ОГ — прочтите нашу статью о кодах клапана рециркуляции отработавших газов, чтобы получить помощь с этим Mazda Проверьте код света двигателя
P1486 Цепь электромагнитного клапана вентиляции системы рециркуляции ОГ
P1487 Цепь электромагнитного клапана EGR-CHK (Boost)
P1491 Вторичная цепь соленоида переключателя
P1492 Цепь соленоида APLSOL
P1493 RCNT Электромагнитный контур
P1495 Цепь соленоида TCSPL
P1496 Катушка двигателя клапана рециркуляции ОГ ‘1’ Обрыв или короткое замыкание
P1497 Катушка электродвигателя клапана рециркуляции ОГ ‘2’ Обрыв или короткое замыкание
P1498 Катушка электродвигателя клапана рециркуляции ОГ ‘3’ Обрыв или короткое замыкание
P1499 Катушка двигателя клапана рециркуляции ОГ ‘4’ Обрыв или короткое замыкание
P1500 Прерывистый сигнал датчика скорости автомобиля
P1501 Датчик скорости автомобиля не в себе T
.
Mazda OBD-II Коды неисправностей
Примечание: на этой странице приведены общие коды OBD-II (они начать с P0 ***).
Недавние обсуждения на форуме Mazda
- Po301, коды ошибок PO301
Моя модель автомобиля — Mazda 6, в которой через неделю после обслуживания оказалось мало масла. Он дает пропуски зажигания в цилиндрах 1 и 2, и механик использует переходник на свече в точке 1. Далее он сказал мне, что двигатель нужно доработать, что я не мог понять, потому что … - Mazda CX-7 u0073 code
Моя Mazda CX-7 2007 года продолжает показывать этот код: u 0073 и есть ощущение пропусков зажигания, когда я за рулем, и машина тоже трясется.Как вы можете помочь мне поставить диагноз, который поможет решить эту проблему? С наилучшими пожеланиями … - P2101, P2100, p2110 на Mazda 6s 2004 года
[i] [b] [/ b] [/ i], пожалуйста, помогите, только что купленный термостат Mazda 6 2004 года застрял в закрытом состоянии.
Я починил это, машина дергается, переключается очень сильно на передачу или задний ход не ускоряется. Не уверен, как исправить, пожалуйста, помогите …. - о блоке датчиков кислорода 1
привет, в моей машине горит индикатор проверки двигателя, когда я сканировал его, показывал, что ДАТЧИК 1 ЦЕПИ КОНТРОЛЯ КОНТРОЛЯ НАГРЕВАТЕЛЯ HO2S 1, что отчет от сканер, теперь в моей машине нет каталитического нейтрализатора, поэтому у меня вопрос, если я поставлю новый каталитический нейтрализатор… - 1997 Mazda B2300 Код P0171
Мне действительно нужна помощь с этим. Мой грузовик тяжело заводится, и когда он это делает, он колеблется, когда вы даете ему газ. Это стало действительно разочаровывающим …. - mazda 3 2014 2.2 disel
Я получил код, с которого мне следует начать. Если я куплю датчик и установлю его, я не смогу вернуть его, если не решит проблему, стоимость детали 95 евро, но у многих других деталей разные цены https: //www.
onlinecarparts.co.uk/car-brands/spare-parts-mazda/3-s …
Специальные коды Mazda
P1000 Тестирование монитора OBD II не завершено
P1001 Невозможно выполнить функцию самотестирования или ошибка SCP
P1100 Прерывистая работа цепи датчика массового расхода воздуха
P1101 Цепь датчика массового расхода воздуха вне диапазона самопроверки
P1102 Сигнал датчика массового расхода воздуха несовместим с датчиком положения дроссельной заслонки
P1103 Сигнал датчика массового расхода воздуха несовместим с частотой вращения двигателя
P1110 Цепь датчика температуры всасываемого воздуха (динамическая камера)
P1112 Прерывистый сигнал в цепи датчика температуры всасываемого воздуха
P1113 Цепь сигнала датчика температуры всасываемого воздуха (динамическая камера)
P1114 Низкий уровень сигнала датчика температуры всасываемого воздуха Входной сигнал
P1116 Цепь датчика ECT вне диапазона самопроверки
P1117 Прерывистый сигнал датчика ECT
P1120 Датчик положения дроссельной заслонки вне допустимого диапазона
P1121 Сигнал датчика положения дроссельной заслонки не соответствует сигналу массового расхода воздуха
P1122 Положение дроссельной заслонки застряло в закрытом положении
P1123 Положение дроссельной заслонки застряло в открытом положении
P1124 Положение дроссельной заслонки Сигнал датчика вне диапазона самопроверки
P1125 Прерывистый сигнал датчика положения дроссельной заслонки
P1127 HO2S, ряд 1, нагреватель датчика 2 не включается при включении зажигания двигателя Самостоятельная работа Тест
P1128 HO2S, ряд 1, датчик 1, сигналы заменены ключом при работе двигателя Самотестирование
P1130 HO2S, ряд 1, датчик 1 не переключается (достигнут предел контроля топлива)
P1131 HO2S, ряд 1, датчик 1, сигнал ниже 0.
45 В (соотношение A / F слишком бедное)
P1132 HO2S, ряд 1, датчик 1, сигнал выше 0,45 В (соотношение A / F, слишком богатое)
P1135 HO2S, ряд 1, датчик 1, цепь нагревателя, низкий вход
P1136 HO2S, ряд 1, датчик 1, цепь нагревателя, высокий вход
P1137 HO2S, ряд 1, датчик 2 не переключается (достигнут предел контроля топлива)
P1138 HO2S, ряд 1, датчик 2, сигнал выше 0,45 В (соотношение A / F слишком богатое)
P1141 HO2S, ряд 1, датчик 2, цепь нагревателя, низкий
P1142 HO2S, ряд 1 Высокий входной сигнал цепи нагревателя датчика 2
P1143 HO2S, ряд 1, сигнал датчика 3 ниже 0.45 В (соотношение A / F слишком бедное)
P1144 HO2S, ряд 1, датчик 3, сигнал выше 0,45 В (соотношение A / F, слишком богатое)
P1150 HO2S, ряд 2, датчик 1 не переключается (достигнут предел контроля топлива)
P1151 HO2S, ряд 2, датчик 1 Сигнал ниже 0,45 В (соотношение A / F слишком бедное)
P1152 HO2S, ряд 2, датчик 1, сигнал выше 0,45 В (соотношение A / F, слишком богатое)
P1169 HO2S, ряд 1, датчик 1, цепь фиксирована (блок 1, датчик 1)
P1170 HO2S, банк 1 Фиксированная цепь датчика 1 (блок 1, датчик 1)
P1173 Цепь датчика кислорода (блок 2), ряд 2, датчик 1, фиксированная (блок 2, датчик 1)
P1195 Цепь датчика наддува системы рециркуляции ОГ
P1196 Пусковая цепь переключателя зажигания
P1235 Цепь управления топливным насосом
P1236 Выход управления топливным насосом Диапазон
P1250 Цепь электромагнитного клапана управления регулятором давления
P1252 Цепь 2 управляющего соленоида регулятора давления
P1260 Обнаружен сигнал противоугонной системы — двигатель отключен
P1270 Достигнуты обороты двигателя или предел скорости автомобиля
P1309 Монитор обнаружения пропусков зажигания
P1345 Нет сигнала CMP или SGC
P1351 Зажигание Di Отсутствует сигнал независимого монитора для PCM или вне допустимого диапазона
P1352 Первичная цепь катушки зажигания A
P1353 Первичная цепь катушки зажигания B
P1354 Первичная цепь катушки зажигания C
P1358 Сигнал диагностического монитора зажигания вне диапазона самопроверки
P1359 Отсутствует сигнал SPOUT для модуля управления трансмиссией или вне допустимого диапазона
P1360 Вторичный контур катушки зажигания «A»
P1361 Вторичный контур катушки зажигания «B»
P1362 Вторичный контур катушки зажигания «C»
P1364 Первичный контур катушки зажигания
P1365 Вторичный контур катушки зажигания
P1390 Короткое замыкание перемычки регулировки октанового числа или обрыв цепи
P1400 Низкий входной сигнал цепи датчика DPFE
P1401 Высокий входной сигнал цепи датчика DPFE
P1402 Цепь датчика положения клапана рециркуляции ОГ
P1405 Выключенный или засоренный передний шланг датчика DPFE
P1406 Выходной шланг датчика DPFE отключен или засорен
P1407 Поток системы рециркуляции ОГ не обнаружен
P1408 Поток системы рециркуляции ОГ отсутствует при работе двигателя Диапазон самопроверки
P1409 Регулятор вакуума рециркуляции ОГ r Электромагнитная цепь
P1410 Застрял электромагнитный клапан наддува системы рециркуляции ОГ
P1443 Сбой потока продувки системы EVAP
P1444 Низкое напряжение цепи датчика продувки EVAP
P1446 Высокое напряжение цепи датчика продувки EVAP
P1449 CDCV или цепь положения дроссельной заслонки
P1450 Ошибка системы управления P1450 EVAP Цепь соленоида вентиляции адсорбера
P1455 Цепь датчика уровня топливного бака
P1460 Цепь реле отключения дроссельной заслонки с широким открытием дроссельной заслонки
P1464 Цепь сигнала управления кондиционером
P1474 Цепь управления вентилятором (первичная обмотка)
P1479 Цепь управления вентилятором (первичный конденсатор)
P1485 Цепь вакуумного электромагнитного клапана системы рециркуляции ОГ
P1486 Цепь электромагнитного клапана сброса системы рециркуляции ОГ
P1487 Цепь электромагнитного клапана EGR-CHK (Boost)
P1496 Катушка двигателя клапана рециркуляции ОГ ‘1’ Обрыв или короткое замыкание
P1497 Катушка электродвигателя клапана рециркуляции ОГ ‘2’ Обрыв или короткое замыкание Обрыв или короткое замыкание катушки 3
P1499 Обрыв или короткое замыкание обмотки электродвигателя клапана EGR 4
P1500 Прерывистый сигнал датчика скорости автомобиля
P1501 Vehi Датчик скорости выходит за пределы диапазона самопроверки
P1502 Ошибка цепи датчика скорости автомобиля
P1504 Неустойчивая цепь электромагнитного клапана управления подачей воздуха на холостом ходу
P1505 Система управления подачей воздуха на холостом ходу на адаптивном зажиме
P1506 Обнаружена превышение скорости системы управления подачей воздуха на холостом ходу
P1507 Обнаружена пониженная скорость системы управления подачей воздуха на холостом ходу
P1508 Цепь электромагнитного клапана 1 байпасного воздуха, цепь
P1509 Электромагнитный клапан байпасного воздуха, цепь 2
P1512 Неисправность системы VTCS
P1521 Электромагнитный клапан VRIS, цепь
P1522 Электромагнитный клапан VRIS, цепь 2
P1523 Цепь соленоида VICS
P1524 Цепь клапана байпаса P15 воздухоохладителя P1524 Цепь вакуумного соленоида
P1526 Цепь электромагнитного клапана сброса ABV
P1529 Цепь клапана управления атмосферным балансом L / C
P1540 Неисправность системы ABV
P1562 Модуль управления трансмиссией + BB Низкое напряжение
P1569 Низкое входное напряжение цепи VTCS
P1570 Высокое входное напряжение цепи VTCS
P1601 Управление Ошибка линии связи модуля с TCM
P1602 Связь модуля управления трансмиссией L Ошибка связи с TCM
P1602 Ошибка связи системы иммобилайзера с модулем управления трансмиссией
P1603 Неисправность системы иммобилайзера
P1604 Неисправность системы иммобилайзера
P1605 Модуль управления трансмиссией Keep Alive Ошибка проверки памяти
P1608 Модуль управления трансмиссией (ЦП ECM) DTC Test Fault
P1609 Powertrain Модуль (ЦП ЕСМ) Цепь датчика детонации
P1621 Неисправность системы лммобилайзера
P1622 Неисправность системы лммобилайзера
P1623 Неисправность системы лммобилайзера
P1624 Неисправность системы лммобилайзера
P1627 Ошибка связи модуля управления трансмиссией (ЭСУД / TCS) / Модуль управления трансмиссией TCM
P1628 ) Любая ошибка линии связи
P1631 Сигнал выходного напряжения генератора (нет выхода)
P1632 Цепь контроля напряжения аккумуляторной батареи
P1633 Неисправность перезарядки аккумуляторной батареи
P1634 Обрыв цепи клеммы «B» генератора
P1650 Ошибка выхода реле давления усилителя рулевого управления за пределы диапазона
P1651 Давление усилителя рулевого управления Цепь переключателя
P1652 Пресс с усилителем рулевого управления Цепь переключателя
P1701 Ошибка обратного включения датчика диапазона передачи
P1702 Прерывистый сигнал цепи датчика диапазона передачи
P1703 Выключатель включения / выключения тормоза вне диапазона самопроверки
P1705 Датчик диапазона передачи вне диапазона самопроверки
P1709 Цепь переключателя положения педали сцепления
P1711 Коробка передач Цепь датчика температуры жидкости вне диапазона самопроверки
P1713 Цепь датчика температуры трансмиссионной жидкости
P1714 Электромагнит переключения передач «1» Механическая неисправность
P1715 Электромагнит переключения передач «2» Механическая неисправность
P1716 Электромагнитный клапан переключения передач «3» Механическая неисправность
P1717 Электромагнитный клапан переключения передач «4» Механическая неисправность
P1718 Цепь датчика температуры трансмиссионной жидкости
P1720 Ошибка сигнала датчика скорости автомобиля «2»
P1729 Ошибка низкого переключателя трансмиссии 4×4
P1740 Механическая неисправность соленоида муфты гидротрансформатора
P1741 Электрическая неисправность управления муфтой гидротрансформатора
P1742 Короткое замыкание соленоида муфты гидротрансформатора
P1743 Муфта гидротрансформатора ch Failed On — TCIL включен
P1744 Механическая неисправность соленоида муфты гидротрансформатора
P1746 Обрыв цепи электромагнитного клапана электронного управления давлением
P1747 Цепь электромагнитного клапана электронного управления давлением
P1749 Низкий уровень сигнала в цепи электромагнитного клапана электронного управления давлением
P1751 Электромагнитный клапан переключения передач трансмиссии ‘A’ Механическая неисправность
P1752 Короткое замыкание цепи электромагнитного клапана переключения коробки передач «A»
P1754 Электрическая неисправность соленоида муфты переключения передач по инерции
P1756 Механическая неисправность соленоида переключения передач «B»
P1757 Короткое замыкание в цепи электромагнитного клапана переключения передач «B»
P1761 Электромагнитный клапан переключения передач «3» Механическая неисправность
P1762 Коробка передач SS3 / SS4 / OD Band Fault
P1765 Трансмиссия 3-2 синхронизирующий электромагнитный клапан
P1767 Цепь соленоида муфты гидротрансформатора
P1771 Обрыв цепи датчика положения дроссельной заслонки на модуль управления трансмиссией
P1772 Цепь датчика положения дроссельной заслонки замкнута на модуль управления трансмиссией
P1780 Цепь переключателя управления коробкой передач 9 0010 P1780 Переключатель выключения повышающей передачи не был включен во время самотестирования
P1781 Выключатель низкого уровня трансмиссии 4×4 вне диапазона
P1783 Высокий входной сигнал температуры жидкости трансмиссии
P1788 Обрыв цепи 3-2T / CCS
P1789 Короткое замыкание цепи 3-2T / CCS
P1794 Управление трансмиссией Цепь прямого питания аккумуляторной батареи модуля
P1797 Обрыв или короткое замыкание переключателя P / N
P1900 Прерывистый сигнал в цепи датчика скорости турбины
P1901 Прерывистый сигнал в цепи муфты гидротрансформатора
ПРИМЕЧАНИЕ: Эта информация представлена только в информационных целях.
Это не является советом по ремонту, и мы не несем ответственности за какие-либо действия. берешь на себя любую технику. Вся информация на этом сайте защищена авторским правом.
Проверка датчика дроссельной заслонки мультиметром
Проверка датчика дроссельной заслонки потенциометрического типа заключается в проверке соответствия выходного напряжения ДПДЗ фактическому положению дроссельной заслонки во всём диапазоне возможных.
И так, с чего начать диагностику, и как проверить датчик дроссельной заслонки? Ответом на этот вопрос как раз и будет наглядное видео.
В данном случае рассматривается проверка ДПДЗ потенциометрического типа со встроенным датчиком концевого положения, по этому он имеет не 3 вывода, а 4-е. Но прежде всего нужно разобраться что представляет собой этот ДДЗ. По сути это потенциометр, ось которого жёстко связана с осью дроссельной заслонки. На питающие выводы датчика ДЗ, как правило, подается 5В и «масса», а подвижный контакт — сигнальный. Датчик дроссельной заслонки используется ЭБУ для расчета количества нужного объема топлива в текущий режим работы и расчета угла опережения зажигания.
Проверка датчика положения дроссельной заслонки начинается с подключения контактов разъема ДПДЗ к мультиметру (предварительно выставив в режим «прозвонки»). После чего, имитируя движения дросселя, проверяем реакцию датчика в крайних положениях заслонки. Не зависимо от того сколько контактов 3 или 4 процедура одинакова. Хрипы говорят о неисправности!
Но чтобы убедиться в своих предположениях можно сделать контрольную проверку на сопротивление датчика (точные данные нужно смотреть в мануале вашего авто, но в общем, это до 10 кОм).
Стоит заметить что подобную проверку также можно проводить и не снимая датчик с дросселя. Для этого от датчика отсоединяем колодку и включаем зажигание, затем «+» мультиметра подключаем к питающему выводу колодки жгута проводов, а «-» на массу двигателя. На циферблате должно светится 4,8-5,2 V. После выключив зажигание проверяем сопротивление таким же методом, как и при снятом ДПДЗ. Когда заслонка закрыта должно показывать меньше сопротивление, а когда она полностью открыта, то значительно больше (точные данные зависят от тех. характеристик датчика). К примеру, датчик дросселя автомобиля ВАЗ должен быть в пределах 0,9-1,2 кОм (заслонка закрыта) и 2,3-2,7 кОм (заслонка открыта). Не попадание значений в промежуток говорит про неисправность датчика дроссельной заслонки.
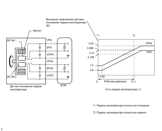
Для того, чтобы проверить датчик положения дроссельной заслонки с электронной педалью сначала необходимо нажать на педаль газа до упора, а затем снять показания мультиметром в режиме вольтметр.
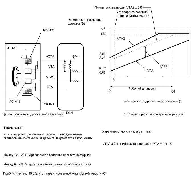
Показания первого и второго датчика в сумме должны соответствовать 5 вольтам – это эталонный показатель, он означает, что дроссельная заслонка в норме.
Далее меряем напряжение датчиков по отдельности. Положение педали газа №1 и датчик положения педали газа №2, при полностью нажатой педали газа, должен соответствовать показанию 4,2 вольта и 2,1 вольт соответственно. И таким образом если разделить показание первого датчика на напряжение на втором то должно получится, что между ними разница ровно в два раза, то есть равно 2,1. Такая закономерность будет свидетельствовать о том, что в положении зажигания «включено» при положении педали газа в пол, наша педаль газа будет показывать верное значение, а значит она исправна. В случае неисправности ДПДЗ, электронный дроссельный узел или педали газа будет выскакивать ошибка P2138 – неверное соотношение напряжений «D»/«E» датчика положения дроссельной заслонки или педали газа. Появление «чека» с таким кодом главный повод к детальной диагностики электронной педали газа.
Вторым этапом проверки может быть отрабатывание педали при нажатии. Для этого требуется замерять сопротивление между двумя соседними дорожками (на разобранной педали нагляднее). При перемещении педали газа, сопротивление между контактами должно плавно меняться. Изменения скачками свидетельствует о том, что педаль газа следует заменить.
Дроссельная заслонка – один из ключевых компонентов, который отвечает за работу двигателя автомобиля. Она является частью впускной системы, и от ее правильной работы зависит количество воздуха, которое поступит в камеру сгорания, где он детонирует после смешивания с бензином.
Чтобы процесс детонации был максимально эффективным, электронный блок управления автомобиля должен контролировать время открытия дроссельной заслонки, тем самым впуская столько воздуха, сколько потребуется для образования идеальной смеси в конкретный момент времени. За информацию о том, в каком положении находится дроссельная заслонка, отвечает соответствующий датчик.
При его выходе из строя водителя ожидают неприятности, которые могут привести к поломке деталей двигателя.
Назначение и виды ДПДЗ
Датчика положения дроссельной заслонки генерирует электрический сигнал, соответствующий углу открытия воздушной заслонки. Показания необходимы для корректной работы контроллера (ЭБУ). Этот сигнал вмести с данными от других датчиков используется контроллером при формировании импульсов впрыска топлива, и искрообразования.
Вне зависимо от конструкции, ДПДЗ можно представить себе как потенциометр: один вывод которого подключен к массе, а другой к питанию бортовой сети. Напряжение, соответствующие положению заслонки снимается с вывода, аналогичного подвижному контакту.
Устанавливается он на корпусе дроссельной заслонки со стороны противоположной приводу воздушной заслонки. Его подвижный элемент механически связан с осью заслонки.
- пленочно-резистивный. Представляет собой обычный потенциометр. Их моторесурс достигает 50 тыс. км пробега;
- бесконтактный (магниторезистивный).
Принцип работы основан на эффекте Холла. Время безотказной работы зависит только от качества исполнения механической части устройства. Стоит устройство такого типа, конечно же, намного дороже пленочно-резистивных.
Симптомы неисправности
Проверка датчика положения дроссельной заслонки необходима в следующих случаях:
- ухудшение динамики разгона.
- повышенная, пониженная, или нестабильная частота вращения коленвала на холостом ходу.
- рывки при движении по ровной дороге с неизменным нажатием педали акселератора.
- остановка двигателя на нейтрали.
- остановка двигателя во время переключения передач.
- двигатель не развивает максимальную мощность.
Причины возникновения неисправностей
- Основными причинами выхода из строя пленочно-резистивных ДПДЗ является механический износ резистивного слоя и движка потенциометра, а также попадание грязи на рабочую поверхность.
- У магниторезистивных встречается тоже две причины отказов: поломка движущегося узла и отказ электронного преобразователя магнитных сигналов в постоянное напряжение.

Методы диагностики ДПДЗ
Самый распространенный тест датчика – измерение сопротивления или напряжения в различных положениях дроссельной заслонки (закрытое, полуоткрытое и полностью открытое). Мы будем выполнять тестирование, используя функцию измерения напряжения.
- Откройте капот и снимите узел воздушного фильтра в том месте, где он соединяется с корпусом дроссельной заслонки.
- Осмотрите пластину дроссельной заслонки и стенки корпуса дроссельной заслонки, расположенные вокруг неё.
* Если вы видите нагар на стенках или под пластиной заслонки, выполните очистку этого узла с помощью очистителя карбюраторов (карбклинера) и чистой ветоши. Поверхность должна быть полностью чистой. Нагар и грязь могут препятствовать закрытию дроссельной заслонки и её свободному перемещению.
- Найдите ДПДЗ, установленный на боковой части корпуса дроссельной заслонки. Датчик выполнен в виде небольшого пластикового блока с трехжильным разъемом.
Подключен ли ваш ДПДЗ к «земле»?
- Аккуратно отсоедините электрический разъем от датчика положения дроссельной заслонки.

- Проверьте разъем и клемму на наличие загрязнений и повреждений.
- Установите мультиметр в подходящий режим, к примеру, 20V на шкале постоянного напряжения (DCV).
- Поверните ключ зажигания в положение ON, но не запускайте двигатель.
- Подключите красный щуп мультиметра к плюсовой клемме аккумулятора, обозначенной символом «+».
- Прикоснитесь черным щупом мультиметра к каждому из трех электрических контактов разъема проводки, который подключается к ДПДЗ.
* Один из контактов, при прикосновении к которому на экране мультиметра появляется напряжение около 12 вольт, является контактом заземления. Обратите внимание на цвет этого провода.
* Если ни один из контактов не отображает 12 вольт, это является признаком дефекта проводки, которая идёт к датчику положения дроссельной заслонки. Датчик не имеет заземления, поэтому он не может правильно работать. В такой ситуации нужно решать проблему с проводкой.
- Выключите зажигание.
Подключен ли ДПДЗ к источнику опорного напряжения?
- Теперь подключите черный щуп мультиметра к контакту заземления на разъеме ДПДЗ, который вы только что идентифицировали.

- Поверните ключ зажигания в положение ON, но не запускайте двигатель.
- Подключите красный щуп мультиметра к каждому из двух других контактов разъема.
- На одном из контактов напряжение должно составлять около 5 вольт. Этот контакт передаёт опорное напряжение на ДПДЗ. Обратите внимание на цвет провода, подключенного к этому контакту. Третий провод является сигнальным.
* Если ни на одном из двух контактов разъема не будет 5 вольт, в проводке есть проблема, которую необходимо исправить. Проверьте электрическую цепь на наличие плохих контактов или поврежденных проводов.
- Выключите зажигание.
- Вставьте электрический разъем в ДПДЗ.
Выдает ли датчик положения дроссельной заслонки правильный сигнал?
- Для выполнения такой проверки необходимо использовать пару штырьков или скрепок.
- Подключите красный щуп тестера к сигнальному проводу датчика, а черный – к проводу заземления.
- Включите зажигание, но не запускайте двигатель.

- Убедитесь в том, что дроссельная заслонка полностью закрыта.
- Ваш мультиметр должен отображать значение в диапазоне 0,2-1,5 вольт или около этого, в зависимости от конкретного автомобиля. Если на экране вы видите ноль, убедитесь, что вы выбрали правильный режим прибора – обычно оптимальным является 10 или 20 вольт. Если на экране все ещё виднеется ноль, продолжайте проверку.
- Постепенно открывайте дроссельную заслонку, пока она не будет полностью открыта (или же ваш помощник может постепенно нажимать педаль газа до упора).
* При полностью открытой дроссельной заслонке на мультиметре должно отображаться около 5 вольт.
* Убедитесь в том, что напряжение постепенно увеличивается, когда вы медленно открываете дроссельную заслонку.
* Если вы заметили, что в определенных положениях заслонки есть скачки напряжения или оно зависает на одном уровне, ваш ДПДЗ не работает правильным образом, поэтому его необходимо заменить.
* Если датчик положения дроссельной заслонки не достигает напряжения в 5 вольт или около этого (в некоторых автомобилях – 3,5В) при полностью открытой заслонке, его надо менять.
- Выключите зажигание и снимите штырьки (скрепки).
Если на вашем автомобиле установлен регулируемый датчик положения дроссельной заслонки (они встречаются на старых моделях), и его показания не соответствуют норме, попробуйте сначала отрегулировать его. Датчик подлежит регулировке, если вы можете ослабить болты его крепления и повернуть элемент влево или вправо.
Регулировка датчика положения дроссельной заслонки
Этот способ подходит для настройки внешнего датчика. Следующие советы дадут вам общее представление о процедуре регулировки ДПДЗ.
- Ослабьте крепежные болты датчика так, чтобы вы могли вращать его, слегка постукивая по нему рукояткой отвертки.
- Оттяните датчик для проверки напряжения с помощью мультиметра.
- Поверните ключ зажигания в положение ON, но не запускайте двигатель.
- Удерживайте дроссельную заслонку в закрытом положении (или в положении, указанном в руководстве по ремонту или обслуживанию вашего автомобиля).

- Убедитесь, что напряжение соответствует указанному в руководстве. Если нет, поверните датчик влево или вправо, пока не получите заданное напряжение.
- Удерживайте ДПДЗ в этом положении и затяните крепежные винты.
Если датчик не поддаётся регулировке и не достигает требуемого напряжения, замените его.
Информация о том, как проверить датчик дроссельной заслонки, может сэкономить ваше время и поможет избежать ненужной замены компонентов. С помощью простого теста вы сможете быстрее вернуть свой автомобиль в строй. Такая проверка легко выполняется всего за несколько минут.
Проверка ДПДЗ
Проверка датчика положения дроссельной заслонки на примере ВАЗ 2110. Предварительные действия:
- Закрыть дроссельную заслонку.
- Включить зажигание.
- Вольтметром проверить величину напряжения на выходе прибора. Оно должно быть не более 0,7 В. Его выход определяется очень просто ― два провода под массу и питание, а третий, соответственно, под выход.

- Измерить величину напряжения на выходе при полностью открытой заслонке. Оно должно быть не менее 4 В.
- Проверить изменение напряжения на выходе при открытии и закрытии заслонки. Напряжение должно меняться плавно, без скачков.
- Если результаты ваших измерений совпадают с вышеописанными, то ваш датчик исправен. Если же хоть что-то отличается ― вам нужно купить исправный.
Неисправность этого датчика записывается в память контроллера. В таком случаи обычно начинает светиться надпись «check engine».
Двигатель переводится в аварийный режим работы, предназначенный лишь для того, чтобы своим ходом доехать до автомастерской, что еще больше усиливает дискомфорт при управлении автомобилем, а также увеличивает расход топлива.
Замена датчика
Месторасположение ДПДЗ на примере Ваз 2110
Замена ДПДЗ не требует отключения аккумулятора, так как он обесточивается при выключении зажигания. Поэтому просто выключите зажигание.
Аккуратно отжав стопор, снимете разъем, с датчика. Отверните винты крепления датчика и снимите его. При установке нового датчика, сначала аккуратно совместите торец оси заслонки с посадочным местом. После этого, вращая датчик, совместите отверстия в датчике с отверстиями в корпусе заслонки. Ввинтите крепеж и затяните его. Не забудьте надеть разъем. Остается только стереть ошибку из памяти контроллера.
Стереть ошибку из памяти можно попытаться самостоятельно, скинув на ночь клемму с аккумулятора. Если попытка удаления кода ошибки не увенчается успехом, остается два варианта ехать на диагностику и убирать ее мотортестером или подождать когда контроллер сам удалит ее.
Регулировка
ДПДЗ автомобилей семейства ВАЗ регулировки не требует. На автомобилях, для которых предусмотрена его регулировка она делается следующим образом: после установки нового датчика полностью закройте воздушную заслонку, повернув ее за привод, если он механический. Или снимите воздуховод и нажмите на ее край, если у нее электрический привод.
Затем присоедините щупы вольтметра к выходу датчика и к массе авто, строго соблюдая полярность. Поверните датчик таким образом, чтобы вольтметр показывал минимальное для этого датчика напряжение (в идеале 0 В). После чего затяните крепеж. Если после регулировки обороты холостого хода выше, чем должны быть, значит, на вашем автомобиле нужно провести процедуру обучения контроллера параметрам нового ДПДЗ. Для этого следует:
- на 15 минут отключить клемму от аккумулятора.
- убедиться в том что дроссельная заслонка закрыта.
- включить зажигание на несколько секунд не запуская двигатель.
- выключить зажигание.
- подождать около 15 сек. В это время контроллер будет записывать себе в память новые параметры ДПДЗ, поставленного взамен, пришедшего в негодность.
Дроссельная заслонка в автомобиле — конструктивный узел, входящий в систему впуска на бензиновых силовых агрегатах. При возникновении неисправностей в механизме нужно проверить датчик положения дроссельной заслонки.
Для этого можно воспользоваться одним из способов.
Как проверить ДПДЗ и РХХ
Проверить работу дроссельного узла можно тремя способами:
- заменой на заведомо исправный – это самый точный способ
- омметром
- компьютерной диагностикой
Первый способ рассматривать не будем, так как он и так очевиден. Остановимся на втором и третьем.
Как проверить датчик положения дроссельной заслонки мультиметром
Посмотрев на схему, в левом нижнем углу видим нужный нам объект под названием “регулятор холостого хода”
Мы видим простейшую схему, состоящую из двойного реостата (переменное сопротивление), выключатель и электрический двигатель. На простом языке, суть работы данного чуда-устройства такова: когда мы нажимаем педаль газа, то сразу размыкается выключатель режима хх (обычный концевик) и двигатель переходит на другой режим работы, в зависимости от степени открытия дроссельной заслонки. Эту степень открытия ЭБУ определяет по изменяющемуся сопротивлению реостата.
Когда мы отпускаем педаль газа, то выключатель снова замыкается и дает понять ЭБУ, что нужно включать режим холостого хода. ЭБУ переходит в режим хх и регулирует его электрическим моторчиком, который приоткрывает дроссельную заслонку на определённый угол для поддержания заданных оборотов. За этими значениями следит вторая часть реостата.
Какие могут возникнуть поломки в этом простом механизме:
- неисправность выключателя
- трещины и истирание токопроводящего слоя реостата
- обрыв реостата
- замыкание, обрыв или увеличение сопротивления проводки
- неисправность двигателя
Для быстрой проверки всех этих возможных неисправностей необходимо снять разъём с ЭБУ. Как это сделать изложено в статье Дёргается Лачетти
Для проверки ДПДЗ необходимо подключить омметр к 74 и 79 контакту штекера ЭБУ
Видим сопротивление чуть больше 700 Ом
Теперь плавно проворачиваем дроссельную заслонку и смотрим показания омметра. Они должны также плавно увеличиваться.
Можно даже воспользоваться стрелочным прибором для более точного измерения плавности изменений.
Не должно быть никаких скачков. Если есть скачки – значит токопроводящее покрытие загрязнено или имеет трещины, либо у Вас трусится рука
После того, как докрутили заслонку до упора, значение должно возрасти больше 1200 Ом
Внимание! В самом конце возможен скачок сопротивления примерно до 1300 Ом, а затем показания устанавливаются на значении около 1200 Ом. Боятся этого не стоит.
Примечание. Щупы лучше подключать через отрезки тонкого провода. Имейте ввиду, что провода должны быть тонкие! Иначе имеется риск разжать контакты в колодке ЭБУ!
В общем, датчик ДПДЗ проверили. Теперь проверим датчик положения регулятора хх. Для этого подключаем омметр к 43 и 79 контакту штекера ЭБУ. Видим похожие показания
Показания сопротивления датчика положения РХХ при вращении могут не изменяться, а сопротивление может немного отличаться от моих.
Потому что поворачивая дроссельную заслонку, мы не оказываем влияния на положение регулятора РХХ. Для вращения этого регулятора, необходимо снимать крышку с дроссельного узла. Тут главное – это наличие сопротивления около 600 – 750 Ом, что свидетельствует об отсутствии обрыва в цепи датчика положения РХХ. Если есть обрыв, тогда придётся прозвонить отдельно провода и при их целостности – разбирать дроссельный узел. Но это бывает крайне редко.
Теперь проверим выключатель холостого хода. Для этого подключаем омметр к 19 и 55 контакту штекера ЭБУ
При отпущенной педали газа, сопротивление должно стремиться к 0 – контакт замкнут, а при нажатой педали, сопротивление должно быть бесконечным – контакт разомкнут.
Если никаких проблем при этих измерениях не обнаружили, значит механизм должен быть исправным.
Советую при проверке этого выключателя подёргать жгут проводов от ЭБУ к двигателю, так как часто можно встретить вот такую неисправность
Как проверить ДПДЗ компьютерной диагностикой
При этом способе всё гораздо проще.
Что нужно для такой диагностики изложено в рубрике Компьютерная диагностика Шевроле
В программе Chevrolet Explorer нам нужны всего два параметра:
- положение дроссельной заслонки
- дроссельная заслонка открыта/закрыта
Для проверки датчика положения дроссельной заслонки необходимо медленно и плавно нажимать на педаль газа. При этом график положения ДЗ должен также плавно и без провалов расти вверх. Без провалов и скачков
При полном нажатии на педаль газа, степень открытия дроссельной заслонки должна составлять не менее 70%. Хотя встречались показания немного меньше. Самое минимальное, которое я видел составляло 66%, хотя всё было исправно и правильно отрегулировано. Поэтому ориентируйтесь значений 66%-73%.
При резком нажатии и отпускании график в точности должен повторять Ваши действия. Вот такого быть не должно
Здесь явные заедания/зависания дроссельной заслонки.
Проверка выключателя холостого хода проводится попеременным нажатием/отпусканием педали газа.
График в параметре “дроссельная заслонка закрыта” должен четко реагировать на Ваши действия без пропусков
Характеристика датчика положения дроссельной заслонки
Предназначение датчика заключается в регулировке объема воздушного потока, который поступает в мотор. Этот воздух используется для образования горючей смеси.
Где расположен датчик в авто?
Чтобы при необходимости выполнить диагностику устройства, автовладельцу надо знать, где находится ДПДЗ. Контроллер устанавливается в моторном отсеке. Его можно увидеть сбоку от дроссельной магистрали на оси самой заслонки.
Расположение контроллера на дросселе
Конструкция устройства
Конструктивно устройство включает в себя следующее:
- Корпус контроллера. Этот компонент выполнен из термостойкого стеклопластика. Корпус оснащается двумя фланцами, которые используются для фиксации контроллера к дроссельному узлу.
- Соединительное устройство, оснащенное тремя контактами. Этот компонент объединен с корпусом контроллера.

- Резистивное устройство, выполненное из керамики.
- Токосъемный элемент. Эта составляющая предназначена для обеспечения электрического контакта с резистивной деталью.
- Цанговый зажим, оснащается шлицем.
- Резиновая прокладка. Используется для монтажа контроллера на ось дроссельного узла.
Симптомы неисправности датчика
Основные признаки, по которым можно выявить проблемы в работе контроллера ДПДЗ:
- В работе силового агрегата на холостом ходу возникают сложности. Обороты нестабильные, могут резко увеличиваться или падать, водитель при этом не жмет на педаль газа.
- Силовой агрегат может заглохнуть, когда водитель переключает передачу из одного режима в другой. Произвольная остановка мотора возможна как при езде на нейтральной скорости, так и при стоянке, к примеру, на светофоре или в пробке.
- Расход бензина существенно возрастает. Иногда рост потребления горючего незаметен для автовладельца. Тогда определить перерасход можно только путем замера.

- Фиксируется нестабильность в оборотах холостого хода. Причем это не зависит от режима функционирования силового агрегата.
- Мощность мотора машины значительно падает. Ее снижение обычно точно можно заметить при движении на подъеме, когда включена повышенная передача. Переключившись на более низкую скорость, можно избежать падения «тяги».
- Если автомобиль разгоняется или двигается на невысокой скорости, могут ощущаться рывки при нажатии на газ.
- Двигатель глохнет, как только водитель отпускает педаль газа.
- Из впускного коллекторного устройства начинают раздаваться звуки хлопков. Они появляются периодически, иногда их можно услышать при нажатии на газ.
- На панели приборов появляется световой индикатор Check Engine. Он может гореть постоянно либо загораться периодически.
Иван Васильевич подробно на практике рассказал о симптомах неисправностей ДПДЗ.
Возможные причины неисправности ДПДЗ
Возможные причины неисправностей ДПДЗ:
- Окисление контактов на выводах устройства.
Явление зачастую обусловлено температурными перепадами и воздействием влаги. Чтобы не допустить такой поломки, требуется периодически очищать контакты ватной палочкой или тампоном, обработанным в WD-40. - Стирание напыления на рабочей поверхности, в частности, на отрезке, где ползунок начинает движение. Это способствует тому, что параметр напряжения при работе датчика не изменяется в результате отсутствия сопротивления.
- Механическое повреждение наконечников контроллера. При данной проблеме на подкладке будут появляться заусеницы. Контактные элементы продолжают работать, но сама подложка изнашивается значительно быстрее. Эта неисправность приведет к тому, что ползунок и резистивный слой не смогут контактировать.
- Выход из строя ползунка. Естественный износ характерен для этой детали датчика при длительном использовании.
Канал «Ремонт Двигателя! И интересное!» подробно рассказал о причинах и признаках неисправностей в работе контроллера.
Причины возникновения неисправностей
Причины, по которым может потребоваться ремонт либо замена ДПДЗ:
- Закислились контактные элементы.
Эту проблему сложно назвать поломкой, но она относится к неисправностям, которые можно устранить. При длительной эксплуатации контакты датчика могут окислиться. Это связано с работой ДПДЗ в условиях перепадов температур и воздействии влаги. Для ликвидации проблемы надо демонтировать контроллер и произвести очистку контактных элементов ваткой, обработанной средством WD-40. - Стирание напыления на основании начального отрезка передвижения ползунка. Если резистивная основа удаляется, работа контроллера будет некорректной. Во время передвижения ползунка величина напряжения, которое поступает на управляющий модуль, увеличится. Но в результате стирания этого не происходит, поскольку сопротивление отсутствует. Это приводит к появлению неполадок, иногда происходят сбои в работе управляющего модуля.
- Повреждение наконечников на устройстве. Если это происходит, то на подкладке образуются заусеницы, что в итоге приведет к поломке остальных элементов. В некоторых случаях контакты продолжат функционировать, но это продлится недолго, тем более что износ подложки увеличится.
При подобных проблемах ползунок и резистивный слой откажутся контактировать, что приведет к неработоспособности мотора машины. - Поломка ползунка. Данный компонент устройства при длительной эксплуатации изнашивается. В результате он может отойти от необходимой траектории, что приведет к неполадкам.
Одна из причин выхода из строя контроллера положения заслонки дросселя показана в ролике канала «Все Сам».
Основные причины неисправностей
В зависимости от того, какой тип датчика используется на автомобиле, можно выделить основные проблемы, которым они подвержены.
Бюджетные пленочно-резистивные датчики положения дроссельной заслонки чаще всего выходят из строя по причине износа резистивного слоя механическим путем. Так при работе может быть изношен движок датчика. Еще одной распространенной причиной выхода из строя пленочно-резистивного варианта датчика является попадание на него грязи, которая приводит в негодность рабочую поверхность.
Бесконтактные ДПДЗ чаще всего выходят из строя по причине механической поломки движущегося узла.
Также среди типичных «болезней» можно выделить неисправности в работе электронного преобразователя получаемых магнитных сигналов в постоянное напряжение.
Как заменить датчик положения дроссельной заслонки?
Замена контроллера выполняется так:
- В автомобиле деактивируется зажигание. АКБ отключать необязательно, поскольку устройство обесточено.
- Открывается моторный отсек, от контроллера отключается разъем и выкручиваются болты, которые его крепят. Фиксирующих винтов обычно два, но их число может изменяться в зависимости от модели устройства и машины.
- Вышедший из строя ДПДЗ демонтируется. Контакты, к которому он подключен, очищаются щеткой.
- Выполняется монтаж нового контроллера. При установке надо осторожно соединить торцевую часть оси заслонки с местом монтажа устройства.
- Затем контроллер прокручивается по кругу. Это важно сделать для того, чтобы совместить отверстия и зафиксировать болты, которые его крепят. После закручивания винтов на датчик устанавливается колодка с проводами.

Частые причины неисправности
Немного поговорив об устройстве, можно понять, что основная и частая поломка датчика – это износ резистивного слоя. Со временем напыление слоя стирается, и тогда появляются проблемы с датчиком.
Причем чаще всего износ подвержен в начале резистивной дорожки, так как там происходит частое перемещение контактов (начало движения автомобиля).
Износ резистивного слоя дорожки датчика
Попадание грязи на рабочую поверхность датчика также может быть причиной неисправности.
Реже можно наткнуться на поломки в работе самого датчика. Это выход из строя механической части движущегося узла, и неисправность электронного преобразователя магнитных сигналов.
Как отрегулировать датчик положения дроссельной заслонки?
После замены датчика положения дроссельной заслонки выполняется его регулировка, это позволит добиться правильной работы ДПДЗ.
Регулировать новый контроллер надо так:
- Производится демонтаж гофрированной магистрали, подключенной к впускному коллекторному прибору.
После отсоединения выполняется визуальная диагностика состояния самой заслонки. Необходимо вытереть этот элемент, а также впускное коллекторное устройство, используя тряпку, смоченную в горючем. - Затем упорный болт заслонки отпускается. Сам элемент открывается до конца и резко отпускается, при выполнении этой задачи должен раздаться щелчок удара об упор.
- Производится регулировка натяжения упорного болта, в процессе надо щелкать заслонкой. Когда данный компонент перестает «закусываться» и перемещается свободно, винт надо зафиксировать с помощью гайки.
- Затем ослабляются болты, которые фиксируют контроллер. Один щуп тестера подключается к контактному элементу холостых оборотов, а второй подсоединяется между упорным болтом и самой заслонкой. Корпус контроллера проворачивается до момента, пока параметр напряжения не начнет меняться с открытием заслонки.
- Когда это произойдет, болты можно закрепить.
Дмитрий Мазницын подробно рассказал о процедуре регулировки контроллера положения заслонки дросселя на примере Фольксваген Пассат.
Как самому проверить потенциометр дроссельной заслонки?
Более того, последняя поездка на станцию СТО для диагностики вылилась в 30 долларов, однако результата не дала. Мастер заявил, что показания компьютера на диагностическом стенде соответствуют норме, давление топлива, как на новой, а почему машина заводится, но не едет — он понять не может. Поступило множество рекомендаций по поводу пробных замен некоторых узлов. Такой метод поиска неисправностей мог вылиться в сумму 300 долларов. Поэтому существенных изменений после посещения станции технического обслуживания не произошло. На буксире приехал, с его помощью и уехал.
Единственным плюсом было то, что с суммой в три сотни долларов расставаться не хотелось, и это явилось мотивированным стимулом к изучению некоторых узлов автомобиля.
Моя статья «Как проверить регулятор положения дроссельной заслонки?» напрямую перекликается с данной статьей, которая является продолжением изучения простейшей диагностики некоторых узлов этого автомобиля в домашних условиях.
Потенциометр, как и регулятор положения дроссельной заслонки, установлен на блоке приготовления горючей смеси.
Назначение потенциометра дроссельной заслонки заключается в том, что с его помощью определяется угол открытия дроссельной заслонки, после чего информация передается в блок управления для расчета необходимого количества топлива на данный момент времени при настоящем положении заслонки. В зависимости от угла положения дроссельной заслонки, на потенциометре изменяется сопротивление, которое обеспечивает получение соответствующего напряжения для передачи блоку управления. То есть потенциометр дроссельной заслонки в общем случае представляет переменное сопротивление. Следовательно, проверка его работы сводится к измерению сопротивления на клеммах потенциометра.
Измерение сопротивления производится прибором омметром либо другим прибором, способным производить измерение сопротивления в пределах 300−7000 Ом.
Для измерения сопротивления необходимо:
1.
На приборе выбрать диапазон производимых измерений до 7000 Ом;
2.
Разъединить штекерный разъем потенциометра дроссельной заслонки;
3.
Подключить омметр к двум из четырех штекерных контактов потенциометра;
А) 1−5 контакты — для двигателя с механической коробкой передач; 1−7 контакты — для двигателя с автоматической коробкой передач; Величина сопротивления должна составлять 520−1300 Ом.
Б) 1−2 контакты — для двигателя с механической или автоматической коробкой передач; Измерение проводятся вдвоем с напарником. Напарник должен менять положение дроссельной заслонки от «закрыта» до «открыта примерно на ¼». При этом сопротивление должно возрастать и потом становится постоянным в пределах 600−3500 Ом.
В) 1−4 контакты — для двигателя с механической коробкой передач; 1−6 контакты — для двигателя с автоматической коробкой передач; Как и в подпункте «Б», измерение проводятся вдвоем с напарником. Напарник должен менять положение дроссельной заслонки от «закрыта» до «открыта примерно на ¼». При этом сопротивление должно возрастать и потом становится постоянным в пределах 600−6600 Ом.
4.
Если при проведении измерений указанные значения величин сопротивления не достигаются, то потенциометр дроссельной заслонки неисправен.
К сожалению, следует отметить, что потенциометр не подлежит разборке. Его настройка производится на заводе-изготовителе, а если требуется замена, то заменяется нижняя часть блока приготовления горючей смеси.
Такая несложная диагностика потенциометра дроссельной заслонки автомобиля Audi 80 B4 доступна любому водителю автомобиля, который знает основы школьного курса физики и проделывал лабораторные работы по измерению сопротивления цепи.
Теги: диагностика, самостоятельность, иномарка, автомобили, автолюбитель, ремонт
Что делать, если после регулировки датчика возникли проблемы с холостыми оборотами?
Если регулировка датчика положения дроссельной заслонки привела к скачкам холостых оборотов, надо выполнить процедуру ознакомления электронного блока с характеристиками нового ДПДЗ.
Задача выполняется так:
- Производится отключение клемм от АКБ.
Зажимы ослабляются гаечным ключом, после чего надо подождать около 20 минут. - Затем клеммы подключаются обратно. Перед следующим этапом надо убедиться, что заслонка узла закрыта.
- Ключ вставляется в замок, и выполняется активация зажигания примерно на 15 секунд. Силовой агрегат не заводится. После этого зажигание отключается.
- Затем надо подождать еще около 20 секунд. За это время микропроцессорный модуль сможет запомнить в своей памяти характеристики нового ДПДЗ.
Симптомы неисправности датчика дроссельной заслонки и его проверка
Работой двигателя современного авто полностью управляет электроника. Контроллер собирает показания нескольких датчиков, готовит смесь топлива с воздухом и подает в цилиндры в нужном количестве. Поломка любого из этих измерителей влечет проблемы с мотором: сбои, повышенный расход горючего и потерю мощности. В данной публикации предлагается рассмотреть признаки неисправности датчика положения дроссельной заслонки (сокращенно – ДПДЗ), поскольку он чаще остальных выходит из строя, заставляя автолюбителей нервничать и искать неполадки в силовом агрегате.![]()
Видео «Процедура регулировки ДПДЗ»
Канал Resta представил подробное руководство по выполнению процедуры регулировки контроллера после его замены.
В современных автомобилях, снабженных свехумной электроникой, порой одна маленькая деталь способна заблокировать работу всех систем. Таким элементом может стать датчик положения дроссельной заслонки (ДПДЗ).
Диагностика работы ДПДЗ
Диагностировать работу датчика и дросселя можно собственными силами. Для этого необходимо под капотом создать легкий доступ к устройству (по большому счету, достаточно снять воздуховоды фильтра с патрубка и убрать шланги вентиляции).
После этого необходимо разъединить контактные провода датчика положения дроссельной заслонки, обнажив три основных контакта (обязательно понимать какой контакт за что отвечает). Далее заводим двигатель и подсоединяем положительную клемму мультиметра к питанию, а отрицательную к массе. После включения тестера и проведения замеров, показатель должен варьироваться от 4 до 6 Вольт.
После выключения зажигания измерения проводят, переключив мультиметр для измерения сопротивления. Тесты проводятся при закрытой заслонке, чтобы получить достоверные данные о сопротивлении между массой и сигналами для ЭБУ. Нормой считаются данные 0,8–1,2 кОм. Подобный тест необходимо повторить при открытом дросселе (норма данных 2,3–2,7 кОм).
Если полученные данные отличаются от диагностической нормы, можно смело делать вывод о неисправности и потребности в замене датчика. Некоторые автомобили имеют собственный эталон показателей. Ознакомиться с ним можно на официальном сайте компании производителя, на форумах или в техническом руководстве ТС.
Для чего снабдили датчиком дроссельную заслонку?
Инжектор оснащен заслонками, которые меняют угол расположения, открывая/закрывая зазор для прохода воздушного потока. Его объема должно хватить для создания смеси с горючим в оптимальных пропорциях (в идеале 14,7долей воздуха на 1 долю бензина). Затем смесь порциями впрыскивается в цилиндры двигателя, где происходит ее сжигание.
Чтобы успешно регулировать все этапы топливной подачи ( а это огромное количество параметров), электронному блоку нужен надежный помощник, который займется сбором и отправкой правдивой и своевременной информации в центральный орган.
Такие функции возложены на миниатюрный прибор – датчик ПДЗ, от беспроблемной работы которого зависит исправное и эффективное функционирование двигателя.
Данных этого датчика, лежат в основе расчетных параметров для многих электронных систем, подконтрольных ЭБУ:
Как работает датчик положения ДЗ
Большинство производителей снабжают автомобили подвижными (контактными) датчиками, представляющие собой понетциометры, с движущимся элементом. Это и является его слабым местом, ибо испытывает на себе действие трения, что приводит к быстрому износу. Сейчас наблюдается активный переход на бесконтактный вариант. У него большой эксплуатационный потенциал и высокая точность измерения параметров.
Первоисточники выхода из строя датчика
Самая очевидная причина некорректной работы такого прибора считается износ.
При том, изношенность разных частей оказывает разное действие на систему.
- Стирание напыления проводника. Поэтому становится невозможным фиксирование показателя напряжения.
- Выработанный резерв изношенности подвижного элемента датчика. Когда зазор между ним и проводником оси становиться слишком широким, теряется контакт между ними. При этом Чек не выскакивает. О ней можно догадаться по перебойной работе двигателя в разных режимах.
- Окисление, покрытие ржавчиной, накопление слоя загрязнения на контактах.
После обнаружения таких конструктивных изменений, вам не остается выбора, прибор не подлежит ремонту, его надо менять. Конечно, лучше приобрести бесконтактный прибор. Он намного надежней, ведь в нем нет трущихся элементов.
На что влияют неисправности ДПДЗ
- На параметры холостых оборотов. В инжекторах нет единой системы этого хода в таком виде, в котором мы привыкли его видеть в карбюраторных моторах. Все параметры такого режима рассчитываются только по показаниям ДПДЗ.
Нестабильные обороты, перебойная работа мотора. - Увеличения расхода горючего. Прибор посылает сомнительный сигнал, который воспринимается ЭБУ как закрытые заслонки (хотя реально она открыта). Включаются параметры, подразумевающие увеличение доли топлива в смеси. Выходит, что автомобиль работает как обычно, со стабильной скоростью вращения валов, а бензина тратит намного больше.
- Набирая скорость, чувствуются провалы, машину ощутимо дергает.
- При неизменном положении педали акселератора, машину подергивает, а при резком высвобождении педали, двигатель окончательно глохнет.
- Машина не тянет, чувствуется потеря мощности.
Включается кнопка Check Engine, свидетельствующая об фиксации ошибки.
Ошибка Р2135 дпдз
Наряду с этой ошибкой, ЭБУ выдает некоторые другие, которые отражают отклонения от нормы параметров работы заслонки дросселя и их датчиков – Р0120, 0122, 0123, 0220, 0223, 0222, 01578.
Проверка сводится к измерению напряжения сигнала датчика, а также, сопротивления проводов, в особенности состояние пина «масса» электронного блока.
Возможными поводами могут быть:
- Плохое состояние «массы». В случае надобности, зачистить, запаять, устранить обрывы
- Неисправное реле. Решить эту проблему можно заменой детали (лучше приобретать деталь европейского производителя с током в 40 ампер)
- Неудовлетворительное состояние электрических выходов датчика. Можно попробовать подогнуть их в разъеме, часто этого бывает достаточно.
- Обнаруживается замыкание между контактами ВТА 1 и 2. Замер напряжения в этой зоне показывает отклонение от сходных 5В более, чем на 0,2В
- Неполадки в электромеханическом дроссельном механизме (ЭМДУ). Устраняется неисправность заменой устройства.
Итак, возможной причиной появления Р2135 является сбой ДПДЗ – чрезмерная изношенность, непрочная спайка пинов, короткое замыкание. Такая деталь подлежит замене. На отечественных автомобилях, где установлен жгут проводов Тольяттинского автозавода, частой причиной этой ошибки является некачественная изоляция в жгуте.
После замены датчика необходимо сделать сброс кода. Опытные водители утверждают, что можно обойтись простой манипуляцией – снять отрицательный пин аккумулятора, подержать в таком состоянии 10 минут, и вернуть все на место.
Как проверить?
Проверить исправность датчика можно 3 приборами:
- диагностическим сканером;
- мотортестером;
- мультиметром.
Проверка диагностическим сканером
Подключаем сканер к автомобилю и находим в программе параметры. В параметрах находим показания датчика дроссельной заслонки. Сканер может отображать данные с датчика, как в вольтах так и в процентах. Если в вольтах, то смотрим значения в пределах 5 в.
ВАЖНО! В сканере будут отображаться значения от 0, 3 до 4,7. Сделано для того, чтобы блок управления понимал, что датчик рабочий. Если будет «0» вольт, то выйдет ошибка — «обрыв датчика». Если «5» вольт – это полностью открытая заслонка или короткое замыкание.
Если в процентах, то смотрим процент открытия заслонки от 0 до 100 %. Если все в порядке, то на сканере при открытии заслонки мы увидим проценты: 0%, 2%,3% и т.д.
Если увидим значения: 0%, 20%, 0%, 15%, 3%, 4%, 20% и т.д. – это говорит об износе резистивного слоя.
Проверка датчика дросcельной заслонки сканером Launch в процентах. Слева цифровые значения, слева в графическом виде.
Мотортестером
Для проверки датчика дроссельной заслонки мотортестером нужно подключиться к сигнальному проводу датчика и к минусовому проводу. Затем начинаем открывать заслонку. Что мы должны увидеть? Если все хорошо, то мы увидим такую осциллограмму:
Осциллограмма исправного датчика
Если же резистивная дорожка изношена, то осциллограмма будет иметь такой вид:
Осциллограмма неисправного датчика
Шумы в начале резистивной дорожки – первые признаки износа.
Мультиметром
При проверке датчика дроссельной заслонки мультиметром, проверяется напряжение между плюсовым и минусовым проводом. Двигатель должен при этом работать. Значения при замере должно быть около 5 вольт.
Следующим шагом будет замер сопротивления между сигнальным проводом датчика и минусовым проводом. Зажигание при этом выключается полностью, а мультиметр настраивается на замер сопротивления.
В закрытом положении дроссельной заслонки на мультиметре должны отобразиться значения от 0,8 до 1,2 кОм, а в открытом от 2,3 до 2,7 кОм.
Алгоритм самостоятельного тестирования ДПДЗ
Вооружившись теорией, можно приступить к практике. Прежде чем бежать за новой деталью, нужно попробовать найти неисправность. И только убедившись в серьезности положения, решиться на окончательную замену датчика.
Это сделать не так уж и сложно, только надо придерживаться определенной схемы действий.
- Находим в автомобиле датчик.
Мультиметром проверяем наличие в нем тока. - Соединяем один конец вольтметра кс разъемом датчика, другой – к оси заслонки, для измерения напряжения в ее различных положениях. Если величины изменяются, то прибор исправный. Если стрелка остается на одном месте, то датчик вышел из строя.
- Дополнительно осмотрите дорожку и налет на ней. В случае обнаружения стертостей, поменяйте датчик.
- Также, произведите осмотр элементов электрической цепи – контактов, проводов, соединений. Очистите их от налета и ржавчины, запаяйте ослабленные пины и покройте их лаком.
Подведем итог. ДПДЗ – важный элемент контрольной системы бортового компьютера. Он связан с ЭБУ автомобиля и передает ему важные сведения о текущем положении дроссельной заслонки, а точнее, угле раскрытия/закрытия. Данные с этого устройства влияют на параметры многих функций различных систем.
Какими бы не были отклонения в работе автомобиля, вызванные неисправностью ДПДЗ, не следует игнорировать их.
Как бы это не звучало банально, но своевременная замена или устранение неполадок, оградят вас от лишних трат.
Регулярная проверка и эффективная профилактика принесут вам безопасное и комфортное использование вашего транспортного средства.
Виды ДПДЗ
Всего существует 2 варианта устройства датчика, один с механическим, а другой с электроприводом. Механическую модификацию можно встретить на недорогих версиях автомобилей. ДПДЗ — это отдельный блок, он состоит из следующих компонентов:
- Корпус.
- Регулятор холостого хода.
- Датчик.
- Заслонка.
Корпус заслонки также подключается к системе охлаждения автомобиля. В этой части также устанавливаются дополнительные патрубки, они необходимы для системы сдавливания паров топлива, а также для охлаждения картера.
Дроссельная заслонка
Регулятор холостого хода при закрытой заслонке все время поддерживает на одном уровне период вращения коленвала. Это осуществляется в моменты прогрева двигателя, либо при запуске другого оборудования автомобиля.
РХХ состоит из ступенчатого электродвигателя и клапана, вместе эти два элемента способны полноценно корректировать подачу воздуха на впуске.
В последние годы большую популярность набирают ДПДЗ с электрическим приводом. Дело в том, что специалисты этой модификации отмечают то, что с таким датчиком получается достичь наибольшего крутящего момента. Это достигается за счет использования электронного компьютера для управления. Если на автомобиле именно такая модификация, то крутящий момент будет оставаться постоянно высоким на разных скоростных диапазонах. Также отмечено, что в этом случае расход топлива значительно ниже, а отработанные газы считаются менее токсичными.
Как проверить датчик TPS
// Макс Смит
Автомобили — это хорошо, пока что-то не пойдет не так. Одна из проблем, с которыми может столкнуться автомобиль, заключается в том, что он неправильно работает на холостом ходу.
Для проверки датчика TPS вам понадобится мультиметр. Его тестирование включает в себя заземление клемм разъемов, когда вы кладете щуп мультиметра на черный к минусу, а красный к плюсу. Убедитесь, что дроссельная заслонка полностью закрыта, повернув ключ, не заводя двигатель. Затем прочитайте напряжение.
Напряжение TPS должно быть в пределах от 0,2 до 1,5 вольт. Оно должно увеличиваться до 5 вольт, когда вы открываете дроссельную заслонку. TPS требует замены, если он не достигает 5 вольт.
Читайте дальше, чтобы узнать все, что вам нужно знать о датчике TPS, как узнать, что он выходит из строя, и узнать больше о том, как его проверить.
Этот датчик контролирует воздухозаборник двигателя.
Впуск воздуха необходим для правильной работы двигателя, потому что воздух в сочетании с впуском газа и огнем создает горение. Когда вы нажимаете на газ, вы открываете дроссельную заслонку, чтобы пропустить воздух, позволяя больше газа, и в конечном итоге это дает вашему автомобилю больше лошадиных сил.
Датчик TPS находится на шпинделе дроссельной заслонки или на валу корпуса дроссельной заслонки. Здесь он контролирует положение дроссельной заслонки. Положение дроссельной заслонки важно, потому что оно вращается, когда дроссельная заслонка открывается и закрывается для прохода воздуха.
Каковы симптомы неисправного датчика?Ваш автомобиль по-своему сообщает вам, что что-то не так. Некоторые из способов, которыми он сообщает вам, что TPS может работать плохо, — это , если ему не хватает мощности при ускорении, он ускоряется или не переключается на более высокую скорость. Он просто не будет двигаться быстрее, чем низкая скорость.
Четкий сигнал у вас плохой ТПС проблемы с холостым ходом .
Проблемы с холостым ходом могут включать в себя отсутствие плавного холостого хода. Он может медленно работать на холостом ходу или даже глохнуть. Может загореться индикатор проверки двигателя.
Ваш автомобиль может отправить код P0122. Этот код возникает, когда ваш модуль управления двигателем (ECM) чувствует, что что-то не так с вашим TPS. Это происходит, когда схема А сообщает о выходном напряжении ниже надлежащего напряжения.
Чтение: Симптомы неисправности датчика TPS
Что происходит с двигателем?Как уже говорилось, вашему автомобилю нужен воздух для соединения с газом и искрами для воспламенения, которое заставляет его работать. TPS помогает контролировать воздух, поэтому, когда он неисправен, корпус дроссельной заслонки, управляющий воздушным потоком, работает плохо.
Он может оставаться закрытым, полностью препятствуя потоку воздуха, или не закрываться. Неспособность закрыться является неприятной проблемой, потому что в этом случае ваш автомобиль получает слишком много воздуха, поэтому он работает на высоких оборотах и может внезапно ускориться без вашего вмешательства.
Вот почему не рекомендуется ездить с неисправным TPS. Езда с неисправной системой TPS опасна, поскольку ваш автомобиль может не ускоряться должным образом или ускоряться сам по себе.
Что нужно знать о тестировании TPS?Проверка TPS на вашем автомобиле довольно проста , если у вас есть ультиметр m . Вот шаги, как проверить датчик TPS.
- Найдите корпус дроссельной заслонки. Это будет корпус, прикрепленный к блоку двигателя. Он будет иметь от него идет топливная магистраль. Вы увидите устройство, подключенное к корпусу дроссельной заслонки, провода которого идут к ЭБУ. Это датчик положения дроссельной заслонки.
- Теперь, когда вы определили детали, вам нужно найти провода питания, заземления и сигнальные провода. Это просто потому, что все автомобили окрашены в один цвет. Черные провода — это земля, а красный — питание. Сигнальный провод будет другого цвета, например, зеленого, желтого или синего.

- Поверните шкалу мультиметра, чтобы зарегистрировать вольты.
- Вам необходимо проверить опорное напряжение. Это напряжение между TPS и ECU . Чтобы проверить это, прикоснитесь отрицательным щупом мультиметра к отрицательному проводу TPS, а положительный — к положительному. Вы должны увидеть около 5 вольт на мультиметре, если все работает.
- Теперь необходимо проверить напряжение сигнала. Для этого плюсовой щуп подключается к колодке сигнального провода, а массовый щуп должен касаться рамы автомобиля. Хорошее напряжение составляет 1/2 вольта.
Стоимость замены неисправного TPS во многом зависит от модели автомобиля и того, сколько механик берет за работу. Как правило, автомобили Ford находятся в нижней части шкалы затрат, в то время как дизайнерские бренды, такие как немецкие автомобили, будут стоить дороже.
Средняя стоимость замены этой детали составляет от 110 до 200 долларов.
Сама деталь довольно недорогая, ее стоимость составляет от 75 до 105 долларов США, а стоимость рабочей силы составляет от 35 до 9 долларов США.5
Единственным выходом из строя TPS является замена. Это невозможно исправить, да и пытаться не стоит.
Можно ли сбросить позицию TPS?Да, вы можете сбросить TPS с помощью кнопки сброса TPMS. Эта кнопка расположена под рулевым колесом в большинстве моделей автомобилей
Вот как можно сбросить положение TPS:
- Поверните ключ в положение «включено», не заводя автомобиль.
- Нажимайте кнопку TPMS до тех пор, пока индикатор давления в шинах не мигнет три раза. Тогда отпусти.
- Завести машину. Вам нужно будет подождать около 20 минут, пока датчик не сбросится.
Очистка TPS не решит уже возникшую проблему , но и не повредит. Это может продлить срок службы детали с течением времени.
Все, что вам нужно для правильной очистки датчика, это очиститель корпуса дроссельной заслонки, который можно купить в магазине автозапчастей, и полотенце.
Только не переусердствуйте с чистящим средством. Вам просто нужно достаточно, чтобы очистить TPS. Используйте полотенце, чтобы удалить грязь с TPS или вокруг него.
Как долго действует TPS?Эти датчики имеют невероятно долгий срок службы. Большинство из них прослужат до 80 000 миль и более. Некоторых хватит на весь срок службы автомобиля.
Если вы подозреваете, что у вас плохой датчик TPS, а тест мультиметра показывает, что он может быть плохим, отнесите свой автомобиль к механику и сообщите ему результаты теста мультиметра. Ваш механик также проведет электрические испытания, чтобы перепроверить ваши результаты перед заменой детали.
Могу ли я ездить без TPS? Да, вы можете снять TPS и управлять автомобилем, но он не будет хорошо ехать.
цель TPS — сообщить ECI, когда дроссельная заслонка открыта, чтобы автомобиль знал, сколько топлива вам потребуется
Если у вас нет TPS, ECO увидит что-то, что не работает с дроссель и воздушный поток и попытаются компенсировать.
Вы не сможете двигаться быстро без TPS в автомобиле , а крайним недостатком является то, что вождение без TPS сожжет ваш каталитический нейтрализатор за несколько сотен миль. Замена каталитических нейтрализаторов может быть дорогостоящей, поэтому было бы лучше просто заменить TPS, а не пытаться сэкономить.
Могу ли я заменить TPS самостоятельно?Это зависит от того, насколько комфортно вы справляетесь с механической работой, есть ли у вас инструменты и насколько хорошо вы можете следовать инструкциям.
Замена TPS не представляет большой сложности. Сначала необходимо отсоединить отрицательный кабель аккумуляторной батареи, а затем отсоединить электрический разъем датчика.
Крепежные винты вокруг датчика должны быть выкручены.
После этого вы просто снимаете датчик, устанавливаете новый датчик и собираете все обратно. Вам понадобится отвертка, плоскогубцы и несколько полотенец для уборки.
ЗаключениеОбращая внимание на симптомы, возникающие в вашем автомобиле, вы сможете найти проблемный TPS до того, как он станет серьезной проблемой. Замена — это простой и недорогой процесс, поэтому нет причин пытаться ездить с неисправным TPS.
Езда с неисправным TPS очень опасна. В ваших интересах знать, как проверить это самостоятельно, чтобы вы могли решить, следует ли вам доставить свой автомобиль к механику.
Знание того, неисправен ли ваш TPS, также поможет вашему механику погрузиться в проблему, а не проводить много дорогостоящей диагностики.
Как проверить датчик положения дроссельной заслонки с помощью мультиметра (РУКОВОДСТВО)
Когда электрический компонент вашей системы впрыска топлива неисправен, вы, конечно, ожидаете, что двигатель будет работать плохо.
В долгосрочной перспективе, если не решать эти проблемы, ваш двигатель будет страдать, постепенно выйдет из строя и может вообще перестать работать.
Датчик положения дроссельной заслонки является одним из этих компонентов.
Однако симптомы неисправного TPS обычно совпадают с симптомами других неисправных электрических компонентов, и не многие люди знают, как диагностировать его проблемы.
В этом руководстве объясняется все, что вам нужно знать о проверке датчика положения дроссельной заслонки, в том числе о том, что он делает для двигателя и как выполнить быструю проверку мультиметром.
Давайте приступим.
Что такое датчик положения дроссельной заслонки?
Датчик положения дроссельной заслонки (TPS) — это электрический компонент системы управления подачей топлива вашего автомобиля, который контролирует поступление воздуха в двигатель.
Он установлен на корпусе дроссельной заслонки, непосредственно контролирует положение дроссельной заслонки и посылает сигналы в систему впрыска топлива, чтобы обеспечить подачу в двигатель правильной смеси воздуха и топлива.
Если TPS неисправен, вы испытываете определенные симптомы, такие как проблемы с опережением зажигания, повышенный расход топлива и неровная работа двигателя на холостом ходу, среди множества других.
Мультиметр — отличный инструмент, необходимый для проверки электрических компонентов автомобиля, и он пригодится, если вы столкнетесь с какой-либо из них.
Теперь посмотрим, как диагностировать датчик положения дроссельной заслонки?
Как проверить датчик положения дроссельной заслонки с помощью мультиметра
Установите мультиметр на диапазон напряжения 10 В постоянного тока, поместите черный отрицательный щуп на клемму заземления TPS, а красный положительный щуп на клемму опорного напряжения TPS.
. Если счетчик не показывает 5 вольт, TPS неисправен.
Это только один тест из серии тестов, которые вы проводите для датчика положения дроссельной заслонки, и сейчас мы углубимся в детали.
- Очистка дроссельной заслонки
Перед тем, как погрузиться в датчик положения дроссельной заслонки с помощью мультиметра, необходимо выполнить некоторые предварительные действия.
Одним из них является очистка дроссельной заслонки, так как мусор на ней может мешать ее правильному открытию или закрытию.
Отсоедините узел воздухоочистителя от датчика положения дроссельной заслонки и проверьте пластину дроссельной заслонки и стенки на наличие нагара.
Смочите тряпку средством для очистки карбюратора и сотрите весь мусор там, где вы видите его скопление.
После этого убедитесь, что дроссельная заслонка полностью открывается и закрывается должным образом.
Пришло время перейти к датчику положения дроссельной заслонки.
Это небольшое пластиковое устройство, расположенное сбоку корпуса дроссельной заслонки и к которому подсоединены три разных провода.
Эти провода или контакты разъемов важны для наших тестов.
Если у вас возникли проблемы с поиском проводов, ознакомьтесь с нашим руководством по отслеживанию проводов.
Проверьте провода и клеммы TPS на наличие повреждений и скоплений грязи. Позаботьтесь о любых примесях и переходите к следующему шагу.
- Обнаружение заземления датчика положения дроссельной заслонки
Обнаружение заземления положения дроссельной заслонки определяет наличие проблемы, а также помогает при последующих проверках.
Установите мультиметр на диапазон напряжения 20 В постоянного тока, включите зажигание, не запуская двигатель, а затем поместите красный положительный щуп на положительный штырь автомобильного аккумулятора (помечен «+»).
Теперь поместите черный отрицательный щуп на каждый из выводов или клемм проводов TPS.
Вы делаете это до тех пор, пока один не покажет вам показание 12 вольт. Это ваш наземный терминал, и ваш TPS прошел этот тест.
Если ни на одной из вкладок не отображается значение 12 В, значит, ваш TPS не заземлен должным образом и, возможно, его необходимо починить или полностью заменить.
Если он заземлен, отметьте вкладку заземления и перейдите к следующему шагу.
- Найти опорное напряжение Клемма
Когда зажигание вашего автомобиля все еще включено, а мультиметр настроен на диапазон напряжения 10 В постоянного тока, поместите черный провод на клемму заземления TPS, а красный провод на каждую из двух других клемм.
Клемма, на которую подается около 5 вольт, является клеммой опорного напряжения.
Если вы не получаете никаких показаний 5 вольт, это означает, что в вашей цепи TPS есть проблема, и вы можете проверить, не ослаблена ли или корродирована проводка.
С другой стороны, если мультиметр показывает соответствующие показания, значит, на сигнальную клемму TPS подается соответствующее опорное напряжение.
Сигнальная клемма — это третья непроверенная клемма.
Подсоедините провода обратно к датчикам положения дроссельной заслонки и переходите к следующему шагу.
- Проверка напряжения сигнала TPS
Проверка напряжения сигнала является окончательной проверкой, которая определяет, правильно ли работает датчик положения дроссельной заслонки.
Помогает диагностировать, правильно ли TPS считывает положение дроссельной заслонки, когда она полностью открыта, открыта наполовину или закрыта.
Установите мультиметр на диапазон напряжения 10 В постоянного тока, поместите черный щуп на клемму заземления TPS, а красный щуп на клемму напряжения сигнала.
Могут возникнуть трудности с размещением проводов мультиметра на клеммах, так как TPS уже повторно подключен к дроссельной заслонке.
В этом случае вы используете штифты для обратного щупа проводов (проткните каждый провод TPS булавкой) и прикрепите щупы мультиметра к этим штырям (предпочтительно с помощью зажимов типа «крокодил»).
При полностью закрытой дроссельной заслонке показания мультиметра должны составлять от 0,2 В до 1,5 В, если датчик положения дроссельной заслонки исправен.
Отображаемое значение зависит от модели вашего TPS.
Если мультиметр показывает ноль (0), вы все равно можете перейти к следующим шагам.
Постепенно открывайте дроссельную заслонку и наблюдайте, как меняются показания мультиметра.
Ожидается, что ваш мультиметр будет постоянно увеличивать значение, когда вы открываете дроссельную заслонку.
Когда пластина полностью открыта, мультиметр также должен показывать 5 вольт (или 3,5 вольт в некоторых моделях TPS).
TPS находится в неудовлетворительном состоянии и нуждается в замене, если вы столкнулись со следующим:
- Если значение сильно скачет при открытии планшета.
- Если значение застревает на числе в течение длительного времени.
- Если значение не достигает 5 вольт при полном открытии дроссельной заслонки
- Если значение неуместно скачет или изменится при легком постукивании по датчику отверткой
Все это представления TPS, которые необходимо заменены.
Однако, если ваш датчик положения дроссельной заслонки является регулируемой моделью, как те, что используются в старых автомобилях, то перед тем, как принять решение о замене датчика, нужно сделать больше.
Указания по использованию регулируемого датчика положения дроссельной заслонки
Регулируемые датчики положения дроссельной заслонки можно ослабить и настроить, повернув их влево или вправо.
Если ваш регулируемый TPS показывает какой-либо из признаков, упомянутых выше, вы можете перенастроить его, прежде чем принимать решение о его замене.
Первым делом необходимо ослабить крепежные болты, которые крепят его к корпусу дроссельной заслонки.
Как только это будет сделано, вы снова прощупаете клеммы, так как TPS все еще подключен к дроссельной заслонке.
Подключите отрицательный провод мультиметра к клемме заземления TPS, а положительный провод — к сигнальной клемме.
При включенном зажигании и закрытой дроссельной заслонке поворачивайте датчик TPS влево или вправо, пока не получите показания, соответствующие вашей модели датчика TPS.
Когда вы получите соответствующие показания, просто оставьте TPS в этом положении и затяните на нем крепежные болты.
Если датчик TPS по-прежнему не дает надлежащих показаний, он неисправен и его необходимо заменить.
Вот видео о том, как можно отрегулировать датчик положения дроссельной заслонки.
Этот процесс зависит от используемой регулируемой модели TPS, а для некоторых из них может дополнительно потребоваться щуп или приборная панель для регулировки.
коды блока разверткиОБД для датчика положения дроссельной заслонки
Получение кодов OBD-сканера вашего двигателя — один из самых простых способов найти проблемы с датчиком положения дроссельной заслонки.
Вот три диагностических кода неисправности (DTC), на которые следует обратить внимание.
- PO121: указывает, когда сигнал TPS не согласуется с датчиком абсолютного давления в коллекторе (MAP) и может быть вызван неисправностью датчика TPS.
- PO122: указывает на низкое напряжение TPS и может быть вызвано тем, что клемма датчика TPS открыта или замкнута на клемму заземления.

- PO123: представляет собой высокое напряжение и может быть вызвано плохим заземлением датчика или замыканием клеммы датчика на клемму опорного напряжения.
Заключение
Это все, что вам нужно знать о проверке датчика положения дроссельной заслонки.
Как видно из шагов, модель или тип используемой вами TPS определяет, что проверять и как эти процессы выполняются.
Хотя тесты просты, обратитесь к профессиональному механику, если у вас возникнут проблемы.
Часто задаваемые вопросы
Сколько вольт должно быть в TPS?
Ожидается, что датчик положения дроссельной заслонки будет иметь показания 5 В, когда дроссельная заслонка закрыта, и показания от 0,2 до 1,5 В, когда дроссельная заслонка открыта.
Что делает неисправный датчик положения дроссельной заслонки?
Некоторые симптомы неисправности TPS включают, среди прочего, ограниченную скорость автомобиля, плохие сигналы компьютера, проблемы с синхронизацией зажигания, проблемы с переключением передач, неровный холостой ход и повышенный расход топлива.
Что такое 3 провода в датчике положения дроссельной заслонки?
Три провода датчика положения дроссельной заслонки — это провод массы, провод опорного напряжения и провод датчика. Провод датчика является основным компонентом, который посылает соответствующий сигнал в систему впрыска топлива.
- О НАС
Автор
Алекс Кляйн — инженер-электрик с более чем 15-летним опытом работы. Он является ведущим YouTube-канала Электроуниверситета, у которого тысячи подписчиков.
Как проверить текущие данные датчика абсолютного положения дроссельной заслонки в сканирующем приборе?
ИРЛ Великобритания
Датчик положения дроссельной заслонки
Хороший сканирующий прибор может помочь вам проверить датчик положения дроссельной заслонки вашего автомобиля.
Это очень важно, потому что датчик положения дроссельной заслонки (TPS) является неотъемлемой частью системы управления подачей топлива в автомобиле. Если он выйдет из строя, машине будет не хватать мощности, и она может заглохнуть.
Что такое датчик положения дроссельной заслонки?
Датчик положения дроссельной заслонки — это тип датчика, который контролирует воздухозаборник двигателя автомобиля. Обычно он устанавливается на шпиндель дроссельной заслонки (также известный как вал дроссельной заслонки) корпуса дроссельной заслонки.
Оттуда датчик может напрямую и точно контролировать положение дроссельной заслонки.
Корпус дроссельной заслонки представляет собой компонент серебристого цвета, к которому крепится датчик положения дроссельной заслонки. Как видите, к датчику и от него идут кабели, замыкающие цепь датчика. Вы всегда можете продиагностировать как датчик, так и его цепь с помощью сканера.
Что делает датчик положения дроссельной заслонки?
Являясь частью системы управления подачей топлива, датчик положения дроссельной заслонки помогает обеспечить подачу в двигатель автомобиля правильной смеси топлива и воздуха.
Двигателю нужны эти два, чтобы продолжать работать.
Забирает воздух из впуска, пропускает его через ДМРВ в корпус дроссельной заслонки. Находясь там, TPS будет постоянно измерять количество воздуха. Затем двигатель использует эти данные вместе с другими значениями, такими как число оборотов в минуту, температура воздуха и массовый расход воздуха, для определения количества впрыскиваемого топлива.
Если датчик положения дроссельной заслонки работает правильно, автомобиль будет плавно двигаться, двигаться по инерции, плавно двигаться или ускоряться. Он также будет работать эффективно и поддерживать оптимальную экономию топлива. Вы заметите это, когда будете получать оперативные данные с помощью сканера.
Теперь, с учетом сказанного, как именно работает положение дроссельной заслонки? В основном он регулирует степень открытия дроссельной заслонки. Это, в свою очередь, определяется тем, насколько сильно вы нажали педаль акселератора.
Клапан будет полностью открыт, когда педаль находится в полу. И наоборот, он будет почти полностью закрыт, когда вы полностью отпустите акселератор.
Когда вы управляете акселератором, положение дроссельной заслонки регулирует количество воздуха, поступающего во впускной коллектор двигателя. TPS собирает эту информацию и передает ее в блок управления двигателем автомобиля (ECU).
ЭБУ использует эту информацию для определения количества впрыскиваемого топлива. Как уже упоминалось, если датчик положения дроссельной заслонки работает правильно, двигатель впрыскивает оптимальное количество топлива для идеальной топливно-воздушной смеси.
Если TPS неисправен, ECU не будет знать точное положение дроссельной заслонки, и это может привести к неправильной топливно-воздушной смеси. Это всегда приводит к плохой экономии топлива и многим другим проблемам, которых вы абсолютно хотите избежать. Прочтите следующий раздел, чтобы узнать больше о неисправном датчике положения дроссельной заслонки.
Что происходит, когда датчик положения дроссельной заслонки неисправен?
В лучшем случае ваш автомобиль будет плохо экономить топливо, а в худшем вы можете попасть в аварию. TPS настолько важен, что в случае его отказа ваш автомобиль превращается в угрозу безопасности. Корпус дроссельной заслонки не будет функционировать должным образом, и если автомобиль не выключится автоматически, он не сможет переключить передачу или установить базовое опережение зажигания.
Итак, можно ли ездить с неисправным датчиком положения дроссельной заслонки? Автомобиль может двигаться, но вы никогда не должны управлять им, если TPS неисправен. Используйте сканер, чтобы диагностировать проблему, а затем устраните ее, прежде чем пытаться вывести автомобиль на дорогу.
На всякий случай, если вам интересно, неисправность TPS заставит клапан корпуса дроссельной заслонки либо закрыться, либо застрять в открытом положении. В последнем случае в двигатель будет поступать лишний воздух.
В дополнение к плохой экономии топлива, автомобиль будет иметь высокий или колеблющийся холостой ход.
Если клапан останется закрытым, машина даже не заведется. Если это произойдет случайно, он может автоматически отключиться, возможно, во время вождения. Что еще хуже, плохой TPS может вызвать проблемы в других компонентах двигателя, что приведет к выходу из строя всего двигателя.
Имейте в виду, что сбой TPS может происходить медленно и постепенно или внезапно.
Признаки неисправности датчика положения дроссельной заслонки
Итак, плохой TPS — нехорошая новость. Но как узнать, что датчик положения дроссельной заслонки вышел из строя? Хороший сканер OBD должен сказать вам это. Однако ниже приведены некоторые наблюдаемые признаки и симптомы неисправности датчика положения дроссельной заслонки:
- Двигатель либо работает на холостом ходу слишком медленно, либо полностью глохнет.
Он не работает на холостом ходу - Автомобиль будет иметь неравномерное ускорение. Либо разгонится сам, либо не разгонится даже при нажатии на акселератор
- Очевидная нехватка мощности, несмотря на ускорение
- Передача может не переключаться
- Может загореться индикатор Check Engine (CEL)
- Снижение расхода топлива
Сочетание двух или более признаков указывает на наличие реальной проблемы с TPS. Так как же диагностировать неисправный датчик положения дроссельной заслонки? Проверьте тест датчика положения дроссельной заслонки ниже.
Как проверить датчик положения дроссельной заслонки с помощью сканирующего прибора
Будет ли неисправный датчик положения дроссельной заслонки выдавать код? Да, это будет. Все общие коды, относящиеся к TPS, находятся в диапазоне от P0120 до P0124.
Наиболее распространенным кодом датчика положения дроссельной заслонки является P0122 — Низкий входной сигнал цепи датчика положения дроссельной заслонки/переключателя А. Он срабатывает, когда ЭБУ обнаруживает, что цепь A TPS выдает более низкое напряжение, чем ожидалось.
Другие коды TPS:
- P0120 — Неисправность цепи датчика положения дроссельной заслонки/переключателя А
- P0121 — Датчик положения дроссельной заслонки/переключатель А, диапазон/проблема работы
- P0123 Датчик положения дроссельной заслонки/переключатель A, высокий уровень входного сигнала
- P0124 Датчик положения дроссельной заслонки/переключатель А, ненадежная цепь
Если вы подключите диагностический прибор и получите любой из этих кодов, это означает, что в TPS и/или цепи TPS есть неисправность.
Вам нужно будет изолировать проблему. Вот шаги для этого:
Шаг 1. Извлеките коды неисправностей
С помощью сканера считайте все коды неисправностей, имеющиеся в памяти ЭБУ автомобиля. Убедитесь, что ключ зажигания включен, двигатель выключен (KOEO). Если вы видите какой-либо код датчика положения дроссельной заслонки, перейдите к следующему шагу. Он почти всегда будет сопровождаться индикатором Check Engine (CEL).
Шаг 2. Очистить коды
Сотрите все коды. Все хорошие инструменты сканирования должны иметь эту функцию.
Шаг 3. Выполните ездовой цикл
Отключите сканер OBD и запустите двигатель автомобиля. Если индикатор Check Engine гаснет, это означает, что проблема возникла периодически, возможно, из-за перепадов температуры. Вам не о чем беспокоиться.
Если CEL снова загорается, совершите поездку на 5–10 минут, чтобы увидеть, выключится ли он. Если это не так, снова прочитайте коды, чтобы убедиться, что коды TPS все еще существуют.
Наличие любого из них должно побудить вас перейти к следующему шагу.
Шаг 4. Проверьте оперативные данные
Снова подключите сканер и переведите автомобиль в режим KOEO. На сканере перейдите к текущим данным и заблокируйте датчик TP на экране дисплея. Используйте графическое представление данных в реальном времени, если ваш сканер поддерживает это.
Шаг 6. Анализ графа
Медленно нажмите педаль акселератора, наблюдая за данными в реальном времени. График должен представлять собой прямую линию с положительным наклоном. Если она (линия) резко меняется при нажатии на педаль, значит неисправен TPS. Внезапное изменение может быть либо положительным, либо отрицательным наклоном. В любом случае это указывает на то, что ваш датчик положения дроссельной заслонки неисправен.
Устранение неисправности датчика положения дроссельной заслонки
Если вы убедились, что TPS действительно неисправен, вы можете приступить к его устранению.
В основном это означает его замену. Возможно, вам придется переучить новый TPS с ECU. Вот где инструменты сканирования с программированием и кодированием пригодятся.
Большинство автовладельцев часто задаются вопросом: можно ли почистить датчик положения дроссельной заслонки? Ответ – решительное нет. Хотя корпус дроссельной заслонки можно чистить чистой тканью и жидкостью для карбюратора, никогда не следует пытаться чистить TPS. Вы можете легко загрязнить его или повредить некоторые из его проводов. Если это произойдет, единственным решением будет замена всего датчика.
Предупреждение: всегда обращайтесь за профессиональной помощью, если вы не уверены в своих навыках ремонта своими руками.
Дорого починить датчик положения дроссельной заслонки?
Это зависит от марки и модели вашего автомобиля. Расположение датчика положения дроссельной заслонки на некоторых автомобилях обычно находится на открытом воздухе. Большинство механиков возьмут с вас менее 500 евро за их замену.
Это с учетом запчастей и работы.
Если датчик расположен глубоко в двигателе, где к нему трудно получить доступ, возможно, вам придется заплатить до 1000 евро за исправление. В этом случае стоимость рабочей силы будет выше из-за объема требуемой работы. Механику, возможно, придется разобрать другие детали, такие как впускной коллектор, корпус дроссельной заслонки и т. д., чтобы добраться до TPS. Это скорее оправдывает высокую стоимость.
Автор
Джастин Кавана
Джастин Кавана — признанный лидер
в автомобильной разведке и автомобиле
поставка данных для всей автомобильной промышленности.
Имеет почти 20-летний опыт работы в
создание систем с нуля.
Как управляющий директор транспортного средства
Система управления, он понимает
необходимость и важность надежных и
достоверная история автомобиля и советы
как торговля, так и общественность.

Я починил это, машина дергается, переключается очень сильно на передачу или задний ход не ускоряется. Не уверен, как исправить, пожалуйста, помогите ….
onlinecarparts.co.uk/car-brands/spare-parts-mazda/3-s …
Принцип работы основан на эффекте Холла. Время безотказной работы зависит только от качества исполнения механической части устройства. Стоит устройство такого типа, конечно же, намного дороже пленочно-резистивных.





Для этого можно воспользоваться одним из способов.

Явление зачастую обусловлено температурными перепадами и воздействием влаги. Чтобы не допустить такой поломки, требуется периодически очищать контакты ватной палочкой или тампоном, обработанным в WD-40.
Эту проблему сложно назвать поломкой, но она относится к неисправностям, которые можно устранить. При длительной эксплуатации контакты датчика могут окислиться. Это связано с работой ДПДЗ в условиях перепадов температур и воздействии влаги. Для ликвидации проблемы надо демонтировать контроллер и произвести очистку контактных элементов ваткой, обработанной средством WD-40.
При подобных проблемах ползунок и резистивный слой откажутся контактировать, что приведет к неработоспособности мотора машины.
После отсоединения выполняется визуальная диагностика состояния самой заслонки. Необходимо вытереть этот элемент, а также впускное коллекторное устройство, используя тряпку, смоченную в горючем.
Зажимы ослабляются гаечным ключом, после чего надо подождать около 20 минут.
Нестабильные обороты, перебойная работа мотора.
Мультиметром проверяем наличие в нем тока.

Он не работает на холостом ходу