Что такое хонингование цилиндров двигателя автомобиля и зачем нужно
Хонингование цилиндров двигателя — это окончательная обработка поверхности с помощью специальных инструментов и является финишной операцией при капитальном ремонте мотора. Расскажем что это такое подробно.
Для чего нужно
Хонингование производят для уменьшения шероховатости стенок цилиндров и, чтобы улучшить приработку поршневых колец и самим поршней. Оно увеличивает срок службы отремонтированного двигателя. В процессе эксплуатации двигатель сильно изнашивается и теряет свою первоначальную форму. Это, в главной степени, относиться к цилиндрам двигателя. Если они изначально были круглыми, то со временем они принимают овальную форму (эффект конусности). Также на стенках цилиндров двигателя образуются задиры и царапины. Все эти причины ведут только к одному — к капитальному ремонту двигателя.При «капиталке» специалисты растачивают цилиндры до первого ремонтного размера. Чтобы сохранить правильную форму цилиндров двигателя и достичь оптимальной шероховатости применяют хонингование.
Что такое и его плюсы
Хонингование цилиндров — это финишный этап в обработке и капитальном ремонте мотора. По сравнению с традиционными доводочными операциями, такими как полирование или притирка требуемой поверхности, хонингование обладает точностью и большей эффективностью.Плосковершинное хонингование имеет ряд преимуществ. Его задача — тщательная обработка цилиндров двигателя для последующей работы. В результате цилиндры мотора и поршневые кольца быстрее прирабатываются, а значит меньший износ деталей мотора и повышение эффективности работы. За счет быстрой приработки деталей повышается компрессия в цилиндрах и увеличивается срок службы мотора до следующего капитального ремонта. Также, значительно уменьшается расход моторного масла и сокращается прорыв газов в картер.
Особенность хонингования — образование на цилиндрах сетки, которую можно заметить при тщательном осмотре. Она нужна, чтобы удерживать масло на стенках цилиндров мотора, в результате чего повышается обильная смазка трущихся деталей двигателя.
Как происходит процесс
Обычно процесс хонингования двигателя происходит в два этапа. Первый этап — черновая обработка цилиндров, для которой применяют крупный абразив.Второй этап — окончательная или финишная обработка. В дело вступает мелкозернистый абразив, который дает высокую точность обработки. В качестве абразивов для хонингования цилиндров используют алмазные и керамические бруски. Последние уступили место алмазным абразивам по ряду причин: это долговечность и меньшая итоговая цена алмазного хонингования.
После процесса нужно вымыть двигатель. Это позволит удалить металлические стружки и остатки полировочных паст.
Некоторые специалисты проделывает еще одну операцию — финишную чистку абразивной пастой. Она удаляет острые углы и впадины, оставшиеся после процесса хонингования. В результате достигается гладкая поверхность цилиндров двигателя.
Процесс хонингования цилиндров двигателя
Хонингование цилиндров двигателя – это процесс окончательной обработки поверхности детали, который представляет собой финишную операцию капитального ремонта двигателя.
Хонингование представляет собой один из процессов, которые включает в себя восстановление гильз цилиндров.
Хонингование производят в целях уменьшения шероховатости стенок цилиндров, улучшения приработки поршневых колец и самим поршней. Процесс хонингования увеличивает срок службы деталей цилиндро-поршневой группы.
Процесс эксплуатации двигателя сопровождается постепенным износом, потерей первоначального состояния, первоначальной формы. Износ цилиндров сопровождается появлением рисок и царапин на внутренних стенках гильз цилиндров, его определяют методом замеров конусности и овальности. Поэтому одним из этапов по восстановлению цилиндров двигателя является диагностика гильз цилиндров двигателя.
В случае повышенного износа цилиндров двигателя принимают решение провести капитальный ремонт и выбрать способ восстановления гильз цилиндров.
Капитальный ремонт цилиндров двигателя заключается в растачивании цилиндров до 1 ремонтного размера. После расточки необходимо провести процесс хонингования – финишный этап обработки цилиндров, что улучшит поверхность, доведя ее шероховатость до требуемых значений.
В процессе хонингования детали цилиндро-поршневой быстрее и качественнее прирабатываются друг к другу, что уменьшает дальнейший износ деталей, повышает эффективность их работы и увеличивает ресурс их работы. Качественная приработка деталей
способствует увеличению компрессии в цилиндрах, срока службы двигателя, эффективности работы.
Хонингованием можно назвать процесс при котором на стенках цилиндров двигателя образовывается специальная сетка, которая предназначена для удержания моторного масла на стенках цилиндра, в результате чего пара трения смазывается лучше.
Процесс хонингования цилиндров двигателя состоит из двух частей.
- черновая обработка цилиндров (обработка цилиндров крупным абразивом)
- Окончательная обработка цилиндров (финишная обработка мелкозернистым абразивом)
Для хонингования цилиндров используются алмазные и керамические бруски. Алмазные бруски зарекомендовали себя благодаря своей долговечности и эффективности. После процесса хонингования двигатель подвергается мойке и финишной чистке абразивными пастами. Окончательная цель процесса хонингования – гладкая поверхность цилиндров.
Технология хонингования цилиндров
Если использовать абразивные (не алмазные) бруски, то, в большинстве случаев, хонингование происходит в три этапа. Коротко их можно описать так:
После такой обработки микрорельеф поверхности цилиндра представляет собой чередование высоких острых выступов и глубоких впадин.Затем обработку продолжают брусками с более мелким абразивом. На этом этапе окончательно выводят правильную форму цилиндра. Микрорельеф поверхности после этого этапа представляет собой чередование впадин (причем глубина впадин тоже чередуется) и относительно «плоских» выступов. Таким образом достигается увеличение площади опорной поверхности цилиндра (относительная опорная длина профиля tp). То есть, теоретически каждый выступ должен быть трапециевидной формы. Однако, для нормальной работы цилиндропоршневой группы такая форма выступов не идеальна. Для этого, на заключительной стадии обработки переходят к крацеванию.
Крацевание – процесс скругления вершин трапециевидных выступов микрорельефа поверхности цилиндра, а также освобождение впадин от частиц абразива и мельчайших частиц металла специальными щетками. Во время этой процедуры изменение диаметра цилиндра практически не происходит.
Полученный таким образом микрорельеф способен удержать максимальное количество моторного масла на стенках цилиндра при условии, что основные параметры шероховатости поверхности (Ra, Rz и tp) выдержаны в пределах допустимых значений, которые можно проконтролировать с помощью специального прибора – профилометра. Кроме того, щетки для крацевания должны снять дефектный слой металла с поверхности выступов, обнажив таким образом графит.
Как видно из краткого описания, процесс хонингования чрезвычайно сложен и требует очень тщательной отработки технологии и постоянного контроля качества.
При использовании алмазных брусков процесс хонингования может несколько отличаться от вышеизложенного.
Особенности процесса хонингования: используемые инструменты и станки, сфера применения обработки
Хонингование – вид обработки, который позволяет уменьшить шероховатость поверхности деталей, образовавшуюся в результате износа и появления царапин. Кроме этого, можно сформировать требуемый микрорельеф и получить максимально точный размер.
С этой целью используются абразивные материалы и специальное оборудование – хонинговальные станки. В зависимости от того, как производится процесс, выделяют несколько видов хонингования:
- сухое – выполняется без использования смазочных материалов;
- электромеханическое – на заготовку одновременно воздействуют механические и электрохимические силы;
- вибрационное – инструмент подвергают дополнительной вибрации;
- плоскошлифовальное
– применяется для удаления бугров и впадин на поверхности.
Этапы обработки
Хонингование выполняется в два этапа:
- обработка поверхности изделия крупнозернистым абразивом для снятия дефектного верхнего слоя, выравнивания формы и удаления царапин;
- поверхность изделия подвергается обработке мелким абразивом – алмазные или керамические бруски.
Зачастую на последнем этапе используют специальную пасту, что позволяет максимально сгладить поверхность и достичь требуемых размеров.
После выполнения всех работ деталь, которая поддавалась обработке, должна быть тщательно вымыта. Это делается для того, чтобы удалить остатки абразивных материалов, стружку и металлическую пыль.
Инструменты и оборудование
Хонингование выполняют на специальных хонинговальных станках, которые бывают трех видов:- горизонтально-хонинговальные;
- вертикально-хонинговальные;
- специального назначения – трехшпиндельные, для обработки больших цилиндров, труб длиною до 10 м и т.д.
Профессиональные станки дают высокую точность. Отклонения не превышают 0,5 мкм. При этом на них можно обрабатывать отверстия диаметром от 4 мм и выше. Имея подобное оборудование можно выполнять большой спектр услуг, где требуется хонингование.
Дополнительно к станкам прилагаются инструменты – хонинговальные камни, флекс-хоны, головки, бруски, щетки для крацевания и щетки из абразивного нейлона. Они фиксируются на хоне и совершают вращательные и поступательно-возвратные движения.
В результате этого происходит обработка и сглаживание поверхности.
Для чего необходим данный вид обработки?
Хонингование применяется для обработки внутренних цилиндрических отверстий разного характера. В частности используется для:
- обработки деталей двигателя внутреннего сгорания;
- восстановления поверхности гидравлических цилиндров;
- финишной обработки гильз, роликов и т.д.
Динамика процесса хонингования и ее влияние на погрешности формы при обработке отверстий Текст научной статьи по специальности «Механика и машиностроение»
№4
2008
Таким образом, сложная шестизвенная группа Ассура с четырехугольным замкнутым изменяемым контуром (6ГА6) кинематически и кинетостатически оказывается вполне разрешимой.
СПИСОК ЛИТЕРАТУРЫ
1.
Э.Е. Пейсах. Атлас структурных схем восьмизвенных плоских шарнирных механизмов // Теория Механизмов и Машин, №1, т. 4, 2006. — с. 3-17.
2. Дворников Л, Т. О кинематической разрешимости плоской четырехзвенной группы Ассура четвертого класса графо — аналитическим методом, Известия ВУЗов, «Машиностроение», №12, 2004. — с 9-15.
534.11 ; 621.923.5
ДИНАМИКА ПРОЦЕССА ХОНИНГОВАНИЯ И ЕЕ ВЛИЯНИЕ НА ПОГРЕШНОСТИ ФОРМЫ ПРИ ОБРАБОТКЕ ОТВЕРСТИЙ
Канд.техн.паук, доц. СА.ВОРОНОВ, инж.ОЛБОБРЁНКОВ
Разработана модель процесса хонингования отверстий с заданной первоначальной погрешностью формы поверхности. Численно анализируется процесс исправления погрешности формы отверстий в процессе обработки. Вал инструмента схематизируется как вращающийся безмассовый стержень, передающий вращение оправке хона с упруго закрепленными на нем режущими и направляющими брусками.
Силы резания моделируются как силы трения, зависящие от нормального давления на контактной поверхности, снятие припуска при прохоэюдении режущих брусков поверхности моделируется согласно гипотезе Престона. При движении брусков вследствие колебаний вала и оправки силы резания меняются, что может привести как к исправлению погрешностей формы, так и к ее ухудшению. Проводится анализ влияния технологических параметров на интегральные критерии качества обработки.
The sample piece of process of a honing of apertures with the set initial error of the molding box of a surface is developed. Process of correction of an error of the molding box of apertures during treatment is numerically analyzed. The shaft of the tool is schematized as rotating безмассовый a core transferringftrans mittingj rotation to a mandrel хона with is elastic fixed on it{him} cutting and directing брусками. Forces of cutting are modelled as the friction forces depending on normal pressure on a contact surface.
Removal of an allowance at passage cutting bars surfaces is modelled according to a hypothesis of Preston. At bars movement owing to fluctuations of a shaft and a mandrel of force of cutting vary, that
can result in correction of errors of the molding box, and to its deterioration. The assayring of influence of technological parameters on integrated criteria of quality of treatment is spent.
В настоящее время в серийном и массовом производстве при изготовлении ответственных деталей предъявляются высокие требования к точности и шероховатости поверхности: некруглость менее 1 мкм, волнистость менее 0,2 мкм, нецилиндричность и непрямолинейность образующей менее 2-5 мкм, параметр шероховатости Ra = 0,02-0,8 мкм, отсутствие дефектного слоя металла (структурно-фазовых изменений, напряжений растяжения, микротрещин), определенные значения параметров формы микронеровностей и опорной поверхности [1].
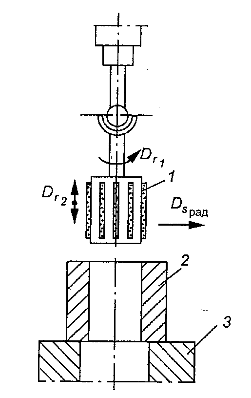
Обеспечение этих требований достигается с помощью таких процессов абразивной обработки, как хонингование брусками из традиционных и сверхтвердых абразивных материалов. Этот процесс относят к процессу доводки; хонингование производится при одновременно выполняемых вращательном и возвратно-поступательном движениях инструмента (головки с брусками). На рис.1 приведена схема рабочего движения инструмента. Подача (разжим) брусков в радиальном направлении при хонинговании производится либо непрерывно, под воздействием постоянного усилия, либо периодически, на каждый двойной ход хонинговальной головки.
При контакте рабочей поверхности бруска с обрабатываемой поверхностью заготовки происходит царапание металла одновременно большим числом абразивных частиц. Размер таких частиц при хонинговании составляет 20—100 мкм, среднее число частиц на поверхности бруска 20—400 зерен на 1 мм2[1]. Основными видами взаимодействия абразивных зерен с металлом являются микрорезание со снятием тончайших стружек и трение с пластическим оттеснением металла.
Для интенсивного резания необходимо, чтобы абразивный брусок самозатачивался путем скалывания и вырывания затупившихся зерен из связки. При использовании брусков из сверхтвердых абразивных материалов (алмаза, эльбора) зерна длительное время сохраняют свою остроту, преобладает микроскалывание зерен, а не вырывание их, что значительно повышает стойкость брусков.
Путем выбора оптимальных характеристик брусков и регулирования параметров обработки (скорости, давления) можно управлять процессом обработки, осуществляя на первой стадии непрекращающееся резание металла в течение достаточно длительного времени, необходимого для исправления погрешностей формы заготовки, удаления исходной шероховатости и дефектного слоя. Скорость съема металла при этом составляет 2-4 мкм/с. Для получения поверхности с малой шероховатостью (Ra = 0,1—0,3 мкм при хонинговании), а также для создания благоприятного микрорельефа поверхности деталей и упрочненного поверхностного слоя металла процесс обработки на заключительной стадии
№4
2008
может быть переведен в режим выхаживания, при котором съем металла резко сокращается, а брусок выглаживает обрабатываемую поверхность.
Такой переход можно осуществить, изменяя параметры обработки: повышая окружную скорость заготовки или инструмента, снижая давление бруска и частоту
Уок
Рис. 1. Схема движений бруска и детали при хонннговании: 1 —деталь; 2 — брусок: 3 — перебег;
4 — перекрытие (Уок — окружная скорость, Увп — скорость возвратно-поступательного движения,
а. — угол сетки)
При хонинговании в системе поддержания контакта бруска с деталью контакт замыкается кинематически, с помощью клиновой пары (рис. 2) или гидравлической подачи, жесткость системы прижима брусков высока, сила резания при наличии погрешностей формы заготовки непрерывно изменяется. Имеется ряд современных хонинговальных станков, на которых заготовка или хонинговальная головка также совершают дополнительное колебательное движение; такой процесс назван вибрационным хо-нингованием.
Этот процесс особенно эффективен при хонинговании глухих отверстий.
О пряв к н
Хонши-овальиыЯ брусок
Деталь
Разжимающий конус
Рис. 2. Схема инструмента для хошнгования
№4
2008
Хонинговалытый инструмент может иметь как один (рис. 3)5 тате и несколько режущих брусков (рис. 4, 5).
На погрешности формы, имеющиеся в обрабатываемой детали, главным образом воздействует контактная сила между нею и бруском хона. Силы хонингования — технологический параметр, который неуправляем, т.к. он зависит от многих других переменных,: параметров инструмента, вращения обрабатываемой детали и скорости возвратно-поступательного движения оправки.
Силы хонингования могут вызывать вибрацию и теплонапряженность в процессе хонингования. Данные факторы влияют на точность размеров — например, на отклонение отверстия от круглости.
В настоящее время не разработано полной модели процесса хонингования глубоких отверстий с учетом влияния динамики инструмента на исправление погрешности формы цилиндрических поверхностей. В имеющихся публикациях рассматриваются в основном технологические аспекты процесса, отдельно затрагиваются вопросы динамики вращающихся валов, а также рассматриваются различные модели формирования новых поверхностей при резании.
Деталь
Деталь
Режущий брусок
Брусок
Направл. бруски
Рис.
3. Схема инструмента с одним режущим и двумя направляющими брусками
Рис. 4. Схема мульгибрускового инструмента
Рис. 5. Фотографии хонинговальной головки
В [1, 2] описываются типовые режимы обработки, конструкции станков и хонинговального инструмента, а также пути повышения эффективности обработки отверстий с использованием подходов, типичных для технологов, то есть путем варьирования технологических параметров рассматриваемого процесса, применения различных материалов для режущего инструмента и т.д. в сочетании с проведением большого числа экспериментов.
Исследованиям различных динамических моделей процесса хонингования посвящены [3] — [7]. В [3] приводятся результаты исследования динамических эффектов, сопровождающих процесс виброабразивной обработки на основе разработанных математических моделей поведения инструмента и детали, с учетом вращения инструмента.
Подсчитаны собственные частоты колебаний и определены области динамической неустойчивости при гармонических осевой составляющей силы резания и крутящем моменте.
В работе Грязнова А.Н. и Гуськова A.M. [4] рассматривается плоская математическая модель формообразования поверхности при обработке абразивными брусками. Приводятся формулы для расчета и прогнозирования погрешностей формы при хонинговании и суперфинишировании.
Обобщенная модель формирования поверхности при резании представлена в [5]. Разработан новый метод представления процесса формирования новых поверхностей, включающий в себя параметры движения инструмента и погрешности, вызванные процессом обработки и несовершенством инструмента. Модель представлена в виде комплекса уравнений, описывающих модель динамики резания и модель формирования новых поверхностей. В качестве входных параметров системы вводится геометрия инструмента и детали, режимы резания и параметры движения, на выходе выдается трехмерная топография обработанной поверхности.![]()
Моделирование формирования погрешностей формы цилиндрической поверхности при хонинговании коротких отверстий рассматривается в [6]. Разработана плоская модель, учитывающая начальную геометрию отверстия, динамику вала, инструмента и брусков хона, поджимаемых к обрабатываемой поверхности.
В [7] предложена и проанализирована математическая модель процесса хонингования, включающая в себя динамику вала и инструмента с учетом взаимодействия поверхности обрабатываемой детали и брусков хона. Показано, что силы рассматриваемого взаимодействия неконсервативные. Хонин-говальный инструмент моделируется как вращающийся стержень с головкой, закреплённой в среднем сечении вала. Исследование зависимостей для сил резания от режимов обработки при хонинговании проводится в [8].
В настоящей работе исследована модель процесса хонингования при обработке отверстий с заданной неровностью поверхности с целью прогнозирования исправления погрешности формы.
Разработана модель динамики инструмента, который схематизируется как вращающийся безмассовый стержень, передающий вращение оправке хона с упруго закрепленными на нем режущими и направляющими брусками. Разработана модель сил резания на основе гипотезы Престона. На базе разработанной модели исследовано влияние технологических параметров на интегральные критерии качества обработки.
Расчетная схема инструмента
Хонинговальный инструмент схематизируется в виде консольного безмассового вала длиной К1ш/1′ вращающегося с угловой скоростью \л/, которому сообщается возвратно-поступательное движение со скоростью Уа . На валу шарнирно закреплена хонинговальная головка массой М(рис. 6).
Хонинговальная головка состоит из оправки с вязко-упруго присоединёнными к ней брусками хона длиной 1Ьот квадратного сечения х ¡¥/мпе. Оправка обладает физическими моментами инерции относительно трех осей, JQ — момент относительно продольной оси, У, — момент относительно поперечных осей
Бруски совершают движение в радиальном направлении за счет механизма разжатия.
Предполагается, что бруски находятся в постоянном контакте с обрабатываемой поверхностью, вращаясь вместе с валом и оправкой с постоянной угловой скоростью. При этом инерцией брусков пренебрегают. Усилия, передающиеся от вала через механизм разжатия на бруски и далее на обрабатываемую поверхность, могут быть схематизированы как линейные вязко-упругие с коэффициентом жесткости к и коэффициентом демпфирования с и зависят от относительного положения бруска и вала в радиальном направлении.
Рассматривается схема расположения брусков хона, показанная на рис. 7. Имеется три бруска:
№4
2008
один является режущим, он расположен так, что направление его перемещения совпадает с положительным направлением вертикальной оси связанной вращающейся системы координат, два других бруска отклонены на угол в от вертикальной оси и являются направляющими.
Хонинговальная головка схематизируется как твердое тело имеющие четыре степени свободы: два перемещения центра тяжести хона щ V относительно оси вращения и два угла поворота J \ у относительно соответствуюхцих осей во вращающейся системе координат. Крутильными и осевыми колебаниями вала пренебрегаем.
Уравнения динамики вала инструмента с оправкой
Вращение оправке сообщается через вал, соединенный с оправкой шарнирно. При этом вал и оправка могут совершать колебания в поперечном направлении.
Уравнения динамики вала инструмента получим в системе координат (г/,у, и>) с началом в точке закрепления вала, вращающейся вместе с валом относительно неподвижной системы координат (х, у, г) (рис. 8).
Рис. 8. Системы координат Рис.
г УГ V
р +р» ±ЫЕ х и
Рис. 10. Силы, действующие на хонинговальную головку
Рис. 11. Моменты, действующие на хонинговальную головку
Рассматривая уравнения динамического равновесия хонинговальной головки, после преобразований получим систему уравнений колебаний хона в виде:
и _ $ Ьт1. -Ъп{РиЪ- Мы)
-/Д. + + Тл + (РЛ- Ми)!**. = о
(1)
где 5П статическая податливость вала от действия единичной поперечной силы, приложенной на его конце.
Модель сил резания
Силы резания, или силы взаимодействия инструмента с обрабатываемой поверхностью, будем моделировать как силы сухого трения с коэффициентом трения , тогда результирующую силу взаимодействия можно разложить на нормальную и касательную составляющие (рис.
12). Касательная составляющая направлена в противоположную сторону к относительной скорости движения брусков инструмента и поверхности детали и считается пропорциональной нормальной составляющей с
№4
2008
коэффициентом /и,
Для данной расчетной схемы инструмента (рис. 13) в произвольный момент времени нормальная
составляющая контактного давления пропорциональна поперечным смещениям оправки хона, скоростям этих смещений, а также радиальным смещениям брусков при обработке неровной поверхности и определяется для каждого из брусков как:
ру — р0 + к [и + б- ¿(у-)соз б + с(г) + 0 — с (у — ЭЛ.£) соя 0 — кУю ,
где р0 — постоянная составляющая радиального давления, задаваемая при начальном разжатии брусков хона после введения их в отверстие (радиальная подача), МПа;
к — эквивалентная радиальная жёсткость бруска, Н/Л/3;
с — эквивалентное демпфирование бруска, Н • с/мъ \
и, V- поперечные перемещения центра масс головки инструмента, мм;
— углы поворота головки относительно соответствующих осей,рад\
Е; — координата, отсчитываемая от центра масс вдоль оси отклонённой хонинговальной головки, мм;
— отклонения обрабатываемой поверхности в точках, соответствующих положению центра масс хонинговальной головки вдоль оси обрабатываемого отверстия и положению каждого бруска на его поверхности в настоящий момент времени
Рис.
13. Схема взаимодействия брусков с обрабатываемой поверхностью
Касательные составляющие сил резания на каждом из брусков определяются следующим образом:
= (3)
где .//2’Лг коэффициенты сухого трения направляющих брусков, а коэффициент резания для режущего бруска.
№ 4 2008
Равнодействующие контактных давлений найдём, проинтегрировав проекции давлений
по всей длине хонинговальной головки 1,юпе и умножив их на ширину бруска Whom . Выражения для равнодействующих сил резания и моментов примут вид:
Pul = -IkA sin2 в-и- 1сA sin2 в • и + кА cos /?(/.+ 2 ft cos2 в) v- а, Л cos р (2fr cos 0 ■- ¿) +
cos p(fe + 2 / cos2 0) V- M (- ) sin tí cos /?[/t, 7Л| — ft (7Л2 4- 7,3) cos , Pvl = (l + 2 cos2 v- Ы (l + 2 cos2 0) v- cos (3 sin2 0 • w + (2 cos 0 -1) -2cAf( cos p sin2 0 • й + M [ — (Уи + 7ЛЗ) cos 0] — ОД cos p (YR2 — 7,3) sin 9, (4)
^ — (1 + 2 cos2 0) 0V -(1 + 2 cos2 в) 4 + ЫД sin /?(/.
-р—, (5)
сН куа({
где УК = Ун (¿) — радиальная координата обрабатываемой поверхности под режущим бруском;
р — давление бруска на поверхность;
кх, — безразмерный коэффициент, который зависит от свойств материала и определяется эмпирически;
а* — предел прочности материала детали.
Таким образом, новая координата поверхности в каждой точке после прохождения по ней режущего бруска определяется следующим образом:
№4
2008
(6)
где А/ — время контакта бруска с какой-то определённой точкой поверхности;
(-Т/ — момент времени, когда эта точка поверхности обрабатывалась на предыдущем обороте или проходе;
кч> — удельный коэффициент, характеризующий толщину срезаемой поверхности.
При разработке модели образования новых поверхностей будем считать, что толщина слоя, снимаемого за один проход, незначительна по сравнению с величинами поперечных перемещений вала. Таким образом, она не влияет на величину нормальной составляющей сил резания, определяемой выражением (2). Будем также считать, что координата поверхности в каждой точке изменяется после прохода бруска через эту точку (изменение поверхности, определяемое выражением (б), не входит в уравнение динамики инструмента).
л» %
Рис. 14. Схема образования новых поверхностей
Описание полной модели
После подстановки (4) в (1) получим полную систему уравнения динамики инструмента в
матричном виде: [м] X + [£>] X + [ЛГ] X = В,
(и 4
V
где X — К ; [М] =
Мб,
1]
О
о о
о мзи о о
У, о
О У.
-Ь-
V Ц\
о
о
houe 2
О О
I2
—+2М,ж9 4«, *
В =
f -S,,кА ( Yr2 — Yrз ) sin 0 — , cos /?[/.УД1 — ft ( Yln + Yn ) cos 9 kA [ YR] ~(YR2 + YR3 ) cos в] — kAft cos fi ( YR2 -YK3) sin 9
-kARf, sinfisin — YR3 )
(il)
(12)
Обозначим Y =
‘Хл
A
Система, приведённая к каноническому виду Коши, имеет вид:
<
или ? = [А]-7 + [М\х-Н-
‘О 0 0 0 1 0 О 0^ 0 0 0 0 0 10 0
где
И’
0 0 0 0 0 0 10 0 0 0 0 0 0 0 1
и
[-С]
H =
f о Л о о о
[М]-1 в
(13)
(14), (15)
Полученная неоднородная система уравнений не имеет аналитического решения, так как правые части уравнений включают переменные }?;, зависящие от положения брусков в настоящий момент времени и состояния поверхности под бруском, образованной в предшествующий момент времени,
№4
2008
когда режущий брусок проходил по этой точке поверхности.
Поэтому будем искать приближенное численное решение данной системы.
Определение собственных частот системы. Рассмотрим случай обработки идеально гладкой цилиндрической поверхности, т.е. Уг. = 0 и коэффициент срезания км- = 0 , тогда уравнение (13) будет однородным линейным дифференциальным уравнением, описывающим колебания хона при движении по гладкой поверхности без резания.
Частоты колебаний определяются как собственные значения матрицы А. Решение однородного уравнения (13) ищем в виде:
К(Г) = 70ехрЛг,
где X — безразмерное собственное значение матрицы А, т — безразмерное время,
г = р0и р1 = ел{Щы).
В общем случае собственные значения будут комплексными, т.к. система нагружена неконсервативными силами имеющими циклический характер, и, при определенных значениях параметров системы, колебания могут иметь как периодический характер, так и быть затухающими при отрицательных значениях действительных частей собственных значений, или с возрастающей амплитудой при положительных значениях действительных частей X.
Если положить с = 0, р0 = 0, то можно определить частоты собственных колебаний как мнимые части собственные значения матрицы [А] , т.к. действительные части в этом случае равны нулю. Изменение собственных частот в зависимости от жесткости показано на рис. 15 при 0 = 30 , в зависимос-
Н
ти от угла взаимного расположения брусков 0 — на рис. 16 при к = 1.00 • 108 —-, частота вращения
м
/7 = 1000 об/мин.
Eigen Frequwicies
Eigen Fr*Kiu*ncws
ЗпН4
ВШпвх» А, ЫМг3
Рис.
15. Влияние жёсткости на собственные частоты
Рис.16. Влияние угла взаимного расположения Брусков 0 на собственные частота
№4
2008
Из частотного анализа системы можно заключить, что увеличение эквивалентной радиальной жесткости инструмента приводит к увеличению всех собственных частот, в то время как при увеличении угла взаимного расположения брусков в до 60° две пары частот попарно сходятся и затем начинают обратно расходится при 0 >60°.
Eigsn Freqii©noies
Eigen Frequencies
1 …………………..L
К** ; ¿gggggSle!ШЩ® | i -е-Ри , ■9 Ру ! Pia ‘ Pto
-.
-M tki! 4-М I Ui J4-M \Ш \Ш U-M U\-UU\Mi-
……… …… …….1 1
Щ ; ® -+P« i py
….. Щвм -vviWef Wk
——-L. ——
SUttmss k, №n*
Рис. 17
10 203340 60 63 70 80 50 feg
Рис. 18
На Рис. 17 и 18 показаны графики изменения действительных и мнимых частей комплексных собственных значений для случая, когда С= I * 104 Н — с/М3, = 0.05, /с = 0.3 . Как видно из рис. 17, для 6 = 30 действительная часть собственных значений отрицательна, т.е. колебания являются затухающими на всем диапазоне изменения радиальной жесткости хона.
При изменении угла расположения направляющих брусков частоты попарно сближаются и в диапазоне от 55 до 65 градусов действительная часть одного из собственных значений становится положительной, т.е. колебания становятся неустойчивыми. Если значения = 0.3,/с = 0.3, диапазон углов при которых колебания неустойчивы расширяется.
Дискретизация поверхности отверстия. Численное моделирование
Так как при численном интегрировании системы уравнений необходимо знать координаты каждой точки поверхности при каждом шаге интегрирования и пересчитывать ее с учетом закона резания, необходимо описать поверхность в виде сетки в окружном и осевом направлении. Поверхность отверстия задаётся в виде матрицы Уг отклонений в радиальном направлении от базовой поверхности (в данном случае базовой является поверхность идеального цилиндра диаметром £)), число элементов которой может достигать десятков и сотен тысяч.
— число дополнительных строк.
Если положить = 0, то траектория камня после одного двойного хода будет накладываться сама на себя, и большая часть поверхности не будет участвовать в обработке. Чтобы избежать этого, к матрице добавляется Nn столбцов, наличие которых обеспечивает сдвиг траектории камня с каждым двойным проходом. В результате через некоторое количество двойных ходов все отдельные траектории дадут в сумме регулярную «сетку», покрывающую всю поверхность. За счет протяженного в осевом направлении режущего камня обеспечивается обработка всей поверхности отверстия.
В процессе интегрирования из матрицы выбираются те элементы, положение которых соответствуют текущему положению брусков инструмента. Новая координата поверхности после прохождения инструмента определяется в зависимости от текущего значения силы резания.
При численном интегрировании системы по времени с автоматическим выбором шага мы не имеем точных значений Уг в произвольных точках.
Так как текущее положение инструмента соответствует какому-то углу поворота вала с оправкой, то шаг сетки дискретизированной поверхности и соответствующий ему угловой шаг вращающегося инструмента могут не соответствовать шагу по времени, то есть при интегрировании системы по времени можно попасть в точки, в которых нам отклонение поверхности не известно. Можно эти значения подсчитать путем аппроксимации по отклонениям поверхности в соседних точках, но это вносит дополнительные погрешности, что нежелательно.
Для того, чтобы при интегрировании в расчетах учитывались только известные координаты точек поверхности, удобно ввести в качестве аргумента угол поворота.
Если закон вращения детали ср = со/, то тогда ¿/(р = , и производные по углу поворота можно выразить через производные по времени.
Для интегрирования полученной системы дифференциальных уравнений был использован математический пакет МАТЬАВ 6.
5. При этом использовался метод Рунге-Кутта 4-5 порядка (стандартная процедура МАТЪАВ ос!е45).
При численном моделировании варьировались режимы обработки и радиальная жесткость хона. Для остальных параметров принимались значения, представленные в таблице 1.
Таблица 1
Постоянные параметры
Название параметра Параметр Значение
Длина отверстия Ь оп1 500 мм
Диаметр отверстия О, 48 мм
Длина хона Ьопе 50 мм
Ширина бруска хона попе 6 мм
Длина вала ЧиаП 500 мм
Диаметр вала Оы 18 мм
Момент инерции хонинговальной головки относительно продольной оси К 6.
431е-5 кг*м2
Момент инерции хонинговальной головки относительно поперечных осей 1.149е-4 кг*м2
Масса хонинговальной головки М 0.397 кг
Отношение окружной скорости инструмента к скорости осевой подачи Бреес1_гаио 3
Из кинематики процесса установлено, что режущий брусок хона при таких значениях параметров обрабатывает все точки поверхности хотя бы один раз за четыре двойных хода.
Анализ результатов
Все расчеты проводились для поверхности, имеющей начальную погрешность формы типа «эллиптичность» (рис. 17).
90 0.0004
Рис. 17. Рассматриваемый вид погрешности формы
В качестве критерия точности обрабатываемого отверстия была выбрана величина, называемая
№4
2008
эксцентричностью поверхности, определяемая для каждого сечения отверстия плоскостью, перпендикулярной оси, по формуле
/у _ Ы „ max min ft-—-— • (16)
‘ RL.
соответственно наибольшее и наименьшее отклонения поверхности от идеального цилиндра. Итоговая характеристика для всей поверхности получается в результате осреднения полученных значений для каждого сечения:
(17>
е =
Величина снимаемого припуска, характеризующая производительность процесса, вычисляется по среднему радиусу, определяемому как среднее значение всех элементов матрицы отклонений поверхности. В результате моделирования исследовано влияние на изменение эксцентричности и среднего радиуса при обработке величины жесткости хона к, постоянной составляющей контактного давления р0 и скорости вращения инструмента п.
Влияние жесткости на эксцентричность и средний радиус
На рис. 18-19 представлены результаты численного моделирования процесса обработки отверстия при разлргчных значениях жесткости подвески к инструмента.
Показаны графики изменения эксцентричности и среднего радиуса отверстий в зависимости от количества двойных ходов движения хона при разных значениях жесткости подвески к инструмента.
При увеличении жесткости к наблюдаются увеличение скорости изменения эксцентричности и незначительное уменьшение скорости изменения среднего радиуса. Влияние жесткости на изменение эксцентричности тем сильнее, чем больше постоянная составляющая контактного давления ру.
Частота вращения инструмента не меняет характер изменения эксцентричности в зависимости от жесткости крепления брусков хонинговальной головки.
Параметры; р0 = 1 кПа, п = 1000 б Iмин .
A/s 4
2008
х ю’4 Eccentricity vs variable stiffness к
5 10 15 20 25 30 5 10 15 20 25 30
Number of douhh feeds Number of double feeds
Рис.
18. Изменение эксцентричности в процессе обработки в рис< 19. Изменение среднего радиуса в процессе зависимости от жесткости крепления брусков хона обработки в зависимости от жесткости крепления
nil 7 / Ъ брусков хона
1 : А = 2-10 Я/.и , 2: к = 2.2 -10 И ! м п 7 . .
1 : к =2-Ю7 н/м2 2 : к = 2.2-10 И/лГ
3 : /с =2.4-107 H/л? 7 . .
3: А: = 2.4-10 Н]м л
Mean radius vs variable stiffness к
Влияние постоянной составляющей контактного давления на эксцентричность и средний радиус
На рис. 20-21 представлены результаты численного моделирования процесса обработки отверстия при различных значениях постоянной составляющей контактного давления р0 инструмента, представлены изменение эксцентричности и среднего радиуса отверстия в зависимости от количества двойных ходов хонинговальной головки.
Увеличение постоянной составляющей контактного давления уменьшает скорость изменения эксцентричности (рис. 20), увеличивает скорость изменения среднего радиуса (рис. 21). Параметры: к = 2• 1 о7 н/м3, п = 1000 об!мин.
Влияние скорости вращення инструмента на эксцентричность и средний радиус
Установлено, что скорость вращения инструмента не влияет на скорость изменения среднего радиуса. На рис. 22 показано изменение эксцентричности после 40 двойных циклов обработки в зависимости от частоты вращения инструмента. В результате анализа было установлено, что при наименьшем значении частоты вращения (100 об/мин) окончательная эксцентричность наименьшая, далее при
№4
2008
увеличении скорости она увеличивается, достигает максимума при 500 об/мин, затем начинает медленно уменьшаться.
Значения параметров при моделировании: к- 2 • 107 н/л? , р0 = 0.5 кПа .
■¡Eccentricity vs variable constant part of contact pressure pQ
x 10
•оMean radius vs variable constant part of contact pressure p
10 15 20 25
Number of double feeds
12 16 20 24 28 Number of double feeds
Рис. 20. Изменение эксцентричности в процессе обработки в зависимости от постоянной составляющей контактного давления
\:р0 =0.5 кПа, 2:р0=0.75 кПа, 3 : =1 кПа.
Рис. 21. Изменение среднего радиуса в процессе обработки в зависимости от постоянной составляющей контактного давления
1: р0 = 0.
5 кПаь 2:р{)= 0.75 3 : = 1 кПа,
х io’d Г/ш/ eccentricity vs variable frequency of rotation n
5.8 5.75 5.7 5.65 5.6
0 500 1000 1500
Frequency of rotation n, rpm
Рис. 22. Изменение эксцентричности после 40 двойных циклов в зависимости от частоты
вращения инструмента
№4
2008
Выводы
По результатам исследования в данной работе можно сделать следующие выводы:
1. Разработанная математическая модель позволяет оценить влияние параметров инструмента и режимов обработки на частотные характеристики колебаний инструмента.
Установлено, что при осесимметричном расположении брусков (55 < в < 60 ) процесс хонингования может быть неустойчивым из-за колебаний с возрастающей амплитудой.
2. Анализ численных результатов моделирования показывает, что:
• на исправление погрешности формы наибольшее влияние оказывают жесткость крепления брусков хона к оправке и постоянная составляющая контактного давления;
• при увеличении жесткости А’наблюдается ускорение исправления погрешности формы поверхности, при этом скорость съема материала уменьшается;
• при увеличении постоянной составляющей контактного давления р0 скорость исправления погрешности формы уменьшается, но при этом увеличивается съем материала.
Работа выполнена благодаря финансовой поддержке РФФИ грант № 07-08-00592.
СПИСОК ЛИТЕРАТУРЫ
1. З.И. Кремень, Н.Х. Стратневский. Хонинговаиие и суперфиниширование деталей/Под ред. Л.Н Филимонова.— 3-е изд., перераб. и доп.- Л.:, Машиностроение, Ленингр. отд-ние, 1 98 8.— 1 37 стр. с ил л.— (Библиотечка шлифовщика. Вып. 9).
2. Бабичев А.II. Хонинговаиие.- М.: Машиностроение. 1965, 96 с.
3. Бндерман В.Л. Прикладная теории я механических колебаний. Учебное пособие для втузов. М., «Высшая школа», 1972.- 416 стр. с и л Л.
4. Воронов С. А., Фатальчук А. В. Моделирование динамических процессов в ибр о абразив но й обработки глубоких отверстий.- Механика твердого тела, №6, 2000.- стр. 167-173.
5. Грязное А.Н., Гуськов A.M. Модель процесса образования поверхности при обработке абразивными брусками.
— Известия вузов. Машиностроение, № 1 1980.—стр. 130-1 39.
6. K.F. Ehmann, M.S. Hong. A Generalized Model of the Surface Generation Process in Metal Cutting. Annals of the CIRP Vol. 43/1/1994
7. Kim, J.-D. and M.-S. Choi, «A Study on Prediction of Roundness Variation in Honing Using Hone Dynamics,» Journal of Testing and Evaluation, Vol. 25, No.6, 1997, pp.556-564,
8. A.M.Gouskov, S.A.Voronov, E.A.Butcher, S.C.Sinha. Non-conservative oscillations of a tool for deep hole honing. Communications in Nonlinear Science and Numerical Simulation. Vol.11, issue 6, September 2006, p. 685-708.
9. Zcttel H.D. «Verbesserung der Arbeitsgenangkeit von Hon werkzengerT* Jnd. Anz., 1975, 97, N 14, pp. 269-270.
О повышении точности процесса хонингования
Increasing the Precision of Honing
Honing is a process of gear drive finishing that provides its stable performance and long operating life.
This way of finishing is highly productive one, but it does not increase the precision of the workpiece. The authors have studied the problem and offer the technique that will help to remove the drawback. They found out that the growth of rotational frequency with the synchronous reduction of length feed provides better precision of teeth forming.
А.П. Натаров, к.т.н., доцент, НТУ «ХПИ»,
Н.М. Луценко, к.т.н., доцент, С.А. Сапелин, к.т.н., доцент,
Государственный технический университет строительства и архитектуры, г. Харьков
Зубохонингование, благодаря своей достаточно высокой производительности, является одним из распространенных способов отделки зубчатых колес с целью повышения их надежности и долговечности. Увеличение частоты вращения с одновременным уменьшением продольной подачи на оборот при хонинговании способствует повышению стабильности вращения и, соответственно, повышению точности формообразования поверхностей зубьев.
Известно, что повышение эксплуатационной надежности и долговечности зубчатых передач во многом определяется качеством изготовления, для чего часто бывает необходимой окончательная или отделочная обработка. Распространенными способами отделки зубчатых колес являются шевингование, шлифование и зубохонингование. Первый способ нашел широкое применение при зубоотделке незакаленных зубчатых колес, а два других (шлифование и зубохонингование) — при обработке закаленных зубчатых колес. Каждому из упомянутых способов присущи те или иные преимущества и недостатки. Например, шлифование обеспечивает высокую точность зубчатых колес, однако этот процесс малопроизводительный. Шевингование и зубохонингование отличает более высокая производительность, но они не улучшают точность обрабатываемых колес, в частности, по циклической погрешности профилей.
Хонингование / Центр Абразивов
Хонингование
При обработке отверстий с шероховатостью поверхности Ra = 0,32 ±0,080 мкм и 3-6 квалитетов точности применяется процесс доводки абразивными брусками, называемый хонингованием. Хонингование производится на вертикальных и горизонтальных хонинговальных станках абразивными брусками, закрепленными в специальных головках, допускающих подачу брусков в радиальном направлении. Заготовка обычно остается неподвижной, а рабочий инструмент (головка с брусками) получает вращательное и возвратно-поступательное движение. При хонинговании глубоких отверстий заготовка получает дополнительное вращательное движение.
Сущность хонингования заключается в механической доводке предварительно развернутого, отшлифованного или расточенного отверстия абразивными брусками. Хонингование ведется при обильном охлаждении смесью керосина с машинным маслом или специальными эмульсиями, исключающими применение керосина.
Хонингование обеспечивает цилиндричность поверхности отверстия, устраняет его конусообразность и овальность без изменения положения оси, так как хонинговальная головка шарнирно соединена со шпинделем станка. В результате одновременно вращательного и возвратно-поступательного движений на обрабатываемой поверхности создается мелкая сетка пересекающихся царапин от абразивных зерен, хорошо удерживающих при эксплуатации смазку.
Для хонингования применяются бруски из белого электрокорунда и из зеленого карбида кремния типов БKB и БП длиной 15-200, высотой 3,5-25 мм. Размеры и число применяемых брусков зависят от диаметра и длины отверстий, подлежащих хонингованию. Бруски закрепляются в специальных обоймах, которые крепятся в хонинговальной головке.
В зависимости от материала и величины припуска на обработку, заданной точности и шероховатости поверхности хонингование осуществляется за одну-две операции. Величина припуска при хонинговании обычно не превышает 0,1-0,2 мм, хотя этот метод обработки позволяет снимать и больший припуск.
Для предварительного хонингования применяются бруски зернистостями 16-6, а для окончательного хонингования — зернистостями 5-М14.
При предварительном хонинговании применяют более жесткие режимы, чем при окончательном. Так, при предварительном хонинговании давление брусков составляет 0,4-1,0 МПа, при окончательном — 0,2-0,4 МПа. Скорость возвратно-поступательного движения составляет 5-20 м/мин, окружная скорость 15-60 м/мин, отношение скоростей от 1:1 до 1:5.
Чем больше вязкость обрабатываемого материала, тем выше скорость резания. С увеличением скорости резания и величины давления съем металла и износ брусков возрастают. Применяемые для хонингования бруски изготовляются на керамической и бакелитовой связках. При применении более крупнозернистых брусков на бакелитовой связке достигается та же шероховатость поверхности, что и брусками на керамической связке. Поэтому бруски на бакелитовой связке надо выбирать на одну-две степени тверже по сравнению с брусками на керамической связке.
Для изготовления хонинговальных брусков используют различные искусственные абразивные материалы: карбид кремния и алмаз — для обработки заготовок из чугуна; белый электрокорунд и эльбор — для обработки стальных заготовок. В последние годы все шире применяются алмазные и эльборные бруски, обладающие высокой стойкостью и режущей способностью, превышающей в десятки раз эти показатели брусков из карбида кремния и электрокорунда.
Важным преимуществом эльборных брусков является их незначительный износ, что обеспечивает высокую точность размеров и формы обрабатываемых отверстий, возможность автоматизации процесса обработки из-за минимального рассеивания размеров партии обрабатываемых заготовок.
Что такое хонингование? Хонинговальные станки с ЧПУ, процесс, работа и определение
Хонинговальные станки — это инструменты для шлифования металла и процесса хонингования с использованием твердого инструмента или хонинговальных брусков и скоропортящихся абразивных камней для коррекции
- Диаметр
- Форма
- Обработка поверхности
- Позиционные допуски отверстий
Процесс хонингования был разработан для обеспечения идеальной геометрии отверстия, контроля размера, окончательной обработки поверхности и структурирования поверхности.
Lapmaster может помочь вам изучить процесс хонингования, который может обеспечить окончательную калибровку и создать желаемый рисунок отделки на внутренней части трубок или отверстий цилиндров. Окончательная обработка осуществляется путем насыпания абразивных камней подходящей зернистости и качества на рабочую поверхность. Камни вращаются и совершают возвратно-поступательное движение в детали с хонинговальным абразивом под контролируемым давлением. Комбинация вращения и возвратно-поступательного движения создает узор перекрестной штриховки на поверхности хонингованной детали.
Зачем нужен хонинговальный станок Lapmaster?
Lapmaster может предложить рентабельный метод хонинговальной обработки для:
- Удаление штока
- Генерация взыскания
- Допуски отверстий
- Полировка отверстий
- Обработка отверстий практически из любого материала, такого как: напыление, CGI, керамика и т. Д.
Определение процесса хонингования:
Процесс хонингования обеспечивает окончательную калибровку и создает желаемый рисунок отделки на внутренней части трубок или отверстий цилиндров.
Окончательная обработка осуществляется путем насыпания абразивных камней подходящей зернистости и качества на рабочую поверхность. Камни вращаются и совершают возвратно-поступательное движение в детали с хонинговальным абразивом под контролируемым давлением. Комбинация вращения и возвратно-поступательного движения создает узор перекрестной штриховки на поверхности хонингованной детали.
Хонинговальные станки Lapmaster выполняют три операции
Во-первых, это процесс удаления припуска (вертикальный хонинговальный станок), который удаляет сломанный металл и достигает основного металла.
Во-вторых, создается рисунок отделки, чтобы обеспечить наилучшую поверхность для обеспечения оптимальных условий смазки.
В-третьих, хонинговальные бруски обеспечивают исключительно точную прямолинейность, округлость и размер цилиндрической поверхности.
Что такое однопроходный хонинговальный станок?
Однопроходное хонингование выполняется с помощью алмазного абразивного хонинговального инструмента с расточной оправкой.
Этот тип хонинговального инструмента производит прямое, круглое и неконусное отверстие за один проход инструмента через деталь. Однопроходное хонингование идеально подходит для хонингования коленвала двигателя и отверстий кулачка. Поскольку размер достигается за один проход, на готовой детали нет перекрестной штриховки. Регулируемый однопроходный инструмент расширяет точильные камни конусом, аналогичным стандартным инструментам. Однако камни не расширяются и не втягиваются, как при обычном хонинговании. Камни увеличиваются только до размера.Другое отличие состоит в том, что хонинговальный инструмент длиннее, чем стандартный инструмент, а суперабразивное покрытие равно длине инструмента. Однопроходный хон сужается примерно на семь дюймов и имеет окончательное сечение 2,5 дюйма. Смотрите фотографию на следующей странице. У однопроходного инструмента нет расширения хона в процессе, станок необходимо остановить, чтобы отрегулировать инструмент.
Когда выбрать инструмент Lapmaster для однопроходного хонингования?
Однопроходные хонинговальные станки, также называемые чистовой обработкой отверстий, выбираются для множества применений, в которых есть особые потребности, связанные с хонингованием полостей:
- Хонинговальный станок малого диаметра (обычно в пределах 2 дюймов)
- Хонинговальные инструменты для больших объемов производства
- Правильный хонинговальный инструмент может снизить стоимость детали
- Сокращение времени простоя при смене хонинговального инструмента с ЧПУ
- Повторяемость точности для допусков размеров, таких как размер отверстия, округлость, качество поверхности
- Для однопроходной обработки используются только суперабразивные материалы (алмаз и CBN)
- Для постоянного удаления стружки из зоны хонингования требуется высокая скорость / объем СОЖ
- Для однопроходного хонингования можно использовать СОЖ на масляной или водной основе, хотя масло является наиболее распространенным.

Процесс хонингования за один проход ограничен типами и объемами удаляемого материала.В частности, размер и объем удаляемой стружки не должны превышать зазор между суперабразивными зернами на гильзе инструмента. Таким образом, однопроходное хонингование лучше всего подходит для операций хонингования, при которых образуется относительно небольшое количество стружки, например, прерывистых отверстий или отверстий небольшой длины. Он наиболее успешен (но не ограничивается только этим) при хонинговании чугуна и порошковых металлов.
Применения, в которых требуется хонингование большой длины материала, небольшие количества и / или требующие удаления большого количества материала, не подходят для однопроходного хонингования.Скорее всего, для них лучше всего использовать обычное хонингование. Во многих случаях обычное хонингование может также обеспечить отличную размерную геометрию для этих типов применений.
Зачем нужны хонинговальные станки / системы Lapmaster?
Barnes Stroke Honing Machines & Finishing Systems предлагает полную линейку продуктов для всех требований хонингования.
Мы можем предложить полностью интегрированные системы и машины для крупносерийного производства и оборудование для небольших производственных цехов.Lapmaster также предлагает услуги по хонингованию (восстановлению) и модернизации бывших в употреблении станков. Мы предоставляем нашим клиентам полностью разработанные комплексные индивидуальные решения и предлагаем полную линейку аксессуаров и расходных материалов в дополнение к комплексным услугам по обучению и ремонту.
Наша обширная линейка хонинговальных станков / систем позволяет затачивать отверстия станков диаметром от 0,25 до 30 дюймов и длиной до 75 футов. Мы предлагаем системы как для среднего и крупного серийного производства, так и для мелкосерийного производства; эти системы могут быть выполнены с ручным управлением или полностью автоматизированы.Основными целями компании Barnes Stroke Honing & Finishing Systems являются инновации и обслуживание клиентов. Компания постоянно исследует и разрабатывает новые технологии и оборудование.
Постоянно следя за последними разработками на рынке, мы гарантируем, что нашим клиентам предоставляется самое современное производство и контроль.
Почему однопроходные хонинговальные станки / системы?
Линия однопроходного хонинговального / чистового станкаBarnes подходит для различных операций однопроходного хонингования.Гибкая конструкция станка может быть сконфигурирована с одним шпинделем для удовлетворения требований производства меньших объемов для самых маленьких механических цехов. Он также может быть оснащен несколькими шпинделями, чтобы удовлетворить потребности самых требовательных компаний в большом объеме производства. Наши однопроходные хонинговальные станки спроектированы и изготовлены с учетом минимальных требований к техническому обслуживанию, а их доступная конфигурация также сокращает время настройки и переналадки от детали к детали.
Хонингование — Как это работает
В соответствии с требованиями нового критерия качества процесс хонингования постоянно совершенствуется.
Таким образом, появились многочисленные переменные процесса, такие как хонингование формы, хонингование плато, рибхонирование или хонингование со спиральным скольжением. Поэтому мы рассматриваем наших клиентов как партнеров в разработке инновационных и прогрессивных технологических идей.
Цель хонингования
Хонингование — это процесс механической обработки, в результате которого получается функциональной поверхности чистовой обработки отверстий. В дополнение к достигнутой размерной и геометрической точности все большее значение приобретает топографическая форма шероховатости поверхности.Это может быть как гладкая поверхность, так и неровная топография с определенными масляными карманами. Структура штриховок имеет решающее трибологическое значение. Функции хонингованных поверхностей всегда заключаются в допуске, скольжении или уплотнении и направляющих. Отсюда мы можем увидеть конечное применение хонингования. Типичными деталями, которые подвергаются хонингованию, являются поршни двигателей внутреннего сгорания, гильзы, коленчатые валы из чугуна, алюминия или сплавов железа с различной микроструктурой.
Ваши детали, НАШИ СТАНКИ
Особо высокие геометрические требования предъявляются к отверстиям клапанов в гидравлических, пневматических системах и системах впрыска топлива. Шестерни, шатуны, гидроцилиндры, цилиндры подвески и керамические компоненты также являются прецизионными деталями, которые хонинговываются партиями разного размера. Мы можем предложить хонинговальные станки с различной площадью обработки (диаметр отверстия, длина хонингования) и степенью автоматизации. Отверстия диаметром от 0,8 мм до 200 мм и длиной до 24 метров можно обрабатывать на хонинговальных станках Gehring. Общим для всех конфигураций является угол хонингования, под которым пересекаются хонингованные канавки (штриховка). Достижимая точность в отношении допусков на размеры, цилиндрической формы и шероховатости соответствует функциональным требованиям для энергоэффективного заполнителя.
Здесь вы найдете некоторые типовые детали для процесса хонингования, а также небольшой фильм о нашем процессе хонингования.
Это лишь небольшая часть деталей, которые можно обрабатывать.Если у вас есть вопросы или вы хотите узнать, сможем ли мы обработать вашу заготовку, свяжитесь с нами!
- Расточка цилиндра
- Отверстия цилиндра с покрытием
- проходов для хранения
- Зубчатые колеса, планетарные передачи
- Форсунки, корпус управления
- Регулирующие клапаны, гидравлические клапаны
- Шатуны
Кинематика процесса процесс хонингования — это процесс кинематики. Он выполняется инструментом и включает подъемное, поворотное и подающее движение.Эта кинематика придает этому процессу типичный угол хонингования. Движение подачи вызывает радиальное распространение инструмента, в результате чего абразив вступает в контакт со стенками отверстия. Это достигается за счет электромеханической системы подачи, посредством которой усилие подачи можно регулировать в регулируемых пределах.
Коаксиальность
Помимо кинематики, соосность является важной характеристикой процесса хонингования. Как уже упоминалось, хонинговальные бруски могут перемещаться к стенке отверстия за счет радиальной подачи.За счет движения подачи инструмент центрируется в отверстии. Ось отверстия и ось инструмента идентичны. Это обеспечивает достаточную степень свободы относительно сборки инструмента. Для этого инструмент навешивается на хонинговальный шпиндель на двух шарнирах. Такое расположение позволяет инструменту регулировать положение и угол отверстия. Точность расположения не исправить хонингованием. Однако есть исключения, как в случае хонингования положения, которые выполняются жестким инструментом.
Абразивные материалы
Хонинговальные бруски Diato, которые также являются продуктом Группы Геринг, содержат абразивные материалы, изготовленные из синтетического алмаза или кубического нитрида бора (cBN) .Эти абразивные кристаллы заключены в твердую металлическую матрицу. В этом случае размер зерна отвечает за съем материала.
Для получения подробной информации о наших режущих материалах щелкните здесь.
Хонингование, доводка и суперфиниш
Duval предоставляет услуги по шлифовке компонентов, требующих максимальной точности. Когда требования к допуску на чистоту поверхности чрезвычайно жесткие и простых методов шлифования недостаточно, у нас есть возможность улучшить чистоту поверхности детали с помощью расширенных услуг хонингования, притирки и суперфиниширования .
Хонингование, доводка и суперфиниширование: в чем разница?
Суперфинишная чистовая обработка, притирка и хонингование — это три метода доводки, применяемые в металлообработке; эти методы сглаживают внешнюю поверхность металла и улучшают геометрию прецизионных компонентов. Хотя эти три процесса похожи, каждый имеет уникальную методологию, выполнение и результат.
Хонингование
Хонингование — это процесс чистовой обработки, используемый для улучшения геометрии детали, корректировки совмещения таких элементов, как отверстия или отверстия, и получения более тонкой обработки поверхности.В процессе хонингования небольшой абразивный камень на связке или суперабразивный стержень вращается по поверхности детали по контролируемой траектории. Хонинговальные бруски состоят из абразивного зерна, скрепленного клеем. Хонингование — это высокоточный процесс, который используется для улучшения определенных характеристик формы, таких как цилиндричность, чистота поверхности или сферичность.
Притирка
Притирка — это процесс обработки, используемый для получения суперплоских поверхностей и невероятно жестких допусков на деталях, требующих точности на микроскопическом уровне.Процесс притирки включает пропускание части между одной или двумя большими плоскими пластинами или плитами в жидкости-носителе, содержащей абразив. Притирка более щадящая, чем суперфинишная обработка и хонингование, и удаляет гораздо меньше материала с поверхности. Благодаря притирке Duval может создавать суперплоские полированные поверхности. Процессы притирки будут генерировать от одной до трех световых полос гелия (HLB) с плоскостностью поверхности.
Суперфиниш
Superfinishing используется для улучшения чистоты поверхности детали для получения очень тонкой поверхности с исключительно низким средним значением шероховатости (RA).Мелкозернистый абразивный камень или лента вращается над компонентом, в то время как компонент одновременно вращается в противоположном направлении. Этот процесс удаляет аморфный поверхностный слой, оставшийся после последнего процесса шлифования, и оставляет узнаваемый узор штриховки. Суперфиниширование увеличивает срок службы детали за счет уменьшения износа. Это также может быть выполнено для достижения более жестких допусков и лучших герметизирующих свойств. Суперфиниширование обеспечит предсказуемую, повторяемую чистоту поверхности, поскольку удаляет любые дефекты, оставшиеся после начального фрезерования, токарной обработки или шлифования.Когда детали обрабатываются методом суперфиниширования, их RA на профилометре будет меньше двух.
Определение качества поверхности зависит от точных методов измерения
Duval обеспечивает точность любого процесса отделки поверхности, измеряя плоскостность и шероховатость поверхности после отделки. Существует множество методов, которые можно использовать для измерения плоскостности поверхности; Дюваль использует самый передовой из доступных методов измерения. В этом методе используются монохроматический источник света и оптическая плоскость.
Когда два монохроматических (т. Е. С одной длиной волны) источника света интерферируют друг с другом, свет кажется невидимым, а отражающая поверхность становится черной. Для этого метода измерения Дюваль использует газообразный гелиевый источник света с длиной волны около 0,6 мкм или 0,000023 дюйма. Точно отшлифованный и отполированный кусок стекла оптического качества, плоско притертый, по крайней мере, с одной стороны, помещается на предмет, который нужно измерить. Затем свет направляется на деталь и отражается от нее через оптическую плоскость; это вызывает помехи в световых полосах.
Если расстояние между оптической плоскостью и измеряемой деталью является четным, кратным длине волны источника света (например, половине), полоса будет черной. Это расстояние называется световой полосой гелия и должно составлять 0,3 микрона, или 0,0000116 ″. С допусками точности в эти жесткие и сложные уплотнения между деталями не могут проникнуть твердые частицы, если только уплотнение не открыто.
Надежные результаты
Инженеры Duval Precision Grinding понимают, что производимые ими прецизионные компоненты будут использоваться в самом передовом оборудовании в мире.Эти мощные машины нуждаются в абсолютных, надежных и высококачественных компонентах, чтобы работать в соответствии со спецификациями. Один небольшой дефект может иметь катастрофические последствия.
Когда мы говорим, что точность — это наш единственный продукт , мы серьезно относимся к этому обязательству. Когда вам нужны сверхплоские детали до микроскопического уровня, мы всегда можем обеспечить точные результаты, которые будут соответствовать или превосходить ваши ожидания. Не соглашайтесь на плохую отделку поверхности; свяжитесь со специалистами Duval сегодня.
В чем разница между хонингованием и вальцеванием?
Гидравлические клапаны, поршневые насосы и цилиндры требуют более плотной посадки между поршнем или золотником и отверстием для уменьшения внутренней утечки. Компоненты также нуждаются в прецизионной обработке поверхности для обеспечения высокой производительности и длительного срока службы уплотнения.
Это по словам Фила Ханна, менеджера по продукции для машин / средств измерения в Sunnen Products, Сент-Луис. Ханна представила эти наблюдения в презентации «Чистовая обработка отверстий для гидравлических компонентов» в рамках виртуальной июньской региональной конференции NFPA / FPIC, которая была посвящена совершенствованию гидравлических систем с помощью прецизионного производства.
По словам Ханна, инженерымогут достичь проектных целей, используя несколько различных методов чистовой обработки отверстий, и все они являются вспомогательными операциями обработки. К ним относятся хонингование; зуботочение и вальцевание.
Хонингование — это процесс вторичной абразивной обработки, который следует за созданием отверстия для улучшения геометрии и поверхности отверстия, пояснил он. Хонингование — эффективная альтернатива внутреннему шлифованию, прецизионному и твердому точению, а также развёртыванию. Он может исправить множество нежелательных условий, таких как овальные, волнистые, конические или заниженные отверстия, а также остаточные следы развертки.Но хонингование не может изменить осевую линию детали.
Типичные возможности хонингования включают диаметры от 1,52 до 1524 мм (от 0,060 до 60 дюймов) с длиной отверстия до 14,5 м (47 футов) или более. И этот процесс подходит для широкого диапазона материалов, от стали, алюминия и титана до карбида, стекла, керамики и пластмасс.
Хонингование позволяет получить точную отделку поверхности. Он может контролировать размер до 1,27 мкм (0,000050 дюйма), геометрические допуски на круглость, прямолинейность и цилиндричность ≤ 2.03 мкм (0,000080 дюйма), а такие характеристики поверхности имеют Ra до 0,05 мкм (2 мкм) и Rz до 0,4 мкм (16 мкм). Угол штриховки может составлять от 20 ° до 120 ° включительно, ± 1 °. Обычно требуемые характеристики поверхности соответствуют рекомендациям производителей уплотнений в гидравлических системах.
Сам процесс может включать однопроходные или многоходовые операции. В процессе многоходового хонингования инструмент или деталь должны плавать. Инструмент вращается, и он или деталь движется вперед и назад.В одноходовом процессе инструмент вращается и проталкивается через отверстие. Для этого может потребоваться ряд инструментов, в зависимости от требований к съему материала, геометрии и чистоте поверхности.
Multi-тактное хонингование производит сетчатую текстуру поверхности с хорошей несущей поверхностью и удержанием масла. За один проход создается плотный спиральный узор текстуры поверхности. Успешная реализация также требует надлежащего крепления, инструментов, абразивов и смазочно-охлаждающей жидкости в дополнение к базовой машине. Инструмент работает вместе с абразивами и смазочно-охлаждающими жидкостями, которых много.Sunnen, например, предлагает около 7250 различных деталей инструментов, 21 000 абразивов и 19 различных охлаждающих / смазочных материалов.
Зачистка и полировка роликов Процессы были разработаны в 1970-х годах как альтернатива хонингованию труб для гидроцилиндров. По словам Ханна, это чрезвычайно быстрый процесс по сравнению с хонингованием, примерно на 70-80% быстрее.
Он способен выдерживать допуски на диаметр отверстия до 0,025 мм (0,001 дюйма). Необходимое оборудование требует больших предварительных вложений, что делает его пригодным для производства труб большого объема.
Зачистка и вальцовка, как следует из названия, фактически включают два процесса в одном инструменте. Конец трубы зажимается в станке, и инструмент продвигается внутрь. Охлаждающая жидкость прокачивается через внутренний диаметр трубки, обтекает инструмент и выталкивает стружку из передней части трубки во время работы.
Первая часть инструмента содержит твердосплавные фрезы, которые вращаются и продвигаются в осевом направлении для удаления материала. В этом разделе выполняется зуботочение. Вторая часть инструмента содержит закаленные ролики, которые деформируют выступы, возникающие в результате затачивания, и обеспечивают чрезвычайно гладкую поверхность, таким образом, полируя ролики.
Этот процесс обеспечивает очень чистую обработку поверхности, например Ra = 0,05–0,20 мкм. В то время как роликовое полирование дает зеркальный результат, однако, нет точного контроля качества поверхности.
Кроме того, полировка создает слой остаточных напряжений в стенке цилиндра, что увеличивает усталостную долговечность. В стальных трубах твердость поверхности увеличивается примерно на 50%.
«Сегодня для крупносерийного производства гидроцилиндров предпочтительным процессом является затачивание и шлифовка роликов», — сказал Ханна.Хонингование, безусловно, по-прежнему является жизнеспособной альтернативой для небольших объемов работ. Производители цилиндров нередко используют несколько ножей и один или два хонуса, в зависимости от требований к производительности. Хонингование также хорошо подходит для небольших нестандартных работ, таких как ремонт или восстановление.
Sunnen
www.sunnen.com
Детали для хонингования и притирки прецизионной токарной обработки
Примерно 30% компонентов, которые Pioneer Service производит для наших клиентов, требуют шлифовки после процесса обработки. Стандартное шлифование (как бесцентровое, так и центрированное) позволяет получить более тонкую поверхность и / или более точные размеры, чем это может быть достигнуто в процессе токарной обработки на швейцарском токарном центре с ЧПУ или токарном центре с ЧПУ.
Кроме того, существует два типа услуг специального шлифования, которые используются для чистовой обработки внутреннего диаметра (внутреннего диаметра), специфической детали (конусы, пазы, лыски, отверстия), а также чрезвычайно тонкой чистовой обработки и требований жестких допусков на внешний диаметр (внешний диаметр). Эти процессы хонинговальные и доводочные.
В чем разница между хонингованием и притиркой?
При стандартном шлифовании круг с разным уровнем зерен (острые частицы) вращается против поверхности обрабатываемой детали. Материал с компонента удаляется во время процесса для достижения определенной отделки или размера.
Хонингование и притирка больше похожи на процессы полировки, чем на шлифование. Во время процесса удаляется гораздо меньше материала, но поверхность детали достигает исключительно тонкой отделки или жестких допусков по размерам.Они часто указываются, когда приложение требует плотной посадки между сопрягаемыми частями, что является обычным явлением в аэрокосмической и медицинской промышленности.
Фото: Позиция (1) показывает идентификатор, который прошел процесс хонингования для полировки. Позиция (2) показывает токарную деталь со стандартной обработкой внутреннего диаметра.
Технически притирка выполняется по внешнему диаметру детали. Хонингование используется, когда детали требуют чистовой обработки отверстия, просверленного отверстия или внутреннего диаметра трубы. Однако эти термины обычно используются как синонимы, что создает некоторую путаницу.
Нужно ли мне использовать хонингование или притирку?
В процессе хонингования камень (называемый хонингованием) с заданной степенью зернистости вращается против детали с контролируемым давлением и по определенной схеме. Притирка заключается в перемещении компонента мимо неподвижных пластин, обработанных шлифовальной пастой. Визуально притирка обычно дает матовое покрытие, а хонингование — зеркальное.
Существует множество типов оборудования, используемого для выполнения требований хонингования и притирки, в зависимости от характеристик компонентов:
- Плоский (для достижения заданных требований к плоскостности и параллельности)
- Цилиндрический (для поверхностей как с внутренним, так и с наружным диаметром для достижения заданного размера, прямолинейности, округлости, соосности и микроволокнистости)
- Конус (для конических поверхностей с внутренним и внешним диаметром)
- Отверстия и прорези (как с открытым, так и с закрытым концом) можно отшлифовать для достижения требуемой чистовой обработки
- Зенковка (для достижения заданной прямолинейности или микроволокнистости)
- Двойная поверхность (одновременное получение гладкой и текстурированной поверхности (так называемое хонингование)
Многие из этих процессов автоматизированы, но иногда небольшие партии выполняются вручную.
Хотя оборудование Pioneer Service не настроено для хонингования или притирки, у нас есть ряд звездных партнеров, с которыми мы можем выполнить эту работу в исключительных случаях. У вас есть проект, который вы хотите, чтобы мы рассмотрели или процитировали? Свяжитесь с нами !
Шлифовка | Хонингование | Ardel Engineering
Наши возможности хонингования включают хонингование труб, блоков, форм или сложных форм из металла, пластика, керамики или композитных материалов. Во время процесса хонингования хонинговальные бруски используются для шлифования поверхности детали, удаления дефектов и создания более гладкой и ровной поверхности.В случае цилиндрических компонентов можно использовать процессы хонингования для создания более правильной поверхности, улучшая округлость внутреннего диаметра. Характерная штриховка, оставшаяся на металлической поверхности после хонингования, также очень желательна для удержания смазочных материалов на жидкой основе в механических применениях. Из-за простоты инструмента и способности инструмента улучшить округлость детали, во многих случаях хонингование является более быстрым и точным вариантом, чем внутреннее шлифование или твердое точение.
Однако есть еще много деталей, для которых требуется процесс шлифования, чтобы обеспечить желаемую чистоту поверхности и уровень точности. Наши возможности шлифования включают бесцентровое, контурное, коническое и мокрое шлифование, и это лишь некоторые из них. Бесцентровое шлифование — очень полезный и часто неправильно понимаемый процесс шлифования. При бесцентровом шлифовании внешний диаметр детали шлифуется без ограничения заготовки. При правильной настройке бесцентровое шлифование можно использовать не только для улучшения качества поверхности, но и для улучшения округлости детали по внешнему диаметру.Хотя бесцентровое шлифование — это повторяемый и высокоточный процесс, для него требуется опытный оператор, чтобы убедиться, что оборудование и деталь настроены для достижения оптимального результата.
Сложные процессы шлифования, такие как контурное шлифование и шлифование конусов, требуют большого опыта и знаний в области обработки. Эти процессы можно использовать для завершения множества типов небольших проектов, таких как прототипы, приспособления и инструменты. Мы можем обеспечить чистоту поверхности на уровне 0–2 среднеквадратичного значения для сложных деталей, и неоднократно удивляли клиентов качеством изготовления, которое мы можем предоставить.Наша приверженность качеству подтверждается не только нашей сертификацией ISO 9001: 2015, но и нашей сильной базой постоянных клиентов. Большая часть работы с прототипами может быть выполнена всего за две-три недели, а производственные работы обычно требуют от четырех до шести недель. Экстренные заказы могут быть выполнены по запросу в соответствии с потребностями клиентов. Для получения дополнительной информации о наших возможностях точного шлифования свяжитесь с нами напрямую.
- Шлифовально-хонинговальное оборудование
- 1 Хонинговальный удлинитель Sunnen ML-4000 Power Stroker Hone
- 1 Sunnen Power Stroker Hone — Автоматический калибровщик
- 2 внешних Myford, 5 «x 12», 25 000 об / мин, 2 л.с.
- 1 плоскошлифовальный станок, 10 x 18 дюймов, 1740 об / мин, 1 л.с.
- 1 TDG Tru-Point Инструментальный шлифовальный станок
- 1 Шлифовальный станок Pratt & Whitney
- 1 Полировальная машинка Hardinge Super Precision
- Поверхность
- 0-2 RMS
- Доступное время выполнения
- Прототип 2–3 недели (типично)
Производство составляет 4–6 недель (типично)
Расчетная стоимость по каждой работе
Доступны экстренные службы
Доступны срочные услуги
Новый процесс хонингования обеспечивает высокую точность производства
Компания Саннен Продактс (г.Louis, MO) представляет собой качественное улучшение ключевого процесса производства чугунных корпусов гидравлических клапанов с использованием прецизионного процесса Single Stroke Honing ® , который обеспечивает цилиндричность / прямолинейность менее 2 микрон в отверстиях, которые в 10 раз превышают диаметр.
Разработанный в Европе для удовлетворения требований к герметичности гидравлических систем высокого давления, процесс высокоточного одноходового хонингования почти на 200 процентов точнее, чем что-либо ранее достижимое для длинных тандемных отверстий малого диаметра.
«Европейские гидравлические системы мобильного оборудования устанавливают эту спецификацию цилиндричности для уменьшения внутренних утечек и достижения более высоких характеристик клапана», — сказал Юрг Хубер, управляющий директор Sunnen AG. «Точная посадка между золотником скольжения и корпусом клапана обеспечивает внутреннее уплотнение в этой области. Прецизионная цилиндричность и прямолинейность в этом отверстии обеспечивает равномерный зазор между движущимися частями клапана сверху вниз, обеспечивая свободное движение золотника без утечки вокруг него.”
Хонингование с одним ходом — это однопроходный процесс, при котором размер и чистовая обработка отверстия выполняется с помощью ряда суперабразивных инструментов все большего размера, подогнанных под заданный диаметр. Хонинговальные инструменты с одним ходом вращаются, проходя через отверстие один раз, а затем удаляясь. Система хода машины с сервоуправлением обеспечивает гибкость с регулируемой скоростью и различными профилями подачи, такими как клевка, короткий ход, задержка и т. Д. Подачу колонны и скорость шпинделя можно изменять в течение всего цикла с помощью управления машиной.
Вот веб-семинар, представленный Бобом Долдером, старшим инженером по продажам и прикладным программам Sunnen, который обсуждает хонингование деталей двигателя.
Хонинговальный инструмент Single Stroke Honing состоит из конической оправки с присоединенной к ней расширяемой алмазной абразивной втулкой. Внешний профиль рукава рассчитан на конкретное применение. Однопроходное хонингование идеально подходит для деталей со сплошным отверстием с L / D (длина / диаметр) от 1 до 1 или меньше. Детали с гораздо большим отношением длины к диаметру отверстия можно при определенных обстоятельствах затачивать.Отверстия с прерывистыми отверстиями позволяют лучше отводить стружку и снижают нагрузку на абразивную втулку. В случае корпусов клапанов из чугуна отношение длины отверстия к диаметру 10 или более может быть с большим успехом хонинговано за один проход.
«Однопроходное хонингование — это стабильный высокопроизводительный процесс, позволяющий достичь цилиндричности в один микрон в коротком отверстии — с L / D меньше единицы — при условии, что деталь имеет достаточно жесткую стенку», — пояснил Хубер. «Однако с увеличением длины отверстия становится все труднее добиться хорошей прямолинейности и цилиндричности.Среди других причин, калибровочная поверхность хонинговального инструмента имеет тенденцию следовать за отверстием. Для корпусов клапанов из чугуна с L / D 10 стандартный процесс обычно обеспечивает цилиндричность 5 микрон при оптимальных условиях. При высокоточном хонинговании одним ходом достигается цилиндричность до двух микрон или меньше. При сроке службы инструмента от 60 000 до 80 000 деталей этот процесс является экономичным. Типичная деталь, подходящая для этого процесса, может иметь отверстие 16 мм, длину более 160 мм и 11 пазов. Детали этого типа теперь можно отшлифовать до цилиндричности менее двух микрон, прямолинейности менее двух микрон и круглости 1 микрон.”
Высокоточный процесс одиночного хода использует комбинацию запатентованной обработки инструмента, удержания инструмента, фиксации заготовки и параметров процесса без каких-либо потерь времени цикла. Он уже используется производителями гидравлических клапанов в Турции, Италии, Германии, Швейцарии, Бразилии, Швеции и США
.Sunnen предлагает хонинговальный станок с одним ходом для трех различных моделей серии VSS-2, которые включают до шести шпинделей для постепенного изменения размера и чистовой обработки отверстий в деталях.Машины идеально подходят для точного определения размеров отверстий диаметром от 3,9 до 50 мм (от 0,149 до 2,0 дюймов) в штампованных деталях, корпусах гидравлических клапанов, шестернях и звездочках, стояночных собачках, коромыслах, корпусах турбонагнетателей и подобных деталях. Идеальные материалы включают чугун, порошковые металлы, керамику, стекло, графит и другие свободно режущиеся материалы.
VSS-2 имеет самую точную центровку шпинделя в отрасли в сочетании с гибкими и простыми в использовании элементами управления. Шпиндели выравниваются на заводе независимо друг от друга для точного центрирования над инструментальной пластиной для получения лучшей геометрии отверстия, чем это возможно при использовании «среднего» выравнивания для всех шпинделей.
В VSS-2 используется каретка шпинделя с ходом 724 мм (28,5 дюйма) и скоростью хода до 105 мм / с (250 дюймов / мин), что обеспечивает повышенную гибкость при работе с широким спектром комбинаций деталей и инструментов. Система хода с сервоприводом обеспечивает гибкость процесса и управляется ручным колесом для быстрой настройки.
Управление с помощью сенсорного экрана с помощью меню позволяет легко изменять подачу колонны и скорость шпинделя в течение всего цикла. Гибкость процесса повышается за счет использования шести доступных профилей, включая клевание, короткий ход и задержку, которые легко добавляются в установку.Можно сохранить более 100 настроек. Дополнительные входы / выходы и память являются стандартными для интеграции со вспомогательным оборудованием, таким как роботы или загрузчики деталей.
VSS-2 Series 2 доступен в трех моделях — 84 (восемь станций, четыре шпинделя), 86 (восемь станций, 6 шпинделей) и 64 (шесть станций, четыре шпинделя) — для удовлетворить различные производственные потребности среднего и высокого уровня. Расстояние между шпинделями составляет 190 мм (7,48 дюйма). Привод шпинделя мощностью 7,5 кВт (10 л.с.) обеспечивает диапазон скоростей от 100 до 2500 об / мин.
При правильном применении хонингование одним ходом представляет собой быстрый и экономичный метод получения точного размера отверстия, геометрии и качества поверхности.Детали из чугуна, порошковых металлов, керамики, стекла, графита и других материалов, не требующих резки, идеально подходят для этого процесса. Размер однопроходного отверстия также подходит для шлицевых отверстий или длинного отношения L / D, если имеются поперечные отверстия или другие прерывания, позволяющие смывать стружку.

