Как сделать подогрев сидений на автомобиле? |

Приветствую Вас на блоге kuzov.info!
В этой статье разберёмся, как сделать подогрев сидений на автомобиле. Рассмотрим какие бывают комплекты для установки подогрева сидений, их преимущества и недостатки. Это поможет определиться, какой комплект лучше выбрать для своей машины. Здесь подробно описан принцип работы подогрева сидений, процесс установки и подключения нагревательных элементов, даны советы по правильной эксплуатации.
Подогрев сидений является хорошим дополнением автомобиля, увеличивающим комфорт, и устанавливается на дорогие автомобили или на любые модели, как дополнительная опция. Если подогрева сидений нет в комплектации транспортного средства, комплект для установки подогрева можно приобрести отдельно. Это может быть как мягкая подложка с нагревательными элементами внутри, которая устанавливается поверх обивки сидения и подключается к прикуривателю, так и комплект для установки под обивку сидений. В этой статье мы будем рассматривать, как сделать подогрев сидений при помощи комплекта, который устанавливается под любую обивку сидений (искусственную, натуральную кожу или текстиль). Это очень тонкие нагревательные элементы, около 1.5 мм толщиной, которые никак не ощущаются, пока не включены.
Содержание статьи:
Эта статья имеет общий характер и пригодится как инструкция для установки подогрева сидений на любую машину. В описании к установочному комплекту Вы можете прочитать, что он предназначен для профессиональной установки опытным специалистом. Однако, процесс установки доступен и простому автолюбителю. Важно внимательно изучить информацию, приведённую в данной статье и делать всё последовательно и аккуратно. На это может уйти как несколько часов, так и два выходных, в зависимости от умений и расторопности установщика.
Какие типы подогрева сидений бывают?
Существует 2 типа комплектов для нагрева сидений: с медным нагревательным элементом и нагревательным элементом из карбонового волокна (углеволокно/карбоновая нить).
Наборы для подогрева сидений могут быть в версии для питания 12V и 24V.
Комплект подогрева сидений с медным проволочным нагревательным элементом
Подогрев сидений с медным нагревательным элементом представляет собой одну длинную зигзагообразную проволоку, где один конец имеет позитивную полярность, а другой конец имеет негативную полярность, подобно нити накаливания в лампочке, которая также нагревается.
Подогрев сидений с медным нагревательным элементом имеет следующие преимущества:
- Медный нагревательный элемент быстро нагревается.
- Подогрев сидений с медным проволочным нагревательным элементом достигает более высокой температуры, чем карбоновый.
Недостатки подогрева с медным нагревательным элементом:
- Недостаток заключается в том, что циклы быстрого нагрева и охлаждения истончают проволоку и, в конце концов, она перегорит.
- Так как медный проволочный нагревательный элемент нельзя отрезать, чтобы приспособить подогрев для любого сидения, то нет универсальных комплектов, подходящих для всех автомобилей. Продаются разные наборы с медным нагревательным элементом для конкретных моделей автомобилей, либо для конкретных размеров сидений. Если собираетесь устанавливать набор для подогрева сидений с проволочным нагревательным элементом, то он должен быть предназначен специально для вашей модели автомобиля (чтобы подходить по размеру), либо быть меньшего размера, чем сидения автомобиля.
Набор для нагрева сидений с нагревательным элементом из карбонового волокна (углеволокно/карбоновая нить)
Нагревательный элемент из карбонового волокна (углеволокна) представляет собой сотовую структуру. Электроды (позитивный и негативный) располагаются по краям подкладки подогрева, ячейки из карбоновой нити располагаются между этими электродами.
Наборы с карбоновым нагревательным элементом имеют множество преимуществ:
- Нагревательный элемент такого подогрева представляет собой карбоновую (углеволоконную) нить, которая намного прочнее медной проволоки.
- Сотовая структура делает очень надёжной нагревающую подложку. Повреждение отдельной ячейки не выводит из строя работоспособность всего подогрева.
- Нагревательные элементы в виде карбоновой нити можно подрезать ножницами, чтобы уменьшить размер и подогнать его под конкретное сидение. Это делает комплект для подогрева сидений с карбоновым нагревательным элементом универсальным.
Недостатки наборов с карбоновым нагревательным элементом:
- Карбоновая нить требует больше времени для нагрева (около 1–2 минут дольше, чем у нагревательного элемента из медной проволоки).
- Карбоновый нагревательный элемент нагревается до более низкой температуры (около 5 градусов ниже, чем медный нагревательный элемент).
- Подогрев с карбоновой нитью достигает наибольшей температуры в 50–57 градусов, а наименьшей 43–51 градус по Цельсию, что немного ниже, чем медный проволочный элемент.
Как видно из перечисленных преимуществ и недостатков, подогрев сидений с карбоновым нагревательным элементом более предпочтителен, так как является универсальным и надёжным вариантом. Кроме универсальных комплектов, в продаже можно найти комплект подогрева сидений конкретно для вашего автомобиля. Он будет полностью подходить под конфигурацию сидений вашей машины, и иметь подробную инструкцию подключения к вашему транспортному средству. Универсальный комплект может понадобиться приспосабливать по месту, подрезая подкладку с нагревательными элементами.
Как работает подогрев сидений?
[adsp-pro‑3]
- Технология, по которой функционирует подогрев сидений не слишком сложная. Подогрев сидений работает за счёт того, что нагревательные элементы располагаются под обивкой сидения автомобиля. Через нагревательный элемент пропускается электричество. Нагревательный элемент можно рассматривать как резистор, потому что электричество, протекая через него, получает сопротивление и производит нагрев.
- Как и большое количество систем в машине, подогрев сидений запускается при помощи релейного переключателя. Релейный переключатель является относительно простым механическим триггером, который позволяет устройству начать получать питание. Реле позволяет электричеству переключать электросхемы от меньшего количества мощности к большему.
- Термостат входит в состав подогрева сидений, как мера предосторожности против перегрева. Если нет термостата, то после запуска нагревательный элемент будет продолжать нагреваться беспредельно. Это приведёт к перегреву, который может вызвать пожар, травмы или повреждение автомобиля. В качестве меры предосторожности термостат служит ограничителем нагрева. Как только нагрев достигает температуры, настроенной на термостате, питание реле отключается, пока сидения не охладятся до определённой температуры. Термостат контролирует как превышение, так и понижение нагрева. Блок управления в виде переключателя режимов как раз управляет настройками термостата.
В комплект входит
- Подкладки с нагревательными элементы для двух передних сидений (нижней части и спинки), проводкой и переключателями.
- Проводка включает в себя термостатический регулятор, держатель предохранителя с 12v предохранителем, а также реле.
- Стяжки и липкая лента.
- В наборе обычно есть всё необходимо для стандартной установки комплекта подогрева сидений. Если потребуются какие-либо электрические элементы (соединительные коннекторы, гофра и пр.) их можно докупить.
Какие инструменты потребуются:
- Крестовая и плоская отвёртка
- Ключ-трещётка с головкой для демонтажа сидений
- Клещи для снятия изоляции
- Обжимные щипцы
- Кусачки или ножницы по металлу (для срезания колец крепящих обивку).
- Нож с лезвиями или ножницы
- дрель со ступенчатым сверлом
- паяльник с припоем и паяльной пастой
- маркер
- ножницы
- мультиметр, 12V электрический тестер с лампочкой.
На фотографии универсальный комплект подогрева сидений с карбоновыми нагревательными элементами в виде ячеистой структуры. Такие наборы продаются как на Aliexpress, так и в других интернет и off-line магазинах.Дополнительные аксессуары и наборы для установки не требуются для большинства установок, но используются профессиональными установщиками.
Подготовка к установке подогрева сидений
Первым делом отключите аккумулятор и дайте машине постоять 10–20 минут, чтобы система SRS могла полностью разрядиться. После того, как были отключены разъёмы, относящиеся к подушкам безопасности (системе SRS), аккумулятор нельзя снова подключать до того, пока Вы снова не включите все компоненты системы SRS, иначе возникнет ошибка.
На автомобилях с сидениями, имеющими боковые подушки безопасности нужно соблюдать определённую процедуру перед снятием сидений, чтобы избежать появления ошибки (может работать не на всех автомобилях):
- Выключите машину и оставьте ключ в зажигании в выключенном состоянии.
- Отсоедините минусовую клемму аккумулятора и изолируйте её тряпкой или полиэтиленовым пакетом, чтобы она случайно снова не соединилась. Вы должны подождать минимум 5 минут перед переходом к следующему шагу.
- Снимите сидения, отключите подушки безопасности, ремни безопасности, коннекторы питания электропривода сидений. Не включайте зажигание, пока сидение снято и все коннекторы отключены.
- Когда сидение установлено и прикручено на место и все коннекторы подключены (ключ должен быть в зажигании в позиции off), подключите минусовой провод к аккумулятору.
Если сидения имеют боковые подушки безопасности, то перед снятием сидений нужно отключить минусовую клемму аккумулятора, чтобы избежать появление ошибки.
Итак, давайте сначала рассмотрим краткую инструкцию по установке, после чего подробно разберём каждый пункт.
Инструкция по установке:
Отсоедините минусовую клемму аккумулятора.
- Демонтируйте сидения из салона.
- Снимите обивку.
- Поместите подкладку с нагревательными элементами на спинку и сидение.
- Идентифицируйте ресурс питания, который способен предоставить непрерывные 10 ампер тока. После того, как определитесь с ресурсом питания, проведите проводку до этого ресурса.
- Найдите подходящее место для расположения переключателя. В желаемом месте просверлите отверстие и протяните через отверстие коннектор, потом подключите его к переключателю и прикрепите его.
- Поставьте сидения на место в салон и прикрутите. Подключите все коннекторы под сидением, вместе с новым коннектором для подогрева.
- Подключите аккумулятор и включите зажигание.
- Проверьте подогрев на всех режимах.
Снятие сидений
[adsp-pro‑3]
Отсоедините клемму аккумулятора перед отключением сидения. Иначе загорится ошибка подушки безопасности (если она есть в сидении). Отсоедините питание от сидения в последнюю очередь.
Сидение крепится к полу автомобиля 4 болтами по 14 мм. Задние болты закрыты пластиковой облицовкой.
Пластик нужно убрать и открутить болты.



Для облегчения снятия сидений, снимите подголовники, ремни безопасности и всё, что мешает снятию сидений.
Снятое сидение достаточно легко высунуть из салона. Начните его вытаскивать со спинки. Будьте осторожны, так как металлические полозья имеют острые углы, которые могут повредить пластик. Сидение лучше поставить на какую-то возвышенность (скамью или стол), чтобы было удобнее с ним работать. Подстелите или подложите что-нибудь под сидение, так как металлические полозья могут повредить поверхность. Снимите все боковые пластиковые кожухи.
Снятие обивки сидений
Для возможности установки подогревателя сидения нужно получить доступ под обивку сидения и его спинки. Для начала снятия обивки с сидения, нужно удалить все металлические кольца (hog rings), которые держат обивку. Начните с нижней обратной стороны сидения. Переверните сидение для лучшего доступа и начните отрезать кольца кусачками.
Руководство по эксплуатации, которое можно купить или скачать в Интернете может пригодиться при разборе. Сервисная инструкция может содержать информацию о разборе сидения (снятие обивки), расположение всех креплений.

При разборе сидения фотографируйте, прежде чем что-то снять, чтобы потом, при сборке, можно было посмотреть фотографию, как подсказку.
Когда края обивки освободились, поднимите край обивки, чтобы получить доступ под обивку и начните срезать крепления (кольца), которые крепят центральную часть обивки. Вместо колец-креплений можно будет использовать маленькие стяжки. Почистите поверхность мягкой части сидения, так как подогрев будет приклеиваться к сидению.
Спинка сидения может иметь 2 кронштейна для крепления подголовника. Их снимать не нужно, так как они не помешают установки подогрева. Они, к тому же, могут сломаться при снятии.
Установка нагревательных элементов
- Процесс установки на водительское и на пассажирское сидение одинаковый, за исключением одной особенности, которую мы рассмотрим ниже.
- После установки подогрева сидений, единственной видимой вещью должен быть переключатель режимов подогрева.
- Подкладка с подогревом помещается между обивкой сидения и мягкой частью сидения.
- Для долговечности и надёжности работы нагревательных элементов важно, чтобы они были расположены правильно. Нагревательные элементы можно располагать только в середине сидения. Они не должны заходить на боковую поддержку. Нагревательные элементы должны быть установлены без складок.
- Подкладки можно немного подрезать в длину (край противоположный краю с проводкой), чтобы они хорошо подходили по месту. Изолируйте край, используя липкую ленту, входящую в комплект. Нельзя подрезать подкладку с подогревом в ширину слишком много. Можно увидеть, как просвечивает длинная проволока вдоль краёв – её нельзя резать. Допускается немного подрезать края до этой проволоки. Это бывает нужно сделать, чтобы нагревательные элементы не контактировали с боковыми швами.

- Поместите нагревательный элемент, предназначенный для сидения и выровняйте его на мягкой части сидения. Маркером пометьте расположение мест крепления обивки (колец или других). Ножницами вырежьте отверстия в подкладке подогрева под эти крепления. Вырежьте несколько полосок ленты и покройте оголённые концы нагревательных элементов вокруг отверстия.
Подкладка с нагревательными элементами имеет двустороннюю липкую ленту для крепления под обивкой, на мягкой части сидения.- Если на сидении есть углублённые каналы, то в них нельзя проталкивать нагревательный элемент. Нужно вырезать для них подкладку подогрева в местах, где располагаются нагревательные элементы, предварительно пометив эти места маркером. После этого, оголённые края нагревательного элемента нужно изолировать, наклеив ленту из комплекта.
- Никогда не режьте отверстия в области, покрытой липкой лентой. Области с липкой лентой должны быть приклеены только на ровную поверхность сидения.
- Нагревательный элемент не должен касаться любых токопроводящих поверхностей (металлических колец – креплений обивки, рамы сидения), чтобы не возникло короткого замыкания.
- Старые, классические крепления представляют собой металлические кольца, а новые, более современные – крепления Velcro. Для старых креплений – наклейте входящие в набор липкую ленту вокруг стержня, чтобы его изолировать. Крепления Velcro (липучка) может быть пришита на подкладку с нагревательными элементами. Таким образом, не понадобится резать нагревательные элементы под этот тип креплений.
- Мягкая подложка сидения должна быть чистой перед установкой подогрева.
- Снимите защитный слой с обратной стороны липкой части подкладки с подогревом и аккуратно приложите к сидению в нужное положение. Прочность клеевого соединения подогрева достигается при приложении достаточного давления. Нагревательный элемент нельзя отделять и переставлять после приклеивания.
Универсальные нагревательные элементы нужно вырезать в местах крепления обивки. Оголённые края нужно заклеить липкой лентой, входящей в комплект установки.- Пассажирское сидение может иметь сенсор, который реагирует на вес пассажира, чтобы задействовать или отключить подушки безопасности со стороны пассажира при аварии (Occupant Detection System — система определения нахождения пассажира). После снятия обивки сидения, нужно определить есть ли сенсоры, расположенные поверх сидения. Toyota, Kia и Hyundai обычно располагают датчики на поверхности сидений (нижней части). Honda обычно располагает сенсоры на спинке сидения. Поверх этого сенсора нельзя устанавливать подогрев. В этом случае можно установить подогрев только на часть сидения, где нет сенсора (спинку или наоборот только сидение). Также делают на заводе. Когда Вы покупаете автомобиль Toyota с таким сенсором, то с завода он имеет подогрев только спинки пассажирского сидения. Когда Вы приобретаете Honda, то с завода он имеет подогрев только сидения, а спинка не подогревается (так как сенсор расположен на спинке).
- Возможно, нужно будет вырезать ножом в мягкой части сидения канал для температурного контроллера и провода, чтобы он был не заметен после установки и сборки сидения.
Подключение проводки подогрева сидений
[adsp-pro‑1]
- Удобнее будет провести проводку от сидений к источнику питания, когда сидения сняты и находятся вне салона.
- Проводка должна иметь запас длины и быть протянута так, чтобы можно было изменять положение сидения без каких-либо сложностей. Кабель не должен касаться острых краёв, сгибаться или натягиваться, во избежание повреждения.
- Подумайте, куда можно спрятать проводку от подогрева. Самые подходящие места – под центральную консоль, которая расположена между передними сидениями, под ковровым покрытием, с краю от места под ноги, либо в месте, где расположен порог.
- Изучите схему подключения подогрева, которая есть в инструкции, а также схему проводки вашего автомобиля. Вам нужно питание для подогрева сидений, которое будет полностью выключаться, когда ключ зажигания извлечён.
Упрощённая схема подключения подогрева сидения- Плюс (обычно красный провод) может быть соединён с плюсовым питанием зажигания.
- Надёжно присоедините массу (чёрный провод) маленькой клеммой к минусу кузова (массе). Неправильное заземление может стать причиной неработоспособности подогрева.
- Выберите подходящее легкодоступное для водителя и пассажира место для установки переключателя и убедитесь, что за выключателем будет достаточно пространства под проводку и кронштейн переключателя. Это может быть сбоку сидения, спереди панели приборов или на панели, которая проходит между водительским и пассажирским сидением. Пометьте место и просверлите примерно 20 мм отверстие для установки переключателя. Отверстие должно быть не слишком маленькое или не слишком большое. Это важно для надёжного крепления переключателя. Наиболее подходящее место для переключателя – на пластиковой облицовке, расположенной с боку сидения.
Сборка и установка сидений
Для установки обивки на нижнюю часть сидения вместо срезанных колец можно использовать виниловые стяжки. Просуньте стяжки в места, где были кольца удерживающие обивку, но пока не затягивайте их. Протяните стяжки через отверстия. Начиная с задней части, соедините стяжки и затяните их немного так, чтобы они не разъединились снова. Как только все стяжки будут соединены, затяните их и отрежьте остаток. Для установки обивки на спинку, выверните обивку внутренней частью наружу и начните постепенно натягивать, раскручивая её вниз на спинку. Разборка и сборка автомобильного сидения также описывается в статье “перетяжка сидений своими руками”.
После сборки, сидения устанавливаются обратно в салон, подключаются все коннекторы, включая новый, идущий к подогреву сидений. Далее можно подсоединить минусовую клемму аккумулятора, включить зажигание и протестировать подогрев сидений.
Проверка сидений с подогревом и их эксплуатация
- В большинстве машин мощность электроснабжения достаточно высокая, чтобы запустить оба подогрева на максимум.
- Подогрев сидений нужно включать только тогда, когда кто-нибудь сидит на сидении. На некоторых подогревателях может быть установлен сенсор давления, определяющий наличие человека на сидении. Таким образом, подогрев может не работать, если на сидении никто не сидит.
- Степень нагрева сидений зависит от текущей нагрузки на электропитание автомобиля, состояния аккумулятора и зарядной системы (генератора). Это значительно влияет на время нагрева. Среднее время нагрева сидения составляет от 5 до 10 минут.
- Скорость и температура нагрева также зависит от структуры материала обивки. Более толстая обивка будет влиять на потерю тепла от подогрева. Каждый миллиметр мягкой подложки обивки увеличивает время нагрева до 15 секунд.
- Когда подогрев сидений включён, нельзя накрывать сидение изоляционными материалами (включая одеяла, коврики, пиджаки, подушки, сумки, подстилки, детские сидения и прочее).
- Сидения с подогревом нельзя мочить большим количеством воды. Небольшое увлажнение при мойке не влияет на работоспособность подогрева.
- На сидении с подогревом нельзя перевозить острые тяжёлые предметы.
- Режим “high” подогрева не предназначен для длительного использования.
- Если возникает необычный запах после включения подогрева или неравномерное распределение тепла на сидении, то нужно немедленно выключить подогрев и разобраться в причине.
- Во избежание разряда аккумулятора, избегайте длительной работы подогрева с заглушенным двигателем.
[adsp-pro‑4]
Печатать статью
Ещё интересные статьи:
kuzov.info
Тестируем нештатные обогреватели сидений — журнал За рулем
Обогреваемые сиденья пока что не стали нормой — взамен часто используют обогреваемые накидки. Но не вредно ли это?
Обогрев сидений
Сегодня подобные изделия обычно называют накидками с подогревом. Выбор довольно большой — и по цене, и по обличью.Сегодня подобные изделия обычно называют накидками с подогревом. Выбор довольно большой — и по цене, и по обличью.
Ниже представлен ряд моделей, подключаемых через штекер к гнезду 12 В. Иногда встречаются и другие варианты, рассчитанные на самоделкиных: в таких случаях требуется внедриться в потроха штатных сидений, чтобы снаружи вообще ничего не было заметно. Но о них — отдельный разговор в другой раз.
Самое главное, что следует помнить при эксплуатации таких накидок, — не забывать после поездки выдергивать штекеры из розетки. Дело в том, что не на всех машинах розетки при этом обесточиваются, а потому включенный обогреватель филейных и прочих частей организма посадит батарею довольно уверенно. Про пожары и думать не хочется.
Материалы по теме
Любопытно, что с точки зрения закона подобные изделия при желании нетрудно причислить к запрещенным. Действительно, конструкцией автомобиля они, как и любые гаджеты, не предусмотрены, а потому вся ответственность за их использование лежит на владельце машины. Здравое зерно в этом есть: если чужеродный коврик способен, к примеру, забиться под блок педалей, то почему китайской накидке не выкинуть аналогичный номер? Понятно, что на практике цепляться к этому никто не станет, но самому с собой нужно быть честным, а потому при установке постарайтесь не халтурить. Пережатый где-то провод может однажды нехорошо пошутить.
Впрочем, есть куда более интересные вопросы. И самый простой звучит так: полезен или вреден подобный подогрев?
Начнем с позитива: полезен, конечно же! Хотя бы потому, что плюхаться в ледяное кресло не очень-то приятно. А бывалые говорят, что подобное переохлаждение может привести к заболеванию почек и прочих органов, расположенных неподалеку. Кроме того, те же бывалые знают: подогрев сидений борется с такими гадостями, как радикулит и остеохондроз. А мужики, которые по ночам вскакивают с кровати, потому что «захотели пить» или «не выключили телевизор», положительно оценят подогрев и с этой стороны. А еще есть артрозы, межреберные невралгии и т.п.
Иными словами, даешь подогрев? Нет, не всегда. Не хочу никого пугать, но при подозрениях на любые опухоли про обогревы сидений лучше забыть — особенно тем, кто подолгу сидит за рулем. Кроме того, теплое место порой провоцирует воспалительные процессы, с которыми расслабленный организм перестает бороться. А еще такие неприятные слова, как лимфостаз и отечность — брр… В общем, посоветуйтес
www.zr.ru
Подогрев сидений как дополнительная опция
Дата публикации: .
Категория: Автотехника.
Автовладельцы проводят за рулем машины огромное количество времени, поэтому комфорт играет немаловажную роль. Во время заморозков сидеть на холодном кресле не самое лучшее занятие, так как штатного отопления авто не всегда хватает для полноценного прогрева, особенно когда нужно садиться в промерзший салон рано утром. Подогрев сидений является отличным решением данной проблемы.

Существует два типа такой системы обогрева: наружная или внешняя (чехлы и накидки) и встраиваемая (монтируется под обшивку кресел). Чтобы разобраться, какой обогрев сидений лучше, стоит рассмотреть особенности этих разновидностей подробнее.
Внешний обогрев сидений
Это наиболее дешевый вариант, который чаще всего используют водители, если производитель авто не позаботился о подогреве сидений для автомобиля. Чехлы и накидки оснащаются нагревательными элементами:
- углеволоконной проводкой;
- нихромовыми спиралями, покрытыми оболочкой из полихлорвинила;
- проводами с покрытием из тефлона;
- тепловолокном Fiber Thermetics.
Мощность элементов для подогрева этого типа составляет от 40 до 100 Вт при потребляемом токе в пределах 4-8 Ампер. Работают внешние обогреватели от прикуривателя. Некоторые модели оснащены сенсорными или механическими панелями управления. Метод крепления изделия зависит от типа обогревателя.
Виды внешних обогревателей
Система этого типа делится на две категории.
«Накидушки»
Подогрев передних сидений накладного типа считается самым простым и доступным. Изделия изготовлены из прорезиненного или плотного полотна, на котом закреплены нагревательные элементы. Такие электрогрелки могут фиксироваться при помощи специальных липучек или резинок с крючками. Для установки накидки с подогревом на сиденье достаточно самостоятельно закрепить нижние крюки к пружинам кресла. После того достаточно подключить «накидушку» к прикуривателю.

Однако такие простые варианты подогревателей обладают массой недостатков:
- В большинстве моделей отсутствуют температурные регуляторы, что часто приводит к перегреву.
- Изделие фиксируется только несколькими крючками или липучками. Из-за этого накидка постоянно сползает.
- «Накидушки» выглядят не очень красиво.
- Прикуриватель постоянно занят.
- Невозможен подогрев задних сидений.
Чехлы
Изделия этого типа могут быть изготовлены из самых разных материалов (ткань, натуральная или искусственная кожа, экокожа). Устанавливаются они поверх штатных «сидушек» и подключаются напрямую к бортовой системе, что намного лучше подогрева сидений машины от прикуривателя. При этом установить изделия можно сразу на все кресла, не нарушая тем самым дизайн салона.
Чехлы, как правило, оснащаются дополнительными пультами управления, которые позволяют контролировать температуру нагрева, благодаря этому риск перегрева практически исключается.

Тем не менее, если сравнивать накидки с подогревом на передние сиденья автомобиля и чехлы, то первый тип намного проще установить самостоятельно. Чехол так просто на сидение не натянуть. Кроме этого, такие системы требуют установки кнопок управления, которые врезаются в панели авто. Доверять эту работу рекомендуется только автоэлектрикам.
Кроме этого, стоимость чехлов намного выше. Однако все зависит от выбранной модели.
Лучшие системы наружного обогрева кресел
Чаще всего автовладельцы выбирают следующие изделия:
| Название модели | Нагревательные элементы | Особенности | Стоимость, руб |
|---|---|---|---|
| «Термософт» | Тепловолокна Fiber Thermetics | Не деформируется даже при изгибе в 180 градусов. Крепится при помощи резинок. | 2 100 |
| Waeco | Провод в тефлоновой оболочке | Оснащен термостатом, предотвращающим перегрев. | 1 900 |
| «Емеля 2» | Углеволокно | Равномерный нагрев, возможность работы в 4 режимах. | от 900 |
Также существуют специальные накидки, которые используются для детских сидений. Среди них стоит выделить:
| Название модели | Габариты, мм | Особенности | Стоимость, руб |
| «Емелька» | 720 х 320 | Оснащен регулятором микропроцессорного типа. Защита от перегрева. | 1 300 |
| Teplokid | 550 х 270 | Автоматическое отключение при температуре +40 градусов. | 1 000 |
Помимо накидок и чехлов существуют также стационарные системы подогрева, которые считаются более надежными и долговечными.
Встраиваемый подогрев
Данные элементы устанавливают между обшивкой и поролоновым слоем сидений авто. Их изготавливают из специальных матов с использованием нихромовых спиралей, углеволокна и тепловолокна. Исходя из этого, существует несколько особенностей встраиваемой системы подогрева:
- Изделия с нихромовыми спиралями стоят дешевле, однако такие элементы могут быть встроены далеко не в каждую конструкцию кресла. Если система будет пересекаться с элементами арматуры, то придется ее подгонять под нужный размер.
- Углеволоконные и тепловолоконные маты могут быть установлены на любое кресло без каких-либо ограничений. При необходимости их можно спокойно резать и придавать им любую форму. Однако такие модели отличаются высокой стоимостью.

Если говорить о преимуществах подобных систем по сравнению с чехлами и накидками, то стоит выделить:
- Доступ к прикуривателю авто. Обогрев подключается к отдельному блоку питания.
- Скрытое подключение системы. Под ногами не будут болтаться провода.
- Возможность вывода системы подогрева как на задние сиденья автомобиля, так и на передние.
- Высокую надежность работы системы.
- Наличие термореле. Благодаря этому устройство не замкнет.
- Возможность установки блока питания в любом удобном месте.
Среди недостатков таких систем можно выделить только довольно высокую стоимость изделий. Однако можно найти и относительно дешевые модели.
Лучшие системы «встройки»
Чтобы выбрать качественный обогрев для сидений стоит уделить внимание следующим брендам:
| Название модели | Особенности | Стоимость, руб |
|---|---|---|
| Waeco MSH-300 | Обогрев осуществляется углеродистыми элементами. Установлен электронный блок питания, который позволяет системе работать в 3 режимах. | 16 000 |
| «Емеля УК2» | Нагреватели проволочного типа. Есть 8 рабочих режимов. Оснащен защитной системой от искрения. | 4 000 |
| «Емеля УК» | Самый бюджетный вариант. 2 режима обогрева. | 1 4000 |
Стационарных систем для детских кресел не найти, так как подобная установка подогрева сидений будет сопряжена со множеством трудностей. Однако при необходимости обогреватель для любого типа сиденья можно сделать самостоятельно.
Обогрев кресел своими руками
Для того чтобы изготовить такую систему, достаточно приобрести греющий кабель. Если хочется сэкономить еще больше, то перед тем, как сделать подогрев сидений своими руками можно подготовить обычную проволоку из нихрома диаметром 0,5 мм. Она будет играть роль нагревателя. После этого остается нашить ее на плотную ткань и прикрепить под кресло. Схема работы предельно проста. Для того, чтобы изготовить самодельный обгорев необходимо:
- Разделить 3 метра нихрома на две равные части (одна из них пойдет на «сидушку», а вторая понадобится для спинки сиденья).
- Пришить ее зигзагом на материю (можно использовать старые джинсы).
- Подключить сделанную конструкцию к источнику питания на 12 В.

Как проверить, что все работает? Очень просто. Для этого нужно подождать пока проводка не начнет нагреваться. Если через несколько минут сиденье станет теплым, то все хорошо. Если же этого не произойдет и проволока продолжит раскаляться, то рекомендуется подсоединить терморегулятор или другой прибор для измерения сопротивления.
Нужно быть внимательным и не допускать перегрева. В противном случае может возникнуть пожар. Именно поэтому самостоятельным изготовлением таких элементов не рекомендуется заниматься тем, кто далек от электрики.
Также можно изготовить обогрев немного по-другому, с использованием все той же проволоки из нихрома. Только в этом случае ее понадобится чуть больше – 10 м. Из нихрома нужно сформировать 4 спирали на расстоянии 40 мм друг от друга, завивая проволоку «восьмерками». Для удобства накручивать спирали лучше на гвозди, вбитые в доску.

После этого спирали параллельно соединяются и крепятся к плотной матери (опять же можно использовать джинсы). На следующем этапе остается только монтировать реле и подключить систему к источнику питания.
В заключении
Перед тем, как установить подогрев сидений, стоит поверить его работоспособность. Даже если речь идет о готовой системе обогрева, стоит подключить ее и посмотреть, насколько интенсивно происходит нагрев, до непосредственной установки на кресла автомобиля.
avto-moto-shtuchki.ru
Схема Подключения Подогрева Сидений — tokzamer.ru
Существует 2 разновидности наборов: оригинальные, рассчитанные на конкретную модель машины, и универсальные. Встраиваемые модели Если вы решили установить подогрев сидений в свой авто и хотите использовать встраиваемый тип, то нужно учитывать, что этот способ отличается сложностью монтажа.

Подключение производим, как указано выше. Конечно, можно и так поступить, но одно дело поставить систему и забыть, и совсем другое — испытывать неудобства с этой самой накладкой, которая все время спадает, ерзает по сидению, мешает торчащими проводами.

В системах, выпущенных в Китае, часто ломаются кнопки переключения, происходят короткие замыкания и т. Далее протягивается ткань.
подогрев сидений. VW Passat b3 . пассат. как подключить обогрев сидений
Что для этого нужно?

У неподготовленного водителя на одно сидение обычно уходит около четырех часов. Области обогрева тоже разные: одни греют только сиденье, у других есть подогрев спины.

Какой лучше — выбирать только вам!

Штатный обогрев греет сиденье и поясницу.
К одной из 2х гаек прикручиваем массу в данном случае провод синий. Режимы работы существуют — с возможностью переключения мощности и поддержанием температуры автоматически.

Подробная Установка Подогрева Сидений Своими Руками от Сергея Зайцева
Принцип работы
Такое расположение включателей будет наиболее удачным с точки зрения эргономики и комфорта. В итоге после мучительных поисков и раздумий заметил, что эта плата прекрасно должна прижиматься к наладке тоннеля.
При нажатии кнопки, подается питание на его обмотку.
Монтаж нагревательных элементов в задних сидениях занимает примерно столько же времени.
Силовой провод велся напрямую от аккумулятора через штатное отверстие слева в моторном отсеке в салон. Водительское придется снимать, чтобы поставить все на место.
Достаточно установить полотно обогрева и реле на штатные места. Схема подключения останется такой же, то есть дополнительных сложностей монтаж не вызовет.

Плюхнулся на ледяное сиденье на пару секунд, завел машину, нажал кнопку включения подогрева, и в течение пары минут сиденье уже тепленькое.

И вот оно, высшее наслаждение — садиться в теплое кресло, когда кругом мороз.
Дешевый подогрев руля своими руками.

См. также: Смета электромонтажных работ образец
Как подключить подогрев сидений?
В итоге со временем они могут смещаться, тем самым нарушая работоспособность системы. Затем обивка снимается.
Поэтому, как говориться, всего должно быть в меру.
Переменный резистор припаян намертво, там специально резьба есть, но поди найди под нее гайку!

Можно, конечно, воспользоваться разветвителем, но потребляемый ток будет слишком велик, и предохранитель в разветвителе не выдержит. Инструкция по подключению подогрева Перед тем, как подключать подогрев, необходимо демонтировать сидения и снять обивку и, если это необходимо, снять старые системы подогрева. Начинается установка подогрева сидений с монтажа нагревательных элементов под обшивку сидений.

Рекомендуем не снимать обшивку с сидений полностью. Сборка Ну тут придется набраться терпения и вооружиться шилом для поиска дырок для всех вывернутых саморезов под стандартной или не очень шумоизоляцией. Помимо немалой стоимости, обогреватели в виде чехлов обладают вторым недостатком — сложностью монтажа. То есть при необходимости легко можно их снять.

Отключение при выключении зажигания решил все-таки не делать. Самые доступные по цене — китайские комплекты.
Итак, вам потребуется три метра проволоки, этот отрезок следует разделить на две равные части. Но, окончательное решение все же остается за вами! Теперь подключаем электрическую часть. Для этого надо снять тканевую обивку сидений, и установить нагревательные элементы под нее.
Следует отметить, что такой вариант обогревающих систем характеризуется простотой монтажа, а также доступной ценой. Подключать решил сам, попробовать свои силы, так сказать. Обычно на коробке нет подробной схемы подключения обогрева сидений для ВАЗ , поэтому покажу подключение проводки на конкретном примере: Первым делом нужно вырезать отверстие под кнопки подогрева сидений. И, кстати!
УСТАНОВКА ПОДОГРЕВА СИДЕНИЙ НА ЛАДУ ГРАНТА СВОИМИ РУКАМИ
Популярные
Поскольку реле разомкнуто, повторное включение зажигания оставляет обогрев отключенным и для его включения необходимо снова нажать на кнопку. Сей процесс фотографировать не стал — все равно все делается по месту.
Когда они вставлены, сверху пассатижами зажимается металлическая зубастая пластинка она прорезает изоляцию.
Как установить подогрев сидений в автомобиль собственноручно? Кстати, не ленитесь и установите и другие подогревы.
Теперь можно накидывать на крючки задний элемент обшивки. В этом случае бортовая сеть при выходе подогрева из строя не пострадает. Специалисты рекомендуют выбирать штатные, предусмотренные для ВАЗ Подключение управления, индикации и подсветки кнопок осуществлялось двухжильным проводом.
Рекомендуем: Пуэ периодичность проверки заземления
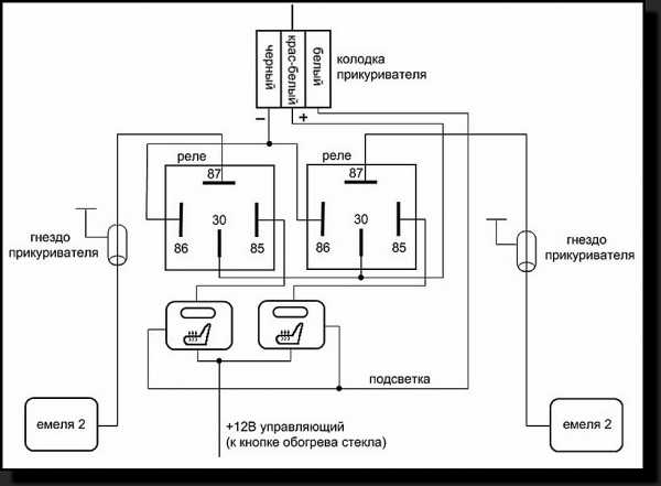
Простой универсальный подогрев сидений и схема подключения его к автомобилю
Плюхнулся на ледяное сиденье на пару секунд, завел машину, нажал кнопку включения подогрева, и в течение пары минут сиденье уже тепленькое. Элемент Пояснение Нагревательные элементы Они требуются для спинок и сидений.
Пользуетесь ли вы системой обогрева сидений? Такое расположение включателей будет наиболее удачным с точки зрения эргономики и комфорта. Самой хорошей возможностью для самостоятельной установки элементов подогрева, остаются автомобили, на которых уже предусмотрена система, но не установлена заводом — изготовителем.
При правильно собранной схеме обогрев будет функционировать только при включенном зажигании. Не нашли интересующую Вас информацию?
Отогните покрытие в ногах у пассажира и снимите крышку короба для ЭБУ. Идеальный вариант — либо центральная консоль если есть место под установку кнопок , либо в промежутке между кулисой КПП и ручником. Данная опция встречается довольно редко на машинах бюджетного класса. Отщелкните накладку на приборной панели, где находятся различные кнопки.
✅ УСТАНОВКА ПОДОГРЕВА СИДЕНИЙ НА ШЕВРОЛЕ НИВУ СВОИМИ РУКАМИ. КАК ПОДКЛЮЧИТЬ ОБОГРЕВ СИДЕНИЙ.
tokzamer.ru
Подогрев сидений автомобиля. Принцип работы. Инструкция по установке
Подогрев сидений автомобиля – это не просто актуальная, а необходимая вещь на сегодняшний день. Разумеется, подогрев сидения – это сезонная конструкция, ведь в теплое время года она может пригодиться лишь при внеплановом упадке температуры. Но, тем не менее, рассмотреть вопрос о подогреве сидения для своего автомобиля необходимо каждому автомобилисту, так как вещь является обязательной для машины в любом случае.
Подогревы сидения могут быть заводской установкой – встраиваться в автомобиль, а также дополнительной опцией, которую владелец может приобрести в авто-магазине.
Принцип работы подогрева сидений автомобиля
Подогрев сиденья в автомобиле работает по довольно простой технологии. Его работа осуществляется за счет нагревательных элементов, которые располагаются под обивкой сиденья машины. Нагревательный элемент пропускает электричество через себя. Его можно рассматривать в качестве резистора, так как электричество, проходя через него, получает сопротивление и образует нагрев.
Запускает функционирование подогрева релейный переключатель. Он также помогает устройству в получении питания. За счет реле электричество переключает электросхемы от меньшей мощности к большей.
В состав системы подогрева сидений входит термостат – он служит мерой предосторожности против перегрева. Перегрев опасен – он может вызвать пожар, травмы или какие-либо повреждения машины. Термостат действует следующим образом: как только нагрев температуры достигнет уровня, установленного на термостате, питание реле сразу отключается до того момента, пока сиденья не охладятся до нужной температуры. Термостат контролирует любое изменение температуры: как ее повышение, так и понижение. Настройками термостата управляет блок управления.
Видео обзор подогревов сидений автомобиля
Подготовка к установке подогрева сидений автомобиля
Для начала следует отключить аккумулятор и дать автомобилю 10-20 минут постоять в таком состоянии, чтобы дать системе SRS полностью разрядиться. После отключения разъемов, которые относятся к подушкам безопасности, нельзя включать аккумулятор до того момента, пока вы не подключите все элементы системы SRS. У автомобилей, которые оснащены боковыми подушками безопасности, имеются свои правила установки подогрева:
- Необходимо выключить автомобиль и оставить ключ в зажигании в выключенном состоянии;
- Отсоедините минусовую клемму аккумулятора и избавьтесь от нее при помощи пакета или тряпки. Перед тем, как перейти к следующему шагу, подождите 5 минут;
- Затем поднимите сидения, отключите систему SRS, ремни безопасности, коннекторы питания и электропривод сидений. Пока сидение снято и все коннекторы находятся в выключенном положении, не включайте зажигание;
- Установите сидение, прикрутите его на место и подключите обратно все коннекторы.
Инструкция по установке сидений
Ниже представим базовую инструкцию для установки подогрева сидений:
- Отсоедините минусовую клемму аккумулятора;
- Снимите обивку;
- Вытащите сидения из салона;
- Расположите подкладку с нагревательными элементами на спинку и сиденье;
- Определитесь с ресурсом питания – вам необходим такой, который способен предоставить непрерывные 10 ампер тока. Далее проведите проводку к этому ресурсу;
- Найдите место, куда можно расположить переключатель. Просверлите там отверстие и проведите сквозь него коннектор, потом произведите подключение непосредственно к переключателю и закрепите его;
- Зафиксируйте сиденья на их прежних местах. Подключите внизу все имеющиеся коннекторы, в том числе и коннектор подогрева;
- Подключите аккумулятор и включите зажигание;
- Проверьте, насколько хорошо и работают ли все режимы.

Правила эксплуатации
Сиденья с подогревом работают на электричестве, а с ним, как все мы знаем, нужно быть осторожным. В данном случае в качестве побочных эффектов могут случиться перегрев или переохлаждение. Чтобы этого не произошло, необходимо соблюдать правила эксплуатации сидений с подогревом. Также эти правила позволят сохранить сиденья в рабочем состоянии как можно дольше. Итак, рассмотрим правила эксплуатации:
- Приводить в работу подогрев необходимо на 10 – 15 минут, с перерывами – это оптимальное время работы для них. Желательно производить подогрев сидений вместе с подогревом транспортного средства. Далее можете выключить и то, и другое и приступать к езде;
- Исключите из своего гардероба теплую, неудобную, синтетическую, тесную одежду, которая будет способствовать образованию «парникового эффекта». Он же, в свою очередь, будет вам очень мешать и впоследствии может стать причиной проблем со здоровьем;
- При наличии контроля за уровнем нагрева в автомобиле, пользуйтесь им при минимальной мощности;
- Старайтесь избегать попадания влаги на кресла;
- В салоне соблюдайте технику безопасности: не курите, изолируйте провода, защитите их от возможных механических повреждений. Не включайте подогрев сидений, если хотите удалиться из машины – не оставляйте их без присмотра в таком состоянии;
- Допустимая чистка для кресел с подогревом – это специальная сухая чистка для кресел с электроподогревом.
Достоинства и недостатки подогрева сидений автомобиля
Основной целью сидений с подогревом является комфорт в эксплуатации автомобиля в период низких температур.
Поэтому, главное их достоинство – это, несомненно, обогрев сиденья, который обеспечивает человеку здоровье (садиться на холодное сиденье как минимум – неприятно, как максимум – вредно), а всему «автомобильному пространству» — комфортность и уют.
Следующим очень весомым достоинством можно посчитать терапевтический эффект, который создают кресла с подогревом. Обычно его «прописывают» пожилым людям, однако любому человеку он еще никогда не мешал. Терапевтический эффект заключается в препятствии многим болезням, таким, как артрит, радикулит, деформации связок и сухожилий, межреберной невралгии и изменению в костных тканях.
Садясь на холодное сиденье, можно «заработать» ряд болезней или неприятных последствий в виде цистита, остеохондроза, простатита, заболеваний мочевого пузыря и почек.
Все имеет две стороны. Так и сиденья с подогревом имеют как достоинства, так и свои недостатки.
Стоит сказать, что слегка повышенная температура сиденья пойдет лишь во благо, но если его перегревать, то могут возникнуть такие неприятные симптомы и последствия, как усталость, головная боль, невралгия, защемление межпозвоночного и седалищного нервов, снижение репродуктивной функции, различные простудные заболевания, усугубление воспалительных процессов, рост доброкачественных и злокачественных образований, нарушение температурного баланса в организме.
Рекомендуется использовать сиденья по назначению, также не переусердствовать с подогревом и не сидеть более часа на разогретом сидении. Ориентируйтесь на свой организм и помните, что все хорошо в меру!
На информационном сайте для автолюбителей «FORAM» вы сможете найти много полезной информации, касающейся ремонта и обслуживания автомобилей.
foram.ru
Подогрев сидений в автомобиле – как это работает?
Подогрев сидений устанавливают на свои автомобили практически все современные производители, поэтому удивить подобным новшеством автолюбителей сегодня практически невозможно. Однако остается много вопросов о том, как работает подобная система, действительно ли она приносит пользу и какой вариант подогрева является более практичным. Все эти вопросы постараемся как можно более детально раскрыть ниже.
История создания: в поисках истины
По своей сути подогрев автомобильных сидений является электрическим устройством, которое при установке подключается к бортовой сети авто. Необходимость в создании подобной функции возникла очень давно, но придумать современный вариант подогрева получилось не сразу, да и автора этого изобретения сложно назвать.
В спорах за первенство в изобретении такой полезной для автовладельцев системы борются сразу две страны: Америка и Швеция. У первой больше шансов доказать свое новаторство, поскольку именно американцы еще в далеком 1955 году запатентовали подобную идею. Ее официальным автором стал Роберт Баллард. Уже через 10 лет идея подогрева сидений была реализована на автомобиле Cadillac Fleetwood. Для оптимальной работы подогрева сидения были выполнены из специальной углеродной ткани.

Но все же подобные попытки имели свои недостатки, по причине чего вот уже несколько десятков лет подряд автомобильные конструкторы работают над тем, чтобы создать идеальную систему подогрева сидений. Подобное внимание к функции подогрева сидений со стороны наиболее известных автомобильных концернов не случайно, так как она несколько раз называлась наиболее важным изобретением в автомобиле (ее ставили в один ряд с системой ремней безопасности и турбонаддувом).
Основные аспекты установки и функционирования системы подогрева сидений авто
Зачастую, когда речь идет о подогреве сидений, то имеется в виду встроенный подогрев, который устанавливается непосредственно во внутреннюю часть сидения. Конструкционно такая система включает в себя следующие элементы:
1. Нагревательный элемент. Зачастую в качестве него выступает провод, покрытый сверху тефлоном, и нихромовая спираль.
2. Тканевая оболочка, внутри которой и прячется нагревательный элемент. Эта оболочка чаще всего выполняется из углеродного или тепловолокна.
Для того чтобы все эти элементы начали функционировать, необходимо также иметь стабильное подключение к бортовой электрической сети автомобиля. А вот для того, чтобы конструкция выполняла свои непосредственные задачи, ее монтируют в спинку сидения и его нижнюю часть.
При активации обогреватели сидения, его элементы первоначально нагреваются до температуры в пределах 35-40°С. Понятно, что постоянное обеспечение высокой температуры может стать неприятным для водителя и его пассажиров, поэтому после разогрева температура немного снижается и поддерживается на одном комфортном уровне, который в некоторых установках можно задавать самостоятельно. Зачастую подобные установки также дают возможность отключать одну из частей обогревательной системы – спинку или само сидение (к примеру, если в автомобиле и так относительно тепло, или же водитель хочет немного сэкономить электроэнергию).
Но все же электроника не всегда может дать точный нагрев, и поэтому обогреватели сидений обязательно оснащают термодатчиками. Благодаря им также осуществляется корректировка нагрева.
Важно! Во многих страховых компаниях Америки и Европы существует правило: если в автомобиле их клиента нет подогрева сидений, ему причисляется более высокий коэффициент вероятности наступления страхового случая. Все это говорит о большой пользе подобной системы, по причине чего ее все чаще устанавливают не только автоконструкторы, но и простые любители.
С какими неполадками приходится сталкиваться владельцам авто с подогревом сидений?
В первую очередь это сгоревший обогрев, который попросту не работает. Поскольку все его элементы спрятаны внутри сидения, зачастую определить причину поломки с первого взгляда не получается. Поэтому, чтобы сразу не приступать к демонтажу и «трепанации» кресла, в котором перестал работать обогрев, следует проверить сохранность предохранителей. Если с ними все хорошо, возможные еще два варианта перегорания системы:
1. Переключатель, который попросту не передает команду о необходимости активации подогрева.
2. Наличие обрыва или перегоревшего участка в самой системе подогрева.
Зачастую ломаются именно переключатели, поскольку к их конструкции большинство производителей относится достаточно небрежно. Убедиться в этом можно и без разбора сидения, хотя если он находится в труднодоступном месте, этого можно и не избежать. Снятие переключателей следует проводить следующим образом:
— снимаем разъем с самого переключателя, для чего легко покачиваем и стягиваем разъем немного вниз;
— внутри обшивки присутствуют стопоры, снять которые получится только при помощи отвертки;
— после этого переключатель должен полностью выйти наружу.
Как только переключатель окажется у вас в руках, вы увидите, что он имеет сразу 3 контакта. Тот, который средний, нам совершенно не интересен, поскольку он отвечает лишь за то, чтобы при необходимости засвечивалась лампочка индикатора работы переключателя. Но вот если не функционируют крайние контакты, здесь, скорее всего, придется прибегнуть даже к разборке самого устройства.
Внутри переключателя находится плата, к которой подсоединяются контакты. Если по тем или иным причинам на нее попала влага или другая жидкость из автомобиля, скорее всего, плата откажет в работе. В таком случае ее стоит аккуратно очистить и хорошенько просушить, после чего плата должна возобновить свою нормальную работу. Собираем переключатель в обратном порядке.
Но если дело не в переключателе, то необходимо будет проверить на целостность, собственно, сам обогрев в сидении. Чтобы осуществить данную процедуру без демонтажа самого сидения, необходимо:
1. До упора отклонить спинку сидения назад.
2. Пальцами ощупать щель между самим сидением и его спинкой и найти место, где крепится обивка спинки, снять ее. После этого ищем все разъемы обогрева и пытаемся их вытащить из сидения, параллельно проверяя их на целостность.
Поскольку занятие это очень сложное и неприятное, от него лучше отказаться, ведь, чтобы вернуть все разъемы на место, сидения все равно придется разобрать. Тем более, что причина неисправности в таком случае будет очевидна.
Как вы могли и сами убедиться, несмотря на все свои достоинства, если подогрев сломается, эту поломку может быть очень трудно устранить. По этой причине мало кто прибегает к ремонту. Вместо этого автовладельцы пытаются найти альтернативные способы обогрева сидений.
Чем можно заменить встроенный в сидение подогрев?
Кроме варианта обогрева, когда нагревательные элементы монтируются внутрь автомобильного сидения, существует также вариант, когда они располагаются сверху сидения в качестве съемной накидки. При этом накидку сегодня принято считать самым простым и доступным каждому вариантом обогрева, который подойдет не только тем владельцам автомобилей, у которых обогрева не было, но и тем, у которых подобная система вышла из строя.
Конструкция подогрева-накидки практически идентична обычной: нагревательный элемент попросту вшивается внутрь специальной ткани (устойчивой к возгоранию и регулярной эксплуатации). В целом же накидка просто крепится крючками или резинками к сидению, что, правда, очень часто приносит водителям дискомфорт – накидка может сползать и перемещаться, поэтому приходится додумывать свои способы крепления.
Питается подогрев-накидка от обычного прикуривателя, что и просто, и экономно. Тем не менее, зачастую подобные приспособления не отличаются длительным сроком службы, поскольку через 2-3 сезона они попросту перегорают. Помимо этого, для постоянного использования обогрева сидения приходится приобретать разветвитель гнезда прикуривателя.
К недостаткам накидок можно отнести также и то, что их цвет очень трудно подобрать к салону автомобиля. Также они обладают только двумя степенями регулировки (хотя сегодня производители пытаются ликвидировать этот недостаток), на одном из которых в попу может жечь, а во втором она будет еле чувствовать исходящее от устройства тепло. Однако в тех случаях, если установка внутреннего обогрева сидения является недоступной, этот вариант является прекрасной и дешевой альтернативой.
Все ли так идеально в обогреве автомобильных сидений: ищем плюсы и недостатки
Согласитесь, садиться зимой на прогретое сидение в разы приятнее, нежели на задубевшее. Особенно это актуально для автомобилей с кожаными чехлами на сидениях, где кожа в зимнее время просто чрезмерно натягивается холодом и причиняет дискомфорт как водителю, так и его пассажирам.
Тем не менее, несмотря на внешнюю позитивность такого устройства, многие медицинские светила проводят исследования, доказывающие негативное влияние подогрева на здоровье водителя, который регулярно его использует. В частности, регулярное воздействие тепла может вызвать не только импотенцию, но и полное бесплодие. По этой причине, даже при наличии подогрева, пользоваться им нужно как можно реже, особенно если у вас в автомобиле присутствует тканевое покрытие сидений, которое в принципе достаточно быстро прогревается от человеческого тепла.
Во избежание «перегрева» особенно важно устанавливать на обогрев дополнительный датчик, который будет отключать подогрев через определенное количество времени езды.
А если сидения нужно охлаждать?
Зимой в салоне все мерзнут, но вот летом ситуация становится с точностью противоположной – каждый водитель и пассажир автомобиля мечтает о дополнительном источнике охлаждения. Эту проблему очень грамотно взяли в проработку японские специалисты компании под названием «Thanko» и уже успели выпустить на широкий рынок свои собственные разработки, которые позволяют осуществлять охлаждение сидений автомобиля.
Важно! Пока данной функцией могут пользоваться только владельцы автомобилей Nissan Patrol, где система охлаждения сидений является штатной.
По отзывам подобная система является прекрасным дополнением кондиционера. Ведь если летом температура сидений доходит до 60°С, общая система охлаждения не способна в очень короткий период времени охладить весь салон со всеми его элементами. При наличии дополнительного охлаждения сидений, в первую очередь «остывают» именно они, а потом уже водитель начинает чувствовать эффект от кондиционера.
Как же функционирует система охлаждения? Ее основой является обычная вода, которая благодаря наличию холодильной сумки охлаждается, а при помощи насоса – прокачивается по всему сидению, тем самым охлаждая его. Для того чтобы использовать систему, в нее необходимо залить 1,5 литра предварительно охлажденной воды. При этом шланг крепится непосредственно к горлышку бутылки, а работа насоса активируется от прикуривателя.
Как утверждают производители, эффективность работы такой системы может дотягивать до 6-8 часов. При этом охлаждение практически не потребляет энергию автомобиля, что является хорошей экономией (особенно если отказаться от кондиционера). Правда, стоит такая установка недешево – около 200 у.е.
Современная автомобильная индустрия преподносит автовладельцам все больше полезных подарков, которые делают процесс вождения максимально комфортным. Правда, в случае с системой охлаждения необходимо быть максимально осторожным, чтобы не столкнуться с проблемами со здоровьем.
Подписывайтесь на наши ленты в таких социальных сетях как, Facebook, Вконтакте, Instagram, Pinterest, Yandex Zen, Twitter и Telegram: все самые интересные автомобильные события собранные в одном месте.
auto.today
