для чего нужен, принцип работы
В двигателе автомобиля для создания необходимого давления в смазочной системе используется масляный насос. Посредством давления осуществляется смазка всех деталей и узлов силового агрегата, которые находятся в движении. В самой системе, где имеется сухой картер, насос также выполняет работу. Он осуществляет функцию транспортировки масла в емкость из картера мотора. Насос приводится в действие при помощи коленчатого либо приводного вала. По типу управления масляные насосы можно разделить на регулируемые и нерегулируемые. В чем их отличия? Масляный насос с возможностью регулирования может поддерживать постоянный уровень давления за счет изменения производительности. В случае если используется нерегулированный механизм, тогда постоянную силу давления поддерживает редукционный клапан давления масла. Давайте рассмотрим, для чего предназначены эти элементы, как они устроены и как они работают.
Кстати, несмотря на незначительные размеры, это устройство играет в двигателе и системе смазки очень важную роль.
В случае если этот клапан будет забит, существует риск проворачивания вкладышей в моторе. Это грозит выходом двигателя из строя.
Данный элемент представляет собой не что иное, как гидравлический либо пневматический дроссель. Он функционирует в автоматическом режиме. Предназначен элемент для поддержания давления определенной силы на выходе. Различают несколько видов механизмов. Это редукционный клапан давления масла с управлением через пневматический или электрический привод либо элемент с прямым действием. Последнему не нужны внешние источники питания и приводы.
Функции редукционных клапанов
Первая и основная задача, которую решает редукционный клапан давления масла, – создание и поддержание определенного уровня давления. Оно должно постоянно контролироваться. Любые, даже самые минимальные превышения этого значения приводят к печальным последствиям. Могут выйти из строя важные узлы двигателя. Но и нельзя, чтобы давление было слишком низким. Недостаточный уровень приведет к перегреву узлов и деталей двигателя.
Будет масляное голодание. Чтобы избежать всех этих проблем, инженеры разработали и создали редукционный клапан давления. На первый взгляд может показаться, что это простой механизм, который фактически и не нужен. Но это совсем не так. Если такого клапана в двигателе не будет, то нормальная работа силового агрегата становится попросту невозможной. Главное предназначение этого механизма заключается в постоянном контроле силы давления масла в системе, а также ослаблении или увеличении параметров при необходимости. Регулировка давления и принцип действия клапана заключаются в открытии и закрытии прохода масла. Когда механизм открыт, то уровень не понизится. Если элемент закрыт, тогда в случае понижения давления работа системы смазки будет восстановлена.
Принцип работы
Рассматривая устройство данного механизма, невозможно не упомянуть и принцип действия, по которому работает клапан. Алгоритм работы достаточно простой. Основной орган, за счет которого осуществляется процесс регулировки силы давления, – это специальный упорный болт.
Именно этот элемент давит на пружину и тем самым прижимает к отверстию непосредственно редукционный клапан давления масла. После роста давления в системе (а допустимый уровень при этом будет ниже) масло преодолеет силу пружины. Таким образом, клапан выдавится обратно. За счет этого масло перейдет в специальную емкость или отделение. После стабилизации уровня давления и прихода уровня в норму посредством пружины клапан возвратится в свое изначальное состояние. Двигатель сможет продолжить работу в штатном режиме. По этому же принципу функционирует и топливный редукционный клапан. Он выполняет те же задачи. Однако устанавливается вместе с ТНВД на дизельных двигателях.
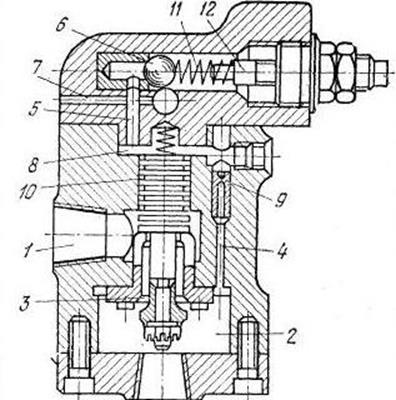
О конструкции
Устроен этот механизм достаточно просто. Он представляет собой небольших размеров кожух, в котором имеются специальные каналы для движения масла. Также конструкция включает в себя пружину, шток и регулятор. Последний представляет собой небольшой шарик или же поршень. Работа редукционного клапана сводится к своевременному прекращению и недопущению роста давления в системе смазки автомобиля.
Главная особенность данной системы заключается в том, что устройство при максимально простой конструкции может эффективно выполнять свою работу. Выходит из строя элемент очень редко.
Виды клапанов по устройству
Современная промышленность предлагает устройство в двух вариантах. В первом случае этот механизм может располагаться в корпусе маслонасоса. Во втором элемент представляет собой отдельную деталь. Здесь доступен демонтаж механизма, ремонт, а также регулировка редукционного клапана. Система достаточно хорошо продумана. Но даже такие простые и надежные механизмы иногда дают сбои. Проблемы в работе элемента могут дорого обойтись владельцу автомобиля.
Где расположен?
Начинающие автовладельцы, да иногда и опытные, не знают, где находится редукционный клапан. Найти эту деталь можно в нижней передней части блока двигателя. Чаще всего клапан находится за шкивом привода генератора. Иногда данный элемент устанавливают непосредственно на корпусе масляного фильтра.
Давление срабатывания
Итак, стало более понятно, что представляет собой этот механизм. Но как определить, что давление в масляной системе меняется? И каким должно быть оптимальное значение? Показатели нормального давления указаны в руководстве пользователя. Для каждого автомобиля прописывается свой параметр. Например, на “Таврии” клапан срабатывает при 0,55 МПа. Примерно при таком же уровне сработает и редукционный клапан давления масла ВАЗ-2110. Как измерить уровень давления? Для этого необходимо воспользоваться специальным манометром жидкостного типа. Он подключается в посадочное гнездо для датчика давления. Перед измерениями мотор должен быть хорошо прогрет. Замеры делаются на работающем моторе. Для примера возьмем редукционный клапан давления масла, 406 двигатель. Здесь оптимальный параметр составляет 4,6 кгс/см2.
Типичные неисправности
Можно выделить несколько основных и частых проблем, которые могут возникнуть с редукционными клапанами. Проявляются они в двух аспектах.
Первый случай – клапан не может удерживать нормализированный уровень давления масла. Чаще всего такие неисправности случаются вследствие механических поломок. Наиболее уязвимый и проблемный элемент в этой системе – это пружина. В процессе эксплуатации, а в особенности длительной эксплуатации, пружина растягивается. За счет этого клапан будет открываться несанкционированно при минимальных уровнях роста давления смазки. Масло просто не сможет попадать к большей части узлов и механизмов силового агрегата. Это снижает их ресурс. Среди основных причин неисправностей, которые возникают с пружиной, можно выделить эксплуатационный износ, неправильный монтаж элемента после капитального ремонта, ошибки при установке клапана.
Во втором варианте клапан не открывается при достижении высокого или максимального давления. Такое случается по причине засорения маслоканала. Причина – длительный период эксплуатации. В итоге клапан будет клинить при достижении высоких давлений. В результате элемент не будет открываться.
Итог – невозможность смазывания движущихся и трущихся механизмов и узлов в двигателе и их разрушение. Причина этой неисправности заключается в несвоевременно выполненной замене масла. Объяснить это можно очень просто, а вот устранение проблемы – трудный процесс. Мельчайшие частицы грязи будут накапливаться на поверхности клапана, за счет чего увеличатся размеры наростов. Из-за некачественных промывок в каналах клапана будет накапливаться стружка и другой мусор.
Ремонт и регулировка
Чтобы понять, исправен клапан и можно ли его в дальнейшем эксплуатировать, необходимо демонтировать устройство и разобрать его. Таким образом можно выполнить диагностику всех деталей механизма. Если на корпусе клапана образовались отложения, их очищают при помощи смеси бензина и керосина. Можно применить жидкость для промывки карбюраторов. Также внимательно следует продиагностировать пружину. Если она растянута или на ней есть следы деформации, деталь подлежит замене. Когда клапан будет полностью обследован и перебран, то необходимо проверить, работает ли он.
Это делается при помощи простого надавливания на поршень или шарик. Если для вдавливания необходимо приложить усилие, а после поршень вернется назад, тогда механизма исправен. Процесс регулировки осуществляется после установки механизма в корпус насоса. Регулируют устройство сжатием или же отпусканием пружины при помощи регулировочного или упорного винта. Параллельно с вращением винта замеряют показатели давления масла жидкостным манометром. Регулировать нужно на незапущенном силовом агрегате. А вот производить замеры, наоборот, на работающем моторе.
Масляный редукционный клапан | Mercedes-Benz W201
Вы здесь
Инструкции по ремонту автомобилей » Mercedes-Benz » Mercedes-Benz W201 » Система смазки
Масляный редукционный клапан Mercedes-Benz W201
Общие сведения
БЕНЗИНОВЫЙ ДВИГАТЕЛЬ
6-цилиндровый бензиновый двигатель
1. Масляный насос. Всасывает моторное масло через всасывающий фильтр и всасывающую трубу из масляного поддона2. Продольный масляный канал к масляному фильтру 5. Главный масляный канал К опорным участкам 6. Масляные жиклеры. Моторное масло впрыскивается снизу для охлаждения по направлению к основаниям поршней 8. Обратный блокировочный клапан 9. Натяжитель цепи 10. Отверстие для выхода газов в уплотнительной прокладке головки блока цилиндров 14. Масляный жиклер для управляющей цепи | 15. Нагнетательный трубопровод к головке блока цилиндров 17. Масляный дроссель. Внутренний диаметр 4 мм 22. Масляный канал. Для смазки 12 тарельчатых толкателей на стороне выпуска 23. Масляный канал. Для смазки 12 тарельчатых толкателей на стороне впуска 27. Регулятор распределительного вала 30. Гидравлический тарельчатый толкатель а. Масляный канал от масляного насоса к масляному радиатору b. Масляный канал от масляного фильтра к опорным поверхностямс. Сливное отверстие в масляном поддоне |
Если при нормальном уровне масла его давление слишком мало, проверьте клапан.
Снятие
| 1. Винитовая пробка, SW22 2. Пружина сжатия 3. Направляющий палец 4. Поршень |
| Общие сведения | |||||
|
Установка
| Общие сведения | |||
|
ДИЗЕЛЬНЫЙ ДВИГАТЕЛЬ
Масляный редукционный клапан находится в соединительном канале между камерами сжатия и всасывания масляного насоса. Если давление превышает 5 бар, клапан открывается, и часть масла переливается во всасывающую камеру. Клапан следует проверять, если при нормальном уровне масла его давление слишком низкое.
Снятие
| 249. Винитовая пробка, 50 Н.м. 250. Направляющий палец 251. Пружина сжатия 252. Поршень |
| Общие сведения | |||||
|
Установка
| Общие сведения | |||
|
Видео про «Масляный редукционный клапан» для Mercedes-Benz W201
Другие материалы раздела
| Система смазки |
| Диагностика неисправностей в контуре циркуляции масла |
| Спецификация моторного масла |
| Область применения масел/ класс вязкости |
| Расход масла |
| Контур циркуляции масла (ДД) |
| Масляный редукционный клапан |
| Индикатор уровня масла |
| Теплообменник масло-/ охлаждающей жидкости |
ДТП в России
03.
23.21ДТП в Омске
07.30.19
ДТП с переворотом в центре Волгограда
07.30.19
Упоротое быдло (c)
07.30.19
Фургон не проскочил
07.29.19
Жесткое ДТП под Киевом
07.29.19
ДТП с участием скорой в Туле
Назначение редукционного клапана прямого действия
Рекомендации по ремонту
При появлении признаков неисправности клапана (к примеру, загорании лампы давления на приборной панели) вы должны оперативно устранить поломку.
Для этого снимайте и разбирайте масляный насос. После вскрытия вы увидите редукционный клапан и сможете оценить его состояние.
Если он заел, доставайте его, промывайте в бензине и не забудьте смазать.
Аналогичные действия по промывке делаются и с топливным насосом .
Особое внимание уделите чистке каналов клапана и диагностике основных элементов. Если пружина вышла из строя, то ее нужно заменить
При этом учтите, что установка нового масляного насоса (редукционного клапана) обязательна после каждого капремонта силового узла.
В этом случае можно избежать множества проблем с бросками давления или, наоборот, его нехваткой. По завершении ремонта не забудьте проверить давление в системе и убедиться в точности показаний.
В дальнейшем своевременно меняйте масло, промывайте двигатель и устанавливайте новый фильтр при каждой замене.
В автомобиле не бывает мелочей. Даже самый незначительный на первый взгляд узел может играть важную роль в общем «оркестре».
Эту теорию лишний раз подтвердил редукционный клапан, требующий особого внимания, своевременной диагностики и ремонта. Удачи на дорогах и конечно же без поломок.
Клапан ограничения давления тормозов Камаз
Клапан ограничения давления служит для уменьшения давления воздуха в тормозных камерах переднего моста при торможении с малой интенсивностью, что улучшает устойчивость и управляемость (особенно на скользких дорогах), а также для быстрого выпуска воздуха из тормозных камер при растормаживании.
Клапан ограничения давления состоит из корпуса 8, крышки 10 корпуса, большого 2 и малого 3 поршней, стержня 5 с верхним 4 и нижним 6 клапанами и пружин поршней.
Вывод II клапана соединен с нижней секцией тормозного крана, вывод I — с тормозными камерами передних колес, вывод III и полость А — с атмосферой.
В исходном положении (без торможения) вывод II соединен с атмосферой через клапан тормозного крана. Большой поршень 2 под действием пружины 1 занимает верхнее положение.
Тормозные камеры передних колес соединены с атмосферой через выводы I и III клапана.
Давление в полостях над и под малым поршнем одинаково и равно атмосферному, малый поршень 3 находится в равновесии.
Верхний клапан 4 под действием пружины 9 прижат к седлу малого поршня и разобщает клапан ограничения давления на две полости.
При торможении сжатый воздух, поступающий из тормозного крана к выводу II, воздействует на верхний торец малого поршня 3 и перемещает его вместе с двойным клапаном вниз.
При этом сначала клапан 6 закрывает отверстие, разобщая выводы I и III, а затем при дальнейшем перемещении поршень 3 сжимает пружину 9 и отрывает клапан 4 от седла поршня, сообщая выводы I и II.
Сжатый воздух поступает к тормозным камерам передних колес до тех пор, пока давление на нижний торец поршня 3 не уравновесится давлением воздуха, действующим на верхний торец, и клапан 4 не закроется.
Так как площадь нижнего торца поршня 3 больше, чем площадь верхнего торца, то в выводе I устанавливается давление, соответствующее соотношению площадей торцов поршня, т. е. 1,75:1.
Это соотношение сохраняется при увеличении давления в выводе II до 350 кПа. Если давление в выводе II становится больше 350 кПа, что соответствует усилию уравновешивающей пружины 1, в работу включается поршень 2, который также начинает двигаться вниз, увеличивая усилие, воздействующее на верхний торец поршня 3.
При дальнейшем повышении давления в выводе II разность его в выводах II к I становится все меньше, а по достижении 600 кПа — уравнивается.
Таким образом, во всем диапазоне работы клапана ограничения давления осуществляется следящее действие.
При снижении давления на выводе II (оттормаживание тормозного крана) поршни 2 и 3 перемещаются вверх, впускной клапан 4 закрывается, а выпускной 6, начав двигаться вместе с поршнем, открывается и сжатый воздух из тормозных камер выходит в атмосферу через вывод III. В этом случае клапан ограничения давления работает как клапан быстрого растормаживания.
Источник
ПРИНЦИП РАБОТЫ
Ремонт масляного насоса ваз 2108
Принцип работы данного элемента заключается в его конструкции. Как ранее говорилось, она состоит из трех рабочих элементов и корпуса. Элементы, которые можно видеть на рисунке, это:
- Шарик.
- Пружина.

- Шайба.
Все детали закреплены в герметичном корпусе. Принцип работы прост — шарик блокирует путь в систему, его придерживает пружина. Но при увеличении количества жидкости растет давление. В результате нагрузка на пружину увеличивается. При превышении определенного порога нагрузки шарик отжимает пружину, тем самым пропуская жидкость по дополнительному каналу. Именно таким образом стравливается давление. В дальнейшем рабочая жидкость возвращается для рециркуляции.
Интересно!Элементы конструкции могут быть выполнены из различных материалов
Важно, чтобы они не вступали в реакцию с рабочим телом.
Замена редукционного клапана масляного насоса на ВАЗ 2109 — Auto-Self.ru
Ремонт ВАЗа
Роль масляного насоса в конструкции ВАЗ 2109 переоценить сложно.
При выходе его из строя эксплуатация автомобиля должна прекратиться полностью. Далее отправляете машину на автосервис, либо выполняете ремонт своими силами.
Демонтаж
Снять насос своими силами — не сложно. Да и вам вполне по силам выполнить самостоятельный ремонт.
Чтобы отремонтировать, оценить состояние насоса, проверить работоспособность и степень износа отдельных его элементов, прежде всего требуется снять устройство и разобрать его.
- Обесточьте автомобиль, сняв с АКБ минусовую клемму.
- Ослабьте крепежные болты генератора, снимите ремень.
- Приготовьте чистую тару, слив в нее масло из картера. Далее потребуется снять защиту мотора и поддон картера с маслом.
- Демонтируйте зубчатый ремень привода распредвала.
- Теперь, когда ремень снят, ни в коем случае не проворачивайте коленвал и распредвал.
Иначе вы повредите клапана, ударив по ним поршнями. - Снимите шкив коленчатого вала, вооружившись двумя плоскими отвертками и стянув его с вала. Если шпонка плохо удерживается на своем посадочном месте, ее лучше тоже снять.
- Следующий на очереди демонтажа маслоприемник. Для его снятия нужно открутить два крепежных болта, расположенных на крышке коренного подшипника, а также один крепежный болт соединения маслоприемника к насосу (масляному).
- Снимите насос, удерживающийся на своем месте за счет шести болтов.
- Открутив все болты, аккуратно сдвиньте масляный насос от крышки коренного подшипника, после чего со спокойной душой снимайте масляную помпу.
Демонтируем устройство
Разборка и ремонт
Завершив демонтажные работы, вы можете поступить двумя способами:
- Заменить старый насос на новый;
- Отремонтировать старый масляный насос.
Ремонт позволяет выявить изношенные элементы и заменить их на новые, что позволит восстановить функциональность.
С чего начинается снятие
Чтобы разобрать насос, следуйте инструкции.
- Разделите насос на две части. Для этого мы уже открутили 6 болтов крепления крышки к корпусу и поддели отверткой эту крышку. Она вышла из штифтов на корпусе. Так что снимаем элемент и откладывает в сторону.
- Внутри корпуса насоса установлена ведомая и ведущая шестерни, которые нужно извлечь и положить пока в сторонке. Потом мы проверим их состояние.
- Далее снимается редукционный клапан. Для этого сначала открутите пробку клапана и извлеките из отверстия пружину, а потом клапан.
- В некоторых случаях с извлечением клапана могут возникать проблемы. Если вы столкнулись с такой ситуацией, аккуратно постучите корпусом масляной помпы о деревяшку или вооружитесь деревянным конусовидным штырем. Он вставляется в отверстие клапана, клапан цепляется и извлекается.

- Разобрав свой масляный насос на ВАЗ 2109, тщательно вымойте всего его компоненты, используя чистый керосин. Не забудьте потом протереть детали насухо.
- Проверьте состояние крышки, корпуса вашего насоса на механические дефекты, сколы, трещины.
- Особое внимание уделите местам посадки шестерней, где не должны быть следы износа и прочие механические изъяны. Если они есть, насос придется заменить.
Оценка состояния
Во многом работоспособность и ремонтопригодность старого масляного насоса зависит от результатов проверки характеристик крышки и корпуса устройства. Необходимо сделать замеры зазоров.
Место проверки | Требования |
Диаметр посадочного гнезда ведомой шестерни | Диаметр может увеличиваться в процессе работы насоса и возникновения трений. Нормальный диаметр этого места для ВАЗ 2109 — 75,1 миллиметр. При отклонении в сторону увеличения диаметра насос идет под замену. |
Толщина привалочной стенки | В нормальных условиях этот параметр составляет 3,4 миллиметра. Если зазор оказался меньше положенного, насос меняют полностью |
Толщина ведущей шестерни | Нормальный показатель — 7,42 миллиметра. При уменьшении размера насос идет на свалку, а на его место ставится новый |
Толщина ведомой шестерни | Для нее нормальным параметром является толщина 7,35 миллиметра. Как и в случае с ведущей шестеренкой, отклонение от нормы означает замену |
Осевой зазор ведущей шестерни | Для замера возьмите металлическую линейку и щупы на 0,12 и 0,15 миллиметров. Зазор проверяется так — в корпус насоса укладывают шестерню и сверху торцом ставится линейка. Измеряется зазор между торцом линейки и плоскостью щупа. Для ведущей шестеренки зазор составляет 0,12 миллиметра |
Осевой зазор ведомой шестерни | Метод проверки зазора точно такой же. |
Состояние редукционного клапана и гнезда | Оценка этих параметров очень важна. Если на поверхности вы обнаружили механические повреждения, далее использовать элемент нельзя |
Пружина | Если пружина погнулась, вытянулась больше нормы, тогда замените элемент. Тут менять полностью весь насос не нужно |
Определить, где какая шестерня, не сложно. Ведущая имеет наружный зуб, а ведомая — внутренний, то есть снаружи элемент гладкий.
Ведомая шестерня
Обратная сборка
Завершив ремонт и обратную сборку старого масляного насоса, либо решив полностью его заменить, обратите внимание на несколько важных нюансов обратной сборки.
- Перед установкой проверните шестеренку насоса так, чтобы выступы соответствовали лыскам на коленчатом валу.
- Обязательно рабочая кромка сальника смазывается моторным маслом.
Так вы сможете легко надеть сальник на шейку коленчатого вала. - При установке не забудьте подправлять края сальника, используя тонкую деревянную щепку. После этого можно зафиксировать насос и вернуть на свои места все демонтированные на этапе подготовки к ремонту элементы.
- Завершив сборку узла, обязательно отрегулируйте натяжения ремня генератора и ремня распределительного вала.
«>]
Заменить и отремонтировать масляный насос достаточно просто, если иметь в распоряжении ремкомплект и необходимые инструменты. Основная объективная сложность заключается только в демонтаже и обратной сборке узла.
Поделитесь с друзьями в соц.
сетях:
Газель 406 редукционный клапан. Самостоятельно регулируем давление масла в двигателях змз. Как проверить датчик давления масла
Всем доброго дня. В сегодняшней статье мы рассматриваем типовую проблему – пропало давление масла в двигателе ЗМЗ 406. К сожалению это довольно распространенная проблема и типовых причин довольно много в статье мы разберем все причины и то, как они проявляются.
Начнем с описания конструкции системы смазки ЗМЗ 406:
Масляный насос приводится в действие от промежуточного вала через шестигранник. На масляном насосе установлен редукционный клапан, который сбрасывает излишнее давление масла обратно в картер. Из масляного насоса масло через фильтр подается в главную масляную магистраль, из которой смазываются шейки коленчатого вала, и втулки промежуточного вала привода ГРМ. Так же от главной магистрали идет канал в ГБЦ и к гидронатяжителям. В ГБЦ в свою очередь просверлены 2 масляных канала параллельно распределительным валам.
По этим каналам масло подается к каждой шейке распределительного вал и к каждому из 16 гидрокомпенсаторов.
Самые проблемные места в системе смазки – редукционный клапан, втулки промежуточного вала и гидронатяжители цепей, но обо всем по порядку…
Внезапно пропало давление масла в ЗМЗ 406.
Причин в этом случае всего две – заклинило в открытом положении редукционный клапан маслонасоса. Выглядит он вот так:
Происходит это, обычно, по причине попадания грязи под редукционный клапан. Даже малейшая крошка клинит клапан и он до конца не закрывается.
Вторая типовая причина – поломка привода маслонасоса.
Выглядит привод вот так:
Надо отметить, что две эти неисправности случаются крайне редко и происходят они при несоблюдении интервала замены масла и при эксплуатации на масле не соответствующем климату.
Давление масла в двигателе пропадало постепенно.
Это самая типовая проблема, связана она с естественным износом, переодичностью обслуживания и конструкторскими просчетами.
….
Самая частая причина – масляный фильтр.
Во время эксплуатации газели (2705) я менял фильтр каждые 5000 км, а масло менял раз в 10 000 км. Причина в том что при эксплуатации на бензине масло быстро темнеет и в нем образуется куча грязи которая забивает фильтр. При эксплуатации на газе такая проблема не наблюдается!
Вторая по популярности причина – попадание бензина в топливо
Справедливо в основном доля карбюраторных версий 406 двигателя (при порыве мембраны бензонасоса бензин неизбежно попадает в масло), но и на инжекторном двигателе с бегущей форсункой это вполне возможный сценарий.
Третья причина — износ.
Вследствие износа, постепенно, увеличиваются все зазоры в парах трения.
- Основное место где теряется давление – промежуточный вал. Многие не меняют опорные втулки промежуточного вала даже при капитальном ремонте, но именно в этих втулках и теряется большая часть давления.
- Второе по популярности место – изношенные гидронатяжители цепей.

- Третье место – износ ГБЦ и износ распределительных валов.. Дело в том что на 406 двигателе постели распределительных валов расположены в теле ГБЦ и при малейшем «уводе» плоскости износ постели увеличивается в разы – итог потеря давления. При износе самого вала увеличивается зазор в паре трения и так же теряется давление.
- Четвертое место – износ масляного насоса. При износе насос не будет нагнетать достаточно масла в систему смазки двигателя и давления масла не будет. Бороться с этим можно переборкой насоса с выводом его плоскостей или заменой маслонасоса в сборе на маслонасос от ЗМЗ 514 (он для дизеля и имеет увеличенную производительность).
- Пятое место – гидрокомпенсаторы зазоров клапанов, компенсаторов в ГБЦ 16 (по числу клапанов) и при больших пробегах их постели так же подвержены износу, но срок службы постелей компенсаторов, как правило, превышает срок службы ГБЦ.
Четвертая причина — пружины масляного перепускного клапана.
На корпусе масляного насоса установлен перепускной клапан, он открывается при высоком давлении масла.
Дело в том что с течением времени пружины клапана ослабевают и часть давления масла теряется на этом клапане. Нет ничего страшного если вы подложите пару шайб под пружину клапана при переборке насоса.
Про масляный радиатор.
На некоторых модификациях ЗМЗ 406 установлен радиатор для охлаждения масла, но на деле эта конструкция практически не используется так как снижает давление и без того разжиженного масла и обладает некачественными кранами которые постоянно бегут. Относительно грамотно маслорадиатор реализован на ЗМЗ 405 (используется термоклапан) но и там его эффективность сомнительна. В большинстве случаев целесообразно заглушить масляный радиатор и использовать более термостабильное масло (проверено на личном опыте эксплуатации газ 2705 с пробегом 470 000 км).
Пути повышения давления масла в двигателе ЗМЗ 406 при эксплуатации.
- Более частая замена масляного фильтра.
- Замена масляного насоса на насос от ЗМЗ 514 номер детали 514 .1011010
- Отключение масляного радиатора или замена его на теплообменник.

- Замена масла на более густое и качественное, важна именно вязкость при высокой температуре.
- Подкладывание 2-3 шайб под пружину масляного перепускного клапана
Пути повышения давления масла при капитальном ремонте.
Обязательно перевтульте промежуточный вал и разверните втулки правильно.
Установите жиклеры в системе смазки.
Дело в том, что в двигателе есть несколько мест, где теряется очень много давления, и для увеличения срока службы двигателя при капитальном ремонте имеет смысл заглушить некоторые каналы в системе смазки жиклерами от карбюратора! Оптимальным вариантом оказались жиклеры рассверленные сверлом 2 мм.
Итак, вот эти места и варианты их жиклирования:
Отверстие для смазки вала масляного насоса
Гидронатяжители цепей (верхней и нижней)
На этом у меня все. Я надеюсь, что проблема пропавшего давления масла в 406 двигателе больше никогда вас не потревожит.
В двигателе ЗМЗ-406 применена комбинированная система смазки: путем разбрызгивания и давлением.
Система´
смазки включает в себя: картер для масла 2, насос масляный 3 с´
приемным´
патрубком, защищенным сеткой, и´
редукционным´
клапаном,´
привод насоса, каналы для масла выполненные в блоке, коленчатом валу и головке цилиндров, полнопоточный фильтр масла 4, указатель уровня масла стержневой 6(щуп), крышку горловины заливки масла 5, датчики´
давления´
масла 8 и 7.
Масло циркулирует таким образом: масляным насосом из картера масло засасывается и через канал, выполненный в блоке оно подводится к´
полнопоточному´
фильтру; от фильтра происходит поступление масла в главную´
масляную´
магистраль и по каналам, выполненным в блоке производится смазывание коренных´
подшипников, подшипников промежуточного´
вала, верхнего подшипника´
валика привода масляного насоса и подвод масла к гидронатяжителю цепи 1-й ступени´
привода распредвалов. После коренных подшипников по каналам в коленчатом валу масло поступает на шатунные подшипники и далее, по отверстиям в шатунах, к пальцам поршней.
С верхнего подшипника валика привода´
масляного´
насоса по поперечным сверлениям и через внутреннюю´
полость´
валика масло подается на нижний подшипник´
валика и торцовую поверхность ведомой´
шестерни´
привода. Смазывание шестерней привода маслонасоса осуществляется масляным потоком´
через´
сверление´
диаметром 2 миллиметра в главной магистрали масла.
С целью понижения температуры поршня, из отверстия´
в верхней головке шатуна, происходит разбрызгивание масла по днищю поршня.
Масло из главной магистрали, по вертикальному каналу´
в´
блоке, поднимается к головке блока´
цилиндров и смазывает опоры распредвалов затем подводится к´
гидронатяжителю´
цепи второй ступени привода распредвалов, к´
датчикам давления масла и гидротолкателям. Просачиваясь из´
зазоров и затем, стекая´
в´
картер через переднюю часть головки´
блока´
цилиндров,´
масло смазывает цепи, звездочки и башмаки привода распредвалов.
Система смазки имеет емкость 6 литров. Заливка масла в´
двигатель производится через горловину, которая расположена в´
крышке´
клапанов и закрывается крышкой с резиновой уплотнительной прокладкой.
Контроль уровня масла производится по меткам «О» и «П» на стержне щупа. Уровень нужно поддерживать рядом с меткой «П» и не превышать ее.
Двигатель рядный четырехцилиндровый, оборудован комплексной микропроцессорной
системой управления впрыском топлива и зажиганием (КМСУД).
Вид двигателя мод. 4062 с левой стороны:
1 – сливная пробка;
2 – масляный картер;
3 – выпускной коллектор;
4 – кронштейн опоры двигателя;
5 – кран слива охлаждающей жидости;
6 – водяной насос;
7 – датчик лампы перегрева охлаждающей
жидкости;
8 – датчик указателя температуры охлаждающей
жидкости;
9 – датчик темпера;
10 – термостат;
11 – датчик лампы аварийного
давления масла;
12 – датчик указателя давления
масла;
13 – шланг вентиляции картера;
14 – указатель (щуп) уровня масла;
15 – катушка зажигания;
16 – датчик фазы;
17 – теплоизоляционный экран
Блок цилиндров отлит из серого чугуна. Между цилиндрами имеются каналы для
охлаждающей жидкости.
Цилиндры выполнены без вставных гильз. В нижней части блока
находятся пять опор коренных подшипников коленчатого вала. Крышки коренных
подшипников изготовлены из ковкого чугуна и крепятся к блоку двумя болтами. Крышки
подшипников растачиваются совместно с блоком, поэтому их нельзя менять местами.
На всех крышках, кроме крышки третьего подшипника, выбиты их порядковые номера.
Крышка третьего подшипника совместно с блоком обработана по торцам для установки
полушайб упорного подшипника. К торцам блока болтами привернуты крышка цепи и
сальникодержатель с манжетами коленвала. Снизу к блоку крепится масляный картер.
Сверху на блоке установлена головка блока цилиндров, отлитая из алюминиевого
сплава. В ней установлены впускные и выпускные клапаны. На каждый цилиндр
установлены по четыре клапана, два впускных и два выпускных. Впускные клапаны
расположены с правой стороны головки, а выпускные — с левой. Привод клапанов
осуществляется двумя распределительными валами через гидравлические толкатели.
Применение гидротолкателей исключает необходимость регулировки зазоров в приводе
клапанов, так как они автоматически компенсируют зазор между кулачками
распределительных валов и стержнями клапанов. Снаружи на корпусе гидротолкателя
имеется канавка и отверстие для подвода масла внутрь гидротолкателя из масляной
магистрали.
Вид двигателя мод. 4062 с правой стороны:
1 – диск синхронизации;
2 – датчик частоты вращения и синхронизации;
3 – масляный фильтр;
4 – стартер;
5 – датчик детонации;
6 – трубка слива охлаждающей жидкости;
7 – датчик температуры воздуха;
8 – впускная труба;
9 – ресивер;
10 – катушка зажигания;
11 – регулятор холостого хода;
12 – дроссель;
13 – гидронатяжитель цепи;
14 – генератор
Гидротолкатель имеет стальной корпус, внутри которого приварена направляющая
втулка. Во втулке установлен компенсатор с поршнем. Компенсатор удерживается во
втулке стопорным кольцом.
Между компенсатором и поршнем установлена разжимная
пружина. Поршень упирается в донышко корпуса гидротолкателя. Одновременно
пружина поджимает корпус обратного шарикового клапана. Когда кулачок
распределительного вала не нажимает на гидротолкатель, пружина прижимает через
поршень корпус гидротолкателя к цилиндрической части кулачка распределительного
вала, а компенсатор — к стержню клапана, выбирая при этом зазоры в приводе
клапанов. Шариковый клапан в этом положении открыт, и масло поступает в
гидротолкатель. Как только кулачок распределительного вала повернется и нажмет на
корпус толкателя, корпус опустится вниз и шариковый клапан закроется. Масло,
находящееся между поршнем и компенсатором, начинает работать как твердое тело.
Гидротолкатель под действием кулачка распредвала движется вниз и открывает клапан.
Когда кулачок, поворачиваясь, перестает давить на корпус гидротолкателя, он под
действием пружины перемещается вверх, открывая шариковый клапан, и весь цикл
повторяется снова.
Поперечный разрез двигателя мод. 4062
1 – масляный картер;
2 – приемник масляного насоса;
3 – масляный насос;
4 – привод масляного насоса;
5 – шестерня промежуточного вала;
6 – блок цилиндров;
7 – впускная труба;
8 – ресивер;
9 – распределительный вал впускных
клапанов;
10 – впускной клапан;
11 – крышка клапанов;
12 – распределительный вал выпускных
клапанов;
13 – указатель уровня масла;
14 – гидравлический толкатель клапана;
15 – наружная пружина клапана;
16 – направляющая втулка клапана;
17 – выпускной клапан;
18 – головка блока цилиндров;
19 – выпускной коллектор;
20 – поршень;
21 – поршневой палец;
22 – шатун;
23 – коленчатый вал;
24 – крышка шатуна;
25 – крышка коренного подшипника;
26 – сливная пробка;
27 – корпус толкателя;
28 – направляющая втулка;
29 – корпус компенсатора;
30 – стопорное кольцо;
31 – поршень компенсатора;
32 – шариковый клапан;
33 – пружина шарикового клапана;
34 – корпус шарикового клапана;
35 – разжимная пружина
В головке блока с большим натягом установлены седла и направляющие втулки
клапанов.
В нижней части головки блока выполнены камеры сгорания, в верхней –
расположены опоры распределительных валов. На опорах установлены алюминиевые
крышки. Передняя крышка является общей для опор впускного и выпускного
распределительных валов. В этой крышке установлены пластмассовые упорные
фланцы, которые входят в проточки на шейках распределительных валов. Крышки
растачиваются совместно с головкой блока, поэтому их нельзя менять местами. На
всех крышках, кроме передней, выбиты порядковые номера.
Схема установки крышек распределительных валов
Распределительные валы отлиты из чугуна. Профили кулачков впускного и выпускного
валов одинаковые. Кулачки смещены на 1,0 мм относительно оси гидротолкателей, что
при работе двигателя заставляет их вращаться. Это уменьшает износ поверхности
гидротолкателя и делает его равномерным. Сверху головка блока закрыта крышкой,
отлитой из алюминиевого сплава. Поршни также отлиты из алюминиевого сплава.
На
донышке поршня выполнены четыре углубления под клапаны, которые предотвращают
удары поршня по клапанам при нарушении фаз газораспределения. Для правильной
установки поршня в цилиндр на боковой стенке у бобышки под поршневой палец отлита
надпись: «Перед». Поршень устанавливают в цилиндр так, чтобы эта надпись была
обращена к передней части двигателя.
На каждом поршне установлены два компрессионных и одно маслосъемное кольца.
Компрессионные кольца отлиты из чугуна. Бочкообразная рабочая поверхность верхнего
кольца покрыта слоем пористого хрома, что улучшает приработку кольца. Рабочая
поверхность нижнего кольца покрыта слоем олова. На внутренней поверхности нижнего
кольца имеется проточка. Кольцо должно устанавливаться на поршень этой проточкой
вверх, к днищу поршня. Маслосъемное кольцо состоит из трех элементов: двух
стальных дисков и расширителя. Поршень крепится к шатуну с помощью поршневого
пальца «плавающего типа», т.е. палец не закреплен ни в поршне, ни в шатуне.
От
перемещения палец удерживается двумя пружинными стопорными кольцами, которые
установлены в канавках бобышек поршней. Шатуны стальные кованые, со стержнем
двутаврового сечения. В верхнюю головку шатуна запрессована бронзовая втулка.
Нижняя головка шатуна с крышкой, которая крепится двумя болтами. Гайки шатунных
болтов имеют самостопорящуюся резьбу и поэтому дополнительно не стопорятся.
Крышки шатунов обрабатываются совместно с шатуном, и поэтому их нельзя
переставлять с одного шатуна на другой. На шатунах и крышках шатунов выбиты номера
цилиндров. Для охлаждения днища поршня маслом в стержне шатуна и верхней головке
выполнены отверстия. Масса поршней, собранных с шатунами, не должна отличаться
более чем на 10 г для разных цилиндров. В нижнюю головку шатуна устанавливают
тонкостенные шатунные вкладыши. Коленчатый вал отлит из высокопрочного чугуна.
Вал имеет восемь противовесов. От осевого перемещения его удерживают упорные
полушайбы, установленные на средней шейке.
К заднему концу коленчатого вала
прикреплен маховик. В отверстие маховика вставлены распорная втулка и подшипник
первичного вала коробки передач.
На шатунах и крышках шатунов выбиты номера цилиндров. Для охлаждения днища
поршня маслом в стержне шатуна и верхней головке выполнены отверстия. Масса
поршней, собранных с шатунами, не должна отличаться более чем на 10 г для разных
цилиндров. В нижнюю головку шатуна устанавливают тонкостенные шатунные
вкладыши. Коленчатый вал отлит из высокопрочного чугуна. Вал имеет восемь
противовесов. От осевого перемещения его удерживают упорные полушайбы,
установленные на средней шейке. К заднему концу коленчатого вала прикреплен
маховик. В отверстие маховика вставлены распорная втулка и подшипник первичного
вала коробки передач.
Наиболее полно оценить состояние масляного насоса 406.1011010-03 двигателя ЗМЗ-40524 автомобилей Газель и Соболь, позволяет проверка его на специальном стенде.
При низком в системе двигателя ЗМЗ-40524, возможной причиной которого могла послужить неисправность масляного насоса, насос необходимо разобрать и проверить техническое состояние его деталей.
При проверке редукционного клапана убедиться, что его плунжер перемещается в отверстии приемного патрубка свободно, без заеданий, а пружина находится в исправном состоянии.
Затем проверить наличие дефектов на рабочей поверхности плунжера и отверстия приемного патрубка насоса, которые могут привести к падению давления в системе смазки и заеданию плунжера. При необходимости мелкие дефекты поверхности отверстия приемного патрубка устранить шлифованием мелкозернистой шкуркой, не допуская увеличения диаметра. Износ отверстия приемного патрубка под плунжер свыше размера диаметром 13,1 мм и плунжера менее размера наружного диаметра 12,92 мм не допускается.
В дальнейшем проверить ослабление пружины. Длина пружины редукционного клапана в свободном состоянии должна быть 50 мм. Усилие сжатия пружины до длины 40 мм должно быть 45+-2,94 Н (4,6+-0,3 кгс). При меньшем усилии пружина подлежит бракованию.
Если на плоскости перегородки имеется значительная выработка от шестерен, необходимо прошлифовать ее до устранения следов выработки, но до размера высоты перегородки не менее 5,8 мм.
При значительных износах корпуса, шестерен, запрессованной в корпус насоса оси и других деталей следует заменить изношенную деталь или масляный насос 406.1011010-03 в сборе.
Размеры и зазоры сопрягаемых деталей масляного насоса 406.1011010-03, редукционного клапана и привода масляного насоса системы смазки двигателя ЗМЗ-40524 автомобилей Газель и Соболь.
Порядок разборки масляного насоса 406.1011010-03 системы смазки двигателя ЗМЗ-40524 автомобилей Газель и Соболь.
— Отогнуть усы каркаса сетки, снять каркас и сетку.
— Отвернуть три винта, снять приемный патрубок и перегородку.
— Вынуть из корпуса ведомую шестерню и валик с ведущей шестерней в сборе.
— Вынуть шайбу, пружину и плунжер редукционного клапана из приемного патрубка, предварительно сняв шплинт.
— Промыть детали и продуть сжатым воздухом.
Сборка масляного насоса 406.1011010-03 системы смазки двигателя ЗМЗ-40524 автомобилей Газель и Соболь.
— Установить плунжер, пружину, шайбу редукционного клапана в отверстие в приемном патрубке и закрепить шплинтом.
Шайбу следует устанавливать, снятую при разборке насоса, так как она является регулировочной.
— Установить в корпус масляного насоса валик в сборе с ведущей шестерней и проверить легкость его вращения.
— Установить в корпус ведомую шестерню и проверить легкость вращения обеих шестерен.
— Установить перегородку, приемный патрубок и привернуть к корпусу тремя винтами с шайбами.
— Установить сетку, каркас сетки и завальцевать усы каркаса на края приемника масляного насоса.
Система смазки включает: масляный картер, масляный насос с приемным патрубком и редукционным клапаном, привод масляного насоса, масляные каналы в блоке цилиндров, головке цилиндров и коленчатом валу, полнопоточный масляный фильтр, стержневой указатель уровня масла, термоклапан, крышку маслоналивного патрубка, пробку слива масла, датчик аварийного давления масла и масляный радиатор.
Циркуляция масла происходит следующим образом. Насос 1 засасывает масло
из картера 2 и по каналу блока цилиндров подводит его к термоклапану 4.
При давлении масла 4,6 кгс/см 2 происходит открытие редукционного клапана 3 масляного насоса и перепуск масла обратно в зону всасывания насоса, благодаря чему уменьшается рост давления в системе смазки.
Максимальное давление масла в системе смазки — 6,0 кгс/см 2 .
При давлении масла выше 0,7-0,9 кгс/см 2 и температуре выше 79-83 °С термоклапан начинает открывать проход потоку масла в радиатор, отводимый
через штуцер 9. Температура полного открытия канала термоклапана — 104-114 °С. Охлажденное масло из радиатора возвращается в масляный картер через отверстие 22. После термоклапана масло поступает к полнопоточному масляному фильтру 6.
Очищенное масло из фильтра поступает в центральную масляную магистраль 5
блока цилиндров, откуда через каналы 18 подводится к коренным
подшипникам коленчатого вала, через каналы 8 — к подшипникам
промежуточного вала, через канал 7 — к верхнему подшипнику валика
привода масляного насоса и также подводится к гидронатяжителю нижней
цепи привода распределительных валов.
От коренных подшипников масло через внутренние каналы 19 коленчатого вала 20 подводится к шатунным подшипникам и от них через каналы 17 в шатунах подается для смазки поршневых пальцев. Для охлаждения поршня масло через отверстие в верхней головке шатуна разбрызгивается на днище поршня.
От верхнего подшипника валика привода масляного насоса масло через поперечные сверления и внутреннюю полость валика подается для смазки нижнего подшипника валика и опорной поверхности ведомой шестерни привода (см. рис. 1.21). Шестерни привода масляного насоса смазываются струей масла, разбрызгиваемой через отверстие в центральной масляной магистрали.
Рис. 1.18. Схема системы смазки: 1 — масляный насос; 2 — масляный картер;
3 — редукционный клапан масляного насоса; 4 — термоклапан; 5 — центральная масляная магистраль; 6 — масляный фильтр; 7, 8, 10, 11, 12, 14, 17, 18, 19 — каналы подачи масла; 9 — штуцер термоклапана отвода масла в радиатор; 13 — крышка маслоналивного патрубка; 15 — рукоятка указателя уровня масла; 16 — датчик сигнализатора аварийного давления масла; 20 — коленчатый вал; 21 — стержневой указатель уровня масла; 22 — отверстие подсоединения штуцера шланга подвода масла из радиатора; 23 — пробка слива масла
Из центральной масляной магистрали масло через канал 10 блока цилиндров
поступает в головку цилиндров, где по каналам 12 подводится к опорам
распределительных валов, по каналам 14 — к гидротолкателям, по каналу 11
— к гидронатяжителю верхней цепи привода распределительных валов.
Вытекая из зазоров и стекая в масляный картер в передней части головки цилиндров, масло попадает на цепи, рычаги натяжных устройств и звездочки привода распределительных валов.
В задней части головки цилиндров масло стекает в масляный картер по отверстию головки через отверстие в приливе блока цилиндров.
Заливка масла в двигатель осуществляется через маслоналивной патрубок крышки клапанов, закрываемый крышкой 13 с уплотнительной резиновой прокладкой. Уровень масла контролируется по нанесенным на указателе 21 уровня масла меткам: верхнего уровня — «MAX» и нижнего — «MIN». Слив масла производится через отверстие в масляном картере, закрываемое сливной пробкой 23 с уплотнительной прокладкой.
Очистка масла осуществляется сеткой, установленной на приемном парубке масляного насоса, фильтрующими элементами полнопоточного масляного фильтра, а также центрифугированием в каналах коленчатого вала.
Контроль за давлением масла осуществляется по сигнализатору аварийного
давления масла (контрольная лампа на панели приборов), датчик 16
которого установлен в головке цилиндров.
Сигнализатор аварийного
давления масла загорается при снижении давления масла ниже 40-80 кПа
(0,4-0,8 кгс/см
2
).
Ведущая шестерня 1 неподвижно закреплена на валике 3 с помощью штифта, а ведомая 5 свободно вращается на оси 4, запрессованной в корпусе 2 насоса. На верхнем конце валика 3 сделано шестигранное отверстие, в которое входит шестигранный валик привода масляного насоса.
Центрирование ведущего валика насоса осуществляется благодаря посадке цилиндрического выступа корпуса насоса в отверстии блока цилиндров.
Корпус насоса отлит из алюминиевого сплава, перегородка 6 и шестерни изготовлены из металлокерамики. К корпусу тремя винтами крепится литой из алюминиевого сплава приемный патрубок 7 с сеткой, в котором установлен редукционный клапан.
Рис. 1.19. Масляный насос: 1 — ведущая шестерня; 2 — корпус; 3 — валик; 4 — ось; 5 — ведомая шестерня; 6 — перегородка; 7 — приемный патрубок с сеткой и редукционным клапаном.
Редукционный клапан отрегулирован на заводе подбором шайб 3 определенной
толщины.
Менять регулировку клапана в эксплуатации не рекомендуется.
Рис. 1.20. Редукционный клапан: 1 — плунжер; 2 — пружина; 3 — шайба; 4 — шплинт
На промежуточном валу с помощью сегментной шпонки 3 установлена и закреплена фланцевой гайкой ведущая шестерня 2. Ведомая шестерня 7 напрессована на валик 8, вращающийся в расточках блока цилиндров. В верхнюю часть ведомой шестерни запрессована стальная втулка 6, имеющая
внутреннее шестигранное отверстие. В отверстие втулки вставляется шестигранный валик 9, нижний конец которого входит в шестигранное отверстие валика масляного насоса.
Сверху привод масляного насоса закрыт крышкой 4, закрепленной через прокладку 5 четырьмя болтами. Ведомая шестерня при вращении верхней торцовой поверхностью прижимается к крышке привода.
Рис. 1.21. Привод масляного насоса: 1 — промежуточный вал; 2 — ведущая шестерня;
3 — шпонка; 4 — крышка; 5 — прокладка; 6 — втулка; 7 — ведомая шестерня; 8 — валик: 9 — шестигранный валик привода масляного насоса
Ведущая и ведомая винтовые шестерни изготовлены из высокопрочного чугуна
и азотированы для улучшения их износостойкости.
Шестигранный валик
изготовлен из легированной стали и углеродоазотирован. Валик привода
8 стальной, с местной закалкой опорных поверхностей токами высокой частоты.
ф.«Автоагрегат», г.Ливны или 406.1012005-02 ф.«БИГ-фильтр», г.С-Петербург.
Для установки на двигатель использовать только указанные масляные фильтры, которые обеспечивают высокое качество фильтрации масла.
Фильтры 2101С-1012005-НК-2 и 406.1012005-02 снабжены фильтрующим элементом перепускного клапана, снижающего вероятность попадания неочищенного масла в систему смазки при пуске холодного двигателя и предельном загрязнении основного фильтрующего элемента.
Рис. 1.22. Масляный фильтр: 1 — пружина; 2 — корпус; 3 — фильтрующий элемент перепускного клапана; 4 — перепускной клапан; 5 — основной фильтрующий элемент; 6 — противодренажный клапан; 7 — крышка; 8 — прокладка
Фильтры очистки масла 2101С-1012005-НК-2 и 406.1012005-02 работают
следующим образом: масло через отверстия в крышке 7 под давлением
подается в полость между наружной поверхностью основного фильтрующего
элемента 5 и корпусом 2, проходит через фильтрующую штору элемента 5,
очищается и попадает через центральное отверстие крышки 7 в центральную
масляную магистраль.
При предельном загрязнении основного фильтрующего элемента или холодном пуске, когда масло очень густое и с трудом проходит через основной фильтрующий элемент, открывается перепускной клапан 4 и масло в двигатель проходит, очищаясь фильтрующим элементом 3 перепускного клапана.
Противодренажный клапан 6 препятствует вытеканию масла из фильтра при стоянке автомобиля и последующему «масляному голоданию» при пуске.
Фильтр 406.1012005-01 устроен аналогично представленным выше масляным фильтрам, но не содержит фильтрующего элемента 3 перепускного клапана.
Масляный фильтр подлежит замене при ТО-1 (каждые 10 000 км пробега) одновременно со сменой масла.
Предприятием-изготовителем на двигатели устанавливается масляный фильтр уменьшенного объема, который должен быть заменен при проведении технического обслуживания после пробега первой 1000 км на один из вышеуказанных фильтров.
давления. На двигателе термоклапан установлен между блоком цилиндров и
масляным фильтром.
Термоклапан состоит из корпуса 3, отлитого из алюминиевого сплава, двух клапанов: предохранительного, состоящего из шарика 4 и пружины 5, и перепускного, состоящего из плунжера 1, управляемого термосиловым датчиком 2, и пружины 10; резьбовых пробок 7 и 8 с прокладками 6 и 9. Шланг подачи масла в радиатор подсоединяется к штуцеру 11.
Рис. 1.23. Термоклапан: 1 — плунжер; 2 — термосиловой датчик; 3 — корпус термоклапана; 4 — шарик; 5 — пружина шарикового клапана; 6 — прокладка; 7, 8 — пробка; 9 — прокладка; 10 — пружина плунжера; 11 — штуцер
От масляного насоса масло подается под давлением в полость А
термоклапана. При давлении масла выше 0,7-0,9 кгс/см
2
шариковый
клапан открывается и масло поступает в канал Б корпуса термоклапана Б к
плунжеру 1. При достижении температуры масла 79-83 °С поршень
термосилового элемента 2, омываемого потоком горячего масла, начинает
перемещать плунжер 10, открывая путь потоку масла из канала Б к
масляному радиатору.
Шариковый клапан предохраняет трущиеся детали двигателя от излишнего падения давления масла в системе смазки.
Редукционный клапан главной масляной магистрали
фотогалерея
Описание бронетранспортёра
Описание бронетранспортёра
Бронетранспортер БТР-70 боевая колесная плавающая бронированная машина, вооруженная 14,5-мм пулеметом КПВТ и спаренным с ним 7,62-мм пулеметом ПКТ в башенной установке.
подробнее
смотреть все статьи
Броневой корпус
Уход за корпусом
Примечание. Здесь и далее по тексту следует понимать, что в перечень работ, выполняемых при ТО № 1 входят работы, выполняемые при ЕТО, а в перечень работ, выполняемых при ТО N» 2, входят работы выполняемые при ТО № 1.
подробнее
смотреть все статьи
Вооружение
Разборка и сборка башенной установки
Разборка установки производится для осмотра, чистки, смазки или ремонта.
Объем необходимой разборки определяется конкретно для каждого случая.
подробнее
смотреть все статьи
Приборы наблюдения
Установка прибора ТВНО-2Б
Прибор ТВНО-2Б в рабочем положении находится в гнезде на лобовом листе корпуса машины перед водителем и крепится к гнезду специальными зажимами.
подробнее
смотреть все статьи
Специальное оборудование
Автоматическая система ППО на БТР-70
Противопожарное оборудование машины состоит из автоматической системы ППО и ручного огнетушителя ОУ-2.
подробнее
смотреть все статьи
Силовая установка
Работа бензонасосадалее
- Вакуумный регулятор опережения зажигания
- Фильтр тонкой очистки топлива
- Впускная труба
Полезные ссылки
- Если хочешь научиться БЫСТРО ЧИТАТЬ — жми сюда!
Главная → Силовая установка → Редукционный клапан главной масляной магистрали
Редукционный клапан главной масляной магистрали
Клапан плунжерного типа, расположен в блоке цилиндров в конце главной масляной магистрали слева по ходу машины под бензиновым насосом.
Устройство редукционного клапана показано на рис. 105.
Характеристика клапана достигается соответствующей тарировкой пружины 3. Для сжатия пружины до длины 40 мм необходимо усилие 4,6— 4,85 кгс. На заводе изготовителе клапан отрегулирован так, чтобы давление масла в системе прогретого двигателя (до 80—90СС) не превышало 5,5 кгс/с м? , так как при более высоком давлении будет повышаться расход масла.
Работа клапана заключается в следующем. На торец плунжера 6 действует давление масла, создаваемое масляным насосом, и плунжер, преодолевая усилие пружины 3, перемещается в сторону пробки 1. Когда пружина сожмется и откроется сливное отверстие 7, лишнее масло начнет сливаться в полость крышки распределительных шестерен и давление масла будет соответствовать требуемой величине.
При дальнейшем увеличении количества масла, нагнетаемого насосом, что происходит при увеличении оборотов двигателя, а следовательно, и насоса, плунжер 6 еще больше открывает сливное отверстие 7 и количество сливаемого масла соответственно увеличивается.
Когда по мере износа двигателя расход масла через подшипники увеличивается, давление в системе остается примерно прежним, так как количество масла, сливаемого при этом через редукционный клапан, соответственно уменьшается.
При работе редукционного клапана в полость за плунжером 6 просачивается некоторое количество масла, которое сливается затем через отверстие 5.
27.09.2010, 3788 просмотров.
Трансмиссия
- Механизм отключения неисправного двигателя
- Установка и устройство раздаточных коробок
- Синхронизатор
- Сцепление
подробнее
Рулевое управление
- Гидравлический усилитель рулевого привода
- Фильтр и предохранительный клапан
- Регулировка рулевого управления
- Регулировка зацепления рабочей пары червяк — ролик
подробнее
Тормозные системы
- Прокачка и заполнение тормозного гидропривода рабочей жидкостью
- Тормозные механизмы
- Привод рабочей тормозной системы
- Регулировка привода рабочей тормозной системы
подробнее
Ходовая часть
- Работа системы регулирования давления в шинах
- Буфер
- Подвеска
- Блок шинных кранов
подробнее
Водометный движитель
- Система водоотлива на бронетранспортере
- Откачка воды установленная в БТР-70
- Редуктор водометного движителя в БТР-70
- Волноотражательный щиток в БТР-70
подробнее
Эксплуатация машины
- Сезонные особенности эксплуатации БТР-70
- Подготовка БТР-70 к зимней эксплуатации
- Правила эксплуатации бронетранспортера в летних условиях
- Подготовка БТР-70 к эксплуатации в летних условиях
подробнее
Новости
Департамент промышленности, транспорта, связи и инноваций Воронежской области о.
..
подробнее
Клапан сброса давления (PRV)
Клапан сброса давления — это предохранительное устройство, предназначенное для защиты сосуда или системы, находящейся под давлением, во время избыточного давления.
Событие избыточного давления относится к любому состоянию, которое может привести к увеличению давления в резервуаре или системе сверх указанного расчетного давления или максимально допустимого рабочего давления (MAWP).
Основное назначение предохранительного клапана — защита жизни и имущества путем выпуска жидкости из сосуда, находящегося под избыточным давлением.
В настоящее время существует множество электронных, пневматических и гидравлических систем для управления параметрами жидкостной системы, такими как давление, температура и расход. Для работы каждой из этих систем требуется источник питания определенного типа, например, электричество или сжатый воздух. Клапан сброса давления должен быть в состоянии работать в любое время, особенно в период сбоя питания, когда средства управления системой не работают.
Таким образом, единственным источником энергии для предохранительного клапана является технологическая среда.
При возникновении условия, вызывающего повышение давления в системе или сосуде до опасного уровня, предохранительный клапан давления может быть единственным устройством, оставшимся для предотвращения катастрофического отказа. Поскольку надежность напрямую связана со сложностью устройства, важно, чтобы конструкция предохранительного клапана была максимально простой.
Клапан сброса давления должен открываться при заданном заданном давлении, обеспечивать номинальную пропускную способность при заданном избыточном давлении и закрываться, когда давление в системе возвращается к безопасному уровню. Клапаны сброса давления должны быть разработаны с использованием материалов, совместимых со многими технологическими жидкостями, от простого воздуха и воды до самых агрессивных сред. Они также должны быть рассчитаны на плавную и стабильную работу с различными жидкостями и жидкостными фазами.
Базовый подпружиненный предохранительный клапан давления был разработан для удовлетворения потребности в простом, надежном устройстве, приводимом в действие системой, для обеспечения защиты от избыточного давления.
На изображении справа показана конструкция подпружиненного предохранительного клапана.
Клапан состоит из впускного отверстия клапана или патрубка, установленного в системе под давлением, диска, прижатого к патрубку для предотвращения потока при нормальных условиях работы системы, пружины, удерживающей диск в закрытом состоянии, и корпуса/крышки, вмещающей рабочие элементы . Нагрузка пружины регулируется для изменения давления, при котором клапан открывается.
Когда предохранительный клапан начинает подниматься, усилие пружины увеличивается. Таким образом, давление в системе должно увеличиваться, если подъем должен продолжаться. По этой причине клапаны сброса давления допускают избыточное давление для достижения полного подъема. Это допустимое избыточное давление обычно составляет 10 % для клапанов в системах без воспламенения.
Этот запас относительно невелик, и должны быть предусмотрены некоторые средства, помогающие усилию подъема.
Поэтому большинство клапанов сброса давления имеют дополнительную камеру управления или камеру сжатия для увеличения подъемной силы. Когда диск начинает подниматься, жидкость поступает в камеру управления, подвергая большую площадь диска воздействию давления системы.
Это вызывает постепенное изменение силы, которое сверхкомпенсирует увеличение силы пружины и заставляет клапан открываться с большей скоростью. В то же время направление потока жидкости меняется на противоположное, и эффект импульса, возникающий в результате изменения направления потока, еще больше увеличивает подъемную силу. Сочетание этих эффектов позволяет клапану достигать максимального подъема и максимального расхода в допустимых пределах избыточного давления. Из-за большей площади диска, подверженной давлению в системе после подъема клапана, клапан не закроется до тех пор, пока давление в системе не упадет до некоторого уровня ниже установленного давления.
Конструкция камеры управления определяет, где будет происходить точка закрытия.
Разница между заданным давлением и давлением точки закрытия называется продувкой и обычно выражается в процентах от заданного давления.
Уравновешенные сильфонные клапаны и уравновешенные поршневые клапаны
Когда наложенное противодавление является переменным, рекомендуется конструкция с уравновешенным сильфоном или уравновешенным поршнем. Типичный сбалансированный сильфон показан справа. Сильфон или поршень имеют площадь эффективного давления, равную площади седла диска. Крышка имеет вентиляцию, чтобы гарантировать, что зона давления сильфона или поршня всегда будет подвергаться воздействию атмосферного давления, а также для подачи контрольного сигнала, если сильфон или поршень начнут протекать. Таким образом, изменения противодавления не влияют на заданное давление. Однако обратное давление может влиять на поток.
Предохранительный клапан сильфонного типа
Другие конструкции предохранительных клапанов
Предохранительный клапан
Предохранительный клапан представляет собой предохранительный клапан, приводимый в действие статическим давлением на входе и характеризующийся быстрым открытием или хлопком.
(Обычно используется для подачи пара и воздуха.)
- Низкоподъемный предохранительный клапан
Малоподъемный предохранительный клапан — это предохранительный клапан, в котором диск поднимается автоматически, так что фактическая площадь нагнетания определяется положением диска. - Предохранительный клапан полного подъема
Предохранительный клапан полного подъема представляет собой предохранительный клапан, в котором диск поднимается автоматически, так что фактическая площадь сброса не определяется положением диска.
Предохранительный клапан
Предохранительный клапан представляет собой устройство для сброса давления, приводимое в действие статическим давлением на входе, имеющее постепенный подъем, обычно пропорциональный увеличению давления по сравнению с давлением открытия. Он может быть оснащен закрытым корпусом пружины, подходящим для применения в закрытой системе нагнетания, и в основном используется для работы с жидкостями.
Предохранительный предохранительный клапан
Предохранительный предохранительный клапан представляет собой предохранительный клапан, характеризующийся быстрым открытием или хлопком, или открытием пропорционально увеличению давления по сравнению с давлением открытия, в зависимости от применения, и может использоваться либо для жидкость или сжимаемая жидкость.
- Обычный предохранительный предохранительный клапан
Обычный предохранительный предохранительный клапан представляет собой предохранительный клапан, корпус пружины которого вентилируется на стороне нагнетания клапана. Рабочие характеристики (давление открытия, давление закрытия и пропускная способность) напрямую зависят от изменений противодавления на клапане. - Сбалансированный предохранительный клапан
Сбалансированный предохранительный клапан представляет собой клапан сброса давления, в котором предусмотрены средства минимизации влияния обратного давления на рабочие характеристики (давление открытия, давление закрытия и пропускная способность).
Клапан сброса давления с пилотным управлением
Клапан сброса давления с пилотным управлением представляет собой клапан сброса давления, в котором основное предохранительное устройство объединено с автоматическим вспомогательным клапаном сброса давления и управляется им.
Предохранительный клапан с механическим приводом
Предохранительный клапан с механическим приводом представляет собой предохранительный клапан, в котором основное предохранительное устройство объединено с устройством, требующим внешнего источника энергии, и управляется им.
Предохранительный клапан давления, активируемый температурой
Клапан сброса давления, активируемый температурой, представляет собой предохранительный клапан, который может приводиться в действие внешней или внутренней температурой или давлением на входной стороне.
Вакуумный предохранительный клапан
Вакуумный предохранительный клапан представляет собой устройство сброса давления, предназначенное для впуска жидкости для предотвращения чрезмерного внутреннего вакуума; он предназначен для повторного закрытия и предотвращения дальнейшего потока жидкости после восстановления нормальных условий.
Нормы, стандарты и рекомендуемая практика
Во всем мире опубликовано множество норм и стандартов, касающихся конструкции и применения предохранительных клапанов. Наиболее широко используемым и признанным из них является Кодекс ASME по котлам и сосудам под давлением, обычно называемый Кодексом ASME.
Большинство норм и стандартов носят добровольный характер, что означает, что они доступны для использования производителями и пользователями и могут быть включены в спецификации по закупкам и строительству. Кодекс ASME уникален для Соединенных Штатов и Канады, поскольку он был принят большинством законодательных собраний штатов и провинций и предусмотрен законом.
Кодекс ASME устанавливает правила проектирования и изготовления сосудов под давлением. Различные разделы Кодекса охватывают обожженные сосуды, ядерные сосуды, несгоревшие сосуды и дополнительные предметы, такие как сварка и неразрушающий контроль. Сосуды, изготовленные в соответствии со стандартом ASME, должны иметь защиту от избыточного давления.
Тип и конструкция допустимых устройств защиты от избыточного давления подробно описаны в Кодексе.
Терминология
Следующие определения взяты из DIN 3320, но следует отметить, что многие используемые термины и связанные с ними определения являются универсальными и встречаются во многих других стандартах. Там, где общеупотребительные термины не определены в DIN 3320, в качестве источника ссылки используется ASME PTC25.3. Этот список не является исчерпывающим и предназначен только для справки; его не следует использовать вместо соответствующего действующего стандарта.
- Рабочее давление (рабочее давление)
— манометрическое давление, существующее при нормальных условиях эксплуатации в защищаемой системе. - Давление срабатывания
– это манометрическое давление, при котором в условиях эксплуатации начинают открываться предохранительные клапаны с прямой нагрузкой. - Испытательное давление
– манометрическое давление, при котором в условиях испытательного стенда (атмосферное противодавление) предохранительные клапаны с прямой нагрузкой начинают открываться.
- Давление открытия
— это манометрическое давление, при котором высота подъема достаточна для сброса заданной пропускной способности. Оно равно установленному давлению плюс разность давлений открытия. - Давление закрытия
— манометрическое давление, при котором предохранительный клапан с прямой нагрузкой повторно закрывается. - Суммарное противодавление
— это манометрическое давление, созданное на стороне выпуска за счет продувки. - Наложенное противодавление
— манометрическое давление на стороне выхода закрытого клапана. - Противодавление
— манометрическое давление, создаваемое на стороне выпуска во время продувки (накопленное противодавление + избыточное противодавление). - Накопление
– это увеличение давления сверх максимально допустимого рабочего манометрического давления защищаемой системы.
- Разность давлений открытия
— превышение давления над установленным давлением, необходимое для подъема, подходящего для обеспечения заданной пропускной способности. - Разность давлений повторной посадки
— это разница между давлением срабатывания и давлением посадки. - Функциональная разность давлений
представляет собой сумму разности давлений открытия и разности давлений повторной посадки. - Разность рабочих давлений
— разница давлений между установленным и рабочим давлением. - Подъем
— ход диска от закрытого положения. - Начало подъема (открытие)
– первое измеримое движение диска или восприятие шума разряда. - Площадь потока
— площадь поперечного сечения до или после седла корпуса, рассчитанная на основе минимального диаметра, который используется для расчета пропускной способности без вычета препятствий.
- Диаметр потока
— минимальный геометрический диаметр до или после седла корпуса. - Обозначение номинального размера
предохранительного клапана является номинальным размером входного отверстия. - Теоретическая пропускная способность
– расчетный массовый расход через отверстие, имеющее площадь поперечного сечения, равную площади проходного сечения предохранительного клапана, без учета потерь потока в клапане. - Фактическая пропускная способность — пропускная способность, определенная путем измерения.
- Сертифицированная пропускная способность
— фактическая пропускная способность, уменьшенная на 10%. - Коэффициент расхода
– отношение фактической пропускной способности к теоретической пропускной способности. - Сертифицированный коэффициент расхода
— коэффициент расхода, уменьшенный на 10% (также известный как сниженный коэффициент расхода).
Следующие термины не определены в DIN 3320 и взяты из ASME PTC25.3..
- Продувка (разность давлений повторной посадки) —
разница между фактическим давлением срабатывания и фактическим давлением повторной посадки, обычно выражаемая в процентах от установленное давление или в единицах давления. - Испытательное дифференциальное давление в холодном состоянии
давление, при котором клапан устанавливается на испытательном стенде с использованием испытательной жидкости при температуре окружающей среды. Это испытательное давление включает поправки на условия эксплуатации, т.е. обратное давление или высокие температуры. - Номинальное давление
— статическое давление на входе, при котором измеряется способность сброса давления устройства сброса давления. - Испытательное давление на утечку
— заданное статическое давление на входе, при котором проводится количественная проверка герметичности седла в соответствии со стандартной процедурой.
- Измеренная пропускная способность
— пропускная способность устройства сброса давления, измеренная при номинальном давлении потока. - Номинальная пропускная способность
— это часть измеренной пропускной способности, разрешенная применимыми нормами или правилами для использования в качестве основы для применения устройства для сброса давления. - Избыточное давление
— это повышение давления по сравнению с установленным давлением предохранительного клапана, обычно выражаемое в процентах от установленного давления. - Давление срабатывания
– это значение возрастающего статического давления на входе предохранительного клапана, при котором наблюдается измеримый подъем или при котором выпуск становится непрерывным, что определяется визуально, на ощупь или на слух. - Давление сброса
представляет собой установленное давление плюс избыточное давление.
- Simmer
– это зона давления между заданным давлением и давлением выдавливания. - Максимальное рабочее давление
— максимальное давление, ожидаемое во время работы системы. - Максимально допустимое рабочее давление (МДРД)
— максимально допустимое манометрическое давление в верхней части готового сосуда в его рабочем положении для заданной температуры. - Максимально допустимое накопленное давление (MAAP)
— это максимально допустимое рабочее давление плюс накопление, установленное в соответствии с применимыми нормами для эксплуатации или пожара.
Хранение и транспортировка предохранительных клапанов
Хранение и обращение с ними
Поскольку чистота необходима для удовлетворительной работы и герметичности предохранительного клапана, во время хранения следует принимать меры предосторожности, чтобы не допустить попадания в него посторонних материалов.
Предохранители на входе и выходе должны оставаться на месте до тех пор, пока клапан не будет готов к установке в систему. Следите за тем, чтобы входное отверстие клапана было абсолютно чистым. Клапан рекомендуется хранить в оригинальной транспортировочной упаковке в закрытом помещении вдали от грязи и других загрязнений.
С предохранительными клапанами следует обращаться осторожно и никогда не подвергать их ударам. Неосторожное обращение может изменить уставку давления, деформировать детали клапана и отрицательно сказаться на герметичности седла и работе клапана.
Никогда не поднимайте клапан и не перемещайте его с помощью подъемного рычага.
Когда необходимо использовать подъемник, цепь или строп должны быть размещены вокруг корпуса клапана и крышки таким образом, чтобы клапан находился в вертикальном положении для облегчения установки.
Установка
Многие клапаны повреждаются при первом вводе в эксплуатацию из-за неправильной очистки соединения при установке.
Перед установкой поверхности фланцев или резьбовые соединения как на входе клапана, так и на сосуде и/или линии, на которой установлен клапан, должны быть тщательно очищены от грязи и посторонних материалов.
Поскольку посторонние материалы, попадающие в предохранительные клапаны и через них, могут повредить клапан, системы, в которых клапаны испытываются и в конечном итоге устанавливаются, также должны быть осмотрены и очищены. Новые системы, в частности, могут содержать посторонние предметы, которые непреднамеренно застревают во время строительства и разрушают посадочную поверхность при открытии клапана. Перед установкой предохранительного клапана необходимо тщательно очистить систему.
Используемые прокладки должны соответствовать размерам конкретных фланцев. Внутренний диаметр должен полностью соответствовать входному и выходному отверстиям предохранительного клапана, чтобы прокладка не ограничивала поток.
Для клапанов с фланцем равномерно опустите все соединительные шпильки или болты, чтобы избежать деформации корпуса клапана.
Для клапанов с резьбой не применяйте гаечный ключ к корпусу клапана. Используйте шестигранники на входной втулке. Предохранительные клапаны
предназначены для открытия и закрытия в узком диапазоне давлений. Установки клапанов требуют точного проектирования как впускного, так и выпускного трубопровода. Рекомендации см. в международных, национальных и отраслевых стандартах.
Впускной трубопровод
Подсоедините этот клапан как можно ближе и напрямую к защищаемому сосуду.
Клапан должен быть установлен вертикально в вертикальном положении либо непосредственно на патрубке сосуда под давлением, либо на коротком соединительном фитинге, который обеспечивает прямой беспрепятственный поток между сосудом и клапаном. Установка предохранительного клапана в положение, отличное от рекомендованного, отрицательно повлияет на его работу.
Клапан никогда не следует устанавливать на фитинг, внутренний диаметр которого меньше диаметра входного патрубка клапана.
Выпускной трубопровод
Выпускной трубопровод должен быть простым и прямым. По возможности предпочтительнее «разорванное» соединение рядом с выпускным отверстием клапана. Все выпускные трубопроводы должны быть проложены как можно более прямым образом к точке окончательного выпуска для утилизации. Клапан должен сбрасываться в безопасную зону утилизации. Нагнетательный трубопровод должен быть опорожнен должным образом, чтобы предотвратить скопление жидкости на стороне, расположенной ниже по потоку от предохранительного клапана.
Вес нагнетательного трубопровода должен приходиться на отдельную опору и должным образом закреплен, чтобы выдерживать силы реактивной тяги при разгрузке клапана. Клапан также должен поддерживаться, чтобы выдерживать любые колебания или вибрации системы.
Если Клапан сбрасывает давление в систему под давлением, убедитесь, что Клапан имеет «сбалансированную» конструкцию. Давление на выпуске «несбалансированной» конструкции неблагоприятно повлияет на работу клапана и давление срабатывания.
Запрещается использовать фитинги или трубы с меньшим внутренним диаметром, чем выпускные соединения клапана.
Крышки предохранительных клапанов с уравновешенным сильфоном всегда должны вентилироваться, чтобы обеспечить надлежащее функционирование клапана и обеспечить контрольный сигнал в случае отказа сильфона. Не затыкайте эти открытые вентиляционные отверстия. Если жидкость является легковоспламеняющейся, токсичной или коррозионно-активной, вентиляционное отверстие крышки должно быть отведено в безопасное место.
Источник и изображения для этой страницы..
- Crosby® — Справочник по проектированию предохранительных клапанов
- Андерсон Гринвуд Кросби — Руководство технического семинара
- Spirax Sarco — Альтернативные средства защиты растений и терминология
Важно помнить, что предохранительный клапан — это защитное устройство, используемое для защиты сосудов или систем, работающих под давлением, от катастрофического отказа.
Имея это в виду, применение предохранительных клапанов должно быть поручено только полностью обученному персоналу и должно строго соответствовать правилам, предусмотренным регулирующими нормами и стандартами.
КНИГА 2, ГЛАВА 18: Клапаны сброса давления
Всегда используйте клапан сброса давления с гидравлическими насосами постоянного рабочего объема. В контурах насосов с компенсацией давления также может использоваться предохранительный клапан для определенных применений.
Предохранительный клапан в гидравлической системе можно сравнить с предохранителем или автоматическим выключателем в электрической цепи. Электрическая цепь никогда не перегорает предохранитель, если только она не перегружена. При перегрузке электрической цепи она неработоспособна до сброса. Обычно человек, ответственный за сброс предохранителя, ищет причину, по которой он перегорел, и устраняет проблему, прежде чем перезапустить машину. Многие гидравлические контуры позволяют предохранительному клапану сбрасывать часть или весь поток насоса в бак все время или часть времени.
Дополнительная мощность для производства этого неиспользованного потока стоит дорого. Кроме того, для выработки тепла за счет избыточного потока требуются более крупные теплообменники, которые дорого покупать и эксплуатировать.
Защита насоса и системы от избыточного давления является единственно допустимой функцией предохранительного клапана. Ни в коем случае нельзя использовать предохранительный клапан для подачи жидкости под избыточным давлением в бак. Когда избыточный поток насоса направляется в бак, он вырабатывает тепло. Перепускной клапан в хорошо спроектированном гидравлическом контуре никогда не сбрасывает масло в бак, за исключением случаев неисправности контура или системы управления.
Рис. 18-1. Редукционный клапан прямого действия.
На рис. 18-1 изображен символ предохранительного клапана прямого действия. Предохранительный клапан прямого действия быстро реагирует, когда давление пытается подняться выше уставки клапана.
Его можно использовать в контурах с насосами с компенсацией давления для уменьшения скачков давления. В гидравлическом контуре с насосом постоянной производительности предохранительный клапан прямого действия открывается частично раньше и, таким образом, расходуется энергия. Когда система должна работать с давлением, близким к максимальному, без перепуска жидкости, используйте предохранительный клапан с пилотным управлением.
Рисунки 18-2 и -3 показывают простые и полные символы для пилотного (или составного) полезного клапана. Предохранительный клапан этого типа состоит из двух секций. Пилотный оператор сверху представляет собой небольшой предохранительный клапан прямого действия тарельчатого типа. Основная проточная часть клапана представляет собой нормально закрытый двухходовой клапан тарельчатого или поршневого типа.
Через внутренний порт небольшой разгрузочный тарелка прямого действия управляет большой тарелкой или поршнем. Предохранительный клапан с пилотным управлением реагирует медленнее, но даже частично не открывается до тех пор, пока давление в системе не достигнет приблизительно 95% от установленного давления. Предохранительные клапаны с пилотным управлением подходят для дистанционного управления, они открываются для разгрузки насосов при давлении ниже 50 фунтов на квадратный дюйм и в некоторых контурах действуют как большие двухходовые клапаны.
Примеры контуров предохранительных клапанов
Всегда располагайте предохранительный клапан как можно ближе к выпускному отверстию насоса постоянной производительности. Предохранительный клапан с пилотным управлением работает лучше всего, потому что он не пропускает жидкость до тех пор, пока давление в системе не станет очень близким к давлению срабатывания клапана.

Рисунок 18-4 Показывает типичная цепь наполнителя с фиксированным пространством. За исключением случаев неисправности цепи управления или если она используется для поддержания давления в цилиндре, предохранительный клапан никогда не открывается. Выделение тепла минимально, и контур обычно может работать без теплообменника.
Рис. 18-4. Контур насоса постоянной производительности с предохранительным клапаном. На рисунке 18-5 показан насос с компенсированным давлением с рельефным клапаном прямого действия для защиты от чрезмерного давления. Скачки давления часто возникают в контурах насосов с компенсацией давления с высоким расходом или быстрой цикличностью. Когда насос должен быстро или часто компенсировать переход от полного расхода к отсутствию потока, возникающее в результате избыточное давление резко сокращает срок службы насоса.
На рис. 18-5 насос будет работать при низком давлении и полном расходе, когда цилиндр CYL3 быстро расширяется. Когда цилиндр останавливается, потребность в жидкости равна нулю, но расход насоса по-прежнему составляет 40 галлонов в минуту. По мере роста давления насос, наконец, начинает компенсировать давление примерно при 1900 или 1950 фунтов на квадратный дюйм. Он по-прежнему производит 40 галлонов в минуту — нефти некуда девать. Без предохранительного клапана в контуре скачки давления в системе во время каждого цикла могут в четыре-десять раз превышать настройку компенсатора. Скачки давления повреждают насос и трубопровод через несколько часов работы. Чем быстрее цикл, тем быстрее ударные повреждения от скачков давления вызывают проблемы.
Предохранительный клапан, установленный на рис. 18-5, уменьшает скачки давления для защиты системы. Когда насос переключается на отсутствие потока, избыточный поток поступает в резервуар через предохранительный клапан.
Когда насос достигает давления компенсатора, предохранительный клапан закрывается. (Другой и лучший способ уменьшить скачки давления и защитить насос с компенсацией давления от быстрой цикличности см. в главе 1, рис. 17-19.)
Установите предохранительный клапан в контуре насоса с компенсацией давления на 150–200 фунтов на кв. дюйм выше давления компенсатора насоса. Когда давление сброса ниже настройки компенсатора, поток насоса направляется в бак и нагревается. Если давление сброса установлено равным давлению компенсатора, предохранительный клапан начинает сброс, когда насос начинает компенсацию. Когда предохранительный клапан пропускает жидкость, насос видит падение давления и снова начинает подавать. Результирующее падение давления позволяет предохранительному клапану закрыться, и цикл сброса/потока начинается снова. Через несколько часов такой беспорядочной работы насос выходит из строя.
Добавление электромагнитного клапана к вентиляционному отверстию пилотного предохранительного клапана позволяет создать эффективный разгрузочный клапан.
На рис. 18-6 показан насос постоянной производительности, питающий три цилиндра. На соленоид предохранительного клапана при неработающих цилиндрах питание не подается, поэтому поток насоса идет в бак под низким давлением. Подача питания на соленоид предохранительного клапана и направляющего клапана одного цилиндра вызывает действие. При одновременном включении обоих соленоидов поток насоса направляется в цилиндр до тех пор, пока не будет достигнуто максимальное давление сброса. Соленоидный предохранительный клапан всегда имеет небольшую задержку перед блокировкой потока в резервуар после включения соленоида. Задержка измеряется в миллисекундах, поэтому обычно она заметна только на очень быстрых циклах.
Схема на рисунке 18-7 Использует съемный клапан, работающий на соленоиде, чтобы выгрузить насос с высоким содержанием доли в цепи HI-LO.
Вместо того, чтобы ждать, пока создастся давление, прежде чем насос большого объема перекачает масло в бак, соленоид сбросит масло по требованию. Сигнал запроса может исходить от реле давления, концевого выключателя или электрического глазка, который определяет положение цилиндра (затем замедляет его, прежде чем он коснется работы).
Предохранительный клапан, замедляющий привод
На рисунках с 18-8 по 18-14 показан нормально закрытый электромагнитный предохранительный клапан B , используемый для быстрого выдвижения, а затем замедления свободно падающего цилиндра. Торможение происходит, когда цилиндр замыкает концевой выключатель, обесточивающий электромагнит на предохранительном клапане B . Давление сброса должно быть установлено на 150–200 фунтов на квадратный дюйм выше, чем давление, необходимое для подъема цилиндра. Любое более высокое давление сброса укорачивает ход торможения и усиливает удар.
Рис. 18-8. Пресс-схема с размыкающим электромагнитным предохранительным клапаном для быстрой перемотки вперед и замедления.
Показан в состоянии покоя с работающим насосом.943 90434444444444444444444 40444044444444444444444444444 4044444444444444444444444 4044444444444444444444444 4044440444444444444444444444444444 гг. клапан B . Предварительный клапан F позволяет заполнять конец цилиндра с крышкой во время быстрого продвижения. (Объяснение функции клапана предварительного заполнения см. в главе 7.) Обратный клапан C на порте штока предотвращает попадание потока из цилиндра в бак через направляющий клапан A . Рис. 18-9. Пресс-схема с размыкающим электромагнитным предохранительным клапаном для быстрой перемотки вперед и замедления. Показан с ускоренным ходом цилиндра вперед. для расширения цилиндра, Energize Solenoid A104440.
9. Также подайте питание на соленоид C1 на предохранительном клапане B , выпустив его в бак и позволив цилиндру свободно упасть. При падении баллона конец крышки наполняется из насоса и непосредственно из бака через клапан предварительного наполнения 9.0438 Ф .
As the cylinder extends, high flow leaving the cylinder’s rod end goes to tank. Непосредственно перед тем, как стержень коснется изделия, концевой выключатель обесточивает соленоид 9.
0438 C1 на предохранительном клапане B , рис. 18-10. Когда клапан B пытается закрыться, давление в штоковой части цилиндра увеличивается, удерживая клапан частично открытым. Противодавление от предохранительного клапана B быстро и плавно замедляет опускание цилиндра. Цилиндр продолжает замедляться, в то время как предохранительный клапан закрывается. Цилиндр не останавливается полностью, потому что насос заставляет его выдвигаться после свободного падения.
After deceleration, relief valve B acts as a counterbalance valve, as in Figure 18- 11, поэтому нагрузка не может убежать.
Цилиндр выдвигается со скоростью нажатия на работу. Эта часть гребка должна быть как можно короче, чтобы сэкономить время. Предварительный клапан F закрывается по мере замедления цилиндра и позволяет создать давление в конце крышки. Замедление плавное и контролируемое — без толчков и подпрыгиваний. Эта схема замедляет цилиндр по команде электрического сигнала в любой точке его хода.
На рис. 18-12 показана цепь при нажатии цилиндра. Когда цилиндр коснется детали, снова подайте питание на соленоид C1 на предохранительном клапане B .
Включение соленоида на предохранительном клапане позволяет маслу с конца штока цилиндра течь в бак под минимальным давлением. Это позволяет весу плиты и инструмента увеличивать усилие прессования, потому что они больше не уравновешены. Давление увеличивается в конце крышки цилиндра для выполнения работы.
Deenergizing solenoid A1 on directional valve A lets it center and decompress the цилиндр, на рис.
18-13 показан ходовой клапан A по центру, блокируя отверстие на конце крышки цилиндра и разгружая насос. В то же время сигнал на одноэлектромагнитный клапан E в концевой линии крышки сдвигает его в открытое положение. Масло, находящееся под давлением в конце крышки цилиндра, поступает в бак через отверстие, таким образом снижая давление без удара. Реле давления D указывает, когда давление достаточно низкое, чтобы сдвинуть клапан A и втянуть цилиндр. (Объяснение контура декомпрессии см. в главе 7. Контур декомпрессии предотвращает быструю потерю давления в цилиндре и ударную нагрузку на систему.)
To retract the cylinder, energize solenoid B1 on directional valve A to send oil to the конец штока цилиндра, как показано на рис.
18-14. Масло из насоса начинает втягивать цилиндр. Пилотное масло открывает клапан предварительной заливки F в бак. Масло с конца крышки цилиндра поступает в бак через клапан предварительной заливки и главный распределительный клапан. Цилиндр быстро втягивается при низком давлении.
Использование электромагнитных предохранительных клапанов в качестве 2-ходовых клапанов
Двухходовые клапаны с высоким расходом (более 50 галлонов в минуту) не всегда доступны для гидравлических контуров. Чтобы обойти эту проблему, используйте электромагнитный предохранительный клапан. Несколько схем, показанных здесь, используются во многих гидравлических приложениях.
Для расхода выше 150–200 галлонов в минуту используйте вставные картриджные клапаны (как описано в главе 4). Вставные картриджные клапаны используют простые средства управления направлением для управления большими тарельчатыми клапанами, способными выдерживать потоки, превышающие 600 галлонов в минуту.
Рисунки с 18-15 по 18-16 показывают схематическую диаграмму для высокого потока, отключенной цепи управления кровотечением. Установите соленоидный предохранительный клапан выше, чем давление в системе, чтобы он никогда не пропускал жидкость, если он не стравлен. Нормально закрытый выпускной контур, показанный на рис. 18-15, пропускает жидкость, когда соленоид находится под напряжением. На рис. 18-16 показан нормально открытый электромагнитный предохранительный клапан. С этим клапаном подача питания на соленоид останавливает поток.
Рис. 18-17. Электромагнитный предохранительный клапан NC, используемый в контуре регулирования расхода с высоким расходом. Показан в состоянии покоя с работающим насосом..
. Поскольку в контуре этого типа за электромагнитным предохранительным клапаном имеется противодавление, используйте клапан с внешним сливом. (Противодавление на выходе из предохранительного клапана приводит к его закрытию при внутреннем дренаже.) Внешний дренаж предохранительного клапана устраняет противодавление в вентиляционном отверстии, поэтому он остается открытым при перепуске.Соленоидные предохранительные клапаны, используемые в качестве запорных клапанов, не вызывают такого сильного удара, как золотниковые клапаны, поскольку предохранительные клапаны амортизируют при закрытии.
Рис. 18-19 НО электромагнитный предохранительный клапан для пуска и останова большого гидравлического двигателя. Показан в состоянии покоя с работающим насосом. на рис.
18-19, обычно открытый для моторной и непредубеживания. приложение с одним вращением. Подача питания на соленоид на предохранительном клапане блокирует его вентиляционное отверстие, вызывая его закрытие. Закрытие происходит плавно, потому что давление быстро нарастает до сброса давления, обеспечивая путь жидкости к баку, пока двигатель набирает скорость. Когда двигатель достигает полной скорости, предохранительный клапан полностью закрывается. Затем двигатель продолжает работать на полной скорости при любом давлении, которое требуется для поддержания его вращения.
При отключении электромагнитного клапана предохранительного клапана с электромагнитным управлением поток насоса соединяется с баком, а гидравлический двигатель останавливается по инерции. Тормозной кран (глава 12) при необходимости быстро и плавно остановит двигатель.
Рис. 18-20. NO соленоидный предохранительный клапан для запуска насоса с компенсацией давления на холостом ходу. Показан с только что запущенным насосом.
На рисунке 18-20 показан нормально разомкнутый сеносоидный рельефный клапан, который позволяет насос большого сжатого давления при NO при NO. Нормально открытый электромагнитный предохранительный клапан пропускает поток из насоса с компенсацией давления в бак до тех пор, пока электродвигатель не наберет скорость. Задержка по времени или расходомер с реле расхода активирует соленоид на предохранительном клапане, чтобы нагрузить контур. Отключение нормально открытого электромагнитного предохранительного клапана разгружает насос в любое время, чтобы снизить энергопотребление, тепловыделение и шум.
Дистанционное управление предохранительным клапаном с пилотным управлением
Предохранительный клапан системы обычно располагается рядом с выпускным отверстием насоса на типичном гидравлическом агрегате. Гидравлический блок может находиться на расстоянии от оператора, или в стесненных условиях может быть трудно подобраться к предохранительному клапану.
Если давление сброса в приложении должно часто изменяться, для удобства добавьте дистанционный регулятор предохранительного клапана к предохранительному клапану с пилотным управлением.
На рисунках 18-21 и 18-22 показан символ настройки удаленного предохранительного клапана. На рис. 18-21 показан упрощенный символ; На рис. 18-22 показан полный символ. Все пилотные предохранительные клапаны имеют вентиляционное отверстие. Вентиляционное отверстие входит в пилотную линию, которая соединяет давление в системе с пилотной секцией предохранительного клапана прямого действия. Вентиляционное отверстие входит тройником после контрольного отверстия. При заблокированном вентиляционном отверстии предохранительный клапан работает нормально. Когда вентиляционное отверстие открыто в атмосферу, предохранительный клапан открывается под давлением внутренней главной тарельчатой или поршневой пружины.
Обычно это от 20 до 70 фунтов на квадратный дюйм. На рис. 18-21 показан небольшой предохранительный клапан прямого действия, подсоединенный к вентиляционному отверстию предохранительного клапана с пилотным управлением. Небольшой сброс прямого действия работает так же, как секция пилотного клапана основного сброса. Оператор может использовать удаленный предохранитель для регулировки давления в основной системе из любого удобного места в пределах 10–15 футов от предохранительного клапана системы.
4 Сначала установите основной сброс на минимальное давление, а удаленный сброс на максимальное давление. Запустите насос и проверьте наличие очевидных утечек и неправильного подключения. Во время этой части процедуры давление низкое. Затем медленно поднимите основной предохранительный клапан до максимального давления в системе и заблокируйте его.
Теперь используйте удаленный сброс давления, чтобы установить давление ниже основного сброса давления. Оператор может отрегулировать давление только до уровня ниже основной настройки сброса давления. Это важный фактор безопасности, поскольку он исключает ущерб или травмы от избыточного давления, вызванного неопытным оператором.
Большинство производителей рекомендуют размещать удаленный клапан на расстоянии не более 10–15 футов от основного сброса давления. Чем больше расстояние между выносным и основным рельефом, тем больше время отклика основного рельефа. Увеличение времени отклика позволяет блокировать более высокое давление, вызывая скачки давления. Скачки давления могут вызвать преждевременный отказ насоса, трубопровода или клапана.
При использовании соленоидного или ручного клапана для выбора более чем одного удаленного сброса давления можно легко выбрать несколько предустановленных давлений.
Многоступенчатые предохранительные клапаны
Предохранительные клапаны с пилотным управлением имеют вентиляционное отверстие.
На рисунках 18-21 и 18-22 вентиляционное отверстие подключено к единому удаленному предохранительному клапану прямого действия для дистанционной регулировки давления. На рисунках с 18-23 по 18-25 показано вентиляционное отверстие, соединенное с направляющими клапанами и несколькими удаленными предохранительными клапанами. Эти контуры позволяют изменять максимальное давление до нескольких предустановленных или бесступенчато регулируемых пределов в течение цикла.
Figure 18-23 shows a pilot-operated relief valve with the vent port connected to 3-х позиционный гидрораспределитель.
Когда направляющий клапан находится в центре, он перекрывает вентиляционное отверстие на предохранительном клапане, чтобы поддерживать давление в системе на уровне настройки основного предохранительного клапана. Направленный клапан с открытым центром будет выпускать основной сброс, снижая давление до диапазона от 20 до 70 фунтов на квадратный дюйм.
Некоторые производители предлагают предохранительный клапан с головками дистанционного управления и электромагнитным клапаном, встроенными в корпус клапана. Это устраняет необходимость в наружном трубопроводе, но менее гибок, чем подключение вентиляционного отверстия стандартного предохранительного клапана с пилотным управлением к стандартным направляющим клапанам.
Рис. 18-24. Использование вентиляционного порта для трех различных давлений в системе, выбранных соленоидом. Показан с включенным соленоидом A1. На рисунке 18-24, соленоид A1 .
Он соединяет вентиляционное отверстие с левым дистанционным предохранительным клапаном прямого действия, снижая давление в системе до максимального значения 350 фунтов на квадратный дюйм. Включающий соленоид A1 не позволяет давлению превысить настройку левого предохранительного клапана прямого действия. Главный предохранительный клапан всегда ограничивает максимальное давление в системе.
Figure 18-25 shows solenoid A1 energized, allowing system pressure to go to 700 psi. В этом случае правый дистанционный сброс прямого действия регулирует давление в системе. Настройте удаленные предохранительные клапаны на любое давление ниже основного предохранительного клапана.
Рисунок 18-26 показывает пилот-оперативную сходную передачу. Использование клапана с переменным расходом для управления предохранительным клапаном с пилотным управлением обеспечивает бесступенчатое регулирование давления. Сигнал управления может исходить от реостата, программируемого контроллера или компьютера.
Купите предохранительный клапан с бесступенчатой регулировкой в собранном виде или подключите его отдельно. В каждом случае предохранительный клапан пилотной головки регулирует максимальное давление, а сервоклапан или пропорциональный клапан устанавливает только более низкое давление.
Разгрузочные предохранительные клапаны
Аккумуляторный контур, использующий насос с постоянным рабочим объемом, должен иметь возможность разгрузить насос после достижения максимального давления.
Нормально открытый электромагнитный предохранительный клапан, управляемый реле давления, является одним из способов разгрузки насоса. Глава 1 показывает эту схему и объясняет ее работу.
В некоторых контурах аккумуляторов используется клапан специального типа, который называется разгрузочным предохранительным клапаном. Этот предохранительный клапан устраняет необходимость в электрических реле высокого и низкого давления, а также в электромагнитном клапане сброса давления для разгрузки насоса. Лишь несколько производителей изготавливают разгрузочный предохранительный клапан. Два из них работают при заданных перепадах давления и могут не подходить для некоторых контуров аккумуляторов. Один из производителей производит разгрузочный предохранительный клапан с регулируемым перепадом давления.
Несколько компаний производят предохранительный клапан для разгрузки и сброса, сочетающий в себе другие функции. Принцип действия такой же, как и у разгрузочного предохранительного клапана, но он включает в себя обратный клапан и клапан сброса аккумулятора в одном корпусе.
См. главу 1, рис. 44, для объяснения этого клапана разгрузки и сброса аккумулятора.
На рисунках с 18-27 по 18-30 схематически изображен разгрузочный предохранительный клапан в контуре аккумулятора. На рис. 18-27 показана схема после запуска насоса. Нормально закрытый предохранительный клапан A нагнетает жидкость в аккумулятор и контур. Давление увеличивается по мере того, как насос заполняет аккумулятор. Когда аккумулятор и контур достигают установленного давления 3000 фунтов на квадратный дюйм, управляющее давление открывает предохранительный клапан 9.0438 A и разгружает насос в бак.
На рисунке 18-28, аккумулятор находится под давлением и насос разгружается. Предохранительный клапан полностью открыт или вентилирован, потому что управляющий поршень выталкивает управляющий поршень со своего седла. Без регулирующего поршня предохранительные клапаны сбрасывают избыточный поток насоса при заданном давлении, выделяя много тепла. Этот разгрузочный предохранительный клапан имеет заданную разницу в 15% между разгрузкой и перезагрузкой насоса.
Рис. 18-29. Разгрузочный предохранительный клапан в контуре аккумулятора. Показано с нагрузкой насоса снова после падения давления на 15%., когда давление системы падает примерно до 2550 фунтов на квадратный дюйм, как на рисунке 18-29, его пружинная сила уходит.
Это нагнетает поток насоса в контур. Это действие повторяется, пока работает насос. При плотном контуре и бездействии машины насос разгружается примерно в 80% случаев.
Рисунок 18-31 Показывает обзор разгрузочного клапана рельефа. Он подобен стандартному предохранительному клапану, но имеет дополнительный управляющий поршень в головке. Существует приблизительно 15% разницы в площади управляющего поршня и седла тарельчатого клапана.
По мере нарастания давления оно давит на обе стороны управляющего поршня и на тарелку пилотного управления. Ничего не движется до тех пор, пока давление не начнет смещать тарелку пилотного управления со своего седла, как показано на рис. 18-32. Падение давления перед управляющим поршнем позволяет ему двигаться и полностью выталкивает тарелку пилотного клапана со своего места, рис. 18-33. Снятие тарельчатого клапана пилотного управления со своего седла разгружает насос при давлении от 20 до 70 фунтов на квадратный дюйм. Клапан пилотного управления остается открытым до тех пор, пока давление в системе не упадет примерно на 15 %, а затем закрывается, чтобы снова направить насос в контур. Когда давление достигает максимального значения, тарелка пилотного управления смещается со своего седла и разгружает насос. Это действие продолжается каждый раз, когда насос работает.
Клапан сброса давления водонагревателя
Если в последнее время у вас возникли проблемы с водонагревателем, вы можете обнаружить, что платите большие счета за электроэнергию, не получаете доступ к горячей воде, когда хотите, или давление воды низкий.
Это может расстраивать, но в чем причина? Возможно, у вас проблема с редукционным клапаном водонагревателя.
К счастью, зная, как работают предохранительные клапаны, вы сможете решить любую проблему с водонагревателем. В этой статье мы рассмотрим все, что вам следует знать об этом клапане.
Наконец-то вы снова можете получать горячую воду под нужным давлением и наслаждаться утренним душем, как раньше. Читайте дальше, чтобы узнать больше.
предохранительный клапан водонагревателяЧто такое предохранительный клапан водонагревателя?
Предохранительный клапан водонагревателя, также называемый перепускным клапаном, предохранительным клапаном или температурным клапаном водонагревателя, представляет собой функцию безопасности, которую можно найти на любом водонагревателе. Причина, по которой он существует, заключается в том, чтобы обезопасить вас в случае, если давление воды слишком высокое.
Без этой функции безопасности ваш водонагреватель может сломаться.
Вы можете получить ожоги, если высокое давление воды будет опасно высоким.
Этот клапан также обеспечивает отсутствие утечек в водонагревателе, что может привести к низкому давлению воды, когда вы хотите использовать его для мытья посуды или принятия душа.
Как работает предохранительный клапан водонагревателя?
Предохранительный клапан водонагревателя установлен таким образом, что он может сбросить избыточное давление и температуру в водонагревателе, если какой-либо из этих параметров слишком высок. Поскольку этот бытовой прибор представляет собой закрытую систему, в водонагревателях происходит тепловое расширение.
Вот как это работает. Независимо от того, нагревается ли ваш водонагреватель электрическими элементами или газовой горелкой, и металлический бак, и вода внутри расширяются, когда температура горячей воды составляет где-то между 120 и 140 градусами.
Совершенно нормально, что вода и водонагреватель расширяются до определенной степени.
Ведь это то, что естественно происходит при повышении температуры.
Однако, когда температура составляет 210 градусов или давление составляет 150 фунтов на дюйм (фунт/кв. дюйм), это слишком большое давление и тепло в водонагревателе. Если это так, вам следует изменить температуру нагревателя горячей воды.
Если предохранительный клапан вашего водонагревателя работает, в этот момент он откроется. Это выпускает пар и горячую воду из нагнетательной трубки, что позволяет вашему водонагревателю снова безопасно работать.
На микроуровне
На микроуровне этот клапан работает следующим образом. Сам предохранительный клапан был настроен профессионалом или предварительно спроектирован таким образом, чтобы он открывался, когда температура или давление достигают опасного уровня.
При правильной работе он открывается, как и было задумано, при высоких уровнях тепла или давления. Жидкость выходит через этот вспомогательный канал, сбрасывая тепло и давление в резервуаре для воды.
Прекращается повышение температуры и давления. Как только температура и давление возвращаются к безопасному уровню, предохранительный клапан водяного нагревателя закрывается.
Это особое состояние, в котором находится водонагреватель, называется «продувкой». Обычно «продувка» определяется профессионалами (и используется при проектировании или настройке клапана) как определенный процент давления.
«Продувка» обычно составляет от 2 до 20%. Как только давление достигнет значения «продувки», предохранительный клапан снова закроется, чтобы вы могли использовать водонагреватель по назначению.
Где находится предохранительный клапан водонагревателя?
Если вы заметили какие-либо проблемы с предохранительным клапаном водонагревателя, вам необходимо знать, где он находится на водонагревателе. Обычно вы можете найти его сверху или сбоку этого прибора. Это клапан, соединенный с пластиковой или металлической выпускной трубкой, направленной вверх.
Напор водонагревателя уже установлен, когда вы получаете водонагреватель (или покупаете дом, в котором он уже есть).
Он фактически приварен к баку; вы увидите резьбовое отверстие там, где оно находится.
Вы не можете заменить или удалить его. Сам клапан был ввернут во входное резьбовое отверстие.
Это сделано из соображений безопасности. Все сделано в соответствии со стандартами, установленными сантехническими нормами. Поэтому, если у вас возникли проблемы с клапаном, вам придется вызвать профессионала, чтобы он починил его.
При этом, если у вас возникли проблемы только с выпускной трубкой, ее легко заменить. Вам не придется сливать или выключать водонагреватель, и вы можете справиться с этим самостоятельно.
При этом, учитывая, что могут быть другие проблемы, вызывающие проблемы с выпускной трубой — проблемы, связанные с высоким давлением или температурой воды, — безопаснее всего обратиться к профессионалу.
Проверка предохранительных клапанов
Если вы подозреваете, что проблема в предохранительном клапане водонагревателя, вы можете провести проверку.
На самом деле это хорошая идея, если у вас вообще нет никаких проблем, так как этот тип обслуживания защитит ваш водонагреватель и вас самих.
Не забудьте перед тестированием переодеться в закрытую обувь, чтобы не обжечься.
Для начала определите, где находится предохранительный клапан. Обычно вы можете найти его на подводе холодной воды, который находится в верхней части резервуара для воды, с правой стороны, где входное отверстие.
Сделав это, осмотрите сливную трубку, чтобы убедиться, что она надежно закреплена. Затем возьмите ведро и поставьте его под сливную трубку.
Теперь слегка потяните металлический рычаг клапана, чтобы небольшое количество воды — четверть стакана или около того — вылилось в ведро.
Наконец, отпустите уровень, чтобы он быстро встал в исходное положение. Если он быстро не возвращается в исходное положение, значит, ваш клапан водонагревателя не работает и его необходимо заменить.
Ремонт предохранительного клапана водонагревателя
Если предохранительный клапан водонагревателя не работает должным образом, это обычно происходит по одной из двух причин.
Он либо залипает, так что не открывается или закрывается должным образом, либо имеет течь, что означает, что он постоянно капает, понижая давление воды.
Фиксация залипшего клапана
Если ваш клапан заедает, он застревает в закрытом (внизу) или открытом (выдвинутом) положении. Если он закрыт, то клапан не сможет сбросить тепло или давление, которые накапливаются в закрытой системе водонагревателя. В результате может быть разрыв.
С другой стороны, если он открыт, из него будет постоянно вытекать вода, что может привести к затоплению вашего дома.
Иногда эту проблему легко решить, несколько раз открыв и закрыв рычаг клапана. Однако, если он продолжает прилипать, вам необходимо его заменить.
Устранение утечки клапана сброса давления
Протекает ваш водонагреватель? Перед заменой убедитесь, что он не исходит из клапана. Если ваш предохранительный клапан протекает, возможно, это связано с тем, что он неправильно установлен в резьбовом отверстии бака.
Это довольно распространенная проблема, если вы недавно заменили свой старый клапан на новый. Чтобы устранить эту проблему с этой причиной, вы должны предпринять несколько шагов.
Во-первых, выключите водонагреватель. Подождите, пока он полностью остынет. Затем снимите клапан и снова вкрутите его в отверстие резервуара для воды.
Еще одна причина, по которой клапан может протекать, заключается в том, что внутри предохранительного отверстия скопился осадок или грязь.
Чтобы устранить течь в клапанах, потяните назад рычаг металлического пружинного клапана, после чего вы спустите воду, которая падает в ведро.
Если рычаг защелкнулся в исходное положение и продолжает течь, необходимо перекрыть газовый клапан, повернув его в положение «выключено». Затем перекройте воду, чтобы можно было безопасно заменить клапан.
Примечание по технике безопасности
Если проблема с давлением воды является причиной того, что предохранительный клапан водонагревателя не работает, то вам может быть опасно менять клапан самостоятельно.
Вообще говоря, это хорошая идея, чтобы нанять профессионала, чтобы защитить себя.
Требуется замена клапана водонагревателя профессионалом?
Теперь, когда мы рассмотрели все, что вам следует знать о предохранительном клапане водонагревателя, вы, возможно, поняли, что вам необходимо заменить клапан водонагревателя. Однако, чтобы быть максимально безопасным, вы хотите нанять профессионала.
Клапан сброса давления водонагревателя может протечь и сломать бак для горячей воды.Как определить размер и выбрать следующий клапан сброса давления
Клапан сброса давления (PRV) — это предохранительное устройство, предназначенное для защиты сосуда или системы, находящейся под давлением, в случае возникновения избыточного давления. Событие избыточного давления относится к любому состоянию, которое может привести к увеличению давления в резервуаре или системе сверх указанного расчетного давления или максимально допустимого рабочего давления (MAWP). Поскольку предохранительные клапаны являются последней линией защиты, они должны быть независимыми и очень надежными.
Предохранительный клапан открывается при заданном заданном давлении. По мере отвода жидкости давление внутри сосуда перестает расти и начинает падать. Как только оно упадет до давления закрытия клапана, клапан закроется. Разница между давлением настройки и давлением повторной посадки называется продувкой.
Точно так же оборудование иногда должно быть защищено от внутреннего вакуума. В таких случаях вакуумные предохранительные клапаны открываются при заданном пределе низкого давления, пропуская воздух или инертный газ в оборудование, чтобы предотвратить слишком низкое давление.
Типы предохранительных клапанов
Устройства для сброса давления можно разделить на две основные категории: закрывающиеся и не закрывающиеся повторно (рис. 1). Типы закрывания подразделяются на подпружиненные и с пилотным управлением. Подпружиненный может быть обычного или сильфонного типа, а пилотный может быть либо хлопкового, либо модулирующего действия. Каждый из них далее делится на основе типа пилотного клапана, проточного или непроточного.
Типы без повторного включения состоят из стопорных штифтов и разрывных дисков.
Типы устройств для сброса давления
Рис. 1. Устройства для сброса давления охватывают ряд технологий, используемых для предотвращения опасного избыточного или пониженного давления.
При выборе предохранительных клапанов учитываются различные факторы, зависящие от конкретного применения. К ним относятся противодавление, обслуживание, пропускная способность и потери давления на входе. Обратное давление является особенно важным фактором при выборе типа предохранительного клапана.
Обычные предохранительные клапаны используются, когда сумма максимального переменного добавочного противодавления и накопленного противодавления составляет менее 10 % от установленного давления. Предохранительные клапаны сильфонного типа используются, когда сумма максимального переменного добавочного противодавления и накопленного противодавления превышает 10 % установочного давления и достигает предела, рекомендованного изготовителем.
На практике это ограничивается 50% установленного давления. Если противодавление увеличивается более чем на 50 %, следует использовать предохранительный клапан с пилотным управлением. Хотя пилотные предохранительные клапаны теоретически могут использоваться до 100 % противодавления, на практике противодавление не должно увеличиваться более чем на 94% от установленного давления для надежной работы. Этот предел может варьироваться для разных производителей.
Предохранительные клапаны с пилотным управлением имеют гораздо более высокую пропускную способность по сравнению с обычными предохранительными клапанами аналогичного размера. Кроме того, благодаря наличию опций линии дистанционного измерения пилотные клапаны могут использоваться в системах с высокими потерями давления на входе.
Установочное давление и CDTP:
Расчеты CDTP
Таблица I: Для разных типов клапанов требуются разные формулы расчета холодного дифференциального испытательного давления или CDTP.
Давление, при котором предохранительный клапан открывается в условиях эксплуатации, называется установочным давлением, а давление, при котором предохранительный клапан открывается на испытательном стенде, называется холодным перепадом испытательного давления (CDTP). Поскольку противодавление отсутствует во время испытаний в цеху, его необходимо компенсировать с помощью обычного предохранительного клапана. Однако для сильфонных и пилотных предохранительных клапанов регулировка противодавления не требуется; CDTP и заданное давление одинаковы. Если рабочая температура превышает 250 °F, ко всем типам предохранительных клапанов применяется поправочный коэффициент температуры.
Следует отметить, что выбор пружины для обычного предохранительного клапана основан на CDTP без учета поправочного коэффициента температуры. Формулы CDTP для различных применений показаны в таблице I.
При выборе уставок предохранительного клапана учитываются два предела. Верхний предел определяется с учетом МДРД защищаемого судна/оборудования.
В соответствии с ASME SEC-VIII предохранительный клапан не должен быть установлен выше МДРД защищаемого сосуда/оборудования. Если МДРД неизвестно, то расчетное давление считается МДРД. Нижний предел основан на максимальном рабочем давлении системы. Настройка предохранительного клапана должна быть как минимум на 10 % или 15 psig, в зависимости от того, что больше, выше максимального рабочего давления. Там, где существуют нестабильные условия процесса, этот перепад должен быть как минимум на 10 % выше максимального рабочего давления или на 25 фунтов на квадратный дюйм, в зависимости от того, что больше. Цель этого запаса состоит в том, чтобы избежать преждевременного срабатывания предохранительного клапана. См. ASME SEC-VIII для получения подробной информации об этих полях для различных пределов давления.
Определения давления
Противодавление – это давление, которое существует на выходе устройства сброса давления в результате давления в системе нагнетания. Общее противодавление представляет собой сумму наложенного и накопленного противодавлений.
Наложенное противодавление – это статическое давление, существующее на выходе устройства для сброса давления в то время, когда устройство должно работать. Это давление перед открытием предохранительного клапана. Наложенное противодавление является результатом давления в системе нагнетания, поступающего из других источников, и может быть постоянным или переменным.
Источники накопленного противодавления
Рис. 2: В дополнение к статическому давлению после предохранительного клапана необходимо также учитывать накопленное противодавление из-за динамического выброса жидкости.
Накопленное противодавление — это увеличение давления на выходе из устройства сброса давления, возникающее в результате потока после открытия клапана сброса давления (рис. 2). Этот тип противодавления возникает из-за того, что жидкость течет от клапана сброса давления через систему трубопроводов, расположенных ниже по потоку. Поскольку накопленное противодавление зависит от формы и размера нагнетательного трубопровода, оно всегда является переменным.
Продувка – это разница между давлением настройки и давлением повторной посадки. Это относится к тому, насколько давление должно упасть ниже установленного давления, прежде чем клапан переустановится. Продувка происходит потому, что, когда предохранительный клапан поднимается, большая площадь диска подвергается воздействию давления в системе, и клапан не может закрыться до тех пор, пока давление в системе не упадет ниже установленного давления. Конструкция камеры управления, или камеры сжимания, определяет, при каком давлении произойдет точка закрытия. Надлежащая продувка помогает снизить вероятность вибрации или утечки седла. Возможности испытательного оборудования могут оказаться недостаточными для точной проверки настройки продувки. В таких случаях настройки нельзя считать точными, если только они не были выполнены в полевых условиях при фактической установке и в соответствии со спецификациями производителя клапана.
Размер входного трубопровода предохранительного клапана должен быть таким, чтобы при суммарной максимальной номинальной производительности всех работающих предохранительных клапанов перепад давления между защищаемым оборудованием и предохранительным клапаном (предохранителями) не превышал 3% от наименьшего установленного давления предохранительного клапана.
Расчетное падение давления во входном трубопроводе также должно быть указано в спецификации предохранительного клапана.
Пример расчетов
Представьте себе, например, применение с установленным давлением предохранительного клапана 100 фунтов на квадратный дюйм и продувкой 7%. Клапан закроется, когда давление на входном фланце упадет до 93 фунта на кв. дюйм (100–7). Предполагая, что потери давления на входе составляют 3 %, давление в системе при закрытии составит 96 фунтов на кв. дюйм (93 + 3).
Теперь, если предположить, что потери на входе составляют 10 фунтов на кв. дюйм, клапан закроется при 103 фунтах на кв. дюйм, что на 3 фунта на кв. дюйм выше установленного давления. Клапан немедленно попытается снова открыться, что приведет к вибрации и потенциальному повреждению клапана. Чтобы избежать этой ситуации, потери давления на входе для любого нового проекта должны быть ограничены 3%.
Стоит отметить, что одного этого критерия потери давления на входе недостаточно для прогнозирования стабильности предохранительного клапана.
Дополнительные факторы, которые необходимо учитывать, включают продувку, сброс давления и избыточное давление. Следовательно, из-за сложного характера неустойчивого поведения предохранительного клапана необходимо выполнить подробный инженерный анализ в соответствии с API-520 для существующей установки, где потери давления на входе превышают 3%. Этот инженерный анализ называется расчетом силового баланса. Если баланс сил пройден и предохранительные клапаны ранее не вели себя ненормально или не вибрировали, то потери давления на входе выше 3% могут быть приемлемыми.
Смещенные уставки
PRV со смещенными уставками
Рис. 3: Смещение уставки давления нескольких предохранительных клапанов предотвращает дребезг клапана и потенциальное повреждение, вызванное попытками одновременного открытия клапанов.
Если для защиты резервуара или оборудования используется несколько предохранительных клапанов, рекомендуется установить заданные значения в шахматном порядке.
При таком расположении предохранительный клапан с наименьшей настройкой будет способен справляться с незначительными сбоями, а дополнительные предохранительные клапаны будут открываться по мере увеличения требований к пропускной способности. Такое расположение позволит избежать вибрации, так как все предохранительные клапаны не будут открываться одновременно. Смещенные настройки давления также минимизируют выбросы или потери продукта при работе предохранительного клапана.
При таком расположении по крайней мере один из предохранительных клапанов должен быть установлен на уровне или ниже МДРД судна. Дополнительные предохранительные клапаны могут быть настроены на открытие при более высоком давлении, но ни в коем случае не при давлении выше 105% МДРД. В примере, показанном на рисунке 3, первый предохранительный клапан настроен на МДРД сосуда (100 фунтов на кв. дюйм), второй предохранительный клапан установлен на 103 фунта на кв. дюйм, а третий предохранительный клапан установлен на 105% МДРД.
судна.
Также очень важно знать правильное противодавление на выходе предохранительного клапана, так как от этого зависит, какой тип предохранительного клапана — обычный, сильфонный или пилотный — подходит для данного применения. Кроме того, это поможет отрегулировать заданное давление предохранительного клапана при заводских испытаниях. Выбор правильного давления срабатывания предохранительных клапанов также имеет решающее значение, поскольку необходимо обеспечить достаточный запас между максимальным рабочим давлением и давлением срабатывания предохранительного клапана. Этот запас поможет свести к минимуму преждевременную активацию предохранительных клапанов. Использование такого расположения в шахматном порядке поможет избежать вибраций и потерь излучения. Все вышеперечисленные параметры, при правильном определении, гарантируют, что установленные предохранительные клапаны, которые считаются последней линией защиты от небезопасных условий, спроектированы и эксплуатируются таким образом, чтобы обеспечить безопасность эксплуатации объектов.
Ссылки
- ASME BPVC SEC-VIII DIV-1 – Правила постройки сосудов под давлением
- API-520 – Расчет, выбор и установка устройств сброса давления
- API-521 – Системы сброса и сброса давления
- API-526 – стальные фланцевые, предохранительные клапаны
Об авторе
Фарук Гулам (Farooq Ghulam) — инженер по приборам, работающий в отделе технологических процессов и систем управления компании Saudi Aramco. Он занимается малым и средним бизнесом в области предохранительных клапанов, предохранительных клапанов, регулирующих клапанов и систем обнаружения газа. Он имеет более чем 20-летний опыт проектирования, технической поддержки и обслуживания контрольно-измерительных систем и систем автоматизации, а также читает несколько курсов, включая предохранительные клапаны и регулирующие клапаны. Он получил степень магистра в области электротехники и вычислительной техники в Университете Альберты, Канада, и степень бакалавра в области электротехники в Инженерно-технологическом университете, Лахор, Пакистан.
Он является зарегистрированным профессиональным инженером в APEGA, Канада, и инженером FS в TÜV Rheinland. С ним можно связаться по адресу [email protected].
Что такое клапан T&P и как его починить
По
Ли Валлендер
Ли Валлендер
Ли имеет более чем двадцатилетний практический опыт реконструкции, ремонта и улучшения домов, а также дает советы по благоустройству дома более 13 лет.
Узнайте больше о The Spruce’s Редакционный процесс
Обновлено 05.03.22
Рассмотрено
Ричард Эпштейн
Рассмотрено Ричард Эпштейн
Ричард Эпштейн — лицензированный мастер-сантехник с более чем 40-летним опытом работы в сфере сантехники для жилых и коммерческих помещений. Он специализируется на оценке, а также проектировании и инжиниринге сантехнических систем и работает в одной из крупнейших профсоюзных строительных компаний Нью-Йорка.
Узнайте больше о The Spruce’s Наблюдательный совет
На боковой или верхней части бака водонагревателя находится клапан, соединенный с металлической или пластиковой выпускной трубкой, направленной вниз. Клапан называется клапаном T&P или клапаном TPR для «сброса температуры и давления».
Если все идет хорошо, клапан TPR никогда не используется преднамеренно, кроме как во время испытаний. Но в случае аварийной ситуации или неисправности этот клапан имеет решающее значение. Это потенциально может предотвратить взрыв водонагревателя. Понимание того, как работает клапан T&P, поможет вам поддерживать водонагреватель в идеальном состоянии и предотвратить возможный ущерб вашему дому.
Клапан T&P
Клапан T&P представляет собой клапан с присоединенной трубкой, расположенный снаружи водонагревателя. Клапан обеспечивает разгрузку водонагревателя, если давление превышает нормальные рабочие пределы, обычно 150 фунтов на квадратный дюйм.
Как работает предохранительный клапан T&P
В соответствии со всеми сантехническими нормами, клапан T&P сбрасывает избыточную температуру и давление в водонагревателе, если они достигают критической точки.
Водонагреватель представляет собой закрытую систему, и тепловое расширение является неизбежным фактом как нормального, так и ненормального функционирования водонагревателя.
В стандартном водонагревателе вода нагревается газовой горелкой или электрическими элементами. Когда вода достигает температуры от 120 до 140 градусов по Фаренгейту, и вода, и металлический бак водонагревателя расширяются.
Некоторое расширение нормально, но слишком большое расширение небезопасно. Когда температура достигает 210 градусов или давление достигает 150 фунтов на квадратный дюйм (фунтов на квадратный дюйм), правильно функционирующий клапан T&P открывается и вытесняет горячую воду и пар через выпускную трубку.
Установка клапана T&P
Когда вы покупаете водонагреватель, клапан T&P обычно уже установлен. Резьбовой вход приварен к боковой части бака. Этот вход не может быть удален или заменен. Клапан T&P навинчивается на этот вход по часовой стрелке.
Хотя эти элементы уже установлены, сливная трубка, идущая вниз вдоль боковой стенки бака, предварительно не установлена.
Как установить или заменить выпускную трубку клапана T&P
Установка или замена сливной трубки выполняется легко и быстро, и нет необходимости выключать или сливать воду из водонагревателя.
- Чтобы установить выпускную трубку, оберните полоску тефлоновой ленты по часовой стрелке вокруг резьбового конца выпускной трубки из ПВХ.
- Сначала вручную навинтите выпускную трубку на клапан T&P.
- Затем полностью затяните трубку гаечным ключом. Будьте осторожны, чтобы не сорвать и не сломать клапан T&P или выпускную трубку, затянув их слишком сильно.
- Выпускная трубка должна быть направлена прямо вниз и заканчиваться в нескольких дюймах от пола.
Под водонагревателем рекомендуется размещать поддон водонагревателя для сбора медленных капель или аварийного вытекания воды.
Предупреждение
Поскольку клапан T&P редко используется, отложения минералов могут привести к тому, что со временем он станет жестким.
Это серьезная угроза безопасности, поскольку в случае скачка температуры или давления клапан T&P может не открыться должным образом, и водонагреватель может взорваться.
Как проверить клапан T&P
Производители водонагревателей рекомендуют регулярно проверять клапан T&P. Носите закрытую обувь, чтобы не обжечься. Никаких инструментов, кроме ведра, не требуется.
Найти клапан T&P
Прежде чем начать, убедитесь, что вы знаете, где находится запорный клапан вашего резервуара. Обычно он расположен на входе холодной воды, на входе с правой стороны в верхней части бака.
Поместить ведро
Поместите ведро под сливную трубку.
Проверить насадку
Убедитесь, что выпускная трубка надежно закреплена. Если он ослаблен, затяните его, завинчивая по часовой стрелке.
Сливная вода
Кратковременно потяните металлический рычаг клапана T&P, чтобы небольшое количество воды (около 1/4 стакана) вылилось в ведро.

Рычаг разблокировки
Отпустите рычаг и дайте ему вернуться в исходное положение. Если рычаг не возвращается на место со щелчком, клапан неисправен и подлежит замене.
Как починить клапан T&P
В большинстве случаев есть две проблемы, которые вам, возможно, придется решить с клапаном T&P: клапан, который протекает из-за постоянного капания, или клапан, который заедает и не открывается и не закрывается должным образом.
Устранение протечки клапана T&P
Если клапан T&P протекает, это может быть связано с неправильной посадкой клапана в резьбовом отверстии резервуара. Это особенно вероятно, если утечка происходит сразу после замены старого клапана. Это можно исправить, выключив водонагреватель и дав ему полностью остыть, а затем удалив и снова вкрутив клапан в отверстие бака.
Если клапан протекает из-за грязи или отложений, попавших в выпускное отверстие, снова потяните металлический пружинный рычаг назад и слейте воду в ведро.
Как только рычаг снова вернется в исходное положение, если вода не остановится полностью, закройте, поверните газовый клапан в положение «выключено» и перекройте воду, чтобы заменить клапан.
Предупреждение
В водонагревателе, который периодически выпускает горячую воду и пар из клапана T&P, может быть установлена слишком высокая температура воды. Убедитесь, что настройка температуры воды находится в нормальном рекомендуемом диапазоне — около 120 градусов по Фаренгейту — или не выше примерно 150 градусов по Фаренгейту.
Исправить залипший клапан T&P
Клапаны T&P также могут застрять либо в нижнем (закрытом), либо в полностью выдвинутом (открытом) положении. Любое состояние является потенциально серьезной проблемой.
Заклинив вниз, клапан не может обеспечить сброс, если система достигает максимального давления. В результате бак водонагревателя может лопнуть. При застревании в полностью выдвинутом положении клапан T&P будет постоянно сливать воду через выпускную трубку, что может привести к затоплению дома.
Залипание клапана иногда можно устранить, просто несколько раз открывая и закрывая рычаг. Покачивайте клапан T&P, осторожно потянув рычаг на себя. Подобно покачиванию ручки унитаза, этого действия может быть достаточно, чтобы отклеить клапан. Если это не устранит проблему, замените клапан.
Вопросы безопасности
В большинстве случаев клапан T&P прослужит столько же, сколько и сам водонагреватель, и исправить его несложно, если проводить ежегодное тестирование для раннего выявления проблем.
Тем не менее, при работе с водонагревателем необходима некоторая осторожность, потому что клапан T&P может быть поврежден, если водонагреватель превысит максимальный уровень давления или температуры. Если вы подозреваете, что в баке водонагревателя возникла проблема, связанная с давлением, наймите лицензированного сантехника для проверки водонагревателя.
Предохранительные клапаны для аэрокосмической и оборонной промышленности
Предохранительные клапаны для аэрокосмической и оборонной промышленности | Компания ЛиЗаглушкиОбратные клапаныПредохранительные клапаныОткидные клапаныОграничители потокаРасходомерные клапаныЗапорные клапаныЭлектромагнитные клапаныФорсункиЗащитные сетчатые фильтрыДополнительные продукты
Обзор Клапаны сброса давленияКлапаны сброса давления
Хорошо работают под давлением Клапаны сброса давления являются важным компонентом топливной, гидравлической и пневматической систем самолета.
Эти клапаны могут выполнять одну из трех функций: предохранительный клапан, регулирование давления или защита от теплового расширения. Lee PRI ® (вставка для сброса давления) специально разработан для этих функций, помогая гарантировать безопасность и надежность вашего самолета.
Как и вся продукция The Lee Company, клапаны сброса давления маленькие, легкие и невероятно прочные — этого достаточно, чтобы без замены прослужить весь 30-летний срок службы самолета. Кроме того, эти продукты доступны в различных размерах и спроектированы таким образом, чтобы выдерживать различные диапазоны давления. Мы предлагаем размеры от предохранительных клапанов диаметром 0,187 дюйма до съемных узлов с резьбой 0,812 дюйма (LRU), чтобы обеспечить соответствующий расход и точное давление открытия для удовлетворения конкретных потребностей приложения. Варианты с нулевой утечкой доступны для приложений, в которых устранение любых утечек имеет решающее значение.
Для беспристрастного взгляда на конфигурации предохранительных клапанов, критические рабочие характеристики, проблемы проектирования и компромиссы, а также распространенные виды отказов ознакомьтесь с нашей электронной книгой «Руководство инженера по выбору предохранительного клапана».
Более половины предлагаемых нами продуктов предназначены для удовлетворения уникальных потребностей конкретного применения. Предохранительные клапаны могут быть спроектированы в нестандартных корпусах и конфигурациях с уникальными значениями давления срабатывания, скорости потока, характеристик утечки, материалов и т. д. Свяжитесь с местным инженером по продажам Lee, чтобы обсудить ваши конкретные потребности.
Предохранительные предохранительные клапаны Предохранительные предохранительные клапаны представляют собой быстродействующие компоненты, защищающие системы от возможных внезапных скачков давления. Эти клапаны могут бездействовать в течение неопределенного времени, прежде чем их нужно будет использовать, поэтому очень важно, чтобы они всегда работали по назначению.
Наши предохранительные клапаны доступны в конфигурациях с низким уровнем утечки и узким гистерезисом. Для обеспечения надежной работы мы на 100 % тестируем каждый компонент на наличие трещин, точку текучести и давление повторной посадки.
Наши предохранительные предохранительные клапаны доступны с диаметрами вкладыша 0,187, 0,250, 0,281 и 0,375 дюйма и с резьбой 0,687 дюйма. Они полностью изготовлены из нержавеющей стали и бывают экранированными и неэкранированными. Встроенное демпфирование обеспечивает бесшумную работу. Давление открытия варьируется от 20 до 5900 фунтов на квадратный дюйм.
Перейти к поиску продукции
Предохранительные клапаны для регулирования давления В отличие от предохранительных клапанов, клапаны для регулирования давления срабатывают чаще. Компания Lee предлагает концепцию дизайна без импульса для этих приложений. Эти клапаны компенсируют инерционные силы, которые нарушают нормальный баланс сил типичных клапанов прямого действия.
В результате получается клапан, стабильный во всем рабочем диапазоне. Эти клапаны доступны в диаметрах 0,375 и 0,500 дюйма с давлением открытия от 50 до 500 фунтов на квадратный дюйм.
Перейти к поиску продукции
Тепловые предохранительные клапаныПри перемещении с холода на высоте 30 000 футов на взлетно-посадочную полосу в пустыне быстрое изменение температуры может привести к тепловому расширению жидкостей и потенциальному повреждению системы. Предохранительные термические клапаны предназначены для сброса небольших объемов жидкости для защиты от теплового расширения. Доступны две модели: Lee TRI ® (термическая рельефная вставка) диаметром 0,187 дюйма и Lee TRI высокого давления диаметром 0,250 дюйма. Из-за небольшого размера проходного сечения тепловых предохранительных клапанов они включают встроенный мелкомикронный фильтр CRES перед седлом клапана для предотвращения внутреннего заиления из-за проглоченного загрязнения.
Перейти к поиску продукции
Предохранительные клапаны с нулевой утечкой Вместо уплотнения металл-металл в этих клапанах используется эластомерное или полимерное уплотнение для обеспечения нулевой протечки, что идеально подходит для случаев, когда утечка является критическим требованием гидравлических или пневматических систем.
Доступны диаметры 0,187 дюйма для приложений с низким давлением и диаметр 0,281 дюйма для давления открытия в диапазоне от 800 до 4700 фунтов на квадратный дюйм.
Перейти к поиску продукции
Предохранительные клапаны высокого давленияЭти предохранительные клапаны диаметром 0,281 и 0,375 дюйма предназначены для применений, в которых рабочее давление и скачки давления слишком велики для обычных предохранительных клапанов. Такие условия могут привести к нестабильности, эрозии и повреждению конструкции обычных предохранительных клапанов. Размеры предохранительных клапанов высокого давления доступны в диапазоне давлений срабатывания для давления в системе до 5000 фунтов на квадратный дюйм.
Перейти к поиску продукции
Клапан сброса давления с высоким расходом Клапан сброса давления Hi-Q предназначен для применений, требующих как высокого давления сброса, так и высокой скорости потока в съемном блоке (LRU).
Клапан предлагается с минимальным давлением срабатывания от 1000 до 5400 фунтов на квадратный дюйм и скоростью потока более 19 галлонов в минуту, а также использует боковой впускной канал для минимизации размера и веса монтажной втулки.
Узнать больше
Просмотр Клапаны сброса давления
Ищете клапан сброса давления? Используйте Product Finder, чтобы найти конфигурации, соответствующие вашим требованиям, и получить доступ к подробной информации о продукте, такой как размеры, технические характеристики, модели CAD и многое другое!
Поддержка и ресурсы
Поддержка и ресурсы от команды, говорящей на вашем языке Станьте партнером The Lee Company и получите гораздо больше, чем просто поставщик высококачественных продуктов для контроля жидкости. Наша надежная команда технической поддержки доступна на каждом этапе пути, чтобы помочь вам найти решения, максимально повысить производительность и повысить эффективность вашей деятельности.
Ознакомьтесь с этими ресурсами по аэрокосмической и оборонной тематике, чтобы узнать больше.
Перейти в Центр поддержки и ресурсов
Расчет
Газ LOHMВсегда проверяйте расчеты расхода экспериментально.
Расчет LOHMS для жидкости
Расчет
Газ LOHMsРасчет жидкости LOHMS
Решить для:Лома
Расход
Давление
Пожалуйста, введите значения: Все поля обязательны для заполненияГаз:
Воздух
ВоздухАргон (Ar)Двуокись углерода (CO₂)Угарный газ (CO)Этан (C₂H₆)Фреон-12 (CCl₂F₂)Гелий (He)Водород (H₂)Природный газНеон (Ne)Азот (N₂)Двуокись азота (N₂O)Кислород (O₂) )Диоксид серы (SO₂)Ксенон (Xe)
Температура газа:
°F
°F°C
Давление на входе:
psia
psiapsigbarkPamm Hg
Давление на выходе:
psi
psiapsigbarkPamm Hg
Расход:
SLPM
SLPMSCFMмин³/минмл/минPPHlb м /кг/минм/мин
Ом:
Критическое давление:
Критическая температура:
Единицы Константа «K»:
Расчет
Жидкость LOHM Всегда проверяйте расчеты расхода экспериментально.
Расчет газа LOHMS
* При определении V-фактора необходимо учитывать множество параметров. Щелкните здесь для получения дополнительной информации.
Расчет
Жидкость LOHMsРасчет газа LOHMS
Решить для:Лома
Расход
Давление
Пожалуйста, введите значения: Все поля обязательны для заполненияЖидкость:
Вода
#2 Дизельное маслоИзопропиловый спиртMIL-PRF-7024MIL-PRF-5606MIL-PRF-83282MIL-PRF-23699MIL-PRF-7808MIL-PRF-5624 (JP-4)MIL-PRF-5624 (JP-5)SAE 10 OilSilicone (200 cS)Skydrol 500B-4Skydrol LD-4Transaqua HTWaterOther
Температура жидкости:
°F
°F°C
Давление на входе:
psi
psibarkПакг/кв. сммм рт.ст.
Давление на выходе:
psi
psibarkПакг/кв.

Масляный насос. Всасывает моторное масло через всасывающий фильтр и всасывающую трубу из масляного поддона
Масляный канал от масляного фильтра к опорным поверхностям
Завинтите винтовую пробку без уплотнительного кольца и затяните с моментом 50 Н.м.
Вкрутите пробку без уплотнительного кольца и затяните с моментом 50 Н.м. Винтовая пробка уплотняется конусной посадкой.
23.21
Иначе вы повредите клапана, ударив по ним поршнями.
Только для ведомой показатель в норме составляет 0,15 миллиметра








