устройство, поломки и ремонт насоса высокого давления дизельного двигателя
Дизельный двигатель работает на тяжёлом топливе, которое в обычных условиях практически не испаряется. Поэтому для обеспечения полного сгорания в цилиндрах дизеля, горючее необходимо максимально качественно распылить форсункой прямого впрыска. Для этого создаётся перепад давления, измеряемый сотнями атмосфер, что помимо прочего ещё и необходимо из-за высокой степени сжатия такого двигателя.
Содержание статьи:
Следовательно, топливная аппаратура должна быть значительно усложнена по сравнению с обычным бензиновым мотором, даже прямого впрыска. Кроме подкачивающего, ставится ещё и насос высокого давления – ТНВД.
Что из себя представляет топливный насос высокого давления
Общим для всех многочисленных разновидностей ТНВД является значительное механическое сжатие дизтоплива, попадающего между плунжером или аналогичной по назначению деталью с одной стороны и подпружиненным клапаном с другой.
Любую жидкость можно считать практически несжимаемой, солярка не исключение. Поэтому давление может достигать тысяч атмосфер, особенно на современных моторах со сверхтонким распылением и электронным дозированием.
На каких двигателях устанавливается
Помимо дизелей, такие насосы могут применяться в бензиновых с прямым впрыском. Но всё же свойства бензина не требуют настолько значительного сжатия. Компрессия там ниже, да и распылять лёгкое топливо проще.
Читайте также: Как завести дизельный мотор после простоя зимой
Не применяются ТНВД в двухтактных дизелях, где горючее смешивается с воздухом в картере перед тактом продувки. Но такие моторы сейчас практически не используются на автомобилях.
Устройство и принцип работы ТНВД
Классический образ насоса высокого давления содержит в своём составе:
- Поршень в цилиндре, который в подобной технике принято называть плунжером, тем самым подразумевая очень точную подгонку с практически отсутствующим зазором и работу в жидкостной среде;
- Вал с кулачками, который при вращении давит на плунжеры снизу через толкатели, заставляя их перемещаться с большим усилием, сжимая надплунжерный объём;
- Каналы, по которым подаётся топливо к плунжерам, с клапанами, срабатывающими на обратном ходе;
- Штуцеры с металлическими трубками, подающие топливо под давлением к форсункам;
- Регулирующие рейки, клапаны, дозаторы и прочую аппаратуру.

Для обеспечения конкурентоспособных характеристик двигателей от механики в питающей аппаратуре приходится уходить, передавая регулирующие и распределяющие функции электронике.
Классификация
ТНВД можно различать по организации плунжерной системы, их приводу и способу дозирования топлива
Многоплунжерные (Рядные и V-образные)
Распространённые ранее многоплунжерные насосы схематично имели простую конструкцию, где на каждый плунжер работал свой кулачок вала, а надплунжерное пространство заканчивалось штуцером, соединённым с форсункой отдельного цилиндра двигателя. При набегании кулачка на каждый плунжер давление на форсунке резко нарастало, после чего открывался её клапан и происходил впрыск.
Регулирование количества топлива производилось поворотом плунжеров через рейку, а момент впрыска изменялся центробежной муфтой привода кулачкового вала.
На многоцилиндровых двигателях компактность конструкции обеспечивалась двухрядным расположением плунжерных пар по V-образной схеме с двумя управляющими рейками.
Распределительные
Распределительные насосы имели лишь один плунжер, приводимый в действие кулачковой вращающейся шайбой. Отсечка нужного количества топлива производится поворотом корпуса нагнетающего цилиндра.
Распределяет топливо по форсункам сам поршень, вращаясь вместе с кулачковой шайбой с приводом от двигателя. Получалась очень компактная конструкция, хорошо подходящая к легковым дизелям, но излишне нагруженная, отсюда и недолговечная.
Магистральные (Common Rail)
Наиболее совершенная система имеет в своём составе единый насос, роль которого сводится к созданию и поддержанию давления в общей для всех форсунок рампе. Все функции по своевременному открытию и дозированию подаваемого топлива возлагаются на форсунки.
По теме: Как понять что пробита прокладка ГБЦ
Форсунка системы Common Rail представляет собой электрически управляемый клапан, который способен очень быстро открываться и полностью закрываться, находясь под значительным давлением.
Приводится клапан управляющим давлением, а открывается электрическим сигналом от блока управления. Используются как электромагнитные, так и пьезоэлектрические инжекторы, что ещё больше увеличивает быстродействие.
Стало возможным применять многократный впрыск за один рабочий такт, разделив питание цилиндра на предварительное (пилотное) и несколько основных. Всё это влияет на экономичность и чистоту выхлопа.
Само устройство насоса базируется на том же принципе сжатия топлива плунжером через систему из двух клапанов. Привод может быть, как кулачковым валом, так и шайбой. Количество плунжеров разное, причём на частичных нагрузках некоторые не задействованы.
Признаки неисправности ТНВД
Всякая проблема с ТНВД ведёт к нарушению оптимального горения в цилиндрах. Отсюда и внешние проявления, подобные таковым в любом двигателе внутреннего сгорания:
- снижение мощностных и динамических показателей;
- дымность выхлопа;
- неуверенный запуск холодного или нагретого двигателя;
- увеличенный расход дизельного топлива;
- жёсткая работа и стуки в двигателе.

Практически все неисправности могут быть связаны с насосом или форсунками, поэтому проверка должна носить комплексный характер.
Внутренние поломки насоса высокого давления и их причины
ТНВД очень чувствительны к качеству топлива, особенно к наличию в его составе твёрдых включений, серы и воды. Несмотря на тщательную многоступенчатую фильтрацию полностью избежать повышенного износа не всегда удаётся.
Снижение давления становится следствием износа плунжерных пар. Топливо плохо распыляется, двигатель дымит и работает жёстко. Возможны отклонения по отдельным цилиндрам, что приводит к росту вибронагруженности.
Это интересно: Что из себя представляет двигатель TSI, характеристики и ресурс
Износ и подклинивание регулирующего механизма может стать причиной отклонений в настройке момента впрыска, что для дизеля равносильно изменению опережения зажигания бензиновых моторов.
Диагностика и ремонт ТНВД
Проверка топливной аппаратуры дизеля требует специализированного оборудования, своими силами можно лишь грубо убедиться в элементарной работоспособности, например, ослабляя штуцеры питания форсунок на старых механических насосах.
Современный ТНВД, да ещё с электрическим приводом, без диагностической аппаратуры не проверить. Надо располагать манометром для очень высокого давления, порядка двух тысяч атмосфер, сканером, опрашивающим датчики и сверяющим показатели с номинальными, форсуночным стендом.
Главное – знать взаимодействие всех узлов системы подачи топлива. Иначе отклонение в работе какого-нибудь клапана может стать причиной выбраковки дорогостоящего насоса.
На стенде насос выводится в калибровочный режим с прокачкой жидкости, строго нормированной по параметрам и очищенной.
От качества топлива тоже многое зависит.
Замеряется давление и параметры расхода, их соответствие табличным во всех тестовых режимах. Только после этого выдвигаются версии и производится ремонт или замена.
Ремонт ТНВД дизеля: нюансы, особенности
ТНВД в системе питания дизеля. Нарушения в работе прибора, их внешние проявления. Как можно отремонтировать насос своими силами, последовательность действий. Советы для прибегающих к помощи специализированных сервисов.
У любого дизельного двигателя рано или поздно может потребоваться ремонт топливного насоса высокого давления. Как человеческое сердце с годами начинает «барахлить», так и этот аппарат подвержен возрастным изменениям. Наряду с естественным износом деталей, сказывается и заправка некачественным топливом. Дизельные агрегаты в этом плане более чувствительны, чем бензиновые моторы.
Предлагаемая статья поможет владельцам дизельных авто при возникновении проблем с топливным насосом. В ней также приводятся советы: как отремонтировать этот узел своими руками.
Топливный насос высокого давления (ТНВД) представляет собой самостоятельный узел системы питания двигателей внутреннего сгорания (ДВС), в первую очередь — дизельных. Хотя это устройство применяется и на бензиновых моторах с инжекторным впрыском, впервые оно было использовано именно на дизеле.
Главная функция его состоит в создании разницы давлений между напорной магистралью и камерой сжатия, чтобы обеспечить надежный впрыск горючего в полость цилиндра. Но этого мало.
Насос задает также последовательность подачи топлива к рабочим форсункам, то есть выполняет распределительную функцию. Помимо этого, он регулирует объем подачи в зависимости от режима движения (частоты вращения коленвала) и от некоторых других факторов: температура двигателя, включение и выключение кондиционера.
Наконец, подобно тому, как в карбюраторных моторах регулируется угол опережения зажигания, на дизельном двигателе ТНВД автоматически корректирует опережение момента впрыска.
Существуют насосы трех основных типов: рядные, с распределенным впрыском и магистральные. Устройство их рассматривается в отдельной статье. Здесь же стоит упомянуть лишь, что рядные насосы использовались до недавнего времени на грузовых дизельных автомобилях, тракторах и специализированной дорожно-транспортной технике.
Распределительные аппараты устанавливают на все легковые дизельные авто и на некоторые грузовые. Магистральные применяются в современных топливных системах Common Rail. Такие насосы лишены функции распределения топлива, эту задачу выполняет электронный блок управления двигателем (ЭБУ), который согласно программе командует рабочими форсунками.
Внешние проявления топливной недостаточностиКакие могут быть признаки неисправности топливного насоса? Как было сказано в начале статьи, основными причинами потери работоспособности ТНВД являются износ трущихся поверхностей и низкое качество топлива. Здесь можно уточнить, что под низким качеством солярки следует подразумевать и попадание в топливо воды.
- Затруднен пуск двигателя — скорее всего, наступил износ плунжерной пары (или пар), и насос не развивает нужного давления. Проверяется простым способом. Нужно положить на ТНВД тряпку, полить ее холодной водой и выждать несколько минут. После чего повторить попытку. Если двигатель заведется, значит, причина действительно в износе. При охлаждении происходит уменьшение зазоров в сопряжении и повышается вязкость топлива, в результате чего насос обеспечивает необходимое давление.
- Потеря мощности. Из-за увеличившихся зазоров снижается давление впрыска, ухудшается работа всережимного регулятора оборотов.
- Перегрев двигателя. Причинами могут быть неправильная работа автомата опережения впрыска. В этом случае нельзя откладывать ремонт ТНВД «на потом».
- Растущий «аппетит» силового агрегата. Вызывается утечками топлива, износом плунжерных сопряжений, неправильным углом опережения впрыска.

- Жесткая работа мотора, которая может быть следствием чересчур раннего момента впрыска и неравномерностью подачи солярки в разные цилиндры. Правда последнее на распределительных ТНВД практически невозможно, так что, скорее всего, дело в форсунках.
- Черный выхлоп из выпускной трубы. Причина может быть в слишком позднем угле впрыска горючего.
При наличии перечисленных выше признаков необходимо подумать о ремонте топливного нагнетателя. Ниже рассматривается, как устранить некоторые неисправности аксиального ТНВД распределительного типа своими руками.
Следует оговориться, что прежде чем браться за эту работу, следует изучить устройство ремонтируемого агрегата, выяснить — какие могут понадобиться инструменты, потому что в некоторых случаях не обойтись без специальной оснастки, съемника, например.
Также следует приготовить фотоаппарат, чтобы фиксировать каждый этап разборки.
В противном случае можно забыть — где находились те или иные детали. Для разборки необходимо приготовить подходящий стол и покрыть его чистой тканью или хотя бы листом белой бумаги. На полу не должно быть мусора, иначе случайно упавшую деталь можно и не найти.
Итак, что может самостоятельно сделать автолюбитель, не имеющий специальной квалификации?
- устранить утечку топлива из корпуса насоса;
- проверить исправность электромагнитного клапана;
- проверить плунжерный механизм подачи горючего;
- проверить автоматический регулятор частоты вращения;
- очистить фильтрующие сетки;
- проверить давление, развиваемое прибором;
- отрегулировать автомат опережения впрыска.
Ниже описывается последовательность действий при самостоятельном ремонте ТНВД. На работающем двигателе отсоединяют тягу, соединяющую педаль газа с рычагом, регулирующим подачу топлива. После чего вручную покачивают рычаг в радиальном направлении, стараясь растянуть возвратную пружину.
Если через кольцевую щель не наблюдается просачивания солярки, значит, уплотнение не изношено. В противном случае требуется восстановительный ремонт сопряжения.
Пока насос еще не снят с двигателя, убеждаются в исправности электромагнитного клапана отключения подачи топлива. Если двигатель пускается и глушится при повороте ключа — клапан исправен. Как поступать в ситуации, когда этот компонент отказывает во время движения, будет рассказано несколько ниже.
Теперь же остается переходить к разборке насоса. Перед тем как отсоединять от агрегата топливные магистрали и электроподводку, необходимо протереть его корпус и соединения смоченной в солярке ветошью, после чего вытереть насухо, чтобы исключить попадание грязи в топливную систему.
В первую очередь нужно разобрать привод регулировки подачи горючего и произвести ревизию уплотнений, а также оценить степень износа сопряженных деталей.
Уплотнительные кольца обязательно меняют. Для этой цели необходимо купить ремкомплект для ремонтируемого прибора.
Что касается изношенных деталей, есть два способа отреставрировать их: восстановить изношенную ось с помощью хромирования, или выточить и поставить в корпус ремонтную бронзовую втулку. Корпус перед этим придется расточить.
Ремонт плунжерного механизмаДалее следует перейти к разборке и ревизии плунжерного нагнетателя. Отсоединяют от корпуса распределительную головку насоса, после чего кладут его шкивом вниз, чтобы не высыпались внутренности. Перед тем как вынуть кулачки, приводную шестеренку и муфту центробежного регулятора, нужно проверить, не заедают ли эти детали при движении, а затем, аккуратно поддерживая их пальцами, извлечь из корпуса.
Ролики, шайбы, оси кулачковой муфты целесообразно пометить маркером, потому что все сопряженные поверхности уже притерлись друг к другу, и будет лучше, если они так и останутся после сборки.
После разборки нужно внимательно осмотреть детали на предмет обнаружения сколов или выработки. Сильно изношенные элементы следует заменить новыми.
Степень износа плунжерной пары оценить можно только приблизительно. Работоспособность прецизионного сопряжения проверяется после сборки насоса путем измерения его рабочего давления. Наконец, нужно продуть сжатым воздухом все фильтрующие элементы (сетки), после чего можно собирать насос в обратной последовательности.
Когда агрегат будет собран, нужно залить его соляркой, проворачивая вручную приводной валик, после чего можно устанавливать на место и подсоединять топливопроводы, шланги и электропроводку системы управления.
После того как мотор будет заведен, следует убедиться в правильности работы автомата опережения впрыска горючего, в зависимости от давления в полости низконапорного лопастного насоса. На этом блоке имеется свой регулятор холостых оборотов. При необходимости регулируют этот параметр, завинчивая или вывинчивая регулировочный винт.
Перед выполнением этой процедуры рекомендуется запомнить положение винта, сосчитав количество выступающих из контргайки витков резьбы, чтобы, в крайнем случае, вернуться к исходной настройке. В мануале на двигатель указывается требуемое количество оборотов на холостом ходу двигателя. Обычно они понижаются с 1100 оборотов после запуска до 750 — после прогрева дизеля с механической коробкой, и до 850 — на двигателе с автоматом.
Проверка давленияВ заключение проверяют давление в напорной магистрали, что является косвенной проверкой состояния плунжерной пары. Для этой цели понадобится манометр, рассчитанный на давление до 350 бар, соединительный шланг для подключения к насосу и переходник, включающий в себя стравливающий клапан.
В качестве измерительного прибора подойдет манометр ТАД-01А или более старый — КИ-4802. Если переходника в продаже не найдется, придется изготовить его самостоятельно.
Конечно, необходимо принимать во внимание размеры присоединительной резьбы, и куда планируется вворачивать соединительный шланг.
Для измерения прибор подключают к центральному отверстию распределительного блока или к одному из напорных штуцеров.
После присоединения манометра к ТНВД проворачивают вал насоса с помощью стартера и фиксируют показание стрелочного индикатора. Если прибор показывает больше 250 атмосфер — это нормально (при работающем двигателе давление будет выше).
Аварийный ремонт электромагнитного клапанаКак было обещано выше, несколько слов о том, что делать, если откажет в пути электромагнитный клапан отключения топлива. В этом случае двигатель внезапно остановится. Правда, причин этому может быть несколько. Чтобы отбросить версию неисправности электроклапана, его необходимо исключить из работы, поскольку в нормальном режиме он всегда открыт.
Для этого нужно снять питающий провод, изолировать его от массы, после чего вывернуть клапан, удалить из него наконечник с пружиной и поставить устройство обратно. Если двигатель все равно не заведется, причина, очевидно, — в чем-то другом.
Если же мотор запустится, нужно искать неисправность в клапане.
Чтобы делать это не в дороге, нужно сначала добраться до дома. Правда глушить двигатель потом придется грубо, но просто: поставить машину на ручник, включить повышенную передачу и отпустить педаль сцепления.
А затем уже приступать к ремонту. Сначала следует проверить, — не сгорела ли обмотка электромагнита. Для этого соединяют клапан с плюсом аккумулятора с помощью отрезка исправного провода, после чего пытаются завести двигатель. Если он заводится, значит, сгорела обмотка. В противном случае ищут место утечки напряжения с подводящего провода.
Обращение к специалистамТем же, кто не имеет желания или возможности делать ремонт ТНВД самостоятельно, следует обратиться на специализированную станцию ремонта топливной аппаратуры. Хотя существуют и дилерские центры, выполняющие обслуживание и ремонт автомобилей определенной марки, топливной аппаратурой они, как правило, не занимаются, поскольку для этого требуется дорогостоящее диагностическое оборудование.
Основным стендом для диагностики и регулировки ТНВД является Bosch EPS-815. На нем проверяются различные параметры, заданные для данного насоса производителем. Например: пусковая подача горючего, объемная подача на различных режимах, давление на выходе и некоторые другие.
При выборе сервиса следует учитывать его надежность. Для этого нужно предварительно приехать на собеседование, где поинтересоваться мнением обслуживаемых клиентов. В таких случаях обращают внимание на историю выбранного сервиса. Как правило, недобросовестные фирмы существуют в сфере услуг не более одного года.
Слабым звеном ТНВД дизельных двигателей является чувствительность их к попаданию в топливную систему воды. Особенно подвержены этому легковые иномарки, для которых вода является главным врагом. Для уменьшения этой опасности зимой нужно поддерживать максимально возможный уровень топлива в баке, чтобы свести к минимуму образование конденсата.
youtube.com/embed/uQr8VZ_Z8-Q?feature=oembed&wmode=opaque» frameborder=»0″ allowfullscreen=»»/>
Топливный насос высокого давления дизельного двигателя
Топливный насос высокого давления 12-цилиндрового дизельного двигателяТопливный насос высокого давления (ТНВД) дизельного двигателя (а также бензиновых двигателей, оснащенных системой непосредственного впрыска топлива) является одним из наиболее сложных узлов системы топливоподачи дизельных двигателей.
Топливные насосы предназначены для подачи в цилиндры дизеля под определенным давлением и в определенный момент точно отмеренных порций топлива, соответствующих данной нагрузке. По способу впрыска различают топливные насосы непосредственного действия и с аккумуляторным впрыском. В топливном насосе непосредственного действия осуществляется механический привод плунжера, а процессы нагнетания и впрыска протекают одновременно. В каждый цилиндр секция топливного насоса подает необходимую порцию топлива.
Требуемое давление распыливания создается движением плунжера насоса.
У топливного насоса с аккумуляторным впрыском привод рабочего плунжера осуществляется за счет сил давления сжатых газов в цилиндре двигателя или с помощью специальных пружин. На мощных тихоходных дизелях применяют аккумуляторные топливные насосы с гидравлическими аккумуляторами.
В системах с гидравлическими аккумуляторами процессы нагнетания и впрыска протекают раздельно. Предварительно топливо под высоким давлением нагнетается насосом в аккумулятор, из которого поступает к форсункам. Эта система обеспечивает качественное распыливание и смесеобразование в широком диапазоне нагрузок дизеля, но из-за сложности конструкций такой насос широкого распространения не получил. Современные дизели используют технологию с управлением электромагнитными клапанами форсунок от микропроцессорного устройства (такое сочетание называется «common rail»).
Топливные насосы высокого давления могут быть рядными, V-образными (многосекционными) и распределительными.
В рядных ТНВД насосные секции располагаются друг за другом, и каждая подает топливо в определенный цилиндр двигателя. В распределительных ТНВД, которые бывают одноплунжерными и двухплунжерными, одна насосная секция подает топливо в несколько цилиндров двигателя.
Устройство распределительного ТНВД:
- редукционный клапан;
- всережимный регулятор;
- дренажный штуцер;
- корпус насосной секции высокого давления в сборе с плунжерной парой и нагнетательными клапанами;
- топливоподкачивающий насос;
- лючок регулятора опережения впрыска;
- корпус ТНВД;
- электромагнитный клапан выключения подачи топлива;
- кулачково-роликовое устройство привода плунжера.
Подачу топлива из бака в ТНВД обеспечивает топливоподкачивающий насос (5), а редукционный клапан (1) поддерживает стабильное давление на входе в насосную секцию ТНВД, которая расположена в корпусе (4).
Плунжерная пара насосной секции представляет собой золотниковое устройство, регулирующее количество впрыскиваемого топлива и распределяющее его по цилиндрам дизеля в соответствии с порядком их работы.
Всережимный регулятор (2) обеспечивает устойчивую работу дизеля в любом режиме, задаваемом водителем с помощью педали акселератора, и ограничивает максимальные обороты коленчатого вала, а регулятор опережения впрыска топлива (6) изменяет момент подачи топлива в цилиндры в зависимости от частоты вращения коленвала.
Топливоподкачивающий насос подает в ТНВД топливо в гораздо большем объёме, чем требуется для работы дизеля. Излишки возвращаются в бак через дренажный штуцер (3). Что касается электромагнитного клапана (8), то он предназначен для остановки дизеля. При повороте ключа в замке зажигания в положение «выключено» электромагнитный клапан перекрывает подачу топлива к плунжерной паре, а значит, и в цилиндры дизеля, это и требуется, чтобы заглушить силовой агрегат.
В зависимости от давления и продолжительности впрыска, а также от величины цикловой подачи топлива существуют следующие модели рядных ТНВД:
— М (4…6 цилиндров, давление впрыска до 550 бар)
— А (2…12 цилиндров, давление впрыска до 950 бар)
— P3000 (4…12 цилиндров, давление впрыска до 950 бар)
— P7100 (4…12 цилиндров, давление впрыска до 1200 бар)
— P8000 (6…12 цилиндров, давление впрыска до 1300 бар)
— P8500 (4…12 цилиндров, давление впрыска до 1300 бар)
— R (4…12 цилиндров, давление впрыска до 1150 бар)
— P10 (6…12 цилиндров, давление впрыска до 1200 бар)
— ZW (M) (4…12 цилиндров, давление впрыска до 950 бар)
— P9 (6…12 цилиндров, давление впрыска до 1200 бар)
— CW (6…10 цилиндров, давление впрыска до 1000 бар)
— h2000 (5…8 цилиндров, давление впрыска до 1350 бар)
Общее устройство ТНВД
Основные части ТНВД:
- Корпус.

- Крышки.
- Всережимный регулятор
- Муфта опережения впрыска.
- Подкачивающий насос.
- Кулачковый вал.
- Толкатели.
- Плунжеры с поводками или зубчатыми втулками,
- Гильзы плунжеров.
- Возвратные пружины плунжеров.
- Нагнетательные клапаны.
- Штуцеры.
- Рейка.
Принцип действия ТНВД: Вращение кулачковый вал получает через муфту опережения впрыска и зубчатую передачу от коленчатого вала. При вращении кулачкового вала кулачок набегает на толкатель и смещает его, а он в свою очередь, сжимая пружину, поднимает плунжер. При поднятии плунжера он вначале закрывает впускной канал, а затем начинает вытеснять топливо, находящееся над ним. Топливо вытесняется через нагнетательный клапан, открывшийся за счёт давления, и поступает к форсунке. В момент движения плунжера вверх винтовой канал, находящийся на нём, совпадает со сливным каналом в гильзе. Остатки топлива, находящиеся над плунжером, начинают уходить на слив через осевой, радиальный и винтовой каналы в плунжере и сливной в гильзе.
При опускании плунжера за счёт пружины открывается впускной канал, и объём над плунжером заполняется топливом от подкачивающего насоса. Изменение количества подаваемого топлива к форсунке осуществляется поворотом плунжеров от рейки через всережимный регулятор. При повороте плунжера, если винтовой канал совпадёт со сливным раньше, то впрыснуто топлива будет меньше. При обратном повороте каналы совпадут позже, и впрыснуто топлива будет больше. На некоторых ТНВД (например, ТНВД трактора Т — 130) часть секций отключается на холостых оборотах, соответственно, отключается и часть цилиндров двигателя.
Дополнительные агрегаты ТНВД
Муфта опережения впрыска — служит для изменения угла опережения впрыска в зависимости от оборотов. По принципу действия является механизмом, использующим центробежную силу. Устройство:
- Ведущая полумуфта.
- Ведомая полумуфта.
- Грузы.
- Стяжные пружины грузов.
- Опорные пальцы грузов
Принцип действия: При минимальных оборотах грузы за счёт пружин стянуты к центру и положение между муфтами является исходным, при этом угол опережения впрыска находится в пределах отрегулированного параметра.
При увеличении оборотов центробежная сила в грузах возрастает и разводит их, преодолевая сопротивление пружин. При этом муфты поворачиваются относительно друг друга и угол опережения впрыска увеличивается.
Всережимный регулятор — служит для изменения количества подачи топлива в зависимости от режимов работы двигателя: запуск двигателя, увеличение/уменьшение оборотов, увеличение/уменьшение нагрузки, остановка двигателя. Устройство:
- Корпус.
- Крышки.
- Державка.
- Грузы.
- Муфта.
- Рычаги.
- Скоба-кулисы.
- Регулировочные винты.
- Оттяжные пружины.
Принцип действия: Запуск двигателя — перед запуском рейка за счёт пружины находится в положении максимальной подачи топлива, поэтому при запуске в двигатель подаётся максимальное количество топлива. Это способствует быстрому запуску. Как только двигатель начнёт развивать обороты, и центробежная сила в грузах начнёт расти, они, преодолевая сопротивление пружин, начнут расходиться в стороны и внутренними своими рычагами давить на муфту, которая будет воздействовать на рычаг, а рычаг будет тянуть рейку в сторону уменьшения подачи топлива.
Обороты установятся в соответствии с натягом пружин. Увеличение оборотов — при нажатии на педаль «газа» натягивается пружина, которая действует на рычаг рейки и муфту. Муфта и рейка смещается, при этом преодолевается центробежная сила в грузах. Рейка смещается в сторону увеличения подачи топлива, и обороты растут. Увеличение нагрузки — при увеличении нагрузки и неизменном положении педали «газа» обороты снижаются, центробежная сила в грузах тоже. Грузы складываются и дают возможность сместиться муфте, рычагу и рейке в сторону увеличения подачи топлива. При снижении нагрузки обороты начинают увеличиваться, центробежная сила в грузах тоже, грузы начинают расходится и внутренними рычагами смещать муфту, рычаг и рейку в сторону уменьшения подачи топлива. Обороты при этом прекращают расти. Остановка двигателя — при остановке двигателя поворачивается скоба, кулиса скобы воздействует на рычаг, а рычаг — на рейку. Рейка перемещается настолько в сторону уменьшения подачи, что подача прекращается, и двигатель останавливается
ТНВД дизельного двигателя Д-245 — устройство и регулировки
________________________________________________________________
___________________________________________________________________________
ТНВД дизельного двигателя Д-245 — устройство и регулировки
На двигателе Д-245 автомобилей ЗИЛ-5301
Бычок, ГАЗ-3309, МАЗ-4370 Зубренок устанавливаются ТНВД-773.
Топливный насос высокого давления представляет собой
блочную конструкцию, состоящую из четырех насосных секций в одном
корпусе, имеющую кулачковый привод плунжеров и золотниковое
дозирование цикловой подачи топлива.
ТНВД-773 предназначен для подачи в камеры сгорания цилиндров дизеля в определенные моменты времени дозированных порций топлива под высоким давлением. Привод кулачкового вала топливного насоса осуществляется от коленчатого вала дизеля через шестерни распределения.
Взаимное положение шестерни привода топливного насоса и полумуфты привода фиксируется затяжкой гаек, устанавливаемых на шпильки полумуфты. Значение момента затяжки гаек 35…50 Нм.
Топливный насос высокого давления Д-245 объединен в один агрегат с всережимным регулятором и топливоподкачивающим насосом поршневого типа.
Регулятор имеет корректор подачи топлива, автоматический
обогатитель топливоподачи (на пусковых оборотах) и пневматический
ограничитель дымления (корректор по наддуву).
Подкачивающий насос
установлен на корпусе ТНВД Д-245 и приводится эксцентриком
кулачкового вала.
Рабочие детали насоса смазываются проточным маслом, поступающим из системы смазки дизеля. Слив масла из корпуса насоса осуществляется в картер дизеля. Вновь установленный на дизель насос необходимо заполнить маслом в количестве 200…250 см3. Заливку масла производить через отверстие слива масла поз.30 (Рис.1).
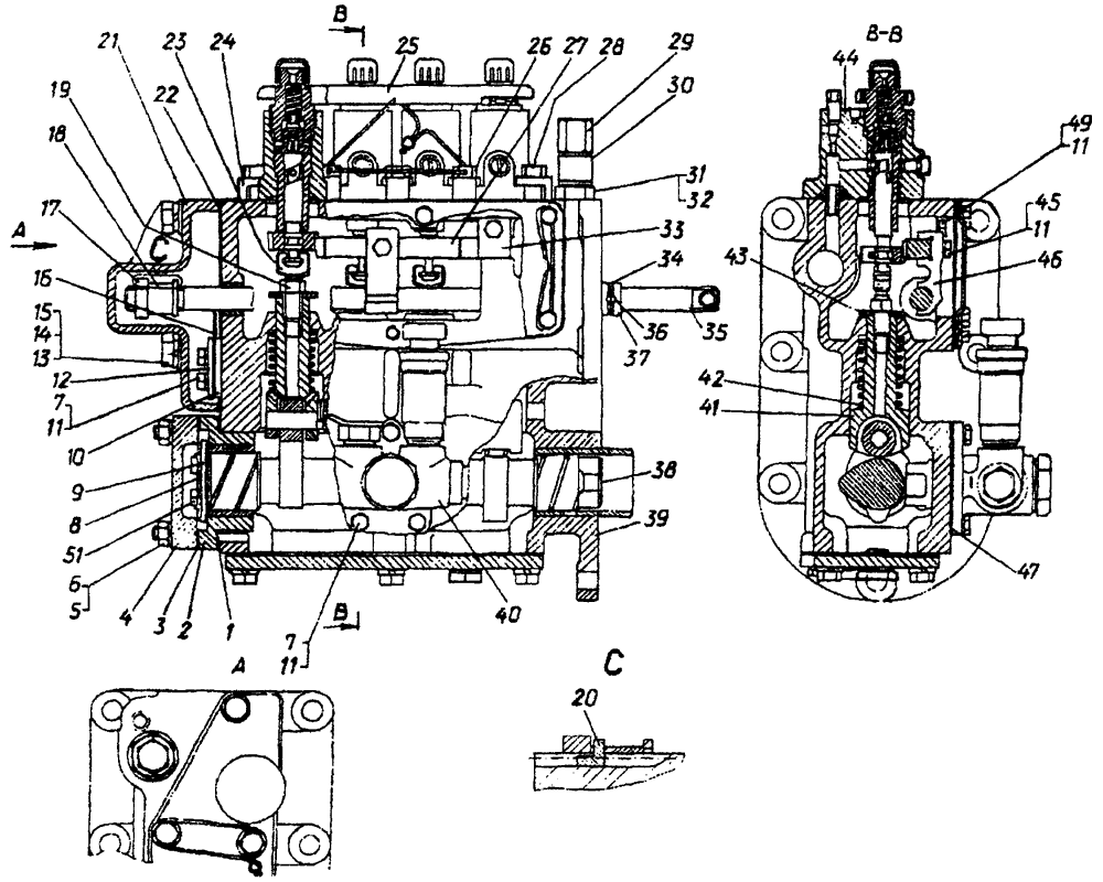
Рис.1 – Топливный насос ТНВД 773 дизеля Д-245
1 — секция топливного насоса; 2 — табличка; 3 – фланец; 4 – шпонка;
5 – полумуфта привода; 6 – гайка крепления полумуфты; 7 – кулачковый
вал; 8 – корпус топливного насоса; 9 – топливоподкачивающий насос;
10 – поддерживающий кронштейн; 11 – болт регулировки пусковой
подачи; 12 – рычаг останова; 13 – корпус регулятора; 14 – крышка
регулятора; 15 – крышка смотрового люка; 16 – болт регулировки
минимальной частоты вращения; 17 – болт регулировки максимальной
частоты вращения; 18 – гайка крепления секций топливного насоса; 19
– перепускной клапан; 20 – штуцер подвода топлива; 21– маслопровод;
22 – штуцер отвода топлива от подкачивающего насоса к фильтру тонкой
очистки топлива; 23 – болт крепления штуцера подвода топлива к
подкачивающему насосу; 24 – корректор по наддуву; 25 – болт штуцера
подвода воздуха; 26 – рычаг управления; 27 – пробка винта
регулировки
номинальной подачи топлива; 28 – пробка спуска воздуха; 29 –
электромагнит останова ; 30 – отверстие слива масла.
Обслуживание топливного насоса высокого давления ТНВД дизелей Д-245
В процессе эксплуатации топливного насоса высокого давления 773 при износе основных деталей нарушаются его регулировочные параметры. Смазка ТНВД Д-245 централизованная от системы смазки дизеля через специальный маслопровод. Необходимый уровень масла в картере насоса устанавливается автоматически.
Для снижения износов прецизионных деталей не допускается работа ТНВД без фильтрующего элемента или с засоренным фильтром тонкой очистки топлива. Также не допускается работа с топливом, имеющим повышенное содержание воды.
При необходимости, а также через каждые 120 тыс. км пробега необходимо снять насос и проверить его на стенде на соответствие регулировочным параметрам, а также установочный угол опережения впрыска топлива на дизеле. При необходимости, произведите соответствующие регулировки.
Регулировка и контроль ТНВД 773 для установочного угла опережения впрыска топлива на двигателе Д-245
При затрудненном пуске дизеля, дымном выпуске, а также при замене,
установке топливного насоса после проверки на стенде через каждые
120 тыс.
км пробега или ремонте дизеляобязательно проверьте
установочный угол опережения впрыска топлива на дизеле.
Установочный угол опережения впрыска топлива, градусов поворота коленчатого вала для топливного насоса высокого давления ТНВД 773.1111005-20.05 — 2,5±0,5
Проверку установочного угла опережения
впрыска топлива для ТНВД 773 двигателя Д-245 производите в следующей
последовательности:
— установите поршень первого цилиндра на такте сжатия за 40-50 до
ВМТ;
— установите рычаг управления регулятором в положение,
соответствующее максимальной подаче топлива;
— отсоедините трубку высокого давления от штуцера первой секции ТНВД
и вместо неё подсоедините контрольное приспособление,
представляющее собой отрезок трубки высокого давления длиной
100…120 мм с нажимной гайкой на одном конце и вторым концом,
отогнутым в сторону на 150…170° в соответствии с рисунком 24;
— заполните топливный насос топливом, удалите воздух из
системы низкого давления и создайте избыточное давление насосом
ручной прокачки до появления сплошной струи топлива из трубки
контрольного приспособления;
— медленно вращая коленчатый вал дизеля
Д-245 автомобилей ЗИЛ-5301 Бычок, ГАЗ-3309, МАЗ-4370 Зубренок по часовой стрелке и
поддерживая избыточное давление в головке насоса (прокачивающим
насосом), следите за истечением топлива из контрольного
приспособления.
— В момент прекращения истечения топлива (допускается
каплепадение до 1 капли за 10 секунд) вращение коленчатого вала
прекратить;
— выверните в соответствии с рисунком 2 фиксатор из резьбового отверстия заднего листа и вставьте его обратной стороной в то же отверстие до упора в маховик, при этом фиксатор должен совпадать с отверстием в маховике (это значит, что поршень первого цилиндра установлен в положение, соответствующее установочному углу опережения впрыска топлива.
Рис.2 — Установка фиксатора в отверстие заднего листа и маховика дизеля Д-245
При несовпадении фиксатора с отверстием в
маховике произведите регулировку ТНВД 773, для чего проделайте
следующее:
— снимите в соответствии с рисунком 3 крышку люка;
— совместите фиксатор с отверстием в маховике, поворачивая в ту или
другую сторону коленчатый вал;
— отпустите на 1…1,5 оборота гайки крепления шестерни привода
топливного насоса;
— при помощи ключа поверните за гайку валик топливного насоса против
часовой стрелки до упора шпилек в край паза шестерни привода
топливного насоса;
— создайте избыточное давление в головке топливного насоса до
появления сплошной струи топлива из трубки контрольного
приспособления;
— поворачивая вал насоса по часовой стрелке и поддерживая избыточное
давление, следите за истечением топлива из контрольного
приспособления;
— в момент прекращения истечения топлива прекратите вращение вала и
зафиксируйте его, зажав гайки крепления полумуфты привода к шестерне
привода.
Произведите повторную проверку момента начала подачи топлива.
Отсоедините контрольное приспособление и установите на место трубку
высокого давления и крышку люка.
Заверните в отверстие заднего листа фиксатор.
Рис.3 — Привод топливного насоса ТНВД двигателя Д-245
1 – крышка люка; 2 – гайка; 3 – шпилька; 4 – гайка специальная; 5 – полумуфта привода; 6 – шестерня привода топливного насоса
Проверка форсунок дизеля Д-245 на давление начала впрыска и качество распыла топлива
Рис.4 – Форсунка двигателя Д-245
1 – корпус форсунки; 2 – шайба регулировочная; 3 – пружина; 4 – штанга форсунки; 5 – проставка; 5 – гайка распылителя; 7 – распылитель; 8 – кольцо уплотнительное.
Проверку форсунок производите через каждые 120 тыс. км
пробега. Снимите форсунки с дизеля и проверьте их на стенде.
Форсунка топливного насоса ТНВД 773 считается
исправной, если она распыливает топливо в виде тумана из всех пяти
отверстий распылителя, без отдельно вылетающих капель, сплошных
струй и сгущений.
Начало и конец впрыска должны быть четкими, появление капель на носке распылителя не допускается. Качество распыла проверяйте при частоте 60-80 впрысков в минуту.
При необходимости отрегулируйте форсунки изменением общей толщины регулировочных шайб 2 (Рис.4): увеличение общей толщины регулировочных шайб (увеличение сжатия пружины) повышает давление, уменьшение – понижает. Изменение толщины шайб на 0,1мм приводит к изменению давления начала подъема иглы форсунки на 1,3… 1,5 МПа.
Значения давления начала впрыскивания для
форсунок: 455.1112010-50 – 24,5 МПа; 172.1112010-11.01 – 25,0…26,2
МПа. Установите форсунки на дизель. Болты скобы крепления форсунок затягивайте равномерно в 2-3 приема. Окончательный момент
затяжки 20…25 Нм.
Ремонт, регулировка топливных насосов (тнвд)
Автосервис предлагает ремонт топливного насоса высокого давления дизельного двигателя! Дополнительная информация и запись на осмотр – позвоните.
Вы можете заказать ремонт грузовых тнвд и легковых автомобилей, можете записаться на бесплатную проверку машины, заполнив форму онлайн на сайте. Ремонт топливных насосов высокого давления дизелей от нашей компании – гарантия оптимальной функциональности и максимального КПД вашего автомобиля! Возможна комплектация запчастей. Ремонт тнвд в Воронеже – цена в нашем каталоге всегда адекватна качеству.
Сущность и целевое назначение
Топливный насос — это устройство распределительного типа, который подает топливо в каждый цилиндр двигателя через распределительный вал. При подаче топлива поршень перемещается вверх / вниз, а распределительный вал вращается, чтобы распределить топливо между цилиндрами индивидуально.
Регулировка тнвд дизельного двигателя включает широкий спектр мероприятий:- Ремонт насоса тнвд при наличии неисправностей: ремонт клапана тнвд, ремонт регулятора тнвд, восстановление плунжерных пар тнвд и так далее.

- Процедура осуществляется после завершения сборки. Насос должен быть перенастроен с помощью специального тестера при замене основных деталей: узел плунжера, узел направляющей ролика, распределительный вал горючего и т. д.
- Проводится регулировка сопла в сборе и проверка пускового давления впрыска.
- Настройка впрыскивающей трубы.
- Устанавливается тнвд на платформе.
- Удаляется заглушка в отверстии для заливки масла в верхней части корпуса регулятора и заполняется насос — примерно 200 куб. см масла.
- Заполняется трубопровод для топливного масла и включается тестер насоса, чтобы продуть линию воздуха.
- Устанавливается давление масла на уровне 19,6-29,4 кПа (0,2-0,3 кгс / см2), темп. при 40 ± 2 °С (104 ± 3,6 градуса).
Дополнительно требуется настройка комплектующих частей дизельного двигателя:
- Регулировка нижнего зазора (время впрыска топлива).
- Проверка холостого хода максимальной скорости двигателя.

- Регулировка болта ограничения топлива.
- Настройка обратного угла и восстановление производительности.
- Иные манипуляции в зависимости от показаний после проведенной диагностики, в том числе техническое обслуживание.
Полный ремонт тнвд дизель сервис подразумевает не только замену неисправных деталей, но и поиск и устранение причины неисправности. Проблема может быть не обязательно в насосе, а, например, в двигателе или топливной системе. Если тнвд будет удален преждевременно, истинная причина никогда не будет известна. Перед удалением необходимо, по крайней мере, пройти основные контрольные точки, приведенные здесь.
Ремонт тнвд в воронеже на Дорожной предлагает проверить следующие основные контрольные точки:
- на наличие разрывов или утечек масла по всей топливной системе, от топливного бака до форсунки.
- время впрыска для всех цилиндров. Они правильно настроены? Они слишком быстрые или медленные?
- как работает сопло.

- доставку топлива. Ослабьте соединение топливопровода на впрыскивающем насосе.
В заключение производится ввод двигателя в эксплуатацию для проверки функциональности. Как видно, ремонт и обслуживание тнвд – сложная процедура. Рекомендуется обращаться к специалистам, чтобы провести ремонт тнвд common rail. Стоимость ремонта тнвд в нашем сервисе ниже, чем у большинства конкурентов. Ремонт тнвд дизельных двигателей – цена ниже, качество выше.
Дополнительно вы можете воспользоваться услугой ремонта и регулировки форсунок bosch , а также другими видами работ.
Звоните! Или закажите звонок, заполнив контактную форму ниже
ТНВД (топливный насос высокого давления)
Топливный насос высокого давления или, как часто можно встретить в специализированной литературе и сети интернет, ТНВД, — один из важных и достаточно сложных узлов, как всех дизельных двигателей, так и еще пока малой части бензиновых моторов — тех из них, в которых осуществляется прямой впуск топлива в камеру сгорания.
Устройство, принцип работы и виды.
Из названия данного узла можно понять, что его основная задача состоит в том, чтобы подавать в движок топливо под высоким давлением (если представляете работу дизельного двигателя, то в нем топливо через форсунку подается этим давлением непосредственно в камеру сгорания, где в данный момент находиться сжатый воздух).
Виды ТНВД.
В силу этой своей задачи топливный насос высокого давления является достаточно сложным механизмом. При этом само конструкционное исполнение ТНВД делится на насколько видов:
- рядного типа,
- распределительного типа,
- магистрального типа.
В чем их отличия?
Два первых типа по своей конструкции очень схожи.
Топливный насос высокого давления рядного типа (фото).
Топливный насос высокого давления распределительного типа (фото).
В их основе лежит плунжерная пара (цилиндр и шток), совместная работа которых, приводимаяв действие от коленчатого вала через кулачковый механизм (вал), создает необходимое давление топлива.
Разница состоит лишь в том, что в топливном насосе рядного типа количество плунжеров равно количеству цилиндров двигателя, соответственно, каждый плунжер обслуживает свой цилиндр. А в ТНВД распределительного типа — нет. К примеру, на обычном 4-цилиндровом двигателе при распределительном виде топливного насоса высокого давления чаще всего можно встретить 1-плунжерный механизм, который обслуживает все цилиндры. Система работает так, что в определенный момент времени плунжер подает необходимую порцию топлива под давлением к соответствующему цилиндру.
Устройство ТНВД рядного типа.
- штуцер напорной магистрали
- седло клапана
- пружина клапана
- корпус насосной секции
- нагнетательный клапан
- впускное и выпускное отверстия
- наклонная поверхность плунжера
- плунжер
- втулка
- рычаг управления плунжером
- возвратная плунжерная пружина
- пружина толкателя
- роликовый толкатель
- кулачок
- зубчатая рейка
Устройство ТНВД распределительного типа.

- шестерня привода регулятора подачи топлива
- входное отверствие топлива
- выходное отверстие топлива
- регулировочный винт
- электромагнитный запорный клапан
- распределительный блок
- штуцеры нагнетательных трубопроводов
- плунжер-распределитель
- кулачковая шайба
- ролик
- лопастной топливоподкачивающий насос
- фланец
Что из них лучше? — сказать сложно, так как у насосов и рядного, и распределительного типа есть свои неповторимые достоинства: рядный ТНВД за счет меньшей нагрузки на каждый плунжер имеет более длительный срок службы, зато система распределительного типа создает более равномерную подачу топлива.
Топливный насос высокого давления магистрального типа (фото).
Теперь перейдем к ТНВД магистрального типа. Данный тип топливного насоса, а точнее вся система подачи топлива еще иногда встречается под названием “Common Rail”. Главное отличие его от рассмотренных ранее видов в том, что топливо насосом под давлением здесь нагнетается не в камеру сгорания, а в топливную рампу (аккумулятор).
Оттуда топливо распределяется по цилиндрам. Момент впрыска при этом контролируется электромагнитной форсункой, которая открывается по команде бортового компьютера. Сам же ТНВД применяемый в такой системе может иметь одну и более плунжерную пару и приводиться в действие от коленчатого вала.
Устройство ТНВД магистрального типа.
- приводной кулачковый вал
- ролик
- плунжерная пружина
- плунжер
- штуцер напорной магистрали (к топливной рампе)
- выпускной клапан
- впускной клапан
- электромагнитный клапан дозирования топлива
- фильтр тонкой очистки топлива
- перепускной клапан
- штуцер обратного топливопровода
- штуцер впускного топливопровода
Завершая обзорное описание видов ТНВД можно еще отметить тот факт, что оба первых типа топливных насосов по своей сути чисто механические узлы. Их работа построена на применение механических законов и может работать вовсе без применения электронных узлов.
Система же с магистральным типом ТНВД относиться к более новому поколению, где во всем начинает властвовать электроника.
Ремонт и регулировка топливного насоса высокого давления.
Ремонт и регулировка топливной аппаратуры высокого давления — достаточно сложная задача, требующая как теоретической, так практической подготовки. Совсем мало автомобилистов пытается самостоятельно лезть в ее настройки и уж тем более ремонтировать. Чаще всего дизельными топливными насосами занимаются специализированные станции ремонта и диагностики, которые обеспечены необходимым оборудованием и квалифицированными кадрами.
Единственная задача, на которую можно отважиться самостоятельно, — регулировка оборотов холостого хода (ее описание довольно часто можно встретить в инструкции по эксплуатации автомобиля) – советую прочитать статью как отрегулировать холостой ход карбюратора ВАЗ 2107. Как правило, она подразумевает под собой подтяжку троса акселератора до достижения необходимых параметров.
Однако даже такая простая процедура не всегда доступна для обычных автолюбителей на двигателях с электронным управлением впрыска. Ведь здесь кроме самой механической регулировки чаще всего необходимо выполнять еще и электронную настройку системы, которую без специального оборудования не произведешь.
Ну, а в заключении хотелось бы отметить тот факт, что ТНВД — достаточно дорогая деталь двигателя, поломка которой очень часто достаточно сильно бьет по карману автовладельца.
Основными причинами, которые приводят к поломкам топливного насоса, можно назвать некачественное топливо и несоблюдение регламента проведения диагностики. Так что в качестве совета:
1. старайтесь заправляться только на проверенных автозаправочных станция;
2. как только пробег автомобиля потребует проведения обслуживания — не откладывая, загляните на станцию диагностики.
Видео
cab#version=6,0,40,0″>
Рекомендую прочитать:
ТНВД дизельного двигателя — устройство, принцип работы и ремонт
Подавляющее большинство современных автомобильных двигателей являются бензиновыми или дизельными. В первых рабочий цикл осуществляется при помощи воспламенения топливной смеси электрической искрой. Дизельный двигатель работает за счет сильного сжатия топлива и его последующего горения. Однако для этого необходимо подавать топливо в цилиндры через форсунки под большим давлением. Распределением топлива занимается специальный агрегат – топливный насос высокого давления (ТНВД) дизельного двигателя.
Содержание
Что такое ТНВД
При помощи этого устройства осуществляется подача топлива в камеры сгорания под давлением. Специальные устройства рассчитывают необходимое количество топлива в зависимости от нагрузки, температуры и оборотов двигателя. Пионером разработок топливных насосов для дизелей была фирма «Бош», которая и сейчас является лидером в этой отрасли мототехники. Аналогом такого насоса на бензиновых моторах является карбюратор либо топливная рампа с форсунками (если двигатель оснащен электронной системой впрыска).
Развитие конструкции насоса
С самого появления дизельных двигателей насос высокого давления выполнял главнейшую функцию, поэтому уже тогда, более ста лет назад, от его действия почти полностью зависела вся работа силового агрегата. Естественно, первые насосы были полностью механическими и оставались такими вплоть до 70х годов 20 века.
Чисто механический насос был сблокирован с двигателем и развивал рабочее давление при работе с ним, таким образом, обратная связь происходила через обороты двигателя, количество топлива при этом рассчитывалась автоматически.
Недостатком такой системы было неоптимальное соотношение воздуха и топлива на переходных режимах, а также на холостых оборотах (меньше обороты — ниже давление). Это приводило к более грязному выхлопу и перерасходу топлива.
Многие страны в то время ужесточили нормы по выбросу вредных веществ в выхлопных газах и системы с механической топливоподачей стали постепенно вытесняться электронными блоками управления с обратной связью по нескольким параметрам. Они позволили устранить нестабильную работу на холостом ходу из-за неравномерного сгорания топлива, а также снизили токсичность выхлопа. Естественно, топливные насосы высокого давления не ограничиваются какой-то одной конструкцией, а имеют множество модификаций, в зависимости от предназначения и условий эксплуатации. В настоящее время дизели распространены повсеместно, и при желании можно даже установить дизельный двигатель на ГАЗель и многие другие отечественные автомобили.
Различные виды ТНВД
В настоящее время различают три основных типа ТНВД:
- распределительный
- рядный
- магистральный
Рядный насос
Он называется так потому, что в нем плунжерные пары расположены попарно-параллельно, в два ряда.
Каждая пара обслуживает один цилиндр. Плунжер приводится в движение специальным кулачковым валом. Двигаясь вверх или вниз, плунжер открывает или закрывает впускные и выпускные отверстия, при этом открывается и закрывается нагнетательный клапан, который пропускает топливо к определенной форсунке для впрыска в цилиндр.
Для корректировки количества топлива и его согласованием с текущей нагрузкой имеются корректирующие устройства, механические либо электронные. В первом случае это происходит при помощи специальной центробежной муфты на кулачковом валу. Благодаря ей при увеличении оборотов происходит смещение кулачкового вала относительно входного и впрыск топлива происходит раньше и наоборот, при снижении оборотов происходит запаздывание. Электронные системы представлены специальными электромагнитными клапанами. К самому агрегату солярка подается при помощи топливоподкачивающего насоса.
Такие насосы относительно просты и непривередливы к качеству топлива. Самым серьезным их недостатком является громоздкость, поэтому они применяются только на больших грузовиках и тракторах.
Распределительный ТНВД
Такой насос имеет одну или две плунжерную пару, в зависимости от объема двигателя и количества цилиндров.
Как понятно из названия, такое устройство распределяет топливо между цилиндрами. Существуют различные типы таких насосов в зависимости от привода, однако суть их работы одинакова: плунжер, двигаясь возвратно-поступательно (а в некоторых конструкциях – и вращаясь), открывает и закрывает все те же отверстия и нагнетательные клапаны, разводя топливо по цилиндрам к распылителям. Практически все насосы фирмы Bosch имеют именно такую конструкцию, которая устанавливается исключительно на легковые движки.
Достоинством такой конструкции является более равномерная подача топлива, а также компактность и меньший вес. Недостаток распределительных насосов – в их большей сложности и, как следствие, сниженном ресурсе.
Магистральный топливный насос
Такой агрегат применяется в особой системе подачи топлива в дизельных двигателях, где оно перед подачей к форсункам накапливается вначале в специальной рампе.
Эти насосы могут иметь от одного до трех плунжеров, которые приводятся в движение кулачковой шайбой или валом.
При движении плунжера внутри втулки он создает разрежение, открывающее впускной клапан и засасывающее топливо в камеру, а при возвратном ходе (поднятии) плунжера давление, наоборот, повышается и открывается выпускной клапан, через который горючее нагнетается в топливную рампу. В таком насосе управление количеством топлива за один рабочий цикл плунжера производится посредством дозирующего электрического топливного клапана, (самый простой аналог – система принудительного холостого хода на карбюраторах).
Насосы такого типа устанавливаются в основном на большие и мощные дизельные двигатели, так как реализуют большое давление, необходимое для достижения большей мощности при невысоких рабочих оборотах.
Из чего состоит насос
На примере распределительного насоса можно рассмотреть его устройство. Он состоит из корпуса, в котором расположены плунжерные пары, обслуживающие несколько форсунок, а также редукционный клапан, дренажный штуцер для слива топлива.
Дополнительно на нем установлены элементы подкачивающего устройства, насос низкого давления для подачи горючего к впускным клапанам, устройство для регулировки опережения впрыска, вспомогательные приводы.
Возможные неисправности
Как уже стало понятно, топливный насос на дизелях – одно из самых сложных и ответственных устройств двигателя. Плунжерная пара, являющаяся, по сути, сердцем агрегата, является высокоточной деталью, при малейшем износе которой сразу появляются признаки некачественной работы – повышенный шум, перерасход топлива, вибрации и неустойчивая работа на всех режимах. Самой главной и основной причиной износа является некачественное топливо.
Сама по себе солярка уже является продуктом первичной перегонки нефти, поэтому по определению по своим качествам хуже любого бензина, однако к ее очистке предъявляются очень высокие требования, но, к сожалению, не всегда и не везде. Поэтому именно грязь и тяжелые частицы в топливе, а также вода являются самой частой причиной выхода ТНВД из строя.
Еще одной причиной неисправностей может быть старое масло для дизельного двигателя. К сожалению, сложность современных насосов такова, что отремонтировать его самостоятельно почти невозможно.
Ремонт ТНВД
Любому ремонту https://diesel-remont78.ru/renault/service-renault предшествует диагностика ТНВД. Ее лучше всего проводить в техцентрах, специализирующихся именно на ремонте топливного насоса высокого давления дизельного двигателя. Однако некоторые элементы диагностирования неисправностей можно провести своими руками. Вообще, следует учесть, что, вследствие более сложного устройства системы питания, на дизельном двигателе может быть больше причин неправильной работы мотора. Плавающие обороты в процессе прогрева мотора почти всегда указывают на износ плунжерной пары. Износ насосфорсунок на грузовиках также может вызвать перерасход топлива и черный выхлоп. Еще одной причиной неустойчивой работы двигателя может быть неисправность или износ электронасоса, а также перегрев двигателя вследствие недостаточной производительности водяной помпы в системе охлаждения.
Таким образом, ремонт ТНВД крайне желательно проводить на станциях техобслуживания, а диагностику, обслуживание и замену изношенных деталей при наличии необходимых знаний и опыта можно провести и самостоятельно.
INLI … — Машиностроение и автомобилестроение Книги и новости
INLINE VS DISTRIBUTOR INJECTION PUMP
Впрыскивающий насос является основным компонентом топливной системы дизельного двигателя, и в топливной системе дизельного двигателя имеется множество компонентов. Устройство, перекачивающее топливо. (дизельное топливо) и впрыскивает его в камеру сгорания двигателя с очень высоким давлением и действительно точной синхронизацией количества. На производительность дизельного двигателя сильно влияет система впрыска. Обычно ТНВД приводится в действие косвенно от коленчатого вала с помощью шестерен, цепей или зубчатых ремней (часто называемых зубчатым ремнем), которые также приводят в действие распределительный вал ТНВД.
В обычном четырехтактном дизельном двигателе он вращается с половинной частотой вращения коленчатого вала. его синхронизация такова, что топливо впрыскивается лишь очень немного до верхней мертвой точки (верхней мертвой точки) такта сжатия цилиндра.
бывает двух типов, таких как линейный и распределительный. Независимо от того, какой это продукт, самая важная его часть — это насос. В линейном ТНВД используется линейная конструкция с расположением плунжеров, что означает, что каждый цилиндр двигателя обслуживается одним плунжером, поэтому этот тип широко используется в двигателях большой мощности или тяжелых транспортных средствах, таких как автобусы и грузовики.Тип распределителя использует роторную систему, один плунжер работает для впрыска топлива во все цилиндры двигателя. Этот тип обычно используется в легких и средних двигателях / транспортных средствах.
1. Впрыскивающий насос линейного типа
A. Перекачка топлива
На изображении выше изображен распределительный вал, он приводится в движение двигателем через шестерню таймера, которая соединена с коленчатым валом.
Распределительный вал вращается с той же скоростью, что и частота вращения распределительного вала двигателя, частота вращения распределительного вала составляет половину частоты вращения коленчатого вала.
Тогда есть толкатели с роликами, которые сидят на кулачках.Количество толкателей равно количеству цилиндров двигателя. Он толкает плунжер, отвечающий за перекачку топлива в камеру сгорания. Над каждым толкателем возвратные пружины плунжера устанавливаются на плунжеры для возврата в нижнюю мертвую точку (нижнюю мертвую точку) после каждого хода.
Плунжерный узел в сборе состоит из плунжера, цилиндра, ведущей поверхности, загрузочного отверстия и управляющей канавки (спирали). Плунжер направляется внутрь цилиндра, где топливо находится под давлением, плунжер имеет вертикальную канавку и спиральную канавку, которые помогают изменять количество топлива. Приводная поверхность приводится в действие управляющей муфтой для регулирования количества топлива, подаваемого в блок форсунки.
Прежде чем топливо, которое под высоким давлением перекачивается плунжером, попадает в форсунку (форсунку), оно сначала проходит через нагнетательный клапан. Клапан нагнетания служит для поддержания постоянного давления топлива в шланге для впрыска топлива. Это может произойти из-за того, что пружина клапана в держателе нагнетательного клапана подтолкнула предохранительный клапан, когда плунжер прекращает работу.
B. Регулировка количества топлива
Было объяснено, что поршень может регулировать впрыскиваемое топливо с помощью работы управляющей втулки.Как можно перемещать контрольную втулку?
На переднем конце распределительного вала ТНВД находится шестерня таймера, которая является первичным приводом компонентов ТНВД. На другом конце есть устройство, называемое Губернатором, которое служит для регулировки оборотов двигателя в соответствии с нагрузкой на машину.
Регулятор работает вслед за вращением, которое происходит на машине (через распределительный вал), если вращение двигателя слишком медленное, говернор автоматически толкает управляющую рейку вперед, это заставляет плунжер подавать больше топлива в камеру сгорания.
И если частота вращения двигателя слишком высокая, регулятор автоматически отодвинет рейку управления назад, так что распределение топлива станет меньше.
Регулятор толкает стойку управления, и, наконец, стойка управления перемещает плунжер за муфту управления, которая соединяет обе стойки.
2. Топливный насос распределительного типа
A. Перекачка топлива
Распределительный вал (приводной вал) вращается Кулачковый диск (Camdisk), имеющий специальную канавку / форму на дне Кулачковый диск сидит на ролике таймера, поэтому он может двигаться назад и вперед при вращении.Вращающийся кулачок перемещает плунжер, чтобы перекачивать и распределять топливо по всем цилиндрам по очереди.
Внутри цилиндра плунжера (в комплекте с плунжером, этот комплект называется головкой ротора) имеется несколько отверстий с таким же количеством цилиндров станка. Эти отверстия служат магистралями распределения топлива, на концах отверстий находятся нагнетательные клапаны, закрепленные в держателях.
B. Регулировка количества топлива
Количество топлива, впрыскиваемое плунжером, регулируется регулирующей муфтой (управляющим золотником), которая приводится в действие узлом рычага регулятора.Во избежание обгона машины скользящая втулка на узле противовеса будет толкать регулятор, чтобы уменьшить распределение топлива, когда двигатель вращается на высокой скорости.
В рабочей системе регулятора есть несколько частей:
* Узел противовеса
* Скользящая втулка
* Натяжной рычаг
* Пусковой рычаг
* Управляющая втулка (управляющий золотник)
* Пусковая пружина
* Пружина регулятора
* Пружина холостого хода
* Стопорный штифт
Советы по мониторингу и обслуживанию систем впрыска дизельного топлива
Если вы занимаетесь управлением автопарком или строительной отраслью, у вас, несомненно, есть машины, работающие на дизельном топливе.Помимо больших грузовиков, более 75% всей тяжелой строительной техники используют дизельное топливо.
Он отличается топливной экономичностью, надежностью, мощностью, производительностью и меньшими выбросами углерода, чем бензин.
Когда дело доходит до поддержания этих машин в рабочем состоянии, вы можете сэкономить время и деньги, научившись правильно обслуживать системы впрыска дизельного топлива. Знание проблем, за которыми следует следить, и способов их решения может помочь вам избежать простоев машин и отказов дорогостоящего оборудования.
Как работают форсунки дизельного топлива?
Форсунки дизельного топлива создают давление в дизельном топливе и прокачивают его через фиксированное или управляемое электроникой отверстие (отверстие).Это подает топливо к двигателю в виде мелкого тумана или брызг, что облегчает воспламенение, чем тяжелый сплошной поток. Туман также горит более эффективно и равномерно.
Когда системы впрыска топлива не обслуживаются должным образом, процесс неэффективен и может даже привести к полной поломке двигателя. Наиболее распространенные проблемы, которые негативно влияют на системы впрыска дизельного топлива, включают засорение / грязь топливных форсунок и воду или воздух в системе впрыска топлива.
Перед проверкой или решением этих проблем следует принять меры безопасности, чтобы избежать травм.
Читать далее: Является ли впрыск топлива самой чувствительной системой дизельного двигателя?
Сбросьте давление в системе впрыска дизельного топлива перед техническим обслуживанием.
Осторожность при работе с дизельной системой имеет первостепенное значение. Поскольку во время работы дизельное топливо находится под высоким давлением, крайне важно дать двигателю полностью остыть и сбросить давление в системе впрыска топлива перед выполнением любого вида обслуживания. Это защитит вас от опасных брызг топлива при снятии топливного фильтра.
Чтобы сбросить давление в системе впрыска топлива:
- Выключите двигатель. Перед началом работы всегда выключайте двигатель и дайте ему полностью остыть.
- Ослабьте крышку топливного фильтра. Слегка ослабьте крышку топливного фильтра, не снимая ее полностью — при откручивании крышки вы услышите шипение.
- Найдите и ослабьте фитинги на топливопроводах. Обратитесь к руководству пользователя, чтобы определить, где находятся ваши топливопроводы.В некоторых автомобилях они устанавливаются на направляющей рамы ходовой части, а в других — в моторном отсеке. Как только вы найдете топливные магистрали и фитинги, поверните развальцовочный ключ против часовой стрелки, чтобы ослабить (но не снимать) фитинги.
- Подождите, пока не спадет давление. Подождите несколько минут, пока давление не спадет. Во время ожидания уберите все разливы.
- Снимите топливопроводы при замене фильтров. Если вы заменяете топливные фильтры, полностью снимите топливопроводы.Если вы выполняете другую работу, просто оставьте их ослабленными до завершения технического обслуживания.
Признаки засорения или загрязнения топливных форсунок
Поскольку дизельное топливо более вязкое, чем газ, оно легче удерживает грязь и мусор во взвешенном состоянии.
Вот почему необходимо принимать все возможные меры для поддержания чистоты ваших инжекторных систем и самого топлива. Если топливные форсунки двигателя забиты или загрязнены, дизельное топливо может просто вытекать, а не распылять сильный мелкий туман.Это может привести к пропуску или полной остановке двигателей.
Признаки засорения или загрязнения топливной форсунки:
- Неровная работа на холостом ходу
- Жесткий запуск
- Колебание дроссельной заслонки
- Уменьшение расхода топлива
- Низкая производительность двигателя / машины
- Черный дым из выпускного коллектора
- Звонок (официально именуемый преждевременным зажиганием)
Также важно отметить, что треснувшие или сломанные топливные форсунки или детали системы впрыска могут вызывать те же проблемы, что и засоренные или грязные.Регулярное обслуживание и ремонт имеют первостепенное значение для обеспечения безопасной и эффективной работы вашего дизельного двигателя.
Советы по поддержанию чистоты систем впрыска топлива включают:
- Регулярно меняйте масло
- Заменяйте фильтры
- Рассмотрите возможность использования высококачественных присадок, направленных на защиту деталей и поддержание их чистоты (обратитесь к руководству или производителю за рекомендованными присадками для ваша машина).
Модели автомобилей и машин различаются.Перед выполнением работ вам следует проконсультироваться с руководством пользователя или изготовителем, но несколько основных шагов по замене фильтров дизельного топлива включают:
- Сбросьте давление в системе, как описано выше.
- Используйте руководство пользователя, чтобы найти топливный фильтр (обычно на задней стороне двигателя).
- Найдите датчики, прикрепленные к нижней части топливного фильтра, и снимите заглушки проводов датчиков.
- Слейте излишки дизельного топлива, поместив поддон под топливный фильтр и открыв сливной кран.
- Откройте крышку емкости для топливного фильтра и с помощью инструмента для топливного фильтра открутите топливный фильтр — обязательно проверьте уплотнительное кольцо и поднимите емкость прямо, не наклоняя (при этом в поддон будет стекать больше топлива. шаг).
- Смажьте новый фильтр дизельным топливом, а затем поместите в емкость топливного фильтра — смажьте уплотнительное кольцо перед установкой на новый фильтр.
- Установите фильтр на место и закройте сливные клапаны — с помощью инструмента для топливного фильтра затяните винты.
- Вставьте заглушки проводов обратно в датчики и выполните процедуры удаления воздуха, как описано в руководстве пользователя.
- По окончании работы включите двигатель и проверьте, нет ли утечек.
Признаки наличия воды в системе впрыска топлива
Вода в топливной системе может вызвать отказ двигателя или его полную остановку. Многие современные топливные фильтры автоматически забиваются при попадании воды и немедленно прекращают подачу топлива.
Любая вода, которая попадает в бак при заправке или образуется в результате конденсации, скорее всего, осядет на дно бака, и ее следует сливать каждый день в соответствии с руководством по эксплуатации машины.
Признаки того, что в вашей системе впрыска топлива может быть вода, могут включать:
- Индикаторы давления, показывающие разную степень давления
- Двигатель отсутствует или полностью останавливается
- Топливо выглядит темным и липким — это связано с водой смешивание с дизельным топливом и вызывает образование микробов
- Низкая производительность
- Неустойчивая работа на холостом ходу
Рекомендации по предотвращению попадания воды в систему впрыска дизельного топлива:
Вода тяжелее дизельного топлива и при ее наличии оседает на дно. Вы также можете найти тонкую темную линию между водой и топливом. Это указывает на развитие микроорганизмов и необходимо добавить биоцид. Читать далее: Вода в дизельном топливе может вызвать хаос в двигателях
Системы прямого впрыска высокого давления возвращают горячее топливо к танку.Хотя в большинстве систем есть охладители топлива для уменьшения нагрева, баки все еще имеют температуру выше окружающей среды и будут удерживать больше влаги, чем окружающий воздух, создавая горячую и влажную среду в топливном баке.
Когда баки оставляют охлаждаться на ночь, влага конденсируется, попадая в топливо. Если вы наполняете бак в конце каждой смены, это будет выталкивать как можно больше влажного воздуха и ограничивать возможность попадания воды в систему.
Если ваше топливо находится в контейнере для хранения дизельного топлива, контейнер должен иметь водоотделители с топливными кранами на дне.Многие из них прозрачные, поэтому вы можете видеть, когда вода полностью слита.
Чтобы удалить воду из самого топливного бака, вы можете откачать воду снизу, используя удлинительный шланг, прикрепленный к трюмному насосу.
В соответствии с инструкциями по эксплуатации добавьте в топливо биоцид, чтобы избавиться от любых микроорганизмов.
Признаки наличия воздуха в системе впрыска топлива
Если вы когда-либо случайно допускали, что в вашей дизельной машине закончилось топливо, вы знаете, что это может вызвать затруднения при запуске.Это связано с тем, что слишком много воздуха в вашей системе будет препятствовать нормальному течению топлива и не позволит топливным насосам подбирать и проталкивать дизельное топливо через систему трубопроводов. Вам следует ознакомиться с руководством по техническому обслуживанию, чтобы узнать, как правильно «стравить» воздух из вашей топливной системы.
Самый распространенный способ избежать этой проблемы — не допустить, чтобы в вашей машине кончалось топливо. Чтобы удалить воздух из системы впрыска топлива, выполните следующие действия:
- Следуйте всем инструкциям, приведенным выше и в руководстве пользователя, чтобы дать двигателю остыть и сбросить давление.
- Залейте в бак достаточно дизельного топлива, чтобы уровень заправки превышал уровень топливного фильтра.
- Ослабьте болт на верхней части канистры топливного фильтра, чтобы топливо могло выталкивать воздух вверх и наружу.
- Когда весь воздух будет выпущен, снова затяните болт.
- Выпустите воздух из топливного насоса высокого давления, проворачивая двигатель, не запуская нагнетания давления, и с помощью гаечного ключа на гайке форсунки поверните и дайте воздуху выйти и закрываться с шипением. Это нужно делать на всех форсунках.
Советы по техническому обслуживанию системы впрыска дизельного топлива
Системы впрыска дизельного топлива следует чистить и обслуживать не реже, чем каждые 36 месяцев или 45 000 миль — или чаще для тяжелых машин (таких как грузовики дальнего следования).
Проконсультируйтесь с производителем двигателя относительно правильных сроков и периодичности технического обслуживания вашей машины, транспортного средства или парка.
В дополнение к перечисленным выше советам, несколько основных рекомендаций по регулярному техническому обслуживанию системы впрыска топлива включают:
- Перед работой соблюдайте правила техники безопасности.
- Заменяйте масло через рекомендуемые интервалы.
- Меняйте топливные фильтры каждые 10 000–25 000 миль.
- Используйте влажную губку или что-то подобное, чтобы протереть моторный отсек.
- Используйте старую зубную щетку, чтобы очистить укромные уголки и щели системы форсунок дизельного топлива.
- Используйте специальные обезжиривающие средства для безопасного растворения любых загрязнений на двигателе или компонентах системы (перед использованием любых продуктов обратитесь к руководству пользователя).
На рынке есть несколько чистящих средств для впрыска топлива, которые предназначены для пропуска через вашу систему, но вам следует поговорить со своим производителем, прежде чем что-либо добавлять в двигатель.
Машины с дизельным двигателем дороги и имеют решающее значение для бизнеса, поэтому важно обеспечить внимательное и квалифицированное обслуживание вашего двигателя.Лучше всего отнести его к проверенному опытному технику для регулярного обслуживания.
Качество дизельного топлива
Наконец, качество дизельного топлива, которое вы используете в своей машине, имеет первостепенное значение для ее производительности. Низкокачественное дизельное топливо может привести к более высоким выбросам, износу топливных систем и снижению производительности двигателя. Высококачественное дизельное топливо содержит меньше серы и обеспечивает оптимальную смазывающую способность. Проконсультируйтесь с вашим производителем, чтобы определить наиболее рекомендуемое дизельное топливо для вашего оборудования.
Многие новые технологии в двигателях требуют использования масел с более низкой вязкостью. Эти передовые масла с низкой вязкостью обеспечивают более высокую топливную экономичность, особенно в новых автомобилях.
Например, Phillips 66 и Exxon Mobile недавно представили полностью синтетические масла CK-4 и FA-4 в своих моделях.
CK-4 может использоваться для современных и старых двигателей и обратно совместим со многими более старыми типами масел. Он предлагает превосходную защиту от износа и окисления по сравнению с CJ-4, рассчитан на использование на шоссе и бездорожье и доступен с классами вязкости SAE 15W-40, 10W-40 и 10W-30.Выпускаются еще более легкие марки вязкости.
FA-4 предназначен для выдерживания более высоких температур и давлений масла в двигателях, выпущенных после 2016 года. Хотя он не имеет обратной совместимости из-за более низкой вязкости HTHS, он должен пройти те же испытания, что и жидкости CK-4.
| Резервуар пуст или вентиляционное отверстие резервуара заблокировано | Заполнение бака / система удаления воздуха, вентиляция обратного бачка | ||||||||||||
| Воздух в топливной системе | Прокачать топливную систему, устранить утечки воздуха | ||||||||||||
| Неисправно запорно-пусковое устройство | Отремонтировать или заменить | ||||||||||||
| Забит топливный фильтр | Заменить топливный фильтр | ||||||||||||
| Линии нагнетания заблокированы / ограничены | Сверло до номинала I. D. или заменить | ||||||||||||
| Линии подачи топлива заблокированы / ограничены | Проверить все топливопроводы — промыть или заменить | ||||||||||||
| Ослабленные соединения, утечки или поломки в линиях впрыска | Затянуть соединение, устранить негерметичность | ||||||||||||
| Отложение парафина в топливном фильтре | Заменить фильтр, использовать зимнее топливо | ||||||||||||
| Неправильная синхронизация между насосом и двигателем | Отрегулировать синхронизацию | ||||||||||||
| Форсунка неисправна | Отремонтировать или заменить | ||||||||||||
| Забит воздушный фильтр двигателя | Заменить фильтрующий элемент воздушного фильтра | ||||||||||||
| Неисправна система предварительного подогрева | Проверить свечи накаливания, при необходимости заменить | ||||||||||||
| Последовательность впрыска не соответствует порядку зажигания | Установите трубопроводы впрыска топлива в правильном порядке | ||||||||||||
| Низкая холостой ход неправильно отрегулирован | Отрегулировать упорный винт холостого хода | ||||||||||||
| Неправильно отрегулирована максимальная скорость | Отрегулировать винт максимальной скорости вращения | ||||||||||||
| Неисправен или заблокирован перепускной клапан | Очистите диафрагму или замените фитинг | ||||||||||||
| Негерметичность нагнетательного клапана | Заменить нагнетательный клапан ( макс. 1 на 4 цил., 2 на 6 цил. ) | ||||||||||||
| Неправильно отрегулирована пружина бампера (регуляторы RS …) | Отрегулировать пружину бампера | ||||||||||||
| Неисправен механизм ГРМ | Отремонтировать или заменить ГРМ | ||||||||||||
| Низкая или неравномерная компрессия двигателя | При необходимости отремонтировать | ||||||||||||
| Регулятор неправильно отрегулирован или неисправен | Отрегулировать или отремонтировать | ||||||||||||
| ТНВД неисправен или не регулируется | Снять насос и обслуживание |
Инжекторный насос для строительной и тяжелой техники
VolvoSpecial очень популярен в нашей стране, поэтому в ассортименте нашего сайта есть широкий выбор аксессуаров этой марки.Полный список техники Volvo, для которой мы предлагаем насос-форсунку, можно найти ниже.
Насос-форсунка для спецтехники Volvo
|
В отношении двигателей требования к строительной технике Volvo постоянно растут.В частности, это касается экономии на топливе, мощности и экологичности. Чтобы соответствовать всем трем показателям одновременно, необходима качественная система смешивания. Используемые в этой современной системе впрыска — они не только обеспечивают наименьшее количество пылевидного топлива (из-за высокого давления впрыска), но также контролируют количество впрыска топлива и количество шагов.
Система, удовлетворяющая таким высоким требованиям — насос-форсунка Volvo.
Что касается истории, то идея существует и успешно применяется на практике уже более десяти лет.Он был разработан столетие назад — идея объединения в один блок топливного насоса и топливной форсунки, чтобы можно было отказаться от трубопровода высокого давления и увеличить давление впрыска. В то время одних и тех же технических возможностей, знаний и навыков недостаточно для воплощения идеи в жизнь, так как сегодня, как мы знаем, идея воплощается в жизнь. Сопло насоса выполняет такие функции, как создание высокого давления, необходимого для времени впрыска топлива для впрыска определенного количества указанного топлива.
Количество насос-форсунок рассчитывается в зависимости от количества цилиндров, т.е. каждый цилиндр двигателя соответствует одной форсунке. При необходимости ремонта оборудования топливной системы, диагностики неисправности в гарантийный период, гарантийного срока наши специалисты помогут вам, проверит компоненты топливной системы и устранят все неисправности форсунок Volvo, Hitachi и других иномарок автомобилей.
Наша компания предлагает широкий ассортимент насосов-форсунок для техники всех известных марок.В нашем каталоге вы можете найти запчасти для большого количества моделей техники.
Насос-форсунка на спецтехнику CAT
|
Насос-форсунка SAT (или другое — форсунка) — это устройство для дозирования топлива и его распыления в последующую камеру сгорания.Это необходимо для образования топливно-воздушной смеси, необходимой для дизельных двигателей.
Устройство одинаково эффективно используется в обоих типах двигателей: бензиновых или дизельных. Современные двигатели имеют инжектор с фиксированной схемой впрыска, в котором все параметры впрыска (предварительный, первичный и вторичный) регулируются электронным способом.
Форсунки бывают трех видов, различаются способом впрыска. Электрогидравлический, пьезоэлектрический и электромагнитный.
Первый тип — электроинжектор, устанавливается на дизельный двигатель Caterpillar.
Конструктивно устройство и состоит из таких элементов: камеры управления электромагнитным клапаном, впускного и выпускного дросселей.
Второй тип — пьезоэлектрический инжектор. Это безусловно — самая совершенная техника, обеспечивающая впрыск топлива. Он установлен на дизельном двигателе, оборудованном системой впрыска топлива Common Rail.
ФорсункаPlus — отличная скорость срабатывания (в 4 раза быстрее, чем у электромагнитного клапана) и точный расчет (дозировка впрыска).Таким образом, существует возможность многократного впрыска топлива в одном цикле.
Такие показатели могут быть связаны с тем, что вы используете пьезоэффект в управлении устройством — под действием напряжения изменяется длина пьезокристалла.
Конструктивно форсунки CAT состоят из: толкателя, пьезоэлемента и иглы переключающего клапана (помещенной в последнем корпусе).
Третий тип — электромагнитный инжектор. Применяется в бензиновых двигателях с системой впрыска топлива.В устройстве особая сила.
Запчасти JCB очень востребованы в Украине, относясь к широко распространенным экскаваторам-погрузчикам этой марки. Поэтому всегда можно найти полный перечень запчастей, в частности на модели 3CX и 4CX.
Вы также можете посетить наш специальный сайт, где найдете полный каталог доступных запчастей JCB.
Насос-форсунка на спецтехнику JCB
|
дизельные форсунки JCB (форсунка JCB) Как работать? Прежде всего, необходимо указать составные элементы устройства: плунжерный стопорный поршневой регулирующий клапан, игольчатый обратный клапан и небулайзер.
Плунжер создает давление внутри клапана. Его поступательное движение обусловлено вращением кулачков распредвала, а возвратное — пружинным плунжером.
Управляет клапаном впрыска топлива. В зависимости от типа он бывает двух типов: электромагнитный и пьезоэлектрический. Второе в современных машинах используется чаще, так как дает большую эффективность (производительность).
Посадку иглы на седло распределителя обеспечивает пружина. Его сила при необходимости поддерживается давлением топлива.Действие стало возможным благодаря запорному поршню и обратному клапану. Сам по себе прямой впрыск топлива в камеру сгорания происходит при помощи иглы.
Управление всем процессом работы насос-форсунок от начала до конца происходит в системе управления двигателем Cummins. Клапан насос-форсунка управляется блоком управления по сигналам датчиков.
При необходимости отладки насоса-форсунки вы можете обратиться к нашим специалистам, они проведут полную диагностику оборудования, начиная от проверки компонентов топливной аппаратуры и заканчивая точной отладкой впрыска топлива по заданным параметрам. по гарантии, постгарантии и тд.d. Мы предлагаем Вам лучшие решения для тяжелой строительной техники, сельскохозяйственного и промышленного оборудования и др. Форсунки JCB, Hitachi, Volvo и других популярных марок способны работать даже в самых тяжелых условиях, мы не забываем о своевременном техническом лужении.
Функции ТНВД
Топливный насос высокого давления — это механическое устройство, которое подает топливо в цилиндры автомобильных двигателей. Он работает как сердце дизельного двигателя и поддерживает его ритм, обеспечивая его бесперебойную работу в течение многих лет.Кроме того, он также отвечает за управление потоком топлива для получения желаемой мощности. Топливный насос впрыска традиционно приводится в действие косвенно от коленчатого вала с помощью шестерен, ремней и цепей, всего, что приводит в движение распределительные валы.
Это очень важно для дизельных двигателей. Сжимая и впрыскивая топливо, он выбрасывает топливо в воздух, который сжимается до высокого давления в камере сгорания. Он выполняет четыре основные функции:
- Основная задача ТНВД — подача топлива.Он сжимает топливо до высокого давления, когда кулачок поднимает плунжер, а затем отправляет его в инжектор.
- Регулирует количество топлива. Если количество впрыскиваемого топлива изменяется в зависимости от оборотов двигателя и время остается прежним, результат и рассеяние топлива изменятся. Поскольку мощность двигателя пропорциональна количеству впрыскиваемого топлива, она регулируется с помощью акселератора.
- Еще одна важная функция — регулировка момента впрыска. Он управляет синхронизацией с момента впрыска, воспламенения и сгорания топлива при достижении максимального давления сгорания.
- Наконец, он распыляет топливо для улучшения воспламенения, что приводит к полному сгоранию.
Эти насосы, часто называемые толчковыми насосами, состоят из отдельных насосов с плунжерными узлами, подключенными в линию, по одному на цилиндр. Такие типы топливных насосов активируются через кулачок, механически связанный с двигателем, и выглядят очень похоже на мини-рядные двигатели.
Распределительные ТНВДЭти типы ТНВД имеют один дозатор топлива. В этих насосах вращающийся ротор обеспечивает гидравлическое соединение с различными портами на головке распределителя. Из-за того, что у него один плунжер и все заправки одинаковы, они имеют меньший общий размер. Кроме того, распределительные насосы имеют меньше движущихся частей по сравнению с линейными инжекционными насосами.
ТНВД Common RailВ системе впрыска Common Rail именно его власть решает, когда и в каком количестве будет подаваться топливо под давлением.Это система прямого впрыска топлива для дизельных и бензиновых двигателей.
Электрические насосыСовременные автомобили оснащены электрическими топливными насосами, расположенными внутри топливного бака. Он создает положительное давление в топливных магистралях и подталкивает топливо к двигателю. Автомобили с электронасосами имеют электронный блок управления (ЭБУ) и запрограммированы логикой безопасности, которая его отключит.
История впрыска топливаТермин «впрыск топлива» не является новой технологией и используется с самого начала автомобильной промышленности.Но из-за ненадежности и дороговизны он стал массовым в 1980-х годах. Со временем современная система управления двигателем сочетает в себе все функции, включая синхронизацию, зажигание, подачу топлива и охлаждение, с помощью компьютерной технологии, которая позволяет двигателю развивать максимальную мощность при минимальном расходе топлива. Именно благодаря системе впрыска топлива вы можете мгновенно запустить двигатель в холодные дни. Без него мы бы все равно включали дроссельную заслонку и прогревали двигатели на несколько минут и выводили бы больше дыма и загрязнений.
Что важно знать при покупке ТНВДВы все, должно быть, осознавали важность ТНВД, но теперь возникает вопрос: «Как выбрать ТНВД для борьбы с ТНВД?» Крайне важно найти правильный насос для вашего автомобиля, чтобы он работал бесперебойно на долгие годы. Не забудьте выбрать насосы, которые идеально подходят вашему автомобилю. Если давление и расход топлива низкие, могут возникнуть проблемы, связанные с производительностью и выбросами.Есть производители, которые производят насосы, которые совместимы с различными моделями и размерами и работают в любых условиях движения.
Заключительные словаЗная функции и важность топливных насосов высокого давления, не будет ошибкой сказать, что они определяют рабочие характеристики автомобиля. Вы можете просмотреть большой каталог топливных насосов высокого давления, чтобы сделать покупку в Интернете. Более того, вы можете сравнить цены на ТНВД в Индии, предлагаемые несколькими производителями.Стоимость топливного насоса высокого давления зависит от того, ищете ли вы насосы OEM или послепродажные.
Подробнее на https://boodmo.com/
Система управления моментом впрыска топлива ТНВД для дизельных двигателей
Содержание заявки № TOKUGANHEI 9-18065, поданной 31 января 1997 г. в Японии, включено сюда посредством ссылки.
Уровень техники
1. Область изобретения
Настоящее изобретение относится к системе управления моментом впрыска топлива топливного насоса высокого давления для дизельных двигателей.
2. Описание предшествующего уровня техники
В традиционных топливных насосах распределительного типа, предназначенных для использования в дизельных двигателях, в топливном насосе высокого давления используется поршень управления синхронизацией впрыска топлива, часто называемый «поршнем таймера», служащим в качестве топлива. элемент управления моментом впрыска, так что момент впрыска топлива можно регулировать в зависимости от осевого скользящего движения или осевого положения) поршня таймера. Один конец поршня таймера взаимодействует с цилиндрической поршневой камерой корпуса насоса, образуя камеру высокого давления, которая сообщается с выпускным отверстием нагнетания насоса (т.е.например, насосная камера топливоподкачивающего насоса) через отверстие (точнее, отверстие ограничения потока), тогда как другой конец поршня таймера взаимодействует с цилиндрической поршневой камерой корпуса насоса, образуя камеру низкого давления который сообщается с впускным отверстием насоса (то есть с всасывающей камерой топливоподкачивающего насоса). Между камерами высокого и низкого давления предусмотрен коммуникационный канал для сообщения между ними. Электромагнитный клапан (а именно электромагнитный электромагнитный клапан) также предусмотрен в коммуникационном канале для открытия и закрытия коммуникационного канала при желаемом рабочем цикле.То есть открытие и закрытие электромагнитного электромагнитного клапана контролируется или регулируется посредством так называемого управления рабочим циклом (точнее, модулированного управления рабочим циклом) электромагнитного электромагнитного клапана или управления временем включения и выключения. электромагнитного клапана, тем самым контролируя или регулируя количество топлива, протекающего из камеры высокого давления в камеру низкого давления, в зависимости от желаемого значения рабочего цикла. Таким образом, давление в камере высокого давления можно регулировать (другими словами, перепад давления между камерами высокого и низкого давления топливоподкачивающего насоса) в зависимости от рабочего цикла электромагнитного клапана.Следовательно, осевое положение поршня таймера регулируется путем уравновешивания регулируемого перепада давления между камерами высокого и низкого давления со смещением пружины возвратной пружины, которая функционально расположена в ранее отмеченной цилиндрической поршневой камере, чтобы воздействовать на один конец поршня таймера. В обычной системе впрыска топлива дизельного двигателя поршень таймера механически связан с плунжером насоса для регулировки осевого положения плунжера насоса в соответствии с осевым положением поршня таймера и, следовательно, для регулировки момента впрыска топлива.Кроме того, обычная электронная система впрыска топлива устанавливает целевую синхронизацию впрыска топлива, обычно основанную на рабочих условиях двигателя / транспортного средства, таких как нагрузка на двигатель и скорость. Например, в предварительной публикации японского патента № 7-127552 раскрыто устройство определения момента впрыска топлива для дизельных двигателей. В предварительной публикации японского патента № 7-127552 описывается определение фактического момента впрыска топлива с помощью датчика подъема иглы форсунки форсунки (просто датчик подъема форсунки), а также установка или определение рабочего цикла (или коэффициента заполнения). упомянутого ранее электромагнитного электромагнитного клапана, связанного с поршнем таймера, путем сравнения расчетной целевой синхронизации впрыска топлива с фактической синхронизацией впрыска топлива, обнаруженной датчиком подъема форсунки, и, таким образом, обратной связи, управляющей синхронизацией впрыска топлива с помощью определенного сигнал рабочего цикла (точно сигнал напряжения с широтно-импульсной модуляцией в управляемом рабочем цикле, определяемый на основе результата сравнения между расчетным моментом впрыска топлива и фактическим моментом впрыска топлива).Как правило, во время управления рабочим циклом существуют две разные зоны нечувствительности, одна из которых представляет собой нижнюю мертвую зону, меньшую минимально возможного значения рабочего цикла, а другая — верхнюю мертвую зону, превышающую максимально возможное значение рабочего цикла. То есть поршень таймера не изменяется в пределах верхней и нижней мертвых зон. Напротив, в пределах обычной зоны рабочего цикла, определенной между верхней и нижней мертвыми зонами, осевое положение поршня таймера можно контролировать или регулировать в зависимости от регулируемого рабочего цикла.Обсуждаемая ранее зона обычного рабочего цикла будет далее называться «зоной эффективного рабочего цикла». Предполагая, что увеличение рабочего цикла электромагнитного электромагнитного клапана соответствует опережению момента впрыска топлива, а уменьшение рабочего цикла соответствует замедлению времени впрыска топлива, значение рабочего цикла (сокращенно «DTCV») ) электромагнитного клапана, связанного с поршнем таймера, значительно уменьшается, когда целевая синхронизация впрыска топлива (сокращенно «целевая IT») значительно отстает из-за замедления транспортного средства, как видно на фиг.8А. Такое значительное и быстрое сокращение рабочего цикла приводит к легкому вводу значения рабочего цикла (DTCV) в ранее отмеченную нижнюю мертвую зону. После этого, даже когда транспортное средство быстро ускоряется, существует тенденция к замедлению восстановления из нижней мертвой зоны в зону эффективного рабочего цикла из-за быстрого падения значения рабочего цикла, что приводит к нежелательно медленному продвижению вперед фактическое время впрыска топлива (сокращенно «фактическое ИТ»). Как можно понять, использование схемы ограничения (или ограничителя) эффективно для предотвращения попадания в верхнюю мертвую зону, а также в нижнюю мертвую зону, для ограничения значения рабочего цикла в пределах двух заранее определенных верхних и нижних рабочих зон. ограничения цикла, так что контролируемое значение рабочего цикла изменяется между заданным верхним пределом и заданным нижним пределом.Использование ограничителя может эффективно предотвращать попадание в нижнюю мертвую зону даже при быстром замедлении, тем самым улучшая последующие характеристики опережения времени впрыска топлива при переходе от во время замедления к во время ускорения. Однако, когда регулируемое значение коэффициента заполнения фактически ограничено заданным нижним пределом с помощью ограничителя (процесс ограничения значения рабочего цикла), как показано на фиг. 8B, существует тенденция к тому, что фактическая IT имеет тенденцию постепенно регулироваться до надлежащего момента времени, подходящего для текущего рабочего состояния двигателя / транспортного средства, из-за сравнительно умеренного падения значения контролируемого рабочего цикла по сравнению с быстрым падением рабочего цикла. показанный на фиг.8А. Нежелательно более медленное запаздывание момента впрыска топлива может снизить чувствительность управления моментом впрыска топлива на основе управляемого рабочего цикла.
СУЩНОСТЬ ИЗОБРЕТЕНИЯ
Соответственно, задачей изобретения является создание системы управления синхронизацией впрыска топлива насоса впрыска топлива с регулируемым рабочим циклом для дизельных двигателей, которая позволяет избежать вышеупомянутых недостатков предшествующего уровня техники.
Другой задачей изобретения является создание системы управления синхронизацией впрыска топлива для ТНВД с регулируемым рабочим циклом для дизельных двигателей, которая способна разрешать или запрещать ввод контролируемого значения рабочего цикла в верхнюю мертвую точку. зона больше, чем максимально возможный рабочий цикл, а нижняя мертвая зона меньше минимально возможного рабочего цикла, особенно нижняя мертвая зона.
Для выполнения вышеупомянутых и других целей настоящего изобретения система управления синхронизацией впрыска топлива для насоса впрыска дизельного топлива содержит поршень таймера, механически связанный с поршнем насоса для изменения заданного положения поршня насоса посредством осевого движение поршня таймера, электромагнитный электромагнитный клапан, управляемый рабочим циклом, связанный с поршнем таймера, для изменения установленного положения плунжера насоса путем изменения осевого положения поршня таймера в ответ на рабочий цикл электромагнитного соленоида клапан, и для регулирования момента впрыска топлива, подаваемого из насоса впрыска дизельного топлива в инжектор дизельного топлива с изменением установленного положения плунжера насоса, и блок управления для временного разрешения входа в рабочий цикл электромагнитного соленоида клапан в заданную мертвую зону на заданный период времени, так что фактическое время впрыска топлива регулируется на d — целевая синхронизация впрыска топлива, основанная на рабочем состоянии двигателя, и для ограничения рабочего цикла заданным ограничивающим значением, когда заданный период времени истек, во время управления по замкнутому контуру времени впрыска топлива.
Согласно другому аспекту изобретения система управления моментом впрыска топлива для насоса впрыска дизельного топлива с электромагнитным электромагнитным клапаном, в которой момент впрыска топлива, подаваемого от насоса впрыска дизельного топлива в форсунку дизельного топлива, регулируется рабочий цикл электромагнитного соленоидного клапана, содержит схему установки целевого момента впрыска для установки целевого момента впрыска на основе рабочего состояния двигателя, схему определения фактического момента впрыска для определения фактического момента впрыска, схему установки рабочего цикла для установки рабочий цикл электромагнитного электромагнитного клапана путем сравнения заданного момента впрыска с фактическим моментом впрыска, схема обнаружения входа в мертвую зону для обнаружения входа рабочего цикла в заданную мертвую зону, схема разрешения ограничения рабочего цикла для генерации разрешающего сигнала обработки ограничения рабочего цикла с заданным временем задержки от обнаружения входа рабочего цикла в заданную мертвую зону, и схема обработки ограничения рабочего цикла, реагирующая на разрешающий сигнал от схемы разрешения ограничения рабочего цикла для ограничения рабочего цикла до заданного значения ограничения рабочего цикла, так что рабочий цикл выходит из заданной мертвой зоны.С ранее отмеченной компоновкой, когда обнаруживается вход рабочего цикла электромагнитного соленоидного клапана в заданную мертвую зону, обработка ограничения рабочего цикла инициируется с заранее заданным временем задержки от обнаружения входа рабочего цикла в заданную мертвую зону. заданная мертвая зона. Таким образом, обработка ограничения рабочего цикла временно запрещается в течение заданного периода времени с начала замедления транспортного средства, так что система позволяет замедлить время впрыска так быстро, а затем разрешается, так что рабочий цикл ограничивается заранее заданным ограничивающим значением в конце периода замедления и так, чтобы система позволяла так плавно выполнять опережение времени впрыска при переходе от замедления к ускорению.Это улучшает реакцию управления моментом впрыска топлива с обратной связью (управление моментом впрыска с обратной связью), независимо от замедления или ускорения.
Схема разрешения ограничения рабочего цикла может включать в себя таймер, который начинает отсчитывать прошедшее время с момента, когда обнаруживается вход рабочего цикла в заданную мертвую зону, и схема разрешения ограничения рабочего цикла выдает разрешение сигнал обработки ограничения рабочего цикла, когда значение счетчика таймера достигает заранее определенного периода времени.Следовательно, время вывода разрешающего сигнала обработки ограничения рабочего цикла точно рассчитывается таймером.
Предпочтительно, чтобы схема разрешения ограничения рабочего цикла выводила разрешающий сигнал, когда целевая синхронизация впрыска становится в целом равной целевой моменту впрыска после обнаружения входа рабочего цикла в заданную мертвую зону. Момент начала обработки ограничения рабочего цикла более точно рассчитывается по времени, наблюдая за фактическим эффектом управления обратной связью времени впрыска топлива (то есть степенью сходимости фактического момента впрыска к целевому моменту впрыска).
В качестве альтернативы, схема разрешения ограничения рабочего цикла может включать в себя таймер, который начинает отсчитывать прошедшее время с момента, когда целевая синхронизация впрыска становится в целом равной целевой моменту впрыска после обнаружения входа рабочего цикла в заранее определенную мертвая зона, и схема разрешения ограничения рабочего цикла выводит разрешающий сигнал обработки ограничения рабочего цикла, когда значение счетчика таймера достигает заранее определенного периода времени. В этом случае обработка ограничения рабочего цикла запрещается до тех пор, пока результат отклика управления с обратной связью по времени впрыска не стабилизируется, и, таким образом, адекватное совпадение фактического момента впрыска с целевым моментом впрыска не будет достигнуто посредством управления с обратной связью.Это обеспечивает более точное время начала обработки ограничения рабочего цикла.
Предпочтительно, схема обработки ограничения рабочего цикла может определять ограничивающее значение, так что ограничивающее значение достигает заданного значения ограничения рабочего цикла с заданной скоростью изменения, чтобы обеспечить плавное регулирование рабочего цикла до заданного значения. предельное значение рабочего цикла.
Предпочтительно, чтобы схема обнаружения входа в мертвую зону, схема разрешения ограничения рабочего цикла и схема обработки ограничения рабочего цикла приводились в действие, по меньшей мере, в рабочем состоянии двигателя на холостом ходу.Это выполняет реакцию управления обратной связью по времени впрыска, в значительной степени совпадающую с рабочим режимом двигателя на холостом ходу.
В соответствии с дополнительным аспектом изобретения система управления синхронизацией впрыска топлива для насоса впрыска дизельного топлива содержит поршень таймера, управляемый перепадом давления, каждый конец поршня взаимодействует с корпусом насоса, образуя камеру высокого давления и камера низкого давления, поршень таймера, механически связанный с плунжером насоса для изменения установленного положения плунжера насоса посредством осевого перемещения поршня таймера на основе разности давлений между камерами высокого и низкого давления, электромагнитный электромагнитный клапан с управляемым циклом, расположенный по текучей среде в коммуникационном канале, соединяющем камеры высокого и низкого давления, для изменения установленного положения плунжера насоса путем изменения перепада давления в ответ на рабочий цикл электромагнитного электромагнитного клапана, и для регулирования момента впрыска топлива, подаваемого от насоса впрыска дизельного топлива в инжектор дизельного топлива с изменением t он установил положение плунжера насоса, схему установки целевого момента впрыска для установки целевого момента впрыска на основе рабочего состояния двигателя, схему определения фактического момента впрыска для определения фактического момента впрыска, схему установки рабочего цикла для установки продолжительности включения цикл электромагнитного электромагнитного клапана путем сравнения заданного момента впрыска с фактическим моментом впрыска, схема обнаружения входа в мертвую зону для обнаружения входа рабочего цикла в заранее определенную нижнюю мертвую зону, схема разрешения ограничения рабочего цикла для генерации разрешающего сигнала обработки ограничения рабочего цикла с предварительно определенным временем задержки от обнаружения входа рабочего цикла в заданную нижнюю мертвую зону, и схема обработки ограничения рабочего цикла, реагирующая на разрешающий сигнал от рабочего цикла — схема разрешения ограничения цикла для ограничения рабочего цикла до предопределенного нижнего предельного значения рабочего цикла, так что рабочий цикл выходит заданной нижней мертвой зоны.Предпочтительно, схема разрешения ограничения рабочего цикла может включать в себя таймер, который начинает отсчитывать прошедшее время с момента, когда обнаруживается вход рабочего цикла в заранее определенную нижнюю мертвую зону, и схема разрешения ограничения рабочего цикла выводит разрешающий сигнал обработки ограничения рабочего цикла, когда значение счетчика таймера достигает заранее определенного периода времени. Предпочтительно, схема разрешения ограничения рабочего цикла может выводить разрешающий сигнал, когда целевая синхронизация впрыска становится в целом равной целевой моменту впрыска после обнаружения входа рабочего цикла в заранее определенную нижнюю мертвую зону.В качестве альтернативы, схема разрешения ограничения рабочего цикла может включать в себя таймер, который начинает отсчет прошедшего времени с момента, когда целевой момент впрыска становится в целом равным целевому времени впрыска после обнаружения входа рабочего цикла в заранее определенную нижнюю мертвую точку. -зона, и схема разрешения ограничения рабочего цикла выводит разрешающий сигнал обработки ограничения рабочего цикла, когда значение счетчика таймера достигает заранее определенного периода времени. Более предпочтительно, схема обработки ограничения рабочего цикла может определять ограничивающее значение, так что ограничивающее значение увеличивается до заданного нижнего ограничивающего значения рабочего цикла с заданной скоростью изменения времени.Предпочтительно, чтобы схема обнаружения входа в мертвую зону, схема разрешения ограничения рабочего цикла и схема обработки ограничения рабочего цикла приводились в действие, по меньшей мере, в рабочем состоянии двигателя на холостом ходу. В качестве альтернативы, схема обнаружения входа в мертвую зону, схема разрешения ограничения рабочего цикла и схема обработки ограничения рабочего цикла могут быть приведены в действие, когда система управления моментом впрыска топлива находится в режиме с обратной связью во время холостого хода двигателя. .
КРАТКОЕ ОПИСАНИЕ ЧЕРТЕЖЕЙ
РИС. 1 представляет собой блок-схему, иллюстрирующую один вариант осуществления системы управления синхронизацией впрыска топлива насоса впрыска топлива с регулируемым рабочим циклом для дизельных двигателей в соответствии с изобретением.
РИС. 2 — вид в разрезе, иллюстрирующий пример насоса для впрыска топлива с регулируемым рабочим циклом, используемого в системе управления моментом впрыска топлива, показанной на фиг. 1.
РИС. 3 — блок-схема, иллюстрирующая процедуру арифметического вычисления значения основного рабочего цикла (сокращенно «DTCVP») топливного насоса высокого давления, показанного на фиг.2.
РИС. 4 представляет собой блок-схему, иллюстрирующую пример процедуры для арифметического вычисления предельного значения (в частности, нижнего предела рабочего цикла), необходимого для управления рабочим циклом, выполняемого системой согласно изобретению.
РИС. 5 — блок-схема, иллюстрирующая подпрограмму для арифметического вычисления конечного значения рабочего цикла на основе значения основного рабочего цикла, вычисленного с помощью процедуры по фиг. 3, и нижнее предельное значение, определяемое с помощью процедуры, показанной на фиг.4.
РИС. 6 — блок-схема, иллюстрирующая другой пример процедуры арифметического вычисления нижнего предельного значения, необходимого для управления рабочим циклом, выполняемого системой согласно изобретению.
РИС. Фиг.7 — временная диаграмма, показывающая характеристики управления синхронизацией впрыска топлива, полученные системой согласно изобретению.
РИС. 8A и 8B — характеристики управления синхронизацией впрыска топлива, которые получаются системами предшествующего уровня техники.
ОПИСАНИЕ ПРЕДПОЧТИТЕЛЬНЫХ ВАРИАНТОВ ОСУЩЕСТВЛЕНИЯ
Теперь обратимся к чертежам, в частности к фиг.На фиг.2 система управления моментом впрыска топлива по изобретению проиллюстрирована в случае топливного насоса распределительного типа для дизельного двигателя с впрыском топлива. Узел насоса впрыска дизельного топлива, обозначенный позицией 1, имеет приводной вал 2 (или вал насоса) и насос для подачи топлива 3. Как видно на фиг. 2 в качестве примера топливоподкачивающего насоса 3 показан типичный пластинчатый насос. В показанном варианте осуществления, хотя подающий насос 3 содержит пластинчатый насос, подающий насос можно заменить другим типом насосов, например плунжерным насосом.Насос 3 для подачи топлива приводится в движение приводным валом 2, который имеет ведомое соединение с дизельным двигателем с впрыском топлива. Топливо подается из топливного бака (не показан) через насос 3 в камеру 4 насоса, определенную в корпусе насоса. Как видно в верхней половине фиг. 2, плунжер 6 насоса коаксиально соединен с правым концом приводного вала 2, обычно посредством шлицевого соединения, так что плунжер 6 вращается вместе с приводным валом 2, обеспечивая при этом осевое скользящее движение плунжера. 6 относительно приводного вала 2.Кулачковый диск 5 концентрически закреплен рядом с левым концом плунжера 6. Кулачковый механизм, состоящий из кулачкового диска 5 и по существу цилиндрического роликового держателя 9, служащего в качестве толкателя кулачка, соединенного с кулачковым диском 5, предусмотрен на соединительный участок (участок шлицевого соединения) между правым концом приводного вала и левым концом плунжера насоса, чтобы обеспечить осевое возвратно-поступательное движение (движение вправо и влево в цилиндре 7) плунжера 6 насоса. Осевое возвратно-поступательное движение плунжера 6 обеспечивает перекачивание под высоким давлением, как будет полностью описано ниже.Роликодержатель 9 предусмотрен таким образом, чтобы окружать внешнюю периферию соединительной части между правым концом приводного вала 2 и левым концом плунжера насоса 6. Обратите внимание, что внутренняя периферия по существу цилиндрического роликового держателя 9 не контактирует или находится в скользящем контакте с внешней периферией ранее отмеченной соединительной части таким образом, чтобы обеспечить вращательное движение приводного вала 2 без какого-либо вращательного движения самого роликового держателя 9.Множество равноудаленных по окружности роликов удерживаются с возможностью вращения в держателе 9 роликов. С другой стороны, кулачковый диск 5 сформирован на его левой боковой стенке как единое целое с волнистой по окружности рельефной кулачковой поверхностью. Как видно на фиг. 2, волнистая по окружности фасонная кулачковая поверхность состоит из множества кулачковых выступов (выступов) и множества кулачковых канавок (впадин), чередующихся друг с другом. Левая контурная кулачковая поверхность кулачкового диска 5 сопрягается с соответствующими роликами, которые с возможностью вращения используются в роликовом держателе 9, таким образом, чтобы обеспечить кулачковое соединение между роликами роликового держателя 9 и фигурной кулачковой поверхностью кулачковый диск 5.Каждая из секций выступов кулачка кулачкового диска 5 связана с цилиндром двигателя с определенным номером цилиндра, так что существует взаимно однозначное соответствие между секциями выступов кулачка и цилиндрами двигателя. Кулачковый диск 5 смещен в осевом направлении влево (см. Фиг. 2) посредством возвратной пружины (без номера), такой как спиральная пружина сжатия, чтобы постоянно поддерживать кулачковое соединение независимо от нагрузки и скорости двигателя. Таким образом, вращательное движение кулачкового диска 5 заменяется возвратно-поступательным движением плунжера 6 насоса с помощью кулачкового механизма (то есть кулачкового диска 5 и держателя 9 ролика).Роликодержатель 9 механически связан через рычажный механизм 8a с поршнем 8 таймера, служащим в качестве поршня управления синхронизацией впрыска топлива. Как можно понять из фиг. 2, осевое положение роликового держателя 9 (то есть осевое положение кулачкового диска 5) определяется в зависимости от осевого положения поршня 8 таймера. Точнее, когда поршень 8 таймера перемещается в осевом направлении влево (по направлению к камеру 23 низкого давления) из осевого положения, показанного на фиг. 2, стержневой рычажный механизм 8a также перемещается влево, поскольку один конец (нижний конец) рычажного механизма 8a надежно соединен, по существу, с центром поршня таймера 8, а другой конец (верхний конец) рычажного механизма 8a является подключен к роликовому держателю 9.И наоборот, когда поршень таймера 8 перемещается в осевом направлении вправо (в направлении камеры 21 высокого давления) из осевого положения, показанного на фиг. 2, рычажный механизм 8a также перемещается вправо, в результате чего кулачковый механизм (роликодержатель 9 и кулачковый диск 5) немного смещается или перемещается в осевом направлении вправо. В ранее отмеченной конструкции каждый раз, когда одна из выступов кулачка кулачкового диска 5 проходит через определенный ролик держателя 9 ролика, плунжер 6 насоса перемещается в осевом направлении один раз.То есть, когда плунжер 6 насоса вращается вместе с приводным валом 2, плунжер 6 совершает возвратно-поступательное движение в осевом направлении столько раз, сколько кулачков за каждый оборот плунжера 6.
Во время хода всасывания с осевым При движении плунжера 6 влево топливо в насосной камере 4 подается через впускное отверстие 10 цилиндра 7 и впускную канавку 11 для топлива, образованную на правом конце плунжера 6, в насосную камеру 12, обращенную к крайнему правому торцу. плунжера 6.Напротив, во время такта нагнетания (или во время хода нагнетания) с осевым движением плунжера 6 вправо топливо в насосной камере 12 находится под давлением, и в то же время топливо под давлением подается через осевое отверстие (не пронумерованы), ограниченный в осевом направлении в плунжере 6 и соединяющий насосную камеру 12, и отверстие 18 отсечки, которое будет подробно описано ниже, через распределительную канавку 13, сформированную в плунжере 6, с одним из множества отверстий 14 нагнетания, определенных цилиндр 7.Затем топливо под давлением подается через выпускной выпускной клапан 15, такой как односторонний обратный клапан, через трубопровод высокого давления (без номера) в форсунку 16 для впрыска топлива (топливную форсунку) под высоким давлением. Отметим, что для наглядной простоты показан только один из множества топливных форсунок 16. Фактически для каждого цилиндра двигателя используется отдельная топливная форсунка 16. Топливный инжектор 16 представляет собой типичный инжектор дизельного топлива с игольчатым соплом, в котором подпружиненный игольчатый клапан инжектора или игла управляет распылителем топлива в форме полого конуса.Как обсуждалось ранее, осевое положение держателя 9 ролика относительно приводного вала 2 можно изменять путем регулировки осевого положения поршня таймера 8. Изменение осевого положения держателя 9 ролика приводит к небольшому относительному осевому смещению между приводной вал 2 и плунжер насоса 6. Небольшое осевое смещение плунжера 6 к приводному валу 2 вызывает изменение синхронизации между распределительной канавкой 13 плунжера 6 и соответствующим выпускным отверстием 14 цилиндра. 7.Другими словами, изменение осевого положения роликового держателя 9 вызывает изменение момента впрыска топлива (а именно изменение момента начала впрыска топлива). Как изложено выше, моментом впрыска топлива (момент начала впрыска топлива) можно управлять путем правильной регулировки осевого положения таймерного поршня 8. Управляющая втулка 17 также предусмотрена рядом с самым внутренним концом цилиндра 7, так что управляющая втулка 17 устанавливается с возможностью скольжения на часть плунжера 6, выступающую из самого внутреннего конца цилиндра 7, так что топливо в насосной камере 12 протекает через отсечной канал 18 и снова возвращается в насос. камеры 4, когда отверстие 18 отсечки выходит из внутренней периферийной поверхности регулирующей втулки 17 и, таким образом, открывается в камеру 4 насоса.Такая утечка топлива вызывает быстрое падение давления топлива в насосной камере 12, и в результате давление топлива в распределительной канавке 13 (или выпускном отверстии 14) быстро падает и становится меньше установленного давления на выпускном отверстии. клапан 15. Вследствие этого выпускной выпускной клапан 15 (обратный обратный клапан) закрывается. При закрытом клапане 15 давление топлива в топливной форсунке 16 падает, и возвратная пружина игольчатого клапана форсунки (не показана) заставляет игольчатый клапан форсунки оставаться закрытым и предотвращает любую утечку топлива из форсунки форсунки.Таким образом, серия операций впрыска топлива завершается. Обычно положение регулирующей втулки 17 регулируется с помощью электронного регулятора (не показан). Момент прекращения впрыска топлива (другими словами, количество впрыска топлива) можно контролировать, регулируя положение управляющей муфты 17 с помощью электронного регулятора, как описано ранее. Также предусмотрен блок 19 клапана отсечки топлива для прекращения подачи топлива в насосную камеру 12 путем перекрытия всасывающего канала 10 тарельчатым клапаном блока 19 клапана отсечки топлива.
Детали регулировки осевого положения поршня таймера 8 будут описаны ниже.
Как видно на фиг. 2, корпус насоса насосного агрегата 1 определяет в нем камеру 8b поршня таймера, которая с возможностью скольжения охватывает поршень 8 таймера. Левая часть камеры 8b поршня таймера взаимодействует с левой торцевой поверхностью поршня таймера. 8, чтобы определить камеру 23 низкого давления, тогда как правая часть камеры 8b таймера-поршня взаимодействует с правой торцевой поверхностью таймерного поршня 8, чтобы определить камеру 21 высокого давления.Камера 21 высокого давления сообщается с насосной камерой 4 (сторона нагнетания подающего насоса 3) через топливный канал 20, размер отверстия которого сравнительно мал для обеспечения надлежащего сужения отверстия. Левый конец поршня таймера 8 обращен к камере 23 низкого давления, которая сообщается со стороной всасывания подкачивающего насоса 3 через топливный канал 22. Возвратная пружина 24, такая как спиральная пружина сжатия, функционально расположена в камере низкого давления. камеру 21 для постоянного смещения поршня таймера 8 в направлении камеры 21 высокого давления, то есть в осевом направлении вправо (см. фиг.2). На фиг. 2 ссылочные позиции 25-1 и 25-2 обозначают первый и второй проходы для сообщения жидкости соответственно. Один конец первого коммуникационного канала 25-1 сообщается с камерой 21 высокого давления, тогда как один конец второго коммуникационного канала 25-2 сообщается с камерой низкого давления 23. Электромагнитный клапан 26 (точнее, электромагнитный электромагнитный клапан) расположен по текучей среде между первым и вторым коммуникационными каналами 25-1 и 25-2, так что гидравлическое сообщение между другим концом первого коммуникационного канала 25-1 и другим концом второго коммуникационного канала 25-2 регулируется посредством средства электромагнитного клапана 26.Открытие и закрытие электромагнитного электромагнитного клапана 26 контролируется или регулируется в ответ на сигнал рабочего цикла (или сигнал времени с широтно-импульсной модуляцией или сигнал напряжения с широтно-импульсной модуляцией, часто называемый «сигналом ШИМ»), который генерируется из блок 28 управления, обычно содержащий микрокомпьютер. Конкретно, с уменьшенным рабочим циклом (или уменьшенным временем включения соленоида или уменьшенным временем открытия соленоидного клапана) электромагнитного электромагнитного клапана 26, количество утечки топлива из камеры 21 высокого давления в камеру 23 низкого давления уменьшается. и в результате давление топлива в камере 21 высокого давления повышается до относительно высокого уровня давления по сравнению с камерой 23 низкого давления.Относительное повышение давления в камере 21 высокого давления заставляет поршень таймера 8 в направлении камеры низкого давления (в направлении влево) противодействовать смещению пружины 24. Как описано ранее, осевое перемещение таймера влево поршень 8 вызывает осевое перемещение кулачкового механизма влево (два элемента 5 и 9), и в результате синхронизация впрыска топлива замедляется. И наоборот, когда рабочий цикл электромагнитного клапана 26 увеличивается, утечка топлива из камеры 21 высокого давления в камеру 23 низкого давления увеличивается.Таким образом, давление топлива в камере 21 высокого давления падает до относительно низкого уровня давления, по существу равного давлению жидкости в камере 23 низкого давления. Из-за падения давления в камере 21 высокого давления поршень таймера 8 перемещается к камере 21 высокого давления (вправо) за счет смещения пружины 24. Осевое движение поршня таймера 8 вправо вызывает осевое движение вправо кулачкового механизма (два элемента 5 и 9), и в результате опережение впрыска топлива.В качестве входных данных информационного сигнала, необходимых для управления синхронизацией впрыска топлива, входной интерфейс блока 28 управления принимает сигналы от различных датчиков транспортного средства, а именно датчика 29 скорости вращения, датчика 30 акселератора и датчика 31 подъема игольчатого клапана. В показанном варианте осуществления в качестве датчика 29 скорости вращения используется датчик скорости с датчиком электромагнитных импульсов. Как видно на фиг. 2, датчик 29 скорости с датчиком импульсов состоит из зубчатого венца, подобного зубчатому сигнальному диску 29b (диск ротора), который прикреплен к ведущему валу 2 топливного насоса 1 для совместного вращения с приводным валом. 2, и приемную катушку 29а (статор), которая установлена на корпусе насоса и обычно намотана на железный сердечник.По мере того как зубчатая пластина сигнального диска вращается вместе с приводным валом 2, зубья пластины 29b будут приближаться к точке, в которой они находятся в прямом совмещении с центром приемной катушки 29a, которая является электромагнитом. Когда это происходит, между приемной катушкой 29a и зубчатой пластиной 29b сигнального диска существует небольшой воздушный зазор. Электроэнергия непрерывно течет через приемную катушку 29a, создавая поле магнитного потока как в приемной катушке, так и в сердечнике. По мере того, как каждый зуб вращающейся дисковой пластины 29b приближается к катушке 29а датчика, сопротивление магнитной цепи будет быстро уменьшаться с увеличением напряженности магнитного поля.Повышенная напряженность магнитного поля индуцирует напряжение в катушке датчика. По мере того, как зуб перемещается от сердечника приемной катушки, сопротивление магнитной цепи будет быстро увеличиваться, но напряженность магнитного поля будет уменьшаться. В результате изменяющаяся напряженность магнитного поля индуцирует импульсное напряжение (положительное напряжение, за которым следует отрицательное напряжение) в обмотке катушки датчика. Сигнал импульсного напряжения, генерируемый датчиком 29 скорости с датчиком импульсов, отправляется на схему входного интерфейса электронного блока 28 управления.Блок 28 управления определяет угловое положение коленчатого вала (или угол поворота коленчатого вала) по импульсному сигналу напряжения, а также определяет скорость Ne двигателя (соответствующую скорости топливного насоса высокого давления) по частоте импульсного сигнала или количеству импульсы в течение заданного периода времени. Датчик 30 акселератора предназначен для определения открытия акселератора (рассматриваемого как открытие дроссельной заслонки) как значения, эквивалентного нагрузке двигателя Q. Датчик 31 подъема игольчатого клапана предназначен для определения фактического подъема подъема игольчатого клапана или игольчатый клапан дозирования топлива топливной форсунки 16, тем самым определяя фактическую синхронизацию впрыска топлива форсунки.Блок 28 управления арифметически вычисляет значение основного рабочего цикла (DTCVP) на основании сигнального сигнала Ne частоты вращения двигателя от датчика 29 частоты вращения, сигнального сигнала Q нагрузки двигателя от датчика 30 акселератора и фактического момента впрыска топлива. ориентировочный сигнал от датчика 31 подъема игольчатого клапана. Арифметический расчет для значения основного рабочего цикла (DTCVP) обычно выполняется центральным процессором (CPU), используемым в микрокомпьютере блока 28 управления.Процедура арифметических вычислений подробно описывается ниже со ссылкой на блок-схему, показанную на фиг. 3.
На этапе S1 сначала считываются индикаторный сигнал Ne частоты вращения двигателя (соответствующий скорости топливного насоса высокого давления) и индикаторный сигнал Q нагрузки двигателя (соответствующий открытию акселератора), а во-вторых, целевое топливо. время впрыска (просто целевая ИТ) устанавливается или извлекается из предварительно определенной карты данных, которая хранится в памяти компьютера (например, ПЗУ), на основе двух значений входного информационного сигнала Ne и Q.На этапе S2 фактическая синхронизация впрыска топлива (просто фактическая IT) определяется как угол поворота коленчатого вала (или угловое положение коленчатого вала) во время начала подъемного действия (или действия открытия) игольчатого клапана на основе угла поворота коленчатого вала (или углового положения коленчатого вала, которое определяется из импульсного сигнала, генерируемого датчиком 29 скорости с датчиком импульса) и показательного сигнала значения подъема от датчика 31 подъема игольчатого клапана. На этапе S3 разность ΔIT (= фактическое IT-целевая IT) между фактическим моментом впрыска топлива и целевым моментом впрыска топлива.На этапе S4 значение основного рабочего цикла (DTCVP) обновляется с помощью конечного значения рабочего цикла (DTCV), которое арифметически вычисляется с помощью арифметической программы, показанной на фиг. 5 за один цикл до и временно сохраняется в заранее заданном адресе памяти компьютерной памяти (например, RAM). На этапе S5 выполняется проверка, чтобы определить, является ли знак разности (ΔIT), полученный на этапе S3, положительным (ΔIT> 0) или отрицательным (ΔIT <0). Когда ответ на этап S5 отрицательный, то есть в случае ΔIT <0, блок управления определяет, что требуется опережение времени впрыска топлива, и затем входит этап S6.На этапе S6 значение основного рабочего цикла (DTCVP) электромагнитного соленоидного клапана 26 увеличивается или увеличивается на значение PI (ΔIT) в соответствии со следующим выражением. DTCVP = DTCVP + PI (ΔIT)
, где PI (ΔIT), которая отображается как функция разницы (или отклонения) ΔIT, является переменной пропорционально-интегрального управления и включает как пропорциональное управляющее действие часть, установленная прямо пропорционально отклонению ΔIT от заданного момента впрыска топлива, и небольшая интегральная часть управляющего воздействия, основанная на том, является ли знак отклонения ΔIT положительным или отрицательным.
Когда ответ на этап S5 положительный, то есть в случае ΔIT> 0, блок управления определяет, что требуется задержка времени впрыска топлива, и затем входит этап S7. На шаге S7 значение основного рабочего цикла (DTCVP) электромагнитного электромагнитного клапана 26 уменьшается или уменьшается на значение PI (ΔIT) в соответствии со следующим выражением. DTCVP = DTCVP-PI (ΔIT)
, где PI (ΔIT) — это переменная пропорционально-интегрального управления, основанная на отклонении ΔIT.
В качестве альтернативы, когда отклонение ΔIT обычно равно нулю, то есть в случае ΔIT≉0, значение основного рабочего цикла (DTCVP) сохраняется на своем текущем значении, а затем текущая процедура завершается.
Как изложено выше, значение основного рабочего цикла (DTCVP) определяется на основе входных сигналов датчика обратной связи Ne, Q и Lifts, а затем желаемое управление обратной связью выполняется блоком 28 управления на основе этих датчиков. входы, так что фактическое время впрыска топлива (фактическое IT) настраивается в соответствии с целевым временем впрыска топлива (целевое IT).Как полностью обсуждается позже со ссылкой на блок-схемы, показанные на фиг. 4 и 5, в системе согласно изобретению значение основного рабочего цикла (DTCVP) вычисляется арифметически с помощью процедуры, показанной на фиг. 3 во время ранее отмеченного управления с обратной связью на основе входов Ne, Q и Lifts датчика обратной связи, с учетом всего нижнего предела рабочего цикла DTCVMIN (см. Арифметическую обработку, показанную на фиг. 4 или 6), конечное значение рабочего цикла DTCV (см. Этап S35 на фиг. 5) и отклонение ΔIT от целевого момента впрыска топлива.Ранее отмеченное управление с обратной связью для момента впрыска топлива часто называют управлением моментом впрыска с обратной связью. Напротив, условие, при котором система управления моментом впрыска топлива не находится в режиме с обратной связью, в дальнейшем будет называться «режимом управления моментом впрыска без обратной связи». Аналогично, управление с обратной связью по скорости холостого хода, часто сокращенно называемое «управление ISC», в дальнейшем будет называться «управление ISC с обратной связью». Когда двигатель работает на холостом ходу, то есть в рабочем режиме двигателя на холостом ходу, количество впрыскиваемого топлива обычно регулируется электронным регулятором посредством управления ISC с обратной связью, так что частота вращения двигателя (Ne) равна отрегулирован в сторону желаемой скорости холостого хода.Например, управление ISC с обратной связью обычно инициируется при определенных условиях, в которых двигатель работает на холостом ходу и либо скорость транспортного средства меньше предварительно определенного нижнего порогового значения, такого как 8 км / ч, либо нейтрального переключателя автоматического передача включена. Таким образом, по крайней мере, рабочее состояние двигателя на холостом ходу необходимо для инициирования управления ISC с обратной связью. Ранее отмеченная желаемая частота вращения холостого хода для управления ISC с обратной связью обычно сохраняется в памяти компьютера в виде предварительно запрограммированной карты данных.Например, карта данных может быть предварительно запрограммирована для определения заданной взаимосвязи между частотой вращения двигателя (об / мин) и температурой двигателя (температурой охлаждающей жидкости). С другой стороны, условие, что система управления частотой вращения холостого хода еще не переходит в режим управления ISC с обратной связью, в дальнейшем будет называться «режимом ISC без обратной связи».
Теперь обратимся к фиг. 4 показана арифметическая обработка для предельного значения, обозначенного «DTCVMIN» и используемого для управления рабочим циклом электромагнитного соленоидного клапана 26.В показанном варианте осуществления только нижний предел рабочего цикла фактически показан в качестве предельного значения для простоты описания. Следует понимать, что можно установить верхнее предельное значение (верхний предел рабочего цикла) аналогично процедуре, показанной на фиг. 4.
На этапе S11 выполняется проверка, чтобы определить, работает ли двигатель. Во время работы двигателя происходит этап S12. На этапе S12 выполняется проверка, чтобы определить, работает ли система управления синхронизацией впрыска в режиме управления синхронизацией впрыска с обратной связью или в режиме управления синхронизацией впрыска без обратной связи.Когда система управления синхронизацией впрыска переводится в режим замкнутого контура, выполняется этап S13. На этапе S13 выполняется проверка, чтобы определить, работает ли система управления частотой вращения холостого хода либо в режиме управления ISC с обратной связью, либо в режиме управления ISC без обратной связи. Когда система управления ISC переводится в режим замкнутого контура, происходит этап S14. На этапе S14 значение основного рабочего цикла DTCVP, полученное с помощью процедуры по фиг. 3, читается. В отличие от вышеизложенного, когда двигатель не работает, или когда система управления синхронизацией впрыска находится в разомкнутом контуре, или когда система управления ISC находится в разомкнутом контуре, процедура переходит к этапу S17.На этапе S17 таймер TM очищается, и, таким образом, значение счетчика таймера TM сбрасывается на «0» (TM = 0). После этого следует этап S22. На этапе S22 предельное значение (нижний предел рабочего цикла DTCVMIN) сбрасывается (DTCVMIN = 0), и, таким образом, процесс ограничения значения рабочего цикла запрещается. Один цикл процедуры, показанной на фиг. 4 завершается этапом S22.
Три необходимых условия, а именно во время работы двигателя, во время управления синхронизацией впрыска с обратной связью и во время управления ISC с обратной связью, удовлетворяются одновременно, процедура переходит к этапу S14.Затем происходит этап S15. На этапе S15 значение основного рабочего цикла DTCVP (считанное на этапе S14) сравнивается с предварительно определенным эталонным ограничивающим значением LIM (предварительно определенным эталонным значением рабочего цикла, например 30%), чтобы определить, соответствует ли значение основного рабочего цикла DTCVP. меньше заданного предельного значения LIM. Когда значение основного рабочего цикла DTCVP больше или равно заданному предельному значению LIM, то есть в случае DTCVP≥LIM, процедура переходит от этапа S15 к этапу S17, на котором таймер TM сбрасывается, а затем к этапу S22, в котором предельное значение DTCVMIN сбрасывается до нуля.С другой стороны, когда значение DTCVP основного рабочего цикла меньше заданного предельного значения LIM, то есть в случае DTCVP
Теперь обратимся к фиг. 5 показана программа арифметических вычислений для конечного значения рабочего цикла (DTCV) электромагнитного электромагнитного клапана 26.
На этапе S31 значение основного рабочего цикла DTCVP, которое получается посредством этапов S6 или S7, показанных на фиг. 3, и предельное значение DTCVMIN, которое получается либо с помощью этапов S21, либо S22, показанных на фиг. 4, читаются. На этапе S32 значение основного рабочего цикла DTCVP сравнивается с ограничивающим значением DTCVMIN, чтобы определить, превышает ли значение основного рабочего цикла DTCVP предельное значение DTCVMIN. Когда значение основного рабочего цикла DTCVP выше нижнего предельного значения DTCVMIN, то есть в случае DTCVP≥DTCVMIN, выполняется переход на этап S33.На этапе S33 значение конечного рабочего цикла DTCV устанавливается равным значению основного рабочего цикла DTCVP (DTCV = DTCVP). Напротив, когда значение основного рабочего цикла DTCVP меньше нижнего предельного значения DTCVMIN, происходит этап S34. На этапе S34 конечное значение DTCV рабочего цикла устанавливается на нижнее предельное значение DTCVMIN (DTCV = DTCVMIN). Как видно из последовательности операций от этапа S32 к этапам S33 или S34, конечное значение рабочего цикла DTCV устанавливается равным большему из основного значения рабочего цикла DTCVP и нижнего предельного значения DTCVMIN, так называемый процесс выбора-ВЫСОКИЙ.Таким образом, процесс ограничения рабочего цикла выполняется системой согласно варианту осуществления. Наконец, на этапе S35 сигнал управляемого рабочего цикла конечного значения рабочего цикла DTCV выводится на электромагнитный клапан 26, который создает управляемый перепад давления, необходимый для осевого скользящего движения поршня 8 таймера, управляемого перепадом давления.
В соответствии с управлением синхронизацией впрыска топлива, выполняемым системой согласно варианту осуществления, как показано на фиг. 7, когда целевая синхронизация впрыска (целевая IT) установлена на сильно запаздывающую синхронизацию из-за замедления транспортного средства, обработка ограничения рабочего цикла запрещается на предварительно определенный период времени TM1, поскольку нижнее предельное значение (продолжительность включения нижний предел цикла) DTCVMIN не устанавливается на предварительно определенное опорное предельное значение LIM, такое как 30%, до тех пор, пока значение «счетчика» таймера TM не достигнет предварительно определенного истекшего времени TM1 (см. продолжительность времени, определяемую параметром «ВРЕМЯ ЗАДЕРЖКИ» на фиг.7) при определенных условиях, а именно во время работы двигателя, во время управления синхронизацией впрыска с обратной связью и во время управления скоростью холостого хода с обратной связью. Как можно понять, во время периода запрета обработки ограничения рабочего цикла система разрешает ввод значения рабочего цикла (DTCV) в мертвую зону, тем самым обеспечивая быстрое падение фактического времени впрыска в начале движения транспортного средства. замедление. Другими словами, система позволяет замедлить фактическое время впрыска так быстро (см. Область, обозначенную буквой A на фиг.7). После этого, как только заранее определенный период времени TM1 истечет, обработка ограничения рабочего цикла разрешается и инициируется. Во время замедления, сразу же, когда начинается обработка ограничения рабочего цикла, нижнее предельное значение (нижний предел рабочего цикла) DTCVMIN устанавливается на предварительно определенное опорное предельное значение LIM, такое как 30%, и, таким образом, нижний предел рабочего цикла DTCV. ограничивается предварительно определенным нижним предельным значением DTCVMIN (= контрольным предельным значением LIM) во второй половине периода замедления.Фактически, конечное значение рабочего цикла DTCV электромагнитного клапана 26 устанавливается равным большему из основного значения рабочего цикла DTCVP, вычисленного с помощью процедуры, показанной на фиг. 3, и значение ограничения рабочего цикла DTCVMIN, вычисленное с помощью процедуры, показанной на фиг. 4 с помощью процесса select-HIGH. После этого, когда режим работы двигателя / транспортного средства смещается с замедления на ускорение, опережение момента впрыска топлива может быть быстро достигнуто с рабочим циклом (DTCV), установленным на предварительно определенном опорном ограничивающем значении LIM или более.Как обсуждалось выше, рабочий цикл, который ограничен заданным опорным ограничивающим значением LIM или более посредством обработки ограничения рабочего цикла и процесса выбора ВЫСОКОГО, служит в качестве рабочего цикла ожидания при переходе от замедления к ускорению. Система согласно изобретению улучшает последующие характеристики опережения и запаздывания по времени. Ниже приводится краткое описание фундаментальной концепции системы по настоящему изобретению со ссылкой на блок-схему, показанную на фиг.1.
Как показано на фиг. 1, в системе управления синхронизацией впрыска топлива дизельного двигателя топливного насоса высокого давления с поршнем таймера перепада давления, в котором для требуемого управления моментом впрыска топлива осевое положение поршня таймера контролируется или регулируется в зависимости от режима работы. -цикл управления электромагнитным электромагнитным клапаном, расположенным в коммуникационном канале, соединяющем камеру высокого давления, обращенную к одному концу поршня таймера, и камеру низкого давления, обращенную к другому концу поршня таймера, система включает целевой впрыск схема установки момента впрыска для установки целевого момента впрыска в зависимости от рабочего состояния двигателя, схема определения фактического момента впрыска для определения фактического момента впрыска.время впрыска топливной форсунки, схема установки рабочего цикла (или средство установки рабочего цикла) для установки рабочего цикла (DTCVP) электромагнитного электромагнитного клапана путем сравнения целевого момента впрыска с фактическим моментом впрыска, ввод Схема обнаружения в мертвой зоне для обнаружения входа рабочего цикла в заданную мертвую зону (показанный вариант осуществления обсуждает конкретный случай, когда заданная мертвая зона является нижней мертвой зоной) путем сравнения значения рабочего цикла (DTCVP ) с предварительно определенным опорным ограничивающим значением (LIM), схема разрешения ограничения рабочего цикла для генерации сигнала разрешения обработки ограничения рабочего цикла после предварительно определенного времени задержки (соответствующего предварительно определенному периоду времени TM1) с момента, когда ввод рабочий цикл в заранее определенной мертвой зоне обнаруживается схемой обнаружения входа в мертвую зону, и схема обработки ограничения рабочего цикла реагирует на обработку ограничения рабочего цикла enabl e сигнал от схемы разрешения ограничения рабочего цикла для ограничения рабочего цикла до заданного значения рабочего цикла (большее из предварительно определенного опорного предельного значения LIM и текущей настройки основного значения рабочего цикла DTCVP), чтобы наступил рабочий цикл. из заданной мертвой зоны.Затем окончательный рабочий цикл (DTCV), обработанный схемой обработки ограничения рабочего цикла, выводится на электромагнитный электромагнитный клапан 26, связанный с поршнем 8 таймера, управляемым перепадом давления. Ранее отмеченная схема установки заданного времени впрыска по существу соответствует этапу S2 на фиг. 3. Схема определения фактического момента впрыска по существу соответствует этапу S2 на фиг. 3. Схема установки рабочего цикла по существу соответствует этапам с S3 по S7 на фиг.3. Схема обнаружения входа в мертвую зону по существу соответствует этапу S15 на фиг. 4. Схема разрешения ограничения рабочего цикла по существу соответствует этапам S16 и S18 на фиг. 4. Схема обработки ограничения рабочего цикла по существу соответствует этапам с S19 по S21 на фиг. 4 и 6, и этапы S32 и S34 на фиг. 5.
Обратимся теперь к фиг. 6 показана модифицированная арифметическая обработка, выполняемая процессором (ЦП) микрокомпьютера, используемого в блоке 28 управления, для вычисления нижнего предельного значения рабочего цикла «DTCVMIN».Модифицированная арифметическая обработка, показанная на фиг. 6 также выполняется как программа прерывания, запускаемая по времени, которая запускается через каждые заранее определенные интервалы времени. Модифицированная арифметическая обработка на фиг. 6 аналогична арифметической обработке на фиг. 4, за исключением того, что этап S15 ‘чередуется между этапами S15 и S16. Таким образом, те же номера шагов, которые используются для обозначения шагов в программе, показанной на фиг. 4 будет применяться к соответствующим номерам шагов, используемых в модифицированной арифметической обработке, показанной на фиг.6, с целью сравнения двух различных программ обработки прерывания. Этап S15 ‘будет полностью описан позже со ссылкой на последовательность операций по фиг. 6.
Когда результат сравнения этапа S15 на фиг. 6 сообщает, что значение основного рабочего цикла DTCVP меньше заданного предельного значения LIM, например 30%, т.е. в случае DTCVP Хотя вышеизложенное является описанием предпочтительных вариантов осуществления изобретения, следует понимать, что изобретение не ограничивается конкретными вариантами осуществления, показанными и описанными здесь, но что различные изменения и модификации могут быть сделаны без выхода за пределы объема или дух этого изобретения, как определено в следующей формуле изобретения. Дизель отличается от бензинового двигателя тем, что цилиндры заполняются воздухом только во время такта впуска.Смесь кислорода, азота и двух процентов других газов сжимается до тех пор, пока не достигнет чрезвычайно высокой температуры и давления, после чего топливо распыляется в камеру. Самовозгорание происходит в результате воздействия горячего сжатого воздуха и температуры воспламенения топлива. Расширяющееся пламя используется для приведения в действие поршня, который передает энергию коленчатому валу. Насос впрыска дизельного топлива имеет решающее значение для этого процесса. Он отвечает за создание давления, дозирование, распределение и синхронизацию подачи топлива в двигатель при каждой нагрузке и частоте вращения.Хотя форсунка на самом деле подает топливо в отверстие цилиндра, это происходит благодаря топливному насосу. Топливные насосы зарекомендовали себя как очень надежные, но, поскольку они являются сердцем дизельного топлива, в случае каких-либо отклонений двигатель не будет работать должным образом и может выйти из строя. Таким образом, для каждого фермера благоразумно иметь поверхностные знания о работе нагнетательного насоса и требованиях к обслуживанию. В сообществе сельскохозяйственного оборудования использовалось множество различных дизельных двигателей.Некоторые компании производят собственные двигатели (John Deere, Case / IH, New Holland и т. Д.), В то время как другие используют двигатели Cummins, Caterpillar или Detroit Diesel, и это лишь некоторые из них. Вне зависимости от марки ТНВД является частью топливной системы и может различаться по стилю. В сельскохозяйственных двигателях используются два основных типа ТНВД. Это либо линейный, либо роторный распределитель. Встроенный насос часто называют насосом-форсункой (PLN), в то время как другой популярной конструкцией является роторный распределительный насос.В конце 1920-х годов корпорация Bosch в Германии разработала линейный насос. Современная версия идентифицируется как конструкция порт-спирали. В 1941 году в Америке Вернон Руса запатентовал свою конструкцию роторного (круглого) распределительного ТНВД. Он был принят промышленностью и продавался различными производителями, такими как Ambac PSB / PSJ (американский Bosch), CAV, Lucas и Stanadyne. Хотя роторный впрыскивающий насос Roosa был не первым, он был самым успешным и породил множество копий.Один из них — американский Bosch VE. Он просуществовал до 1990-х годов и использовался в дизельных двигателях малой мощности, а также в небольших тракторах и другом оборудовании, таком как погрузчик с бортовым поворотом. Bosch VE — это гидромеханический втулочный дозирующий распределительный насос, в котором используется один плунжерно-насосный элемент, в то время как Roosa — это дозирующий впускной насос с противоположным плунжером. Stanadyne DB2, ранее продававшийся как конструкция Roosa-Master или ее разновидность, обычно используется во многих дизельных двигателях на фермах.Его простая теория означала низкую начальную стоимость и меньше ошибок в полевых условиях. На сельскохозяйственном оборудовании можно встретить и другие нагнетательные насосы, такие как модели Detroit Diesel, модели Caterpillar и Cummins PT. Сервисная информация в этом праймере будет применяться ко всем нагнетательным насосам, но для каждого из них будут предусмотрены специальные процедуры, на которые следует ссылаться в соответствующем руководстве по эксплуатации. DB2 — это впрыскивающий насос распределительного типа с оппозитным плунжером и дозирующим устройством (Bosch VE — это дозирующая втулка).Он был разработан с учетом низкой стоимости производства и простоты. Типичная DB2 (были небольшие вариации в конструкции для разных механизмов) состоит из примерно 100 компонентов и только четырех основных вращающихся элементов. Топливо забирается из топливного бака механическим подъемным насосом, который не зависит от насоса впрыска DB2 и проходит через фильтры, а затем попадает во впускной патрубок впрыскивающего насоса. Затем топливо проходит через сетку входного фильтра к пластинчатому перекачивающему насосу, находящемуся в торцевой крышке насоса.Перекачивающий насос лопастного типа состоит из неподвижного вкладыша и подпружиненных лопастей, установленных в пазах в задней части ротора перекачивающего насоса. По мере того как лезвия вращаются во вкладыше, они перемещаются наружу, и объем увеличивается до тех пор, пока ведущее лезвие не выйдет за пределы впускного отверстия. Топливо между лопастями переносится на дно гильзы перекачивающего насоса и попадает в выпускную канавку. В результате топливо под давлением подается через насос в канал, ведущий к каналу гидравлического напора. Узел регулятора давления в перекачивающем насосе регулирует объем топлива в зависимости от изменений скорости насоса — давление увеличивается с увеличением скорости насоса. Система подачи представляет собой простой гидравлический механизм прямого действия. Приводимый в действие давлением топлива от перекачивающего насоса, механизм продвижения перемещает силовой поршень, чтобы вращать кулачок, чтобы изменить время подачи. Он ускоряет или замедляет начало подачи топлива в ответ на изменение оборотов двигателя. Когда частота вращения двигателя снижается, гидравлическое давление уменьшается, и кулачок замедляется из-за низкого давления передачи.Когда частота вращения двигателя увеличивается, увеличивается и давление насоса, что приводит в движение поршень и кулачок опережения. Регулятор min-max регулирует ТНВД на низких оборотах холостого хода и максимальной номинальной скорости. На скоростях между этими двумя диапазонами рычаг дроссельной заслонки и пружина регулятора напрямую управляют дозирующим клапаном. Типичный рядный насос со спиральным портом имеет фланцевое крепление и приводится в действие на один полный оборот за полный цикл двигателя (720 градусов коленчатого вала) (это то же передаточное число, что и у роторной конструкции).Он приводится в движение коленчатым валом через синхронизированные редукторы. Насос имеет внутренний вал с эксцентриками (кулачками), предназначенными для противодействия элементам, по одному на каждый цилиндр двигателя. Этот тип насоса включает корпус насоса, распределительную коробку, толкатели распределительного вала (эксцентриковые), цилиндр, плунжер, рейку, регулирующие клапаны и нагнетательные клапаны. Его можно считать маленьким двигателем. Это отличная конструкция, но она сложнее, чем роторный распределительный насос. Даже несмотря на его сложность, отраслевая статистика утверждает, что большинство насосов с портовой спиралью, которые снимаются с двигателя фермы, не имеют с ними ничего плохого и диагностируются неправильно. Цель этого обзора — установить, что обе конструкции насоса очень сложны. Таким образом, грязь и отсутствие смазки в топливе становятся реальными проблемами наряду с обычными изнашиваемыми деталями. Как было указано в грунтовке для форсунок, большинство проблем износа насоса вызвано чрезмерными загрязнениями в топливе, такими как грязь, песок и влага, а также недостаточной смазывающей способностью, которая является частью современного дизельного топлива. Смазка в дизельном топливе с электронным управлением не представляет особой важности, поскольку в нем нет впрыскивающего насоса, а форсунки управляются микропроцессором так же, как бензиновый двигатель.По этой причине наиболее эффективное техническое обслуживание, которое можно проводить на ферме, — это подавать в топливный насос высокого давления чистое дизельное топливо с улучшенной смазывающей способностью. Этот небольшой шаг имеет большое значение для устранения дорогостоящих проблем и простоев, когда вам нужно работать в поле, а не в магазине. Другие факторы также играют роль, когда используется насос со спиральным портом. Роторный распределительный насос смазывается дизельным топливом. Рядный стиль имеет подачу моторного масла. Низкое качество моторного масла и техническое обслуживание наряду с недостатком серы в дизельном топливе могут обернуться катастрофой для ТНВД такого типа. Нижняя часть насоса со спиральным отверстием смазывается моторным маслом. В некоторых старых моделях контур смазки для насоса был отделен от двигателя, и уровень смазочного материала необходимо было проверять и заливать через щуп на кулачковой коробке насоса. В последние годы смазка для насоса обычно поступает из двигателя. Дизельное топливо, перекачиваемое через заправочный канал, смазывает верхнюю часть рядного ТНВД.Смазывающая способность топлива имеет решающее значение для увеличения срока службы насоса. Крайне важно, чтобы дизельное топливо и смазочное масло в ТНВД не смешивались как для насоса, так и для двигателя. Любая минутная утечка может привести к снижению вязкости моторного масла и повреждению насоса и деталей двигателя. Если анализ смазки картера показывает чрезмерное загрязнение топлива, причиной часто является плохое вязкое уплотнение в ТНВД. Это (загрязнение топлива) может привести к чрезмерному износу подшипников двигателя; износ поршневых колец и стенок цилиндра из-за недостаточной смазывающей способности топлива в масле. Для обеспечения максимальной производительности двигателя необходимо провести техническое обслуживание любого топливного насоса и его правильную синхронизацию. Время работы насоса обычно искажается в течение нескольких лет, когда двигатель использует больше топлива и теряет мощность. Это происходит медленно, и вы часто этого не замечаете. По этой причине на более старом двигателе следует периодически проверять насос на стенде. Накачать! Наконечники для дизельных топливных насосов — Farm Machinery Digest
Различный подход… одна и та же цель
Краткий обзор







D. или заменить
1 на 4 цил., 2 на 6 цил. )