выбор и правила установки устройства
В процессе эксплуатации автомобиля часто возникает необходимость перевезти груз, который не помещается в багажник. В таких ситуациях потребуется установка прицепного устройства на Лада Гранта. На рынке дополнительного оборудования для автомобилей представлен широкий ассортимент отечественных и зарубежных тягово-сцепных устройств (ТСУ).
Содержание
- Выбор фаркопа
- Установка и подключение
- Правила использования
Вернуться к оглавлению
Выбор фаркопа
Основной момент, который влияет на подбор модели фаркопа, – это максимальный вес груза, который нужно перевезти. Сегодня выпускаются три группы тягово-сцепных устройств, предназначенных для транспортировки прицепов в зависимости от перевозимого веса:
- Легкие, для перевозки груза до 1,5 тонн.
- Средние, для груза весом до 2,5 тонн.
- Тяжелые, для перевозки предметов весом до 3,5 тонн.
Автомобили Лада Гранта могут перевозить грузы, относящиеся к легкой группе.
Установка тяжелых ТСУ на Грантах с кузовом лифтбек или седан возможна, но нежелательна. Такой метод эксплуатации приведет к проблемам управления и неоправданным расходам.
По конструкции тягово-сцепные устройства выпускаются двух видов: неразборные и разборные. Первые целесообразно применять при регулярном использовании прицепов. Они надежны, имеют достаточно большой срок службы. Фаркопы со съемным шаровым крюком более практичны, но менее надежны. Крюк можно достаточно быстро снять и возить в багажнике, используя его при необходимости.
Вернуться к оглавлению
Установка и подключение
Установить фаркоп на Лада Гранту можно как своими руками, так и на станции технического обслуживания.
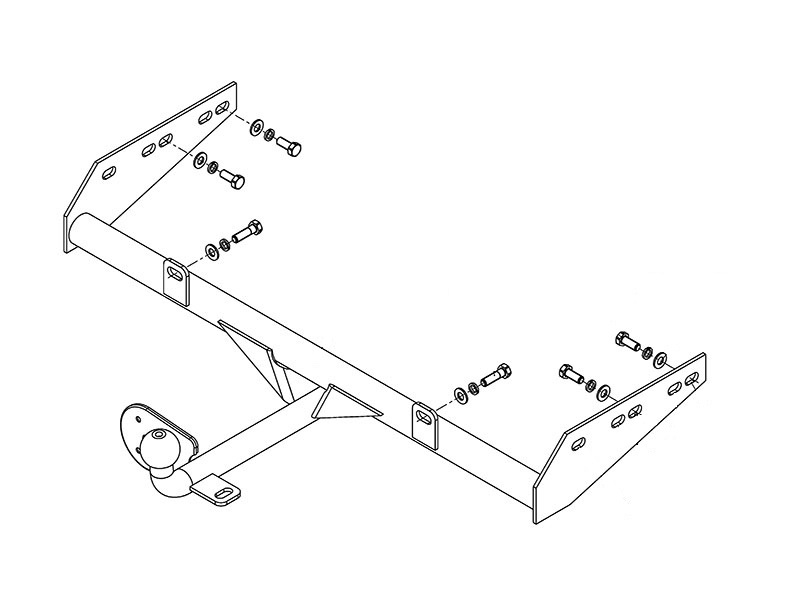
В комплектацию ТСУ входят:- тяговая сцепка;
- крепежные элементы, болты, гайки;
- подрозетник;
- крюк с шаровой опорой;
- комплект проводов.
Сначала необходимо снять «минусовую» клемму с аккумулятора. Установить фаркоп легче со снятым бампером, поэтому его следует демонтировать. На автомобилях Гранта заводом-изготовителем предусмотрены четыре технологических отверстия на лонжеронах для установки фаркопа. Два других отверстия находятся за задним бампером. Они заклеены защитной пленкой, которую необходимо снять.
Теперь нужно установить тяговую сцепку, прикрепив ее четырьмя болтами к лонжеронам автомобиля и двумя болтами к кузову за задним бампером. После затяжки крепежных болтов следует проложить электропроводку, используя штатное отверстие с резиновым уплотнителем с левой стороны бампера. Теперь можно установить бампер на место и подключить розетки фаркопа к электропитанию задних фонарей по следующей схеме:
Схема подключения к розетке фаркопа.
После подключения розетки фаркопа к бортовой сети можно установить на свои места обшивку и пластмассовую накладку багажника. Последний этап – закрепить розетку на кронштейне ТСУ и установить съемный крюк с шаровой опорой.
Вернуться к оглавлению
Правила использования
Главное правило – нельзя располагать в прицепе груз больше веса автомобиля. Нужно следить за техническим состоянием прицепа и тягово-сцепного устройства, розетки электрических разъемов. Важно регулярно смазывать шарообразный шарнир фаркопа литолом, предотвращая его преждевременный износ. При установке крюка необходимо убедиться в надежности его крепления к тяговой сцепке.
Перед покупкой и установкой фаркопа следует проверить документы на приобретаемую модель ТСУ. Они должны включать сертификат, разрешающий его использование для вашей марки автомобиля. Следует также обратить внимание на розетку сцепного устройства: она может содержать девять или тринадцать контактов, поэтому выбирать нужно аналогичную вилке прицепа, в противном случае придется потратиться на переделку разъема.
Использование автомобиля не только как средства передвижения, но и как помощника при перевозке бытовых грузов, буксировке катеров и лодок требует установки на авто специального оборудования – тягово-сцепного устройства. Выбор модели ТСУ зависит от веса перевозимого груза, частоты использования прицепа. Процедура установки фаркопа на Лада Гранту несложна и может быть выполнена своими руками.
Фаркопы и установка фаркопов в СПБ
Фаркоп Лада Веста, Веста СВ, Веста Кросс, съемный квадрат от ПТ Групп
9 360 ₽
Фаркоп съемный квадрат на Хендай Крета, ПТ Групп
10 400 ₽
- org/Product» data-count-md=»2″ data-count-sm=»0″ data-cat=»cat_id276″>
Фаркоп съемный квадрат Тойота Ленд Крузер 200 , Лексус LX, ПТ Групп
14 900 ₽
-
Фаркоп на Фольксваген Туарег (2002-2018), Порш Кайен (2002-2017), ПТ Групп
14 900 ₽
Фаркоп Мазда СХ 5, съемный ПТ Групп
12 900 ₽
Колпачок для фаркопа, матовое серебро
240 ₽
Проводка с розеткой для подключения фаркопа Лада Ларгус
1 170 ₽
Электрика (провода) для фаркопа, ARAGON mini (7 контактов)
7 540 ₽
org/Product» data-count-md=»0″ data-count-sm=»0″ data-cat=»cat_id86″>Проводка фаркопа с розеткой Лада Нива (с 2020), Нива Шевроле, Евротрейлер
1 150 ₽
Проводка фаркопа с розеткой и колодками Лада Гранта, Евротрейлер
890 ₽
Проводка фаркопа с розеткой Рено Дастер (2012-2015), Евротрейлер
1 080 ₽
Проводка фаркопа с розеткой Рено Логан (2009-2014), Евротрейлер
1 080 ₽
Проводка фаркопа с розеткой Рено Сандеро (2009-2014), Евротрейлер
1 000 ₽
- org/Product» data-count-md=»1″ data-count-sm=»1″ data-cat=»cat_id86″>
Блок согласования фаркопа Artway SC100 Nano, универсальный, 7 контактов
2 400 ₽
Универсальный блок согласования Artway Smart Connect SC 100N
5 300 ₽
Заглушка на фаркоп, квадрат 50х50, ПТ Групп
270 ₽
Электрика для фаркопа (розетка 7 контактов и проводка), ПТ Групп
810 ₽
Яйца на фаркоп бежевые Альфач (телесный цвет), размер XXL
1 600 ₽
Универсальный блок согласования для фаркопа Black Box Connect 7 контактов
2 400 ₽
- org/Product» data-count-md=»3″ data-count-sm=»1″ data-cat=»cat_id86″>
Фаркоп Лада Веста, Веста СВ, Веста Кросс, Веста СВ Кросс, АвтоАрсенал
7 600 ₽
Фаркоп Рено Дастер, Дастер 4×4, Ниссан Террано, АвтоАрсенал
8 600 ₽
-
Фаркоп на Нива Шевроле, Нива Тревел, АвтоАрсенал
8 300 ₽
Фаркоп Лада Гранта, Лада Калина, АвтоАрсенал
7 400 ₽
Блок согласования с проводкой для фаркопа Лада Веста, Х Рей, Lecar
2 920 ₽
Фаркоп на Ховер Н3, Ховер Н5, съемный квадрат ПТ Групп
8 690 ₽
- org/Product» data-count-md=»1″ data-count-sm=»1″ data-cat=»cat_id108″>
Яйца на фаркоп Альфач, черный цвет
1 450 ₽
Фаркоп Лада Ларгус, Ларгус Кросс, Ларгус фургон, ПТ Групп
9 710 ₽
Фаркоп Лада Х-Рей, Лада Х Рей Кросс съемный квадрат, ПТ Групп
9 400 ₽
Фаркоп квадрат Рено Дастер, Каптур, Ниссан Террано, ПТ Групп
9 900 ₽
Брызговики на легковой прицеп, МК-Пласт
230 ₽
дешевых модов Hilux — Google
AlleShoppingBilderVideosMapsNewsBücher
suchoptionen
50+ ОБНОВЛЕНИЙ, которые может сделать каждый! Просто, эффективно и умно .
..
www.youtube.com › смотреть
28.07.2021 · Когда полстраны застряло в сарае, мы попросили вас, ребята, показать нам, чем вы занимались …
Добавлено: 38:57
Прислано: 28.07.2021
Купили САМЫЙ ДЕШЕВЫЙ HILUX в Австралии (затем починили за ОДИН …
www.youtube.com › смотреть
13.03.2022 · Мы купили самый дешевый Хайлюкс в стране, потом пытались его починить за один… Любим делать…
Дауэр: 23:49
Прислан: 13.03.2022
15 лучших идей модов для Hilux — Pinterest
za.pinterest.com › grantteare › hilux-mods
30 ноября 2017 г. — Исследуйте доску Grant Teare «Моды Hilux» на Pinterest. Посмотрите больше идей о модах hilux, грузовиках toyota, toyota hilux.
44 идеи модов Toyota Hilux — Pinterest
www.pinterest.com › toyota-hilux-mods
5 сентября 2021 г. — Изучите доску Денниса Диона «Модификации Toyota hilux» на Pinterest. Посмотрите больше идей на тему toyota hilux, toyota, hilux mods.
Другие модели или
Какие самые дешевые модификации для автомобилей?
Какие моды я должен сделать для моего 4×4?
Как мне сделать так, чтобы мой 4×4 хорошо выглядел?
Что нужно изменить в машине в первую очередь?
Простые, забавные, дешевые и креативные модификации для автомобилей 4×4 — Team-BHP
www.team-bhp.com › … › 4×4 Technical
16.05.2012 · Легкие, забавные, дешевые и креативные модификации для автомобилей 4×4 · 1) Бортовой воздух — комп с приводом от ВОМ (непросто, весело своими руками , 3K без ВОМ, креативно) · 2) Дополнительный вентилятор …
Нужны идеи дешевых модов. — Форум Hilux Surf & 4Runner
hiluxsurf.co.uk › форум › общий › 51570-some-ch…
Нужны идеи по дешёвым модам. 28 октября 2008 г., 13:05. Что ж, мой приятель наконец-то довел свой 4×4 до безумия и теперь хочет выйти и поиграть в нем.
Bilder
Allo Anzeigen
Allo Anzeigen
.
хотите путешествовать по Австралии в 4×4, как мы? Что ж, вам, вероятно, следует сделать несколько существенных обновлений вашего ванильного Hilux …
Модифицированная Toyota D4D Hilux, Episode #6 — 4-Wheeling-Australia
www.4-wheeling-in-western-australia.com › d4d-хайлюкс
Эта Toyota D4D Hilux хорошо оборудована и выглядит потрясающе. … так как он знал бы, что настройка и модификация частей транспортного средства никогда не кончатся…
Перечислите свои дешевые моды здесь — 4x4Earth
4x4earth.com › … › Общее обсуждение 4×4
Привет, ребята Просто хотел немного люди, чтобы перечислить самый дешевый тип мода, который вы можете сделать для своего 4wd, скажем, менее 1000 долларов. Возможно, в формате: Мод / Ваш …
Ähnlichesuchanfragen
4×4 модификации рядом со мной
Toyota Hilux
Mighty Car Mods на YouTube
Mighty Car Mods видео
Marty Mighty Car Mods
Mighty Car Mods музыка
WhistlinDiesel Toyota Hilux год выпуска
Towbar Express 9000.
Условия использования Информация о фаркопе Express
1. Кто мы
Вы заключаете договор с Towbar Express Limited, компанией, зарегистрированной в Англии под регистрационным номером 05990815. Юридический адрес: The Old Surgery, Egton, Whitby, North Yorkshire, YO21 1TX. Ссылки на «Towbar Express», «мы», «наш» и «нас» в Положениях и условиях относятся к этой Компании.
2. Наш регистрационный номер плательщика НДС
Наш регистрационный номер плательщика НДС в Великобритании: GB 159 7118 81.
Общие положения и условия продажи
4. Пункт заключения юридического контракта
Когда вы размещаете заказ через веб-сайт на покупку услуг или установку товаров в Towbar Express, это представляет собой «предложение».
Towbar Express отправит вам автоматическое электронное письмо, подтверждающее получение вашего заказа и содержащее его детали. Это не означает «принятие» вашего заказа, независимо от того, был ли ранее произведен какой-либо платеж компанией Towbar Express.
Ваш заказ будет подтвержден вторым электронным письмом («Подтверждение заказа») после того, как мы проверим наличие выбранных вами дат установки и наличие всех деталей, необходимых для выполнения работы.
Мы выбираем от различных поставщиков, включая Witter, Westfalia, Tow Trust, PCT и Brink.
Для большинства автомобилей требуется разрез бампера, чтобы он подходил к фаркопу. Если вы не хотите вносить какие-либо изменения в свой бампер, укажите это при бронировании, чтобы мы могли рассмотреть альтернативные варианты. Если это не указано при бронировании; обратите внимание, что будут внесены изменения, и мы не можем нести ответственность за понесенные расходы.
Вы ни при каких обстоятельствах не должны использовать свой фаркоп в отпуске и т.
д. до тех пор, пока он не будет установлен и вы не проверили фаркоп и всю электрическую часть вашего велобагажника, прицепа или каравана.
В случае, если Towbar Express не принимает ваше предложение и/или не выдает вам Подтверждение заказа, Towbar Express полностью возмещает любые платежи, сделанные вами в рамках процесса заказа.
Настоящие условия являются единственными условиями, на которых компания Towbar Express заключает с вами договор на покупку услуг через ее веб-сайт. Они регулируют договор до полного исключения всех других условий.
Towbar Express оставляет за собой право отказать в приеме вашего заказа исключительно по своему усмотрению. Если есть опасения, что есть попытка разместить заказ нечестным, мошенническим путем, выдавая себя за кого-то другого или пытаясь использовать украденные платежные реквизиты, мы проведем дополнительные проверки и, при необходимости, привлечем внешние органы. Мы оставляем за собой право отказать кому-либо в обслуживании без дополнительных объяснений.
5. Мобильные заказы
Наши сотрудники относятся ко всем клиентам с уважением, и мы ожидаем того же в ответ. Если вы будете грубы или агрессивны по отношению к любому из наших сотрудников в какой-либо момент, ваше бронирование будет немедленно аннулировано, а в дальнейшем обслуживании будет отказано.
5a: Дата и время бронирования
Если вы выбрали конкретную дату бронирования на нашем веб-сайте, это «предпочтительная дата примерки», а не конкретная дата, которая подтверждается. Мы постараемся почтить это. Однако в некоторых случаях нам потребуется изменить дату в зависимости от наличия на складе и т. д. Если нам потребуется изменить дату вашего бронирования, мы сообщим вам об этом как можно раньше.
Если вы заказали установку фургона Towbar Express Mobile Van, один из наших специалистов по продажам свяжется с вами в течение 2 рабочих дней с даты заказа, чтобы договориться о взаимно удобном временном интервале для визита нашего установщика. Встречи для примерки, предлагаемые для мобильных подразделений, — это время прибытия с 8:00 до 12:00 или с 12:00 до 18:00.
Это время прибытия нашего слесаря, а не время, когда работа будет завершена. Например, при бронировании с 8:00 до 12:00 установщик может прибыть в 23:55, и работа может занять до 4 часов.
Мы сделаем все возможное, чтобы наши мобильные инженеры прибыли с вами в указанный период времени и выполнили работу в течение указанного вам расчетного времени, однако время бронирования не является договорным условием. Важно помнить, что время прибытия является приблизительным, потому что могут возникнуть проблемы с дорожным движением или проблемы, не зависящие от нас, которые могут задержать наших водителей. Мы сообщим вам, как только это будет практически возможно, о любых задержках или осложнениях.
5b: Основные ограничения в нашей работе
Для того, чтобы компания Towbar Express выполнила любые необходимые работы с вашим автомобилем;
1. Космос; Нашим монтажникам необходимо будет припарковать свои автомобили непосредственно позади или сбоку от вашего автомобиля, чтобы выполнить любую работу.
Нашим установщикам потребуется достаточное пространство для работы с вашим автомобилем и доступ к их автомобилю для использования инструментов, необходимых для завершения установки и т. д.
2. Безопасность; Вы должны обеспечить безопасность наших монтажников. Мы не можем установить фаркопы или выполнить какие-либо работы на оживленной дороге, в многоэтажном здании и т.п. Наши монтажники должны иметь возможность работать в безопасной зоне, не рискуя причинить вред себе или своему автомобилю.
3. Автомобиль; Для большинства автомобилей требуется разрез бампера, чтобы установить его на фаркоп. Если вы не хотите вносить какие-либо изменения в свой бампер, укажите это при бронировании, чтобы мы могли рассмотреть альтернативные варианты. Если это не указано при бронировании; обратите внимание, что будут внесены изменения, и мы не можем нести ответственность за понесенные расходы.
4. Право; Мы не можем устанавливать фаркопы на какие-либо транспортные средства при парковке на двойных желтых линиях или любом другом месте, которое нарушает закон в соответствии с законами DVLA.
Перед началом работ на вашем автомобиле будут сделаны снимки вашего автомобиля, чтобы зафиксировать все видимые повреждения. Мы исключаем любую ответственность за устранение видимых или невидимых повреждений, существовавших до того, как мы начали работать с вашим автомобилем. Все изображения имеют отметку даты и времени и могут быть запрошены в случае необходимости.
Это относится конкретно к выхлопной трубе вашего автомобиля; Во многих случаях нам нужно опустить заднюю выхлопную систему, чтобы получить доступ к фаркопу. Мы не несем ответственности за замену деталей выхлопной системы, если они повреждены из-за ранее существовавшей коррозии выхлопной системы вашего автомобиля.
Это также относится к бамперу вашего автомобиля. Где требуется подрезка бампера; наши инженеры поговорят с вами перед установкой, если это возможно. Информация находится на нашем веб-сайте, или вы можете позвонить в нашу службу поддержки перед установкой для получения дополнительной информации.
Если ваш автомобиль не имеет возможности буксировки, мы не можем по закону установить фаркоп на ваш автомобиль. Мы рекомендуем вам проверить табличку с VIN-кодом перед бронированием, так как некоторые автомобили различаются по маркам и моделям. На табличке с VIN-номером указано, какую грузоподъемность вы можете буксировать в кг. Если вы не знаете, как читать табличку с VIN, нажмите здесь. href> Плата за вызов будет применяться, если наш инженер приедет к вам на встречу, а ваш автомобиль не имеет возможности буксировки.
Установка фаркопа на ваш автомобиль будет осуществляться после визуального осмотра вашего автомобиля до начала работ. Это гарантирует, что вы выбрали правильные детали для вашего автомобиля. Если в какой-то момент во время установки станет очевидно, что требуются дополнительные детали или работа, мы сообщим вам, прежде чем продолжить.
Мы не можем установить фаркоп на проржавевший металл. Если мы обнаружим, что ваш автомобиль подвергся коррозии, мы прекратим работу и объясним ваши варианты.
В этот момент вы можете потребовать, чтобы дальнейшие работы не проводились, вы будете нести ответственность только за наши расходы, понесенные нами, оставшаяся сумма будет возвращена на вашу карту.
5c: Наша ответственность перед вами
Towbar Express не несет ответственности за какие-либо экономические убытки, возникшие каким-либо образом в результате каких-либо задержек или осложнений, связанных с выполнением Заказа, при условии, что ничто в настоящих условиях не ограничивает или не исключает Ответственность Towbar Express за смерть или телесные повреждения, вызванные доказанной небрежностью. Это включает в себя любые убытки, понесенные из-за пропущенного отпуска, или депозитов на стоянке для караванов и т. д. Вы ни при каких обстоятельствах не должны использовать свой фаркоп в отпуске и т. д., пока он не будет установлен и вы не проверили фаркоп и всю электрику с вашим велосипедным креплением, прицепом или караван.
Мы будем выполнять наши услуги в меру своих возможностей, однако иногда при установке фаркопа на ваш автомобиль могут возникнуть повреждения.
В этом случае мы отремонтируем ваш автомобиль до состояния, в котором он был до повреждения.
Вы признаете, что стоимость ремонта вашего автомобиля в случае его повреждения, вероятно, превысит сумму, которую мы заплатили за наши услуги. Вы соглашаетесь с тем, что наша общая ответственность перед вами обоими за любой сбой обслуживания или повреждение автомобиля ограничивается: (A) общей стоимостью ремонта любого ущерба, который мы причиняем вашему автомобилю; плюс (B) в течение любого периода, когда ваш собственный автомобиль будет недоступен для вас, по нашему выбору, стоимость для нас предоставления вам или оплаты альтернативных транспортных средств или замены транспортного средства по нашему выбору (действуя разумно). За исключением случаев, указанных выше, вы соглашаетесь с тем, что, если мы не написали вам, чтобы подтвердить обратное, прежде чем мы начнем работу, вы и Towbar Express не намереваетесь, чтобы Towbar Express возмещал или компенсировал вам потерю дохода, невозможность использования вашего автомобиля, расходы или расходы, понесенные в результате невозможности использования вашего транспортного средства, потери бизнеса или прибыли, или чисто экономических потерь, или косвенных или косвенных убытков, понесенных вами в результате нашей работы.
Если вы позволите дилерскому центру или компании по управлению авариями управлять процессом ремонта вашего автомобиля, вы, вероятно, понесете расходы, превышающие те, которые мы понесли бы, если бы вы позволили нам управлять ремонтом от вашего имени. Дилерский центр или компания по управлению авариями, скорее всего, предложат вам подменный автомобиль. Стоимость этого транспортного средства, вероятно, будет очень высокой — намного выше, чем затраты на организацию аренды от вашего имени. Мы не будем оплачивать стоимость любого предоставленного вам автомобиля, если мы не договорились об аренде непосредственно от вашего имени. Имейте в виду, что расходы дилерского центра и компании по управлению авариями будут вашей личной ответственностью, и вы можете подвергнуться значительному финансовому риску, если решите воспользоваться их услугами.
6. Отмена работы
Вы имеете право отменить свой заказ в течение 14 дней с момента его принятия нами. Однако если вы просите нас начать выполнение вашего заказа в течение этого периода, вы соглашаетесь отказаться от права отмены.
Плата не взимается, если не были понесены расходы. Если затраты были понесены, вы платите только за выполненную работу или понесенные затраты.
Оплата понесенных расходов потребуется во время отмены. Вся оплата будет возвращена только в том случае, если не было понесено никаких расходов. Обычно это стандартная плата за вызов. Стандартная плата за вызов составляет 9 фунтов стерлингов.0 + НДС = 108,00 фунтов стерлингов.
Если ваш автомобиль не имеет возможности буксировки, мы не можем по закону установить фаркоп на ваш автомобиль. Мы рекомендуем вам проверить табличку с VIN-кодом перед бронированием, так как некоторые автомобили различаются по маркам и моделям. На табличке с VIN-номером указано, какую грузоподъемность вы можете буксировать в кг. Если вы не знаете, как читать табличку с VIN, нажмите здесь. href> Плата за вызов будет применяться, если наш инженер приедет к вам на встречу, а ваш автомобиль не имеет возможности буксировки.
7. Заказ товаров по почте / Только поставка
Вы имеете право отменить свой заказ в течение 14 дней с момента получения товара.
Вы должны сообщить нам в письменной форме или по электронной почте на адрес [email protected], что вы хотели бы вернуть свои товары.
Товары должны быть возвращены невскрытыми в оригинальной упаковке, чтобы мы могли их перепродать. Если вы выбрали экспресс-доставку, будет возмещена только стоимость основной стоимости доставки.
Вы несете ответственность за возврат товара нам за свой счет. Вы можете организовать это сами, или мы можем организовать это для вас через нашего собственного курьера. Стоимость этого будет снижена из вашего возмещения.
8. Плата за хранение
При нормальных условиях плата за хранение не взимается.
9. Оплата
Полная оплата требуется во время бронирования.
10. Снятые детали
За исключением гарантийных и сервисных сменных деталей, снятые детали будут утилизированы компанией Towbar Express. Утилизация будет осуществляться в соответствии с действующими экологическими нормами и законодательными требованиями.
Если вам требуется, чтобы какие-либо детали, такие как защитные балки бампера, были сохранены и оставлены при вас, вы должны обратиться к установщику во время установки, детали не могут быть возвращены позже.
11. Замена
В соответствии с вашими законными правами (которые не затрагиваются данным положением), после установки на ваш автомобиль фаркопа или любой другой детали обмену не подлежит.
12. Возврат средств
В соответствии с вашими законными правами (которые не затрагиваются данным положением) невозможно предложить возмещение после покупки каких-либо деталей, которые использовались в вашем автомобиле. Если вы считаете, что фаркоп или электрическое реле, которые мы установили, неисправны, мы предложим вам возможность приобрести замену, а оригинальную деталь отправим производителю для анализа. Если производитель подтвердит, что продукт неисправен, стоимость покупки взамен будет возмещена. Тем не менее, мы предлагаем расширенные гарантии на нашу работу и запчасти (см.
отдельный раздел).
13. Обновления
Towbar Express оставляет за собой право добавлять, удалять или изменять положения и условия, содержащиеся на этом сайте, без предварительного уведомления.
Условия использования веб-сайта
14. Использование содержимого веб-сайта
Содержание этого веб-сайта (включая, помимо прочего, весь дизайн веб-сайта, текстовую графику, их выбор и расположение, а также все компиляции программного обеспечения, исходный код, программное обеспечение и другую интеллектуальную собственность) защищено авторским правом и находится под право собственности на Towbar Express или его поставщиков/вкладчиков технологий. Вы можете просматривать этот веб-сайт, а также распечатывать или загружать любую его часть только в личных некоммерческих целях. Вы не должны изменять, копировать, публиковать, передавать, отображать, выполнять, распространять, воспроизводить, лицензировать, создавать производные работы, передавать или продавать любую информацию или другой контент, товары или услуги, полученные с этого веб-сайта, без предварительного письменного согласия Towbar Express.
15. Ссылки на сторонние веб-сайты
Этот веб-сайт может содержать ссылки на веб-сайты третьих лиц, отличных от Towbar Express. Такие ссылки предоставляются только для ознакомления. Towbar Express не контролирует такие веб-сайты и не несет ответственности за их содержимое. Включение Towbar Express ссылок на любые такие веб-сайты не означает одобрения материалов на таких веб-сайтах. Любое использование вами этого сайта или любые соглашения, заключенные вами с владельцами этих сайтов, осуществляются на ваш страх и риск.
16. Отказ от ответственности
Весь контент, представленный на этом веб-сайте, предназначен только для информационных целей и никоим образом не создает юридического договора, явного или подразумеваемого, между Towbar Express и вами, за исключением случаев, когда компания Towbar Express согласовывает заказ товары и/или услуги, сделанные вами через этот веб-сайт, который принимает Towbar Express.
Не ограничиваясь вышеизложенным, информация, программное обеспечение, товары и услуги, опубликованные на этом веб-сайте, могут содержать неточности или опечатки.
В информацию, представленную здесь, периодически вносятся изменения. Towbar Express и/или его соответствующие поставщики могут в любое время вносить улучшения и/или изменения на этом веб-сайте. Towbar Express и/или его соответствующие поставщики не делают никаких заявлений о пригодности информации, программного обеспечения, товаров и услуг, содержащихся на этом веб-сайте, для каких-либо целей. Вся информация, программное обеспечение, товары, услуги и материалы, включая текст, графику, предоставляются «как есть» без каких-либо гарантий. В той степени, в которой это разрешено законом, Towbar Express и/или ее соответствующие поставщики настоящим отказываются от всех гарантий и условий в отношении такой информации, программного обеспечения, товаров и услуг, включая все подразумеваемые гарантии и условия пригодности для конкретной цели, права собственности и не- нарушение. Towbar Express не гарантирует, что информация, доступная на этом сайте, является точной, полной или актуальной.
Ни при каких обстоятельствах компания Towbar Express и/или ее поставщики не несут ответственности за любой из следующих убытков или повреждений (независимо от того, были ли такие повреждения или убытки предвидены, предсказуемы, известны или иным образом): (a) потеря данных; (b) упущенная выгода или ожидаемая прибыль; (c) потеря бизнеса; (г) упущенная возможность; (e) потеря деловой репутации или ущерб репутации; (f) убытки, понесенные третьими лицами; или (g) любой прямой, косвенный, штрафной, случайный, особый примерный или последующий ущерб, возникающий в результате или каким-либо образом связанный с использованием этого веб-сайта или с задержкой или невозможностью использования этого веб-сайта, за любую информацию, полученную через это веб-сайте или иным образом возникающие в результате использования этого веб-сайта, будь то на основании контракта, деликта, строгой ответственности или иным образом при условии, что ничто из вышеизложенного и/или ничто в настоящих условиях не ограничивает или не исключает ответственность Towbar Express за смерть или телесные повреждения, вызванные его доказанная халатность.
Вы гарантируете Towbar Express, что не будете использовать этот веб-сайт для любых целей, которые являются незаконными или запрещенными настоящими условиями и уведомлениями. Всегда рекомендуется запускать антивирусную программу для всех материалов, загруженных из Интернета.
17. Применимое право и юрисдикция
Настоящие условия регулируются и должны толковаться в соответствии с законами Англии и Уэльса. Настоящим вы соглашаетесь с исключительной юрисдикцией и местом рассмотрения всех споров, возникающих в связи с использованием данного веб-сайта, в судах Англии и Уэльса. Использование этого веб-сайта не разрешено в любой юрисдикции, которая не соблюдает все положения настоящих условий.
18. Отношения сторон и права третьих лиц
Вы соглашаетесь с тем, что в результате использования этого веб-сайта между вами и Towbar Express не существует никаких совместных предприятий, партнерских отношений, трудовых или агентских отношений. Только вы и Towbar Express имеете право применять настоящие Положения и условия.
Никакая третья сторона не имеет права принуждать к принудительному исполнению каких-либо условий, будь то в силу Закона о договорах (правах третьих сторон) 1999 г. или иным образом.
19. Выходное пособие
Если какая-либо часть этих условий будет признана недействительной или не имеющей исковой силы в соответствии с применимым законодательством, включая, помимо прочего, отказ от гарантий и ограничения ответственности, изложенные выше, то недействительное или неисполнимое положение будет считаться замененным действительным, подлежащим исполнению положение, которое наиболее точно соответствует цели исходного положения, а остальные положения остаются в силе.
20. Полнота соглашения
Настоящие условия являются единственными условиями, на которых Towbar Express готов вести дела с покупателем через этот веб-сайт, и они регулируют договор, вытекающий из любого заказа, сделанного через этот веб-сайт, который принимается Towbar Express к покупателю. полное исключение всех других условий.
Эти условия представляют собой полное соглашение между пользователем и Towbar Express в отношении использования этого веб-сайта и заменяют собой все предыдущие сообщения и предложения.
21. Цены
Предложения только для розничных клиентов. Если вы являетесь торговым клиентом, пожалуйста, свяжитесь с нами, так как мы сможем предоставить вам торговую скидку. В связи с этим следует запросить дополнительную информацию.
Все цены на этом веб-сайте указаны в фунтах стерлингов и включают налог на добавленную стоимость в Великобритании. Если не указано иное, стоимость установки любых приобретенных деталей включена в цену. Ценой товаров и/или услуг является цена, указанная Towbar Express в выданном вам Подтверждении заказа.
Наш веб-сайт содержит большое количество товаров и услуг, и всегда возможно, что, несмотря на все наши усилия, некоторые из товаров и / или услуг, перечисленных на этом веб-сайте, имеют неправильную цену. Мы проверяем цены, включенные в ваш заказ, в рамках наших процедур обработки, чтобы, если товары и / или услуги были оценены неправильно, мы могли, по нашему усмотрению, либо связаться с вами для получения ваших инструкций в отношении вашего заказа, либо отклонить ваш заказ.
и уведомить вас о таком отказе.
Towbar Express оставляет за собой право до заключения соответствующего договора в соответствии с настоящими условиями изменить цену товара.
22. Предложения и дополнительные работы
Все предложения и цены, представленные на нашем веб-сайте, могут быть изменены в любое время, поскольку они зависят от стоимости товаров, предоставляемых нашими поставщиками. Если мы предоставили предложение в письменной форме по почте или электронной почте, оно будет действительно в течение 7 дней.
Если они включают конкретное рекламное предложение с более ранней датой истечения срока действия, дата истечения срока действия рекламных предложений будет четко обозначена.
Как только работа будет начата, вы будете немедленно проинформированы о любых выявленных дополнительных работах. Новое предложение будет подготовлено по запросу, и работа будет выполняться только с вашего согласия.
23. Региональный номер
Операции через этот веб-сайт могут совершать только резиденты и/или физические лица, находящиеся в Соединенном Королевстве.
Все услуги, заказанные или забронированные на этом веб-сайте, выполняются либо в одном из наших центров в Великобритании, либо с помощью одного из наших мобильных монтажных автомобилей в месте, указанном Towbar Express в нашем Подтверждении заказа. Мобильные приспособления могут быть недоступны в некоторых местах.
24. Заявление об отказе от ответственности: выбор правильных запчастей для вашего автомобиля
Установка запчастей на ваш автомобиль будет зависеть от визуального осмотра вашего автомобиля до начала работ, чтобы убедиться, что вы выбрали правильные запчасти для вашего автомобиля. .
Towbar Express предпринимает разумные шаги для обеспечения точности информации на этом веб-сайте, но из-за разнообразия и сложности бамперов и отделки, устанавливаемых на автомобили во время производства и на вторичном рынке, мы не можем гарантировать точность этой информации и результаты проверки. указанные приложения на этом веб-сайте. Towbar Express не несет ответственности и исключает любую ответственность за любые убытки, понесенные в результате любых приложений на этом веб-сайте, которые используются вами для выбора запчастей для вашего автомобиля (используя либо номерной знак транспортного средства, либо тип транспортного средства) или если вы не предоставите правильную информацию о своем транспортном средстве.
Towbar Express также не несет ответственности и исключает любую ответственность за любые убытки, понесенные в результате того, что любой из наших клиентов выбрал и/или заказал у нас неправильный фаркоп или технические характеристики электрооборудования, при условии, что ничто в этих условиях не ограничивает или не исключает фаркоп Ответственность Express за смерть или телесные повреждения, вызванные доказанной небрежностью.
25. Заявление об отказе от ответственности: датчики парковки
Если ваш автомобиль оснащен задними датчиками парковки, мы не рекомендуем устанавливать шаровой фаркоп с фиксированным фланцем. В большинстве случаев подойдет стационарное буксировочное устройство с лебединой шеей. Тем не менее, единственный способ полностью гарантировать, что ваши датчики парковки не зацепятся за шейку фаркопа, — это установить съемный фаркоп. Если вы по своему усмотрению решите установить буксировочный крюк с шаровым шарниром или лебединой шейкой, Towbar Express не будет нести ответственности, если ваши датчики парковки захватят шейку дышла.
В таких обстоятельствах возможно заменить горловину фаркопа на съемную, и мы предоставим вам для этого предложение. Это возможно не со всеми фаркопами.
26. Отказ от ответственности: стабилизаторы и шаровые опоры Alko
Некоторые прицепы оснащены стабилизатором Alko. Вы должны сообщить нам во время подтверждения бронирования, если вы собираетесь буксировать караван, оборудованный стабилизатором Alko.
Этот тип стабилизатора требует дополнительного зазора для буксировочного крюка. Фиксированная лебединая шейка, съемная лебединая шейка и шаровые дышла со съемным фланцем обычно имеют этот зазор в стандартной комплектации. Если вы выбираете шаровой фаркоп с фиксированным фланцем, вы также должны заказать совместимый фаркоп Alko. Вы можете предоставить свой собственный фаркоп для установки нашим установщиком, но в этом случае мы не даем гарантии на состояние фаркопа. Towbar Express не несет ответственности за любой ущерб, нанесенный вашему автомобилю или прицепу в результате использования прицепа, оборудованного стабилизатором Alko с несовместимым фаркопом.
Перед буксировкой необходимо проверить наличие зазора между стабилизатором и автомобилем.
Стабилизаторы Alko требуют удаления краски с шаровой опоры перед буксировкой, чтобы предотвратить загрязнение фрикционных накладок стабилизатора. Наш установщик не будет делать это за вас, и это ваша обязанность сделать это после установки фаркопа.
27. Отмена/перемещение онлайн-бронирований и покупок
Встречи могут быть перенесены на другую дату (при наличии свободных мест) при условии, что между переназначением и первоначальной встречей допускается один свободный рабочий день (например, встречи на четверг могут быть перенесены на полночь вторника).
Вы имеете право бесплатно отменить любую онлайн-покупку или бронирование услуг, направив письменное уведомление до дня предоставления услуги, за исключением случаев, когда компания Towbar Express с вашего согласия начала оказание услуг и понесла расходы.
Если вы заранее оплатили какие-либо услуги Towbar Express и не можете прийти на запланированную встречу, мы можем удержать плату за вызов для покрытия понесенных расходов.
Гарантии
28. Неисправности
Установка фаркопа будет протестирована нашим установщиком во время установки. Однако, если вы обнаружите неисправность фаркопа или проводки, вы должны немедленно сообщить нам об этом.
Мы организуем вызов нашего слесаря в ближайшее доступное время. Обратите внимание, что если мы обнаружим, что какая-либо неисправность не связана с нашей установкой, будет взиматься плата за вызов. Это просто для того, чтобы покрыть наши расходы, связанные с обращением к вам. Это будет обсуждаться во время бронирования любых потенциальных неисправностей.
Мы не будем оплачивать какие-либо сборы от третьих лиц, если они не согласованы с нами заранее. В случае, если мы согласны оплатить любые расходы, мы будем платить только за аналогичную замену любых деталей.
29. Гарантия
Мы предлагаем 12-месячную гарантию на установку фаркопа и электрики. Мы бесплатно устраняем любые неисправности, о которых вы сообщаете нам в течение этого времени.
В отношении всех товаров, произведенных и поставленных нам третьими сторонами, мы передадим вам (насколько это возможно) преимущества любой гарантии, предоставленной нам такими третьими сторонами, и (по запросу) предоставим вам подробную информацию положений и условий такой гарантии и копий любых соответствующих информационных бюллетеней по продукту, технических данных или брошюр по продукту, выпущенных третьими лицами, и вы несете единоличную ответственность за полное исключение нас за соблюдение всего этого.
Наша ответственность в соответствии с настоящим Условием должна исключать любую другую ответственность перед вами, будь то договорная, деликтная или иная, за дефекты товаров и/или стоимость рабочей силы или за любые убытки или ущерб, вызванные товарами и всеми другими условия, гарантии, оговорки или другие заявления относительно товаров, явные или подразумеваемые, по закону, общему праву или иным образом, настоящим исключаются, в частности (но без ограничения вышеизложенного) мы не предоставляем никаких гарантий относительно пригодности для цели , производительность, использование, характер или товарное качество товаров, будь то явным или подразумеваемым, в соответствии с законом общего права или каким-либо иным образом.
30. Общие условия гарантии
Гарантия действует с даты первоначальной покупки.
Гарантии не подлежат передаче и распространяются только на лицо, совершившее первоначальную покупку.
Пожалуйста, убедитесь, что вы сохранили свой счет, так как подтверждение покупки необходимо, прежде чем работы могут быть выполнены в соответствии с гарантией.
На все детали, первоначально приобретенные в Towbar Express, распространяются данные гарантии, однако детали, вышедшие из строя в результате криминального или злонамеренного повреждения, пожара, кражи или использования деталей для автоспорта, арендованных автомобилей или такси, не распространяются.
Если работы должны выполняться не компанией Towbar Express, необходимо заранее получить разрешение от службы поддержки клиентов Towbar Express. Гарантия может быть аннулирована, если детали ремонтируются в мастерской или лицом, отличным от Towbar Express. Towbar Express не несет ответственности за любые детали, снятые с автомобиля или отрегулированные кем-либо, кроме Towbar Express.
