Сцепное устройство для легкового прицепа своими руками
Фаркоп своими руками
Среди водителей, практикующих далёкие загородные путешествия, весьма актуальным является вопрос, как сделать прицепное устройство для автомобиля своими руками.
В продаже можно найти уже готовые варианты на «классику» и на автомобили нового поколения, однако есть категория владельцев машин, которые предпочитают изготовить их самостоятельно.
Заводские изделия по ряду причин не всегда удовлетворяют требовательных пользователей.
Иногда не удаётся найти удачную конструкцию, в ряде случаев у человека возникают собственные идеи, которые он хочет воплотить в жизнь, а некоторые предпочитают потратить время и силы, чтобы избежать лишних финансовых расходов.
В интернете без особого труда можно найти чертежи сцепных устройств для различных марок автомобилей и указания, как сварить и собрать конструкцию. Поройтесь на форумах и специализированных сайтах – и вы сможете выбрать стационарный, съёмный или быстросъёмный вариант под свою модель авто.
Блок согласования для фаркопа своими руками
Для владельцев современных моделей, оснащённых большим количеством электронной «начинки» и компьютерных систем контроля, кроме самого устройства, понадобится специальный смарт-коннектор. Он нужен для того, чтобы электрика машины не воспринимала подключение прицепа как аварийную ситуацию и не использовала экстренное отключение.
Фаркоп является незаменимым устройством для автолюбителей, которые ведут активный образ жизни, любят путешествия, то есть люди, которым приходится часто перевозить габаритные багажи
Дело в том, что фаркоп – это не просто крюк или задняя подножка, это устройство, которое кроме непосредственно сцепления, осуществляет подключение электрооборудования прицепа к бортовой сети авто. При этом включение каждого электрического прибора – это увеличение нагрузки на сеть авто, которое компьютерные системы контроля могут воспринимать как несанкционированное вторжение.
Блок согласования – это аппарат, который помогает грамотно распределить дополнительную нагрузку по схеме, понятной и приемлемой для электроники машины.
Он помогает избежать аварийных отключений, перегрузок и других нештатных ситуаций.
Шар на фаркоп своими руками
Европейские сцепные устройства используют унифицированный шар 50 мм – это единый размер для любых марок авто и прицепов. В Америке встречаются два вида размеров:
Практика показывает, что этот элемент лучше приобрести на авторынке уже готовый. Если не удалось найти подходящий размер, закажите его хорошему токарю – вручную выточить такую деталь не удастся.
Конструкция фаркопа крепится к транспортному средству при помощи специальной площадки
Велосипедный багажник на фаркоп своими руками
Те, кому приходится возить на автомобиле один или несколько велосипедов, стараются придумать максимально удобную конструкцию багажника для перевозки. Его можно установить на крыше машины, но такой вариант негативно отражается на аэродинамических свойствах транспорта.
Более интересен в плане комфорта велосипедный багажник в задней части автомобиля – он имеет специальный колпачок, который надевается на шар и упоры снизу.
Если речь идёт об универсале с пятой задней дверью, можно установить систему типа «калитка» с замками – она позволяет откидывать багажник, чтобы получить доступ для открывания пятой двери.
В нынешнее время выбор подобных аксессуаров весьма разнообразный
Прицепное устройство для прицепа своими руками
Сделать собственноручно прицепное устройство для легкового автомобиля можно при помощи болгарки и сварочного аппарата. Мы приводим основной алгоритм процесса изготовления:
- демонтируйте задний бампер;
- найдите отверстия, которые ведут внутрь пустот лонжеронов;
- измерьте длину отрезка между найденными отверстиями;
- по полученной длине отрежьте участок стальной трубы 50х50 мм;
- сделайте отметку на середине заготовки;
- возьмите два куска листовой стали толщиной 5 мм размером 20х7 см и с краю каждой проделайте отверстия размером 5 см;
- полосы посадите на трубу отверстиями и приварите – расстояние должно позволять поставить между ними сцепной крюк с шаром;
- закрепите крюк гайками и болтами на 10;
- далее переходим к работе над прикреплением к лонжеронам – на торцы наварите стальные полосы толщиной 5 мм и размером 30х7 см.
Направление должно быть противоположным к крюку, а с кронштейном крюка должен получиться угол 900; - эти полосы вставьте в лонжероны;
Источник: https://okuzove.ru/modifikacii/pricepnoe-ustrojstvo-dlya-avtomobilya-svoimi-rukami.html
Пошаговое описание работ
При необходимости отбуксировать крупногабаритный груз в место назначения разумнее воспользоваться прицепом, соединённым с автомобилем через фаркоп. Однако классические модели отечественного автопрома — к примеру, ВАЗ 2107 — таким агрегатом оснащены не были. Вместо него разработчиками предусмотрены проушины для крюка буксировочного троса.
Фаркопом называют тягово-сцепное устройство, предназначенное для буксировки прицепов. Если автовладельца не устраивает объём багажника, предусмотренный производителем при выпуске модели, то установка подобного приспособления становится компромиссным вариантом. Он пользуется заслуженной популярностью среди владельцев частных домовладений и любителей рыбной ловли, так как наличие прицепа позволяет:
- привезти строительные материалы;
- вывезти крупногабаритный мусор с участка;
- вытянуть другую машину из кювета или отбуксировать её до мастерской;
- отправиться на рыбалку с лодкой и прочими приспособлениями для активного отдыха.

Выпускаемые гигантами автомобильной промышленности фаркопы различаются по конструкционным особенностям, характеристикам использованного метала (сорт, прочность, упругость, коррозионная устойчивость), формам крепежа, наличию электропроводки, устойчивости к рывкам и т.п. Одно из самых популярных оснований для классификации — съёмность конструкции:
- стационарные фаркопы устанавливаются один раз и «на всю жизнь»;
Стационарны фаркопы делают, как правило, на совесть
- съёмные модели прицепного устройства позволяют монтировать их только в случае необходимости, однако требуют дополнительных крепёжных элементов.
Съёмный фаркоп — более мобильный вариант
По типу шара различают прицепные устройства следующих типов:
- А — устанавливают, если вес груза не превышает 1,5 тонн, прост и удобен в эксплуатации, может быть оперативно демонтирован;
- Н — менее распространён по сравнению с аналогичным ему по грузоподъёмности типом А, но также используется отечественными автолюбителями;
- F и G — регулируются по высоте крепления, отличаются по количеству отверстий для крепежа, подходят для внедорожников с прицепами массой до 3,5 тонн вместе с грузом;
- V — не регулируется по высоте, как первые два типа, но обладает повышенной грузоподъемностью (до 2,5 тонн)
При стандартной схеме крепления фаркопа к автомобилю понадобится приготовить следующие инструменты и материалы:
- сварочный аппарат;
- дрель и свёрла к ней;
- болгарка;
- гаечные ключи в наборе;
- пассатижи;
- паяльник;
- изолента;
- метровая штанга из железа;
- полуметровая балка-уголок;
- кронштейны;
- подрозетник из металлического кольца;
- крюк или шаровый механизм со встроенными проушинами;
- закладная;
- болты с гайками М12 и М16;
- шайбы на 12 и 16;
- саморезы;
- пятижильный кабель.

Процесс самостоятельного изготовления фаркопа начинается с определения максимально возможной транспортируемой массой, суммированной с общим весом пустого прицепа. От полученной величины и частоты использования зависит выбор крюка сцепного устройства правильной формы:
- при грузоподъёмности не более 1,5 тонн используют простой и надёжный в эксплуатации крюк, прикрепляемый двумя болтами;
- если прицеп будет прикрепляться к машине в редких случаях, то стоит обратить внимание на агрегаты, снабжённые муфтовыми соединениями — они быстро монтируются и так же оперативно демонтируются при необходимости;
- при грузоподъёмности в 1,5 – 3 тонны выбор стоит отдать в пользу торцевого крюкового устройства;
- если крюк также будет изготовлен своими руками, то для него не следует давать тяговую нагрузку больше 900 кг (общая масса груза и прицепа).
Схема сборки фаркопа
Выбрав модель крюка, переходят непосредственно к алгоритму изготовления фаркопа:
- В металлообрабатывающей мастерской заказывают несущую балку — важнейшую часть сцепного устройства.
При наличии соответствующих навыков можно изготовить её самостоятельно, приварив газосваркой к метровой трубе балку-уголок. - Ферму прикладывают к днищу автомобиля, намечая отверстия для монтажа кронштейнов и других элементов.
- Проверяют качество просверленных отверстий и примеряют крепёж.
- Присоединяют к ферме крюк посредством вкручивания двух болтов.
- Справа или слева приваривают кольцо, выполняющее функции подрозетника.
- Шлифуют все поверхности болгаркой и накладывают два слоя грунтовки.
- Балку окрашивают аэрозольной краской и проводят антикоррозийную обработку.
- На яме выполняют примерку всей конструкции из балки и крюка, выясняя, не помешает ли фаркоп рядом расположенным узлам тормозной системы.
- Затяжку болтов и гаек осуществляют попарно до упора.
Фаркоп, разложенный на составные части
В определённых случаях вам может потребоваться установка дополнительного элемента — блока согласования для фаркопа, который позволяет избежать изменения нагрузки в электроцепи транспортного средства.
Такой блок понадобится, если ваш автомобиль:
- снабжён фонарями на светодиодах;
- на дисплей бортового компьютера выводятся сведения об уровне рабочих жидкостей, состояния внешнего освещения и пр.;
- произведён за рубежом.
Подключение фаркопа
Подключение фаркопа к автоэлектрике — финальный этап
После установки металлической сцепной конструкции следует подключить фаркоп к автоэлектрике. Для этого необходимо соблюсти следующую последовательность действий:
- пакуют проводку в термоусадочную трубку или обматывают изолентой;
- демонтируют обшивку багажника;
- жгут провода протягивают в отверстие для провода подсветки номерного знака;
- со стороны багажника монтируют предохранители;
- от предохранителей тянут провода к задним фарам, а противоположный конец провода снабжают наконечниками;
- монтируют провода через наконечники к соединительной вилке под розетку прицепа;
- фиксируют жгут изолентой.

Осталось дело за малым — проверить работу фар и организовать тестовую езду с пустым и полным прицепом вдали от оживлённых дорог, меняя режимы вождения. При тест-драйве обращают внимание на степень деформации балки, качество резьбовых затяжек, устойчивость поверхности крюка к истиранию и пр.
Таким образом, оснащение автомобиля фаркопом позволяет сэкономить на заказе услуг грузотакси, так как прицеп небольшой вместимости избавит от мелких хлопот по транспортировке с дачи урожая картофеля и в доставке на загородный участок стремянки и даже бетономешалки. Агрегаты промышленного производства обладают высокой стоимостью, поэтому при наличии необходимых материалов и инструментов можно попробовать соорудить прицепное устройство самостоятельно.
✓ Сначала нужно снять бампер.
✓ Далее – отрезать проушины.
✓ Здесь нужно взять дрель и проделать отверстия.
✓ Берем сварочный аппарат и свариваем крепеж.
✓ Теперь нужно приварить вторую трубку по центру, для соединения под прямым углом.
✓ Нужно взять шлифовальный круг и крупнозернистую наждачку, и зачистить шов и края трубок.
✓ Изготовленная конструкция покрывается грунтовкой.
✓ Теперь конструкция покрывается краской.
Чтобы усилить лонжерон, устанавливаем небольшой уголок с гайками. Так получится фаркоп со съемной конструкцией. Для питания фаркопа можно использовать фары, для питания розетки применяем коннектор. Готово! Теперь у вас есть полноценный самодельный фаркоп.
При изготовлении самодельного фаркопа необходимо все время его примерять, контролируя место его размещения на машине.
Смарт-коннектор получает управляющий сигнал от «центральной нервной системы» и подключает дозированную нагрузку на нужный провод. Встроенная в блок согласования система защиты предохраняет электрические цепи и электронные «мозги» автомобиля от перегрузок. Бортовой компьютер «не замечает» дополнительного подключения. И вот мы уже едем дальше.
Читать далее: Восстановление отражателя фары — советы и рекомендации
Опции смарт коннекторов бывают обычной или расширенной комплектаций.
Базовые возможности блоков согласования:
- контроль указателей поворота на автоприцепе;
- управление противотуманными фарами;
- подзарядка аккумуляторной батареи прицепа;
- отключение парктроника на время соединения с прицепом.
Расширенные опции:
- «ТПП» – проверка подключения электроцепей автоприцепа;
- управление габаритным огнём слева;
- корректировка противотуманной фары слева;
- противоугонная опция ALARM-info.
Причин для покупки много не бывает
У вас современный автомобиль? Тогда производитель просто не оставил вам выбора. Вы не сможете пользоваться прицепом без блока согласования.
Чтобы воспрепятствовать некорректной работе ламп фаркопа и предупредить сбои в работе электрики авто, необходим Smart Connect – блок согласования, предотвращающий увеличение нагрузки на бортовую сеть. Благодаря предохранителю на 15 А Smart Connect не реагирует на скачки напряжения.
Если на автомобиле установлены программы ABS, TSP, ESP, SFL и др.
, то без установки блока согласования работа автомобиля будет нарушена.
Модуль согласования многозадачен. Он отвечает за переключение противотуманной фары на прицеп, контролирует указатели поворота на прицепе, отключает парктроники при соединении с прицепом.
Имеются блоки согласования с большим количеством функций (PARK SENSOR, ALARM INFO и пр.).
Ещё пара нюансов
Универсальный блок согласования с набором стандартных разъёмов и креплений
Преимущества: универсальный блок дешевле оригинального аналога, совместим с электрикой большинства автомобилей, и не представляет сложности в установке.
Набор электрики универсальный UniKit
Коммутационные блоки Unikit – это промежуточное звено между электрокомплектом тягово-сцепного устройства и электроникой машины. Они разгружают электрическую цепь, отслеживают подключение прицепного устройства и защищают систему от перегрузки и сбоев. В случае необходимости, заменяют только предохранитель Unikit.
Замыкание не повреждает проводку и предохранитель.
Модуль Unikit обеспечивает корректную работу световых приборов и незаменим для авто с однонитевыми лампами, в которых различные сигналы проходят по одному кабелю, а не по разным.
Оригинальный блок для фаркопа Thule. Устройство снабжено инструкцией и крепёжным комплектом.
Преимущества: «умный» прибор с расширенным спектром возможностей.
Как сделать и установить самодельный фаркоп, виды, устройство и крепление
Естественным является желание получить от любого устройства максимальную отдачу.
Поэтому не вызывает удивления, когда обычный легковой автомобиль выступает в не свойственной ему роли тягача, таская за собой порой довольно значительный прицеп.
Реализовать такую идею позволяет фаркоп – специальное прицепное устройство, позволяющее обычному авто буксировать груз.
И хотя не на всех легковых автомобилях есть подобное устройство, в таких случаях можно изготовить и смонтировать фаркоп своими руками.
Прицепное устройство, фаркоп – некоторые технические подробности
Стоит отметить, что при всей обыденности фаркопа и его использования, он является с одной стороны достаточно сложным, а с другой – ответственным узлом транспортного средства. Для понимания подобной истины достаточно представить, что может натворить оторвавшийся прицеп, самопроизвольно движущийся со скоростью хотя бы шестьдесят километров.
Поэтому вопрос крепления фаркопа к машине является не менее важным, чем выбор самого такого изделия. Попробуем сформулировать, что оно собой представляет, его назначение и кратко описать некоторые его характеристики и разновидности.
Устройство фаркопа, его виды и особенности
Фаркопом называют устройство, позволяющее присоединить к автомобилю и буксировать прицеп. Его еще называют тягово-сцепным устройством (ТСУ).
Конструктивно это сцепной шар, закрепленный на авто, к которому крепится сцепная головка, установленная на прицепе.
Такая конструкция фаркопа позволяет транспортировать прицеп общей массой до трех с половиной тонн.
Подобное устройство показано на фото:
Крепится фаркоп к раме машины или кузову. Существует несколько различных видов сцепных шаров и их крепления к раме или лонжеронам машины, некоторые из них приведены на фото:
В зависимости от конструкции крюка, на котором располагается сцепной шар, различают следующие типы фаркопов:
- фиксированный или сварной;
- фланцевый, устанавливаемый на специально предусмотренную площадку;
- съемный.
Их внешний вид можно увидеть на фото:
Как видно из приведенных сведений, универсальный фаркоп ещё не создан.
Каждый тип рассчитан на свой способ крепления и буксировку прицепа с определенной загрузкой.
Фактически, для каждого транспортного средства должен быть свой фаркоп,причем желательно, чтобы это был быстросъемный фаркоп.
Дело в том, что установка подобного устройства на внешнем виде машины сказывается не лучшим образом, и поэтому в тех случаях, когда им не пользуются, имеет смысл снять крюк, тогда фаркоп будет не виден.
Что ещё необходимо знать о ТСУ
Выбирая себе подобное изделие, надо принимать во внимание страну-изготовитель как автомобиля, так и фаркопа. Дело в том, что они бывают:
- европейские (евро фаркоп):
- американские.
Классификация мотоблочных прицепов
Существует несколько основных видов конструкций прицепов к мотоблоку.
С цельным каркасом – борта прицепа жестко раскреплены и являются несъемными, благодаря чему в нем можно перевозить сыпучий и фасованный груз. Кузов закреплен на жесткой раме посредством сварки. С целью выгрузки и загрузки тары, материалов монтируется задний откидной борт.
Прицепное устройство с цельным каркасом для мотоблока
Трансформеры – данная конструкция универсальная, т. к. существует возможность применения прицепа как с жестким кузовом, так и с разборными, откидными бортами. Это дает возможность увеличения площади для перевозки габаритных грузов.
Самосвалы – разновидность прицепов, с помощью которых можно ссыпать груз без особых усилий методом опрокидывания.
Прицепное устройство самосвал для мотоблока
Сцепное устройство и сцепная головка: что есть что и какие они бывают
Здравствуйте, дорогие друзья! Многие из вас собираются установить на автомобиль фаркоп для повышения его возможностей по грузоперевозке.
Потому рекомендую для начала узнать, чем же является сцепная головка и что такое сцепное устройство.
Два понятия, относительно которых возникает много споров, обсуждений и разговоров.
Постараюсь детально рассказать про каждое устройство и помочь вам в выборе.
Сцепные устройства
Если быть точнее, то тягово-сцепные. Не забывает про сидельно-сцепные механизмы, которые также используются для буксировки грузов.
Только они актуальны для тягачей, то есть крупных грузовых машин для перевозки контейнеров и прочих прицепов.
Существуют и прицепные устройства для мотоблока, что тоже для владельцев дачных участков актуально. Но перейдем к главной теме разговора.
Нас же интересует тягово-сцепной вариант устройства (ТСУ).
Их мы и используем для легкового автомобиля.
Но что это за абракадабра такая? Под этим замысловатым названием скрывается привычный вам фаркоп.
Да, правильно его называть тягово-сцепным устройством, хотя по факту все привыкли к простому понятию фаркоп.
Популярностью пользуются такие ТСУ:
- Bosal;
- Лидер-Плюс;
- Трейлер;
- Thule и пр.
Планируя купить их и установить своими руками собственного легкового автомобиля, я бы порекомендовал выбирать качественные изделия, которые прослужат не один сезон.
ТСУ используются для сцепления с разными видами прицепов.
С их помощью мы возим с дачи несколько мешков картошки, самостоятельно транспортируем стройматериалы и используем для разных других задач, экономя деньги на услуги грузоперевозчиков. Поставил его себе на Рено Дастер или на Ниву, и проблем не знаешь. При этом пачкать салон или багажник не нужно.
Но ТСУ бывают разными.
Какие-то рассчитаны на грузоподъемность 3500 кг устанавливаемого прицепа (это, кстати, максимальная нагрузка для легковых авто), а у других она в пару раз ниже.
Этот параметр накладывает ограничения на вес, который способен выдержать элемент.
Конструктивно ТСУ состоят из двух элементов:
- поперечины;
- шарового узла (фиксируется на балке).
Существует три разновидности этого приспособления, каждая из которых имеет свои особенности и функции:
- сварные;
- съемные;
- фланцевые.
Давайте же разберемся, кто есть кто. Сварные ТСУ обладают высокими показателями надежности, но отсоединять вы их не сможете.
То есть фаркоп будет постоянно присутствовать на машине. Раньше это было актуально и распространено.
Но сейчас появились альтернативные решения в виде съемных и фланцевых фаркопов.
Съемные легко снимаются по мере необходимости. Хотя это и так понятно из названия. Зато стоят они дороже сварных. По показателям надежности и прочности при выборе качественного изделия претензий к съемным механизмам нет.
Фланцевые ТСУ монтируются на специальную, заранее подготовленную площадку.
Это обязательно нужно предусмотреть перед установкой.
Хотя я бы назвал их оптимальным решением в условиях современного автомобильного мира и происходящего на дорогах.
Но выбирать в любом случае вам.
Цена на них разная, как и качество, надежность, долговечность. Покупать следует только сертифицированные устройства.
Они изготавливаются согласно действующим официальным стандартам, что гарантирует соответствие выбранному прицепу и сцепной головке.
Вот так плавненько мы переходим к теме сцепных головок. А вы и не заметили.
Сцепные головки
Логично, что ТСУ и сцепные головки как-то между собой связаны. Но как?
Представьте, что у вас есть фаркоп нового или старого образца сварного или съемного типа. Этот фаркоп нужно соединить с вашим прицепом.
Но не будете же вы просто накидывать крюк и ехать. Ничего хорошего из такой поездки не выйдет.
История это наглядно показала, когда появились первые прототипы фаркопов и автомобильных прицепов.
Это повлекло за собой создание замкового сцепного устройства, то есть сцепных головок. Они служат для обеспечения безопасного и надежного соединения фаркопа с прицепом. Располагается замок на самом прицепе (на дышле).
К числу востребованных СГ (сцепных головок) я бы отнес:
- Alko Knott;
- Chooyo;
- Winterhoff.
Но прежде чем покупать их, изучим ключевые особенности устройств.
Современное замковое устройство под прицепы или просто замок состоит из трех компонентов:
- разъемно-сцепного механизма;
- амортизационной системы;
- крепежных элементов.
Первый элемент служит непосредственно для соединения между фаркопом и прицепом для машины. Если диаметр шара 50 мм или вы имеете диаметр 60 мм, тогда и размеры сцепной головки должны быть соответствующими.
Сцепные головки выпускают разных форм, потому они могут легко соединяться с профильными и круглыми трубами, идеально ложась под шар.
Различаются и по диаметру, сечению.
То есть подобрать СГ под трубу сечением 60×60 мм не составит труда.
Сборка кузова и обшивка каркаса
При разметке платформы относительно каркаса добавляются припуски. Они понадобятся для того, чтобы было куда закрепить стойки бортов. Борта прицепа устанавливаются на рамную конструкцию, которая сваривается из уголка 25*25 мм. Сварка выполняется встык, после чего происходит зачистка всех швов. Боковые борта и передний борт фиксируются в неподвижном положении, задний борт держится на дверных петлях и за счет этого получается откидным.
Последовательность сборки съемных бортов:
Чертеж прицепа
- собирается рама;
- подгоняется оцинкованный лист (0,6–1 мм) под размеры рамы;
- вырезаются из листа будущие стенки бортов и прикручиваются шуруповертом к раме.
Днище прицепа для мотоблока делается из стального листа (2–3 мм). Его размеры подгоняются под раму конструкции. После этого стальное полотно приваривается к ней небольшим швом по всему периметру каждые 3 см.
Затем производят установку переднего борта, после монтируются боковые, которые соединяются между собой сваркой. Самым последним крепится задний борт. Для этого размечают и сваривают петли, делают фиксаторы-защелки.
К самодельному прицепу для мотоблока можно приделать сиденье в виде откидной деревянной лавки, расположенной спереди переднего борта.
Тормозная система мотоблока состоит из элементов легкового авто, из которого дополнительно заимствуются колеса и ступица. Чтобы тормоза работали надежно, делают вспомогательный фиксатор рычага.
Тормоза на прицеп к мотоблоку
Как сделать фаркоп своими руками
Многие автовладельцы, не желая переплачивать за услуги грузоперевозок, принимают решение изготовить фаркоп своими руками. Понадобиться он может во многих случаях.
В современном мире прожить без прицепа, имея автомобиль, довольно сложно.
Все рано или поздно делают ремонты в своих домах, и для транспортировки строительных материалов приходится переплачивать и заказывать доставку.
Те, у кого в собственности имеется загородный дом или дача, в конце каждого сезона ломают голову: как перевезти урожай в свое городское жилище.
Жители, проживающие вблизи морей, к началу сезона транспортируют свои лодки и катера к воде. В общем, фаркоп – это незаменимая вещь, которая должна быть на каждом автомобиле, если в вашем гараже, кроме легкового авто, не стоит еще и грузовой.
Фаркоп, если он отсутствует на вашей машине, можно купить на авторынке либо изготовить его самостоятельно. Прицепное устройство для автомобиля своими руками изготовить совсем несложно.
Но самое первое, что нужно знать – прежде, чем возьметесь за материалы, обязательно отправьтесь за регистрацией в ГИБДД, иначе установка фаркопа будет незаконной, и вам придется платить штраф.
Прицепное устройство для автомобиля
Самые интересные и популярные статьи на нашем канале в Яндекс.Дзен
Источник: https://1000sovetov.ru/article_kak-sdelat-farkop-svoimi-rukami
Конструкция средних прицепов
Работу с такой конструкцией необходимо начинать с произведения расчетов, и создания грамотного чертежа.
Мотоблоки средних размеров имеют повышенную мощность, поэтому они легко транспортируют прицепные устройства массой до 500 кг.
Для создания конструкции мастера советуют использовать металлопрокат, который отлично справится с поставленными задачами. Исходя из общих габаритов конструкции необходимо просчитать сколько понадобится металлопроката, а также швеллеров, играющих роль сцепной рамы.
Только максимально точные подсчеты позволят существенно сэкономить на материалах и расходниках, а также намного облегчат сборку прицепа.
Если кузов изготавливается из досок, тогда их стыки нужно скрепить металлическими накладками. Далее кузов необходимо прикрепить к раме при помощи опорных балок. К недостаткам такого прицепа можно отнести отсутствие откидного борта.
Предлагаем ознакомиться Снегирь, или обыкновенный снегирь
Далее необходимо приступать к сборке ходовой части. Для этого можно использовать то, что есть под рукой, от мотоколясок и т. п.
Что касается колесной оси, то эту роль на себя возьмет стержень из стали, диаметр которого 30 мм.
Расчет длины должен быть произведен таким образом, чтобы колесная часть сильно не выступала из-за пределов кузова. Стержень необходимо приварить к корпусу и лонжерону.
Прицеп своими руками: чертежи, размеры, фото полуприцепов к автомобилям
Прицепом называется транспортное средство, у которого не установлен двигатель. Оно предназначено для передвижения в сцепке с автомобилем.
Несмотря на кажущуюся сложность такого приспособления для перевозки грузов, изготовить прицеп своими руками несложно.
Для успешной работы требуется правильно выбрать детали и материалы, выполнить эскизы или чертежи.
Широкое использование полуприцепов и прицепов обусловлено дополнительными удобствами при перевозке тяжестей. На автомобиль приходится только часть нагрузки, что продлевает его эксплуатационный срок.
При разгрузке можно сэкономить драгоценное время, отцепив повозку и оставив ее на месте, а выгрузку произвести в удобное время.
Такой вариант удобен и применяется для доставки грузов между цехами одного предприятия, расположенными на определенном расстоянии.
Все прицепные устройства условно делятся на две группы:
- Автоприцепы специального назначения позволяют учитывать потребности работы с различными грузами, а универсальных машин для такой работы довольно мало. К распространенным видам относят полуприцепы тяжеловозы, сортиментовозы, панелевозы, цементовозы и другие виды прицепной техники.
- Общетранспортная техника включает бортовые, тентованные и другие прицепы различных размеров, предназначенные для перевозки тяжестей любого вида.
Разновидности в зависимости от распределения нагрузки
В конструкциях прицепной техники используются разные системы поворотно-колесного управления для того, чтобы улучшить маневренность и скорость регулирования автопоезда.
Сцепные приспособления являются стандартными в большинстве случаев.
Если у прицепа активный колесный привод от двигателя автомобиля, то такие повозки называются активными автомобильными поездами.
Для приведения такого активного привода в движение используется механическая передача посредством сцепного приспособления или применяется гидропривод.
Если автопоезд имеет два и больше звеньев, то двигатель располагается в секции сзади. Неофициально существует понятие «трейлер», его используют для перемещения автомобилей, другой техники или негабаритных грузов (длинных или с большим весом).
В зависимости от распределения нагрузки между прицепом и тягачом автоприцепы подразделяются на несколько типов:
- Прицеп относится к самостоятельным средствам транспорта и связывается с любым автомобилем с помощью сцепного приспособления иди дышла. Распространенной системой является «крюк-петля». При такой системе вес перевозимого груза через раму прицепа, которая является несущей, и колеса передается на дорогу. Сцепка автомобиля с повозкой используется только для создания тяги.
- На полуприцепах применяют устройства со специальным седельным тягачом, который работает с помощью сцепного шкворня. Груз передает свой вес на прицепную несущую раму, затем распределяется между колесами авто и самого прицепа. В этом случае сцепка применяется не только для создания тягового усилия, но и для перераспределения нагрузки.
Чтобы во время простоя повозка полуприцепа не опрокидывалась, ее снабжают откидными упорными стойками. Полуприцеп не может передвигаться без сцепки с автомобилем. - Роспуск представляет собой одновременно прицеп и полуприцеп и применяется для транспортировки длинных грузов в составе сформированного для этих целей автомобильного поезда. В этом случае тяжесть груза передается на ложементы специального назначения, которые воспринимают нагрузку в передней части на конники тягача. Задняя часть груза давит на конники роспуска. Груз действует частично на авто и частично на раму роспуска и его колеса. Чтобы правильно распределить вес на роспуске, предусмотрено дышло переменной длины.
Крепление конструкции к мотоблоку
Как и основная конструкция рамы, дышло изготавливается из профильной трубы. Дышло может иметь треугольную форму, быть в виде прямой балки. Данный элемент с одной стороны приваривается к лонжеронам прицепа и усиливается ребрами жесткости, что обеспечивает высокую прочность и надежность.
С другой стороны изготавливается и монтируется устройство шарнирного типа. Можно использовать трубу диаметром 1 1/4″–2″ c установленными в середине подшипниками, что обеспечивает легкость и плавность поворота, внутри устанавливается ось, которая фиксируется при помощи гайки и шпильки.
Затем сцепное устройство соединяется с проушиной заводского исполнения на мотоблоке. Этот вид соединения обеспечивает независимость колес прицепа от положения колес мини-трактора. Для соединения можно использовать заводскую сцепку для автомобильных прицепов с фаркопом.
Видео по теме: Прицеп для мотоблока своими руками
Публикации по теме
Как сделать прицеп к мотоблоку своими руками
Мотоблок «Нева» и навесное оснащение
Правила эксплуатации технические характеристики мотоблока Каскад
Советы по созданию сцепного узла
Если вы захотели изготовить это оборудование своими руками, то вы должны больше поработать с инструкцией по созданию сцепного узла.
Самой легкой конструкцией будет 15-сантиметровый штырь, который ставят в отверстие дышла фаркопа устройства. В качестве недостатка такой возможности выступает очень быстрая изнашиваемость, ведь под воздействием крутящегося прицепа разбиваются дырки для сцепки.
Предлагаем ознакомиться Калорийность Пророщенная пшеница. Химический состав и пищевая ценность.
виды, устройство, выбор, популярные модели.
Прицепная техника имеет широкое распространение по всему миру. Различие конструкций поражает воображение. Но что делать, если у владельца несколько прицепов, а то и автопоездов, и каждый из них требует установки особенного сцепного крюка? – Решение этого вопроса осуществляется приобретением универсальной конструкции, которая называется съемный фаркоп.
Съемный фаркоп
В отношении тягово-сцепного устройства(фаркопа) автолюбители делятся на три группы:
- Первые, покупая автомобиль, не задумываются о прицепном устройстве. Но потом некоторые водители жалеют о нереализованной заводской опции.

- Вторые, проявляя интерес к фаркопу, возлагают на него большие надежды. Даже если у них еще нет прицепа.
- А третьи, зная о назначении и технических возможностях фаркопа, могут не купить автомобиль с не понравившимся прицепным. Это касается машин с приличными тяговыми характеристиками семейства внедорожников или специализированной техники.
Особенности эксплуатации
Для многих прицепное – это крюк для буксирования прицепа. Чем он проще, тем дешевле, а значит выгоднее. Но это примитивная позиция поскольку:
- Классическая рамная конфигурация прицепного предполагает сопряжение автомобиля только с определенными прицепами. При этом клиренс обоих ТС играет определяющую роль. Если прицеп не выровнен относительно горизонтальной плоскости, то пострадает развесовка. Не всегда возможно использование такелажных петель или строп для удержания груза по центру. Поэтому различный клиренс вследствие неподходящего крюка создаст проблему:
- Перевес на сцепной узел ослабит рулевое управление.

- Крен на задний борт потянет вверх заднюю ось авто, что плохо для заднеприводной машины.
Съемный фаркоп решает вопрос, так как может находиться в двух положениях относительно клиренса сцепного узла: обычном и перевернутом.
- Сиюминутная надобность перевозки груза за спиной машины заставляет водителя установить крюк с шаром, даже если он этого не хочет. Неэстетичный вид – причина нежелания установки. А полный демонтаж прицепной платформы – непрактичная процедура. Съемный фаркоп и здесь лучший вариант. Две секунды, и крюк в багажнике.
- Аварии по типу удар в спину происходят не без участия тягово-сцепного устройства. Выпирающий шар наносит больший урон, нежели бампер, имеющий вытянутую площадь. Гашение удара в первом случае будет резким. Съемный фаркоп в собранном состоянии не выпирает за бампер, поэтому случайный зацеп крюка исключен.
- ПДД некоторых европейских стран предполагают штрафы за езду с прицепным устройством. Это не значит, что оно запрещено.
Евростандарты признают только съемные фаркопы. А водителю с классической конфигурацией прицепного предстоит лезть под машину и демонтировать устройство или развести руками. Оригинальный самодельный фаркоп - К тому же по крюку можно удариться ногой или испачкаться смазкой, в которой находится шар. В этом вопросе опять побеждает съемный фаркоп. Пустое отверстие закрывается специальной заглушкой.
Виды фаркопов
Тягово-сцепные устройства классифицируются по нагрузочным показателям:
- Малые, выдерживающие до 1,5 тонны. Легковой вариант.
- Средние до 2,5 тонны. Вариант для внедорожника и микроавтобусов.
- Большие до 3,5 тонны. Подходят для грузовиков и тяжелых внедорожников.
Вид конструкции понятен из названия:
- Несъемный фаркоп. Некоторые европейские модели. Крепятся в штатные места.
- Условно-съемный. Оснащен шарниром, с помощью которого прячется под бампером.
- Съемный. Представлен съемным классическим крюком с шаром или кронштейном понижения на американский манер.
Типы фаркопов
Кроме типов «А», «F» и «Е» существуют другие стандартизированные образцы:
- «H» практически идентичен «А», но редко встречается в России.
- «G» аналог «F», но уже с шестью отверстиями для крепления.
- «V» имеет грузоподъемность до 2,5 тонны.
- «BMA» вариант люкс для дорогих иномарок.
В отдельную группу выделяются фаркопы без балки. Как правило, они выпускаются для автомобилей марки Jeep и закрепляются в штатные отверстия под бампером. Торчать может или приемник фаркопа, или крюк.
Различия европейских и американских фаркопов
На самом деле тонкостей у съемного устройства хоть отбавляй. Различают американские и европейские съемные ТСУ. Уникальностью американских образцов является универсальность. Это своего рода конструктор:
- Шар любого диаметра.
- Варианты фиксирующих пальцев.
- Электрика.
- Понижение или повышение кронштейна.
Европейский тип фаркопа
У рам американского типа есть приемник квадратного сечения 5х5 см или 2х2 дюйма.
В этот приемник-трубу вставляются кронштейны. Самый популярный кронштейн с понижением на 5 см при перевороте на 180 градусов относительно продольной оси становится прямым. Практически без понижения. Если тягач выше прицепа на 15–18 см, то подойдет кронштейн на 6 дюймов, который при перевороте выровняется с другим прицепом, оснащенным, например,16-ти дюймовыми колесами. Приемник съемного фаркопа имеет другие назначения:
Американский тип фаркопа
- Установка площадки с электрической лебедкой, использовать которую можно тогда, когда она нужна. Допустим, в лесу.
- Установка велосипедного крепления.
- Монтаж багажной корзины.
- Использование реечного домкрата. Верхняя стенка упора хорошо подходит для этого.
- Создание транспортировочной системы для длинномерных грузов совместно с багажником на крыше машины.
Багажник на фаркоп для перевозки мотоцикла
Американский съемный фаркоп обладает повышенной тяговой нагрузкой до 2,5 тонны и вертикальной до 300 кг.
Этой универсальности лишены европейские прицепные устройства. Их отличительной чертой является фиксированный шаровой узел. Крюк с шаром всегда находится на одной высоте, а диаметр шара неизменен – 50 мм. Между собой они отличаются типом крепления шара к балке:
- Самый распространенный помечается индексом «А». Это значит, что к балке приварено два кронштейна, и между ними проходит крюк, который фиксируется на два болта. Тяговая нагрузка составляет 1,5 тонны, а вертикальная 75 кг.
Фаркоп Bosal
- Но в отличие от несъемного «А» есть еще один распространенный тип «F». Это съемный фаркоп, который можно открутить и сместить ниже. Площадка приварена к балке фаркопа и нагрузки у нее повыше: вертикальная 100 кг, тяговая 2 тонны.
- Третий по распространению вид «Е». А также к балке приварена платформа, но вместо крюка вставляется модуль, а в него уже крюк. Это тоже съемный фаркоп. Но крюк с шаром будет всегда одной высоты 50 мм.
К плюсам европейских съемных устройств относится полная комплектация:
- Крюк.

- Шар.
- Колпачок.
- Подрозетник.
- Электрическая розетка с проводами.
- Крепежные элементы.
Как выбрать съемный фаркоп
Для того чтобы это сделать, необходимо понять, как возить за собой прицеп. А он должен стоять так же ровно, как и автомобиль, то есть иметь аналогичный клиренс. Любой крен увеличивает нагрузку на шаровой узел, что может повлечь потерю прицепа. Универсальная формула подбора выглядит так:
- Установить прицеп с одинаковой высотой от земли в задней точке и в точке сцепки.
- Замерить расстояние от земли до верхней стенки приемника фаркопа и от земли до сцепного устройства, которое закреплено на дышле прицепа.
- Разница между двумя расстояниями необходима для подбора кронштейна.
Во-вторых, определить предмет груза, а точнее, с грузоподъемностью прицепного устройства. От этого параметра отталкивается цена.
Третий момент заключается в частоте использования:
- Для постоянной эксплуатации нужна неразборная конструкция.

- Для редкой – съемная.
Производители съемных ТСУ
Производители, используя технологичное оборудование при изготовлении ТСУ, шагнули очень далеко. Конечный результат виден на сложных испытаниях и тестах металла. Среди лидеров производства выделяют:
- Westfaliсa с устройствами бизнес-класса, обладающими высокими характеристиками по грузоподъемности. Модели оснащаются сложной системой запирания крюка в приемнике.
- Bossal. Помимо качества фирма следит за дизайном. А это поле для творчества. Сколько бамперов, столько и прицепных балок с крюками и шарами.
- Thule сочетает шведское качество с европейскими стандартами. Компания дает серьезные гарантийные обязательства на выпускаемые фаркопы.
Фаркоп Bossal Power
Среди европейских съемных крюков выделяется особо технологичный премиальный фаркоп компании Bossal Power бельгийского производства. Декоративная хромированная пластина, которая закреплена сверху балки, оснащена горящей световой надписью «Bossal Power», подключаемой к габаритным огням.
Фаркоп redBTR
Среди американских популярны модели фаркопов отечественной компании«redBTR» со стандартным занижением на 2 дюйма. Черное антикоррозионное покрытие обеспечивает приличный срок службы. Универсальность позволяет использовать шары разного диаметра и удлинители. Это простая конструкция, которая обладает потенциалом.
Съемный фаркоп своими руками
Если у автолюбителя хватает уверенности в собственных силах, необходимого материала и инструментов, тогда изготовление прицепного пройдет легко и интуитивно. Главное в этом деле – ребра жесткости или так называемые косынки.
- Для американского варианта понадобится труба квадратного сечения. За неимением такой надо сварить друг с другом два уголка шириной 5 см.

Если есть балка с приемником, установленная на автомобиле, процесс создания съемного фаркопа прост. Только надо предусмотреть отверстие для пальца. Второй элемент – это Г-образная шина. Выгнуть ее порой проблематично, но поперечный надпил в месте сгиба решит задачу. Согнутую шину необходимо просверлить для установки шара и приварить к квадратному профилю. Затем обработать швы болгаркой. Третий и завершающий этап приварить в углы треугольные косынки. Всего 4 штуки. Мастерский одиночный шов сварки избавит от излишней зачистки при помощи болгарки. Грунтовка выполняется на свое усмотрение, цветовая гамма желательно черная. - Создание европейского фаркопа гораздо сложнее. Так как балка или платформа самодельного устройства крепится к раме машины, необходимо составить чертеж конструкции. Штатные отверстия – это то, отчего стоит отталкиваться. К просверленной платформе заданных размеров привариваются две вертикальные поперечины – среднее звено фаркопа. Крюк с шаром приобретается отдельно.
При совмещении крюка и поперечин обозначатся места сверления для двух болтов в этих поперечинах. Итак, съемный европейский фаркоп приобретает узнаваемые черты:
- Площадка или платформа, соединенная с рамой.
- Середина в виде поперечин с двумя отверстиями.
- Между ним помещается и фиксируется крюк.
Видеоролик о изготовлении крюка съемного фаркопа своими руками
Половина дела сделана. Остается крепеж для розетки, покраска и испытания. Один совет: при демонтаже крюка поперечины торчать не должны.
Каждая ямка и кочка отражается весом прицепа в геометрической прогрессии в ударах по фаркопу и болтовым соединениям. Езда по российским дорогам убеждает водителя в необходимости дополнительного запаса прочности.
Фаркоп своими руками — чертежи, как сделать
Среди водителей, практикующих далёкие загородные путешествия, весьма актуальным является вопрос, как сделать прицепное устройство для автомобиля своими руками.
В продаже можно найти уже готовые варианты на «классику» и на автомобили нового поколения, однако есть категория владельцев машин, которые предпочитают изготовить их самостоятельно.
Заводские изделия по ряду причин не всегда удовлетворяют требовательных пользователей. Иногда не удаётся найти удачную конструкцию, в ряде случаев у человека возникают собственные идеи, которые он хочет воплотить в жизнь, а некоторые предпочитают потратить время и силы, чтобы избежать лишних финансовых расходов.
В интернете без особого труда можно найти чертежи сцепных устройств для различных марок автомобилей и указания, как сварить и собрать конструкцию. Поройтесь на форумах и специализированных сайтах – и вы сможете выбрать стационарный, съёмный или быстросъёмный вариант под свою модель авто.
Смотрите также:
Блок согласования для фаркопа своими руками
Для владельцев современных моделей, оснащённых большим количеством электронной «начинки» и компьютерных систем контроля, кроме самого устройства, понадобится специальный смарт-коннектор.
Он нужен для того, чтобы электрика машины не воспринимала подключение прицепа как аварийную ситуацию и не использовала экстренное отключение.
Дело в том, что фаркоп – это не просто крюк или задняя подножка, это устройство, которое кроме непосредственно сцепления, осуществляет подключение электрооборудования прицепа к бортовой сети авто. При этом включение каждого электрического прибора – это увеличение нагрузки на сеть авто, которое компьютерные системы контроля могут воспринимать как несанкционированное вторжение.
Блок согласования – это аппарат, который помогает грамотно распределить дополнительную нагрузку по схеме, понятной и приемлемой для электроники машины. Он помогает избежать аварийных отключений, перегрузок и других нештатных ситуаций.
Смотрите также:
Шар на фаркоп своими руками
Европейские сцепные устройства используют унифицированный шар 50 мм – это единый размер для любых марок авто и прицепов.
В Америке встречаются два вида размеров:
- двухдюймовый;
- 17/8 дюйма.
Практика показывает, что этот элемент лучше приобрести на авторынке уже готовый. Если не удалось найти подходящий размер, закажите его хорошему токарю – вручную выточить такую деталь не удастся.
Конструкция фаркопа крепится к транспортному средству при помощи специальной площадкиВелосипедный багажник на фаркоп своими руками
Те, кому приходится возить на автомобиле один или несколько велосипедов, стараются придумать максимально удобную конструкцию багажника для перевозки. Его можно установить на крыше машины, но такой вариант негативно отражается на аэродинамических свойствах транспорта.
В нынешнее время выбор подобных аксессуаров весьма разнообразныйБолее интересен в плане комфорта велосипедный багажник в задней части автомобиля – он имеет специальный колпачок, который надевается на шар и упоры снизу. Если речь идёт об универсале с пятой задней дверью, можно установить систему типа «калитка» с замками – она позволяет откидывать багажник, чтобы получить доступ для открывания пятой двери.
Смотрите также:
Прицепное устройство для прицепа своими руками
Сделать собственноручно прицепное устройство для легкового автомобиля можно при помощи болгарки и сварочного аппарата. Мы приводим основной алгоритм процесса изготовления:
- демонтируйте задний бампер;
- найдите отверстия, которые ведут внутрь пустот лонжеронов;
- измерьте длину отрезка между найденными отверстиями;
- по полученной длине отрежьте участок стальной трубы 50х50 мм;
- сделайте отметку на середине заготовки;
- возьмите два куска листовой стали толщиной 5 мм размером 20х7 см и с краю каждой проделайте отверстия размером 5 см;
- полосы посадите на трубу отверстиями и приварите – расстояние должно позволять поставить между ними сцепной крюк с шаром;
- закрепите крюк гайками и болтами на 10;
- далее переходим к работе над прикреплением к лонжеронам – на торцы наварите стальные полосы толщиной 5 мм и размером 30х7 см.
Направление должно быть противоположным к крюку, а с кронштейном крюка должен получиться угол 900; - эти полосы вставьте в лонжероны;
- в задних лонжеронах и вставленных пластинах высверлите отверстия диаметром 12 мм;
- к ним приварите гайки того же размера;
- возьмите пластину толщиной 3 мм и разметьте отверстия под розетку, после чего просверлите их;
- приварите пластину к кронштейну крюка, установите на неё розетку.
Изделие готово – можете устанавливать его и подключать к электросети машины.
Смотрите также:
Фаркоп «квадрат» своими руками
Американский фаркоп отличается от европейского тем, что он сделан под квадрат, а не под шаровое сцепление. Вместо шарового сцепного крюка, там квадрат размерами 50х50 мм – ниже мы рассмотрим, как его можно сделать самостоятельно:
- С 200-миллиметрового швеллера срежьте края, чтобы получилась пластина нужной длины – в ней просверлите отверстия под крепления на раму;
- Для дополнительного крепежа по вертикали наварите уголок 50х50х4;
- Расточите в раме те отверстия, которые уже есть – сквозь них просверлите ещё в верхней части;
- Внутрь рамы вставьте куски полудюймовой трубы, чтобы её не сплющивало при затягивании крепёжного болта;
- В качестве горизонтального участка наварите полуметровые пластины толщиной по 8 мм и шириной по 10 см;
- Из двух уголков 75х75х6 сделайте трубу и приварите к крепежам;
- возьмите профильную трубу 60х60х4 длиной 20 см и наварите на рабочий торец полосу стали толщиной 4 мм и длиной 30 мм;
- в силовой раме вырежьте под квадрат участок, поместите его туда.
Приварите и усильте откосами; - далее понадобится просверлить отверстия под стопорный палец;
- теперь можно переходить к шлифовке, шпатлеванию и грунтовке, после чего выполняется окрашивание – краска высохла, изделие готово.
Смотрите также:
Как крепится фаркоп
Крепится сцепное устройство к силовым частям кузова, но ни в коем случае не к бамперу – последний не в силах выдерживать нагрузки, связанные с перемещением прицепа.
Ниже мы подаём несколько примеров, куда крепится сцепное устройство в некоторых машинах.
На «Ниву»
Фаркоп на Ниву представляет собой конструкцию из сцепного шара, который ставится на автомобиль, и сцепной головки, которая ставится на дышло прицепаНа «Рено Логан»
Для автомобиля Рено Логан, используется самый простой тип конструкцииНа ВАЗ 2109 и на ВАЗ 21099
Установка фаркопа является сложным процессом и предусматривает некоторые трудностиНа ВАЗ 2110
На ВАЗ 2107
Смотрите также:
Фаркоп на «Ниву» своими руками
Теперь несколько слов о том, как изготовить своими руками сцепное устройство на «Ниву» – чертежи и общие рекомендации.
На «Ниву» 21214 или другую классическую модель обычно устанавливают конструкции следующего рода:
Сборка и установка осуществляется по следующей схеме:
На «Шевроле Нива» схема выглядит следующим образом:
Кстати, подобный принцип используется и при установке на «Лачетти» универсал.
Смотрите также:
Фаркоп для «Логана» своими руками
На картинке ниже приведено сцепное устройство для «Рено Логан»:
Для его изготовления понадобятся чертежи и размеры отдельных элементов:
Силовая балка
Кронштейн сбоку
Крюк с шаром
Фланец
Правая и левая щёки
Установка выполняется в специальные технологические отверстия, предусмотренные производителем для этой цели – их понадобится освободить от заглушек и клейкой ленты.
Фаркоп на «Дастер» своими руками
Ниже приводим вариант на «Дастер» – чертежи и схемы для самостоятельного изготовления и установки.
На Дастер 2014 4 на 4 подойдёт следующий вариант:
Для самостоятельного производства понадобятся чертежи отдельных элементов на «Дастер» 4х4:
Смотрите также:
Фаркоп на «Нексию» своими руками
На «Дэу Нексия», на «Ланос» и на «ДЭУ Сенс» производитель не предусмотрел специальных посадочных мест для крепления сцепного устройства. Поэтому придётся повозиться со сверлением дополнительных отверстий – установка выполняется на лонжероны и днище.
Фаркоп монтируется при помощи дрели и болтовУстанавливаем фаркоп на «Рено Логан» своими руками
Установка сцепного устройства на «Логан», так же как на «Рено Дастер», «Сандеро Степвей» и «Флюенс», выполняется в технологические посадочные места, предусмотренные производителем. Поэтому, подыскивая в интернете чертежи или составляя собственный проект, проследите за тем, чтобы размеры крепёжных отверстий совпали с посадочными гнёздами в авто.
Прицепное устройство состоит из двух узлов — несущей рамы и соединительного механизмаСмотрите также:
Устанавливаем фаркоп на УАЗ своими руками
В продаже можно найти без особых проблем сцепные устройства для различных моделей УАЗ.
Для тех, кто предпочитает изготовить их своими силами, не составит труда найти чертежи для УАЗ «буханка», на УАЗ 469, УАЗ «Хантер», УАЗ «Фермер» или «Патриот».
Ниже мы приводим несколько фото, как это может выглядеть.
Кроме подбора прицепа с требуемыми характеристиками, нужно приобрести или сделать своими руками фаркоп для УАЗСамый простой магазинный фаркоп состоит из крепежной основы с закрепленным на нее транспортировочным крюком с шариковым наконечникомСмотрите также:
Устанавливаем фаркоп на «Ховер» своими руками
Установка на «Грейт Вол Ховер» также не потребует сверления дополнительных посадочных мест – производитель их предусмотрел в раме. Однако возможно придётся слегка подрезать бампер.
Ниже приводим общий вид сцепного механизма для Ховера Н3 – лучше всего приобрести штатное изделие, размеры которого подходят к посадочным местам в машине.
В комплекте с изделием идут чертежи, которые наглядно демонстрируют алгоритм его установки на транспортное средство.
Ниже приводим фото съёмной конструкции для «Ховера» Н5 – размеры те же, что и для Н5.
Примеряйте фаркоп на то место, куда он будет установлен, т.е. к задней части кузова автомобиляСмотрите также:
Устанавливаем фаркоп ВАЗ 2111 своими руками
Установка сцепного устройства на различные модели ВАЗ не составит труда – вместе с изделием в комплекте обязательно идут чертежи, которые помогут разобраться со всеми нюансами такой работы.
Ниже приводим фото автомобилей этой марки, чтобы показать наглядно, как на них становится сцепной механизм.
ВАЗ 2101
Делать это очень просто и не требует даже разборки автомобиля, так как прицепное крепится просто под бампером машины и выступает на несколько сантиметров за негоВАЗ 2105, 2106, 2107
Самодельные фаркопы, сделанные руками самих автовладельцев могут быть опасны и ненадежныВАЗ 2109, 2199, 21099, 2110
Если Вы живете в частном доме или имеете дачу за городом, то рано или поздно Вы столкнетесь с необходимостью установки фаркопа на автомобиль Ваз 2109ВАЗ 2112, 2114, 2115, 21213
Перед тем, как отправиться в специализированный магазин с целью приобрести тягово-сцепное устройство, выясните особенности конструкции задней части вашего автомобиляyoutube.com/embed/dcJcyL8aWgw?feature=oembed» frameborder=»0″ allow=»accelerometer; autoplay; encrypted-media; gyroscope; picture-in-picture» allowfullscreen=»»/>
[democracy]
[democracy]
Если хотите больше интересных статей по тематике авто, подпишитесь на наш канал в ЯндексДзен.
Автор: Семин Виктор Юрьевич
Образование: Самарский автодорожный колледж. Инженер телекоммуникаций и электроники. Водитель второй категории/автослесарь. Навыки ремонта машин отечественного производства, ремонт ходовой, ремонт тормозной системы, ремонт коробок передач, кузовные…
Фаркоп своими руками. Материалы, схема конструкции.
У автовладельцев, живущих за городом или имеющих в собственности домик в деревне в качестве дачи, частенько возникает необходимость в перевозке объемных грузов.
Те из них, кто еще не обзавелся прицепом для автомобиля, в большинстве своем, хотят сделать это. Несмотря на то что автомагазины сегодня предлагают широчайший ассортимент тягово-сцепных устройств, некоторым водителям иногда все-таки не удается найти прицепное для своей модели автомобиля либо цена его оказывается непомерно высока. Возможность сделать фаркоп своими руками приближают таких автолюбителей к исполнению желания перевозить крупногабаритные грузы на собственном прицепе.
Так как тягово-сцепное устройство (ТСУ) для автомобиля не может быть универсальным, подходящем для любой модели, то рассмотрим его изготовление на примере автомобиля Skoda Octavia Combi. Ниже мы опишем как сделать фаркоп для указанного авто.
Детали, материалы и инструменты для изготовления ТСУ
Чтобы изготовить фаркоп своими руками понадобится:
- Сварочный аппарат.
- Угловая шлифовальная машинка (болгарка). Отрезные и зачистные диски.
- Защитные очки.
- Дрель.
- Сверла.

- Стальной шар на крюке. Его диаметр зависит от изготовителя прицепа.
Прицепное устройство для прицепа, сделанного в Европе, должно иметь шар диаметром 50 мм. Шар для «американцев» бывает двух вариантов: диаметром 2″ то есть 50,8 мм, или 17/8″ что равно 53,975 мм. Для прицепа российского производства его диаметр ровно 50 мм как для европейца.
Крюк с шаром можно недорого купить на авторазборе, а если не удастся найти готовый, попробуйте заказать изделие токарю и загнуть под нужным углом.
Также необходимо иметь в наличии:
- Отрезок стальной трубы сечением 50 × 50 мм длиною чуть больше полутора метров.
- Две полосы листовой сталь толщиной 5 мм 300 × 70 мм и еще пара такой же толщиной размером 200 × 70 мм, а также фрагмент стального листа толщиной 2 мм размером приблизительно 120 × 120 мм для кронштейна под розетку.
- Болт М 10 × 1,25 длиною 80 мм с гайкой ― 2 шт.
- Болт М 12 × 1,25 длиною 50 мм с гайкой ― 6 шт.

- Винты с гайками для крепления розетки (М 3 или М4 длиною около 40 мм).
- Розетка.
- Разноцветные многожильные медные изолированные провода, и ПХВ изолента.
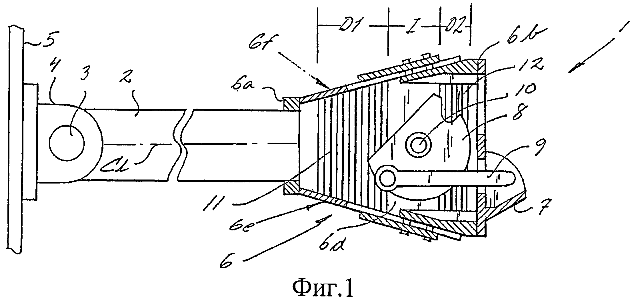
Описание техпроцесса
- Снимите задний бампер автомобиля. Под креплением бампера находятся два отверстия открывающие полости внутри лонжеронов.
- Измерьте расстояние между наружными краями отверстий внутрь лонжеронов. Отрежьте от трубы часть длиною равной этому расстоянию.
- Отметьте середину, получившегося отрезка.
- На краях полос длиною 20 см прорежьте отверстия 5 × 5 см. Наденьте полосы отверстиями на середину трубы и приварите к ней на расстоянии, позволяющем, вставить между ними крюк с шаром. Если в крюке есть крепежные отверстия просверлите такие же в пластинах, соответственно им, и закрепите между ними крюк при помощи болтов с гайками на 10.
Крепления фаркопа к лонжеронам
- К концам трубы приварите полосы длиною 30 см так чтобы они были направлены в сторону противоположную направлению крюка под прямым углом к его кронштейну.

- Вставьте, приваренные полосы внутрь лонжеронов.
- Просверлите снаружи в каждом заднем лонжероне автомобиля три отверстия диаметром 12,5 мм, так чтоб просверлить и вставленные пластины.
- Примерьте бампер крюк должен находиться достаточно низко, для того чтоб не мешать ему сесть на свое место и достаточно высоко, чтобы не задевать за дорогу во время движения.
- Снимите конструкцию, сверлом большего диаметра сделайте фаску с обеих сторон отверстий и приварите к пластинам гайки М 12 напротив каждого отверстия со стороны выхода сверла. Чтобы гайки не смещались во время сварки прикрутите их болтами.
- В пластине толщиной 3 мм сделайте необходимые для установки розетки отверстия: одно большое под контакты разъема и несколько маленьких для крепления. Приварите ее к кронштейну крюка параллельно трубе.
- Не забудьте сделать устройство для крепления страховочных цепочек. Как его делать определите сами, рассмотрев цепочки прицепа на предмет предполагаемого варианта фиксации.

После выполнения пункта № 11 вы, практически, сделали фаркоп своими руками. Вам осталось его только установить и подключить розетку к проводке автомобиля.
Полезные советы
- Ввиду, того что поломка конструкции во время движения может натворить много бед. Избегайте сварки металла встык. Поэтому предпочтительней для крепления стальных полос к краям балки прорезать в них отверстия по размеру сечения трубы, надеть их на ее концы, а затем обварить.
- Не работайте болгаркой без защитных очков, и не варите без маски: берегите глаза.
- Если хотите окрасить новый фаркоп своими руками, то вначале, хорошенько подготовьте к покраске его поверхность. Для этого протравите ее любым средством, для преобразования ржавчины в состав которого входит ортофосфорная кислота. После чего прошлифуйте поверхность водостойкой наждачной бумагой, поливая ее водой для смывания отходов. Высушите узел обезжирьте растворителем для нитрокрасок или ацетоном, и покройте адгезионным грунтом из баллончика.
Высушите грунт в соответствии с инструкцией. Прошлифуйте наждачной бумагой № 400 с водой чтобы поверхность после высыхания воды была равномерно матовой. Поверхность готова ― сушите, обезжиривайте спиртом или бензином Б-70 (растворителем свежий грунт размажется). Затем можно красить. После такой подготовки ваша краска будет держаться очень долго.
Как сделать сцепку для мотоблока своими руками
Приобретая мотоблок, покупатели часто сталкиваются с проблемой ограниченных возможностей из-за минимальной заводской комплектации техники. Решить этот вопрос можно покупкой сцепки фирменного производства. Более экономный вариант выхода из ситуации заключается в изготовлении сцепки своими руками.
Блок: 1/3 | Кол-во символов: 342
Источник: https://o-motoblokah.ru/navesnoe-oborudovanie/stsepka
Выбор сцепного устройства
Всякое прицепное либо навесное приспособление для мототехники, будь то тележка-прицеп, сенокосилка, окучник, борона или любое иное оснащение фиксируется посредством сцепки.
Если базисный элемент не подходит, у хозяина имеется выбор – купить пригодную либо изготовить сцепку для агрегата собственными руками.
Как бы там ни было, решая, какой из вариантов механизма способен по максимуму отвечать функциям, которые исполняет агрегат, необходимо брать в расчет ряд факторов, в списке которых:
- отличительные черты культиватора либо мотоблока;
- сфера использования агрегата – обязанности, которые он исполняет;
- оснащение, которое будет с ним интегрироваться;
- нагрузки;
- потребность в многофункциональности.
Отталкиваясь от этого, необходимо тщательно ознакомиться с особенно часто практикуемыми устройствами и выбирать, беря за основу свойства того, что лучше всего подойдет в этом случае.
Блок: 2/5 | Кол-во символов: 1160
Источник: http://www.stroy-podskazka.ru/motobloki/scepka-svoimi-rukami/
Советы по сборке адаптера
Специальное оборудование для мотоблока спокойно может быть сделано почти любым мастером.
Для создания адаптера нужно взять такую трубку, которая имеет прямое сечение, ее длина должна быть 1,7 м.
К одному из концов перпендикулярно придется приваривать трубу, длина которой будет 0,5 м. Эта часть будет основанием для удержания стоек под колеса. Высота стоек от оси до верхней части будет равняться 0,3 м. На новом этапе к центральной трубе и втулке колес нужно присоединить раскосы и зафиксировать их. Длина заготовки зависит от наклона и угла.
Квадратная рама может быть любого размера. В нашем варианте будут разобраны следующие размеры: 0,4×0,4 м. Если вы собрались сделать такое навесное устройство для мотоблока самостоятельно, то к заднему торцу рамы нужно прикрепить швеллер, длина которого будет 0,4 м. Собрать боковые трубы в одну конструкцию можно при помощи болтов.
Для того чтобы у вас была возможность регулировки, стоит присоединить рычаг, который должен иметь 3 колена, их длина будет такой: 20, 30 и 50 сантиметров соответственно.
Для того чтобы увеличить прилагаемые силы, рычаг стоит дополнить 75-сантиметровым рычагом.
Сцепной узел можно купить или сделать своими руками.
От качества сцепки зависит длительность использования нашего оборудования. На опору из металла нужно зафиксировать сиденье, которое присоединяется к центральной трубе. После этих выполненных действий можно считать, что вам удалось создать прекрасное оборудование для мотоблока. Его плюсами являются небольшая цена и легкость конструкции.
Советы по созданию сцепного узла
Если вы захотели изготовить это оборудование своими руками, то вы должны больше поработать с инструкцией по созданию сцепного узла. Самой легкой конструкцией будет 15-сантиметровый штырь, который ставят в отверстие дышла фаркопа устройства. В качестве недостатка такой возможности выступает очень быстрая изнашиваемость, ведь под воздействием крутящегося прицепа разбиваются дырки для сцепки.
Блок: 2/4 | Кол-во символов: 1991
Источник: https://tokar.
guru/stanki-i-oborudovanie/motobloki/izgotovlenie-scepki-dlya-motobloka-svoimi-rukami.html
Как изготовить универсальное соединение?
Универсальная конструкция сцепки подстроит навесное оборудование к мотоблоку без люфта и свободного хода. Это в свою очередь облегчает работу на мотоблоке. Для изготовления такой сцепки своими руками не нужно много времени и чрезмерных усилий.
Используя это приспособление можно присоединить к мотоблоку:
- плуг;
- картофелесажалку;
- косилку;
- окучник;
- борону.
Чтобы создать качественное изделие на свой мотоблок, используется прочный металл. Также можно применять швеллеры, у них достаточный запас прочности, изготовлены по заводской технологии. Нужно проделать несколько дополнительных отверстий, самодельная сцепка почти готова.
Сцепка двойная универсальная к мотоблоку
Приспособление можно изготовить из прочного чугуна или стали. Но такие материалы требуют специального оборудования для обработки, поэтому лучше купить промышленные заготовки.
Если имеется специальные верстаки, можно сделать стальную заготовку нужной формы. Неплохая сцепка для прицепа мотоблока может получиться из автомобильного кардана.
к меню
Инструменты и материалы
Приспособление состоит из нескольких сложных частей. Перед началом работы необходимы чертежи, которые подходят для создания узла. Они должны быть проверенными и рабочими.
Материалы, которые необходимы для сборки:
- болты и стальные шпильки — это главные элементы крепления, они создают подвижные и неподвижные соединения;
- элемент регулировки — рычаг, который поможет изменить положение устройства;
- металлические заготовки — швеллеры из которых будет сварена основная часть.
Чертеж сцепки к мотоблоку
Чтобы собрать оборудование понадобится:
- сверло по металлу для создания отверстий;
- линейка для измерения;
- сварка по металлу;
- набор ключей чтобы затягивать винтовые соединения.

к меню
Как соеденить мотоблок с прицепом?
На мотоблок устройство крепится с помощью штырей. Они должны быть изготовлены из прочной стали. Шпильки и штыри продеваются в отверстия. Узел для соединения размещается или под рулем, или позади основного устройства. Если есть какие-то особенности соединения они указываются производителем прицепа или мотоблока.
Изготовленное своими руками соединение может пригодится не только чтобы присоединить плуг, прицеп и другие подобные приспособления, но также ее используют для сельской техники или мини-тракторов.
Перед тем как приступить к работе, необходимо проверить надежность узла, прокрутить все гайки и винты.
Если необходимо изменить положение подвижного соединения, для этого покрутить рукоятку винта в необходимом направлении.
После того как сельскохозяйственные работы будут закончены, нужно очистить резьбовые соединения и смазать их для предотвращения коррозии и поломок.
к меню
Адаптер для мотоблока своими руками (видео)
Блок: 3/3 | Кол-во символов: 2846
Источник: http://MoeZerno.ru/texnika/tillers/stsepka-dlya-motobloka-svoimi-rukami.html
Как сделать своими руками?
При выполнении своих функций сцепка для мотоблока будет переносить большие нагрузки, значит, необходимо соблюдать рекомендуемые прочностные и размерные параметры всех компонентов сборки.
Тогда будут обеспечены следующие свойства сцепного устройства:
- гарантия прочного сопряжения с мотоблоком;
- крепление к навесной оснастке;
- гарантия заявленных эксплуатационных свойств продукции;
- приемлемая цена;
- качество, продолжительный срок эксплуатации.
Подбирая модификацию, необходимо проверить габариты, тягово-прицепного устройства (фаркоп) мотоблока и навесного оснащения (борона, прицеп, плуг и другое).
Задача специалиста – обеспечить абсолютную сочетаемость компонентов, легкость в использовании и возможность быстро настраивать оснащение под определенную задачу.
Основной компонент многофункциональной сцепки являет собой держатель П-образной конфигурации. Сквозь отверстия с одной стороны он посредством штифтов фиксируется к мототехнике, со второй стороны на обшивку устройства закрепляется стойка требуемого навесного снаряжения.
Требуемые инструменты, материалы и приспособления
Имеется определенный комплект инструментов, которые нужны для создания сцепного устройства. В основном все, что необходимо для сборки таких элементов, имеется в хозяйстве каждого, кто возделывает собственный участок земли.
Понадобятся такие инструменты:
- углошлифовальная машина;
- электродрель либо сверлильный станок;
- измерительный инструментарий: угольник, рулетка, линейка;
- аппарат для сварки;
- комплект гаечных ключей;
- крепежные элементы (шпильки, болты).

Необходимо отметить, что в данной ситуации крайне важно, чтобы отверстия, которые будут сверлиться в детали, в аккурат совпадали со шпильками и болтами. Зазор в диаметре не нужен, потому как уменьшит период работы применяемых прицепов и навесов.
В то же время в ходе работы имеет значение прежде выполнять в элементе отверстия наименьшего диаметра (от 5 миллиметров), а затем рассверливать более большими сверлами (до 12-16 миллиметров, в соответствии в диаметрами болтов). Подобный способ форсирует и упростит данную часть работы, в то же время позволяя вымерить отверстия предельно верно. Для создания остова можно применять швеллер подобающего размера, а если он отсутствует, можно собрать элемент из железного листа.
Весьма практична модификация настраиваемой сцепки – подобная конструкция даст возможность связывать навесные приспособления различных поколений, классов и торговых марок. Несмотря на то что на текущий период такая конструкция не востребована, не нужно забывать, что в хозяйстве будут постепенно появляться различные приспособления, а возможность удобного агрегирования каждого из них серьезно увеличит выбор, давая возможность исходить лишь из нужных функциональных особенностей оснащения.
Чертежи
Сборка сцепного устройства для мототехники собственными силами предполагает применение чертежных материалов. Имеется достаточно много различных вариантов, но лучше брать за основу самый подходящий и откорректировать, учитывая характеристики собственной техники.
На чертеже должны быть отражены следующие элементы:
- 2 П-образные детали, равные по всем характеристикам, но с различным числом отверстий – в первом 6, во втором 8;
- корпус, содержащий 2 резьбы диаметрами М12 и М16 и оборудованный монтажной конструкцией для фиксации с одним из агрегатов;
- элемент настройки – рукоятка, размещенная на корпусе элемента, его структура включает в себя винт, связанный с держателем и для комфорта имеющий ручку (важно рассчитать точное направление держателя – исключительно вверх либо вниз и так, чтобы он не мешал в ходе функционирования мототехники).
Потому как мототехника при любых условиях предполагает сопряжение со сцепкой, тонкости расположения соединения сможете узнать в его настоящей инструкции.
Пошаговое руководство
Чтобы сделать многофункциональное соединение, необходима предельно ровная плоскость – специальный рабочий стол. План изготовления сцепного устройства для мотоблока таков.
- Произведите разметку согласно чертежу: наметьте на заготовке очертания элементов.
- Посредством электродрели либо сверлильного станка проделайте отверстия по меткам. Убедитесь в их правильности, применяя штангенциркуль и шпильку (болт), при помощи которого будет производиться фиксирование. Добейтесь подходящего диаметра отверстия, при котором люфт отсутствует, а крепежные элементы не клинят.
- Сварите соединения. Предпочтительнее использовать электродуговую сварку, при которой прогревание совершается исключительно в зонах соединений без какого-либо вреда для рабочих свойств стали.
- Выполните сборку детали. Свяжите держатель и швеллер посредством болтов. Если в конструкции имеется инструмент настройки, закрепите и его.

Крепежные детали, посредством которых сцепное устройство крепится на мотоблок сквозь отверстия в узлах, должны иметь то же качество и прочность, что и само устройство.
Вторично напомним, что деталь выполняется для того, чтобы универсальность мотоблока была предельной. При наличии идеально подходящего сцепного устройства возможна комфортное агрегирование и долговременное результативное эксплуатирование каждого подвесного либо прицепного оснащения, в том числе: адаптера, окучника, бороны, плуга, прицепа, всевозможных косилок, картофелесажалки и любых иных приспособлений.
А по той причине, что компоненты фиксации на различном оснащении могут отличаться, что обычно затрудняет возможность их способность к взаимодействию с мотоблоком, успешная конструкция сцепного устройства и возможность ее настройки решают данную задачу.
Монтаж на мототехнику навесного оснащения
Выполнив сборку детали, главное, грамотно ее присоединить. Приемы монтажа довольно просты, но важно их соблюдать. В сущности, пристыковка оснащения к мотоблоку сводится к довольно бесхитростному действию: необходимо сделать так, чтобы отверстия сцепного устройства и навески совпали и закрепить их посредством болтов либо штифтов. Радиальные отверстия дают возможность корректировать позицию соединительного устройства в ходе работы.
По завершении монтирования необходимо затянуть компоненты резьбового крепления устройства с мототехникой. Затем присоединяется навесное оснащение.
После первичного агрегирования приспособлений последует окончательная фиксация, которую необходимо выполнить прямо перед началом работы.
Регулирующие элементы (болты) надо расслабить, отыскать идеальный уровень фиксирования, после этого затянуть гаечными ключами.
В зависимости от структуры на держатель может быть поставлен сменный штырь с резьбой, в который заворачивается болт М16.
Блок: 4/5 | Кол-во символов: 9482
Источник: http://www.stroy-podskazka.ru/motobloki/scepka-svoimi-rukami/
Чертежи сцепки мотоблока
Рассмотрим чертеж универсальной сцепки, к следующим типам мотоблоков: «Pubert Quatro», «Honda», «АГРО», «ОКА», «КАСКАД», «МБ-90», «НЕВА», «ФАВОРИТ», «САЛЮТ».
Предназначение сцепки универсальной в соединении с мотоблоком навесного оборудования: выкапывателя, плуга, окучника одно- и двухрядного и др.
Установление сцепки на мотоблок
Скоба сцепки устанавливается на скобу мотоблока, и крепится штырями. Желательно произвести фиксацию скобы сцепки распорными болтами М12х60, враспор к раме мотоблока.
Установление орудия на сцепку
На кронштейн стойки орудия нужно установить съемную ось сцепки.
В отверстие корпуса сцепки нужно вставить ось с резьбой М16 и накрутить в эту резьбу винт.
Нужно совместить отверстия под болтМ16х40 на стойке орудия и на корпусе сцепки. После чего это соединение закрепляется гайкой М12 и болтом М12х40.
Рекомендации при работе
Навесные орудия настраиваются и регулируются индивидуально, в зависимости от вида почвы, и мощности мотоблока. Специальная конструкция сцепки может регулироваться в разных диапазонах. Используя начальные настройки, нужно установить радиусные пазы сцепки на ноль поперечный угол захвата, и зафиксировать гайкой М12 и болтом М12. Также установить минимальным продольный угол захвата.
Первый 3-5 метров движения внимательно наблюдайте, как работает мотоблок с орудием.
Если нужно углубить или поднять орудие, остановите движение мотоблока, и вращением рукоятки винта отрегулируйте орудие. После чего можно продолжить движение и оценить, как работает мотоблок с орудием. Также, если потребуется отрегулировать поперечный угол захвата, нужно ослабить гайки М12 и болты М12.
Потом откорректировать угол в необходимом направлении, и затянуть гайки с болтами. До начала работы, все резьбовые соединения, нужно крепко затянуть. После того, как работы на почве закончились, ежедневно нужно очищать и смазывать резьбовые соединения. Для этого использовать Литол 24.
Блок: 3/3 | Кол-во символов: 1947
Источник: http://motoblok-kultivator.com/scepka-k-motobloku-svoimi-rukami/
Чертежи сцепок разного вида
Блок: 3/5 | Кол-во символов: 28
Источник: https://MoyMotoblok.ru/samodelki/samodelnaya-stsepka-dlya-motobloka-svoimi-rukami/
Как крепить сцепку для мотоблока?
После всех подготовительных работ можно приступать к сбору сцепки на мотоблок.
С помощью болтов прочно прикрепите кронштейн к швеллеру. Если у вас сцепка с регулировочным механизмом, прикрепите и его.
Можете приступать к установке, для этого прикрепите кронштейн к фаркопу мотоблока с помощью штырей и установите навеску.
Непосредственно перед работой нужно отрегулировать оборудование. Сделав несколько кругов, вы сможете для себя настроить приемлемое положение навесного оборудования.
Такая сцепка идеально подходит для прицепа мотоблока, сеялки, бороны, окучивателя и других полезных в сельском хозяйстве приспособлений к мотоблокам МТЗ, Нева МБ-2, Агро и других.
Блок: 3/3 | Кол-во символов: 784
Источник: https://o-motoblokah.ru/navesnoe-oborudovanie/stsepka
Установка на мотоблок навесного оборудования с помощью сцепки
Присоединение навесного оборудования сводится к простой операции по совмещению отверстий и фиксации элементов конструкции штырями и болтами.
В процессе работы положение сцепки может регулироваться с помощью болтов в радиусных отверстиях. В первую очередь затягиваются резьбовые соединения сцепного устройства с фаркопом мотоблока. Затем устанавливается навеска.
Окончательную настройку производят перед работой. Ослабив регулировочные болты, находят оптимальное положение навесного оборудования и затягивают с помощью ключей гайки. В процессе обработки земли иногда возникает необходимость сделать два и более прохода по участку с различной настройкой навески. Сцепка, сделанная своими руками, позволяет оптимизировать работу по всем показателям. Экономится время, снижается трудоемкость, повышается производительность.
Сцепка, покрытая краской для металла или антикоррозийным покрытием, прослужит существенно дольше.
Блок: 4/5 | Кол-во символов: 977
Источник: https://MoyMotoblok.ru/samodelki/samodelnaya-stsepka-dlya-motobloka-svoimi-rukami/
Создание плуга
Перед созданием такого оборудования придется подготовить чертежи.
В них вы сможете указать главные узлы — лемех и отвал.
- Для рабочих деталей стоит взять 3-миллиметровую сталь, однако сначала мастера рекомендуют поработать над съемным лемехом. В виде более качественного материала для него выступит диск, взятый с циркулярной пилы. Если его нет, можно взять рядовую сталь, которая не подвергается специальной обработке.
- Режущей частью будет рабочая деталь косы, которая отбивается на наковальне. Плуг должен быть с отвалом, к его созданию можно перейти после завершения работы с лемехом. В качестве материала для этого можно взять трубу (50 мм), толщина которой будет 5 мм. Заготовку отвала можно сделать, применяя газовый резак. Сначала вырезаем шаблон, на последнем этапе заготовку нужно довести на наковальне, а потом и на точильном станке.
Блок: 4/4 | Кол-во символов: 871
Источник: https://tokar.guru/stanki-i-oborudovanie/motobloki/izgotovlenie-scepki-dlya-motobloka-svoimi-rukami.
html
Сцепка для мотоблока видео
В данном видео рассказывается о самостоятельном изготовлении сцепки к мотоблоку Weima 1100D
Самодельная универсальная сцепка
Сцепка, дает большие возможности в использовании различного оборудования, а сделанная своими руками, придерживаясь указаний на чертежах, то срок эксплуатации данного узла, многие лета.
Блок: 4/4 | Кол-во символов: 366
Источник: http://pro-motobloki.ru/navesnoe-oborudovanie-dlya-motoblokov/221-delaem-scepku-dlya-motobloka-svoimi-rukami.html
В заключение
Необходимо дать еще ряд советов. Для сохранения функциональных свойств стали и увеличения прочности сцепки после ее сборки необходимо покрыть ее противокоррозионным раствором либо краской для железа.
Принимая во внимание возможность настройки самодельной конструкции в разных диапазонах, можно инсталлировать радиальные прорези и закреплять их на ноль.
После начала работы нужно в ходе первых метров передвижения внимательно последить за соединением и в случае необходимости осуществить дополнительную настройку.
Наличие регулирующей ручки дает возможность изменять уровень закрепления и фиксировать навесной механизм.
О том, как сделать сцепку для мотоблока своими руками, узнаете в видео ниже.
Блок: 5/5 | Кол-во символов: 1190
Источник: http://www.stroy-podskazka.ru/motobloki/scepka-svoimi-rukami/
Количество использованных доноров: 7
Информация по каждому донору:
- http://MoeZerno.
ru/texnika/tillers/stsepka-dlya-motobloka-svoimi-rukami.html: использовано 1 блоков из 3, кол-во символов 2846 (11%) - https://MoyMotoblok.ru/samodelki/samodelnaya-stsepka-dlya-motobloka-svoimi-rukami/: использовано 2 блоков из 5, кол-во символов 1005 (4%)
- http://pro-motobloki.ru/navesnoe-oborudovanie-dlya-motoblokov/221-delaem-scepku-dlya-motobloka-svoimi-rukami.html: использовано 1 блоков из 4, кол-во символов 366 (1%)
- http://www.stroy-podskazka.ru/motobloki/scepka-svoimi-rukami/: использовано 4 блоков из 5, кол-во символов 14210 (57%)
- http://motoblok-kultivator.com/scepka-k-motobloku-svoimi-rukami/: использовано 1 блоков из 3, кол-во символов 1947 (8%)
- https://tokar.guru/stanki-i-oborudovanie/motobloki/izgotovlenie-scepki-dlya-motobloka-svoimi-rukami.html: использовано 3 блоков из 4, кол-во символов 3612 (14%)
- https://o-motoblokah.ru/navesnoe-oborudovanie/stsepka: использовано 2 блоков из 3, кол-во символов 1126 (4%)
Фаркоп своими руками — как сделать блок согласования и другие детали, описание с чертежами
Вместимость багажника легкового автомобиля ограничена и не позволяет возить с собой больше, чем можно уложить в имеющийся объём.
Эта проблема обычно становится во весь рост, когда вы собираетесь поехать на дачу, пикник или рыбалку. Традиционным решением вопроса оказывается присоединение прицепа, позволяющего перевозить достаточное количество груза. Загвоздка в том, что большинство отечественных легковых автомобилей в базовой комплектации не оборудуются фаркопами — приспособлениями, позволяющими его присоединять. Проще всего приобрести и установить такое устройство, но можно и изготовить своими руками. Рассмотрим этот вариант подробнее.
Что собой представляет фаркоп
Как видите, в разрезе фаркоп не так прост, как кажется
Фаркоп, или тягово-сцепное устройство (ТСУ), предназначен для буксировки прицепов или трейлеров. Внешне он выглядит как вертикальный крюк или отрезок толстого стержня с шарообразным утолщением на свободном конце. Такова видимая часть. На самом деле, его устройство несколько сложнее. Необходимо наличие присоединительной конструкции, позволяющей крепить ТСУ к раме или кузову автомобиля.
Кроме того, потребуется контактная розетка, дающая возможность подключить световую сигнализацию.
Каждая модель автомобиля имеет собственные конструктивные особенности и форму кузова, которые необходимо учитывать при изготовлении фаркопа.
Виды
Существует несколько разновидностей фаркопов.
Виды фаркопов, доступных для изготовления своими руками
Они различаются по форме сцепного устройства, по размеру шара. Бывают:
- Европейские (еврофаркопы). Диаметр шара — 50 мм;
- Американские. Диаметр шара — 17/8 или 2 дюйма.
По конструкции различают следующие типы ТСУ:
Богатый конструкционный разброс фаркопов
- Стационарный (фиксированный). Он делается для постоянного использования. Необходимо учитывать, что внешний вид автомобиля с фаркопом без прицепа несколько портится, а в некоторых странах так ездить запрещено.
- Съёмный. Конструкция позволяет по необходимости снимать или устанавливать ТСУ, но для этого нужны дополнительные крепления.

- Фланцевый (складной). Сцепной шар крепится на специальную площадку по типу фланца. Позволяет не снимать основной узел, но отсоединять при необходимости шар, что улучшает вид машины.
Принципиального отличия в части конструкции нет, все варианты просто адаптированы к тому или иному виду корпуса. Строение всегда одно — на посадочной раме посередине установлен сцепной шар. Обилие разновидностей ТСУ может вызвать некоторую растерянность, поэтому будем рассматривать изготовление фаркопа на ВАЗ 2110.
Необходимые материалы и инструменты
Для изготовления фаркопа понадобятся следующие материалы:
- Метр стальной трубы;
- Примерно полметра стального уголка;
- Гайки и болты;
- Сцепной шар, который можно изготовить самостоятельно или заказать у токаря. Можно также приобрести его на рынке.
Для работы потребуются инструменты и оборудование:
- Сварочный аппарат и электроды;
- Болгарка с отрезным кругом;
- Линейка, рулетка;
- Напильник для зачистки острых краёв, удаления заусенцев;
- Электродрель с набором свёрл (в частности, понадобятся свёрла диаметром 13 мм), зенковка на 20 мм;
- Краска (оптимально — чёрная) для покрытия изделия и защиты его от ржавчины.

В процессе работы могут понадобиться и другие инструменты, поэтому не следует считать приведённый список абсолютно исчерпывающим. Все зависит от технической оснащённости и возможностей мастера.
Процесс изготовления фаркопа своими руками
Схематическое изображение фаркопа для изготовления своими руками
Необходимо выполнить следующие действия:
- Демонтировать бампер автомобиля.
- Отогнуть в сторону обшивку с порога и внутренней части багажника, обнажив металл кузова.
- Отрезать проушины, приварить их к торцовым частям трубы.
- Просверлить монтажные отверстия в проушинах, по ним наметить и просверлить соответствующие отверстия в кузове автомобиля.
- В центре трубы приварить отрезок уголка с присоединительными отверстиями для сцепного крюка. Как вариант, приваривается отрезок трубки, в которую вставляется хвостовик сцепного крюка.
- Готовое устройство обрабатывается напильником, наждачной бумагой или шлифовальным кругом, установленным на болгарку.

- Затем фаркоп следует покрасить для защиты металла от коррозии.
После высыхания защитного покрытия фаркоп при помощи болтовых соединений устанавливается на заднюю нижнюю часть автомобиля.
Как подключить фаркоп
Монтаж электроники — заключительный этап установки фаркопа
Для подключения световой сигнализации фаркопа потребуется специальный коннектор. Для отечественных моделей потребуется семь контактов:
- Задний противотуманный фонарь;
- Заземление;
- Правый поворотный сигнал;
- Левый поворотный сигнал;
- Стоп-сигнал;
- Номер, левый габарит;
- Номер, правый габарит.
Необходимо учитывать, что бортовой компьютер обычно воспринимает появление нового элемента в системе как постороннее вмешательство и блокирует его. Для того чтобы корректно подключить фаркоп, потребуется блок согласования. Это устройство обеспечивает возможность работы осветительных приборов прицепа без отключения. Дело в том, что дополнительный расход энергии на питание поворотных огней, стоп-сигналов и прочих элементов вызывает некоторое падение напряжения, воспринимаемое бортовым компьютером как неисправность.
Вследствие этого все дополнительные устройства блокируются. Данный блок позволяет корректно установить дополнительные элементы в систему, отключая защиту от перегруза, и обеспечивает тем самым стабильную работу сигнализации прицепа. Кроме того, смарт-коннект (другое название устройства) переключает противотуманные фары автомобиля на прицеп, отключает парктроники.
Изготовление блока согласования для фаркопа самостоятельно вполне возможно, но без должной подготовки и обладания навыками монтажа электроники добиться качественного результата не получится, поэтому оптимальным вариантом станет приобретение готового прибора.
Особенности эксплуатации и ухода
Перед каждым выездом необходимо проверять устройство на механическую целостность и на работоспособность электрических цепей. Особенно важна проверка на прочность конструкции, если фаркоп самодельный, и качество сварки не прошло заводскую проверку. Можно простучать места соединения молотком и на слух определить качество соединения.
Следует учесть специфику использования устройства. Изменяющиеся нагрузки постоянно испытывают конструкцию на прочность, поэтому наблюдение должно быть постоянным.
Необходимо также иметь в виду, что за езду на автомобиле с фаркопом без присоединённого прицепа можно получить предупреждение или штраф от сотрудников ГИБДД. Поэтому надо вовремя отсоединять ТСУ, если не предполагается использовать его по назначению.
Изготовление фаркопа не представляет особых сложностей, но наличие навыков, умения обращаться со сварочным аппаратом и слесарными инструментами должно быть обязательно. При наличии опыта ТСУ изготавливается за один день и представляет собой не менее качественный и функциональный узел, чем приобретённый в магазине. Основная задача мастера — обеспечить точное совпадение присоединительных отверстий. Расходы на изготовление самодельного фаркопа значительно меньше, чем на приобретение готового, поэтому для желающих сэкономить это самый подходящий вариант.
Оцените статью: Поделитесь с друзьями!Самодельное сцепное устройство (фаркоп) для квадроцикла
Здравствуйте, уважаемые читатели и посетители сайта! На этот раз я решил сделать самоделку, связанную с квадроциклом.
Но перед тем, как перейти к сути, давайте начнем с предисловия.Квадроцикл — это уникальная техника. Квадроциклы используют во многих целях: занятие спортом, экстрим, военное назначение, а также отдых, туризм и хозяйственное назначение. Так как квадроцикл имеет четыре колеса, то он устойчив, и значит его можно использовать в хозяйстве. Прицепить, например, тележку и возить в ней картошку, песок и тому подобное. Мало того, что к квадроциклу можно прицепить тележку, так ещё можно оборудовать его и на уборку снега. Для этого в магазинах продаются различные квадроциклетные отвалы. Это только заводские решения, применимые к квадроциклам. Некоторые владельцы этой замечательной техники умудряются прицепить плуг, и хоть бы хны, квадроцикл тянет. Правда не знаю, как это сказывается в его целостности. Проверять я этого конечно же не буду. В дополнении квадроцикл весьма невелик, поэтому на нем можно пролезть туда, куда не пролезет даже минитрактор. Это весомый плюс при хозяйственных нуждах. Чтобы начать применять квадроцикл в хозяйстве, необходимо, чтобы он был оборудован под эти нужды.
Большинство квадроциклов комплектуются с завода прицепным устройством. Но в силу уменьшения стоимости техники, комплектуются фаркопами не все. В этой статье речь пойдет, как вы уже поняли с названия, о полностью самодельном прицепном оборудовании для квадроцикла. Это всего лишь моя идея, и рекомендовать к изготовлению точно такую самоделку я вам не буду. В общем, что у нас имеется? А имеется у нас в первую очередь конечно же квадроцикл малого класса, во что установлен достаточно резвый китайский моторчик, объёмом 150 кубических сантиметров, который работает в купе с вариатором. У квадроцикла задняя подвеска самого простого маятникового типа с моноамортизатором, цепным приводом, с длинной осью (как его ещё в народе называют «лом», и не потому, что он ломается и ломает, а потому что просто похож на него), непосредственно на который крепятся ступицы с двумя колесами. Силенок и тяги у квадроцикла достаточно, чтобы тянуть по прямой автомобиль с массой чуть более тонны. В дополнение имеется куча металлолома на заднем дворе, который все никак не хочет уезжать на металлоприемку, а также базовый набор необходимых инструментов — это сварка, болгарка (та, которая углошлифовальная машина), дрель и набор гаечных ключей.
Начнем изготовление самодельного прицепного устройства (как его ещё называют — фаркоп).
С завода, как уже ясно, квадроцикл не укомплектован прицепным устройством. Нет даже креплений для данного типа устройства. Соответственно пилить, точить, сверлить будем сами. Для этого самого снимаем мешающиеся детали с квадроцикла. Но перед этим поднимем его на домкрате и отсоединяем от маятника амортизатор.
Теперь сверлим отверстия для крепления будущего прицепного устройства. Крепить фаркоп будем болтами, толщиной 12 мм, значит и отверстия сверлим сверлом, диаметром 12 мм. Перед этим нужно тщательно подобрать место для отверстий, чтобы ничего лишнего не просверлить.
Это отверстия для верхних креплений прицепного устройства. Нижние крепления будут на штатных болтах. Если что, с приводной цепью все в порядке. Она так повисла, из-за того, что квадроцикл поднят на домкрате.
Приступаем к изготовлению верхних креплений прицепного устройства. Для этого нашел у себя гнутый дугой уголок.
Вместо него можно взять гнутую трубу, возможно так будет выглядеть посолиднее.
Разрезаем согнутый уголок на две одинаковые части.
Далее подогнул немножечко прямой участок каждого из частей. Чтобы сделать это, делаем пропил, гнем, не достаточно, снова делаем пропил и гнем, пока не получим нужный изгиб.
Совершаем идентичный процесс и со второй деталью.
Нужно, чтобы обе детальки получились максимально зеркально одинаковыми.
Далее обвариваем разрез и обтачиваем углошлифовальной машиной. В результате получилось вот что:
То же самое и со второй деталью.
Как уже понятно, это верхние крепления. Далее примеряем их на самом квадроцикле. Размечаем точки, где нужно просверлить отверстие.
И собственно сверлим сами отверстия. Так как крепиться будем болтами на 12, то соответственно и отверстия делаем диаметром 12 мм. Отверстие немаленькое, поэтому начинаем сверлить с малого диаметра.
Не забываем про смазку при сверлении.
Сверлим на маленьких оборотах, чтобы не перегреть сверло.Примеряем полученные заготовки на квадроцикле.
Срезаем лишний мешающийся для закручивания гаек металл.
Постоянно ставим заготовки на квадроцикл, да бы не ошибиться и потом все переделывать. Затянули гайками, убедились, что ничего больше не мешается.
Отрезав лишний металл и сделав большое отверстие, на креплении сильно упала жесткость и прочность. Чтобы не оторвало крепления, мало ли как будет использоваться фаркоп, усиливаем места закручивания болтов. Для этого берем трехмиллиметровую железную пластину, отрезаем нужную на форму.
И ввариваем её на кронштейн, несмотря но то, что там было отверстие. Процедуру выполняем с обеими креплениями.
Облагораживаем некрасивые швы болгаркой с лепестковым кругом.
Ну и теперь досверливаем отверстия.
Снова проверяем на правильность выполнения.
Далее нашёл массивный уголок. Толщина металла 5 мм.
Прикладываем его к кронштейнам.
Отрезаем лишние кусочки металла с кронштейнов.
Уже сняв крепления, привариваем большой уголок к верхним креплениям. Правильней было бы прихватить уголок к креплениям на месте.
В результате вот что у меня получилось.
Снова обтачиваем некрасивые мои швы.
Усиливаем места сварки дополнительной металлической прямоугольной пластиной.
Ввариваем эту пластинку, толщиной 3 миллиметра.
Шлифуем швы болгаркой с лепестковым кругом.
Главное, чтобы после сварки детали не повело, иначе отверстия на прицепном устройстве не сойдутся. Из-за нехилых усилений металлом крепления друг от друга не разогнуть. Благо у меня все почти сошлось.
Примеряем на квадроцикле.
Как уже видно из самого первого фото, прицепляться будем с помощью металлического штока. Чтобы увеличить износостойкость, увеличиваем толщину металла на месте будущего отверстия, куда будет устанавливаться шток. Для этого взял гайку, обточил её до полукруглого состояния и приварил её к будущему прицепному устройству.
Зачищаем это безобразие со швами с помощью болгарки, за одно отрезаем острые края.
Теперь изготавливаем нижнее крепление для будущего фаркопа. Для этого отрезаем прямоугольный кусок пластины толщиной 4 миллиметра.
Откручиваем штатные болты с квадроцикла.
Примеряем пластинку, отмечаем точки сверления отверстий (диаметром 10 мм), отмечаем линии, по которым отрежется лишний металл, и линию изгиба. Далее пилим и сверлим отверстия.
Теперь нужно загнуть пластину, чтобы это выполнить качественно, делаем вдоль неглубокий пропил.
Пока ничего не гнем. Приставляем нижний кронштейн к месту, закручиваем его на своем месте и уже гнем её на месте.
Прихватили на месте, проварили, сняв весь фаркоп.
Заварили пропилы, шов обтачивать не обязательно, все равно не видно.
Досверлили отверстие, установили на место.
Нижняя «губа» фаркопа готова. Приступаем к изготовлению верхней.
Пятимиллиметровая пластина, гайка, все по старой схеме.
Для лучшей проварки у пластины изначально снял кромку.
Прихватил к фаркопу, тщательно обварил и обточил видимые швы для лучшего вида, удалил острые углы.
Провариваем пластину и изнутри.
И вуаля, самодельный фаркоп готов! Устанавливаем на место и используем по назначению!
Теперь можно крепить к квадроциклу прицеп, или еще что-нибудь. Использовать квадроцикл в хозяйственных и не только целях.
Как установить фаркоп на свой автомобиль или грузовик
Как установить фаркоп на свой автомобиль или грузовик | Move.org Собираетесь ли вы на новой лодке к озеру летом или буксируете кемпер в горы, вам понадобится буксирное устройство (также называемое сцепным устройством для прицепа), прикрепленное к вашему автомобилю.
Вы можете раскошелиться на несколько сотен, чтобы профессионально установить сцепное устройство, но это не обязательно.
На самом деле, установка тягово-сцепного устройства своими руками довольно распространена (и относительно проста). Это может быть сложно на определенных автомобилях и с некоторыми типами зацепов, но для большинства простых установок требуются только основные инструменты, поэтому вам не придется тратить деньги на новый набор инструментов только для этого проекта.
Если вы любите заниматься своими руками, вам повезло: мы разобрали весь процесс установки сцепного устройства для прицепа, чтобы вы могли сэкономить немного денег (и научиться новому навыку, чтобы показать его друзьям).
Вот что вам нужно знать:
- Знай свои номера
- Подготовьте рабочее место
- Подготовьте автомобиль к установке
- Прицепное устройство
- Затяните болты
- Проверьте свою работу еще раз
Помните: если это кажется слишком сложным, не бойтесь звонить профессиональному установщику! Ваша безопасность важнее любого проекта DIY.
Ваш механик, автосалон или сотрудники автомагазина могут помочь (и мы не будем судить).
СОВЕТ ПРОФИ
СОВЕТ ПРОФИ
Перед тем, как купить прицепное устройство, прочтите общие инструкции по установке (например, это руководство) или посмотрите видео по установке в Интернете. Это поможет вам определить, сможете ли вы справиться с этим самостоятельно.
6 шагов до самостоятельной установки прицепного устройства
Установка фаркопа довольно проста в теории, но в зависимости от вашего автомобиля и типа прицепного устройства на практике этот процесс может быть немного сложным.
Вот шесть основных шагов для стандартной установки сцепного устройства.
Перво-наперво: чтобы выбрать подходящее сцепное устройство для прицепа, вы должны знать, сколько ваша машина может буксировать.
Последнее, что вам нужно сделать, это просверлить буксирное устройство, предназначенное для тяжелого грузовика, на вашем хэтчбеке.
Обычно вы можете найти информацию о буксировочной способности в руководстве по эксплуатации вашего автомобиля. Вы также можете выполнить поиск в Google или позвонить в автосалон (у них должна быть эта информация под рукой).
Ваша буксирная способность помогает вам выбрать правильную сцепку, но также показывает, сколько вещей вы можете прикрепить к этой сцепке. После того, как вы вычислили максимальное количество буксиров, которое может буксировать ваш автомобиль, и нашли сцепное устройство, вычтите вес самого сцепного устройства.
Например: если предел буксировки вашего автомобиля составляет 8 000 фунтов, а ваше буксировочное устройство весит 150 фунтов, вы сможете буксировать прицеп и груз только на 7 850 фунтов. Поэтому, если вы буксируете движущийся прицеп, наполненный всем, что у вас есть, вы должны убедиться, что весь вес меньше грузоподъемности вашего автомобиля.
Хорошее практическое правило: никогда не превышайте лимит буксировки! Если вы хотите изучить все тонкости буксировки, чтобы самостоятельно посчитать, у CURT Manufacturing есть удобное руководство.
Типичные сцепные устройства приемника делятся на пять различных классов (метко названные от класса I до класса V) в зависимости от тягового усилия. Выбранный вами класс сцепки будет зависеть от того, буксируете ли вы снегоочиститель или движущийся прицеп с мебелью для спальни.
Существует также множество других типов сцепных устройств для тяжелых условий эксплуатации для различных транспортных средств и применений. Вот и 411.
Типы фаркопов
| Тип сцепного устройства | Изображение | Совместимые автомобили | Основное использование | Средний максимальный предел веса |
| Бамперное сцепное устройство | Некоторые внедорожники и минивэны, большинство грузовиков | Крепление для велосипеда, багажник, прицепы, совместимые с шаровой опорой | ~ 6 000 фунтов.![]() | |
| Переднее крепление | Грузовики и внедорожники, некоторые автомобили | Прицепы, снегоочистители | ~ 9000 фунтов. | |
| Заднее сцепное устройство для ресивера | Большинство легковых и грузовых автомобилей | Легкие прицепы | 20000 фунтов. | |
| Сцепное устройство для распределения веса | Большинство легковых и грузовых автомобилей (требуется приемник сцепного устройства) | Тяжелые прицепы, кемперы | 15 000 фунтов. | |
| Сцепное устройство 5-го колеса | Пикапы | Тяжелые тракторы и прицепы | 30 000 фунтов.![]() | |
| Сцепное устройство «гусиная шея» | Пикапы | Тяжелые тракторы и прицепы для сельского хозяйства | 30 000 фунтов. | |
| Сцепное устройство со шкворнем | Тяжелые грузовики | Строительное, сельскохозяйственное и военное использование | 60 000 фунтов. |
* Изображения взяты из Home Depot
FYI: Большинство тяжелых грузовиков поставляются с уже прикрепленным задним сцепным устройством. Однако в зависимости от того, что вы буксируете, вам может потребоваться установка другого типа.
2. Подготовьте рабочее место
Прежде чем вы начнете испачкать буксирное сцепное устройство, убедитесь, что у вас есть подходящее оборудование. Это будет зависеть от автомобиля и типа сцепного устройства, с которым вы работаете — обратитесь к руководству по эксплуатации сцепного устройства, чтобы выяснить, что вам нужно для установки.
Вот основы, которые нужно иметь под рукой для большинства установок:
Если вы вытаскиваете новое сцепное устройство прямо из коробки, вы, вероятно, найдете шайбы, болты и инструкции внутри самого сцепного устройства. Выньте эти детали из упаковки и держите их под рукой.
НАША РЕКОМЕНДАЦИЯ
НАША РЕКОМЕНДАЦИЯ
При установке буксирного сцепного устройства не повредит надеть рабочие перчатки — они минимизируют возможные порезы и царапины, а также сохранят чистоту рук.
Затем убедитесь, что у вас хорошее освещение. Если вы устанавливаете буксирное устройство в гараже или в месте с тусклым освещением. Подключите дополнительные фонари или попросите кого-нибудь осветить вам фонарик.
Убедитесь, что у вас есть инструкция по эксплуатации.
Это ваш друг — доверяйте ему, пользуйтесь им и держите его при себе. Затем соберите всю сцепку (если это еще не сделано) в соответствии с инструкциями производителя.
Совет, чтобы обезопасить спину: если ваше буксировочное устройство весит более 50 фунтов, не рискуйте и позвоните другу, чтобы он помог вам его поднять.(И даже если он легче, мы все равно рекомендуем вам иметь кого-нибудь поблизости, чтобы помочь.)
ПРИЕМЫ ТОРГОВЛИ
ПРИЕМЫ ТОРГОВЛИ
Если вы заказываете буксирное устройство в ящике, вы можете разобрать ящик и положить на него, работая под автомобилем. (Потому что кто хочет лечь на землю?)
Прежде чем просто вклинить сцепное устройство на место, вы должны убедиться, что ваш автомобиль закреплен, чист и свободен от любых препятствий для установки.
Вот несколько шагов, которые необходимо предпринять:
- Включите стояночный тормоз: это первая защита от скатывания.
- Поставьте колодки под колеса: надежно поместите два клина в центре обеих задних колес на случай, если ваш автомобиль случайно откатится. Для душевного спокойствия не стесняйтесь ставить клинья под колеса и с другой стороны шин.
- Снимите запасное колесо: В зависимости от того, где живет запасное колесо вашего автомобиля, оно может мешать вам.
- Поднимите машину: этот шаг не требуется, но он может дать вам больше рабочего места.
- Удалите все заглушки или болты из вашего автомобиля: Некоторые сцепки требуют снятия определенных деталей и деталей, чтобы освободить место для фактического прицепного устройства. Вы можете проверить свои инструкции, чтобы узнать, нужен ли этот шаг.
- Тщательно очистите: Используйте щетку для проволочной трубки и смазку, чтобы очистить отверстия в автомобиле, в которые будет зацепляться сцепное устройство.
(Не обрезайте углы, используя старую зубную щетку — она тоже не справится со своей работой!) - Просверливание отверстий: , если в вашем автомобиле или грузовике нет предварительно просверленных отверстий для установки сцепного устройства, вам, вероятно, потребуется просверлить их в раме вашего автомобиля.(Некоторые сцепные устройства, такие как сцепное устройство CURT, не требуют установки для сверления.)
ГОЛОВЫ ВВЕРХ!
ГОЛОВЫ ВВЕРХ!
Если вы сверляете отверстия, убедитесь, что вы не обрезаете более чем на 1/16 дюйма шире или толще, чем болты, с которыми вы работаете, иначе они не останутся на месте.
Теперь ваша машина готова к главному событию: навешиванию фаркопа.
Вот как действовать:
- Поднимите сцепку в положение: , если рядом есть друг, который может помочь, именно тогда вы захотите, чтобы он помог.
- Прикрепите сцепное устройство к раме вашего автомобиля: используйте С-образные зажимы, чтобы удерживать его на месте.
- Затяните болты: руками затяните их ровно настолько, чтобы ваше сцепное устройство оставалось на месте, но пока не беспокойтесь о их затяжке (мы вернемся к этому позже). Затяните и другую сторону от руки.
КОНТРОЛЬНАЯ ТОЧКА: Есть ли у вашего прицепа шаровые опоры и шаровые опоры? Если нет, то вот краткие инструкции по установке.
Как установить шаровую опору
Если вы считаете, что установка буксирного сцепного устройства была простой, вам повезло: установка шаровой опоры еще проще (и занимает около пяти минут). Вот шаги, которые необходимо выполнить:
- Вставьте хвостовик шаровой опоры (тяжелая квадратная часть) в приемную трубку, которую вы только что установили на свой автомобиль.

- Отрегулируйте так, чтобы отверстия на хвостовике и приемной трубке совпали.
- Закрепите крепление с помощью фиксатора сцепного устройства или булавки и зажима (вещь, которая выглядит как гигантская булавка для волос).
Вуаля! Готово. Обязательно покачивайте шарнирное крепление взад и вперед, чтобы проверить, насколько надежно закреплены крепления.
Если ваше крепление для мяча громко гремит во время вождения, вы можете купить комплекты защиты от погремушек для определенных типов креплений в Интернете на Amazon или в таких местах, как Home Depot, O’Reilly или в ближайшей автомастерской.
Как установить шаровой прицеп
Если в комплекте с шаровой опорой не было прицепа, вам нужно его добавить. Иначе буксировать ничего не получится! Шарики для прицепов бывают разной ширины и конфигурации, поэтому убедитесь, что вы покупаете подходящий размер для буксируемого груза.
К счастью, это довольно простой процесс, как и установка шаровой опоры:
- Снимите гайку и шайбу с хвостовика, над которым вы работали, с помощью гаечного ключа.
Когда он ослабнет, вы сможете использовать пальцы. - Вставьте хвостовик в отверстие шаровой опоры.
- Замените шайбу и гайку и затяните их пальцами.
- Если вы больше не можете затягивать шар прицепа пальцами, используйте динамометрический ключ, чтобы закончить работу.
ЗНАЕТЕ ЛИ ВЫ?
ЗНАЕТЕ ЛИ ВЫ?
Если шаровой держатель не входит в отверстие приемной трубки, вы можете приобрести переходник для приемной трубки.Они позволяют вашему приемнику сцепки работать с различными стойками. Вы можете купить их онлайн или в любом магазине автозапчастей.
Как только ваша сцепка будет прикреплена, затяните болты пальцами как можно сильнее. Когда все болты будут на месте, затяните их динамометрическим ключом до значений, указанных в руководстве по эксплуатации буксирного устройства.
Наконец, подключите все электрические провода к стоп-сигналам и указателям поворота.
Чтобы буксировать прицеп на законных основаниях, стоп-сигналы и указатели поворота вашего автомобиля должны быть подключены к буксирному устройству через жгут проводов прицепа. Жгут проводов прицепа — это провод, идущий от задней части автомобиля к прицепу.
Многие грузовики и внедорожники поставляются с предварительно установленной проводкой для буксирных сцепок и прицепов, но если у вас их нет, вам нужно будет купить и установить жгут проводов прицепа.
Мы не будем здесь вдаваться в подробности о проводке, но вы можете найти обучающие видеоролики на YouTube или проконсультироваться со специалистом.
РАБОТАЕТ С ЦЕПЯМИ БЕЗОПАСНОСТИ?
РАБОТАЕТ С ЦЕПЯМИ БЕЗОПАСНОСТИ?
Всегда перекрещивайте предохранительные цепи! Цепи цепляются за язычок прицепа (то, что соединяет буксирное сцепное устройство с прицепом) в том случае, если он расшатывается и падает.
6.Перепроверьте свою работу
Проверьте безопасность вашего прицепного устройства, тряся, покачивая и дергая его, а также проверьте тормоза и поворотники, чтобы убедиться, что ваша проводка исправна!
Безопасность прежде всего — не буксирует ничего, если вы не уверены, что ваше сцепное устройство установлено правильно. А если вам нужно подтверждение, попросите любого профессионального установщика сцепного устройства проверить вашу работу.
УСТАНОВКА СЦЕПКИ АННУЛИРУЕТ МОЮ ГАРАНТИЮ?
УСТАНОВКА СЦЕПКИ АННУЛИРУЕТ МОЮ ГАРАНТИЮ?
Нет! Вы в чистоте.Благодаря Закону о гарантии Магнусона – Мосса вы можете вносить изменения в свою поездку и по-прежнему подпадать под действие первоначальной гарантии (при условии, что вы не повредите свой автомобиль в процессе).
О Джулии Кэмпбелл
Джулия Кэмпбелл — писатель, работающий полный рабочий день, которая знает тонкости работы, когда дело доходит до планирования беспроблемного переезда. Переехав семь раз за последние пять лет, она опирается на свой собственный опыт и отраслевые знания, чтобы помочь вам избежать своих самых больших ошибок (например, в тот раз она думала, что ей удастся упаковать посуду, не заворачивая ее предварительно).В начало
© 2021 Move.org. Все права защищены.
Этот сайт предназначен для потребителей из США. Вы можете узнать больше о нашем сайте и политике конфиденциальности здесь.
8 лучших аксессуаров для прицепа для вашего автомобиля
Вы будете удивлены, узнав, какие аксессуары доступны для приемника прицепного устройства вашего автомобиля. Это всего лишь восемь наших любимых вещей для кемпинга, прогулок или барбекю на заднем дворе.
1. Гамаки Hammaka Hitch
Не используйте складные стулья и сделайте шаг вперед с комфортом с этими сиденьями-гамаками. Их можно легко прикрепить к любому 2-дюймовому приемнику сцепного устройства и выдержать до 250 фунтов.
Производитель, Hammacka, учел все наши потребности в путешествиях и кемпинге: сиденья поставляются со встроенной подушкой, регулируемой подставкой для ног, а также подстаканником. Вы можете найти подставку и сиденья, предлагаемые в виде комбо на Amazon, здесь.
2.Гриль-станции
Это не просто грили, это целые станции для приготовления пищи. Да, в них есть отличный гриль Cuisinart, но они также оснащены разделочной доской и грузовым стеллажом для хранения. Все функции можно снять и использовать дома, когда вы не в походе.
Станции построены на откидной раме, поэтому при необходимости вы все равно можете сесть на заднюю часть автомобиля. Их можно прикрепить к 1,25- или 2-дюймовым приемникам сцепного устройства (включая большинство автомобилей, джипов, внедорожников и жилых автофургонов).
Для получения дополнительной информации посетите веб-сайт производителя Stowaway.
3. Тумба под телевизор
Эти тумбы под телевизор — мечта каждого любителя. Они разработаны для установки на любой 2-дюймовый приемник сцепки и вмещают 42-дюймовый плоский экран (или меньше).
Стенды также можно поворачивать на 360 градусов, поэтому вы не пропустите игру, находитесь ли вы в машине или выходите из нее. Их настройка занимает всего несколько минут и не требует специальных инструментов. Вы можете найти их в Интернете здесь.
4.Столы уличные
Мы всегда можем использовать дополнительное место, чтобы расставить еду, напитки и тарелки. Эти удобные столики можно прикрепить к любому 2-дюймовому приемнику сцепного устройства, отрегулировать по высоте и сложить, когда они не используются. Узнайте больше о них на их сайте.
5. Хранилище ключей
Может быть, вы собираетесь в поход и не хотите рисковать своими ключами и деньгами, выпавшими из карманов.
Или, может быть, вам просто нужно безопасное место, чтобы спрятать запасной ключ от вашего автомобиля.
Что бы вы ни хранили, эти HitchSafes сохранят его в безопасности.Мини-хранилища скрыты и содержатся в отличном состоянии за собственными пылезащитными крышками. Чтобы использовать их, вам просто нужно снять крышку и ввести свой собственный заранее установленный четырехзначный комбинированный код. Вы можете получить сейфы примерно за 50 долларов на Amazon.
6. Хитч Театры
Автомобильные кинотеатры с годами постепенно исчезают, но эти театры Hitch могут предложить уникальный современный поворот в классических развлечениях.
Фото предоставлено Hitch Theaters на Facebook
Компания была основана как Kickstarter, а сейчас занимается производством портативных кинотеатров для буксировщиков.Чтобы получать последние обновления, ставьте лайки на Facebook.
7. Портативные подножки для собак
Эти ступеньки подходят как для домашних животных, так и для их владельцев.
Помимо того, что вашей собаке будет легче сесть в автомобиль, платформы можно использовать в качестве сиденья, пока вы собираетесь отправиться в поход.
Они могут выдержать до 400 фунтов и, когда они не используются, их можно повернуть под автомобиль и убрать с дороги. Ступеньки подходят для приемников сцепки 1,25 и 2 дюйма и могут регулироваться по высоте до 6 дюймов.Найдите их на Amazon.
8. Стеллажи грузовые
Грузовые стойки могут вместить все, от велосипедов до походного снаряжения. Эти переноски вмещают до 500 фунтов и имеют 5,5-дюймовые боковые поручни, чтобы все было в безопасности во время транспортировки. Они подходят для большинства 2-дюймовых приемников навески и имеют большую платформу 60 x 24 дюйма.
Вам также могут понравиться: Эти вещи, которые необходимо иметь, чтобы сохранять спокойствие в вашем доме на колесах этим летом
О Никки Кливленд
Никки — автор и редактор изданий Do It Yourself RV, RV LIFE и Camper Report.
Она живет на побережье Орегона и объехала весь Тихоокеанский Северо-Запад.
Как сделать собственное сцепное устройство для прицепа
Вместо того, чтобы загружать в автомобиль много предметов для передвижения из одного или другого места, использование сцепного устройства может облегчить перемещение. Его можно легко прикрепить к любому транспортному средству, если у него есть гнездо для сцепного устройства. Вот один из способов сделать прицеп для перевозки вашего оборудования.
Шаг 1 — Создайте дизайн
Создайте дизайн для вашего прицепа.Вы можете выбрать прицеп без крыши. Полностью закрытый прицеп может быть круглым, прямоугольным или где-то между ними. Включите в дизайн размеры, которые помогут вам при выборе материалов.
Шаг 2 — Создание сцепного устройства
Убедитесь, что вы включили сцепное устройство в проект. Сцепка — это механизм, соединяющий прицеп с вашим транспортным средством.
Шаг 3 — Получите размеры
Измерьте ваши материалы на основе деталей вашего дизайна, чтобы определить, сколько материала вы будете покупать.Всегда не забывайте брать больше, чем нужно, на случай возникновения проблем с резкой или измерением. У вас всегда будет лишнее.
Шаг 4 — Выберите комплект колес и осей
Убедитесь, что вы выбрали прочный и подходящий размер спроектированного вами прицепа.
Шаг 5 — Набросайте эскизы
Обведите эскизы кузова прицепа на металлических листах. Вырежьте контур. Сварите детали вместе. Убедитесь, что детали сварены правильно, чтобы между деталями не было зазоров.
Шаг 6 — Установите колесо и ось
Ось представляет собой стержень, расположенный посередине колеса. Если вам нужен прицеп, который наклоняется назад, когда он не прикреплен к транспортному средству, разместите ось рядом с центром кузова прицепа. Его также следует располагать по центру ширины тела.
Шаг 7 — Получите нагрузку на язык
Вес на язычке — это величина силы, прилагаемой прицепом к сцепке. Чтобы получить вес язычка, определите вес всего кадра и используйте 5% от общего веса.Убедитесь, что ваш язык может выдержать этот вес.
Шаг 8 — Поместите язычок
Переверните раму и поместите язычок. Язычок выступает из рамы и позволяет подключаться к автомобилю. Он включает маховик, защелку и соединитель. Поместите язычок перед осью. Стандартный шпунт состоит из двух стальных деталей с отверстиями. В отверстие часто помещают круглый стержень, чтобы соединить две части вместе.
Шаг 9 — Присоедините защелку к раме
Это позволяет прицепу оставаться в равновесии.Это также будет использоваться при сцепке прицепа с транспортным средством.
Шаг 10 — Присоедините крылья к раме
Присоедините крылья к раме, чтобы защитить колесо. На слабом огне сварите детали вместе.
Можно использовать небольшие металлические стержни. Вы можете прикрепить угловой утюг, чтобы поддерживать крылья. Вы можете сварить уголок вместе, чтобы укрепить заднюю часть рамы. Если вы строите открытый трейлер, его можно использовать для поддержки ворот, которые вы построите.
Шаг 11 — Покрасьте след
После сборки всех деталей прицеп можно покрасить в любой цвет, который вам нравится.Просто прикрепите прицеп к транспортному средству, если вам нужно его использовать, и уберите его, когда вы этого не сделаете.
Как установить сцепное устройство
Если у вас есть тягач, способный буксировать, вы можете добавить прицепное устройство . Хотя это оборудование входит в стандартную комплектацию многих грузовиков, в других случаях вам придется добавлять сцепное устройство самостоятельно. Если вам нужно буксировать другое транспортное средство или контейнер для хранения или использовать свой автомобиль для спасательной службы, необходимо использовать сцепное устройство для прицепа.
Эта статья покажет вам, как правильно установить прицепное устройство на ваш грузовик.
Шаг 1: Перед установкой
Установка прицепного устройства может быть сложным проектом, если вы не соблюдаете некоторые основные меры предосторожности при сборке и безопасности. При подготовке к установке сцепного устройства следует принять во внимание следующее:
Проконсультируйтесь с вашим руководством, чтобы выбрать правильное сцепное устройство
Часто просматривайте инструкции по сцепному устройству
Не устанавливайте сцепное устройство, если имеется чрезмерное повреждение или ржавчина на участке
При подъеме транспортного средства для установки сцепного устройства; убедитесь, что она надежно закреплена
Соберите сцепное устройство в сухом виде, чтобы вы могли определить любые проблемы до сборки
Если вы уверены, что можете продолжать безопасно, переходите к шагу 2.
Шаг 2: Подготовка грузовика
Чтобы правильно установить сцепное устройство для прицепа, вам нужен легкий доступ к нижней части задней части грузовика.
Используйте домкрат, чтобы поднять грузовик. Закрепите с помощью домкратов. Возможно, вам придется ослабить выхлоп или бампер, чтобы установить сцепное устройство для прицепа на ваш грузовик. Если необходимо сделать что-либо из этого, не забудьте затянуть их на месте, когда закончите установку сцепного устройства прицепа.
Шаг 3: Соберите сцепное устройство для прицепа
Обратитесь к инструкциям, прилагаемым к сцепному устройству для прицепа, и соберите все вместе в соответствии с этими инструкциями.На этом этапе не затягивайте болты. Поднесите собранную сцепку к грузовику, чтобы убедиться, что она подходит по размеру. Другим преимуществом здесь является предупреждение о любых деталях, которые могут отсутствовать в сцепном устройстве прицепа.
Шаг 4: Просверливание отверстий
Это может быть самый важный шаг для правильной установки прицепного устройства. Если отверстия слишком большие, сцепное устройство не будет прикреплено к вашему грузовику. Используйте свободно собранную сцепку прицепа в качестве шаблона.
Удерживая его на месте с помощью С-образных зажимов, используйте отверстия от сцепного устройства прицепа в качестве направляющих для новых отверстий.Удалите шаблон и просверлите отверстия с помощью дрели и сверла правильного размера.
Шаг 5: Присоедините сцепное устройство для прицепа
Просверлив отверстия, вы можете теперь прикрепить сцепное устройство для прицепа, но сначала вы должны установить усиливающие пластины, которые поставляются с сцепным устройством для прицепа. Следуйте предоставленным инструкциям. Теперь снова совместите узел сцепки с отверстиями и вставьте болты. Слегка затяните их. Затем убедитесь, что сцепное устройство прицепа правильно выровнено с грузовиком и ровно.Затем можно затягивать болты.
8 лучших вариантов использования прицепного устройства | Блог U-Haul
Это лучший способ получить максимальную отдачу от вложенных средств, и сцепное устройство для прицепа не исключение. Сцепное устройство для прицепа может использоваться не только для буксировки прицепа.
Все это практично, весело и недорого. Ознакомьтесь с нашими 8 основными вариантами использования буксирного сцепного устройства и постарайтесь максимально эффективно использовать его!
8. Гамак сцепное устройство
Холодный напиток.Ваша любимая книга. Легкий ветерок. Время в гамаке.
Мало что может быть более расслабляющим, чем поднять ногу и снять нагрузку, погрузившись в любимый гамак. К сожалению, найти идеальное место для гамака всегда было довольно сложно. Поиск двух деревьев с правильным расстоянием между ними отнимает драгоценное время, которое вы могли бы провести в гамаке или с друзьями и семьей.
Подставка для гамака прицепного устройства отлично решает эту проблему.Теперь вы можете установить гамак практически в любой точке мира. Если вы умеете водить машину, то можете поваляться в гамаке.
7. Ступень сцепного устройства прицепа
Доступ к платформе вашего грузовика никогда не был таким простым с помощью ступеньки для прицепа.
Этот простой элемент оборудования позволяет легко загружать и выгружать предметы на платформу грузовика и дает удобную точку обзора, чтобы доставить труднодоступные предметы. Вы даже можете установить подножку в передней части грузовика, чтобы быстро получить доступ к моторному отсеку.
Если вы искали способ сесть и вылезти из кузова грузовика или добраться до двигателя, то подножка для прицепа — самое беспроблемное решение.
6. Супербампер
Защитите свою семью, себя и свой автомобиль с помощью аварийного бампера безопасности.
Superbumper — это прочное и прочное сцепное устройство, предназначенное для защиты от двух наиболее распространенных типов дорожно-транспортных происшествий: от ударов при парковке и от ударов сзади.
Superbumper сэкономит ваше время, деньги и, возможно, даже вашу жизнь, удерживая агрессивных или отвлеченных автомобилистов подальше и защищая ваш автомобиль от двух наиболее частых дорожно-транспортных происшествий: столкновения при парковке и наезда сзади.
Когда вы ничего не буксируете, используйте сцепное устройство с Superbumper.
5. Крепление для лебедки
Для тех, кто любит приключения, автомобильная лебедка — идеальное решение для самостоятельной езды по бездорожью.
Гуляете ли вы с друзьями или в одиночестве, передняя навеска лебедки может помочь в самые тяжелые времена.Вы можете использовать его, чтобы вытащить другой застрявший автомобиль, или даже использовать его на себе, прикрепив его к точке крепления.
Лебедку можно использовать даже для тяжелых дворовых работ, так как они способны убирать пни и перемещать другие большие и тяжелые предметы. Дорога на работу преграждена упавшим деревом? С лебедкой проблем нет. Просто оберните шнур лебедки вокруг дерева и медленно снимите его с дороги. Задача решена!
4. Стойки для сцепного устройства для каноэ
Ничто так не говорит о лете, как провести день на озере.
С помощью крепления для каноэ или сцепного устройства вы можете перевозить каноэ практически с любым транспортным средством, имеющим сцепное устройство.
Легко закрепите, транспортируйте и слезайте каноэ с помощью навесной системы стеллажей, и делайте это с легкостью! Многие из этих креплений для каноэ рассчитаны на одного человека. Погрузчик работает с вашей сцепкой, поэтому вы все равно можете использовать его для буксировки, пока ваше каноэ загружено.
3. Крышка сцепного устройства
Практически лучший способ использовать неиспользуемое сцепное устройство — это крышка приемника сцепного устройства.На выбор предлагается большой выбор: военные, спортивные и культурные темы.
Чехлы для ресивера— это самый доступный способ продемонстрировать свою индивидуальность и поддерживать внешний вид вашей сцепки круглый год.
2. Грузовой перевозчик
Для искушенного мастера мало что может предложить универсальность и надежность грузового автомобиля.
Идеально подходит для перевозки самых разных вещей, от походных принадлежностей, дров до спортивных товаров. Держите свой автомобиль свежим, поместив вонючую спортивную одежду в багажник.Они идеально подходят для любителей активного отдыха, которые не хотят убирать всю пыль и грязь, оставшуюся после кемпинга.
1. Крепление для велосипедов
Крепления для велосипедов бывают разных размеров и вмещают от 1 до 5 велосипедов. Крепление для велосипедной стойки упрощает ваши планы поездок, освобождая ценное место в багажнике. Выберите стиль, соответствующий вашим потребностям. Стеллажи с лотком упрощают загрузку. Те, у которых есть выдвижной рычаг, позволяют стойке отодвигаться от автомобиля, обеспечивая доступ к багажнику, даже когда велосипедная стойка полностью загружена.
Собираетесь ли вы в Моав, штат Юта, для интенсивного бездорожья или просто в парк с семьей, для вас найдется крепление для велосипедов.
Сцепное устройство для прицепа позволяет вам делать больше, чем просто буксировать прицеп. В кемпинге, на велосипеде, на каноэ или просто пытаетесь немного модернизировать свой автомобиль, есть что-то для вас. Найдите недостающий кусок сегодня.
Сколько стоит установка сцепного устройства 5-го колеса?
У вас есть грузовик и вы купили седельно-сцепное устройство.Теперь вам нужно знать, сколько будет стоить установка седельно-сцепного устройства, чтобы вы могли отправиться в путь.
Путешествие на пятом колесе — это весело и увлекательно. Вам нужно как можно быстрее установить сцепное устройство на свой грузовик, чтобы вы могли начать использовать свой новый прицеп.
Сколько стоит установка седельно-сцепного устройства?
Стоимость будет варьироваться, но обычно установка седельно-сцепного устройства в квалифицированном магазине или установщике будет стоить от 750 до 1700 долларов.Это включает в себя оплату труда и стоимость самого сцепного устройства. Если вы устанавливаете его самостоятельно, это, вероятно, будет стоить вам от 350 до 1200 долларов за сцепное устройство и монтажный / направляющий комплект, который вам нужно будет вставить. Если у вас нет всех необходимых инструментов, вам также, возможно, придется купить.
Хорошая сцепка сделает вашу поездку на крючок и расцепление и путешествие намного более плавным, а приключения в кемпинге — более увлекательными, так что это важная покупка.
Продолжайте читать, чтобы узнать больше о том, сколько будет стоить установка вашего нового седельно-сцепного устройства? Какой тип сцепки выбрать? Где его установить? Стоит ли устанавливать самому? Как много времени это займет?
Стоимость установки сцепного устройства 5-го колеса
Стоимость сцепного устройства сильно варьируется.Они варьируются от 50 до 200 долларов за базовую сцепку и более тысячи долларов за более сложную модель.
Для некоторых вам также потребуется приобрести монтажный комплект или комплект направляющих.
То, что вы покупаете, будет зависеть от ваших предпочтений, вашего грузовика и вашего бюджета.
При выборе сцепки следует учитывать следующие факторы;
- Размер и вес вашего прицепа
- Длина кузова вашего грузовика (длинный или короткий ящик)
- Вы хотите, чтобы сцепное устройство было полностью съемным? (если вам нужно использовать грузовик для других работ)
- Что для вас наиболее важно — цена или производительность?
Сколько будет стоить само сцепное устройство и какой тип выбрать?
Любая сцепка выполнит работу по перемещению вашего прицепа.
Сцепное устройство по бюджетной цене доставит вас из пункта А в пункт Б и может быть всем, что вам нужно, если вы не планируете много перемещать прицеп или если вас больше всего волнует цена.
Более дорогое сцепное устройство часто будет более качественным, более простым в использовании и обеспечивает более плавную буксировку, но вы будете за это хорошо платить.
Как и все покупки, золотая середина — покупка чего-то среднего ценового диапазона — обычно безопасный выбор. Вы получите достойное качество и опыт буксировки, не тратя больше, чем нужно.
Какие бывают типы седельно-сцепного устройства?
Существует три основных типа сцепного устройства седельно-сцепного устройства:
- Направляющая штанга
- Двойная челюсть
- Одинарная челюсть
Направляющая штанга
Как правило, это наиболее экономичный вид сцепка, и они имеют то преимущество, что они автоматически блокируются вокруг вашего шкворня, когда вы находитесь в нужном положении.
Недостатком является то, что они не фиксируются так плотно, как другие типы сцепки, поэтому при буксировке будет больше движения и шума.
Сцепное устройство со скользящей штангой очень надежно и подойдет для более коротких поездок, но вы можете предпочесть сцепное устройство с двумя или одним захватом для более длительных поездок.
Dual Jaw
Сцепные устройства с двумя захватами являются середнячками с точки зрения цены и предлагают меньше шума и движений, чем тип скользящей штанги.
Вы почувствуете какое-то движение и услышите некоторый шум у шкворня, но он будет меньше, чем с ползунком.
В отличие от ползуна, вам нужно будет закрыть двойную сцепку вокруг шкворня, как только вы окажетесь на месте.
Одиночная челюсть
Сцепка с одной челюстью обеспечивает наиболее надежное соединение и наименьший уровень шума при буксировке. Он обеспечивает самое прочное соединение с вашим шкворнем, что обеспечивает более плавную езду.
Как и в случае с двойной челюстью, вам нужно будет закрыть сцепку вокруг шкворня, как только вы займете положение.
Все три типа сцепного устройства предлагают очень надежные и надежные варианты буксировки. Как и во всем, что вы буксируете, вы всегда должны дважды проверять соединение, прежде чем отправиться в путь.
Единственный раз, когда я читал о том, что заминка отключается и причиняет ущерб, была человеческая ошибка.
Какое сцепное устройство на 5-е колесо лучше всего?
Ниже приведены некоторые хорошо оцененные 5-е сцепки, которые вы можете купить .
1: B&W Companion 5th Wheel Hitch RVK3500 20000 фунтов (двойная челюсть)
Модель Curt A16 имеет полностью шарнирную головку, кулачковую ручку с защелкой и полиуретановые втулки — все это в сумме дает отличный выбор движение, легкий выпуск и тихая езда.Он может выдерживать полную массу прицепа до 20 000 фунтов и имеет ограниченный срок действия.
2: CURT 16120 Черное сцепное устройство для пятого колеса A16, 16 000 фунтов (двойная челюсть)
Диапазон от 50 до 200 долларов США обеспечивает грузоподъемность прицепа с полной массой до 16 000 фунтов. Он имеет возможность конвертировать Curt двойного замок GOOSENECK заминок для стандартных промышленных седельно рельсов. Он также имеет трехпозиционный индикатор сцепления, показывающий состояние сцепления.
3: Сцепное устройство для пятого колеса Reese 30081 20K (с одной лапой)
Самоблокирующееся сцепное устройство с одной кулачком Reese 30081 имеет полную массу прицепа 20 000 фунтов и имеет четырехпозиционный шарнир спереди, сзади и из стороны в сторону.Он имеет индикатор шкворня и предназначен для увеличения контакта шкворня, чтобы обеспечить более надежное соединение и плавность хода.
4: Сцепное устройство для пятого колеса Reese Pro Series 30128 15 000 фунтов (слайдер)
Сцепное устройство со скользящей штангой Reese Pro 30128 имеет полную массу прицепа 15 000 фунтов и механизм с закругленной штангой.
Он предназначен для автоматической фиксации и имеет мягкую ручку. Он также имеет четырехстороннюю поворотную головку, которая упрощает зацепление вашего дома на колесах на неровной поверхности.
Где установить новый 5th Wheel ?
Большинство дилеров, продающих дома на колесах и прицепах, установят сцепные устройства для вас. Вы можете получить хорошую сделку, если купите сцепное устройство и установку вместе с ними во время покупки прицепа.
Если вы доплачиваете за установку, было бы разумно присмотреться к магазинам, так как у дилерских центров RV, как правило, более высокие почасовые ставки, чем в других центрах обслуживания автомобилей.
Есть много магазинов, специализирующихся на установке сцепных устройств.Они будут ориентироваться не только на дома на колесах, но и на установщиков автомобилей.
Часто они будут иметь более выгодные цены, чем специализированные магазины для домов на колесах, потому что установка сцепных устройств — это то, что они делают каждый день.
Места для U-образной транспортировки часто предлагают установку сцепного устройства и могут быть отличным выбором, если это возможно в вашем районе.
Стоит ли устанавливать самостоятельно?
Вы также можете установить сцепное устройство самостоятельно. Если вы удобны и у вас есть основные инструменты, которые вам понадобятся, это может сэкономить вам много денег.
Большинство современных сцепных устройств больше не требуют сверления рамы грузовика и предназначены для использования уже существующих предварительно просверленных отверстий.
Вы захотите ознакомиться с инструкциями по установке выбранного вами сцепного устройства, чтобы убедиться, что вам удобно выполнять установку.
Сколько времени нужно, чтобы установить сцепное устройство для пятого колеса?
Простая установка, как правило, занимает 3–6 часов, чтобы установить сцепное устройство с 5 колесами.Если вы приобретете модель сцепного устройства специально для вашего автомобиля, это также поможет и упростит задачу.
Некоторые зацепы могут потребовать работы с нижней стороны вашего грузовика и могут потребовать снятия таких вещей, как тепловые экраны или, в худшем случае, баков, чтобы полностью установить сцепное устройство.
Все будет зависеть от выбранного вами сцепного устройства и модели вашего грузовика. (здесь, как выбрать подходящий грузовик для пятой буксировки)
Если вы не уверены, что справляетесь с этой работой, лучше доверить это профессионалам.
Получение нового седельно-сцепного устройства должно быть простым процессом после того, как вы определились, какой тип сцепного устройства и цена лучше всего подходят для ваших путешествий.
Независимо от того, устанавливаете ли вы его профессионально или делаете это самостоятельно, у вас должно быть достаточно информации, чтобы сделать выбор и перейти к следующему шагу на пути к приключениям на автофургоне.
Помните — нет неправильного выбора, просто выбор, который лучше всего подходит для вас!
Установить собственное сцепное устройство для прицепа просто
Установка собственных автозапчастей очень похожа на печь торта.
Это не обязательно сложно, но практически невозможно, если у вас нет правильного рецепта и ингредиентов. Оснащение правильными инструментами и запчастями имеет решающее значение для качественного результата. Я не говорю, что вам не следует импровизировать, но не думайте, что вы можете доверять болту, который вы затягивали вручную, потому что у вас нет гнезда нужного размера. Давайте посмотрим правде в глаза; рабочая сила не из дешевых, и иногда заводские инструкции просто не годятся. Итак, вот несколько советов, которые помогут вам в процессе установки.
Советы перед установкой:
1. Очевидно, вы хотите выбрать сцепное устройство, которое разработано с учетом года выпуска, марки и модели вашего автомобиля, но также убедитесь, что ваше сцепное устройство способно удовлетворить ваши потребности — означает ли это возможность буксировать велосипедную стойку или передвижной дом.
2. Прочтите инструкции и убедитесь, что у вас есть все инструменты и детали, прежде чем начать.
Вы же не хотите закончить проект на полпути и понять, что производитель забыл включить болт в вашу упаковку.
3. Осмотрите область, в которой вы будете прикреплять сцепное устройство. ЗАПРЕЩАЕТСЯ прикреплять сцепное устройство к раме или участку с признаками чрезмерного повреждения или коррозии.
4. Ваша собственная физическая безопасность — # 1. Если вы поднимаете свой автомобиль, убедитесь, что он надежно закреплен, чтобы он не упал или не скатился.
5. Используйте соответствующие инструменты и защитное снаряжение. Несоответствующие головки гаечных ключей могут повредить болты, что делает невозможным их снятие. Также при сверлении отверстий надевайте защитные очки; металлический осколок глаза может испортить вам день.
Пошаговые инструкции и советы по установке:
1. Для начала необходимо свободно собрать сцепное устройство и поднести его к месту установки. Это позволит вам определить любые потенциальные препятствия и подтвердить, что у вас есть все необходимые детали.
2. Вероятно, вам потребуется поднять автомобиль, используя для этого напольный или ножничный домкрат. Также рассмотрите возможность использования c-образных зажимов для фиксации сцепного устройства на раме на протяжении всего процесса установки.
3. Вам может потребоваться ослабить бампер, выхлопную систему или другие детали вашего автомобиля, чтобы сцепное устройство встало на место, особенно если у вас есть запасные части.Важно! Не забудьте снова установить все детали после установки сцепного устройства.
4. Попытайтесь совместить сцепку с имеющимися отверстиями. Если ваша сцепка не совпадает с отверстиями, не паникуйте. Вы просто зажмете сцепное устройство там, где хотите, закатите рукава и просверлите необходимые отверстия. ЗАПРЕЩАЕТСЯ сверлить отверстия более чем на 1/16 дюйма больше, чем болты. Кроме того, убедитесь, что вы не просверливаете какие-либо важные компоненты ходовой части грузовика. Используй здравый смысл.
5.Обязательно используйте усиливающие пластины, которые идут в комплекте с фаркопом.
Они укрепляют раму и распределяют вес по краям рамы.
6. Закрепите сцепку металл к металлу на раме. Излишки сварного шва следует удалить.
7. Подсоедините и установите всю проводку. В ваших инструкциях по сцепке должны быть инструкции.
8. Убедитесь, что ваше сцепное устройство установлено симметрично автомобилю, и затяните все гайки и болты.
9. Если у вас возникнут проблемы, не вносите изменения в раму сцепки.Ваша сцепка была тщательно разработана, чтобы выдерживать сотни, а иногда и тысячи фунтов. Добавление отверстий или модификаций может ослабить его конструкцию и потенциально вызвать аварию.
Надеюсь, теперь вы готовы воспользоваться преимуществами вашего Trailer Hitch. Hidden Hitch и ряд других компаний производят различные сцепные устройства для прицепов, подходящие для вашего конкретного автомобиля. Выделите немного времени в день, закатайте рукава и приступайте к делу. В конце дня вы сэкономите немного денег и кое-что достигнете.-Майк Розания


Направление должно быть противоположным к крюку, а с кронштейном крюка должен получиться угол 900;

При наличии соответствующих навыков можно изготовить её самостоятельно, приварив газосваркой к метровой трубе балку-уголок.
, то без установки блока согласования работа автомобиля будет нарушена.
Чтобы во время простоя повозка полуприцепа не опрокидывалась, ее снабжают откидными упорными стойками. Полуприцеп не может передвигаться без сцепки с автомобилем.

Евростандарты признают только съемные фаркопы. А водителю с классической конфигурацией прицепного предстоит лезть под машину и демонтировать устройство или развести руками.


При совмещении крюка и поперечин обозначатся места сверления для двух болтов в этих поперечинах. Итак, съемный европейский фаркоп приобретает узнаваемые черты:
Направление должно быть противоположным к крюку, а с кронштейном крюка должен получиться угол 900;
Приварите и усильте откосами;



Высушите грунт в соответствии с инструкцией. Прошлифуйте наждачной бумагой № 400 с водой чтобы поверхность после высыхания воды была равномерно матовой. Поверхность готова ― сушите, обезжиривайте спиртом или бензином Б-70 (растворителем свежий грунт размажется). Затем можно красить. После такой подготовки ваша краска будет держаться очень долго.



ru/texnika/tillers/stsepka-dlya-motobloka-svoimi-rukami.html: использовано 1 блоков из 3, кол-во символов 2846 (11%)



(Не обрезайте углы, используя старую зубную щетку — она тоже не справится со своей работой!)
Когда он ослабнет, вы сможете использовать пальцы.
Это включает в себя оплату труда и стоимость самого сцепного устройства. Если вы устанавливаете его самостоятельно, это, вероятно, будет стоить вам от 350 до 1200 долларов за сцепное устройство и монтажный / направляющий комплект, который вам нужно будет вставить. Если у вас нет всех необходимых инструментов, вам также, возможно, придется купить.