Роторный двигатель: принцип работы
Как работает роторный двигатель. Роторный двигатель изобретен и разработан доктором Феликсом Ванкелем и иногда называется двигатель Ванкеля или роторный двигатель Ванкеля.
Роторный двигатель, как и традиционный поршневой, является двигателем внутреннего сгорания, но работает он совершенно иначе. В поршневом двигателе, в одном и том же объеме пространства (в цилиндре) попеременно происходят четыре различные работы — впуск, сжатие, сгорание и выпуск (такты).
Роторный двигатель делает эти четыре такта в одном и том же объеме(камере), но каждый из этих тактов происходит в своей отдельной части этой камеры. Как будто для каждого цикла используется отдельный цилиндр, а поршень перемещается от одного цилиндра к другому.
В этой статье мы подробно расскажем, как работает роторный двигатель. Давайте начнем с основных принципов его работы.
Принцип работы роторного двигателя.
Как и поршневой, роторный двигатель использует давление которое создается при сжигании смеси воздуха и топлива.
В роторном двигателе, давление сгорания содержится в камере, образованной частью объема камеры закрытой стороной треугольного ротора, который используется в данном случае вместо поршней.
Роторный двигательРотор и корпус роторного двигателя от Mazda RX-7: Эти детали заменяют поршни, цилиндры, клапаны, шатуны и распредвалы в поршневых двигателях.
Ротор соединен со стенками камеры каждой из трех своих вершин, создавая три отдельных объема газа. Ротор вращается, и каждый из этих объемов попеременно расширяется и сжимается. Цепная реакция всасывает воздух и топливо в рабочую камеру, сжимает смесь, она расширяясь делает полезную работу, затем выхлопные газы выталкиваются, новая порция воздуха и топлива всасывается, и так далее.
Мы заглянем внутрь роторного двигателя, чтобы познакомится с его устройством, но сначала давайте взглянем на новые модели автомобилей с роторным двигателем.
Mazda RX-8
Mazda стала пионером в массовом производстве автомобилей, использующих роторные двигатели. Спорткар RX-7, который поступил в продажу в 1978 году, был, пожалуй, наиболее успешным автомобилем с роторным двигателем. Но ему предшествовал целый ряд автомобилей, грузовиков и даже автобусов с роторной силовой установкой, начиная с Cosmo Sport выпуска 1967 года.
Однако RX-7 не продается с 1995 года, но идея роторного двигателя не умерла. Mazda RX-8, последний спорткар от Mazda, имеет у себя под капотом новейший роторный двигатель под названием RENESIS. Названный лучшим двигателем 2003 года, этот атмосферный двух-роторный двигатель производит около 250 лошадиных сил.
Строение роторного двигателя.
Роторный двигатель имеет систему зажигания и систему впрыска топлива, весьма похожие на те, что установлены на поршневых двигателях.
Однако, если вы никогда не видели внутренности роторного двигателя, то будьте готовы удивиться, потому что вы не увидите ничего знакомого.
Ротор
Ротор имеет три выпуклых стороны, каждая из которых действует как поршень.
Каждая сторона ротора имеет углубление в ней, что повышает скорость вращения ротора в целом, предоставляя больше пространства для топливо-воздушной смеси.
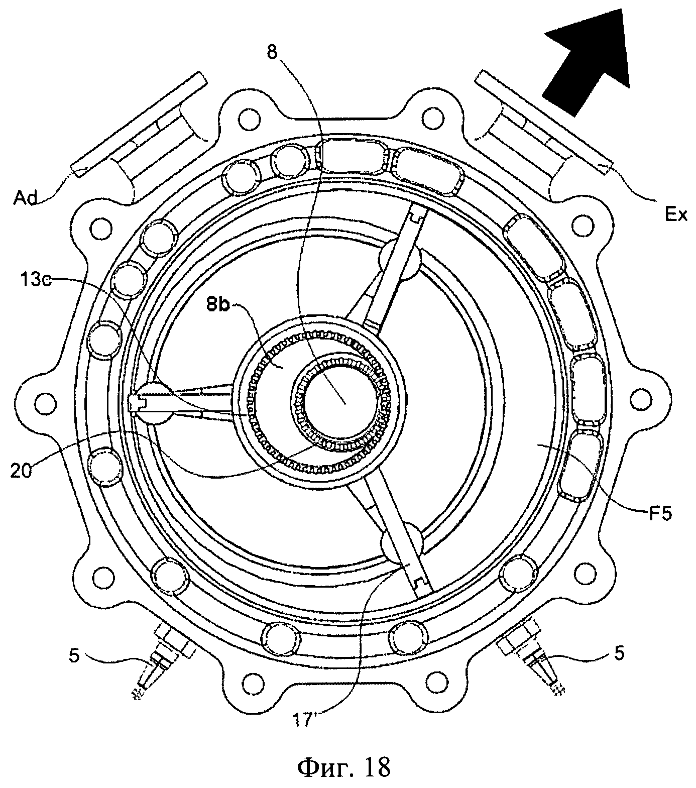
На вершине каждой грани находится по металлической пластине, которые и формируют камеры, в которых происходят такты двигателя. Два металлических кольца на каждой стороне ротора формируют стенки этих камер. В середине ротора находится круг, в котором имеется множество зубьев. Они соединены с приводом, который крепится к выходному валу. Это соединение определяет путь и направление, по которому ротор движется внутри камеры.
Камера
Камера двигателя приблизительно овальной формы (но если быть точным — это Эпитрохоида, которая в свою очередь представляет собой удлиненную или укороченную эпициклоиду, которая является плоской кривой, образуемой фиксированной точкой окружности, катящейся по другой окружности).
Форма камеры разработана так, чтобы три вершины ротора всегда находились в контакте со стенкой камеры, образуя три закрытых объемах газа.
В каждой части камеры происходит один из четырех тактов:
- Впуск
- Сжатие
- Сгорание
- Выпуск
Отверстия для впуска и выпуска находятся в стенках камеры, и на них отсутствуют клапаны. Выхлопное отверстие соединено непосредственно с выхлопной трубой, а впускное напрямую подключено к газу.
Выходной вал
Выходной вал имеет полукруглые выступы-кулачки, размещенные несимметрично относительно центра, что означает, что они смещены от осевой линии вала. Каждый ротор надевается на один из этих выступов. Выходной вал является аналогом коленчатого вала в поршневых двигателях. Каждый ротор движется внутри камеры и толкает свой кулачок.
Так как кулачки установлены несимметрично, сила с которой ротор на него давит, создает крутящий момент на выходном валу, заставляя его вращаться.
Теперь давайте посмотрим, как эти части взаимодействуют.
Строение роторного двигателя
Роторный двигатель состоит из слоев. Двухроторный двигателя состоят из пяти основных слоев, которые удерживаются вместе благодаря длинным болтам, расположенным по кругу. Охлаждающая жидкость протекает через все части конструкции.
Два крайних слоя закрыты и содержат подшипники для выходного вала. Они также запечатаны в основных разделах камеры, где содержатся роторы. Внутренняя поверхность этих частей очень гладкая и помогает роторам в работе. Отдел подачи топлива расположен на конце каждой из этих частей.
Следующий слой содержит в себе непосредственно сам ротор и выхлопную часть.
Центр состоит из двух камер подачи топлива, по одной для каждого ротора. Он также разделяет эти два ротора, поэтому его внешняя поверхность очень гладкая.
В центре каждого ротора крепится две большие шестерни, которые вращаются вокруг более маленьких шестерней и крепятся к корпусу двигателя.
Мощность роторного двигателя
Роторные двигатели используют четырехтактный цикл сгорания, как и в обычном поршневом. Но в роторном это происходит совсем по-другому.
Сердце роторного двигателя — это ротор. Он чем-то эквивалентен поршню в поршневом двигателе. Ротор установлен на большой округлом лепестке на выходном вале. Этот лепесток смещается от осевой линии вала и действует как заводная ручка на лебедку, давая ротору пространство для поворота выходного вала. Пока ротор вращается внутри корпуса, он толкает лепесток внутри жестких кругов, вращаясь 3 раза за каждый оборот ротора.
В то время как ротор вращается в корпусе, три отсека внутри изменяют свой размер. Изменение размера этих камер создает давление. Давайте пройдем по всем 4 отсекам двигателя.
Подача
Первая фаза начинается тогда, когда вершина ротора находится на уровне отсека подачи. В момент когда камера подачи открыта для основного отсека, объем этой камеры близок к минимуму.
Компрессия
В то время как ротор продолжает свое движение по основному отсеку, пространство в отсеке становится меньше, смесь из воздуха/топлива сжимается. Как только ротор проходит отсек со свечами зажигания, объем камеры снова сводится к минимуму. В это время происходит возгорание смеси.
Возгорание
Большинство роторных двигателей имеет две свечи зажигания. Камера возгорания достаточно длинная, поэтому одной свечи будет недостаточно. Как только свечи воспламеняет топливно-воздушную смесь, давление в отсеке сильно увеличится, приводя ротор в движение. Давление в камере возгорания продолжает расти, заставляя ротор двигаться, а отсек расти в объеме. Газы от возгорания продолжают расширяться, перемещая ротор и создавая мощность, до того момента, пока ротор не пройдет выхлопной отсек.
Выхлоп
После того, как ротор проходит выхлопной отсек, высокое давление газа сгорания свободно выходит в выхлопную трубу. Так как ротор продолжает движение, камера начинает сжиматься, выдавливая оставшиеся выхлопные газы в свободный отсек. К тому времени объем камеры опять падает к минимуму и цикл начинается сначала.
Разница и Проблемы
У роторного двигателя достаточно много различий с обычным поршневым двигателем.
Меньше движущихся частей
Роторный двигатель имеет намного меньше частей, чем скажем 4-ех цилиндровый поршневой движок. Двух роторный двигатель имеет три главные движущиеся части: два ротора и выходной вал. Даже самый простой 4-ех цилиндровый поршневой двигатель имеет как минимум 40 движущихся частей, включая поршни, шатуны, стержень, клапаны, рокеры, клапанные пружины, зубчатые ремни и коленчатый вал. Минимизация движущихся частей позволяет получить роторным двигателям более высокую надежность. Именно поэтому некоторые производители самолетов (к примеру Skycar) используют роторные двигатели вместо поршневых.
Мягкость
Все части в роторном двигателе непрерывно вращаются в одном направлении, в отличие от постоянно изменяющих направление поршней в обычном двигателе. Роторный движок использует сбалансированные крутящиеся противовесы, служащие для подавления любых вибраций. Подача мощности в роторном двигателе также более мягкая. Каждый цикл сгорания происходит за одни оборот ротора в 90 градусов, выходной вал прокручивается три раза на каждое прокручивание ротора, каждый цикл сгорания проходит за 270 градусов за которые проворачивается выходной вал. Это значит, что одно роторный двигатель вырабатывает мощность в три четверти . Если сравнивать с одно-цилиндровым поршневым двигателем, в котором сгорание происходит каждые 180 градусов каждого оборота, или только четверти оборота коленчатого вала.
Неспешность
В связи с тем, что роторы вращаются на одну треть вращения выходного вала, основные части двигателя вращаются медленней, чем части в обычном поршневом двигателе.
Это также помогает и в надежности.
Проблемы
Самые главные проблемы при производстве роторных двигателей:
Достаточно сложно (но не невозможно) подстроиться под регламент выброса CO2 в окружающую среду, особенно в США.
Производство может стоить намного дороже, в большинстве случаев из-за небольшого серийного производства, по сравнению с поршневыми двигателями.
Они потребляют больше топлива, так как термодинамическое КПД поршневого двигателя снижается в длинной камере сгорания, а также благодаря низкой степени сжатия.
Источник: Авто Релиз.ру.Роторный двигатель на автомобиль.
Роторный двигатель внутреннего сгорания (или как его ещё называют роторно-поршневым, так как сам ротор выполняет роль поршня) был изобретён ещё в 1957 году прошлого века талантливыми инженерами Феликсом Ванкелем и Вальтером Фройде. Этот двигатель существенно отличается от обычного двигателя внутреннего сгорания. В этой статье мы подробно рассмотрим эти основные отличия, а так же преимущества и недостатки роторного двигателя перед обычным мотором, и почему всё таки РПД не так распространён, как обычный ДВС.
Основное отличие роторно-поршневого двигателя перед обычным поршневым, это отсутствие цилиндропоршневой группы, то есть поршней с кольцами, шатунов и цилиндров. Ну и самое главное — это отсутствие множества деталей механизма газораспределения, что позволило сэкономить на производстве около тысячи деталей!
Основная деталь такого двигателя — это ротор, имеющий форму треугольника (cм. фотографии и рисунок). И этот ротор, с помощью зубьев шестерни, входит в зацепление с шестерней другой детали, но неподвижной — статором. Принцип работы роторного двигателя можно посмотреть на видеоролике чуть ниже и он основан на том, что вершины треугольного ротора, при его вращении трутся по эпитрохоидальной (имеющей форму восьмёрки) и полированной внутренней поверхности картера (статора).
И при этом ротор своими гранями вершин отсекает при вращении переменные объёмы трёх камер (трёх камер потому, что у ротора три вершины, бывает и другое число, но три — самый распространённый вариант).
Камеры образуются отсеканием вершинами ротора внутренней поверхности статора (при вращении ротора).
При вращении ротора получается, что ротор играет роль и поршня и клапанов при работе мотора. И такая уникальная конструкция позволяет осуществлять любой четырёхтактный цикл Отто, Стерлинга или Дизеля, и при этом не нужен отдельный механизм газораспределения с множеством деталей, который имеется в головке цилиндров обычного и хорошо известного нам ДВС.
А герметичность пар в роторном двигателе, достигается торцевыми и радиальными уплотнителями (пластинами), которые при работе ещё лучше прижимаются давлением газов, центробежной силой, а так же специальными плоскими пружинами.
К тому же благодаря отсутствию головки цилиндров с механизмом ГРМ, а так же отсутствию кривошипно-шатунного механизма (коленвала, шатунов) и самих цилиндров, роторно-поршневой двигатель получается очень компактным (см фото слева) и не занимает много места под капотом. Так ещё и кроме своей компактности, такие моторы имеют бóльшую мощность, чем обычные двигатели.
И у такого мотора гораздо меньше деталей, чем у привычного нам ДВС. Это хорошо видно на фото слева. И это далеко не все преимущества и подробнее о преимуществах РПД написано ниже.
Преимущества роторного двигателя.
- Меньшие габаритные размеры, чем у обыччного ДВС (примерно в полтора и даже в два раза). Это позволяет сделать машину более просторной и удобной для обслуживания.
- Бóльшая удельная мощность, при меньшем объёме камеры сгорания, чем у обычного ДВС. Это достигается благодаря тому, что однороторный мотор выдаёт мощность в течении трёх четвертей каждого оборота вала. А на знакомом нам обычном моторе, мощность выдаётся только в течении одной четверти оборота коленвала.
- Меньшее количество деталей (примерно около тридцати), а у обычного ДВС несколько сотен деталей.
- Способность развить большие обороты при отсутствии вибрации, так как нет кривошипно-шатунного механизма, который преобразует возвратно-поступательное движение поршней в вращательное.

- Низкий уровень вибрации, и мотор хорошо уравновешен.
- Отличные динамические показатели автомобиля с РПД, и на низкой передаче можно легко разогнаться более сотни км/ч.
- Ну и главный плюс, который я считаю вернёт эти моторы на дороги в будущем — это меньшая склонность к детонации, по сравнению с обычным ДВС. А значит можно использовать в качестве топлива не только бензин, но и водород — топливо будущего.
Так почему же такой двигатель не стал популярен у производителей автомобилей (исключение фирма Мазда) и до сих пор распространены обычные двигатели?. Чтобы ответить на этот вопрос, рассмотрим недостатки роторного-поршневого двигателя (РПД).
Недостатки роторного двигателя.
Кроме множества преимуществ, у РПД имеется ряд недостатков, из-за которых он не получил широкого распространения:
- Повышенный расход топлива, особенно на низких оборотах, по сравнению с обычным двигателем.
- Сложность производства, так как требуется очень большая точность изготовления трущихся пар и очень качественные сплавы (легированные стали).
К тому же на производстве должны быть очень дорогие, сложные и точные металлообрабатывающие станки, так как фреза должна при обработке (например внутренней поверхности статора) следовать очень сложной траектории. - Быстрый износ уплотнителей, так как площадь пятна контакта маленькая а обороты вала большие. А при износе уплотнителей, из-за прорыва газов повышается токсичность, резко теряется коэффициент полезного действия (КПД) двигателя и потеря мощности.
- Бóльшая склонность к перегреву, чем обычный ДВС. Из-за повышенного перегрева, даже бывают проблемы с воспламенением смеси в камере и чтобы улучшить воспламенение, на такие моторы устанавливают по две свечи зажигания на камеру. Две свечи ставят ещё и потому, что камера сгорания имеет вытянутую плоскую форму, и одной свечи в ней недостаточно.
- В большинстве регионов не возможность ремонта таких двигателей, так как нет ни адекватных специалистов, ни запасных частей.
- Более частая замена моторного масла, из-за того, что ротор соединяется с выходным валом через эксцентриковый механизм и получается большое давление между трущимися деталями.
В добавок к этому ещё и большая температура приводит к быстрому износу двигателя, особенно если вовремя не поменять масло, а менять как я уже говорил, его надо чаще. Если же вовремя менять масло, уплотнители и делать капремонт, то ресурс РПД будет достаточно большим. А у некоторых двигателях японской фирмы Мазда, проработать РПД без поломок может около трёхсот тысяч км.
Устройство и более подробный принцип работы роторно-поршневого двигателя.
В роторном двигателе, как и в обычном ДВС вращение выходного вала (работа двигателя) происходит за счёт сгорания топливно-воздушной смеси. И так же как в привычном нам обычном двигателе, РПД имеет впускной канал, через который впрыскивается рабочая смесь, и имеет выпускной канал, через который выбрасываются отработавшие газы.
Но основное отличие состоит в том, что газы, образуемые при сгорании топлива, давят не на поршень (поршни), а на ротор, и от этого ротор передаёт вращение через зубья шестерни и эксцентрики на приводной вал.
При этом сам ротор при этом выполняет и роль газораспределителя (как в двухтактном моторе, но не совсем), и делит внутренний объём картера на три отдельных камеры.
И в каждой камере в определённый момент происходит всасывание рабочей смеси, её сжатие, вспышка рабочей смеси и сам рабочий ход от расширения газов, ну и выпуск отработанных газов (четыре такта). Подробно это показано на рисунке слева и описано ниже.
- Такт впуска. Всасывание рабочей смеси происходит в тот момент, когда соответствующая вершина ротора проходит через впускное отверстие в картере двигателя. А при дальнейшем движении ротора, объём соответствующей камеры увеличиваетс и создаётся разряжение, при котором рабочая смесь засасывается в камеру.
- Такт сжатия. Далее при вращении ротора, впускное отверстие отсекается кромкой другой (следующей) вершины ротора, и одновременно объём камеры уменьшается, таким образом рабочая смесь сжимается и давление в камере увеличивается.
Пик сжатия (наибольшего давления смеси) достигается в районе свечей зажигания. - Такт рабочий ход. В этот момент происходит разряд на двух свечах зажигания и соответственно вспышка сжатой рабочей смеси. От вспышки происходит сгорание и расширение продуктов горения, которые с силой толкают ротор, и от этого он проворачивается и вращает выходной вал.
- Такт выпуска. Далее, при вращении ротора, кромка одной из вершин ротора проходит выпускное отверстие в картере, открывая его, и через это выпускное отверстие под давлением выходят отработанные газы. Далее первый ротор благодаря силе инерции, а так же благодаря действию второго ротора, работающего асинхронно первому ротору, продолжает своё вращение и подходит опять кромкой к впускному отверстию, для нового такта впуска, и всё повторяется заново.
Но как понял читатель из выше описанного, чтобы лучше сбалансировать РПД, а так же уменьшить вибрацию и предотвратить детонацию, применяют не один а два ротора (см.
фото выше, где показан РПД в разобранном виде). А сам ротор (роторы) немного смещён (эксцентричен) от выходного вала, ось которого расположена строго по центру и передаёт вращение на вал как бы обкатывая его по кругу.
Передача вращения происходит воздействием шестерни ротора на шестерню вала (а шестерня вала находится внутри шестерни ротора), а передаточное число рассчитано так, что за один оборот ротора, вал совершает три оборота.
Основные детали роторно-поршневого двигателя. Главная деталь РПД это ротор, имеющий форму треугольника. Причем на каждой из трёх немного выпуклых плоскостей ротора, имеются выборки (углубления — см. фото), которые делаются на заводе для того, чтобы немного увеличить рабочий объём двигателя.
На каждой из трёх вершин ротора, вставлены уплотнительные пластинки, которые уплотняют сам ротор относительно внутренней поверхности картера двигателя, и делят внутреннюю полость картера на три камеры. Пластинки трутся о внутреннюю поверхность картера с большой скоростью и разумеется постепенно изнашиваются.
Поэтому они вставлены в вершину ротора так, что бы по необходимости их можно было заменить новыми, взамен изношенных.
Так же с каждой стороны ротора (ближе к центру — см. фото) установлены уплотнительные кольца, которые герметизируют (отделяют) полость камер от картера. Ну и в самом центре ротора жёстко вмонтирована кольцевая шестерня (зубчатый венец), которая как бы обкатывается вокруг меньшей шестерни, закреплённой на валу двигателя, и передаётся вращение выходному валу.
Сам ротор (роторы) помещён в картер, а картер состоит из нескольких плит, которые плотно соединяются между собой, образуя несколько отсеков и разделяющие их стенки. Как правило разделительная стенка делит двигатель на две основные части (полости), в каждой их которых работает свой отдельный ротор (обычно в моторе два ротора).
Каждая полость имеет впускной и выпускной каналы, и сложную форму в виде восьмёрки, которую не так то просто выполнить при производстве. К тому же стенки должны быть изготовлены из очень твёрдого материала, иначе они быстро износятся, и от этого давление в камерах упадёт, и соответственно упадёт и мощность мотора.
Сам картер имеет с наружи двойную стенку (как блок обычного ДВС) для циркуляции между стенками охлаждающей жидкости системы охлаждения. А в центре картера имеются отверстия, в которые запрессованы подшипники, на которых висит вал мотора.
Вал роторного двигателя с виду похож на распределительный вал обычного ДВС (см. фото), так как имеет эксцентрики, похожие на кулачки распредвала обычного мотора. Вал изготовлен так, что эксцентрики расположены на нём в противоположных сторонах вала. И когда на эти эксцентрики при сборке будет насажены два ротора (насажены на подшипники скольжения), то роторы будут работать в противофазе, помогая друг другу в работе.
То есть работа двух роторов будет подобна работе двух поршней четвёртого и второго цилиндров обычного четырёхцилиндрового мотора — один из них в начальной стадии впуска рабочей смеси, а другой в стадии выпуска отработавших газов. И именно из-за того, что роторы сидят на эксцентриках вала, при вращении роторов в противофазе будет вращаться и вал РПД, передавая вращение на трансмиссию.
Ну а как же применение роторно-поршневого двигателя на автомобилях — есть ли смысл?
Первым автопроизводителем, который установил РПД на свой автомобиль ещё в конце 60-х годов прошлого века, была компания NSU (о их машине, двигателе и о машинах Мазда, смотрите интересный видеоролик под статьёй). А авто-производитель, которому удалось поставить такие двигатели на поток, применяя их на своих автомобилях — является всем известная японская Мазда.
РПД установленный на некоторые её машины, при рабочем объёме всего в 1,3 литра, способен развить мощность в 250 лошадей. Но и это ещё не всё, благодаря постоянному совершенствованию своих роторных моторов, им удалось существенно снизить расход топлива и масла, а главное снизить токсичность. Это позволило вывести автомобили с РПД на европейский рынок, который наиболее жёсткий к экологическим нормам.
К тому же в 1995 году был разработан новейший РПД, который назвали RENESIS, что означает новая жизнь роторного мотора.
Этот мотор был впервые установлен на новый маздовский концепткар «Mazda RX-01″ и показал отличную динамику разгона. А улучшенный вариант такого мотора был установлен в 1999 году на спортивный концепткар «RX-EVOLV». Этот двигатель планируют устанавливать серийно на автомобиль «Mazda RX-8″.
Большая экономичность нового двигателя была достигнута за счёт применения более совершенных форсунок и использования боковых окон для выпуска отработанных газов. Так же были установлены усовершенствованные свечи зажигания, которые существенно улучшили полноту сгорания топлива.
К тому же выпускной коллектор был изготовлен с двойной стенкой, позволяющей повысить температуру выпускных газов и быстро прогревать каталитический нейтрализатор, даже при минусовой температуре окружающего воздуха. Ну и была усовершенствована система смазки с мокрым картером, и количество масла в картере было уменьшено вдвое, по сравнению с обычными РПД.Ну и кроме идеальной плавности работы нового мотора, был улучшен и звук выхлопа, который не описать, это нужно слышать.
Многие могут сказать, что несмотря на многие преимущества, технология производства таких двигателей довольно сложна и требует новейшего оборудования. Но ведь многие высокотехнологические детали, которые имеются сейчас на многих серийных машинах, когда то казались сложными и не практичными, и применялись только на спортивных машинах.
Например когда то и никасилевое покрытие цилиндров серийного двигателя, или вентилируемые тормозные диски, казались сложными, дорогими и трудновыполнимыми, а сейчас на большинстве серийных машин это обычное явление.
Сейчас ведутся работы по применению на таких двигателях водородного топлива, ведь роторный двигатель не склонен к детонации и способен работать на водороде, и скорей всего за РПД будущее, поживём — увидим.
Вот что о нем нужно знать
Что такое роторный двигатель Mazda, как он работает и зачем его возрождаютВращающиеся треугольники Рёло от Мазда возвращаются в массы, но явно под другим соусом…
Еще в марте Мартин тен Бринк, вице-президент «Mazda Motor Europe» по продажам и обслуживанию клиентов активировал энтузиастов по всему миру одним лишь своим заявлением, что роторный двигатель Ванкеля вернется в производство.
В частности, тен Бринк заявил, что роторный ДВС может стать элементом для расширения диапазона движения электрического автомобиля 2019 модельного года, но на тот момент это был просто слух. «Mazda не анонсировала никаких конкретных продуктов с роторным двигателем в то время. Однако Mazda по-прежнему привержена работе над технологиями роторных двигателей», –рассуждали на тему комментария вице-президента Мазда в Mazda Motor of America.
Смотрите также: Один из немногих мотоциклов с роторным двигателем: История
Итак, что же такого особенного в этом легендарном двигателе, который так взволновал всех своим возвращением? И почему на этот раз все может быть по-другому?
Как он работает
Элементы системы двигателя
Нажать для увеличения
Роторный двигатель внутреннего сгорания по форме напоминает бочку. На нем и в нем вы не найдете многих компонентов, к которым привыкли в стандартном поршневом моторе.
Во-первых, в нем нет поршней, ходящих вверх и вниз. Вместо них полезную работу совершает необычной формы треугольный поршень с округлыми краями (треугольник Рёло). Их количество может варьироваться от одного до трех в одном двигателе, но чаще всего используется схема с двумя поршнями, вращающимися вокруг вала посредством эксцентриковой полой центральной части.
Топливо и воздух нагнетаются в пространство между сторонами роторов и внутренними стенками короба, где смесь воспламеняется. Быстрое, взрывное расширение газов поворачивает ротор, который таким образом производит мощность. Роторы выполняют ту же задачу, что и поршни в поршневом двигателе, но с гораздо меньшим количеством движущихся частей, что делает роторный двигатель более легким и компактным, чем поршневой двигатель эквивалентного объема.
Учитывая, что карбюратор/впуск находится в левой нижней части изображения, источник зажигания – справа, а выхлоп – справа вверху, можно составить визуальную схему, показывающую процесс работы ДВС, начиная с впуска топливо-воздушной смеси:
Затем ротор проворачивает эксцентриковый вал и повышает давление в камере сгорания:
Источник зажигания (или две свечи, как в случае с многими двигателями Ванкеля) начинает процесс возгорания:
Это сгорание топлива и воздуха закручивает ротор во время рабочего такта:
И наконец, двигатель выплевывает газы и остатки несгоревшего топлива наружу:
Мало кто знает, но роторный мотор был изначально придуман почти 100 лет назад, а не в 50-е годы XX века.
Первоначально принцип работы мотора был проработан Феликсом Ванкелем, немецким инженером, который придумал свой принцип действия двигателя внутреннего сгорания.
Преимущество №1: Роторный двигатель легче и компактней обычного поршневого мотора
Война, поднявшая одних инженеров, например Фердинанда Порше, другим не дала никакой возможности развиться. Не нужны были в опасные времена мирные двигатели Ванкеля, поэтому изобретателю пришлось ждать аж до 1951 года, когда он получил приглашение от автопроизводителя NSU для разработки прототипа. Немецкая компания решила с помощью хитрости выяснить, так ли хорош оригинальный двигатель, параллельно дав возможность продемонстрировать силы другому инженеру – Ханнсу Дитеру Пашке.
Сложная конструкция Ванкеля фактически проиграла простому прототипу, разработанному инженером Ханнсом Дитером Пашке, который всего-навсего убрал из оригинальной конструкции все лишнее, сделав ее производство экономически выгодным.
Так в Германии был изобретен и опробован новый двигатель Mazda, который на протяжении долгих десятилетий был одним из немногих роторно-поршневых серийных моторов и единственным в 21-м веке.
Современный двигатель Ванкеля не совсем двигатель Ванкеля.
Да, основа роторного двигателя от Ванкеля стала самой успешной конструкцией данного двигателя в мире и единственной, которая смогла сложными путями дойти до серийного производства.
Еще в начале 60-х годов у NSU и Mazda проводился дружеский совместный конкурс на производство и продажу первого автомобиля с двигателем типа Ванкеля, когда они работали над сырым продуктом, пытаясь создать из него качественный товар.
NSU стал первым на рынке в 1964 году. Но немецкой компании не повезло: она разрушила свою репутацию в течение следующего десятилетия ненадлежащим качеством продукции. Частые отказы двигателя снова и снова посылали владельцев к дилеру и в магазин за запчастями.
Вскоре нередко можно было обнаружить модели NSU Spider или Ro 80, в которых было поменяно три и более роторных двигателей Ванкеля.
Проблема заключалась в уплотнениях вершины ротора – тонких полосках металла между наконечниками вращающихся роторов и корпусами роторов. NSU сделал их из трех слоев, что вызывало неравномерный износ. Это была бомба замедленного действия не только для автомобилей фирмы, но и самого автопроизводителя. Мазда решила проблему уплотнения (крайне важного элемента мотора, без которого он просто не был способен работать из-за отсутствия давления), сделав их однослойными. Силовой агрегат начали устанавливать в 1967 году на спортивные люксовые модели Cosmo…
В начале 70-х годов Mazda представила целую линейку автомобилей с двигателем Ванкеля – мечта, которая была разбита нефтяным кризисом 1973 года. Пришлось поубавить аппетит и оставить мотор там, где в нем больше всего нуждались – в легком спортивном купе Mazda RX-7. С 1978 по 2002 год было выпущено более 800 тыс.
этих легендарных спорткаров с необычным двигателем, у которого больше не было аналогов.
Из Германии в Японию, из Японии в СССР – вот путь двигателя, разработанного в 20-х годах XX века Ванкелем
Любим и ненавидим
Фанаты техники любят роторные двигатели потому, что они другие. Многие автолюбители, хорошо разбиравшиеся в технике, питали определенную слабость к такому странному двигателю, работающему на обычном топливе, но при этом не выглядевшему как стандартный набор поршней, клапанов и других неотъемлемых элементов обычного поршневого мотора.
В зависимости от специфики мотора ротор линейно поставляет мощность до 7.000-8.000 об/мин – бесперебойно, практически на одном уровне крутящего момента. Эта ровная полка момента как раз и отличает его от подавляющего большинства поршневых ДВС, в которых наблюдается много мощности на высоких оборотах и ее нехватка при низких.
Автопроизводителям также понравился роторный двигатель благодаря плавности его работы.
Роторы, вращаясь вокруг центральной оси, не создают никакой вибрации по сравнению с поршневыми двигателями, у которых верхняя и нижняя точки хождения поршня отчетливо прослеживаются даже внутри салона автомобиля.
Но необычный двигатель – это словно необъезженная лошадь, своенравное животное, поэтому в противовес обожателям идеи Ванкеля концепция также внушает свою долю ненависти в среде автомобильных фанатов и механиков. И, казалось бы, почему?
Ведь у двигателя простой дизайн: отсутствует ремень ГРМ, отсутствует распределительный вал, нет привычной системы клапанов. Но за простоту приходится платить большой точностью производства деталей. Они должны быть сделаны безукоризненно, что поднимает их стоимость в разы, по сравнению с запчастями для обычных поршневых двигателей. Второе – этих запчастей мало в природе. И в-третьих, в мире почти нет специалистов, которые занимались бы починкой роторных моторов. В Москве, говорят, есть пара, но очередь к ним – на год вперед.
Из минусов еще можно назвать своеобразную работу роторного силового агрегата. Конструкция подразумевает сгорание масла в цилиндрах мотора, куда нагнетаются небольшие количества моторного масла прямо в камеры сгорания. Делается это для того, чтобы смазывать прилегающие площади роторов, вращающихся на бешеной скорости. Сизоватый дым, иногда выходящий из выхлопной трубы, – это признак беды, он отпугивает незнающих людей от моделей вроде RX-7 или 8.
Роторные моторы также предпочитают минеральные масла синтетическим, а их дизайн означает, что вы должны время от времени подливать масло в этот ненасытный агрегат, чтобы оно не закончилось.
Ну и наконец, те уплотнения вершины ротора, которые не удалось сделать NSU, все же недостаточно долговечны. Раз в 130-160 тыс. км мотору требуется капитальная переборка. А это удовольствие, как вы уже понимаете, дорогое. Да и что такое 130.000 км? Пять-шесть лет эксплуатации? Маловато будет!
Современные водители также наиболее чувствительны к другим недостаткам роторных движков: высоким выбросам вредных веществ в атмосферу (этим, скорей, обеспокоены в Greenpeace) и экономии топлива из-за тенденции двигателя не полностью сжигать топливно-воздушную смесь перед отправкой ее восвояси (здесь, конечно, удар наносится по карману автовладельца).
Да, роторные двигатели имеют отменный «аппетит».
Для RX-8 Mazda частично решила эти проблемы, разместив выпускные отверстия по бокам камер сгорания. Но сейчас борьба за экологию обострилась и предложенных улучшений оказалось недостаточно. Это явилось еще одной причиной, по которой RX-8 стал последним автомобилем с двигателем Ванкеля под капотом. Он продавался 10 лет, с 2002 по 2012 год, но его убила экология.
Время для повторного возвращения
Вернемся к слухам Mazda о том, что компания может использовать какой-то роторный двигатель в качестве «расширителя» диапазона для своего будущего электрического автомобиля. Эта штука имела бы смысл.
Еще в 2012 году Mazda арендовала в Японии 100 электромобилей Demio EV, они были хороши, но напрягал небольшой диапазон без подзарядки – менее 200 км.
Изучив дело, в 2013 году Mazda создала прототип, который получил небольшой роторный моторчик, тот самый «расширитель» диапазона, который почти удвоил этот диапазон.
Модель назвали «Mazda2 RE Range Extender».
Колеса прототипа приводились в движение с помощью электрического двигателя, а 0,33-литровый 38-сильный роторный моторчик работал для того, чтобы перезаряжать батареи электрического двигателя, если они разряжались и поблизости не было места для перезарядки.
Поскольку роторный двигатель не мог отправлять мощность на колеса, Mazda2 RE не был гибридом, как Volt или Prius. Силовой агрегат Ванкеля, скорее, был бортовым генератором, который добавлял энергии аккумуляторам.
Смотрите также: Mazda официально подтвердила возвращение роторных двигателей в 2019 году
Такая же компактность и легкий вес, которые сделали ротор Ванкеля отличным двигателем для спортивного автомобиля, такого как RX-7, также делают его идеальным в новом качестве – расширяющего диапазон генератора на автомобиле, особенно том, который уже имеет электродвигатели и батареи, конкурирующие за пространство, и не может позволить себе много «лишнего» веса.
Роторные двигатели Мазда сделали себе репутацию в основном как моторы для спортивного автомобиля. В былые времена слухи об уникальных возможностях такого рода силовых агрегатов преодолели даже железный занавес СССР, где уже наши инженеры вносили и успешно интегрировали диковинные моторы в отечественные автомобили.
Наверное, будет не совсем правильно делать из такого легендарного двигателя всего лишь генератор для электромобиля. Но такова сегодняшняя реальность: время роторных моторов прошло, и его не получится вернуть обратно.
принцип работы с видео, устройство
Роторный двигатель является одной из разновидностей тепловых ДВС. Первый роторный двигатель, принцип работы которого кардинально отличается от традиционного двигателя внутреннего сгорания, появился в 19 веке.
Его особенностью было использование не возвратно поступательных движений, как в классическом ДВС, а вращение в специальном овальном корпусе трехгранного ротора.
Такая схема применялась в первых поршневых паровых машинах и дала толчок к активному проектированию и созданию роторных паровых двигателей. С роторного парового двигателя и начиналась история двигателя внутреннего сгорания роторного типа. Впервые схему классического роторно-поршневого (двигателя Ванкеля) разработали в конце 1950-х годов в немецкой фирме NSU, авторами стали Феликс Ванкель и Вальтер Фройде.
Конструкция
Давайте рассмотрим основные части РПД:
- корпус двигателя;
- ротор;
- выходной вал.
Как и любой другой двигатель внутреннего сгорания, двигатель Ванкеля имеет корпус, который включает основную рабочую камеру, в нашем случае – овальной формы.
Форма камеры сгорания (овал) обусловлена применением трехгранного ротора, грани которого при соприкосновении со стенками камеры сгорания овальной формы образуют изолированные закрытые контуры. В этих изолированных контурах и происходят все такты работы РПД:
- впуск;
- сжатие;
- воспламенение;
- выпуск.

Такая компоновка позволяет обойтись без впускных и выпускных клапанов. Впускные и выпускные отверстия находятся по бокам камеры сгорания, а соединены напрямую к системе питания и системе выпуска отработанных газов.
Следующей составной частью роторного мотора является непосредственно ротор. В РПД ротор выполняет функцию поршней в обычном двигателе. Своей формой ротор похож на треугольник с закругленными наружу краями и вдающимися внутрь гранями. Закругление краев ротора необходимо для лучшего уплотнения камеры сгорания. Выборка внутри грани нужна для увеличения объема камеры сгорания, правильного горения топливно-воздушной смеси и увеличения скорости вращения ротора. Вверху каждой грани и по ее бокам находятся металлические пластины, задача которых состоит в уплотнении камеры сгорания, аналогично поршневым кольцам классического ДВС. Внутри ротора расположены зубцы, вращающие привод, который, в свою очередь, вращает выходной вал.
Классический мотор имеет коленчатый вал, в РПД его функцию выполняет выходной вал.
Относительно центра выходного вала расположены выступы-кулачки в форме полукругов. Выступы-кулачки несимметричны по отношению к центру и явно смещены относительно центра оси. На каждый выступ-кулачок выходного вала приходится по своему ротору. Вращательное движение каждого ротора, передаваемое на выступ-кулачок, заставляет выходной вал вращаться вокруг своей оси, что, в свою очередь, создает крутящий момент на выходном валу.
Рабочие такты РПД
Давайте теперь более подробно рассмотрим принцип работы роторного двигателя и рабочие процессы, происходящие внутри него. Как и классический мотор, двигатель Ванкеля имеет те же такты впуска, сжатия, рабочего хода и выпуска.
Начало такта впуска происходит в момент прохода одной из вершин ротора впускного канала корпуса мотора. В этот момент в постепенно расширяющуюся камеру сгорания всасывается топливно-воздушная смесь либо просто воздух, в зависимости от компоновки системы подачи топлива. При дальнейшем вращении ротора к точке, когда вторая вершина проходит впускной канал, начинается такт сжатия топливно-воздушной смеси.
Давление смеси вместе с движением ротора постепенно нарастает и достигает своего пика в момент прохождения зоны свечей зажигания. В момент воспламенения начинается такт рабочего хода ротора.
В связи с особой формой камеры сгорания, вытянутой вдоль стенки корпуса, целесообразно использовать две свечи зажигания. Использование двух свечей позволяет быстро и равномерно произвести поджиг топливно-воздушной смеси, что гарантирует быстрое, плавное и равномерное распространение фронта пламени.
Две свечи может иметь и обычный поршневой мотор, например некоторые спортивные двигатели, но в РПД использование двух свечей зажигания просто необходимо.
Образовавшееся давление газов поворачивает ротор на эксцентрике вала, что в свою очередь приводит к возникновению крутящего момента на выходном валу. При приближении к выпускному каналу вершины ротора давление в камере сгорания плавно снижается.
Вращаясь по инерции, вершина ротора достигает выпускного канала, начинается такт выпуска. Выхлопные газы устремляются в выпускной канал, и как только вершина ротора достигает впускного канала, снова начинается такт впуска.
Система питания и смазка
Роторный мотор не имеет принципиальных отличий от классического ДВС в системах зажигания, топливоподачи и охлаждения. Однако система смазки имеет свои особенности. Для смазывания движущихся частей масло подается прямо в камеру сгорания через специальное отверстие, поэтому сгорает вместе с топливно-воздушной смесью как в двухтактном двигателе.
Как и любая техническая конструкция, роторный мотор обладает своими преимуществами и недостатками.
Достоинствами роторно-поршневого двигателя
- Обладая малым весом и габаритами, роторный мотор имеет больше возможностей для достижения правильной развески и улучшения управляемости, а так же делает автомобиль более просторным в салоне;
- более высокая удельная мощность по сравнению с классическими моторами;
- более ровная и широкая полка крутящего момента;
- отсутствие кривошипно-шатунного механизма, клапанов, пружин, газораспределительного механизма, а вместе с ним и распредвалов, ремня грм или цепи;
- хорошая сбалансированность и плавность работы РПД, которую можно сравнить с работой рядной «шестерки»;
- меньшая склонность к детонации;
- отсутствие кривошипно-шатунного механизма, а вследствие этого отсутствие необходимости преобразования возвратно-поступательного движения поршней во вращение коленчатого вала, делает РПД более оборотистым нежели обычный мотор;
Недостатки
- Необходимость применения эксцентрикового механизма для соединения ротора и вала увеличивает давление между трущимися деталями, что вместе с высокой температурой повышает износ двигателя.
Именно поэтому выдвигаются повышенные требованию к качеству масла и периодичности его смены; - быстрый износ уплотнителей ротора вследствие малой площади пятна контакта и высокому перепаду давлений. Таким образом, роторный мотор быстро теряет свой КПД, экологические показатели ухудшаются;
- линзовидная форма камеры сгорания гораздо хуже отдает тепло, нежели сферическая камера сгорания, что обуславливает склонность к перегреву;
- низкие показатели экономичности на малых и средних оборотах, по сравнению с обычным двигателем внутреннего сгорания;
- роторный мотор имеет очень высокие требования к обработке деталей и квалификации персонала при производстве данного типа двигателя;
- необходимость добавления масла во время рабочих тактов РПД обуславливает плохие экологические характеристики;
Современные реалии
В настоящее время наибольших успехов в производстве роторных двигателей добились инженеры корпорации Mazda.
Последняя генерация их двигателя Ванкеля, под названием «Renesis», совершила настоящий прорыв. Им удалось не только решить главные проблемы данного типа ДВС, такие как повышенный расход топлива и токсичность, но и снизить потребление масла на 50%, тем самым доведя экологические показатели до норм Euro 4. Новое поколение РПД Mazda могут использовать в качестве топлива как бензин, так и водород, что делает этот мотор интересными и перспективными для использования в будущем.
Принцип работы роторно-поршневого двигателя ванкеля, история создания и развития
Роторно — поршневой двигатель (двигатель Ванкеля)
Роторно-поршневой двигатель или двигатель Ванкеля представляет собой мотор, где главным рабочим элементом осуществляются планетарные круговые движения. Это принципиально другой вид двигателя, отличный от поршневых собратьев в семействе ДВС.
В конструкции такого агрегата используется ротор (поршень) с тремя гранями, внешне образующим треугольник Рело, осуществляющий круговые движения в цилиндре особого профиля.
Чаще всего поверхность цилиндра исполнена по эпитрохоиде (плоской кривой, полученной точкой, которая жестко связана с окружностью, осуществляющей движение по внешней стороне другой окружности).
На практике можно встретить цилиндр и ротор иных форм.
Составные элементы и принцип работы
Устройство двигателя типа РПД предельно проста и компактна. На ось агрегата устанавливается ротор, который крепко соединяется с шестерней. Последняя сцепляется со статором. Ротор, имеющий три грани, двигается по эпитрохоидальной цилиндрической плоскости. В результате чего сменяющиеся объемы рабочих камер цилиндра отсекаются с помощью трех клапанов.
Уплотнительные пластины (торцевого и радиального типа) прижимаются к цилиндру под действием газа и за счет действия центростремительных сил и ленточных пружин. Получаются 3 изолированные камеры разные по объемным размерам.
Здесь осуществляются процессы сжимания поступившей смеси горючего и воздуха, расширения газов, оказывающих давление на рабочую поверхность ротора и очищающих камеру сгорания от газов.
На эксцентриковую ось передается круговое движение ротора. Сама ось находится на подшипниках и передает момент вращения на механизмы трансмиссии.
Обратите внимание
В этих моторах осуществляется одновременная работа двух механических пар. Одна, которая состоит из шестерен, регулирует движение самого ротора. Другая — преобразует вращающиеся движение поршня во вращающиеся движения эксцентриковой оси.
Детали Роторно-поршневого двигателя
Принцип работы двигателя Ванкеля
На примере двигателей, установленных на автомобилях ВАЗ, можно назвать следующие технические характеристики:
— 1,308 см3 – рабочий объем камеры РПД;
— 103 кВт/6000 мин-1 – номинальная мощность;
— 130 кг масса двигателя;
— 125000 км – ресурс двигателя до первого полного его ремонта.
Смесеобразование
В теории в РПД применяют несколько разновидностей смесеобразования: внешнее и внутреннее, на основе жидких, твердых, газообразных видов топлива.
Касательно твердых видов топлива стоит отметить, что их первоначально газифицируют в газогенераторах, так как они приводят к повышенному золообразованию в цилиндрах.
Поэтому большее распространение на практике получили газообразные и жидкие топлива.
Сам механизм образования смеси в двигателях Ванкеля будет зависеть от вида применяемого топлива.
При использовании газообразного топлива его смешение с воздухом происходит в специальном отсеке на входе в двигатель. Горючая смесь в цилиндры поступает в готовом виде.
Из жидкого топлива смесь приготавливается следующим образом:
Соответственно, топливно-воздушная смесь может готовиться вне цилиндров или внутри их. От этого идет разделение двигателей с внутренним или внешним образованием смеси.
Особенности РПД
Преимущества
Преимущества двигателей роторно-поршневого типа по сравнению со стандартными бензиновыми двигателями:
— Низкие показатели уровня вибрации.
В моторах типа РПД отсутствует преобразование возвратно-поступательного движения во вращательное, что позволяет агрегату выдержать высокие обороты с меньшими вибрациями.
— Хорошие динамические характеристики.
Благодаря своему устройству такой мотор, установленный в машине, позволяет ее разогнать выше 100 км/ч на высоких оборотах без избыточной нагрузки.
— Хорошие показатели удельной мощности при малой массе.
Из-за отсутствия в конструкции двигателя коленчатого вала и шатунов достигается небольшая масса движущихся частей в РПД.
— В двигателях такого типа практически отсутствует система смазки.
Непосредственно в топливо добавляется масло. Топливно-воздушная смесь сама осуществляет смазывание пар трения.
— Мотор роторно-поршневого типа имеет небольшие габаритные размеры.
Установленный роторно-поршневой мотор позволяет максимально использовать полезное пространство моторного отсека автомобиля, равномерно распределить нагрузку на оси автомашины и лучше рассчитать расположение элементов коробки передач и узлов.
Например, четырехтактный двигатель такой же мощности будет в два раза больше роторного двигателя.
Недостатки двигателя Ванкеля
— Качество моторного масла.
При эксплуатации такого типа двигателей необходимо уделять должное внимание к качественному составу масла, применяемого в двигателях Ванкеля.
Ротор и находящаяся внутри камера двигателя имеют большую площадь соприкосновения, соответственно, износ двигателя происходит быстрее, а также такой двигатель постоянно перегревается. Нерегулярная смена масла наносит огромный урон двигателю.
Износ мотора возрастает в разы из-за наличия абразивных частиц в отработанном масле.
— Качество свечей зажигания.
Эксплуатантам таких двигателей приходится быть особо требовательным к качественному составу свечей. В камере сгорания из-за ее небольшого объема, протяженной формы и высокой температуры затруднен процесс зажигания смеси. Следствием является повышенная рабочая температура и периодическая детонация камеры сгорания.
— Материалы уплотнительных элементов.
Существенной недоработкой мотора типа РПД можно назвать ненадежную организацию уплотнений промежутков между камерой, где сгорает топливо, и ротором. Устройство ротора такого мотора достаточно сложное, поэтому уплотнения требуются и по граням ротора, и по боковой поверхности, имеющей соприкосновение с крышками двигателя.
Поверхности, которые подвергаются трению, необходимо постоянно смазывать, что выливается в повышенный расход масла. Практика показывает, что мотор типа РПД может потребить от 400 гр до 1 кг масла на каждые 1000 км.
Важно
Снижаются экологичные показатели работы двигателя, так как горючее сгорает вместе с маслом, в результате в окружающую среду выбрасывается большое количество вредных веществ.
Из-за своих недоработок такие моторы не получили широкого распространения в автомобилестроении и в изготовлении мотоциклов. Но на базе РПД изготавливаются компрессоры и насосы.
Авиамоделисты часто используют такие двигатели для конструирования своих моделей. Из-за невысоких требований к экономичности и надежности конструкторы не применяют сложную систему уплотнений в таких моторах, что значительно снижает его себестоимость.
Простота его конструкции позволяет без проблем встроить в авиамодель.
Кпд роторно-поршневой конструкции
Не смотря на ряд недоработок, проведенные исследования показали, что общий КПД двигателя Ванкеля довольно-таки высокий по современным меркам. Его значение составляет 40 – 45%.
Для сравнения, у поршневых двигателей внутреннего сгорания КПД составляет 25%, у современных турбодизелей – около 40%. Самый высокий КПД у поршневых дизельных двигателей составляет 50%.
До настоящего времени ученые продолжают работу по изысканию резервов для повышения КПД двигателей.
Итоговый КПД работы мотора состоит из трех основных частей:
Исследования в этой области показывают, что только 75% горючего сгорает в полном объеме. Есть мнение, что данная проблема решается путем разделения процессов сгорания и расширения газов.
Необходимо предусмотреть обустройство специальных камер при оптимальных условиях.
Горение должно происходить в замкнутом объеме, при условии нарастания температурных показателей и давления, расширительный процесс должен происходить при невысоких показателях температур.
Порядка 10% работы мотора расходуется на приведение в движение вспомогательных узлов и механизмов. Исправить данную недоработку можно путем внесения изменений в устройство двигателя: когда главный движущийся рабочий элемент не прикасается к неподвижному корпусу. Постоянное плечо крутящего момента должно присутствовать на всем пути следования основного рабочего элемента.
На практике 65% полученной тепловой энергии улетучивается с отработанными газами во внешнюю среду.
Ряд исследований показал, что можно добиться повышения показателей термической эффективности в том случае, когда конструкция мотора позволяла бы осуществлять сгорание горючего в теплоизолированной камере, чтобы с самого начала достигались максимальные показатели температуры, а в конце эта температура понижалась до минимальных значений путем включения паровой фазы.
Современное состояние роторно-поршневого двигателя
На пути массового применения двигателя встали значительные технические трудности:
— отработка качественного рабочего процесса в камере неблагоприятной формы;
— обеспечение герметичности уплотнения рабочих объемов;
— проектировка и создания конструкции корпусных деталей, которые надежно прослужат весь жизненный цикл работы двигателя без коробления при неравномерном нагрева этих деталей.
В результате огромной проделанной научно-исследовательской и опытно-конструкторской работы этим фирмам удалось решить почти все наиболее сложные технические задачи на пути создания РПД и выйти на этап их промышленного производства.
Первый массовый автомобиль NSU Spider с РПД начала выпускать фирма NSU Motorenwerke.
Вследствие частых переборок двигателей из-за выше сказанных технических проблем на раннем этапе развития конструкции двигателя Ванкеля, взятые NSU гарантийные обязательства привели ее к финансовому краху и банкротству и последовавшему слиянию с Audi в 1969 году.
Между 1964 и 1967 годом произведено 2375 автомобилей. В 1967 году Spider был снят с производства и заменён на NSU Ro80 с роторным двигателем второго поколения; за десять лет производства Ro80 выпущено 37398 машин.
Наиболее успешно с данными проблемами справились инженеры фирмы Mazda. Она и остается единственным массовым производителем машин с роторно-поршневыми двигателями. Доработанный мотор серийно начался ставить на автомобиль Mazda RX-7 с 1978 года. С 2003 преемственность приняла модель Mazda RX-8, она и является на данный момент массовой и единственной версией автомобиля с двигателем Ванкеля.
Российские РПД
Первое упоминание о роторном двигателе в Советском Союзе относится к 60-м годам. Исследовательские работы по роторно-поршневым двигателям начались в 1961 году, соответствующим постановлением Минавтопрома и Минсельхозмаша СССР. Промышленное же изучение с дальнейшем выводом на производство данной конструкции началось в 1974 году на ВАЗе.
специально для этого было создано Специальное конструкторское бюро роторно-поршневых двигателей (СКБ РПД). Поскольку лицензию купить не было возможности, был разобран и скопирован серийный «ванкель» от NSU Ro80. На этой основе разработали и собрали двигатель Ваз-311, а произошло это знаменательное событие в 1976 году.
На ВАЗе разрабатывали целую линейку РПД от 40 до 200 сильных двигателей. Доработка конструкции тянулась почти шесть лет. Удалось решить целый ряд технических проблем связанные с работоспособностью газовых и маслосъемных уплотнений, подшипников, отладить эффективный рабочий процесс в камере неблагоприятной формы.
Совет
Свой первый серийный автомобиль ВАЗ с роторным двигателем под капотом представил публике в 1982 году, это был Ваз-21018. Машина внешне и конструктивно была как и все модели данной линейки, за одним исключением, а именно, под капотом стоял односекционный роторный двигатель мощностью 70 л.с.
Длительность разработки не помешала случиться конфузу: на всех 50 опытных машинах при эксплуатации возникли поломки мотора, заставившие завод установить на его место обычный поршневой.
Ваз 21018 с Роторно-поршневым двигателем
Установив, что причиной неполадок являлись вибрации механизмов и ненадёжность уплотнений, конструкторы предприняли спасти проект. Уже в 83-ем появились двухсекционные Ваз-411 и Ваз-413 (мощностью, соответственно, 120 и 140 л.с.).
Несмотря на низкую экономичность и малый ресурс, сфера применения роторного двигателя всё-таки нашлась – ГАИ, КГБ и МВД требовались мощные и незаметные машины. Оснащённые роторными двигателями «Жигули» и «Волги» легко догоняли иномарки.
С 80-ых годов 20 века СКБ был увлечён новой темой – применение роторных двигателей в смежной отрасли — авиационной. Отход от основной отрасли применения РПД привело к тому, что для переднеприводных машин роторный двигатель Ваз-414 создаётся лишь к 1992 году, да ещё три года доводится.
В 1995 году Ваз-415 был представлен к сертификации. В отличие от предшественников он универсален, и может устанавливаться под капотом как заднеприводных («классика» и ГАЗ), так и переднеприводных машин (ВАЗ, Москвич). Двухсекционный «Ванкель» имеет рабочий объём 1308 см3 и развивает мощность 135 л.с. при 6000об/мин.
«Девяносто девятую» он ускоряет до сотни за 9 секунд.
Роторно-поршневой двигатель ВАЗ-414
На данный момент проект по разработке и внедрения отечественного РПД заморожен.
Ниже представлено видео устройства и работы двигателя Ванкеля.
Роторный двигатель: принцип работы. Плюсы и минусы роторного двигателя. Схема роторный двигатель
ГлавнаяСхемаСхема роторный двигатель
принцип работы. Плюсы и минусы роторного двигателя :: SYL.ru
С изобретением двигателя внутреннего сгорания прогресс в развитии автомобилестроения шагнул далеко вперед.
Несмотря на то, что общее устройство ДВС оставалось одинаковым, данные агрегаты постоянно усовершенствовались. Наряду с этими моторами появлялись более прогрессивные агрегаты роторного типа.
Но почему они так и не получили широкого распространения в автомобильном мире? Ответ на этот вопрос мы рассмотрим в статье.
История возникновения агрегата
Двигатель роторного типа был сконструирован и испытан разработчиками Феликсом Ванкелем и Вальтером Фройде в 1957 году. Первый автомобиль, на который был установлен данный агрегат, – спорткар NSU «Спайдер».
Исследования показали, что при мощности мотора в 57 лошадиных сил данная машина имела возможность разогнаться до колоссальных 150 километров в час.
Производство автомобилей «Спайдер» в комплектации с 57-сильным роторным двигателем длилось около 3-х лет.
После этого данным типом двигателей стали оснащать автомобиль NSU Ro-80. Впоследствии роторные моторы устанавливались на «Ситроены», «Мерседесы», ВАЗы и «Шевроле».
Одним из самых распространенных автомобилей с роторным двигателем является японский спорткар «Мазда» модели Cosmo Sport. Также японцы стали оснащать данным мотором модель RX. Принцип работы роторного двигателя («Мазда» RX) заключался в постоянном вращении ротора с переменой тактов работы. Но об этом немного позже.
В нынешнее время японский автопроизводитель не занимается серийным выпуском машин с роторными двигателями. Последней моделью, на которую ставился такой мотор, стала «Мазда» RX8 модификации Spirit R. Однако в 2012 году производство данной версии автомобиля было прекращено.
Устройство и принцип работы
Какой имеет роторный двигатель принцип функционирования? Данный тип моторов отличается 4-тактным циклом действия, как и на классическом ДВС. Однако принцип работы роторно-поршневого двигателя немного отличается от такового у обычных поршневых.
В чем главная особенность данного мотора? Роторный двигатель Стирлинга имеет в своей конструкции не 2, не 4 и не 8 поршней, а всего один. Называется он ротором. Вращается данный элемент в цилиндре специальной формы.
Ротор насаживается на вал и соединяется с зубчатым колесом. Последнее имеет шестеренчатое сцепление со стартером. Вращение элемента происходит по эпитрохоидальной кривой. То есть лопасти ротора попеременно перекрывают камеру цилиндра.
Обратите внимание
В последней происходит сгорание топлива. Принцип работы роторного двигателя («Мазда» Cosmo Sport в том числе) заключается в том, что за один оборот механизм толкает три лепестка жестких кругов.
В то время как деталь вращается в корпусе, три отсека внутри меняют свой размер. Благодаря изменению размеров в камерах создается определенное давление.
Фазы работы
Как действует роторный двигатель? Принцип работы (gif-изображения и схему РПД вы можете увидеть ниже) данного мотора заключается в следующем. Функционирование двигателя состоит из четырех повторяющихся циклов, а именно:
Именно такой имеет роторный двигатель принцип работы. ВАЗ-2108, на который также монтировался РПД, как и японская «Мазда», отличался тихой работой мотора и высокими динамическими характеристиками. Но в серийное производство данная модификация так и не была запущена. Итак, мы выяснили, какой имеет роторный двигатель принцип работы.
Недостатки и преимущества
Не зря данный мотор привлек внимание столь многих автопроизводителей. Его особый принцип работы и конструкция имеют целый ряд преимуществ по сравнению с другими типами ДВС.
Итак, какие имеет роторный двигатель плюсы и минусы? Начнем с явных преимуществ. Во-первых, роторный двигатель имеет наиболее сбалансированную конструкцию, а потому практически не вызывает высоких вибраций при работе.
Во-вторых, данный мотор имеет более легкий вес и большую компактность, а потому его установка особо актуальна для производителей спорткаров. Кроме того, небольшой вес агрегата дал возможность конструкторам добиться идеальной развесовки нагрузок по осям.
Таким образом, автомобиль с данным двигателем становился более устойчивым и маневренным на дороге.
Ну и, конечно же, простора конструкции. Несмотря на то же самое количество тактов работы, устройство данного двигателя гораздо проще, чем у поршневого аналога. Для создания роторного мотора требовалось минимальное количество узлов и механизмов.
Однако главный козырь данного двигателя заключается не в массе и низких вибрациях, а в высоком КПД. Благодаря особому принципу работы роторный мотор имел большую мощность и коэффициент полезного действия.
Теперь о недостатках. Их оказалось намного больше, чем преимуществ. Основная причина, по которой производители отказывались покупать такие моторы, заключалась в их высоком расходе топлива. В среднем на сто километров такой агрегат тратил до 20 литров горючего, а это, согласитесь, немалый расход по сегодняшним меркам.
Сложность производства деталей
Кроме того, стоит отметить высокую стоимость производства деталей данного двигателя, которая объяснялась сложностью изготовления ротора.
Для того чтобы данный механизм правильно прошел эпитрохоидальную кривую, нужна высокая геометрическая точность (для цилиндра в том числе).
Поэтому при изготовлении роторных двигателей невозможно обойтись без специализированного дорогостоящего оборудования и особых знаний в технической области. Соответственно, все эти затраты заранее закладываются в цену автомобиля.
Перегревы и высокие нагрузки
Также из-за особой конструкции данный агрегат был часто подвержен перегреву. Вся проблема заключалась в линзовидной форме камеры сгорания. В отличие от нее, классические ДВС имеют сферическую конструкцию камеры.
Топливо, которое сгорает в линзовидном механизме, превращается в тепловую энергию, расходуемую не только на рабочий ход, но и на нагрев самого цилиндра.
В конечном итоге частое «закипание» агрегата приводит к быстрому износу и выходу его из строя.
Ресурс
Не только цилиндр терпит большие нагрузки. Исследования показали, что при работе ротора значительная часть нагрузок ложится на уплотнители, расположенные между форсунками механизмов.
Они подвергаются постоянному перепаду давления, потому максимальный ресурс двигателя составляет не более 100-150 тысяч километров.
После этого мотору требуется капитальный ремонт, стоимость которого порой равносильна покупке нового агрегата.
Расход масла
Также роторный двигатель очень требователен к обслуживанию. Расход масла у него составляет более 500 миллилитров на 1 тысячу километров, что заставляет заливать жидкость каждые 4-5 тыс. километров пробега.
Если вовремя не произвести замену, мотор попросту выйдет из строя. То есть к вопросу обслуживания роторного двигателя нужно подходить более ответственно, иначе малейшая ошибка чревата дорогостоящим ремонтом агрегата.
Разновидности
На данный момент существует пять разновидностей данных типов агрегатов:
Роторный двигатель (ВАЗ-21018-2108)
История создание ВАЗовских роторных ДВС датируется 1974 годом. Именно тогда было создано первое конструкторское бюро РПД.
Однако первый разработанный нашими инженерами двигатель имел схожую конструкцию с мотором Ванкеля, который укомплектовывался на импортные седаны NSU Ro80. Советский аналог получил название ВАЗ-311.
Это самый первый советский роторный двигатель. Принцип работы на ВАЗовских автомобилях данного мотора имеет одинаковый алгоритм действия РПД Ванкеля.
Важно
Первым автомобилем, на который стали устанавливать данные двигатели, стал ВАЗ модификации 21018. Машина практически ничем не отличалась от своего «предка» – модели 2101 – за исключением используемого ДВС.
Под капотом новинки стоял односекционный РПД мощностью в 70 лошадиных сил.
Однако в результате исследований на всех 50 образцах моделей были обнаружены многочисленные поломки мотора, которые заставили Волжский завод отказаться от применения данного типа ДВС на своих автомобилях на ближайшие несколько лет.
Основная причина неисправностей отечественного РПД заключалась в ненадежных уплотнениях. Однако советские конструкторы решили спасти данный проект, презентовав миру новый 2-секционный роторный двигатель ВАЗ-411. Впоследствии был разработан ДВС марки ВАЗ-413.
Основные их различия заключались в мощности. Первый экземпляр развивал до 120 лошадиных сил, второй – порядка 140. Однако в серию данные агрегаты снова не вошли. Завод принял решение ставить их только на служебные автомобили, использовавшиеся в ГАИ и КГБ.
Моторы для авиации, «восьмерок» и «девяток»
В последующие годы разработчики пытались создать роторный мотор для отечественной малой авиации, однако все попытки оказались безрезультатными.
В итоге конструкторы снова занялись разработкой двигателей для легковых (теперь уже переднеприводных) автомобилей ВАЗ серии 8 и 9.
В отличие от своих предшественников новоразработанные моторы ВАЗ-414 и 415 являлись универсальными и могли использоваться на заднеприводных моделях авто типа «Волга», «Москвич» и так далее.
Характеристики РПД ВАЗ-414
Впервые данный двигатель появился на «девятках» лишь в 1992 году. По сравнению со своими «предками» данный мотор имел следующие преимущества:
- Высокую удельную мощность, которая давала возможность машине набрать «сотню» всего за 8-9 секунд.
- Большой коэффициент полезного действия. С одного литра сгоревшего топлива удавалось получить до 110 лошадиных сил мощности (и это без какой-либо форсировки и дополнительной расточки блока цилиндров).
- Высокий потенциал для форсирования. При правильной настройке можно было увеличить мощность двигателя на несколько десятков лошадиных сил.
- Высокооборотистость мотора. Такой двигатель способен был работать даже при 10 000 об./мин. При таких нагрузках мог функционировать только роторный двигатель. Принцип работы классических ДВС не позволяет их эксплуатировать долго на высоких оборотах.
- Относительно малый расход топлива. Если прежние экземпляры «съедали» на «сотню» порядка 18-20 литров топлива, то данный агрегат потреблял всего 14-15 в среднем режиме эксплуатации.
Сегодняшняя ситуация с РПД на Волжском автозаводе
Все вышеописанные двигатели не получили большой популярности, и вскоре их производство было свернуто. В дальнейшем Волжский автозавод пока не планирует возрождать разработку роторных двигателей. Так что РПД ВАЗ-414 так и останется скомканным клочком бумаги в истории отечественного машиностроения.
Итак, мы выяснили, какой имеет роторный двигатель принцип работы и устройство.
www.syl.ru
Принцип работы роторного двигателя, плюсы и минусы системы |
Как известно, принцип работы роторного двигателя основан на высоких оборотах и отсутствии движений, которыми отличается ДВС. Это и отличает агрегат от обычного поршневого двигателя. РПД называют ещё двигателем Ванкеля, и сегодня мы рассмотрим его работу и явные достоинства.
Ротор такого двигателя находится в цилиндре. Сам корпус не круглого типа, а овального, чтобы ротор треугольной геометрии нормально в нём помещался. У РПД не бывает коленчатого вала и шатунов, а также отсутствуют в нём другие детали, что делает его конструкцию намного проще. Если говорить другими словами, то примерно около тысячи деталей обычного двигателя внутреннего сгорания в РПД нет.
Работа классического РПД основана на простом движении ротора внутри овального корпуса. В процессе движения ротора по окружности статора создаются свободные полости, в которых и происходят процессы запуска агрегата.
Удивительно, но роторный агрегат представляет собой некий парадокс. В чём он заключается? А в том, что он имеет гениально простую конструкцию, которая почему-то не прижилась. А вот более сложный поршневой вариант стал популярным и повсюду используется.
Как работает двигатель Ванкеля
Паровые машины, как и традиционные ДВС отличаются общим недостатком — возвратно-поступательные движения поршня должны преобразовываться во вращательные движения колес. Это и является причиной низкого КПД, высокого износа основных элементов.
Многие инженеры пытались решить эту проблему, придумав двигатель внутреннего сгорания, все детали которого бы только вращались. Однако изобрести такой агрегат смог механик-самоучка, не окончивший ни высшего, ни даже средне-специального учебного заведения.
Немного истории
В 1957 году малоизвестный механик-изобретатель Феликс Ванкель и ведущий инженер NSU Вальтер Фреде стали первыми, кто решил установить роторно-поршневой мотор на автомобиль. «Подопытным» стал на NSU Prinz.
Первоначальная конструкция была далекой от совершенства. К примеру, свечи приходилось менять практически после полной разборки агрегата.
К тому же, надежность мотора оставалась под сомнением, а про экономичность можно было не упоминать.
После множества испытаний концерн занялся выпуском машин с традиционным ДВС. Однако первый роторно-поршневой DKM-54 мог продемонстрировать великий потенциал.
Именно так оригинальная разновидность ДВС получил свой шанс на внедрение в производство авто. В дальнейшем он постоянно дорабатывался, однако перспективы роторно-поршневого мотора уже тогда были очевидны. РПД входит в классификацию роторных моторов как один из 5 представителей линейки.
К 80-м годам 20 века роторные двигатели Ванкеля исследовались лишь японской компанией Mazda. Еще к этому мотору проявлял внимание ВАЗ. В СССР бензин стоил достаточно дешево, а такой агрегат имел достаточно большую мощность. Однако к 2004 году производство машин с таким двигателем прекратилось. Япония стала единственной страной, в которой продолжается разработка роторного двигателя.
Есть множество разновидностей роторных агрегатов. Единственное их отличие — поверхность корпуса и число выполненных на роторе граней. Различные компоновки таких моторов применяются в авто- и судостроении.
Достоинства
Двигатель Ванкеля с момента создания имел множество выгодных преимуществ перед поршневыми моторами. Агрегат постоянно дорабатывался,что позволило повысить его экономичность и производительность.
Среди преимуществ»Ванкеля» выступают:
Все элементы мотора вращаются в одну сторону. Это улучшает внутренний баланс агрегата и снижает вибрации. «Ванкель» выдает мощность равномерно и плавно. За время пока ротор оборачивается 1 раз, выходной вал совершает 3 оборота. Каждое сгорание осуществляется за 90 фазу вращение ротора.
Это говорит о том, что роторный двигатель с 1 ротором способен выдавать мощностьза ¾ каждого поворота выходного вала. Двигатель с 1 цилиндром может выдавать мощность лишь за ¼ каждого витка выходного вала.
Недостатки
К недостаткам двигателя относятся непривычность для владельцев и механиков. Такой агрегат требует изменить многие привычки.
К примеру, тормозить РПД не получится, а штурм подъемов «внатяг» обречен на неудачу. Компактный мотор обладает малой инерцией, чего не скажешь о массивных поршневых ДВС.
При частыхзапусках-выключениях «забрасываются» свечи.Звук мотора некоторые автолюбители также относят к недостаткам.
Более серьезными являются органические изъяны роторно-поршневого агрегата. Во-первых, он обладает увеличенным расходом горючего. Это легко объяснить неоптимальной формой камеры, теряющей тепло через стенки. К тому же, мотор «съедает» достаточно много масла. Срок эксплуатации Ванкеля ниже, чем у стандартного ДВС —роторные уплотнениярегулярно изнашиваются.
Значительная роль отведена жесткости внешней характеристики роторно-поршневого мотора. Для управления машиной с таким двигателем требуется достаточно часто манипулировать рычагом коробки передач. Это объясняется тем, что необходим короткий передаточный ряд и увеличенное количество передач.
Идеальным вариантом является монтаж вариатора. Однако на спорткарах автоматы не приживаются, а для авто семейного типа требуется больше экономичности.
Совет
Недостатки РПД схожи с недостатками двухтактных поршневых агрегатов. Интересно, что вылечить это можно одними и теми же способами.
Увеличенное потребление топлива сбивается непосредственным впрыском, нехватка эластичности — установкой изменяемых фаз. Это повышает экономичность и управляемость.
Также для повышения эластичности меняется конфигурация трубопроводов. Такие изменения и были выполнены на моторе Mazda RX-8.
Как работает
Работает двигатель Ванкеляпо принципу, который достаточно просто объяснить даже несведущему в механике человеку. Агрегат обладает минимумом деталей, что позволяет быстро понять, какие системы задействуются в определенные промежутки времени.
Поршень двигателя в РПД заменяется ротором с 3 гранями, который передает силу давления сгораемых газов на вал эксцентрика.
Статор обладает эпитрохоидальной конфигурацией внутренних поверхностей. Он отличается высокой износостойкостью, поскольку имеет специальное покрытие.
В вершинах ротора находятсяуплотнения, а на поверхности статораимеются выемки — они являются своеобразными камерами, в которых происходит сгорание. Вал вращается на специальных подшипниках. Они помещены на корпус.
Также валоснащенэксцентриком — на нем и вращается ротор.
Шестерня вмонтирована в корпус. Она сцеплена с шестерней ротора. Взаимное действие этих шестерен создает движение ротора. Это позволяет образовать 3 камеры, которые постоянно изменяют свой объем.
Отношение передач шестерен равно 2:3, что обеспечивает один оборот вала за поворот ротора на 120 градусов. Когда ротор совершает полный оборот,все камерывыполняют четырехтактный цикл. Сгораемые газы действуют на эксцентрик вала через ротор — так возникает крутящий момент.
Между ротором и статором имеется 3 камеры. Впуск происходит, когда одна из вершин ротора начинает пересекать впускное отверстие для впрыска топлива. Объем камеры увеличивается, что заставляет смесь ее заполнить. Следующая вершина закрывает окно. Как и поршень двигателя традиционного исполнения, ротор сдавливает рабочую смесь перед воспламенением.
Обратите внимание
Она сжимается, при наибольшем сжатии в камере возникает искра. В результате осуществляется рабочий ход. После выпускное окно под давлением отработавших газов открывается, и они покидают камеру.
При одном обороте ротора двигатель совершает 3 цикла — это делает ненужным применение уравновешивающих устройств.
В рабочем процессе есть слабые звенья. Первое — повышенная нагрузка на уплотнения, а второе — избыток динамического перекрытия фаз.Не является оптимальной и конфигурация камеры сгорания. Однако есть и положительный момент — если повышать обороты, скорость распространения факела пламени увеличивается быстрее, чем перетекает топливная смесь.
Это позволяет применять для РПД бензин с пониженным октановым числом. Принцип работы Ванкеля достаточно прост, что в свое время привлекло к изобретению внимание многих производителей авто.
Интересные факты
Не каждый автолюбитель знает, что Ванкель является одним из 5 подтипов в классификации роторных моторов.
Компактность, оборотистость, высокая производительность — не этого ли добиваются практически все производители мотоциклов? Однозначно, это так. Однако роторный мотор в мотомире таки не прижился. Все ставки делаются на классические поршневые двигатели.
Однако в истории производства мотоциклов существовало несколько исключений. К примеру, в 1974 году Hercules выпускает массовую серию Wankel, которые оборудованы двигателем KC-27.
Это были роторные агрегаты, которые оснащались воздушным охлаждением. Двигатель имел объем294 куб. см. Мощность агрегатов составляла 25л.с.
Для смазки агрегата, масло нужно было самостоятельно заливать в топливный бак.
В начале1980 роторный мотор использовали для оснащения мотоциклов Norton. Несмотря на то, что опытные прототипы таких двигателей появились еще в 1970-х.Инженеры Norton успешно внедрили РПД в спорт. К концу 80-х им не было равных.
Сегодня компания производит 588-кубовую модельдвумя роторами NRV588. Также инженерами Norton ведется разработка 700сс версии, которая называется NRV700. Она представляет собой мощный спортбайк, оснащенный инжекторным 170-сильным двигателем Ванкеля.
Как видно, эпоха роторных моторов еще не наступила. Поршневые системы так и остались лидирующими в сфере авто- и мотостроения. Обладатели байков с роторными двигателями могут образовать лишь небольшой круг фанатов Ванкеля. Возобновившийся интерес к «Ванкелю» компании Norton говорит о скором подъеме разработок и достижений в этой сфере.
Одной из причин, по которым двигатель не производится для оснащения автомобилей и мотоциклов — необходимость точного оборудования при его производстве. Малейший брак становится причиной выхода мотора из строя. Это пока не позволяет роторному агрегату заменить поршневой двигатель даже в узкихотраслях производства.
Двигатель Ванкеля. Роторно-поршневой двигатель Феликса Ванкеля :
Основные типы двигателей внутреннего сгорания и паровые машины имеют один общий недостаток. Он состоит в том, что возвратно-поступательное перемещение требует преобразования во вращательное движение. Это, в свою очередь, обуславливает низкую производительность, а также достаточно высокую изнашиваемость деталей механизма, включенных в различные типы двигателей.
Довольно много людей задумывались о том, чтобы создать такой мотор, в котором подвижные элементы только вращались. Однако решить эту задачу удалось только одному человеку. Феликс Ванкель – механик-самоучка – стал изобретателем роторно-поршневого двигателя. За свою жизнь этот человек не получил ни какой-либо специальности, ни высшего образования.
Рассмотрим далее подробнее роторно-поршневой двигатель Ванкеля.
Краткая биография изобретателя
Феликс Г. Ванкель родился в 1902 году, 13 августа, в небольшом городке Лар (Германия). В Первую Мировую отец будущего изобретателя погиб. Из-за этого Ванкелю пришлось бросить учебу в гимназии и устроиться помощником продавца в лавке по продаже книг при издательстве. Благодаря этому он пристрастился к чтению.
Феликс изучал технические характеристики двигателей, автомобилестроение, механику самостоятельно. Знания он черпал из книг, которые продавались в лавке. Считается, что реализованная позднее схема двигателя Ванкеля (точнее, идея ее создания) посетила во сне.
Неизвестно, правда это или нет, но точно можно сказать, что изобретатель обладал незаурядными способностями, тягой к механике и своеобразным взглядом на многие вещи.
Первые типы двигателей
Изобретатель, поняв, как можно осуществить все 4 цикла обычного мотора при вращении, приступил к конструированию. В 1924 году Ванкель создал небольшую мастерскую. Она также выполняла роль лаборатории. Именно здесь Феликс Ванкель стал изучать роторно-поршневые системы. В 1936 году модель, собранная изобретателем, заинтересовала компанию “БМВ”.
Ванкель получил деньги, ему была предоставлена собственная лаборатория в Линдау. Там он должен был разрабатывать опытные образцы авиамоторов. Однако до самого конца Второй мировой ни один роторный двигатель Ванкеля не был отправлен в серийное производство.
Вероятно, это было вызвано тем, что доведение конструкции до пригодного к эксплуатации состояния и наладка массового производства требовали достаточно много времени
Послевоенные годы
После разгрома фашизма лаборатория была закрыта, а все оборудование, которое там находилось, было переправлено во Францию. В итоге Ванкель остался без работы.
Этому поспособствовало его бывшее членство в национальной социалистической партии. Но спустя небольшой период времени Феликса пригласили в компанию NSU в качестве инженера-конструктора.
Это предприятие на тот момент считалось старейшим производителем автомобилей и мотоциклов.
Опытный образец
В 1957 году, благодаря поддержке Вальтера Фреде (ведущего инженера в компании NSU), роторно-поршневой двигатель был впервые поставлен на автомобиль. Мотор был установлен на NSU Prinz. Однако первоначальная конструкция была очень далека от совершенства. Она была настолько сложной, что даже для замены свечей нужно было разобрать почти весь мотор.
Кроме этого, конструкция была очень ненадежна, неэкономична и имела очень низкий КПД. Двигатель Ванкеля в связи с этим не пошел в серию. Автомобили отправились на конвейер с традиционным ДВС. Тем не менее роторно-поршневой двигатель доказал не только право на свое существование, но и продемонстрировал впечатляющий для того времени потенциал.
Важно
Перспективы его использования были настолько привлекательны, что инженеров-конструкторов ничего не смогло остановить. Сам изобретатель понимал, что его детище требует усовершенствования, он стремился к тому, чтобы и функционирование, и ремонт двигателя вызывали как можно меньше затруднений.
С этого момента началась активная деятельность по доведению мотора до эксплуатационного совершенства.
Двигатель Ванкеля: конструкция
Что собой представляет мотор? В центре ротора имеется круглое отверстие. Оно изнутри покрыто зубцами, как на шестеренке. В отверстие вставляется вал с меньшим диаметром. На нем также есть зубцы. Они препятствуют проскальзыванию вала.
Отношения диаметров подбираются таким образом, чтобы перемещение вершин треугольников осуществлялось по одной замкнутой кривой. Она именуется “эпитрохоида”. Задача Ванкеля состояла в том, чтобы для начала понять, что работа такого механизма возможна. Затем ему нужно было все точно и верно рассчитать.
В результате поршень, выполненный в форме треугольника Рело, отсекает три камеры переменного положения и объема.
Особенности
Конструктивная характеристика двигателя значительно выигрывает в сравнении с обычными моторами. В частности, герметизация камер обеспечивается за счет торцевых и радиальных уплотнительных пластин.
Они прижимаются к “цилиндру” с помощью ленточных пружин, давления газа и центробежных сил. Особого внимания заслуживает и характеристика двигателя с точки зрения производительности. За весь цикл вал совершает 3 полных оборота.
В обычном поршневом моторе такого результата можно добиться при использовании шести цилиндров.
Внедрение в промышленность
После проведения первой успешной демонстрации в 1957 году двигатель Ванкеля заинтересовал крупнейших автогигантов того времени. Так, первой компанией, выкупившей лицензию, стала Curtiss-Wright.
Спустя год изобретение стали использовать такие известные предприятия, как Mazda, Friedrich Krupp, MAN и Daimler-Benz.
За достаточно непродолжительный период лицензии приобрело порядка ста компаний, в том числе с мировым именем: Ford, BMW, Porsche, Rolls-Royce.
Преимущества
Какие достоинства имеет двигатель Ванкеля? Принцип работы мотора заключается в том, что реализация любого четырехтактного цикла осуществляется без использования механизма газораспределения. Благодаря этому значительно упрощается конструкция мотора.
В обычном 4-тактном поршневом моторе примерно на тысячу элементов больше. Огромный интерес крупнейших автомобильных предприятий был вызван потенциалом конструкции. Несомненными преимуществами является простота производства, несложный ремонт двигателя, компактность и небольшой вес.
Все это способствует улучшению управляемости машины, облегчает расположение трансмиссии. Компактность мотора позволяет создать удобный и довольно просторный салон. Усовершенствованные модели двигателя способны развивать высокую мощность при достаточно экономном расходе топлива.
К примеру, современный мотор при объеме 1300 см3 обладает 220 л. с. Если оснастить двигатель Ванкеля турбокомпрессором, то можно получить мощность до 350 л. с. Еще одним достоинством конструкции является очень низкий уровень вибраций и шумов. Двигатель Ванкеля отличается механической уравновешенностью.
Снижение уровня шумов и вибрации достигается небольшим количеством деталей (их на 40% меньше, чем в традиционных моторах). Стоит также отметить и динамические характеристики мотора. На низкой передаче без особенной нагрузки можно разогнать машину до 100 км/ч при высоких оборотах.
В конструкции мотора отсутствует механизм, преобразовывающий возвратно-поступательное перемещение во вращательное. За счет этого двигатель Ванкеля может выдерживать большие обороты в сравнении с традиционными ДВС.
Завершение эйфории
В 1964-м вышел автомобиль NSU Spyder, а после него была выпущена легендарная модель Ro 80. И в настоящее время в мире достаточно много существует клубов любителей этих машин. Затем с конвейера сошли такие модели, как Corvette XP, Mercedes C-111, Citroen M35.
Однако единственной компанией, которая занялась массовым производством, стала Mazda. С 1967 года она выпускала по 2-3 новых автомобиля с РПД. Двигатель Ванкеля ставили на легкие самолеты, снегоходы, катеры. В 1973 году наступил конец эйфории.
В то время нефтяной кризис был в разгаре. Именно в этот период проявился основной недостаток РПД – неэкономичность. Кроме компании Mazda, все производители свернули программы по выпуску автомобилей с роторными двигателями. Однако только Mazda продолжала выпуск таких машин.
У компании значительно сократились продажи в Америке.
Недостатки РПД: недолговечность и ненадежность
Наряду с достоинствами, роторные двигатели обладали и существенными минусами. В первую очередь, они были очень недолговечными. Так, одна из первых моделей РПД в ходе испытаний выработала весь ресурс за 2 часа. Более успешный прототип смог выдержать 100 часов.
Однако это не обеспечивало нормальной эксплуатации машины. Главная проблема состояла в неравномерности износа внутренней поверхности камеры. В ходе работы на ней образовывались поперечные борозды. Они получили весьма красноречивое название: “метки дьявола”.
Совет
После получения лицензии компания Mazda сформировала специальный отдел, который занимался усовершенствованием мотора. Вскоре выяснилось, что в процессе вращения ротора заглушки, расположенные на его вершинах, начинают вибрировать. Из-за этого и появляются эти борозды.
Сегодня проблема долговечности и надежности решена. Для этого в производстве используется высококачественное покрытие, в том числе и керамическое.
Высокая токсичность выхлопов
Это еще один недостаток РПД. В сравнении с традиционными моторами, двигатель Ванкеля выделяет меньшее количество окислов азота, но во много раз больше углеводородов, что обусловлено неполным сгоранием топлива. Инженеры Mazda достаточно быстро нашли эффективное решение проблемы. Специалисты создали “термальный реактор”.
В нем происходит “дожигание” углеводородов. Mazda R 100 стала первым автомобилем, в котором был применен этот элемент. В 1968 была выпущена еще одна модель с “термальным реактором” – Familia Presto Rotary.
Это авто, одно из немногих, сразу прошло достаточно жесткую экологическую проверку, выдвинутую США в 1970-м для импортируемых ТС.
Экономичность
Это еще одна проблема РПД. Частично она вытекает из описанной выше. Расход топлива в стандартном РПД значительно выше, чем у ДВС. Эта проблема снова была решена специалистами Mazda.
Внедрив комплекс мер, в числе которых переработка карбюратора и термореактора, добавление в выхлопную систему теплообменника, создание нового зажигания и разработка каталитического конвектора, инженеры добились снижения расхода на 40%.
Это позволило выпустить в 1978 году модель RX-7.
Отечественное производство
Кроме компании Mazda, автомобили с РПД выпускал и “АвтоВАЗ”. В 1974-м на заводе было сформировано специальное конструкторское бюро. В Тольятти началось строительство цехов для серийного выпуска РПД.
В связи с тем, что первоначально предполагалось, что ВАЗ будет просто копировать западную технологию, было решено наладить воспроизводство двигателя Mazda.
При этом совершенно не учитывались многолетние наработки отечественных институтов моторостроения.
Достаточно долго велись переговоры между Ванкелем и советскими чиновниками. Некоторые встречи проходили непосредственно в Москве. Денег, однако, было недостаточно, поэтому использовать некоторые технологии так и не удалось. В 1976-м был выпущен первый односекционный мотор ВАЗ-311. Его мощность составила 65 л. с.
В течение последующих пяти лет проводилась доводка конструкции. После этого завод выпустил 50 опытных автомобилей с двигателем Ванкеля. Они мгновенно разошлись среди сотрудников предприятия. Однако вскоре выяснилось, что мотор в машинах только внешне был похож на японский. Конструкция его была крайне ненадежна.
В течение полугода все двигатели были заменены, а штат конструкторского бюро был сокращен.
Однако отечественное производство мотора было спасено спецслужбами. Их не слишком беспокоил ресурс конструкции и расход топлива. Больше их привлекали динамические характеристики двигателя.
Обратите внимание
В короткое время из двух моторов ВАЗ-311 был собран один двухсекционный. Его мощность увеличилась почти вдвое – до 120 л. с. Двигатель стали ставить на специальную единицу – ВАЗ-21019.
Эта модель получила неофициальное наименование “Аркан”.
Перепрофилирование
Спецзаказы вдохнули вторую жизнь в конструкторское бюро. На ВАЗе стали выпускать двигатели для авто- и водного спорта. Машины стали часто завоевывать первые места. Спортивные чиновники, в свою очередь, были вынуждены запретить использование РПД. В 1987 на смену Поспелову (руководителю конструкторского бюро) пришел Шнякин.
Он недолюбливал наземный транспорт, тяготея больше к авиации. С начала его руководства СКБ перепрофилировало свою деятельность на выпуск двигателей для воздушных машин. Это была неверная стратегия, поскольку самолетов в стране выпускается намного меньше, чем автомобилей. Завод же получал прибыль преимущественно с продажи автомоторов.
Следующей ошибкой стала переориентация на маломощные двигатели. Японцы устанавливают РПД на спортивные машины. А ВАЗ выпускал мололитражные модели “Ока”, несмотря на то что динамичные моторы целесообразнее было бы ставить на более быстроходные авто. Так или иначе, на отечественных дорогах оказалось несколько микролитражек “Ока” с РПД.
К 1998 году, наконец, завершилась подготовка гражданского варианта двухцилиндрового 1.3-литрового роторного мотора. Его устанавливали на модели ВАЗ 2107-2109 и 2105.
В заключение
Почему же ведущие производители мира все еще не перешли окончательно на выпуск машин с РПД? Дело в том, что для изготовления таких моторов необходима, в первую очередь, очень точная технология, включающая в себя множество разнообразных нюансов.
Не каждая, даже крупная компания, может пойти по пути Mazda. Кроме того, дело в оборудовании. Для выпуска двигателя Ванкеля необходимы высокоточные станки для вытачивания поверхностей с эпитрохоидой.
Для оборудования, которое используется сегодня на заводах, такая работа вполне выполнима. Сегодня серьезными исследованиями РПД занимается только Mazda. Инженеры компании постоянно совершенствуют конструкцию, решают множество различных проблем.
Важно
Выпускаемые в Японии роторные двигатели соответствуют принятым в мире стандартам по надежности, расходу топлива и экологичности.
Принцип работы роторного двигателя авто, разновидности, плюсы и минусы
Принцип работы «обычного» ДВС знаком, наверное, почти всем. Именно такими моторами оснащается подавляющее число автомобилей, и мало кто знает о, так сказать, «параллельных» изысканиях конструкторов, ищущих другие пути создания двигателей.
В силу ряда причин, многие «новинки» в среде ДВС так и остались неизвестными широкой публике, хотя некоторые из таких «необычных» двигателей устанавливались на серийные автомобили.
Речь пойдёт о роторно-поршневых двигателях (РПД). Наибольшее внимание мы уделим описанию принципов работы роторного двигателя Ванкеля – ведь машины с именно его роторными двигателями выпускались на некоторых автозаводах (в частности, на ВАЗе).
Содержание статьи
Устройство обычного двигателя
В обычном двигателе ударная волна расширяющихся в результате вспышки газов толкает поршень, который передаёт усилие на коленчатый вал.
Всем известно что, в обычном двигателе ударная волна расширяющихся в результате вспышки газов толкает поршень, который передаёт усилие через кривошипно-шатунный механизм на коленчатый вал, который под воздействием усилия, передаваемого шатунами, начинает вращаться. Для того, чтобы впуск топлива/выпуск отработанных газов и момент воспламенения топлива были согласованы, требуется достаточно сложный газораспределительный механизм.
Работа роторного двигателя
Сам ротор, напоминающий по форме треугольник, имеет внутри зубчатое колесо, которое сцеплено с валом двигателя.
Сам ротор, напоминающий по форме треугольник, имеет внутри зубчатое колесо, которое сцеплено с валом двигателя, приводимым во вращение за счёт расширяющихся газов, воздействующих на ротор. Для обеспечения сжатия-расширения топливной смеси камера («цилиндр»), в которой вращается ротор, имеет сложную форму. Такую форму поверхности называют эпитрохоидальной, и для её точного изготовления требуется высокоточное оборудование. Более того, зубцы ротора и вала расположены таким образом, чтобы поршень (имеющий вид треугольника Рело), вращался по этой сожной траектории, «углами» прижимаясь к поверхности «цилиндра» – иначе не избежать прорыва газов в процессе работы двигателя.
Рисунок наглядно демонстрирует, как работает роторный двигатель. Взрывающаяся топливная смесь, впрыснутая через специальное «окно», толкает ротор, а впускное окно автоматически перекрывается стенкой поршня.
Точно также, в нужные моменты, закрывается и открывается «выпускной клапан».
Плюсы и минусы роторного двигателя
Помимо прочих достоинств РПД достаточно динамичен и быстро развивает высокие обороты.
Как видите, вся конструкция достаточно изящна. Как подсчитали эксперты, в РПД используется примерно на 1000 деталей меньше, чем в «привычных» ДВС (например, отпадает сложная конструкция газораспределительного механизма и его привода). К тому же РПД, имеющий две рабочих камеры (и, соответственно, два ротора), может за одно и то же время совершить такое же число циклов, как и V-образная «восьмёрка».
Хоть на схематическом рисунке предоставлена работа роторного двигателя внутреннего сгорания с воспламенением от искрового разряда, в РПД можно реализовать практически любой рабочий цикл – включая дизельный.
К несомненным достоинствам, такая конструкция двигателя, все вращающиеся детали работают соосно, придаёт непревзойдённую плавность работе роторного двигателя и отсутствие разрушительных вибраций.
Помимо прочих достоинств РПД достаточно динамичен и быстро развивает высокие обороты. Правда, «на холостых» он достаточно «прожорлив». Если мотор имеет два цилиндра, один из них при необходимости отключают.
КПД роторного двигателя является рекордным – 40%, но, к сожалению, он имеет также рекордно низкий ресурс некоторых деталей (зачастую вызванных «резвостью» двигателя), но частая замена моторного масла способна значительно продлить жизнь механизмов и ресурс роторного двигателя. Пока конструкторам удаётся справиться с чрезмерным износом «граней» «треугольника» путем применения высоколегированных сталей.
Другие виды роторных двигателей
Двигатель Ванкеля не явился единственной попыткой (притом, весьма удачной!) создания роторного двигателя – существуют и другие, менее известные, их варианты.
Двигатель Зуева
По сравнению с двигателем Ванкеля, двигатель Зуева достаточно громоздкая конструкция:
Роторно-лопастной двигатель
Господинн Прохоров именно роторно-лопастными двигателями планировал оснащать «Ё-мобили».
Конструкция оригинальная, но почему-то создатели данного мотора так и не явили миру её безупречно действующий образец. Кстати, г-н Прохоров именно такими моторами планировал оснащать «Ё-мобили».
Автомобили с роторным двигателем
Среди автопроизводителей, оснастивших машины РПД, наиболее известна Mazda RX-8. Но были и другие. В частности, советскими спецслужбами всячески поощрялось создание ВАЗ именно с роторными двигателями. Видимо, оперативные службы заинтересовались «резвостью» мотора.
Впрочем, кроме вышеперечисленных, роторно-поршневые двигатели уже давно «прошли обкатку» на многих авто.
принцип работы. Плюсы и минусы роторного двигателя
Array
(
[TAGS] => Двигателестроение
[~TAGS] => Двигателестроение
[ID] => 106412
[~ID] => 106412
[NAME] => Роторный двигатель: принцип работы. Плюсы и минусы роторного двигателя
[~NAME] => Роторный двигатель: принцип работы. Плюсы и минусы роторного двигателя
[IBLOCK_ID] => 1
[~IBLOCK_ID] => 1
[IBLOCK_SECTION_ID] => 104
[~IBLOCK_SECTION_ID] => 104
[DETAIL_TEXT] =>
С изобретением двигателя внутреннего сгорания прогресс в развитии автомобилестроения шагнул далеко вперед. Несмотря на то, что общее устройство ДВС оставалось одинаковым, данные агрегаты постоянно усовершенствовались. Наряду с этими моторами появлялись более прогрессивные агрегаты роторного типа. Но почему они так и не получили широкого распространения в автомобильном мире? Ответ на этот вопрос мы рассмотрим в статье.
История возникновения агрегата
Двигатель роторного типа был сконструирован и испытан разработчиками Феликсом Ванкелем и Вальтером Фройде в 1957 году. Первый автомобиль, на который был установлен данный агрегат, – спорткар NSU «Спайдер». Исследования показали, что при мощности мотора в 57 лошадиных сил данная машина имела возможность разогнаться до колоссальных 150 километров в час. Производство автомобилей «Спайдер» в комплектации с 57-сильным роторным двигателем длилось около 3-х лет.
После этого данным типом двигателей стали оснащать автомобиль NSU Ro-80. Впоследствии роторные моторы устанавливались на «Ситроены», «Мерседесы», ВАЗы и «Шевроле». Одним из самых распространенных автомобилей с роторным двигателем является японский спорткар «Мазда» модели Cosmo Sport. Также японцы стали оснащать данным мотором модель RX. Принцип работы роторного двигателя («Мазда» RX) заключался в постоянном вращении ротора с переменой тактов работы. Но об этом немного позже. В нынешнее время японский автопроизводитель не занимается серийным выпуском машин с роторными двигателями. Последней моделью, на которую ставился такой мотор, стала «Мазда» RX8 модификации Spirit R. Однако в 2012 году производство данной версии автомобиля было прекращено.
Устройство и принцип работы
Какой имеет роторный двигатель принцип функционирования? Данный тип моторов отличается 4-тактным циклом действия, как и на классическом ДВС. Однако принцип работы роторно-поршневого двигателя немного отличается от такового у обычных поршневых. В чем главная особенность данного мотора? Роторный двигатель Стирлинга имеет в своей конструкции не 2, не 4 и не 8 поршней, а всего один. Называется он ротором. Вращается данный элемент в цилиндре специальной формы. Ротор насаживается на вал и соединяется с зубчатым колесом. Последнее имеет шестеренчатое сцепление со стартером. Вращение элемента происходит по эпитрохоидальной кривой. То есть лопасти ротора попеременно перекрывают камеру цилиндра. В последней происходит сгорание топлива. Принцип работы роторного двигателя («Мазда» Cosmo Sport в том числе) заключается в том, что за один оборот механизм толкает три лепестка жестких кругов. В то время как деталь вращается в корпусе, три отсека внутри меняют свой размер. Благодаря изменению размеров в камерах создается определенное давление.
Фазы работы
Как действует роторный двигатель? Принцип работы (gif-изображения и схему РПД вы можете увидеть ниже) данного мотора заключается в следующем. Функционирование двигателя состоит из четырех повторяющихся циклов, а именно:
1. Подачи топлива. Это первая фаза работы двигателя. Она происходит в тот момент, когда вершина ротора находится на уровне отверстия подачи. Когда камера открыта для основного отсека, ее объем приближается к минимуму. Как только ротор вращается мимо нее, в отсек попадает топливно-воздушная смесь. После этого камера снова становится закрытой.
2. Сжатия. Когда ротор продолжает свое движение, пространство в отсеке уменьшается. Таким образом, происходит сжатие смеси из воздуха и топлива. Как только механизм проходит отсек со свечей зажигания, объем камеры снова уменьшается. В этот момент происходит воспламенение смеси.
3. Воспламенения. Зачастую роторный двигатель (ВАЗ-21018 в том числе) имеет несколько свечей зажигания. Это обусловлено большой длиной камеры сгорания. Как только свеча воспламеняет горючую смесь, уровень давления внутри увеличивается в десятки раз. Таким образом, ротор снова приводится в действие. Далее давление в камере и количество газов продолжают расти. В этот момент происходит перемещение ротора и создание крутящего момента. Так продолжается до тех пор, пока механизм не пройдет выхлопной отсек.
4. Выпуска газов. Когда ротор проходит данный отсек, газ под высоким давлением начинает свободно перемещаться в выхлопную трубу. При этом движение механизма не прекращается. Ротор стабильно вращается до тех пор, пока объем камеры сгорания снова не упадет до минимума. К этому времени из мотора выдавится оставшееся количество отработавших газов.
Именно такой имеет роторный двигатель принцип работы. ВАЗ-2108, на который также монтировался РПД, как и японская «Мазда», отличался тихой работой мотора и высокими динамическими характеристиками. Но в серийное производство данная модификация так и не была запущена. Итак, мы выяснили, какой имеет роторный двигатель принцип работы.
Недостатки и преимущества
Не зря данный мотор привлек внимание столь многих автопроизводителей. Его особый принцип работы и конструкция имеют целый ряд преимуществ по сравнению с другими типами ДВС. Итак, какие имеет роторный двигатель плюсы и минусы? Начнем с явных преимуществ. Во-первых, роторный двигатель имеет наиболее сбалансированную конструкцию, а потому практически не вызывает высоких вибраций при работе. Во-вторых, данный мотор имеет более легкий вес и большую компактность, а потому его установка особо актуальна для производителей спорткаров. Кроме того, небольшой вес агрегата дал возможность конструкторам добиться идеальной развесовки нагрузок по осям. Таким образом, автомобиль с данным двигателем становился более устойчивым и маневренным на дороге.
Ну и, конечно же, простора конструкции. Несмотря на то же самое количество тактов работы, устройство данного двигателя гораздо проще, чем у поршневого аналога. Для создания роторного мотора требовалось минимальное количество узлов и механизмов. Однако главный козырь данного двигателя заключается не в массе и низких вибрациях, а в высоком КПД. Благодаря особому принципу работы роторный мотор имел большую мощность и коэффициент полезного действия. Теперь о недостатках. Их оказалось намного больше, чем преимуществ. Основная причина, по которой производители отказывались покупать такие моторы, заключалась в их высоком расходе топлива. В среднем на сто километров такой агрегат тратил до 20 литров горючего, а это, согласитесь, немалый расход по сегодняшним меркам.
Сложность производства деталей
Кроме того, стоит отметить высокую стоимость производства деталей данного двигателя, которая объяснялась сложностью изготовления ротора. Для того чтобы данный механизм правильно прошел эпитрохоидальную кривую, нужна высокая геометрическая точность (для цилиндра в том числе). Поэтому при изготовлении роторных двигателей невозможно обойтись без специализированного дорогостоящего оборудования и особых знаний в технической области. Соответственно, все эти затраты заранее закладываются в цену автомобиля.
Перегревы и высокие нагрузки
Также из-за особой конструкции данный агрегат был часто подвержен перегреву. Вся проблема заключалась в линзовидной форме камеры сгорания.
В отличие от нее, классические ДВС имеют сферическую конструкцию камеры. Топливо, которое сгорает в линзовидном механизме, превращается в тепловую энергию, расходуемую не только на рабочий ход, но и на нагрев самого цилиндра. В конечном итоге частое «закипание» агрегата приводит к быстрому износу и выходу его из строя.
Ресурс
Не только цилиндр терпит большие нагрузки. Исследования показали, что при работе ротора значительная часть нагрузок ложится на уплотнители, расположенные между форсунками механизмов. Они подвергаются постоянному перепаду давления, потому максимальный ресурс двигателя составляет не более 100-150 тысяч километров.
После этого мотору требуется капитальный ремонт, стоимость которого порой равносильна покупке нового агрегата.
Расход масла
Также роторный двигатель очень требователен к обслуживанию.
Расход масла у него составляет более 500 миллилитров на 1 тысячу километров, что заставляет заливать жидкость каждые 4-5 тыс. километров пробега. Если вовремя не произвести замену, мотор попросту выйдет из строя. То есть к вопросу обслуживания роторного двигателя нужно подходить более ответственно, иначе малейшая ошибка чревата дорогостоящим ремонтом агрегата.
Разновидности
На данный момент существует пять разновидностей данных типов агрегатов:
1. Роторные моторы с возвратно-вращательными движениями вала.
2. С равномерным вращением вала. При этом в его конструкции не используются какие-либо уплотнительные механизмы. Расположение камер сгорания у них спирального типа.
3. Агрегаты с пульсирующе-вращательным движением, направленным в 1 сторону.
4. С планетарным вращением вала, без уплотнительных элементов. Яркий пример тому – двигатель Ванкеля.
5. РПД с равномерной работой рабочих элементов и спиральным типом расположения камер сгорания.
Роторный двигатель (ВАЗ-21018-2108)
История создание ВАЗовских роторных ДВС датируется 1974 годом. Именно тогда было создано первое конструкторское бюро РПД. Однако первый разработанный нашими инженерами двигатель имел схожую конструкцию с мотором Ванкеля, который укомплектовывался на импортные седаны NSU Ro80. Советский аналог получил название ВАЗ-311. Это самый первый советский роторный двигатель. Принцип работы на ВАЗовских автомобилях данного мотора имеет одинаковый алгоритм действия РПД Ванкеля. Первым автомобилем, на который стали устанавливать данные двигатели, стал ВАЗ модификации 21018. Машина практически ничем не отличалась от своего «предка» – модели 2101 – за исключением используемого ДВС. Под капотом новинки стоял односекционный РПД мощностью в 70 лошадиных сил. Однако в результате исследований на всех 50 образцах моделей были обнаружены многочисленные поломки мотора, которые заставили Волжский завод отказаться от применения данного типа ДВС на своих автомобилях на ближайшие несколько лет.
Основная причина неисправностей отечественного РПД заключалась в ненадежных уплотнениях. Однако советские конструкторы решили спасти данный проект, презентовав миру новый 2-секционный роторный двигатель ВАЗ-411. Впоследствии был разработан ДВС марки ВАЗ-413. Основные их различия заключались в мощности. Первый экземпляр развивал до 120 лошадиных сил, второй – порядка 140. Однако в серию данные агрегаты снова не вошли. Завод принял решение ставить их только на служебные автомобили, использовавшиеся в ГАИ и КГБ.
Моторы для авиации, «восьмерок» и «девяток»
В последующие годы разработчики пытались создать роторный мотор для отечественной малой авиации, однако все попытки оказались безрезультатными. В итоге конструкторы снова занялись разработкой двигателей для легковых (теперь уже переднеприводных) автомобилей ВАЗ серии 8 и 9. В отличие от своих предшественников новоразработанные моторы ВАЗ-414 и 415 являлись универсальными и могли использоваться на заднеприводных моделях авто типа «Волга», «Москвич» и так далее.
Характеристики РПД ВАЗ-414
Впервые данный двигатель появился на «девятках» лишь в 1992 году. По сравнению со своими «предками» данный мотор имел следующие преимущества: Высокую удельную мощность, которая давала возможность машине набрать «сотню» всего за 8-9 секунд. Большой коэффициент полезного действия. С одного литра сгоревшего топлива удавалось получить до 110 лошадиных сил мощности (и это без какой-либо форсировки и дополнительной расточки блока цилиндров). Высокий потенциал для форсирования. При правильной настройке можно было увеличить мощность двигателя на несколько десятков лошадиных сил. Высокооборотистость мотора. Такой двигатель способен был работать даже при 10 000 об./мин. При таких нагрузках мог функционировать только роторный двигатель. Принцип работы классических ДВС не позволяет их эксплуатировать долго на высоких оборотах. Относительно малый расход топлива. Если прежние экземпляры «съедали» на «сотню» порядка 18-20 литров топлива, то данный агрегат потреблял всего 14-15 в среднем режиме эксплуатации.
Сегодняшняя ситуация с РПД на Волжском автозаводе
Все вышеописанные двигатели не получили большой популярности, и вскоре их производство было свернуто. В дальнейшем Волжский автозавод пока не планирует возрождать разработку роторных двигателей. Так что РПД ВАЗ-414 так и останется скомканным клочком бумаги в истории отечественного машиностроения. Итак, мы выяснили, какой имеет роторный двигатель принцип работы и устройство.
Источник:
syl.ru
[~DETAIL_TEXT] =>
С изобретением двигателя внутреннего сгорания прогресс в развитии автомобилестроения шагнул далеко вперед. Несмотря на то, что общее устройство ДВС оставалось одинаковым, данные агрегаты постоянно усовершенствовались. Наряду с этими моторами появлялись более прогрессивные агрегаты роторного типа. Но почему они так и не получили широкого распространения в автомобильном мире? Ответ на этот вопрос мы рассмотрим в статье.
История возникновения агрегата
Двигатель роторного типа был сконструирован и испытан разработчиками Феликсом Ванкелем и Вальтером Фройде в 1957 году. Первый автомобиль, на который был установлен данный агрегат, – спорткар NSU «Спайдер». Исследования показали, что при мощности мотора в 57 лошадиных сил данная машина имела возможность разогнаться до колоссальных 150 километров в час. Производство автомобилей «Спайдер» в комплектации с 57-сильным роторным двигателем длилось около 3-х лет.
После этого данным типом двигателей стали оснащать автомобиль NSU Ro-80. Впоследствии роторные моторы устанавливались на «Ситроены», «Мерседесы», ВАЗы и «Шевроле». Одним из самых распространенных автомобилей с роторным двигателем является японский спорткар «Мазда» модели Cosmo Sport. Также японцы стали оснащать данным мотором модель RX. Принцип работы роторного двигателя («Мазда» RX) заключался в постоянном вращении ротора с переменой тактов работы. Но об этом немного позже. В нынешнее время японский автопроизводитель не занимается серийным выпуском машин с роторными двигателями. Последней моделью, на которую ставился такой мотор, стала «Мазда» RX8 модификации Spirit R. Однако в 2012 году производство данной версии автомобиля было прекращено.
Устройство и принцип работы
Какой имеет роторный двигатель принцип функционирования? Данный тип моторов отличается 4-тактным циклом действия, как и на классическом ДВС. Однако принцип работы роторно-поршневого двигателя немного отличается от такового у обычных поршневых. В чем главная особенность данного мотора? Роторный двигатель Стирлинга имеет в своей конструкции не 2, не 4 и не 8 поршней, а всего один. Называется он ротором. Вращается данный элемент в цилиндре специальной формы. Ротор насаживается на вал и соединяется с зубчатым колесом. Последнее имеет шестеренчатое сцепление со стартером. Вращение элемента происходит по эпитрохоидальной кривой. То есть лопасти ротора попеременно перекрывают камеру цилиндра. В последней происходит сгорание топлива. Принцип работы роторного двигателя («Мазда» Cosmo Sport в том числе) заключается в том, что за один оборот механизм толкает три лепестка жестких кругов. В то время как деталь вращается в корпусе, три отсека внутри меняют свой размер. Благодаря изменению размеров в камерах создается определенное давление.
Фазы работы
Как действует роторный двигатель? Принцип работы (gif-изображения и схему РПД вы можете увидеть ниже) данного мотора заключается в следующем. Функционирование двигателя состоит из четырех повторяющихся циклов, а именно:
1. Подачи топлива. Это первая фаза работы двигателя. Она происходит в тот момент, когда вершина ротора находится на уровне отверстия подачи. Когда камера открыта для основного отсека, ее объем приближается к минимуму. Как только ротор вращается мимо нее, в отсек попадает топливно-воздушная смесь. После этого камера снова становится закрытой.
2. Сжатия. Когда ротор продолжает свое движение, пространство в отсеке уменьшается. Таким образом, происходит сжатие смеси из воздуха и топлива. Как только механизм проходит отсек со свечей зажигания, объем камеры снова уменьшается. В этот момент происходит воспламенение смеси.
3. Воспламенения. Зачастую роторный двигатель (ВАЗ-21018 в том числе) имеет несколько свечей зажигания. Это обусловлено большой длиной камеры сгорания. Как только свеча воспламеняет горючую смесь, уровень давления внутри увеличивается в десятки раз. Таким образом, ротор снова приводится в действие. Далее давление в камере и количество газов продолжают расти. В этот момент происходит перемещение ротора и создание крутящего момента. Так продолжается до тех пор, пока механизм не пройдет выхлопной отсек.
4. Выпуска газов. Когда ротор проходит данный отсек, газ под высоким давлением начинает свободно перемещаться в выхлопную трубу. При этом движение механизма не прекращается. Ротор стабильно вращается до тех пор, пока объем камеры сгорания снова не упадет до минимума. К этому времени из мотора выдавится оставшееся количество отработавших газов.
Именно такой имеет роторный двигатель принцип работы. ВАЗ-2108, на который также монтировался РПД, как и японская «Мазда», отличался тихой работой мотора и высокими динамическими характеристиками. Но в серийное производство данная модификация так и не была запущена. Итак, мы выяснили, какой имеет роторный двигатель принцип работы.
Недостатки и преимущества
Не зря данный мотор привлек внимание столь многих автопроизводителей. Его особый принцип работы и конструкция имеют целый ряд преимуществ по сравнению с другими типами ДВС. Итак, какие имеет роторный двигатель плюсы и минусы? Начнем с явных преимуществ. Во-первых, роторный двигатель имеет наиболее сбалансированную конструкцию, а потому практически не вызывает высоких вибраций при работе. Во-вторых, данный мотор имеет более легкий вес и большую компактность, а потому его установка особо актуальна для производителей спорткаров. Кроме того, небольшой вес агрегата дал возможность конструкторам добиться идеальной развесовки нагрузок по осям. Таким образом, автомобиль с данным двигателем становился более устойчивым и маневренным на дороге.
Ну и, конечно же, простора конструкции. Несмотря на то же самое количество тактов работы, устройство данного двигателя гораздо проще, чем у поршневого аналога. Для создания роторного мотора требовалось минимальное количество узлов и механизмов. Однако главный козырь данного двигателя заключается не в массе и низких вибрациях, а в высоком КПД. Благодаря особому принципу работы роторный мотор имел большую мощность и коэффициент полезного действия. Теперь о недостатках. Их оказалось намного больше, чем преимуществ. Основная причина, по которой производители отказывались покупать такие моторы, заключалась в их высоком расходе топлива. В среднем на сто километров такой агрегат тратил до 20 литров горючего, а это, согласитесь, немалый расход по сегодняшним меркам.
Сложность производства деталей
Кроме того, стоит отметить высокую стоимость производства деталей данного двигателя, которая объяснялась сложностью изготовления ротора. Для того чтобы данный механизм правильно прошел эпитрохоидальную кривую, нужна высокая геометрическая точность (для цилиндра в том числе). Поэтому при изготовлении роторных двигателей невозможно обойтись без специализированного дорогостоящего оборудования и особых знаний в технической области. Соответственно, все эти затраты заранее закладываются в цену автомобиля.
Перегревы и высокие нагрузки
Также из-за особой конструкции данный агрегат был часто подвержен перегреву. Вся проблема заключалась в линзовидной форме камеры сгорания.
В отличие от нее, классические ДВС имеют сферическую конструкцию камеры. Топливо, которое сгорает в линзовидном механизме, превращается в тепловую энергию, расходуемую не только на рабочий ход, но и на нагрев самого цилиндра. В конечном итоге частое «закипание» агрегата приводит к быстрому износу и выходу его из строя.
Ресурс
Не только цилиндр терпит большие нагрузки. Исследования показали, что при работе ротора значительная часть нагрузок ложится на уплотнители, расположенные между форсунками механизмов. Они подвергаются постоянному перепаду давления, потому максимальный ресурс двигателя составляет не более 100-150 тысяч километров.
После этого мотору требуется капитальный ремонт, стоимость которого порой равносильна покупке нового агрегата.
Расход масла
Также роторный двигатель очень требователен к обслуживанию.
Расход масла у него составляет более 500 миллилитров на 1 тысячу километров, что заставляет заливать жидкость каждые 4-5 тыс. километров пробега. Если вовремя не произвести замену, мотор попросту выйдет из строя. То есть к вопросу обслуживания роторного двигателя нужно подходить более ответственно, иначе малейшая ошибка чревата дорогостоящим ремонтом агрегата.
Разновидности
На данный момент существует пять разновидностей данных типов агрегатов:
1. Роторные моторы с возвратно-вращательными движениями вала.
2. С равномерным вращением вала. При этом в его конструкции не используются какие-либо уплотнительные механизмы. Расположение камер сгорания у них спирального типа.
3. Агрегаты с пульсирующе-вращательным движением, направленным в 1 сторону.
4. С планетарным вращением вала, без уплотнительных элементов. Яркий пример тому – двигатель Ванкеля.
5. РПД с равномерной работой рабочих элементов и спиральным типом расположения камер сгорания.
Роторный двигатель (ВАЗ-21018-2108)
История создание ВАЗовских роторных ДВС датируется 1974 годом. Именно тогда было создано первое конструкторское бюро РПД. Однако первый разработанный нашими инженерами двигатель имел схожую конструкцию с мотором Ванкеля, который укомплектовывался на импортные седаны NSU Ro80. Советский аналог получил название ВАЗ-311. Это самый первый советский роторный двигатель. Принцип работы на ВАЗовских автомобилях данного мотора имеет одинаковый алгоритм действия РПД Ванкеля. Первым автомобилем, на который стали устанавливать данные двигатели, стал ВАЗ модификации 21018. Машина практически ничем не отличалась от своего «предка» – модели 2101 – за исключением используемого ДВС. Под капотом новинки стоял односекционный РПД мощностью в 70 лошадиных сил. Однако в результате исследований на всех 50 образцах моделей были обнаружены многочисленные поломки мотора, которые заставили Волжский завод отказаться от применения данного типа ДВС на своих автомобилях на ближайшие несколько лет.
Основная причина неисправностей отечественного РПД заключалась в ненадежных уплотнениях. Однако советские конструкторы решили спасти данный проект, презентовав миру новый 2-секционный роторный двигатель ВАЗ-411. Впоследствии был разработан ДВС марки ВАЗ-413. Основные их различия заключались в мощности. Первый экземпляр развивал до 120 лошадиных сил, второй – порядка 140. Однако в серию данные агрегаты снова не вошли. Завод принял решение ставить их только на служебные автомобили, использовавшиеся в ГАИ и КГБ.
Моторы для авиации, «восьмерок» и «девяток»
В последующие годы разработчики пытались создать роторный мотор для отечественной малой авиации, однако все попытки оказались безрезультатными. В итоге конструкторы снова занялись разработкой двигателей для легковых (теперь уже переднеприводных) автомобилей ВАЗ серии 8 и 9. В отличие от своих предшественников новоразработанные моторы ВАЗ-414 и 415 являлись универсальными и могли использоваться на заднеприводных моделях авто типа «Волга», «Москвич» и так далее.
Характеристики РПД ВАЗ-414
Впервые данный двигатель появился на «девятках» лишь в 1992 году. По сравнению со своими «предками» данный мотор имел следующие преимущества: Высокую удельную мощность, которая давала возможность машине набрать «сотню» всего за 8-9 секунд. Большой коэффициент полезного действия. С одного литра сгоревшего топлива удавалось получить до 110 лошадиных сил мощности (и это без какой-либо форсировки и дополнительной расточки блока цилиндров). Высокий потенциал для форсирования. При правильной настройке можно было увеличить мощность двигателя на несколько десятков лошадиных сил. Высокооборотистость мотора. Такой двигатель способен был работать даже при 10 000 об./мин. При таких нагрузках мог функционировать только роторный двигатель. Принцип работы классических ДВС не позволяет их эксплуатировать долго на высоких оборотах. Относительно малый расход топлива. Если прежние экземпляры «съедали» на «сотню» порядка 18-20 литров топлива, то данный агрегат потреблял всего 14-15 в среднем режиме эксплуатации.
Сегодняшняя ситуация с РПД на Волжском автозаводе
Все вышеописанные двигатели не получили большой популярности, и вскоре их производство было свернуто. В дальнейшем Волжский автозавод пока не планирует возрождать разработку роторных двигателей. Так что РПД ВАЗ-414 так и останется скомканным клочком бумаги в истории отечественного машиностроения. Итак, мы выяснили, какой имеет роторный двигатель принцип работы и устройство.
Источник:
syl.ru
[DETAIL_TEXT_TYPE] => html
[~DETAIL_TEXT_TYPE] => html
[PREVIEW_TEXT] => С изобретением двигателя внутреннего сгорания прогресс в развитии автомобилестроения шагнул далеко вперед.
[~PREVIEW_TEXT] => С изобретением двигателя внутреннего сгорания прогресс в развитии автомобилестроения шагнул далеко вперед.
[PREVIEW_TEXT_TYPE] => text
[~PREVIEW_TEXT_TYPE] => text
[DETAIL_PICTURE] =>
[~DETAIL_PICTURE] =>
[TIMESTAMP_X] => 12.02.2020 08:20:10
[~TIMESTAMP_X] => 12.02.2020 08:20:10
[ACTIVE_FROM] => 12.02.2020
[~ACTIVE_FROM] => 12.02.2020
[LIST_PAGE_URL] => /news/
[~LIST_PAGE_URL] => /news/
[DETAIL_PAGE_URL] => /news/104/106412/
[~DETAIL_PAGE_URL] => /news/104/106412/
[LANG_DIR] => /
[~LANG_DIR] => /
[CODE] => rotornyy_dvigatel_printsip_raboty_plyusy_i_minusy_rotornogo_dvigatelya
[~CODE] => rotornyy_dvigatel_printsip_raboty_plyusy_i_minusy_rotornogo_dvigatelya
[EXTERNAL_ID] => 106412
[~EXTERNAL_ID] => 106412
[IBLOCK_TYPE_ID] => news
[~IBLOCK_TYPE_ID] => news
[IBLOCK_CODE] => news
[~IBLOCK_CODE] => news
[IBLOCK_EXTERNAL_ID] => clothes_news_s1
[~IBLOCK_EXTERNAL_ID] => clothes_news_s1
[LID] => s1
[~LID] => s1
[NAV_RESULT] =>
[DISPLAY_ACTIVE_FROM] => 12.02.2020
[IPROPERTY_VALUES] => Array
(
[SECTION_META_TITLE] => Роторный двигатель: принцип работы. Плюсы и минусы роторного двигателя
[SECTION_META_KEYWORDS] => роторный двигатель: принцип работы. плюсы и минусы роторного двигателя
[SECTION_META_DESCRIPTION] => С изобретением двигателя внутреннего сгорания прогресс в развитии автомобилестроения шагнул далеко вперед.
[SECTION_PAGE_TITLE] => Роторный двигатель: принцип работы. Плюсы и минусы роторного двигателя
[ELEMENT_META_TITLE] => Роторный двигатель: принцип работы. Плюсы и минусы роторного двигателя
[ELEMENT_META_KEYWORDS] => роторный двигатель: принцип работы. плюсы и минусы роторного двигателя
[ELEMENT_META_DESCRIPTION] => С изобретением двигателя внутреннего сгорания прогресс в развитии автомобилестроения шагнул далеко вперед.
[ELEMENT_PAGE_TITLE] => Роторный двигатель: принцип работы. Плюсы и минусы роторного двигателя
[SECTION_PICTURE_FILE_ALT] => Роторный двигатель: принцип работы. Плюсы и минусы роторного двигателя
[SECTION_PICTURE_FILE_TITLE] => Роторный двигатель: принцип работы. Плюсы и минусы роторного двигателя
[SECTION_DETAIL_PICTURE_FILE_ALT] => Роторный двигатель: принцип работы. Плюсы и минусы роторного двигателя
[SECTION_DETAIL_PICTURE_FILE_TITLE] => Роторный двигатель: принцип работы. Плюсы и минусы роторного двигателя
[ELEMENT_PREVIEW_PICTURE_FILE_ALT] => Роторный двигатель: принцип работы. Плюсы и минусы роторного двигателя
[ELEMENT_PREVIEW_PICTURE_FILE_TITLE] => Роторный двигатель: принцип работы. Плюсы и минусы роторного двигателя
[ELEMENT_DETAIL_PICTURE_FILE_ALT] => Роторный двигатель: принцип работы. Плюсы и минусы роторного двигателя
[ELEMENT_DETAIL_PICTURE_FILE_TITLE] => Роторный двигатель: принцип работы. Плюсы и минусы роторного двигателя
)
[FIELDS] => Array
(
[TAGS] => Двигателестроение
)
[DISPLAY_PROPERTIES] => Array
(
)
[IBLOCK] => Array
(
[ID] => 1
[~ID] => 1
[TIMESTAMP_X] => 15.02.2016 17:09:48
[~TIMESTAMP_X] => 15.02.2016 17:09:48
[IBLOCK_TYPE_ID] => news
[~IBLOCK_TYPE_ID] => news
[LID] => s1
[~LID] => s1
[CODE] => news
[~CODE] => news
[NAME] => Пресс-центр
[~NAME] => Пресс-центр
[ACTIVE] => Y
[~ACTIVE] => Y
[SORT] => 500
[~SORT] => 500
[LIST_PAGE_URL] => /news/
[~LIST_PAGE_URL] => /news/
[DETAIL_PAGE_URL] => #SITE_DIR#/news/#SECTION_ID#/#ELEMENT_ID#/
[~DETAIL_PAGE_URL] => #SITE_DIR#/news/#SECTION_ID#/#ELEMENT_ID#/
[SECTION_PAGE_URL] => #SITE_DIR#/news/#SECTION_ID#/
[~SECTION_PAGE_URL] => #SITE_DIR#/news/#SECTION_ID#/
[PICTURE] =>
[~PICTURE] =>
[DESCRIPTION] =>
[~DESCRIPTION] =>
[DESCRIPTION_TYPE] => text
[~DESCRIPTION_TYPE] => text
[RSS_TTL] => 24
[~RSS_TTL] => 24
[RSS_ACTIVE] => Y
[~RSS_ACTIVE] => Y
[RSS_FILE_ACTIVE] => N
[~RSS_FILE_ACTIVE] => N
[RSS_FILE_LIMIT] => 0
[~RSS_FILE_LIMIT] => 0
[RSS_FILE_DAYS] => 0
[~RSS_FILE_DAYS] => 0
[RSS_YANDEX_ACTIVE] => N
[~RSS_YANDEX_ACTIVE] => N
[XML_ID] => clothes_news_s1
[~XML_ID] => clothes_news_s1
[TMP_ID] => c83b747129a532c27a029fc5ccf0d07c
[~TMP_ID] => c83b747129a532c27a029fc5ccf0d07c
[INDEX_ELEMENT] => Y
[~INDEX_ELEMENT] => Y
[INDEX_SECTION] => Y
[~INDEX_SECTION] => Y
[WORKFLOW] => N
[~WORKFLOW] => N
[BIZPROC] => N
[~BIZPROC] => N
[SECTION_CHOOSER] => L
[~SECTION_CHOOSER] => L
[LIST_MODE] =>
[~LIST_MODE] =>
[RIGHTS_MODE] => S
[~RIGHTS_MODE] => S
[SECTION_PROPERTY] => N
[~SECTION_PROPERTY] => N
[PROPERTY_INDEX] => N
[~PROPERTY_INDEX] => N
[VERSION] => 1
[~VERSION] => 1
[LAST_CONV_ELEMENT] => 0
[~LAST_CONV_ELEMENT] => 0
[SOCNET_GROUP_ID] =>
[~SOCNET_GROUP_ID] =>
[EDIT_FILE_BEFORE] =>
[~EDIT_FILE_BEFORE] =>
[EDIT_FILE_AFTER] =>
[~EDIT_FILE_AFTER] =>
[SECTIONS_NAME] => Разделы
[~SECTIONS_NAME] => Разделы
[SECTION_NAME] => Раздел
[~SECTION_NAME] => Раздел
[ELEMENTS_NAME] => Новости
[~ELEMENTS_NAME] => Новости
[ELEMENT_NAME] => Новость
[~ELEMENT_NAME] => Новость
[CANONICAL_PAGE_URL] =>
[~CANONICAL_PAGE_URL] =>
[EXTERNAL_ID] => clothes_news_s1
[~EXTERNAL_ID] => clothes_news_s1
[LANG_DIR] => /
[~LANG_DIR] => /
[SERVER_NAME] => www.alfa-industry.ru
[~SERVER_NAME] => www.alfa-industry.ru
)
[SECTION] => Array
(
[PATH] => Array
(
[0] => Array
(
[ID] => 104
[~ID] => 104
[TIMESTAMP_X] => 2015-11-25 18:37:33
[~TIMESTAMP_X] => 2015-11-25 18:37:33
[MODIFIED_BY] => 2
[~MODIFIED_BY] => 2
[DATE_CREATE] => 2015-07-17 14:13:03
[~DATE_CREATE] => 2015-07-17 14:13:03
[CREATED_BY] => 1
[~CREATED_BY] => 1
[IBLOCK_ID] => 1
[~IBLOCK_ID] => 1
[IBLOCK_SECTION_ID] =>
[~IBLOCK_SECTION_ID] =>
[ACTIVE] => Y
[~ACTIVE] => Y
[GLOBAL_ACTIVE] => Y
[~GLOBAL_ACTIVE] => Y
[SORT] => 5
[~SORT] => 5
[NAME] => Интересные статьи
[~NAME] => Интересные статьи
[PICTURE] =>
[~PICTURE] =>
[LEFT_MARGIN] => 9
[~LEFT_MARGIN] => 9
[RIGHT_MARGIN] => 10
[~RIGHT_MARGIN] => 10
[DEPTH_LEVEL] => 1
[~DEPTH_LEVEL] => 1
[DESCRIPTION] =>
[~DESCRIPTION] =>
[DESCRIPTION_TYPE] => text
[~DESCRIPTION_TYPE] => text
[SEARCHABLE_CONTENT] => ИНТЕРЕСНЫЕ СТАТЬИ
[~SEARCHABLE_CONTENT] => ИНТЕРЕСНЫЕ СТАТЬИ
[CODE] =>
[~CODE] =>
[XML_ID] => 104
[~XML_ID] => 104
[TMP_ID] =>
[~TMP_ID] =>
[DETAIL_PICTURE] =>
[~DETAIL_PICTURE] =>
[SOCNET_GROUP_ID] =>
[~SOCNET_GROUP_ID] =>
[LIST_PAGE_URL] => /news/
[~LIST_PAGE_URL] => /news/
[SECTION_PAGE_URL] => /news/104/
[~SECTION_PAGE_URL] => /news/104/
[IBLOCK_TYPE_ID] => news
[~IBLOCK_TYPE_ID] => news
[IBLOCK_CODE] => news
[~IBLOCK_CODE] => news
[IBLOCK_EXTERNAL_ID] => clothes_news_s1
[~IBLOCK_EXTERNAL_ID] => clothes_news_s1
[EXTERNAL_ID] => 104
[~EXTERNAL_ID] => 104
[IPROPERTY_VALUES] => Array
(
[SECTION_META_TITLE] => Интересные статьи
[SECTION_META_KEYWORDS] => интересные статьи
[SECTION_META_DESCRIPTION] =>
[SECTION_PAGE_TITLE] => Интересные статьи
[ELEMENT_META_TITLE] => Интересные статьи
[ELEMENT_META_KEYWORDS] => интересные статьи
[ELEMENT_META_DESCRIPTION] =>
[ELEMENT_PAGE_TITLE] => Интересные статьи
[SECTION_PICTURE_FILE_ALT] => Интересные статьи
[SECTION_PICTURE_FILE_TITLE] => Интересные статьи
[SECTION_DETAIL_PICTURE_FILE_ALT] => Интересные статьи
[SECTION_DETAIL_PICTURE_FILE_TITLE] => Интересные статьи
[ELEMENT_PREVIEW_PICTURE_FILE_ALT] => Интересные статьи
[ELEMENT_PREVIEW_PICTURE_FILE_TITLE] => Интересные статьи
[ELEMENT_DETAIL_PICTURE_FILE_ALT] => Интересные статьи
[ELEMENT_DETAIL_PICTURE_FILE_TITLE] => Интересные статьи
)
)
)
)
[SECTION_URL] => /news/104/
)
Роторный двигатель: принцип работы. Плюсы и минусы роторного двигателя12.02.2020
С изобретением двигателя внутреннего сгорания прогресс в развитии автомобилестроения шагнул далеко вперед. Несмотря на то, что общее устройство ДВС оставалось одинаковым, данные агрегаты постоянно усовершенствовались. Наряду с этими моторами появлялись более прогрессивные агрегаты роторного типа. Но почему они так и не получили широкого распространения в автомобильном мире? Ответ на этот вопрос мы рассмотрим в статье.
История возникновения агрегата
Двигатель роторного типа был сконструирован и испытан разработчиками Феликсом Ванкелем и Вальтером Фройде в 1957 году. Первый автомобиль, на который был установлен данный агрегат, – спорткар NSU «Спайдер». Исследования показали, что при мощности мотора в 57 лошадиных сил данная машина имела возможность разогнаться до колоссальных 150 километров в час. Производство автомобилей «Спайдер» в комплектации с 57-сильным роторным двигателем длилось около 3-х лет.
После этого данным типом двигателей стали оснащать автомобиль NSU Ro-80. Впоследствии роторные моторы устанавливались на «Ситроены», «Мерседесы», ВАЗы и «Шевроле». Одним из самых распространенных автомобилей с роторным двигателем является японский спорткар «Мазда» модели Cosmo Sport. Также японцы стали оснащать данным мотором модель RX. Принцип работы роторного двигателя («Мазда» RX) заключался в постоянном вращении ротора с переменой тактов работы. Но об этом немного позже. В нынешнее время японский автопроизводитель не занимается серийным выпуском машин с роторными двигателями. Последней моделью, на которую ставился такой мотор, стала «Мазда» RX8 модификации Spirit R. Однако в 2012 году производство данной версии автомобиля было прекращено.
Устройство и принцип работы
Какой имеет роторный двигатель принцип функционирования? Данный тип моторов отличается 4-тактным циклом действия, как и на классическом ДВС. Однако принцип работы роторно-поршневого двигателя немного отличается от такового у обычных поршневых. В чем главная особенность данного мотора? Роторный двигатель Стирлинга имеет в своей конструкции не 2, не 4 и не 8 поршней, а всего один. Называется он ротором. Вращается данный элемент в цилиндре специальной формы. Ротор насаживается на вал и соединяется с зубчатым колесом. Последнее имеет шестеренчатое сцепление со стартером. Вращение элемента происходит по эпитрохоидальной кривой. То есть лопасти ротора попеременно перекрывают камеру цилиндра. В последней происходит сгорание топлива. Принцип работы роторного двигателя («Мазда» Cosmo Sport в том числе) заключается в том, что за один оборот механизм толкает три лепестка жестких кругов. В то время как деталь вращается в корпусе, три отсека внутри меняют свой размер. Благодаря изменению размеров в камерах создается определенное давление.
Фазы работы
Как действует роторный двигатель? Принцип работы (gif-изображения и схему РПД вы можете увидеть ниже) данного мотора заключается в следующем. Функционирование двигателя состоит из четырех повторяющихся циклов, а именно:
1. Подачи топлива. Это первая фаза работы двигателя. Она происходит в тот момент, когда вершина ротора находится на уровне отверстия подачи. Когда камера открыта для основного отсека, ее объем приближается к минимуму. Как только ротор вращается мимо нее, в отсек попадает топливно-воздушная смесь. После этого камера снова становится закрытой.
2. Сжатия. Когда ротор продолжает свое движение, пространство в отсеке уменьшается. Таким образом, происходит сжатие смеси из воздуха и топлива. Как только механизм проходит отсек со свечей зажигания, объем камеры снова уменьшается. В этот момент происходит воспламенение смеси.
3. Воспламенения. Зачастую роторный двигатель (ВАЗ-21018 в том числе) имеет несколько свечей зажигания. Это обусловлено большой длиной камеры сгорания. Как только свеча воспламеняет горючую смесь, уровень давления внутри увеличивается в десятки раз. Таким образом, ротор снова приводится в действие. Далее давление в камере и количество газов продолжают расти. В этот момент происходит перемещение ротора и создание крутящего момента. Так продолжается до тех пор, пока механизм не пройдет выхлопной отсек.
4. Выпуска газов. Когда ротор проходит данный отсек, газ под высоким давлением начинает свободно перемещаться в выхлопную трубу. При этом движение механизма не прекращается. Ротор стабильно вращается до тех пор, пока объем камеры сгорания снова не упадет до минимума. К этому времени из мотора выдавится оставшееся количество отработавших газов.
Именно такой имеет роторный двигатель принцип работы. ВАЗ-2108, на который также монтировался РПД, как и японская «Мазда», отличался тихой работой мотора и высокими динамическими характеристиками. Но в серийное производство данная модификация так и не была запущена. Итак, мы выяснили, какой имеет роторный двигатель принцип работы.
Недостатки и преимущества
Не зря данный мотор привлек внимание столь многих автопроизводителей. Его особый принцип работы и конструкция имеют целый ряд преимуществ по сравнению с другими типами ДВС. Итак, какие имеет роторный двигатель плюсы и минусы? Начнем с явных преимуществ. Во-первых, роторный двигатель имеет наиболее сбалансированную конструкцию, а потому практически не вызывает высоких вибраций при работе. Во-вторых, данный мотор имеет более легкий вес и большую компактность, а потому его установка особо актуальна для производителей спорткаров. Кроме того, небольшой вес агрегата дал возможность конструкторам добиться идеальной развесовки нагрузок по осям. Таким образом, автомобиль с данным двигателем становился более устойчивым и маневренным на дороге.
Ну и, конечно же, простора конструкции. Несмотря на то же самое количество тактов работы, устройство данного двигателя гораздо проще, чем у поршневого аналога. Для создания роторного мотора требовалось минимальное количество узлов и механизмов. Однако главный козырь данного двигателя заключается не в массе и низких вибрациях, а в высоком КПД. Благодаря особому принципу работы роторный мотор имел большую мощность и коэффициент полезного действия. Теперь о недостатках. Их оказалось намного больше, чем преимуществ. Основная причина, по которой производители отказывались покупать такие моторы, заключалась в их высоком расходе топлива. В среднем на сто километров такой агрегат тратил до 20 литров горючего, а это, согласитесь, немалый расход по сегодняшним меркам.
Сложность производства деталей
Кроме того, стоит отметить высокую стоимость производства деталей данного двигателя, которая объяснялась сложностью изготовления ротора. Для того чтобы данный механизм правильно прошел эпитрохоидальную кривую, нужна высокая геометрическая точность (для цилиндра в том числе). Поэтому при изготовлении роторных двигателей невозможно обойтись без специализированного дорогостоящего оборудования и особых знаний в технической области. Соответственно, все эти затраты заранее закладываются в цену автомобиля.
Перегревы и высокие нагрузки
Также из-за особой конструкции данный агрегат был часто подвержен перегреву. Вся проблема заключалась в линзовидной форме камеры сгорания.
В отличие от нее, классические ДВС имеют сферическую конструкцию камеры. Топливо, которое сгорает в линзовидном механизме, превращается в тепловую энергию, расходуемую не только на рабочий ход, но и на нагрев самого цилиндра. В конечном итоге частое «закипание» агрегата приводит к быстрому износу и выходу его из строя.
Ресурс
Не только цилиндр терпит большие нагрузки. Исследования показали, что при работе ротора значительная часть нагрузок ложится на уплотнители, расположенные между форсунками механизмов. Они подвергаются постоянному перепаду давления, потому максимальный ресурс двигателя составляет не более 100-150 тысяч километров.
После этого мотору требуется капитальный ремонт, стоимость которого порой равносильна покупке нового агрегата.
Расход масла
Также роторный двигатель очень требователен к обслуживанию.
Расход масла у него составляет более 500 миллилитров на 1 тысячу километров, что заставляет заливать жидкость каждые 4-5 тыс. километров пробега. Если вовремя не произвести замену, мотор попросту выйдет из строя. То есть к вопросу обслуживания роторного двигателя нужно подходить более ответственно, иначе малейшая ошибка чревата дорогостоящим ремонтом агрегата.
Разновидности
На данный момент существует пять разновидностей данных типов агрегатов:
1. Роторные моторы с возвратно-вращательными движениями вала.
2. С равномерным вращением вала. При этом в его конструкции не используются какие-либо уплотнительные механизмы. Расположение камер сгорания у них спирального типа.
3. Агрегаты с пульсирующе-вращательным движением, направленным в 1 сторону.
4. С планетарным вращением вала, без уплотнительных элементов. Яркий пример тому – двигатель Ванкеля.
5. РПД с равномерной работой рабочих элементов и спиральным типом расположения камер сгорания.
Роторный двигатель (ВАЗ-21018-2108)
История создание ВАЗовских роторных ДВС датируется 1974 годом. Именно тогда было создано первое конструкторское бюро РПД. Однако первый разработанный нашими инженерами двигатель имел схожую конструкцию с мотором Ванкеля, который укомплектовывался на импортные седаны NSU Ro80. Советский аналог получил название ВАЗ-311. Это самый первый советский роторный двигатель. Принцип работы на ВАЗовских автомобилях данного мотора имеет одинаковый алгоритм действия РПД Ванкеля. Первым автомобилем, на который стали устанавливать данные двигатели, стал ВАЗ модификации 21018. Машина практически ничем не отличалась от своего «предка» – модели 2101 – за исключением используемого ДВС. Под капотом новинки стоял односекционный РПД мощностью в 70 лошадиных сил. Однако в результате исследований на всех 50 образцах моделей были обнаружены многочисленные поломки мотора, которые заставили Волжский завод отказаться от применения данного типа ДВС на своих автомобилях на ближайшие несколько лет.
Основная причина неисправностей отечественного РПД заключалась в ненадежных уплотнениях. Однако советские конструкторы решили спасти данный проект, презентовав миру новый 2-секционный роторный двигатель ВАЗ-411. Впоследствии был разработан ДВС марки ВАЗ-413. Основные их различия заключались в мощности. Первый экземпляр развивал до 120 лошадиных сил, второй – порядка 140. Однако в серию данные агрегаты снова не вошли. Завод принял решение ставить их только на служебные автомобили, использовавшиеся в ГАИ и КГБ.
Моторы для авиации, «восьмерок» и «девяток»
В последующие годы разработчики пытались создать роторный мотор для отечественной малой авиации, однако все попытки оказались безрезультатными. В итоге конструкторы снова занялись разработкой двигателей для легковых (теперь уже переднеприводных) автомобилей ВАЗ серии 8 и 9. В отличие от своих предшественников новоразработанные моторы ВАЗ-414 и 415 являлись универсальными и могли использоваться на заднеприводных моделях авто типа «Волга», «Москвич» и так далее.
Характеристики РПД ВАЗ-414
Впервые данный двигатель появился на «девятках» лишь в 1992 году. По сравнению со своими «предками» данный мотор имел следующие преимущества: Высокую удельную мощность, которая давала возможность машине набрать «сотню» всего за 8-9 секунд. Большой коэффициент полезного действия. С одного литра сгоревшего топлива удавалось получить до 110 лошадиных сил мощности (и это без какой-либо форсировки и дополнительной расточки блока цилиндров). Высокий потенциал для форсирования. При правильной настройке можно было увеличить мощность двигателя на несколько десятков лошадиных сил. Высокооборотистость мотора. Такой двигатель способен был работать даже при 10 000 об./мин. При таких нагрузках мог функционировать только роторный двигатель. Принцип работы классических ДВС не позволяет их эксплуатировать долго на высоких оборотах. Относительно малый расход топлива. Если прежние экземпляры «съедали» на «сотню» порядка 18-20 литров топлива, то данный агрегат потреблял всего 14-15 в среднем режиме эксплуатации.
Сегодняшняя ситуация с РПД на Волжском автозаводе
Все вышеописанные двигатели не получили большой популярности, и вскоре их производство было свернуто. В дальнейшем Волжский автозавод пока не планирует возрождать разработку роторных двигателей. Так что РПД ВАЗ-414 так и останется скомканным клочком бумаги в истории отечественного машиностроения. Итак, мы выяснили, какой имеет роторный двигатель принцип работы и устройство.
Источник: syl.ru
Просмотров: 443
Как работают приводы — Основные приводы для управления движением
Привод — это двигатель, который преобразует энергию в крутящий момент, который затем перемещает или управляет механизмом или системой, в которую он встроен. Он может как вносить движение, так и предотвращать его. Привод обычно работает от электричества или давления (например, гидравлического или пневматического). Система управления может управляться механически или электронно, управляться программным обеспечением или управляться человеком.
Что заставляет моторы работать? Узлы ротора и статора.Они обычно называются первичной и вторичной обмотками двигателя. Напряжение подается на сборку статора, первичную обмотку, что приводит к возникновению потока тока к узлу ротора или вторичной обмотке. Взаимодействие этих двух элементов создает магнитное поле, которое приводит в движение. Есть два типа двигателей: двигатели переменного тока, которые обычно двигаются с постоянной скоростью; и двигатели постоянного тока, которые двигаются с переменной скоростью.
Скорость двигателя переменного тока определяется частотой приложенного напряжения числом магнитных полюсов.Внутри двигателя переменного тока находятся узел статора и узел ротора. Если двигатель переменного тока является асинхронным, ротор вращается медленнее, чем поле статоров. Если это синхронный двигатель, ротор и статор движутся синхронно.
В двигателях постоянного тока узел ротора вращается, пытаясь выровняться со сборкой статора, но этому препятствует деталь, известная как коммутатор. В определенный момент коммутатор переключает поле ротора, в то время как сборка статора остается неподвижной.Это дает возможность контролировать скорость и позиционирование.
Существует несколько типов приводов, каждый из которых работает несколько иначе, чем другой.
- Пневматические двигатели имеют пневматический привод с использованием вакуума или сжатого воздуха, который преобразует энергию в линейное или вращательное движение. Давление и расход воздуха определяют как скорость, так и крутящий момент. Они используются в приложениях, в которых точность позиционирования не является требованием.
- Гидравлические двигатели перемещают поршень по трубке с помощью жидкости под давлением.Чем выше давление жидкости, тем выше создаваемый крутящий момент. Гидравлические двигатели обеспечивают линейное, вращательное или колебательное движение, но ускорение ограничено. Гидравлические двигатели обычно неэффективны, могут быть пожароопасными и требуют большего, чем обычно, обслуживания.
- Двигатель сцепления / тормоза работает путем соединения постоянно вращающегося вала с грузом, останавливаясь только тогда, когда нагрузка разъединена. Хотя этот двигатель прост в применении, относительно недорог и отлично подходит для легких нагрузок, его ускорение неконтролируемое, а также неточное.
- Шаговые двигатели (двигатель постоянного тока) являются электромеханическими, преобразующими цифровой импульс во вращательное движение или смещение. Хотя шаговые двигатели не подходят для переменных нагрузок и, как правило, не являются энергоэффективными, они отлично подходят для постоянных нагрузок и точности позиционирования. В электродвигателях переменного тока
- (индукционного типа) используются электрические стартеры для обеспечения соединений, запуска и / или защиты от перегрузки. Хотя чаще считается, что асинхронные двигатели имеют постоянную скорость, внедрение микропроцессорной технологии обеспечивает некоторые возможности регулирования скорости.
- Серводвигатели (двигатель постоянного тока) чрезвычайно эффективны с небольшими недостатками. Сервоприводы обеспечивают контроль скорости и точность положения благодаря своему устройству обратной связи, они имеют небольшие размеры и относительно невысокие цены.
Принцип работы и экспериментальная система ультразвукового двигателя. (a) Тест …
Контекст 1
… и установившееся состояние ультразвукового двигателя бегущей волны (TWUM). Показано, что эффект действует как на стартовое, так и на установившееся состояние.Для проверки модели результаты моделирования сравниваются с результатами, измеренными Кандаре и Валлашеком [10] на двигателе Daimler-Benz AWM90-X с использованием испытательного стенда, описанного на рис. 1 (а), и сравниваются с результатами измерений. Томас Шульте и Норберт Фрёлеке [11] на прототипе …
Контекст 2
… находится в контакте со статором на гребнях бегущей волны и прижимается к статору с нормальной силой. Когда бегущая волна распространяется по статору, точки на поверхности статора совершают эллиптическое движение.Касательное смещение статора на поверхности контакта приводит в движение ротор за счет силы трения (рис. 1 (б)). Принцип работы и испытательный стенд для измерений показаны на рис. …
Контекст 3
… против статора с нормальной силой. Когда бегущая волна распространяется по статору, точки на поверхности статора совершают эллиптическое движение. Касательное смещение статора на поверхности контакта приводит в движение ротор за счет силы трения (рис.1 (б)). Принцип работы и испытательный стенд для измерений показаны на рис. …
Контекст 4
… ротор прижимается силой F N (рис. 1 (б)). Силы трения возникают в контакте ротора / статора и передают тяговое усилие на ротор. FN также выполняет роль фиксации удерживающего момента без подачи на статор электрического …
Контекст 5
… обратной связи, которая вызвана осевым смещением статора и реакцией интерфейса ( ротор / статор).В данной работе предполагается кулоновское трение. Мы учитываем силы обратной связи и деформацию сдвига в результирующей силе трения. Рассмотрены две рабочие зоны: зона движения и зона разрушения, как показано на рис. 1 (b). В контактном слое между статором и ротором по зоне контакта существует нормальное давление [13]. Распределение линейной силы вдоль области контакта между статором и ротором представлено …
Контекст 6
… зона деформации сдвига, зона движения и зона разрушения показаны на рис.1 (б). Модель контакта между ротором и статором, учитывающая деформацию сдвига, показана на рис. …
Двигатели с прямым приводом| Безрамные резольверы
Возможны двигатели с прямым приводом диаметром> 1 м, способные создавать крутящий момент> 10 000 Нм. Многие двигатели с прямым приводом являются «бескаркасными», что означает, что они поставляются без корпуса, подшипников или датчика обратной связи. Это позволяет машиностроителям и системным интеграторам оптимизировать конструкцию корпусов, валов и подшипников для оптимизации общих размеров, формы, веса и динамических характеристик.
Две основные причины, по которым инженер-конструктор выбрал прямой привод, — это динамические характеристики и коэффициент формы. Вместо того, чтобы иметь дело с муфтой, коробкой передач, ремнями или цепями, двигатель с прямым приводом присоединяется непосредственно к нагрузке, поэтому не возникает гистерезиса, люфта или «холостого хода» в любом направлении движения. Не следует недооценивать конструктивное преимущество, обеспечиваемое двигателями, которые довольно плоские с большим отверстием посередине, через которое проходят контактные кольца, трубы и кабели.
Преимущества прямого привода включают:
- Отличные динамические характеристики и точное управление положением и / или скоростью
- Отсутствие люфта или износа
- Высокая надежность благодаря малому количеству деталей и исключению шестерни, шкивы, уплотнения, подшипники и т. д.
- Compact — с малой осевой высотой и возможным большим отверстием
- Низкая пульсация крутящего момента или «зубчатая передача»
- Энергоэффективность за счет устранения потерь в промежуточных механических элементах
- Низкий акустический шум или самоиндуцированная вибрация
- Отсутствие / низкие эксплуатационные расходы
- Низкие требования к охлаждению благодаря выгодной тепловой геометрии
- Относительно большие воздушные зазоры — простая установка и устойчивость к ударам.
Главный недостаток часто более очевиден, чем реальный — двигатели с прямым приводом часто считаются более дорогими, чем традиционные двигатели. Хотя это часто может быть правдой при простом сравнении 1: 1, более целостный взгляд (с учетом устранения промежуточных шестерен, муфт, технического обслуживания, а также сокращения общего механического упрощения) показывает, что механизмы прямого привода, возможно, удивительно , оптимальное решение по стоимости и производительности для многих приложений.
Классические примеры приложений с прямым приводом можно найти в подвесах, таких как антенные системы (например, спутниковая связь на транспортных средствах), камеры наблюдения и видеонаблюдения, сканеры, телескопы, электрооптика, таблицы тарифов и радарные системы. Также используются станки с ЧПУ, упаковочное оборудование, робототехника и даже проигрыватели пластинок высокого класса.
Если отверстие прямого привода достаточно мало (<2 дюймов), существует широкий выбор датчиков с обратной связью по положению, основанных на оптических, магнитных, емкостных и индуктивных технологиях.Для больших отверстий основными опциями являются безрамочные резольверы, кольцевые кодеры и индуктивные кодеры.
Пьезомоторы | Принцип работы | Ресурсы для инженеров
Как это работает
Пьезоэлектрический эффект в пьезокерамике преобразует электрическое поле в механическую деформацию. Благодаря специальному электрическому приводу возбуждения и керамической геометрии двигателей Nanomotion, режимы колебаний продольного вытяжения и поперечного изгиба возбуждаются при близкой частотной близости.Одновременное возбуждение режима продольного растяжения и режима поперечного изгиба создает небольшую эллиптическую траекторию керамической кромки, таким образом, достигается двухрежимный двигатель стоячей волны, запатентованный Nanomotion.
При соединении керамической кромки с прецизионным столиком результирующая движущая сила действует на столик, вызывая перемещение столика. Периодический характер движущей силы на частотах, намного превышающих механический резонанс столика, обеспечивает непрерывное плавное движение для неограниченного хода, сохраняя при этом высокое разрешение и точность позиционирования, типичные для пьезоэлектрических устройств.Ход может быть линейным или поворотным, в зависимости от механизма сцепления.
Сервоуправление с замкнутым контуром может быть обеспечено стандартными серийными сервоконтроллерами или сервоконтроллером Nanomotion, который предлагает полное ПИД-регулирование с частотой сервопривода 20 кГц. Далее двигатели могут работать в режиме срабатывания.
Пока управляющее напряжение не приложено, керамическая пластина неподвижна и создает удерживающий момент на столике. В отличие от любого другого тормозного устройства, удерживающий момент двигателя Nanomotion не вызывает смещения положения.
Двигатели Nanomotion обеспечивают компактные, но точные моторизованные механические системы. Если требуется больше мощности, двигатели Nanomotion специально созданы с учетом каскадирования — по мере увеличения требований к мощности просто добавьте еще один двигатель Nanomotion в свою систему.
Что такое пьезоэлектрический эффект?
Пьезоэлектрический эффект — это способность определенных материалов генерировать электрический заряд в ответ на приложенное механическое напряжение. Слово «пьезоэлектрический» происходит от греческого слова piezein, что означает «сжимать или давить», и «пьезо», что по-гречески означает «толкать».
Одной из уникальных характеристик пьезоэлектрического эффекта является то, что он обратим, что означает, что материалы, демонстрирующие прямой пьезоэлектрический эффект (генерирование электричества при приложении напряжения), также демонстрируют обратный пьезоэлектрический эффект (создание напряжения при приложении электрического поля). ).
Когда пьезоэлектрический материал подвергается механическому воздействию, происходит смещение центров положительного и отрицательного заряда в материале, что затем приводит к возникновению внешнего электрического поля.При изменении направления внешнее электрическое поле либо растягивает, либо сжимает пьезоэлектрический материал.
Пьезоэлектрический эффект очень полезен во многих приложениях, которые включают создание и обнаружение звука, генерацию высокого напряжения, генерацию электронной частоты, микровесы и сверхтонкую фокусировку оптических сборок. Это также основа ряда научных инструментальных методов с атомным разрешением, таких как сканирующие зондовые микроскопы (СТМ, АСМ и т. Д.).Пьезоэлектрический эффект также находит свое применение в более приземленных применениях, например, в качестве источника зажигания для зажигалок.
История пьезоэффекта
Прямой пьезоэлектрический эффект был впервые обнаружен в 1880 году и был инициирован братьями Пьером и Жаком Кюри. Объединив свои знания о пироэлектричестве с пониманием кристаллических структур и поведения, братья Кюри продемонстрировали первый пьезоэлектрический эффект, используя кристаллы турмалина, кварца, топаза, тростникового сахара и соли Рошель.Их первоначальная демонстрация показала, что кварц и соль Рошеля проявляли наибольшую пьезоэлектрическую способность в то время.
В течение следующих нескольких десятилетий пьезоэлектричество оставалось в лаборатории, над чем нужно было экспериментировать, поскольку были предприняты дополнительные работы по исследованию огромного потенциала пьезоэлектрического эффекта. Начало Первой мировой войны ознаменовало появление первого практического применения пьезоэлектрических устройств — гидролокатора. Это первоначальное использование пьезоэлектричества в гидролокаторах вызвало большой международный интерес к пьезоэлектрическим устройствам.В течение следующих нескольких десятилетий были исследованы и разработаны новые пьезоэлектрические материалы и новые применения для этих материалов.
Во время Второй мировой войны исследовательские группы в США, России и Японии открыли новый класс искусственных материалов, названных сегнетоэлектриками, пьезоэлектрические постоянные которых во много раз выше, чем у природных пьезоэлектрических материалов. Хотя кристаллы кварца были первым коммерчески используемым пьезоэлектрическим материалом и до сих пор используются в приложениях для обнаружения сонаров, ученые продолжали искать материалы с более высокими характеристиками.Эти интенсивные исследования привели к разработке титаната бария и титаната цирконата свинца, двух материалов, которые обладали очень специфическими свойствами, подходящими для конкретных применений.
Пьезоэлектрические материалы
Существует множество материалов, как природных, так и искусственных, которые проявляют ряд пьезоэлектрических эффектов. Некоторые природные пьезоэлектрические материалы включают берлинит (структурно идентичный кварцу), тростниковый сахар, кварц, соль Рошеля, топаз, турмалин и кость (сухая кость проявляет некоторые пьезоэлектрические свойства из-за кристаллов апатита, и обычно считается, что пьезоэлектрический эффект действует как датчик биологической силы).Примером искусственных пьезоэлектрических материалов являются титанат бария и титанат цирконата свинца.
В последние годы из-за растущей обеспокоенности окружающей среды токсичностью свинцовых устройств и директивы RoHS, принятой в Европейском Союзе, возникла тенденция к разработке пьезоэлектрических материалов, не содержащих свинец. На сегодняшний день эта инициатива по разработке новых пьезоэлектрических материалов, не содержащих свинец, привела к появлению множества новых пьезоэлектрических материалов, которые более безопасны для окружающей среды.
Пьезоэлектрический эффект, наиболее подходящие области применения
Из-за внутренних характеристик пьезоэлектрических материалов их использование может найти множество применений:
Источники высокого напряжения и энергии
Примером применения в этой области является электрическая прикуриватель, где нажатие кнопки заставляет подпружиненный молоток ударять по пьезоэлектрическому кристаллу, создавая таким образом достаточно высокое напряжение, чтобы электрический ток протекал через небольшой искровой промежуток, нагревая и воспламеняя газ. .Большинство типов газовых горелок и плит имеют встроенные пьезоэлектрические системы впрыска.
Датчики
Принцип действия пьезоэлектрического датчика заключается в том, что физический размер, преобразованный в силу, действует на две противоположные стороны чувствительного элемента. Обнаружение изменений давления в форме звука — наиболее распространенное приложение датчика, которое можно увидеть в пьезоэлектрических микрофонах и пьезоэлектрических датчиках для гитар с электрическим усилителем. В частности, пьезоэлектрические датчики используются с высокочастотным звуком в ультразвуковых преобразователях для медицинской визуализации и промышленного неразрушающего контроля.
Пьезоэлектрические двигатели
Поскольку очень высокие напряжения соответствуют лишь крошечным изменениям ширины кристалла, этой шириной кристалла можно управлять с точностью выше микрометра, что делает пьезокристаллы важным инструментом для позиционирования объектов с чрезвычайной точностью, что делает их идеальными для использования в двигателях. , например, различные серии двигателей, предлагаемые Nanomotion.
Что касается пьезоэлектрических двигателей, пьезоэлектрический элемент получает электрический импульс, а затем прикладывает направленную силу к противоположной керамической пластине, заставляя ее двигаться в желаемом направлении.Движение возникает, когда пьезоэлектрический элемент движется против статической платформы (например, керамических полос).
Характеристики пьезоэлектрических материалов обеспечили совершенную технологию, на основе которой Nanomotion разработала различные линейки уникальных пьезоэлектрических двигателей. Используя запатентованную пьезоэлектрическую технологию, Nanomotion разработала различные серии двигателей, размер которых варьируется от одноэлементного (обеспечивающего усилие 0,4 кг) до восьмиэлементного двигателя (обеспечивающего силу 3,2 кг). Двигатели Nanomotion могут приводить в движение как линейные, так и вращательные ступени, имеют широкий динамический диапазон скоростей от нескольких микрон в секунду до 250 мм / с и могут легко устанавливаться на традиционные ступени с низким коэффициентом трения или другие устройства.Рабочие характеристики двигателей Nanomotion обеспечивают внутреннее торможение и способность устранять дрожание сервопривода в статическом положении.
Что такое гидравлические поворотные приводы?
Гидравлические поворотные приводы используются для тяжелых перемещений с высоким крутящим моментом. Они обладают высокими силовыми характеристиками, высокой удельной мощностью на единицу веса и объема, хорошей механической жесткостью и высокими динамическими характеристиками. Они обеспечивают вес для подъема, поворота, индексации, зажима, смешивания, гибки, тестирования и рулевого управления, среди прочего.
Поворотные приводыкомпактны и эффективны, а также создают высокий мгновенный крутящий момент в любом направлении. Это делает их широко используемыми в системах точного управления и в тяжелых станках, мобильных, морских и аэрокосмических приложениях.
Приводы с поворотными двигателямисоединены непосредственно с вращающейся нагрузкой и обеспечивают хороший контроль ускорения, рабочей скорости, замедления, плавного реверсирования и позиционирования. Они обеспечивают гибкость конструкции и устраняют большую часть объема и веса механических и электрических передач.
Поскольку они полностью закрыты, они выдерживают суровые условия и защищены от пыли, грязи и влаги.
Стили
Наиболее распространенными типами поворотных приводов являются лопастные, реечные или винтовые.
Приводыс лопастями хорошо подходят для приложений, требующих чрезвычайно высокой прочности, высоких скоростей вращения и необходимости постоянного контроля движения без необходимости поддерживать нагрузку в определенном положении.Их компактный размер делает приводы лопастей подходящими для использования в приложениях, требующих позиционирования, гармонического движения и высокоскоростных колебательных движений, и используются в инструментальных станках, робототехнике и для обработки контейнеров.
В приводе с одной лопастью лопасть жестко прикреплена к центральному валу в цилиндрическом корпусе. Корпус разделен на две камеры второй лопаткой или упорным башмаком, закрепленным на его внутреннем диаметре и идущим к выходному валу. Гидравлическая жидкость течет в эти камеры через соединительные отверстия, закрытые для неподвижного башмака.Разница давлений между камерами воздействует на зону движущихся лопастей, создавая крутящий момент непосредственно на выходном валу. Поток в этих камерах и из них вращает лопасть и вал. Геометрия обычно ограничивает вращательное движение однолопастного привода до 280 °.
Двухлопастные приводы создают в два раза больший крутящий момент и менее половины вращения по сравнению с однолопастными приводами. Две лопасти и барьеры обеспечивают баланс, который противодействует тенденциям несбалансированных нагрузок.
Механический КПД составляет от 80 до 95%, а лопаточные приводы передают крутящий момент почти до 700 000 фунт-дюймов.
Приводы с реечной передачей идеально подходят для самых высоких требований к крутящему моменту. Они допускают большой поворот в ограниченном пространстве здания в осевом направлении. Привод с реечной передачей требует значительно больших размеров по сравнению с пластинчато-роторным двигателем для передачи двух крутящих моментов равного размера.
Приводы с реечной передачейособенно полезны для тяжелых условий эксплуатации, поскольку они выдерживают большие боковые и торцевые нагрузки и могут работать с крупными подшипниками. Благодаря постоянному выходному крутящему моменту и устойчивости к дрейфу они часто используются для точного управления.
Приводы с реечной передачейимеют низкую ударопрочность, нулевую внутреннюю утечку, а также имеют закрытые движущиеся части.
Винтовые приводы преобразуют линейное вращение поршня во вращательное движение с помощью нескольких косозубых шестерен. Вращательное движение больше, чем длиннее линейное движение поршня. Винтовые приводы нашли применение для позиционирования стрелы, вращения головки и управления колесами сельскохозяйственных харвестеров, например, а также для позиционирования подъема и рулевого управления в строительстве, энергетике, судостроении, транспортировке материалов, военной, горнодобывающей промышленности и арматуре операции.
Одинаковый крутящий момент создается как при вращении по часовой стрелке, так и против часовой стрелки. Средний КПД винтовых приводов обычно составляет 70%. Поскольку угол поворота определяется длиной привода, теоретически возможно любое вращение. Многие приводы в стандартной комплектации имеют поворот на 90 °, 180 ° и 360 °.
Другие типы гидравлических поворотных приводов включают закрытые поршневые, кулисные и баллонные конструкции. Закрытые поршнево-кривошипные конструкции имеют регулируемый ход для переменного вращения вала до 110 °.Шток, соединенный с кривошипом, приводит в движение вращающийся вал. В приводах с кулисой два поршня соединены общим штоком. В начале и в конце хода выходной крутящий момент вдвое превышает значение, создаваемое в средней точке хода. Приводы этого типа подходят для приложений, требующих высокого крутящего момента для перемещения нагрузки. В конструкции баллонов пара резиновых баллонов поочередно нагнетается и нагнетается для создания движущей силы. Под давлением баллон прижимается к чашеобразному рычагу, который вращает выходной вал.Отсутствие внутренних утечек делает этот привод очень точным и устойчивым к загрязнениям.
Серводвигатель: описание типов и принципа работы.
Серводвигатель чаще всего используется для высокотехнологичных устройств в промышленных приложениях, таких как автоматизация. Это автономное электрическое устройство, которое вращает части машины с высокой эффективностью и точностью. Кроме того, выходной вал этого двигателя можно поворачивать на определенный угол. Серводвигатели в основном используются в бытовой электронике, игрушках, автомобилях, самолетах и многих других устройствах.
Таким образом, в этом блоге обсуждаются определение, типы, механизм, принцип, работа, управление и, наконец, приложения сервомашины.
Определение:
Серводвигатель — это поворотный привод или двигатель, обеспечивающий точное управление угловым положением, ускорением и скоростью. В основном у него есть определенные возможности, которых нет у обычного мотора. Следовательно, он использует обычный двигатель и соединяет его с датчиком обратной связи по положению.
Типы серводвигателей:
Серводвигателимогут быть разных типов в зависимости от их применения. Наиболее важными среди них являются: серводвигатель переменного тока, серводвигатель постоянного тока, бесщеточный серводвигатель постоянного тока, серводвигатель позиционного вращения, серводвигатель непрерывного вращения и линейный серводвигатель.
Типичный серводвигатель состоит из трех проводов, а именно: питания, управления и заземления. Форма и размер этих двигателей зависят от их применения.
1. Серводвигатель постоянного тока:
Основной принцип работы двигателя постоянного тока такой же, как и у других электромагнитных двигателей.Конструкция, конструкция и режимы работы разные. Роторы этого типа двигателей имеют большую длину ротора и меньший диаметр. Их размер больше, чем у обычных двигателей той же номинальной мощности.
Серводвигатель постоянного токаСуществуют различные типы серводвигателей постоянного тока:
1. Серия двигателей:
Двигатели этой серии обладают высоким пусковым моментом и потребляют большой ток. У такого двигателя плохая регулировка скорости.
2.Мотор серии Split:
Это двигатели с разделенным полем с долей киловатт. Мотор серии Split имеет типичную кривую крутящий момент-скорость. Эта кривая обозначает высокий крутящий момент при остановке и быстрое снижение крутящего момента на высокой скорости.
3. Двигатель параллельного управления:
Имеет две отдельные обмотки:
1. обмотка возбуждения — на статоре.
2. обмотка якоря — на роторе станка.
Обе обмотки подключены к источнику постоянного тока.
4. Шунтирующий двигатель с постоянными магнитами:
Это двигатель с постоянным возбуждением, в котором поле фактически создается постоянным магнитом. Кроме того, характеристики аналогичны двигателю с фиксированным полем, управляемым якорем.
2. Серводвигатель переменного тока:
Серводвигатели переменного тока— это двигатели переменного тока, в которых встроенные энкодеры используются с контроллерами для обеспечения обратной связи и управления с обратной связью. Следовательно, эти двигатели можно позиционировать с высокой точностью. Таким образом, ими можно управлять точно в соответствии с требованиями приложения.
Серводвигатели переменного тока классифицируются на два типа. Это двухфазный и трехфазный серводвигатель переменного тока. Сейчас большинство серводвигателей переменного тока представляют собой двухфазные асинхронные двигатели с короткозамкнутым ротором. Они используются для приложений с низким энергопотреблением. Кроме того, трехфазный асинхронный двигатель с короткозамкнутым ротором теперь используется в приложениях, где используются системы большой мощности.
Серводвигатель переменного тока3. Бесщеточный серводвигатель постоянного тока:
ДвигателиBLDC также широко известны как двигатели с электронной коммутацией или синхронные двигатели, работающие от электричества постоянного тока через инвертор или импульсный источник питания.Следовательно, это обеспечивает электрический ток переменного тока для управления каждой фазой двигателя через контроллер с обратной связью. Контроллер подает импульсы тока на обмотки двигателя, которые регулируют скорость и крутящий момент двигателя.
Конструкция системы бесщеточного двигателя обычно аналогична синхронному двигателю с постоянными магнитами. Наконец, преимущества бесщеточного двигателя перед щеточными двигателями — это высокое отношение мощности к весу, высокая скорость и электронное управление. Бесщеточные двигатели находят применение в таких местах, как компьютерная периферия (дисководы, принтеры), ручные электроинструменты и транспортные средства, начиная от моделей самолетов и заканчивая автомобилями.
4. Серводвигатель позиционного вращения:
Серводвигатель позиционного вращения — самый важный серводвигатель. Следовательно, это также самый распространенный тип серводвигателя. Выходной вал вращается примерно на 180 градусов. Кроме того, он включает в себя физические упоры, расположенные в зубчатом механизме, для остановки вращения вне этих пределов для защиты датчика вращения. Эти общие сервоприводы используются в радиоуправляемой воде, автомобилях с регулируемым соотношением, самолетах, роботах, игрушках и многих других приложениях.
5. Серводвигатель постоянного вращения:
Серводвигатель непрерывного вращения относится к обычному серводвигателю позиционного вращения, но он может вращаться в любом направлении бесконечно. Управляющий сигнал, а не установка статического положения сервопривода, понимается как скорость и направление вращения. Диапазон потенциальных команд заставляет сервопривод вращаться по часовой стрелке или против часовой стрелки, в зависимости от предпочтения, при изменении командного сигнала. Таким образом, этот тип двигателя используется в радарной тарелке, если вы едете, один на роботе или вы можете использовать его в качестве приводного двигателя на мобильном роботе.
Серводвигатель непрерывного вращения6. Линейный серводвигатель:
Линейный серводвигатель также похож на описанный выше серводвигатель позиционного вращения, но с дополнительными зубчатыми колесами для изменения выходной мощности с круговой на прямую и обратную. Хотя эти серводвигатели вряд ли можно найти, но иногда их можно найти в хобби-магазинах, где они используются в качестве приводов в самолетах более высоких моделей.
линейный серводвигательПринцип работы:
Серводвигательработает по принципу ШИМ (широтно-импульсной модуляции), что означает, что его угол поворота контролируется длительностью импульса, подаваемого на его управляющий PIN.В основном серводвигатель состоит из двигателя постоянного тока, который управляется переменным резистором (потенциометром) и некоторыми шестернями.
Механизм серводвигателя:
В основном серводвигатель — это сервомеханизм с обратной связью, который использует обратную связь по положению для управления своим движением и конечным положением. Более того, входом для его управления является сигнал (аналоговый или цифровой), представляющий заданное положение для выходного вала.
Двигатель оснащен энкодером определенного типа для обеспечения обратной связи по положению и скорости.В простейшем случае мы измеряем только позицию. Затем измеренное положение выхода сравнивается с командным положением внешнего входа контроллера. Теперь, если выходное положение отличается от ожидаемого выходного положения, генерируется сигнал ошибки. Это затем заставляет двигатель вращаться в любом направлении, если необходимо привести выходной вал в соответствующее положение. По мере приближения позиции сигнал ошибки уменьшается до нуля. Наконец мотор останавливается.
Очень простые серводвигатели могут позиционироваться только с помощью потенциометра и управления двигателем.Далее мотор всегда вращается на полной скорости. Хотя этот тип серводвигателя не находит широкого применения в промышленном управлении движением, он составляет основу простых и дешевых сервоприводов, используемых в моделях радиоуправления.
Серводвигателитакже находят применение в оптических датчиках вращения для измерения скорости выходного вала и в приводе с регулируемой скоростью для управления скоростью двигателя. Теперь это, в сочетании с алгоритмом ПИД-управления, позволяет сервомотору быстрее и точнее находиться в командном положении с меньшими отклонениями.
Работа серводвигателей:
Серводвигатели очень точно контролируют положение и скорость. Теперь потенциометр может определять механическое положение вала. Следовательно, он соединяется с валом двигателя через шестерни. Текущее положение вала преобразуется в электрический сигнал потенциометром и сравнивается с командным входным сигналом. В современных серводвигателях электронные энкодеры или датчики определяют положение вала.
Мы подаем команду в соответствии с положением вала.Если сигнал обратной связи отличается от заданного входа, пользователя предупреждает сигнал ошибки. Мы усиливаем этот сигнал ошибки и применяем его как входной сигнал для двигателя, следовательно, двигатель вращается. И когда вал достигает требуемого положения, сигнал ошибки становится нулевым, и, следовательно, двигатель остается в неподвижном состоянии, удерживая положение.
Командный ввод осуществляется в виде электрических импульсов. Поскольку фактический вход в двигатель — это разница между сигналом обратной связи (текущее положение) и требуемым сигналом, следовательно, скорость двигателя пропорциональна разнице между текущим положением и требуемым положением.Мощность, потребляемая двигателем, пропорциональна расстоянию, которое ему необходимо преодолеть.
Управление серводвигателями:
Обычно серводвигатель вращается на 90 градусов в любом направлении, поэтому максимальное перемещение может составлять 180 градусов. Однако нормальный серводвигатель не может вращаться дальше до механического упора.
Берем три провода сервопривода: плюсовой, заземляющий и контрольный. Сервомотор управляется путем отправки сигнала с широтно-импульсной модуляцией (ШИМ) через провод управления.Импульс отправляется каждые 20 миллисекунд. Ширина импульсов определяет положение вала.
например,
Импульс длительностью 1 мс перемещает вал против часовой стрелки на -90 градусов, импульс 1,5 мс перемещает вал в нейтральное положение, равное 0 градусам, а импульс длительностью 2 мс перемещает вал по часовой стрелке на +90 градусов.
Серводвигатель с регулируемой шириной импульсаКогда мы приказываем серводвигателю двигаться, подавая импульс соответствующей ширины, вал перемещается в требуемое положение и удерживает его.Однако мотор сопротивляется изменениям. Чтобы двигатель удерживал свое положение, импульсы должны повторяться.
Приложения:
1. Робототехника: к каждому стыку робота мы подключаем серводвигатель. Таким образом, робот-манипулятор получает точный угол.
2. Конвейерные ленты: серводвигатели перемещают, останавливают и запускают конвейерные ленты, транспортирующие продукт на различных этапах, например, при упаковке / розливе продукта и маркировке.
3. Автофокус камеры: высокоточный серводвигатель, встроенный в камеру, корректирует объектив камеры для повышения резкости не в фокусе изображений.
4. Солнечная система слежения: серводвигатели регулируют угол наклона солнечных панелей в течение дня, и, следовательно, каждая панель продолжает смотреть на солнце, что приводит к использованию максимальной энергии от восхода до заката.
вот несколько ссылок на связанные темы:
наконец, мы надеемся, что эта статья была вам полезна. Пожалуйста, дайте нам знать в разделе комментариев ниже.
Спасибо за подписку! Пожалуйста, проверьте свою электронную почту для получения дальнейших инструкций.
СвязанныеКомментарии
комментария
Пластинчато-роторный вакуумный насос — Принципы работы
Пластинчато-роторный вакуумный насос со смазкой
Стандартный пластинчато-роторный насос со смазкой представляет собой одноступенчатый насос со встроенной системой циркуляции масла с обратной связью.Конструкция мощная и компактная. Типичный срок службы лопатки составляет 50 000 часов.
Ротор насоса установлен эксцентрично в цилиндре насоса. Когда ротор насоса вращается, всасываемый воздух попадает между сегментами ротора и лопастей (см. № 1 на схеме ниже). Это создает увеличивающийся объем ячейки на стороне впускного порта, создавая вакуум.
Поскольку ротор расположен эксцентрично по отношению к насосной камере, объем между ротором, лопатками и корпусом уменьшается и увеличивается вращение ротора.При продолжении вращения воздух сжимается и выпускается в выхлопную коробку. См. № 3 на схеме ниже.
Затем воздух проходит через несколько ступеней внутренних маслоуловителей и туманоуловителей, чтобы удалить 99,9% смазочного масла из выхлопных газов. Затем масло возвращается в масляный резервуар.
Особенности вакуумных пластинчато-роторных насосов DEKKER:
- автомобильный навинчиваемый масляный фильтр (для больших размеров)
- встроенный впускной клапан, препятствующий всасыванию, который предотвращает обратное вращение насоса при остановке с разрежением, остающимся в процессе, и предотвращает заливание корпуса ротора маслом
- Клапан газобалластный встроенный
Принцип газового балласта
При данной температуре пар можно сжимать только до давления насыщенного пара; за пределами этой точки пар конденсируется.Например, при 100 ° C пар может быть сжат только до 1013,2 мбар; пар будет конденсироваться при более высоком давлении.
В емкости с водой (комнатной температуры) насос начнет понижать давление до точки испарения воды (если температура воды на уровне моря 25 ° C, давление испарения будет 31,67 мбар абс.). На первом этапе рисунка выше насос начнет всасывать смесь воздуха и водяного пара.
Во время фазы 2 всасывающий объем изолирован от исходного контейнера и выхлопной трубы.На этом этапе открывается клапан газового балласта и добавляется определенное количество воздуха для изменения давления насыщения смеси.
Наконец, на последней стадии смесь (обогащенная свежим воздухом) удаляется, но, поскольку давление насыщения было изменено, капли конденсации не образуются, и всасываемый пар может быть удален из насоса, не мешая его работе.
Таким образом, два фактора имеют решающее значение: температура всасываемого пара и температура насоса.Перед началом работы с конденсируемыми газами насос необходимо нагреть, а температура всасываемого пара должна быть как можно ниже.
Пластинчато-роторный вакуумный насос для влажных условий
Принцип работы пластинчато-роторного вакуумного насоса для влажных применений такой же, как и у пластинчато-роторного вакуумного насоса со смазкой. Отличия включают:
- Сепаратор для насоса для влажных применений включает перегородку, которая помогает воде оседать из масла.
- Большое смотровое стекло дает видимую индикацию наличия воды в масле.
- Воду можно слить из нижнего сливного клапана после остановки насоса.
Безмасляная поворотная лопасть
Принцип работы безмасляного пластинчато-роторного вакуумного насоса очень похож на принцип работы пластинчато-роторного вакуумного насоса со смазкой.
Основные отличия:
- Вакуумный насос не смазывается маслом, поэтому нет масляного резервуара или туманоуловителя.Графитовые лопатки работают в безмасляной среде.
- Типичный срок службы лопатки составляет 10 000 часов.


В добавок к этому ещё и большая температура приводит к быстрому износу двигателя, особенно если вовремя не поменять масло, а менять как я уже говорил, его надо чаще. Если же вовремя менять масло, уплотнители и делать капремонт, то ресурс РПД будет достаточно большим. А у некоторых двигателях японской фирмы Мазда, проработать РПД без поломок может около трёхсот тысяч км.
Пик сжатия (наибольшего давления смеси) достигается в районе свечей зажигания.
Именно поэтому выдвигаются повышенные требованию к качеству масла и периодичности его смены;