Рабочий цилиндр сцепления на ВАЗ 2107 – отличия в диагностике поломок от ВАЗ 2101 и 2106 + Видео » АвтоНоватор
Переключение передач в трансмиссии автомобиля происходит за счет работы сцепления. Механизм сцепления состоит из нескольких элементов, которые во время эксплуатации изнашиваются. Для своевременной диагностики поломок вам полезно будет знать их устройство.
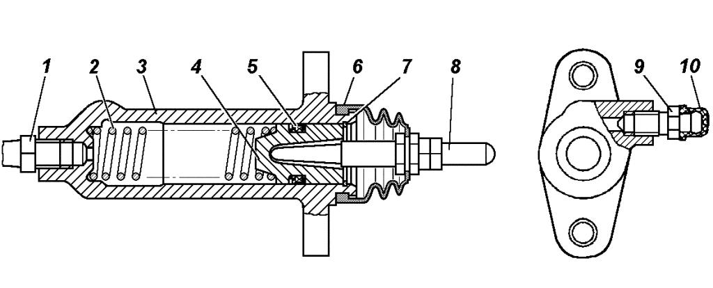
Устройство рабочего цилиндра в ВАЗ
В классических моделях ВАЗ 2106, 2101, 2107 сцепление состоит из двух цилиндров – главного и рабочего. По сути, они выполняют одинаковую работу. Рабочий цилиндр сцепления в автомобиле ВАЗ 2106, 2101, 2107 находится возле коробки передач автомобиля – в этих моделях никаких существенных различий в строении детали нет. Он закреплен на корпусе коробки при помощи нескольких болтов. Расположение детали в этих моделях ВАЗ устроено таким образом, что увидеть ее можно только снизу автомобиля.
Во время нажатия педали сцепления внутри главного цилиндра происходит смещение поршня, под воздействием которого выталкивается тормозная жидкость.
После этого тормозная жидкость проходит по всему цилиндру и под воздействием создаваемого давления оказывает работу на этот же поршень, который в свою очередь давит на вилку в цилиндре. Оба цилиндра сцепления автомобиля находятся в зависимости от наличия тормозной жидкости.
Поэтому очень важно проверять наличие этой жидкости в бачке, который расположен под капотом автомобиля, и не допускать ее снижения до критической отметки.
Очень часто случается, что жидкость подтекает. Происходит это из-за износа деталей или вследствие использования тормозной жидкости, которая не предназначена для автомобилей ВАЗ. Для моделей ВАЗ 2106, 2101, 2107 используется марка DOT–3. Применение другого типа плохо влияет не только на рабочий цилиндр сцепления, но и на главный.
Следим за тормозной жидкостью
Одним из основных признаков выхода из строя рабочего цилиндра сцепления в автомобилях ВАЗ 2106, 2101, 2107 является частичный или полный провал педали в салоне автомобиля при нажатии.
Это свидетельствует об отсутствии герметичности в системе – постепенно количество тормозной жидкости уменьшается, и чем сильнее и чаще вы давите на педаль, тем больше жидкости уйдет за один раз.
Из-за этого сцепление перестает работать, и переключить передачу будет сложно или вообще невозможно. Если не следить за уровнем тормозной жидкости в бачке, не устранять вовремя протечки, тогда могут возникнуть последствия – из строя выйдет корзина и выжимной подшипник сцепления, не говоря уже о создании аварийных ситуаций.
Для устранения причины поломки или полной замены рабочего цилиндра, в зависимости от характера поломки, вам нужен будет новый рабочий цилиндр, тормозная жидкость и стандартный набор инструментов. Замену рабочего цилиндра в автомобиле ВАЗ 2106, 2101, 2107 лучше всего производить из смотровой ямы или на подъемнике. Перед тем, как приступать к выполнению работы, необходимо слить тормозную жидкость, которая есть в системе сцепления. Имея под рукой весь необходимый инструмент, процедуру снятия цилиндра выполнить очень легко.
Первым делом нужно вытянуть фиксатор толкателя, после этого снять оттягивающую пружину. Далее медленно откручивайте гайку на шланге с жидкостью, предварительно подставив емкость для ее сбора. После приступайте к откручиванию болтов крепления цилиндра, предварительно вытянув толкатель с вилкой сцепления. Отведите вилку с толкателем таким образом, чтобы она вам не препятствовала. Между рабочим цилиндром и резиновым шлангом располагается резиновая прокладка с уплотнительной шайбой. Очень важно её не потерять, потому что в ремкомплекте она не идет.
Замените рабочий цилиндр сцепления и приступайте к сборке в обратном порядке. Если необходимо, то на штуцере цилиндра вы можете произвести регулировку глубины нажатия педали. После выполнения всех работ залейте тормозную жидкость в бачок для сцепления. Заливка поможет полностью промыть всю систему гидропровода сцепления автомобиля ВАЗ. Прокачка выполняется для того, чтобы очистить вашу систему от воздуха, который находится в тормозной жидкости.
Выполняем прокачку правильно
Прокачку сцепления необходимо делать сразу после замены рабочего цилиндра, а также при низком уровне тормозной жидкости в бачке. Осуществляется работа по прокачке в автомобилях ВАЗ 2106, 2101, 2107 через штуцер, который расположен на рабочем цилиндре.
Для начала залейте полный бачок тормозной жидкости. Найдите для этой работы напарника, который будет нажимать на педаль сцепления в салоне автомобиля. Возьмите шланг и наденьте его на штуцер рабочего цилиндра, после этого скажите напарнику, чтобы он несколько раз выжал педаль сцепления. После этого пусть нажмет педаль до упора и не отпускает, вы в это время должны немного ослабить гайку на штуцере, чтобы спустить немного жидкости и воздуха.
Мнение эксперта
Руслан Константинов
Эксперт по автомобильной тематике. Окончил ИжГТУ имени М.
Т. Калашникова по специальности «Эксплуатация транспортно-технологических машин и комплексов». Опыт профессионального ремонта автомобилей более 10 лет.
После ремонта привода сцепления или замены отдельных элементов рекомендуется не только прокачать систему, но и отрегулировать. Для работы понадобится штангенциркуль, набор гаечных ключей и плоскогубцы. В зависимости от того инжекторный двигатель или нет порядок действий может отличаться. В первом случае потребуется отрегулировать свободный ход педали сцепления, во втором ход штока поршня в рабочем цилиндре. Как произвести настройку, подробно описано в соответствующих статьях с пошаговой инструкцией.
- Автор: Михаил
- Распечатать
Оцените статью:
(5 голосов, среднее: 3 из 5)
Поделитесь с друзьями!
Adblock
detector
назначение, устройство, принцип работы и неисправности
Сцепление является важным элементом в устройстве автомобиля, позволяя «соединить» двигатель и коробку передач, а также реализовать возможность комфортного изменения ступеней, исключить ударные нагрузки и т.
д.
Схема устройства сцепления на разных авто может отличаться, при этом на современных ТС зачастую используется гидравлическое сцепление. Среди основных составных элементов гидравлической системы сцепления следует выделить ГЦС (главный цилиндр сцепления).
Задачей такого цилиндра (иногда называется выжимной цилиндр сцепления) является эффективная передача усилия от педали сцепления на вилку выключения сцепления. Указанная вилка осуществляет прижим выжимного подшипника, что позволяет данному механизму работать благодаря взаимодействию с лепестками корзины сцепления.
Содержание статьи
- Устройство и принцип работы ГЦС
- Неисправности и ремонт главного цилиндра сцепления
- Причины и признаки неисправности ГЦС
- Советы и рекомендации
Устройство и принцип работы ГЦС
Начнем с того, что гидравлическое сцепление состоит из пары цилиндров (главный и рабочий цилиндр сцепления), которые позволяют работать гидроприводу сцепления.
Что касается главного цилиндра, конструкция ГЦС и его принцип работы заключается в следующем:
- усилие от педали сцепления через толкатель передается на шток. Далее поршень выдвигается, в результате происходит перекрытие клапана, в результате чего жидкость из той части цилиндра, где она сжимается, получает возможность вытекать в отдельный бачок;
- сжатая в цилиндре жидкость проталкивается через штуцер, после чего происходит ее попадание в гидравлическую магистраль, по которой производится подача к рабочему цилиндру;
- рабочий цилиндр воздействует на вилку, передавая на нее усилие. После того, как водитель отпускает педаль сцепления, поршень цилиндра возвращается обратно при помощи пружины.
Как видно, гидропривод сцепления работает аналогично другим системам (например, гидравлической системе тормозов), в основе которых лежит жидкость, которая под давлением почти не сжимается, однако происходит эффективная и быстрая передача усилия на исполнительные устройства.
Обратите внимание, при выборе новой детали нужно обязательно учитывать отдельные технические характеристики, способ крепления, подключения, наличие бачка в комплекте, материал изготовления корпуса, размеры, длину штока, диаметр штуцера и т.д.
Другими словами, при выборе главного цилиндра на тот или иной автомобиль, нужно учесть ряд параметров и особенностей. Также рекомендуется отдельное внимание уделять материалу изготовления. Дело в том, что цилиндры бывают как стальными, алюминиевыми или чугунными, так и пластиковыми (изготовлены из полимеров).
Изделия из чугуна и алюминия достаточно распространены, являются «средним» вариантом по качеству, пластиковые корпуса самые доступные по цене, однако не всегда отличаются надежностью и длительным сроком службы. Что касается стали, такие цилиндры самые надежные, однако имеют высокую стоимость по причине сложности изготовления.
Неисправности и ремонт главного цилиндра сцепления
Если говорить о ГЦС, как и любое другое устройство, данный элемент также может выйти из строя.
Хотя главный цилиндр сцепления отличается простотой конструкции и надежностью, со временем появляется износ отдельных элементов по причине постоянных нагрузок, особенно если машина эксплуатируется в городе.
Как правило, первыми из строя выходят уплотнители и детали из резины. Если просто, под такими уплотнительными элементами следует понимать пыльники, которые надеты на шток для защиты цилиндра от грязи и мелкого абразива, а также уплотнительные манжеты, которые не позволяют вытекать рабочей жидкости.
Еще одним элементом, который может стать причиной проблем с ГЦС, является пружина в цилиндре. Пружина главного цилиндра сцепления постоянно испытывает нагрузки в процессе эксплуатации автомобиля, также на нее воздействует тормозная жидкость, которая выполняет в данном случае функцию рабочей. Когда металл становится более хрупким, пружина может попросту лопнуть.
Так или иначе, в случае неполадок цилиндр нужно менять. При этом в ряде случаев также удается обойтись ремонтом ГЦС, а не его заменой.
С учетом относительно высокой стоимости детали для многих авто, данный способ является оптимальным. Для этих целей нужно приобрести ремкомплект цилиндра сцепления, который включает в себя необходимые запасные элементы.
Такой подход обычно позволяет перебрать устройство и полностью восстановить его работоспособность. Главное, чтобы ремкомплект был качественным, а сам ремонт главного цилиндра сцепления выполнялся опытными специалистами.
Причины и признаки неисправности ГЦС
Как уже было сказано выше, со временем износ отдельных элементов цилиндра неизбежен. Также к преждевременному выходу детали из строя может привести несвоевременная замена тормозной жидкости, разрывы уплотнителей, ошибки при сборке/установке отдельных запчастей из ремкомплекта и т.д.
Как правило, самой серьезной поломкой можно считать такую, когда зеркало самого цилиндра сильно изношено, появились задиры, потертости и другие дефекты на поверхности металла, видны очаги коррозии. В такой ситуации обычной переборкой с использованием ремкомплекта часто обойтись не удается.
Выходом становится только полная замена главного цилиндра сцепления.
Дело в том, что одним из свойств тормозной жидкости является высокая проникающая способность. Это значит, что жидкость просачивается даже по мельчайшим царапинам на зеркале цилиндра и/или поршне. Замена только резиновых уплотнителей в этом случае не помогает.
Рекомендуем также прочитать статью о том, есть ли сцепление в коробке автомат. Из этой статьи вы узнаете, какие устройства и механизмы в АКПП выполняют функцию сцепления, а также как работает сцепление в автоматической коробке.
Зачастую качественный ремкомплект ГЦС обычно имеет как манжеты, так и новый поршень. Однако если царапины имеются на зеркале цилиндра, в этом случае нужна замена всей детали. По этой причине важно не допускать критического износа, обращая внимание на малейшие признаки неисправности ГЦС. Как только в цилиндре возникают неполадки, жидкость из системы может вытекать, понижается ее уровень.
Также педаль сцепления может работать хуже, при езде водитель замечает, что процесс переключения передач нарушен в результате сбоев в работе сцепления.
При проблемах с цилиндром педаль сцепления может падать в нижнее положение (проваливаться, залипать), ход педали становится тугим и т.д.
В таком случае нужно безотлагательно провести визуальный осмотр. Прежде всего, следует провести проверку уровня и состояния тормозной жидкости. Также нужно осматривать сам цилиндр. Если на цилиндре заметны явные потеки или уплотнители (манжеты) влажные, тогда очевидно нарушение герметичности.
Еще отметим, что частой проблемой главного цилиндра сцепления является активное засорение отверстий в крышке бачка. Чтобы устройство нормально работало, предполагается, что уровень жидкости в бачке цилиндра постоянно повышается и затем происходит его понижение.
Для того чтобы уровень нормально повышался и понижался, в крышке бачка есть специальные вентиляционные отверстия. В случаях, когда отверстия забиты грязью, весь гидропривод работает со сбоями, педаль сцепления ходит туго, происходит медленный возврат педали сцепления в исходное положение и т.
д.
Советы и рекомендации
Начнем с того, что в гидроприводе сцепления рабочей является тормозная жидкость (ТЖ). Указанная жидкость хорошо подходит для выполнения возложенных на нее функций, отличается низкой ценой и доступностью, а также простотой замены.
При этом для нормальной работы не только тормозов, но и сцепления, важно, чтобы уровень ТЖ всегда был в норме. Определяется уровень по бачку на главном цилиндре сцепления. В случае понижения жидкость нужно долить, причем использовать только ту, которая рекомендуется для данного авто (например, DOT4, DOT5).
Нужно учитывать, что такая жидкость является сильным ядом для живых организмов, агрессивна к пластиковым и резиновым изделиям, ЛКП и т.п. Не трудно догадаться, что уплотнители из резины быстро приходят в негодность от контакта с тормозной жидкостью (происходит усыхание, растрескивание).
Также тормозная жидкость имеет свойство со временем накапливать в себе влагу (является гигроскопичной). Это приводит как к ухудшению ее свойств, так и к развитию коррозии деталей, с которыми она контактирует.
Еще в отдельных случаях при разборке и дефектовке специалисты находят песок в приводе сцепления. Если просто, в тормозной жидкости появляется характерный осадок, который похож на мелкие частицы песка. На самом деле это не песок, а продукты, которые образуются в результате воздействия электричества на тормозную жидкостью.
Дело в том, что ТЖ не отличаются устойчивостью к воздействию электричества. На практике, даже низкое напряжение приводит к выпадению осадка, происходит активная кристаллизация составных элементов жидкости.
Обратите внимание, если ГЦС выполнен из металла (например, имеет корпус из чугуна), а поршень цилиндр сделан из алюминия, в результате контакта с тормозной жидкостью создается небольшой электрический потенциал.
Рекомендуем также прочитать статью о том, нужно или не нужно выжимать сцепление при запуске двигателя.
Из этой статьи вы узнаете, в каких случаях рекомендуется выжим сцепления перед запуском ДВС, а также когда и почему сцепление выжимать не следует.
Это приводит к образованию осадка. Чтобы избежать кристаллизации ТЖ, нужно выбирать на замену ГЦС с поршнем из полимеров. Такой поршень отличается тем, что не взаимодействует с металлом корпуса, оказывает меньшее воздействие на зеркало цилиндра. Также можно обратить внимание на поршень из латуни, однако, стоимость детали очень высокая на фоне аналогов.
С учетом вышесказанного становится понятно, что своевременная замена тормозной жидкости позволяет значительно увеличить срок службы деталей тормозной системы и системы гидропривода сцепления. Важно понимать, что в ТЖ активно накапливается влага, антикоррозийные добавки срабатываются, скапливается осадок, повышается степень агрессивности к резиновым деталям и т.д.
По этой причине выполнять замену тормозной жидкости оптимально 1 раз в год или каждые 20-25 тыс. км. пробега. Такой подход позволяет продлить срок службы тормозных цилиндров и цилиндров сцепления.
Напоследок отметим, что доливать тормозную жидкость нужно так, чтобы в бачок не попадала пыль, грязь и мусор. В противном случае мелкие частички могут работать подобно абразиву, быстро повреждая гладкие и чувствительные внутренние поверхности деталей тормозной системы и гидропривода сцепления.
Устройство и замена главного цилиндра сцепления ВАЗ 2107
Содержание
- Устройство главного цилиндра сцепления
- Принцип работы главного цилиндра сцепления
- Неисправности
- Замена своими руками
- Ремонт
- Советы и рекомендации
- Заключение
Замена главного цилиндра сцепления ВАЗ 2107 – процедура устранения дефектов в одном из элементов сцепления классических заднеприводных моделей от АвтоВАЗа. Этот процесс напрямую влияет на безопасность вождения, так как от исправности детали зависит корректность работы всего сцепления.
Устройство главного цилиндра сцепления
По своему назначению данная деталь выполняет функцию передачи давления от педали в систему распределения сцепления, а затем и тормозной жидкости в рабочий цилиндр. Тем самым достигается рабочее давление в системе, что в свою очередь позволяет переключать передачи. Данный функционал предполагает бесперебойную и постоянную работу всех элементов, так как конструкция устройства достаточно проста.
По своей надежности, при условии эксплуатации автомобиля в нормальных условиях, считается довольно неплохой. Однако со временем при наличии больших пробегов в системе могут возникнуть неисправности, которые приводят к поломкам. Неисправности ведут к отказу сцепления, что может создать аварийную ситуацию на дороге. За время производства заднеприводных моделей конструкция данной детали оставалась практически неизменной
Однако узел подлежит не только ремонтным работам, его достаточно легко заменить собственноручно. При этом устройство детали также считается простым, в сравнении с современными иностранными аналогами:
- Поршень – один из главных элементов во всей системе.
Именно посредством давления на поршень рабочая жидкость попадает в систему и выполняет свою функцию. Расположен, как и все элементы, в корпусе устройства. - Шток – металлическая часть, которая соединяется одной стороной с системой педали сцепления, второй частью при выжимании этой педали надавливает на поршень, образуя избыточное давление в системе.
- Уплотнительное кольцо и прокладки служат для герметизации системы, недопущения выхода жидкости за пределы корпуса. Данные элементы зачастую выходят из строя первыми в силу естественного износа, а также в результате механических повреждений при нарушении стандартного давления в системе.
- Перепускное отверстие также служит для герметизации системы во время отключенного сцепления. После нажатия педали в нем создается давление, оно открывается и происходит нажим штока на поршень
- Металлический корпус, вид которого остается неизменным на всех классических моделях. Внутри него находятся все механические части агрегата.

Все эти элементы в сочетании образуют единый агрегат. Завод-изготовитель не устанавливает определенный ресурс для детали, так как во многом надежность определяет не только качество сборки, но и иные компоненты системы, с которыми цилиндр взаимодействует, а также условия эксплуатации автомобиля.
При правильном использовании машины в нормальных температурных условиях, без высоких нагрузок на системы агрегат вполне способен отходить и более 200 тысяч километров. Однако, учитывая большой возраст моделей, так как выпуск последней классики прекратился в 2011 году, средние пробеги давно перевалили за 200 тысяч километров. Соответственно, у большинства машин вполне могут возникнуть проблемы в силу естественного износа элементов.
Принцип работы главного цилиндра сцепления
Принцип работы данного агрегата заключается в увеличении и нагнетании гидравлического давления в системе сцепления после нажатия педали в салоне. После данного нажатия шток, который одним концом прикреплен к педали сцепления, а другим концом к главному цилиндру сцепления ВАЗ 2104, надавливает на поршень агрегата.
Он в свою очередь высвобождается из перепускного отверстия и по подающейся жидкости создает гидравлическое давление, которое перераспределяется затем в рабочий цилиндр.
Перепускной клапан, выходя из системы, обеспечивает подачу вещества внутрь корпуса, а поршень под воздействием давления штока и с помощью пружины обеспечивает перемещение вещества в следующую камеру вплоть до основной системы. После попадания в рабочий цилиндр вещество пойдет к рабочей вилке и далее под воздействием муфты на подшипник сцепления.
После отпускания педали сцепления, соответственно, пропадает давление на поршень, который возвращается в свое исходное положение, как и шток, перепускной клапан перекрывается, а пружина перестает воздействовать на поршень. Подача тормозной жидкости прекращается до следующего нажатия на педаль.
Соответственно, главный цилиндр сцепления ваз 2101 2107 является важной составляющей всей системы сцепления и первой деталью, которая непосредственно воздействует на контроль гидравлического давления.
Неисправности
Перечень поломок и признаков неисправностей главного цилиндра сцепления ВАЗ 2107 достаточно широк и может быть вызван как элементарным старением и естественным износом материалов, так и некачественным изделием, которое было установлено в результате прошлых ремонтных работ. Также нередки случаи механического повреждения корпуса и внутренних частей, которые приводят к рассинхронизации всей работы устройства.
К типичным поломкам, которые выводят всю систему сцепления из строя, относятся:
- Повреждения корпуса изделия в результате механического воздействия или износа металла из-за старения. В случае разгерметизации корпуса при нажатии педали сцепления жидкость под давлением попадает не только в систему, но и за ее пределы, напрямую в подкапотное пространство. Впоследствии это приводит к уменьшению общего уровня и выходу системы из строя. Для недопущения таких серьезных поломок необходимо раз в несколько тысяч километров пробега осматривать корпус на предмет течей или запотевания.
В случае обнаружения таковых проводить своевременную замену вышедшей из строя детали. - Выход из строя поршня – его заклинивание. Данная поломка возникает в результате механического чрезмерного воздействия штока, в результате ударных скачкообразных нагрузок или в силу естественного износа. При профилактическом осмотре детали невозможно определить состояние поршня, так как он заключен в корпус. Однако признаками неисправности также могут выступать течи в корпусе, недовключенное сцепление или самопроизвольный переход на иную передачу.
- Нередки неисправности перепускного клапана, которые могут привести к большим поломкам внутри всего сцепления. В этом случае жидкость фактически перестает поступать в систему и, соответственно, ни главный, ни рабочий цилиндры не могут создать соответствующего гидравлического давления, которое необходимо для перемещения маховиков. Фактически, это приводит к невозможности переключить передачу. Такая поломка также диагностируется только при разборе элементе и устраняется заменой клапана.

- Выход из строя прокладок сулит появление в будущем течи корпуса с проблемами в виде потери жидкости и разрушения частей корпуса. Соответственно, такую неисправность также можно обнаружить лишь при демонтаже и разборке всего устройства целиком.
Несмотря на скрытый характер большинства неисправностей, владелец обязан проверять состояние всей системы сцепления раз в несколько тысяч километров. Для этого не потребуется проводить демонтаж частей и или поднимать автомобиль – достаточно лишь визуального осмотра.
А так как проблемы со сцеплением могут быть вызваны и иными повреждениями отдельных частей, ремонтные работы в некоторых случаях могут не дать желаемого результата.
Замена своими руками
Замена главного цилиндра сцепления ВАЗ 2106 проводится в несколько этапов с использованием ключей с набором различных головок, отверток, как крестовых, так и плоских, нового масляного вещества, тары для слива отработанного материала, а также новых металлических хомутов.
Стадии замены на новую деталь:
- В подкапотном пространстве с помощью ключей на 12 и 14 необходимо демонтировать бак с жидкостью для сцепления, а также демонтировать хомуты, которые соединяют корпус остальной частью сцепления со стороны педали и главного диска.
- После этого следует снять с посадочного места сам главный цилиндр, который закреплен несколькими болтами на 12.
Ремонт
Ремонтные работы с «родным» агрегатом проводятся после его демонтажа. Так, для замены определенной части в обязательном порядке потребуется разборка корпуса, которая производится с помощью отвертки и молотка. После этого деталь необходимо разложить на составные части и провести ремонт главного цилиндра сцепления ваз 2106, который заключается либо в замене вышедшего из строя элемента, либо в починке старого узла.
При этом после обратной сборки в обязательном порядке необходимо проверить работоспособность всей системы путем пропускания через агрегаты корпуса новой жидкости.
И только после проверки устанавливать в подкапотное пространство.
Советы и рекомендации
Владельцы при приобретении новой детали должны помнить о качестве агрегата, так как нередки случаи, когда дешевое изделие страдает малым ресурсом. На рынке присутствует множество подделок главного цилиндра сцепления ВАЗ 2104, которые отличаются низким качеством изготовления, а также малым ресурсом.
Оптимальным решением является приобретение деталей от завода производителя, который в своем производстве соблюдает жесткие стандарты и нормы ГОСТ. При этом по идентификационному номеру всегда присутствует возможность определить номер партии в случае заводского брака.
Также при выборе новой детали владельцам необходимо обращать особое внимание на качество изготовления. В части подвижных частей должны отсутствовать люфты, детали должны сохранять оптимальную подвижность. Недопустимо присутствие трещин, пятен неопределенной жидкости, а также заусенцев на корпусе. Также корпус, как и остальные, части в обязательном порядке должен быть пронумерован штатным клеймом завода производителя.
В процессе ремонта необходимо постоянно держать под рукой сливную тару для отработанной тормозной жидкости. Также перед ремонтом необходимо приобрести порядка литра такого вещества для восполнения потерь от вскрытия системы. Также необходимо помнить, что сборка системы после ремонта должна производиться в строго обратном порядке. В противном случае возможны проявления новых неисправностей. При этом в процессе сборки все детали также должны плотно прилегать друг к другу, во избежание проявления поломок в будущем.
Заключение
В итоге замена главного цилиндра сцепления ВАЗ 2107 представляется технологически несложной, но в то же время важной процедурой по поддержанию всей системы в надлежащем состоянии. При этом такой вид работы не потребует от владельца большого опыта в области ремонтных работ, а также специального инструмента или помощников.
Признаки неисправного или неисправного рабочего цилиндра сцепления
Признаки неисправного или неисправного рабочего цилиндра сцепления | Совет вашего механикаЗадайте вопрос, получите ответ как можно скорее!
ЗАПРОСИТЬ ЦЕНУ
Стоимость осмотра трансмиссии автомобиля
Место обслуживания
0,00 $
Предварительная, прозрачная цена
Рабочий цилиндр сцепления — это компонент, используемый в автомобилях с механической коробкой передач.
Он работает вместе с главным цилиндром сцепления, отключая сцепление при нажатии на педаль, чтобы можно было безопасно переключать передачи. Рабочий цилиндр сцепления получает давление от главного цилиндра и выдвигает шток, который упирается в вилку или рычаг, чтобы выключить сцепление. Когда с главным цилиндром сцепления возникают какие-либо проблемы, это может вызвать проблемы с переключением передач, что ухудшит общую управляемость автомобиля и может даже повредить трансмиссию. Обычно рабочий цилиндр сцепления выдает несколько симптомов, которые предупреждают водителя о возникновении проблемы и необходимости ее обслуживания.
1. Ненормальное ощущение педали сцепления
Одним из первых признаков потенциальной проблемы с главным цилиндром сцепления является ненормальное ощущение педали сцепления. Если в рабочем цилиндре сцепления возникает какая-либо утечка внутри или снаружи, это может привести к тому, что педаль станет губчатой или мягкой. Педаль также может опускаться до пола и оставаться там при нажатии, и может быть невозможно правильно выключить сцепление, чтобы можно было безопасно переключить передачу.
2. Низкий уровень или загрязнение тормозной жидкости
Низкий уровень или загрязнение жидкости в бачке — еще один признак, обычно связанный с неисправностью рабочего цилиндра сцепления. Низкий уровень жидкости может быть вызван утечками в системе и, возможно, в рабочих или главных цилиндрах. Резиновые уплотнения внутри рабочего цилиндра также могут со временем выйти из строя и загрязнить тормозную жидкость. Загрязненная жидкость будет мутной или темной.
3. Утечки на полу или в моторном отсеке
Видимые признаки протечки являются еще одним признаком неисправности рабочего цилиндра сцепления. Если в рабочем цилиндре сцепления возникают какие-либо утечки, жидкость будет капать вниз и оставлять следы на полу или в моторном отсеке. В зависимости от серьезности утечки протекающий рабочий цилиндр обычно также оказывает заметное неблагоприятное воздействие на ощущение педали.
Рабочий цилиндр сцепления является очень важным компонентом, жизненно важным для автомобилей с механической коробкой передач, и любые проблемы с ним могут привести к проблемам с управляемостью автомобиля в целом.
Симптомы, обычно связанные с неисправным рабочим цилиндром сцепления, также аналогичны симптомам, связанным с неисправным главным цилиндром сцепления, поэтому рекомендуется, чтобы автомобиль был должным образом продиагностирован профессиональным техническим специалистом, например, специалистом из YourMechanic, чтобы определить, нужна замена рабочего цилиндра сцепления.
Следующий шаг
Запланировать осмотр трансмиссии автомобиля
Самая популярная услуга, которую заказывают читатели этой статьи, — техосмотр трансмиссии автомобиля. После того, как проблема будет диагностирована, вам будет предоставлена предварительная стоимость рекомендуемого исправления, а также скидка в размере 20 долларов США в качестве кредита на ремонт. Технические специалисты YourMechanic доставят вам услуги дилера, выполняя эту работу у вас дома или в офисе 7 дней в неделю с 7:00 до 21:00. В настоящее время мы охватываем более 2000 городов и имеем более 100 тысяч 5-звездочных отзывов.
..
УЧИТЬ БОЛЬШЕ
СМОТРЕТЬ ЦЕНЫ И ПЛАНИРОВКИ
сцепления
механические коробки передач
Манетки
Заявления, приведенные выше, предназначены только для информационных целей и требуют независимой проверки. Пожалуйста, смотрите наш условия обслуживания для более подробной информации
Отличные рейтинги авторемонта.
4.2 Средняя оценка
Часы работы
7:00–21:00
7 дней в неделю
Номер телефона
1 (855) 347-2779
Часы работы телефона
Пн — Пт / 6:00 — 17:00 по тихоокеанскому времени
Сб — Вс / 7:00 — 16:00 по тихоокеанскому стандартному времени
Адрес
Мы приедем к вам без дополнительной оплаты
Гарантия
Гарантия 12 месяцев/12 000 миль
Наши сертифицированные выездные механики выполняют более 600 услуг, включая диагностику, тормоза, замену масла, плановые ТО, и приедут к вам со всеми необходимыми запчастями и инструментами.
Получите честное и прозрачное предложение прямо перед бронированием.
Отличный рейтинг
Резюме рейтинга
См. Обзоры возле ME
Петр
43 -летний опыт работы
1321 Обзоры
Запрос Питер
Peter
43 года. Ford Explorer V6-4.0L — Замена тормозных колодок (передних и задних) — Buckeye, Arizona
Очень хорошо осведомлен и помогает объяснить проблемы тем из нас, кто не склонен к механике. Очень доволен тем, насколько пунктуальным сегодня был Петр. Я с нетерпением жду возможности снова забронировать Питер в ближайшие несколько недель. ААААА. Ваше здоровье. Филипп.
Джейсон
Honda Odyssey — Аккумулятор не держит заряд — Гилберт, Аризона
Питер всегда великолепен. Ни разу не жалоба. Я доверяю ему свои машины.
Darnell
19 лет опыта
21 Обзоры
Запрос Darnell
Darnell
19 лет опыта
Darnell
от Michael
Pontiac Fiero v6-2.
8l — DriveTrain Inspect.
ОЧЕНЬ ПРИЯТНО И ПОзнавательно!
Eliud
23 года опыта
200 Обзоры
Запрос Eliud
Eliud
23 года опыта
Запрос Eliud
от Demichael
Ram 1500 V6-3.6L — Автомобиль Drivetretrain — Snellville,
Ram 1500 V6-3.6L — Автомобиль — Snellville,
Ram 1500 V6-3.6
Элиуд был пунктуален и хорошо знал мой автомобиль. Решил проблему за полчаса
Ричард
35 лет опыта
96 отзывов. 40-минутный тест-драйв обнаружил проблему и запустил сканирование, чтобы показать проблему, и я бы порекомендовал ему, что он хорошо знает свою работу! Спасибо тебе Ричард!
Нужна помощь с вашим автомобилем?
Наши сертифицированные мобильные механики выезжают на дом в более чем 2000 городов США. Быстрые, бесплатные онлайн-расценки на ремонт вашего автомобиля.
ПОЛУЧИТЬ ЦЕНУ
ПОЛУЧИТЬ ЦЕНУ
Статьи по Теме
Как переключать понижающую передачу с двойным сцеплением на автомобиле с механической коробкой передач
Изучение того, как переключать понижающую передачу с двойным сцеплением на механической коробке передач вашего автомобиля, может оптимизировать ускорение, замедление и помочь сохранить компоненты.
Что означают сигнальные лампы выжимной муфты или педали тормоза?
Индикаторы выжима сцепления и педали тормоза напоминают о том, что нужно нажать на тормоз или сцепление перед запуском двигателя или в парковочном режиме.
Устранение неполадок автомобиля с шумом сцепления
Системы сцепления создают шум, если повреждены главный цилиндр сцепления, педаль сцепления, нажимной диск, диск сцепления, маховик или направляющий подшипник.
Похожие вопросы
Как проверить уровень тормозной жидкости и жидкости сцепления?
И ваши тормоза, и сцепление (если у вас есть рычаг переключения передач) являются гидравлическими, и для их работы требуется жидкость. Важно проверять уровень жидкости в обоих бачках – низкий уровень жидкости может привести к повреждению компонентов или…
Вода в системе сухого сцепления
Если все крышки, заглушки и щитки на месте, вода в сцеплении обычно не является проблемой.
У некоторых автомобилей на маховике есть установочные метки, а пробки выпадают из-за того, что кто-то проверяет синхронизацию, или…
У меня машина с механической коробкой передач, и она не включает передачу 2001 Nissan Sentra
Здравствуйте! проверьте уровень жидкости в бачке сцепления (может быть общим с главным тормозным цилиндром — оба используют тормозную жидкость). Если уровень жидкости в норме, скорее всего гидравлика сцепления (https://www.yourmechanic.com/question/how-does-a-clutch-engage-and-disengage)-…
Просмотрите другой контент
Техническое обслуживание
Города
Услуги
Наша команда обслуживания доступна 7 дней в неделю, с понедельника по пятницу с 6:00 до 17:00 по тихоокеанскому времени, с субботы по воскресенье с 7:00 до 16:00 по тихоокеанскому стандартному времени.
1 (855) 347-2779 · [email protected]
Читать часто задаваемые вопросы
ЗАПРОСИТЬ ЦЕНУ
Признаки неисправного или неисправного рабочего цилиндра сцепления
Если вы водите автомобиль с механической коробкой передач и что-то не так с педалью сцепления, причиной может быть неисправный рабочий цилиндр сцепления.
Рабочий цилиндр сцепления участвует в включении и выключении сцепления, что делает его действительно важным компонентом.
Если что-то пойдет не так с цилиндром, важно как можно скорее отремонтировать его — неисправный рабочий цилиндр сцепления может вызвать проблемы с переключением передач, а в некоторых случаях даже повредить вашу коробку передач. К счастью, есть некоторые общие контрольные симптомы, на которые следует обратить внимание, чтобы вы могли решить проблему и вернуться в путь.
Что такое рабочий цилиндр сцепления?Рабочие цилиндры сцепления можно найти на автомобилях с механической коробкой передач. Это важная часть системы трансмиссии, которая работает вместе с главным цилиндром сцепления и другими компонентами, отключая сцепление, когда водитель переключает передачу.
Процесс начинается, когда водитель нажимает педаль сцепления. Это заставляет главный цилиндр передавать давление на рабочий цилиндр. Это давление передается через систему гидравлики; перемещение жидкости по системе.
Когда рабочий цилиндр сцепления получает это давление, выдвигается шток, который, в свою очередь, давит на вилку или рычаг, отключающий сцепление. Система позволяет водителям плавно и безопасно переключать передачи.
Поскольку рабочий цилиндр сцепления зависит от правильной работы гидравлики, утечки являются наиболее распространенной проблемой, с которой они сталкиваются. Со временем регулярное использование может изнашивать компонент, что приводит к утечке трансмиссионной жидкости внутри. Это означает, что давление внутри цилиндра недостаточно для того, чтобы он правильно выполнял свою функцию выключения сцепления.
Если игнорировать неисправный рабочий цилиндр сцепления, это может привести к дальнейшему повреждению вашего автомобиля. Вы заметите, что переключение передач становится более трудным, а педаль сцепления менее отзывчива. Это не только делает вождение более трудным и менее безопасным, но также может привести к повреждению других частей системы трансмиссии.
Ни в коем случае нельзя игнорировать хитрые рабочие цилиндры сцепления. Если в вашем автомобиле есть эта проблема, вы можете ожидать появления следующих симптомов:
- Педаль сцепления мягкая
Один из самых распространенных признаков неисправности рабочего цилиндра сцепления, который также легко обнаружить — вы заметите, что педаль сцепления кажется «мягкой» во время движения. Педаль будет оказывать меньшее сопротивление вашей ноге, чем обычно, и эта проблема обычно вызвана утечкой в главном или рабочем цилиндре.
- Проблемы с переключением передач
Еще один симптом, который вы, вероятно, заметите, находясь за рулем, — проблемы с переключением передач. Вы можете обнаружить, что педаль сцепления не возвращается в исходное положение так быстро, как обычно, или остается нажатой после того, как вы убрали ногу. Эти симптомы указывают на отсутствие давления в гидравлической системе, которая контролирует, включено или выключено сцепление, и часто является результатом утечки в главном или рабочем цилиндре сцепления.
Если педаль вообще не отрывается от пола, когда вы убираете ногу, наиболее вероятным виновником является главный цилиндр, и вам следует остановиться, как только это станет безопасно. Вождение автомобиля без работающего сцепления опасно.
- Низкий уровень трансмиссионной жидкости
Если что-то не так с педалью сцепления, рекомендуется проверить уровень трансмиссионной жидкости автомобиля. Если жидкости мало, долейте ее и вскоре после этого снова проверьте уровень. Если вы обнаружите, что уровень жидкости снова низкий, причиной может быть негерметичный главный или рабочий цилиндр сцепления.
- Низкий уровень тормозной жидкости или загрязнение жидкости
Если вы подозреваете, что со сцеплением что-то не так, вам следует проверить тормозную жидкость вашего автомобиля. Низкие уровни указывают на утечку, которая может быть связана с рабочим или главным цилиндром сцепления. Загрязненная тормозная жидкость рассказывает аналогичную историю: со временем резиновые уплотнения в этих цилиндрах могут деградировать, позволяя детриту мигрировать в тормозную жидкость по мере ее прохождения.
К счастью, загрязненную тормозную жидкость легко обнаружить — вы можете ожидать, что она будет выглядеть темнее, чем обычно, и мутной. Если вы не знаете, какая тормозная жидкость должен выглядеть как , возьмите свежую бутылку из местного гаража или заправочной станции для удобного сравнения.
- Утечки пола или моторного отсека
Если рабочий цилиндр сцепления вашего автомобиля выходит из строя, вы также можете увидеть некоторые видимые утечки. Проверьте под автомобилем наличие луж жидкости, а также проверьте моторный отсек. Как упоминалось ранее, негерметичные цилиндры не могут поддерживать необходимое давление для правильной работы и должны быть заменены.
- Необычный шум двигателя
Если вы слышите громкий шум при включенной передаче и нажатой педали сцепления, это может означать, что один из цилиндров сцепления негерметичен, поэтому он не может должным образом удерживать вилку выключения сцепления и должным образом выключать сцепление.
схватить.
Сочетание этих симптомов является надежным индикатором того, что что-то не так с вашим сцеплением, и вероятнее всего рабочий цилиндр сцепления. Однако имейте в виду, что многие из этих симптомов на самом деле могут быть результатом неисправного сцепления 9.0293 главный цилиндр тоже. По этой причине лучше проконсультироваться с доверенным механиком, чтобы подтвердить свои подозрения и посмотреть, какой цилиндр неисправен. Если главный цилиндр выходит из строя, это обычно гораздо более серьезная проблема, и ее следует решать немедленно.
Простой тест Если вы обладаете некоторыми знаниями о том, как все должно выглядеть под капотом, есть довольно простой тест, который вы можете провести в собственном гараже, чтобы убедиться, что у вас протекает рабочий цилиндр сцепления – вам понадобится помощник, чтобы дать вам руку.
- Откройте капот и найдите рабочий цилиндр сцепления
- На передней части цилиндра вы увидите гидравлический шток — обычно при нажатии на педаль сцепления этот шток выдвигается
- Попросите вашего помощника сесть за руль и выжать сцепление
- Пока они это делают, проверьте, выдвигается ли стержень
- Если он выдвигается, цилиндр работает нормально
- Если шток не выдвигается, необходимо заменить рабочий цилиндр
Даже если ваш автомобиль прошел этот тест, вам все равно следует обратиться к механику, если у вас возникли проблемы со сцеплением. Каким бы выносливым ни был механизм, все еще есть много вещей, которые могут пойти не так, и все, вероятно, ухудшится, если вы не обратитесь за помощью.
Стоимость ремонтаКак только вы подозреваете, что причиной проблем со сцеплением является неисправный рабочий цилиндр, следующим логическим шагом будет поиск ремонта.
Точная цена будет варьироваться в зависимости от марки и модели вашего автомобиля, степени повреждения и стоимости рабочей силы в вашем регионе, но вы можете ожидать, что она будет находиться в диапазоне от 150 до 200 долларов США как за запчасти, так и за работу.
Поскольку рабочий цилиндр сцепления является относительно недорогим компонентом для замены, своевременная замена может сэкономить вам много денег в дальнейшем, предотвращая появление других проблем из-за неисправного цилиндра.
Как вы, наверное, уже поняли, система трансмиссии автомобиля — сложная штука, и, несмотря на ее надежность, многое может пойти не так. Ниже мы отмечаем несколько других распространенных проблем, связанных со сцеплением:
- Сломанные, растянутые или ослабленные тросы сцепления
На некоторых автомобилях сцепление выключается системой тросов, а не гидравлической системой. Со временем они могут деформироваться, и перестать выполнять свою функцию должным образом.
- Мусор на диске сцепления
Диск сцепления имеет фрикционную поверхность с каждой стороны и служит точкой соединения двигателя и трансмиссии. Его можно включать и выключать, позволяя двигателю продолжать вращаться, даже когда колеса неподвижны.
Накопление детрита на диске препятствует его зацеплению должным образом, вызывая проскальзывание и скрежет.
- Утечки в других частях гидравлической системы
Медные трубы, соединяющие главный и рабочий цилиндры, могут дать течь, как и сами цилиндры, снижая давление в системе. ваш механик, если вам нужно принести свой автомобиль в магазин.
Защита сцепленияСцепление большинства современных автомобилей может прослужить от 50 000 до 100 000 миль, прежде чем его потребуется заменить — это надежная система. Тем не менее, есть несколько способов увеличить срок его службы:
- Переключайте передачи плавно, ориентируясь на точку сцепления сцепления – быстро нажимайте при переключении передач и отпускайте с постоянной скоростью
- Как можно реже оставляйте сцепление наполовину выжатым – оно должно быть либо полностью выжато, либо полностью отпущено
- Используйте ручной тормоз, а не зависайте на сцеплении, чтобы не откатиться назад при старте в гору
- Тяга на низких оборотах, около 1100
- Избегайте увеличения оборотов двигателя
- Как работает сцепление – Howstuffworks
- Как прокачать рабочий цилиндр – wikiHow
8 Признаки неисправности главного цилиндра сцепления и стоимость замены
Главный цилиндр сцепления является ключевым компонентом системы сцепления вашего автомобиля.
Если все пойдет плохо, вы, вероятно, испытаете различные симптомы, которые могут стоить вам времени и денег. В этой статье мы обсудим симптомы неисправного главного цилиндра сцепления и его причины, стоимость замены и процедуру замены.
Мы также опишем, что такое главный цилиндр сцепления и как он работает, чтобы вы могли лучше понять, почему важно поддерживать его в хорошем состоянии. Наконец, мы дадим несколько советов о том, как предотвратить поломку главного цилиндра сцепления.
Содержание
Что такое главный цилиндр сцепления?Главный цилиндр сцепления является компонентом системы сцепления автомобиля. Он отвечает за передачу гидравлического давления на сцепление, активацию сцепления.
Главный цилиндр сцепления установлен между бачком тормозной жидкости и рабочим цилиндром, расположенным рядом с педалью сцепления. Он состоит из цилиндрического корпуса с плунжером, который перемещается внутрь и наружу для создания необходимого давления.
Большинство людей знакомы с основами работы автомобильного сцепления: когда вы нажимаете на педаль, сцепление срабатывает, и автомобиль начинает двигаться. Но многие люди не знают, как на самом деле работает сцепление. Главный цилиндр сцепления является одним из важнейших компонентов этой системы.
Главный цилиндр сцепления отвечает за передачу гидравлического давления от педали к рабочему цилиндру сцепления, так как большинство автомобилей имеют гидравлическую систему сцепления.
Главный цилиндр представляет собой поршень, который перемещается вверх и вниз в ответ на нажатие педали. При нажатии педали гидравлическая жидкость нагнетается в верхнюю камеру цилиндра. Затем эта жидкость толкает поршень вниз, что приводит в действие рабочий цилиндр.
Когда вы нажимаете на педаль сцепления, главный цилиндр сцепления создает давление, используя трансмиссионное масло, которое давит на его поршень.
Это давление передается на рабочий цилиндр, который приводит в действие сцепление.
Если ваш главный цилиндр сцепления поврежден или не работает должным образом, это может вызвать проблемы с переключением передач и остановкой автомобиля. Важно проверить этот компонент и при необходимости заменить его.
Что вызывает неисправность главного цилиндра сцепления?Неисправный главный цилиндр сцепления может вызвать множество проблем с автомобилем, в том числе проблемы с переключением передач и даже полный отказ включения сцепления. Хотя существует несколько потенциальных причин неисправности главного цилиндра сцепления, наиболее распространенной является износ. Со временем уплотнения в цилиндре могут деградировать и начать пропускать жидкость. Это может привести к тому, что сцепление станет менее отзывчивым и в конечном итоге вообще перестанет работать.
Другими возможными причинами выхода из строя главных цилиндров сцепления являются коррозия или повреждение самого цилиндра, а также проблемы с тормозной жидкостью.
Если ваш автомобиль попал в аварию, полезно проверить главный цилиндр сцепления у механика, чтобы убедиться, что он не поврежден. Точно так же, если у вас были проблемы с тормозами, стоит проверить, не влияет ли это на главный цилиндр сцепления.
Если вы подозреваете, что ваш главный цилиндр сцепления неисправен, лучше всего отнесите его на диагностику. Это поможет определить основную причину проблемы и устранить ее.
Признаки неисправности главного цилиндра сцепления Существует несколько общих признаков неисправности главного цилиндра сцепления, на которые следует обращать внимание. Если вы столкнулись с какой-либо из этих проблем, хорошо отвезти свой автомобиль на диагностику.
- Низкий уровень тормозной жидкости.0266
- Педаль сцепления застряла в полу
Рассмотрим подробнее следующие признаки неисправного главного цилиндра:
1. Низкий уровень трансмиссионной жидкостиОдин из наиболее распространенных признаков неисправного главного цилиндра сцепления низкий уровень трансмиссионной жидкости. Если вы видите, что ваша трансмиссионная жидкость находится на низком уровне в бачке для жидкости сцепления, вероятно, проблема связана с главным цилиндром сцепления.
2. Утечка жидкостиУтечка трансмиссионной жидкости определенно является признаком неисправности главного цилиндра сцепления вашего автомобиля. Если вы видите утечку жидкости из верхней части главного цилиндра, вполне вероятно, что внутренние уплотнения вышли из строя и их необходимо заменить. Если не решить проблему, это может привести к серьезному повреждению трансмиссии.
3. Странные шумы Есть несколько причин, по которым неисправный главный цилиндр может вызывать странные шумы в двигателе.
Одна из возможностей заключается в том, что в магистралях сцепления могут образовываться пузырьки воздуха, которые могут вызывать стук.
Кроме того, если главный цилиндр не работает должным образом, он может быть не в состоянии создать достаточное давление для проталкивания трансмиссионной жидкости по магистралям. Это может привести к обратному течению жидкости в двигатель, создавая громкий шум. Если вы испытываете странные шумы в двигателе, это может быть признаком того, что вам необходимо заменить главный цилиндр.
4. Губчатая педаль сцепленияНеисправный главный цилиндр может сделать педаль сцепления мягкой, поскольку она не сможет создать достаточное давление, чтобы прижать диск сцепления к маховику. Это приведет к неправильному включению сцепления, что затруднит переключение передач. В некоторых случаях неисправный главный цилиндр может даже привести к полному выходу из строя сцепления.
5. Жидкость для грязного сцепления В трансмиссии автомобиля используется гидравлическая жидкость, обеспечивающая плавное переключение передач.
Жидкость циркулирует через коробку передач и двигатель, где помогает охлаждать эти системы.
Если главный цилиндр не работает должным образом, он не сможет создать достаточное давление для перемещения жидкости по магистралям. Это может привести к накоплению грязи и мусора в системе, а грязная жидкость может в конечном итоге привести к выходу из строя трансмиссии.
6. Жесткое сцеплениеНеисправный главный цилиндр может стать причиной жесткости педали сцепления. Это связано с тем, что неисправный главный цилиндр не сможет создать достаточное давление, чтобы протолкнуть жидкость через систему.
Это приведет к тому, что педаль сцепления станет труднее нажимать. Если вы столкнулись с этой проблемой, важно как можно скорее заменить главный цилиндр.
7. Проблемы с переключением передач Если вы испытываете трудности с переключением передач в автомобиле, проблема может быть вызвана неисправностью главного цилиндра.
Главный цилиндр отвечает за передачу гидравлического давления на рабочие цилиндры, приводящие в действие сцепление в механической коробке передач. Когда он не работает должным образом, это может вызвать проблемы с переключением передач.
Неисправный главный цилиндр сцепления может вызвать проблемы с переключением передач, поскольку он не сможет создать необходимое давление для переключения передач. Это может привести к ряду других проблем, таких как трудности с переключением передач, проскальзывание сцепления и даже полный отказ трансмиссии.
8. Педаль сцепления застряла в полуПедаль сцепления может прилипнуть к полу по нескольким причинам, и неисправный главный цилиндр сцепления является одной из них. Если из главного цилиндра протекает жидкость, то он не сможет создать необходимое давление для нажатия на педаль сцепления.
Это приведет к тому, что педаль останется в нижнем положении, что может затруднить переключение передач. Если у вас возникла эта проблема, обязательно проверьте и при необходимости замените главный цилиндр сцепления.
Выход из строя главного цилиндра сцепления может привести к тому, что вы застрянете на обочине дороги. Чтобы этого не произошло, важно принять профилактические меры. Вот несколько советов, как это сделать:
1. Убедитесь, что уровень жидкости правильный, и правильно прокачайте систему. Это поможет сохранить уплотнения влажными и обеспечит хорошую производительность.
2. Соблюдайте правила технического обслуживания и осмотра автомобиля. Регулярное техническое обслуживание всей системы сцепления поможет поддерживать все в хорошем рабочем состоянии. Это включает в себя очистку и смазку всех компонентов и замену изношенных деталей.
3. Используйте качественные детали и смазочные материалы.
4. Управляйте безопасно и избегайте резкого ускорения или торможения.
5. Еще один способ предотвратить поломку – правильно отрегулировать педаль сцепления. Если он слишком ослаблен, это может привести к тому, что главный цилиндр будет работать тяжелее, чем должен, что приведет к отказу.
Если вы будете следовать этим советам, вы сможете предотвратить отказ главного цилиндра сцепления. Однако, если это все же произойдет, обязательно отбуксируйте свой автомобиль к квалифицированному механику для ремонта.
Как заменить неисправный главный цилиндр сцепления?Если ваш главный цилиндр сцепления неисправен, его необходимо заменить. Вот шаги, как это сделать:
1. Отсоедините отрицательный кабель аккумуляторной батареи.
2. Поднимите автомобиль домкратом и закрепите его домкратными стойками.
3. Снимите колесо, ближайшее к главному цилиндру.
4. Снимите тормозную магистраль с главного цилиндра и заглушите магистраль, чтобы предотвратить утечку жидкости.
5. Отсоедините гидравлические линии от главного цилиндра.
6. Отверните болты, которыми главный цилиндр крепится к автомобилю, и снимите его.
7. Установите новый главный цилиндр и закрепите его болтами.
8. Подсоедините гидравлические линии и тормозную магистраль к главному цилиндру.
9. Опустите автомобиль и подсоедините отрицательный кабель аккумуляторной батареи.
Теперь вы знаете, как заменить неисправный главный цилиндр сцепления.
Стоимость замены главного цилиндра сцепленияЕсли у вас возникли проблемы со сцеплением, возможно, пришло время заменить главный цилиндр сцепления. Если ваш главный цилиндр протекает, не обеспечивает достаточного давления или иным образом не работает должным образом, лучше заменить его как можно скорее.
Стоимость замены главного цилиндра сцепления зависит от марки и модели вашего автомобиля. Тем не менее, вы можете рассчитывать на оплату от 300 до 400 долларов за работу. Лучше, чтобы замену выполнял квалифицированный механик, так как это может быть сложным процессом.
Из этих 400 долларов сама деталь стоит от 100 до 200 долларов. Таким образом, замена главного цилиндра сцепления будет стоить домашнему мастеру около 300 долларов. Если вам неудобно выполнять работу самостоятельно, вы можете рассчитывать на то, что заплатите в магазине около 400 долларов за работу.
Когда придет время заменить главный цилиндр сцепления, обязательно предусмотрите в бюджете стоимость детали и работы. Это серьезная работа, поэтому лучше быть готовым.
ЗаключениеНеисправный главный цилиндр сцепления может вызвать всевозможные проблемы с вашим автомобилем. Если вы испытываете какие-либо из перечисленных выше симптомов, лучше заменить его как можно скорее.
Стоимость замены будет варьироваться в зависимости от марки и модели вашего автомобиля, но вы можете рассчитывать на оплату от 300 до 400 долларов за работу. Обязательно заложите в бюджет эти расходы, и если вам неудобно выполнять работу самостоятельно, обязательно отнесите свой автомобиль к квалифицированному механику.
Спасибо за прочтение! Я надеюсь, что эта статья была полезной.
Часто задаваемые вопросы Как долго можно ездить с неисправным главным цилиндром сцепления? Неисправный главный цилиндр сцепления может серьезно повлиять на вашу способность управлять автомобилем, но сколько времени пройдет, прежде чем он станет непригодным для использования, зависит от серьезности проблемы.

Именно посредством давления на поршень рабочая жидкость попадает в систему и выполняет свою функцию. Расположен, как и все элементы, в корпусе устройства.
В случае обнаружения таковых проводить своевременную замену вышедшей из строя детали.