Устройство топливного насоса
Работа двигателей внутреннего сгорания, использующихся на самых разных видах транспорта и техники, основана на сгорании топливо-воздушной смеси и выделяемой в результате этого процесса энергии. Но для того, чтобы силовая установка функционировала, топливо должно подаваться порционно в строго определенные моменты. И задача эта лежит на системе питания, входящей в конструкцию мотора.
Системы подачи топлива двигателей состоят из ряда составных элементов, у каждого из которых своя задача. Одни из них фильтруют топливо, удаляя из него загрязняющие элементы, другие осуществляют дозировку и подачу его во впускной коллектор или непосредственно в цилиндр. Все эти элементы выполняют свою функцию с топливом, которое к ним еще нужно подать. И это обеспечивают используемые в конструкциях систем топливные насосы.

Насос в сборе
Как и у любого жидкостного насоса, задача узла, используемого в конструкции мотора – закачка топлива в систему. Причем практически везде нужно, чтобы оно подавалось под определенным давлением.
Типы топливных насосов
В разных типах моторов используются свои виды топливных насосов. Но в целом, все их можно разделить на две категории – низкого и высокого давления. Использование того или иного узла зависит от конструктивных особенностей и принципа работы силовой установки.
Так, у бензиновых моторов, поскольку воспламеняемость бензина значительно выше дизельного топлива, и при этом загорается топливо-воздушная смесь от стороннего источника, то высокого давления в системе не требуется. Поэтому в конструкции используются насосы низкого давления.

Насос бензинового двигателя
Но стоит отметить, что в инжекторных бензиновых системах последнего поколения, топливо подается прямо в цилиндр (непосредственный впрыск), поэтому бензин должен подаваться уже под высоким давлением.
Что касается дизелей, то у них смесь загорается от воздействия давления в цилиндре и температуры. К тому же само топливо имеет непосредственный впрыск в камеры сгорания, поэтому, чтобы форсунка смогла его впрыснуть, нужно значительное давление. И для этого в конструкции используется насос высокого давления (ТНВД). Но отметим, что без использования насоса низкого давления в конструкции системы питания не обошлось, поскольку сам ТНВД не может закачивать топливо, ведь в его задачу входит только сжатие и подача на форсунки.
Все используемые насосы на силовых установках разных типов можно также разделить на механические и электрические. В первом случае узел работает от силовой установки (используется шестеренчатый привод или от кулачков вала). Что касается электрических, то они в действие приводятся от своего электродвигателя.
Если более конкретно, то на бензиновых моторах системы питания используют только насосы низкого давления. И лишь в инжекторе с непосредственным впрыском имеется ТНВД. При этом в карбюраторных моделях этот узел имел механический привод, а вот в инжекторных используется электрические элементы.

Механический бензонасос
В дизелях же применяется два типа насосов – низкого давления, который закачивает топливо, и высокого давления – сжимающий дизтопливо перед тем, как оно поступит на форсунки.
Топливоподкачивающий насос дизеля обычно имеет механический привод, хотя встречаются и электрические модели. Что касается ТНВД, то он в работу приводится от силовой установки.
Разница в создаваемом давлении насосов низкого и высокого давления очень разительна. Так, для работы инжекторной системы питания достаточно всего 2,0-2,5 Бар. Но это рабочий диапазон давления самого инжектора. Качающий топливо узел же, как обычно, обеспечивает его немного с избытком. Так, давление топливного насоса инжектора варьируется от 3,0 до 7,0 Бар (зависит от типа и состояния элемента). Что касается карбюраторных систем, то там бензин подается практически без давления.
А вот в дизелях для подачи топлива нужно очень высокое давление. Если взять систему Common Rail последнего поколения, то в контуре «ТНВД-форсунка» давления дизтоплива может достигать 2200 Бар. Поэтому насос и работает от силовой установки, поскольку для функционирования его требуется достаточно много энергии, а ставить мощный электродвигатель не целесообразно.
Естественно, рабочие параметры и создаваемое давление сказываются на конструкции этих узлов.
Виды бензонасосов, их особенности
Разбирать устройство бензонасоса карбюраторного двигателя не будем, поскольку такая система питания уже не используется, да и конструктивно он очень прост, и ничего особого в нем нет. А вот электрический бензонасос инжектора следует рассмотреть подробнее.
Стоит отметить, что на разных машинах используются разные виды топливных насосов, отличающиеся по конструкции. Но в любом случае узел делится на две составляющие – механическую, которая и обеспечивает закачку топлива, и электрическую, приводящую в действие первую часть.
На инжекторных автомобилях могут использоваться насосы:
- Вакуумные;
- Роликовые;
- Шестеренчатые;
- Центробежные;

Насосы роторного типа
И разница между ними, в основном, сводится к механической части. И только устройство топливного насоса вакуумного типа полностью отличается.
Вакуумный
В основу работы вакуумного насоса положен обычный бензонасос карбюраторного мотора. Единственная лишь разница в приводе, но сама механическая часть практически идентична.
Имеется мембрана, разделяющая рабочий модуль на две камеры. В одной из этих камер располагается два клапана – впускной (связан каналом с баком) и выпускной (ведущий к топливной магистрали, подающей топливо далее в систему).
Эта мембрана при поступательном движении создает разрежение в камере с клапанами, что приводит к открытию впускного элемента и закачке в нее бензина. При обратном движении впускной клапан перекрывается, но открывается выпускной и топливо просто выталкивается в магистраль. В общем все просто.
Что касается электрической части, то работает она по принципу втягивающего реле. То есть, имеется сердечник, и обмотка. При подаче напряжения на обмотку, возникающее в ней магнитное поле втягивает сердечник, связанный с мембраной (происходит ее поступательное движение). Как только напряжение пропадает, возвратная пружина возвращает мембрану в исходное положение (возвратное движение). Подача импульсов на электрическую часть управляется электронным блоком управления инжектором.
Роликовый
Что касается остальных видов, то у них электрическая часть, в принципе, идентична и представляет собой обычный электродвигатель постоянного тока, работающий от сети 12 В. А вот механические части – разные.

Роликовый топливный насос
В роликовом типе насоса рабочими элементами являются ротор с проделанными пазами, в которые установлены ролики. Эта конструкция помещена в корпус с внутренней полостью сложной формы, имеющая камеры (впускную и выпускную, сделанные в виде проточек и соединенные с подающей и выпускной магистралями). Суть работы сводится к тому, что ролики просто перегоняют бензин с одной камеры во вторую.
Шестеренчатый
В шестеренчатом типе используется две шестеренки, установленные одна в другую. Внутренняя шестерня – меньше по размеру, и движется по траектории эксцентрика. Благодаря этому между шестернями имеется камера, в которой и осуществляется захват топлива из подающего канала и перекачка его в выпускной канал.

Шестеренчатый насос
Центробежный тип
Роликовый и шестеренчатый типы электробензонасосов – менее распространены, чем центробежные, они же – турбинные.

Центробежный насос
Устройство топливного насоса такого типа включает в себя крыльчатку с большим количеством лопастей. При вращении эта турбина создает завихрения бензина, что обеспечивает его всасывание в насос и дальнейшее выталкивание в магистраль.
Мы рассмотрели устройство топливных насосов немного упрощенно. Ведь в их конструкции имеются дополнительно впускные и редукционные клапаны, в задачу которых входит подача топлива только в одном направлении. То есть, бензин, попавший в насос, вернуться в бак уже сможет только по обратной магистрали, пройдя через все составные элементы системы питания. Также в задачу одного из клапанов входит запирание и прекращение закачки при определенных условиях.

Турбинный насос
Что касается насосов высокого давления, используемых в дизельных моторах, то там принцип действия кардинально отличается, и подробно о таких узлах системы питания узнать можно здесь.
autoleek.ru
Устройство механического и электрического бензонасоса

Мы продолжаем наш цикл статей об устройстве топливной системы автомобиля. Сегодня речь пойдет о топливном насосе бензинового двигателя.
Читайте в этой статье
Механический и электрический бензонасос
Бензонасос представляет собой важнейший элемент топливной системы. Главной его задачей становится доставка горючего из топливного бака в задней части автомобиля к системе дозированной подачи в подкапотном пространстве. Такой системой считается карбюратор или инжектор. Бензонасос может быть представлен как механической конструкцией, так и электрическим бензонасосом.
Бензонасосы механического типа нашли свое применение в автомобилях с карбюратором и обеспечивают подачу топлива под невысоким давлением. Электрические бензонасосы применяются в авто с инжектором, так как отвечают за подачу топлива под высоким давлением и поддерживают рабочее давление в системе.
Механический бензонасос закреплен снаружи топливного бака или вблизи карбюратора, так как нет необходимости в создании высокого давления в системе топливоподачи. Электрический бензонасос обязательно находится внутри топливопровода или резервуара с горючим.
Существует также схема установки сразу двух бензонасосов. Один бензонасос установлен в баке и работает с большими объемами топлива, прокачивая его под низким давлением. Другой бензонасос работает с малым объемом горючего и создает высокое давление перед системой впрыска. Такой насос имеет название топливный насос высокого давления. Его зачастую располагают в подкапотном пространстве вблизи силовой установки или прямо на ней.
Стоит отметить, что карбюраторные двигатели считаются устаревшими, давно уступив место более производительным, экономичным и экологичным инжекторным ДВС. Существует ряд моделей, где электрический насос находится под контролем ЭБУ. Система учитывает положение дроссельной заслонки, качество топливно-воздушной смеси и состав выхлопа, тем самым параллельно корректируя работу бензонасоса.
Электрические бензонасосы самого современного типа в процессе поддержания высокого давления демонстрируют излишние шумы при работе и склонны к быстрому нагреву. Это обусловило место их расположения именно в топливном баке. Горючее охлаждает сам бензонасос, а стенки бензобака значительно поглощают шум от работы устройства.
Конструкция механического насоса

Механический бензонасос состоит из:
- крышки;
- сетчатого фильтра;
- верхней части корпуса;
- тарелки верхней;
- рабочих диафрагм;
- дистанционных проставок;
- предохранительной диафрагмы;
- тарелки нижней;
- штока;
- возвратной пружины;
- нижней части корпуса;
- рычага для ручной подкачки;
Данная конструкция образует камеру, которая имеет впускные и выпускные клапаны. Указанные клапаны находятся в верхней части корпуса механического бензонасоса. Такие клапаны являются текстолитовыми шайбами, которые поджимаются пружинами малого размера к латунным седлам клапана.
Принцип действия
Специальный приводной рычаг механического бензонасоса все время осуществляет движение вверх и вниз, но диафрагма сдвигается рычагом вниз только тогда, когда необходимо заполнение камеры топливного насоса. Диафрагма задвигается обратно вверх при помощи возвратной пружины. Так происходит процесс подачи топлива в карбюратор.

Если взглянуть на работу механического бензонасоса более внимательно, то следует учитывать небольшое различие для заднеприводных автомобилей и моделей с передним приводом. Авто с задними ведущими колесами имеет эксцентрик, расположенный на вале привода. Указанный элемент оказывает воздействие на толкатель. Модели с передним приводом имеют аналогичный эксцентрик, но он уже находится на распредвале двигателя.
Толкатель осуществляет нажатие на рычаг, а рычаг уже нажимает на балансир. Такой балансир находится в нижней части корпуса самого бензонасоса. Балансир преодолевает сопротивление пружины и тянет вниз шток с диафрагмами бензонасоса. Таким способом достигается разрежение. Горючее проходит через впускной штуцер, а впускной клапан пропускает топливо в полость над диафрагмами.
Далее эксцентрик соскакивает с толкателя. Происходит освобождение рычага, балансира и штока с диафрагмами. Прижимная пружина заставляет шток с диафрагмами двигаться вверх, тем самым создавая давление в рабочей камере бензонасоса. Под образовавшимся давлением происходит закрытие впускного клапана и открытие выпускного. Через этот клапан горючее попадает в выпускной штуцер, далее продолжает движение по соединительному шлангу и проникает в поплавковую камеру карбюратора. Подробнее о карбюраторе можно узнать в статье об устройствах топливоподачи.
Если осуществлять ручную подкачку топлива на механическом бензонасосе, то рычаг подкачки на корпусе насоса через кулачок сразу оказывает воздействие на балансир и шток с диафрагмами. Толкатель в данном случае не задействуется.
Когда поплавковая камера в карбюраторе полностью заполнена, тогда игольчатый клапан больше не пропустит туда топливо, а насос будет работать в дежурном режиме. Дело заключается в том, что давление от перемещения диафрагм в корпусе насоса все равно не способно преодолеть сопротивления игольчатого клапана.
Устройство электрического топливного насоса

Электробензонасос конструктивно в некоторых частях напоминает по ряду элементов механический. Работает такой насос благодаря специальному сердечнику, который втягивается в электромагнитный клапан до того момента, пока не происходит отключение контактов для подачи электрического тока.
Поворот ключа в замке зажигания перед запуском является сигналом для бортового компьютера автомобиля. В бензонасос на данном этапе уже подается электрический ток. Двигатель еще не запускали, а электродвигатель внутри бензонасоса за пару секунд уже поднимает давление в топливной системе до рабочего. Вот почему рекомендовано выждать 2-3 секунды перед тем, как начать крутить стартер и запускать мотор.
Если ЭБУ не получит сигнал об успешном запуске двигателя, тогда бензонасос отключается в автоматическом режиме. Это сделано в целях обеспечения безопасности. Некоторые автомобили устроены так, что бензонасос включается уже в момент открытия двери водителя.
Электрический топливный насос способен создавать давление топлива на отметке в 0,3-0,4 МПа, а в двигателях с системой непосредственного впрыска этот показатель доходит до 0,7 МПа. В данной статье мы не будем подробно говорить о топливном насосе высокого давления (ТНВД) для дизеля и бензиновых двигателей с прямым впрыском. Читайте о такой системе в соответствующем разделе сайта.
Особенностью бензинового электронасоса можно считать использование модульной системы в его конструкции. Это обусловлено его непосредственным контактом с топливом. Среди ключевых элементов насоса также находится топливозаборник, топливный фильтр и датчик, указывающий на расход топлива.
В электрическом насосе имеется диафрагма, которая движется вверх и вниз. Результатом становится то, что над диафрагмой при ходе вниз создается разрежение. Это позволяет открыться всасывающему клапану электронасоса. Через такой клапан бензин проходит через фильтр и оказывается в камере над диафрагмой. Когда диафрагма движется вверх, тогда образующееся давление закрывает впускной клапан и открывает нагнетающий, что и проталкивает горючее дальше в систему.
Основные элементы простейшего электронасоса

Электрический бензонасос состоит из:
- камеры;
- впускного и выпускного клапана;
- диафрагмы;
- возвратной пружины;
- электромагнитного клапана;
- сердечника;
- электрических контактов;
Обратный клапан отвечает за запирание топливной системы в том случае, когда двигатель остановлен. Редукционный клапан осуществляет поддержку высокого рабочего давления в топливной системе.
Виды топливных насосов
Сегодня существуют электронасосы различных видов, но наиболее распространенными считаются:
- роликовый;
- шестеренный;
- центробежный;
Роликовый
В основе такого насоса лежит ротор и ролики, которые обеспечивают всасывание и подачу топлива. Работа всей конструкция построена на увеличении объема пространства между ротором и роликом в процессе работы. В такой момент увеличения объема образуется разница в давлении, топливо заполняет образовавшееся пространство. Дальнейшая подача горючего прекращается тогда, когда это пространство полностью заполняется. Следующим шагом становится вращение ротора и уменьшение объема пространства. Это обеспечивает нужное давление, что влечет открытие выпускного отверстия, а нагнетаемая доза топлива попадает в систему.
Шестеренный
Всасывание топлива в шестерном насосе построено на движении внутренней шестерни относительно внешней. Внутренняя шестерня и есть ротор, вторая же шестерня является внешней и называется статор. Ротор вращается, а в его боковых зубьях при вращении получаются своеобразные камеры. С их помощью происходит всасывание и топливо нагнетается.
Рассмотренные выше шестернный и роликовый насосы имеют такие особенности конструкции, что размещать их возможно только в топливопроводе. Наиболее востребованным и широко распространенным видом топливных насосов в современных авто являются центробежные насосы. Они характеризуются низким уровнем шума и обеспечивают наибольшую равномерность подачи топлива.
Центробежный
Данные насосы располагаются внутри топливного бака. Основным элементом насоса подобного типа является крыльчатка с большим количеством лопастей. Указанная крыльчатка вращается внутри камеры. В этой камере имеются всасывающий и нагнетательный клапан. Результатом вращения лопастей крыльчатки становятся завихрения топлива, обеспечивается его активное всасывание, рост и поддержание рабочего давления в топливной системе.
Распространенные неисправности
Электрический топливный насос имеет достаточно большой ресурс, который заложен в него инженерами. Но такой ресурс становится реальным только при соблюдении ряда условий, которых в процессе эксплуатации добиться удается далеко не всегда.
Учтите, что топливный насос является далеко не самым дешевым элементом, так что будет лучше создать для работы насоса условия, максимально приближенные к идеальным. Добавим, что любому ответственному автовладельцу сделать это будет очень даже не сложно.
Главными врагами насосов являются:
- Езда с практически пустым топливным баком;
- Загрязненный топливный фильтр или сетка бензонасоса;
В первом случае насос плохо охлаждается по причине отсутствия должного количества топлива в баке, а также возрастает риск захватить из бака осевшую в самый низ грязь и даже воздух. Все это может послужить поводом для сокращения ресурса и/или выхода топливного насоса из строя. Старайтесь сразу же и немедленно заправляться после загорания сигнальной лампочки, а еще лучше держите в баке не менее 5-10 литров неприкосновенного запаса.
Второй причиной неполадок с бензонасосом является использование грязного топлива низкого качества и несвоевременная замена фильтров. Топливному насосу необходимо постоянно поддерживать рабочее давление. Протолкнуть топливо через забитые фильтры устройству намного сложнее, а это говорит о неизбежном возрастании нагрузки на насос и повышенном его износе.
В итоге
Итогом нашей статьи станет небольшой список основных признаков, которые помогут диагностировать проблемы с бензонасосом или неполадками в топливной системе:
- Приходится очень долго крутить мотор стартером при запуске как холодного, так и ранее прогретого двигателя. Это может говорить о том, что насосу сразу не удается создать необходимое рабочее давление в системе;
- Сложности при разгоне, двигатель с большим трудом набирает обороты, запоздалая реакция на нажатие педали газа, провалы и рывки в движении;
- Вы уверены, что в баке есть бензин, машина заводится, но затем непредсказуемо глохнет;
- Повышение шума, который слышен в салоне и исходит от топливного насоса. Насос может сильно гудеть, издавать треск, писк или хлопки;
- Наблюдается увеличение расхода топлива по непонятным причинам;
- Неустойчивая работа мотора в разных режимах работы, плавающие обороты и другие признаки, похожие на троение;
- Полное отсутствие звука работающего бензонасоса в момент включения зажигания;
Теперь Вы познакомились с устройством различных типов топливных насосов, которые повсеместно встречаются на отечественных автомобилях и иномарках различного года выпуска.
Не забывайте своевременно менять топливный фильтр и другие фильтрующие элементы топливной системы. Заправляйтесь качественным топливом на проверенных АЗС и не катайтесь на остатках топлива «до лампочки».
Соблюдение этих простых рекомендаций может служить надежной гарантией того, что бензонасос определенно не доставит Вам в процессе эксплуатации автомобиля никаких проблем.
Читайте также
krutimotor.ru
механический, электрический. Устройство, принцып действия, неполадки.
Бензонасос — элемент топливной системы автомобиля который осуществляет подачу топлива к системе дозирования (карбюратор/форсунка). Необходимость такой детали в топливной системе возникает через техническое расположение двигателя и бензобака относительно друг-друга. В автомобилях устанавливаются один из двух типов бензонасосов: механический, электрический.
Механические применяются в карбюраторных машинах (подача топлива под низким давлением).
Электрические — в автомобилях инжекторного типа (подача топлива происходит под высоким давлением).
Механический бензонасос
Приводной рычаг механического бензонасоса постоянно двигается вверх-вниз, но сдвигает диафрагму вниз только при необходимости заполнить камеру насоса. Возвратная пружина сдвигает диафрагму обратно вверх, чтобы подать топливо в карбюратор.
- Камера
- Впускной, выпускной клапан
- Диафрагма
- Возвратная пружина
- Приводной рычаг
- Кулачек
- Распредвал
Электрический бензонасос
Электробензонасос снабжен схожим механизмом: он работает за счет сердечника, который втягивается в электромагнитный клапан, пока не открываются контакты, отключающие подачу электрического тока.
- Камера
- Впускной, выпускной клапан
- Диафрагма
- Возвратная пружина
- Электромагнитный клапан
- Сердечник
- Контакты
Принцип действия бензонасоса
Приводится в действие диафрагмой которая ходит вверх-вниз, поскольку над диафрагмой создается разряжение (при ходе вниз), открывается всасывающий клапан через который бензин поступает через фильтр в над диафрагменное углубление. При обратном ходе диафрагмы (вверх), когда создается давление, оно закрывает всасывающий клапан, а открывает нагнетающий, что и способствует движение бензина по системе.
Основные неисправности бензонасоса
В основном бензонасос выходит из строя по 2 причинам:
- загрязненный топливный фильтр;
- езда на пустом баке.
И первом, и втором случае, бензонасос работает на пределе, а это способствует быстрому истечению предусмотренного ресурса. Чтобы самостоятельно продиагностировать и выяснить причину неисправности топливного насоса читайте статью о шагах проверки.
Проверка бензонасоса
Проверить работу бензонасоса можно в 5 или 7 этапов. Для этого нужно сначала начать с предохранителя и заканчивая проверкой давления. Имея мультиметр, манометр и АКБ с проводком
Подробнее
Автор: Иван Матиешин
Спрашивайте в комментариях. Ответим обязательно!
etlib.ru
Устройство ТНВД BOSCH (Бош) VE. Топливный насос высокого давления
Топливный насос высокого давления ⭐ (ТНВД) — основной конструктивный элемент системы впрыска дизельного двигателя, выполняющий две основные функции: дозированную подачу топлива в цилиндры двигателя под давлением и определение правильного момента впрыска. После появления аккумуляторных систем впрыска, задачу определения момента подачи топлива выполняет электронная форсунка.
Принципиальная схема системы топливоподачи дизельного двигателя с одноплунжерным ТНВД
Принципиальная схема системы топливоподачи дизеля с одноплунжерным распределительным топливным насосом (ТНВД) с торцевым кулачковым приводом плунжера показана на рисунке:
Рис. Принципиальная схема системы топливоподачи дизельного двигателя с одноплунжерным ТНВД: 1 – топливопровод низкого давления; 2 – тяга; 3 – педаль подачи топлива; 4 – ТНВД; 5 – электромагнитный клапан; 6 – топливопровод высокого давления; 7 – топливопровод сливной магистрали; 8 – форсунка; 9 – свеча накаливания; 10 – топливный фильтр; 11 – топливный бак; 12 – топливоподкачивающий насос (применяется при магистралях большой протяженности; 13 – аккумуляторная батарея; 14 – замок «зажигания»; 15 – блок управления временем включения свечей накаливания
Топливо из бака 11 прокачивается по топливопроводу низкого давления в топливный фильтр тонкой очистки топлива 10, откуда засасывается топливным насосом низкого давления и затем направляется во внутреннюю полость корпуса ТНВД 4, где создается давление порядка 0,2 … 0,7 МПа. Далее топливо поступает в насосную секцию высокого давления и с помощью плунжера — распределителя в соответствии с порядком работы цилиндров подается по топливопроводам высокого давления 6 в форсунки 8, в результате чего осуществляется вспрыскивание топлива в камеру сгорания дизеля. Избыточное топливо из корпуса ТНВД, форсунки и топливного фильтра (в некоторых конструкциях) сливается по топливопроводам 7 обратно в топливный бак. Охлаждение и смазка ТНВД осуществляются циркулирующим в системе топливом. Фильтр тонкой очистки топлива имеет важное значение для нормальной и безаварийной работы ТНВД и форсунки. Поскольку плунжер, втулка, нагнетательный клапан и элементы форсунки являются деталями прецизионными, топливный фильтр должен задерживать мельчайшие абразивные частицы размером 3…5 мкм. Важной функцией фильтра является также задержание и выведение в осадок воды, содержащейся в топливе Попадание влаги во внутреннее пространство насоса может привести к выходу последнего из строя по причине образования коррозии.
Топливный насос подает в цилиндры дизеля строго дозированное количество топлива под высоким давлением в определенный момент времени в зависимости от нагрузки и скоростного режима, поэтому характеристики двигателей существенно зависят от работы ТНВД.
Схема и общий вид распределительного насоса VE
Схема распределительного насоса VE представлена на первом рисунке, а его общий вид на следующем.
Основные функциональные блоки топливного насоса VE представляют собой:
- роторно-лопастной топливный насос низкого давления с регулирующим перепускным клапаном
- блок высокого давления с распределительной головкой и дозирующей муфтой
- автоматический регулятор частоты вращения с системой рычагов и пружин
- электромагнитный запирающий клапан, отключающий подачу топлива
- автоматическое устройство (автомат) изменения угла опережения впрыскивания топлива
Рис. Схема топливного насоса — Bosch VE: 1 – вал привода насоса; 2 – перепускной клапан регулирования внутреннего давления; 3 – рычаг управления подачей топлива; 4 – грузы регулятора; 5 – жиклер слива топлива; 6 – винт регулировки полной нагрузки 7 – передаточный рычаг регулятора; 8 – электромагнитный клапан остановки двигателя; 9 – плунжер 10 – центральная пробка; 11 – нагнетательный клапан; 12 – дозирующая муфта; 13 – кулачковый диск; 14 – автомат опережения впрыска топлива; 15 – ролик; 16 – муфта; 17 – топливоподкачивающий насос низкого давления
Рис. Общий вид распределительного ТНВД VE: а – ТНВД; б – блок высокого давления с распределительной головкой и дозирующей муфтой. Позиции соответствуют позициям на предыдущем рисунке.
Дополнительные устройства распределительного ТНВД VE
Распределительный ТНВД VE может также быть оснащен различными дополнительными устройствами, например, корректорами топливоподачи или ускорителем холодного пуска, которые позволяют индивидуально адаптировать ТНВД к особенностям данного дизеля.
Вал привода 1 топливного насоса расположен внутри корпуса ТНВД, на валу установлен ротор 17 топливного насоса низкого давления и шестерня привода вала регулятора с грузами 4. За валом 1 неподвижно в корпусе насоса установлено кольцо с роликами и штоком привода автомата опережения впрыскивания топлива 14. Привод вала ТНВД осуществляется от коленчатого вала дизеля, шестеренчатой или ременной передачей. В четырехтактных двигателях частота вращения вала ТНВД составляет половину от частоты вращения коленчатого вала, и работа распределительного ТНВД осуществляется таким образом, что поступательное движение плунжера синхронизировано с движением поршней в цилиндрах дизеля, а вращательное обеспечивает распределение топлива по цилиндрам. Поступательное движение обеспечивается кулачковой шайбой, а вращательное – валом топливного насоса.
Автоматический регулятор частоты вращения включает в себя центробежные грузы 4, которые через муфту регулятора и систему рычагов воздействуют на дозирующую муфту 12, изменяя таким образом величину топливоподачи в зависимости от скоростного и нагрузочного режимов дизеля. Корпус ТНВД закрыт сверху крышкой, в которой установлена ось рычага управления, связанного с педалью акселератора.
Автомат опережения впрыскивания топлива является гидравлическим устройством, работа которого определяется давлением топлива во внутренней полости ТНВД, создаваемым топливным насосом низкого давления с регулирующим перепускным клапаном 2.
Видео: Работа ТНВД
ustroistvo-avtomobilya.ru
Топливный насос — что это такое? Описание и принцип действия
У топливной системе бензинового двигателя основным конструктивным элементом является топливный насос, который обеспечивает подачу определенного топлива под давлением к карбюратору или форсункам. К форсункам топливо подается только у двигателях с установленной системой впрыска топлива, а к карбюратору у карбюраторных двигателях. Топливные насосы делятся на механические и электрические в зависимости от принципа работы привода.
Топливный механический насос
Бензонасос используется у карбюраторных двигателях. Соответственно насос имеет механический привод распределительного вала (масляного насоса). Механический топливный насос — это в первую очередь разновидность поршневого насоса. Он включает такие конструктивные элементы:
• Диафрагма;
• Шток который соединен с диафрагмой;
• Клапаны всасывания и нагнетания;
• Фильтр насоса;
• Корпус который закрывается сверху крышкой;
• Насаженную на шток возвратную пружину;
• Механический привод.
Принцип работы механического топливного насоса
Основным элементом работы является диафрагма. Между мембранами из которых состоит диафрагма расположены прокладки. Диафрагма совместно работает с механическим приводом насоса, а также со штоком. Существуют несколько схем работы привода механической системы. На отечественных автомобилях устанавливается конструкция, которая состоит из толкателя и рычага с балансиром. На зарубежные автомобили устанавливают коромысло с двуплечим коромыслом (рычагом).
Эксцентрик распределительного вала приводит в работу привод насоса. Шток преодолевает усилие пружины с диафрагмой вниз при условии если эксцентрик привода насоса будет вращаться. Через всасывающий клапан разряжения протекает к насосу из топливного бака за счет увеличения диафрагмы объема полости. В карбюратор топливо поступает в нагнетательный патрубок когда открывается нагнетательный клапан за счет увеличения давления над диафрагмой. Всасывающий клапан закрывается.
При работе эксцентрика освобождается рычаг привода, под действием пружины диафрагма поднимается вверх. За счет высокого давления, которое создается над диафрагмой топливо поступает к карбюратору через нагнетательный патрубок. Всасывающий клапан закрывается. Весь этот цикл повторяется при каждом повороте эксцентрика.
Отсекается топливо, которое поступает в карбюратора счет запорной иглы тогда заполняется поплавковая камера. Привод ничего не перемещает (работает вхолостую) когда насос работает а диафрагма опускается вниз. Если изменить амплитуду движения диафрагмы регулируется лучшая производительность системы механического привода.
Топливный электрический насос
Только в бензиновых двигателях с установленный впрыском топлива устанавливается топливный электрический насос. В контуре с низким давлением применяется электрический насос в дизельных и бензиновых двигателях для протекания топлива. Топливный насос создает высокое давление примерно 0,4 Мпа. С непосредственным впрыском создается 0,7 Мпа давление. Механический насос не используется в системах прямого впрыска потому что подается низкое давление топлива.
Электрический привод топливного насоса устанавливается в топливо проводе или в топливном баке. На сегодняшний день в новые модели автомобилей устанавливают топливный насос в топливный бак. За счет того что отсутствует всасывающая магистраль обеспечивается лучшее охлаждения насос и снижения потерь. Минусом такой системы является уязвимость потому что максимальная длина нагнетательного топливо провода максимальная.
Схема работы топливного электрического насоса
Топливный электрический насос состоит из электродвигателя (электрического привода) и собственно насоса (насосной части). Все эти детали объедены в один металлический корпус и они всегда имеют контакт с топливом. Для предотвращения короткого замыкания предусмотрено сопротивление электричеству примерно 1 Ом которое создает бензин. Вся эта система объединяет в себя не только топливный насос, но и датчик расхода топлива и сетчатый фильтр топлива, топливо заборник и непосредственно модуль.
Для работы топливного насоса предусмотрено обратный и редукционный клапан. При остановке двигателя запирает топливную система обратный клапан. Поддерживания определенного давления для системы и перепускания топлива обратно на впуск обеспечивает редукционный клапан.
Существует несколько видов топливных насосов:
1. Насос центробежный;
2. Роликовый насос;
3. Шестеренный насос.
При вращении ротора топливо в роликовом насосе нагнетается и всасывается, а также перемещаются в нем ролики. Топливо заполняет пространство где находятся ротор и ролики разряжением при увеличении пространства. Как только заполнилось все пространство разряжением топливо отсекается. Под давлением топливо покидает насос и открывается выпускное отверстие. Также уменьшается пространство и все это происходит когда ротор вращается.
Шестеренный насос работает аналогично. Нагнетается и всасывается топливо при движении ротора (внутренней шестерни) относительно расположению статора (внешней шестерни). С помощью зубов боковых сторон ротора которые вращаются топливо начинает нагнетаться и всасываются в промежутках меняющихся камер.
Роликовый насос и шестеренный устанавливается в одной конструкции – топливо проводе. В настоящее время чаше всего устанавливают лопастные насосы (центробежные), которые обеспечивают протекания топлива без всяких пульсаций и в свою очередь снижается шум. Но к минусам центробежных насосов относятся ограничения, которые устанавливаются для давления и производительности.
Лопастный топливный насос находится в топливном баке. По периметру крыльчатка (рабочее колесо) снабжается многочисленными лопатками. В определенной форме внутри камеры вращается крыльчатка, в которой находятся нагнетательный и всасывающий канал. Повышение давления обеспечивает завихрения топлива. Завихрение происходит при воздействии топлива на лопатки.
Схема работы электрического насоса
Блоку управления двигателем принимает сигналы при активации реле насоса. Двигатель автомобиля запускается после включения зажигания и при этом обеспечивается работа топливного электрического насоса. Одной из особенностей электрического топливного насоса является в узких пределах давления топлива. Напряжение изменяется клапаном предохранения и при изменении давления.
Источник: http://remontauto.by/
remontauto.by
Принцип действия и проверка исправности функционирования топливного насоса
Принцип действия и проверка исправности функционирования топливного насоса
|
Помните, что бензин является в высшей степени огнеопасной жидкостью! При работе с компонентами системы питания соблюдайте все принятые меры пожарной безопасности. Не курите! Не приближайтесь к месту проведения работ с открытым огнем или незащищенной абажуром переноской! Не производите обслуживание системы в помещениях, оборудованных работающими на природном газе и оснащенными контрольным факелом отопительными приборами (такими как водогреи и сушилки для одежды). Не забывайте, что бензин относится к числу канцерогенных веществ, т.е., — веществ, способствующих развитию рака! Старайтесь не допускать попадания топлива на открытые участки тела, пользуйтесь резиновыми защитными перчатками, при случайном непредвиденным контакте с горючим тщательно промывайте руки теплой водой с мылом. Без промедления собирайте пролитое топливо и не складывайте пропитанную ГСМ ветошь вблизи источников открытого огня. Помните, что система питания оборудованных впрыском топлива моделей постоянно находится под давлением. Прежде чем приступать к отсоединению топливных линий, сбросьте остаточное давление в системе. При обслуживании компонентов системы питания надевайте защитные очки. Постоянно держите под рукой огнетушитель класса В! |
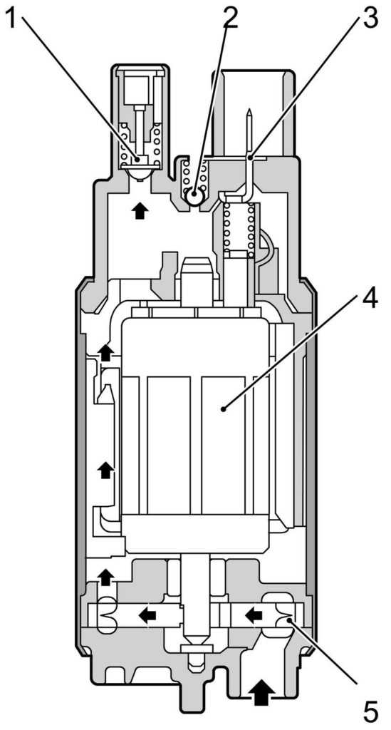
На рассматриваемых установлен электроприводной погружной топливный насос лопастного типа. В состав насосной сборки входят: приводной электромотор, крыльчатка, корпус, крышка, редукционный и запорный клапаны и топливозаборник с сетчатым фильтром. Насос объединен с датчиком измерения расхода топлива в единую сборку, которая помещается внутри топливного бака.
При включении зажигания по сигналу ECM происходит активация реле топливного насоса, крыльчатка которого начинает вращаться.
|
Реле топливного насоса остается в активном положении только в том случае, если ECM констатирует факт запуска двигателя, либо проворачивания стартера. В противном случае ECM через несколько секунд производит размыкание цепи заземления сборки и насос отключается. |
В результате вращения крыльчатки давления топлива постепенно возрастает и оно выталкивается из рабочей камеры, прокачивается в зазор между якорем и магнитом и под напором выходит из насосной сборки.
По достижении давлением топлива определенного значения происходит открывание редукционного клапана и избыток топлива по возвратной линии направляется обратно в бензобак. Редукционный клапан, таким образом, позволяет избежать опасного повышения давления топлива.
При останове двигателя топливный насос также прекращает функционировать, при этом под воздействием пружины срабатывает запорный клапан, перекрывая выходной порт насоса, в результате чего тракт системы питания остается под давлением.
Проверка
|
|
Если установленная на автомобиле стереосистема оборудована охранным кодом, прежде чем отсоединять батарею удостоверьтесь в том, что располагаете правильной комбинацией для ввода аудиосистемы в действие! |
Конструкция топливного насоса
![]() |
|
Линии, подлежащие отсоединению от насосной сборки
|
|
Во избежание выхода электромотора из строя в результате перегрева не проворачивайте насос без нагрузки дольше, чем это действительно необходимо для проверки исправности его функционирования! |
carmanz.com
Признаки неисправности регулятора давления топлива

Регулятор давления топлива является элементом системы питания инжекторного двигателя, который позволяет поддерживать необходимое давление горючего в топливных форсунках на разных режимах работы ДВС. Другими словами, от исправности регулятора давления топлива (РДТ) зависит общая производительность форсунок и стабильность работы мотора.
С учетом того, что регулятор давления фактически является мембранным клапаном, выход данного элемента из строя может сильно влиять на работу двигателя. В этой статье мы рассмотрим принцип работы регулятора, выделим основные признаки его неисправностей, а также поговорим о том, как проверить регулятор давления топлива.
Читайте в этой статье
Для чего нужен регулятор давления топлива

Как уже было сказано выше, указанный регулятор поддерживает нужное давление горючего, необходимое для нормальной работы форсунок с учетом того или иного режима работы силового агрегата. Другими словами, РДТ влияет на количество и интенсивность подачи топлива, которое попадает через форсунки в цилиндры мотора.
Если просто, количество топлива, подаваемого в двигатель в момент впрыска, зависит от того давления, которое создается внутри топливной рампы (рейки), а также от длительности импульса для открытия форсунки и разряжения во впускном коллекторе.
Для более точного дозирования и поддержания постоянного давления используется мембранный клапан-регулятор, который испытывает с одной стороны давление горючего, а с другой на него воздействует усилие пружины. РДТ используется в системах питания, где присутствует так называемая «обратка». Местом установки регулятора является топливная рампа. Также указанный элемент может быть расположен в топливном баке, при этом подобные системы обратной магистрали не имеют.
- Давайте сначала остановимся на распространенной схеме, в которой регулятор находится в топливной рейке. Работает элемент по следующему принципу: топливный насос нагнетает горючее из топливного бака по магистрали. Полученное давление горючего воздействует на регулятор. Само устройство имеет две камеры (пружинная камера и камера для топлива), которые разделены мембраной. На мембрану с одной стороны давит топливо, которое попадает в регулятор через специальные отверстия для впуска, а с другой присутствует давление пружины и давление впускного коллектора. Если давление горючего оказывается сильнее усилия пружины и давления во впуске, тогда регулятор приоткрывается, в результате чего происходит сброс части топлива в «обратку». По обратной магистрали горючее возвращается назад в топливный бак.
- В системах без обратной магистрали регулятор обычно расположен прямо в баке. К преимуществам можно отнести отсутствие дополнительного трубопровода. На форсунки реализована подача нужного количества горючего прямо из бака, то есть лишнее топливо не попадает в подкапотное пространство, а также нет необходимости доставлять его обратно в бак. Это также позволяет говорить о меньшем нагреве топлива и обеспечивает ряд дополнительных плюсов в виде менее интенсивного испарения.
Еще одним вариантом регулировки давления является электронная схема, которая конструктивно не имеет механического регулятора. Давление топлива в таких системах контролируется электробензонасосом, на котором электронная система управления определяет напряжение, регулирует количество подаваемого горючего и т.д. Данное решение (датчик регулятора давления топлива) позволяет уменьшить степень нагрева топлива, обеспечивает максимальную экономичность.
Топливный насос осуществляет подачу к форсункам строго определенного количества горючего применительно к конкретным условиям и режимам работы ДВС. Добавим, что в указанной системе дополнительно присутствует клапан сброса избыточного давления, что позволяет избежать его повышения до критической отметки.
Неисправности регулятора давления топлива
Проблемы в системе питания двигателя могут быть разными. По этой причине во время диагностики необходимо учитывать определенные признаки неисправности регулятора давления топлива. Чаще всего главными симптомами считаются такие, когда двигатель не набирает обороты и не развивает полную мощность, а также глохнет на разных режимах работы. В списке основных признаков специалисты отмечают:
- неустойчивую работу на ХХ, агрегат глохнет на холостых;
- потерю мощности, заметное повышение расхода топлива;
- замедленные реакции на нажатие педали газа;
- рывки и провалы во время разгона, в момент перегазовки;
- автомобиль не разгоняется, не набирает обороты;
Отметим, что неисправность РДТ на бензиновых авто напоминает по симптомам распространенные проблемы с топливным насосом или его сетчатым фильтром. По этой причине во время определения неисправностей системы питания необходима обязательная проверка регулятора давления топлива.
Другими словами, если машина глохнет на холостом ходу, пропала мощность двигателя, появились провалы, автомобиль дергается во время разгона или в момент переключения передачи, отмечен значительный расход горючего, тогда дело может быть не только в сетке бензонасоса, моторчике или его реле, но и в регуляторе давления топлива.
Неполадки регулятора обычно сводятся к тому, что пружина теряет нужное усилие, в результате чего горючее преждевременно сливается в «обратку», а двигателю попросту не хватает топлива в момент нажатия на газ и повышения оборотов, а также на переходных режимах. Получается, давление в топливной рампе при неисправной пружине регулятора давления топлива низкое, в результате чего двигатель работает неустойчиво, снижается мощность мотора, ЭБУ не способен правильно корректировать состав смеси для различных режимов работы и т.п.
Также стоит отметить, что возможно и снижение пропускной способности, а также закупорка РДТ. При такой неисправности двигатель глохнет независимо от режима работы ДВС. Если регулятор сильно забит, тогда давление в системе растет и горючее начинает выливаться через уплотнительные элементы в местах соединений. Дело в том, что производители автомобилей всегда учитывают вероятность снижения производительности насоса и форсунок. Для решения задачи бензонасос всегда качает топливо «с запасом». Если слив в возвратную магистраль по каким-либо причинам затруднен, тогда избытку горючего не удается вернуться в топливный бак, давление в результате растет.
Еще возможны сбои в работе РДТ, когда регулятор давления в топливной рампе начинает заклинивать с определенной периодичностью. В таких случаях в системе топливоподачи возникают перепады давления, машина начинает дергаться. Добавим, что к наиболее частым причинам выхода регулятора из строя, в результате чего проявляются признаки неисправности регулятора давления топлива на дизеле или бензиновом авто, также относят износ самих материалов внутри устройства, то есть клапан со временем просто отрабатывает свой ресурс. На срок службы и состояние регулятора влияет качество топлива и содержание различных примесей в нем, длительный простой транспортного средства без запуска двигателя и т.д.
Проверка и замена регулятора давления топлива

Как видно, неисправность регулятора давления имеет симптомы, очень схожие с неисправностями бензонасоса или забитым топливным фильтром. В самом начале отметим, что если во время проверки обнаружены неполадки данного элемента, тогда предпочтительна замена РДТ на новый. Дело в том, что замена отдельных частей, попытки очистки и другие манипуляции часто не позволяют вернуть устройству должную работоспособность. Если учесть, что цена регулятора давления топлива является вполне доступной, тогда любые попытки ремонта можно считать нецелесообразными.
Для самостоятельной проверки регулятора своими руками можно воспользоваться одним из доступных способов. Наиболее простым и достаточно эффективным считается решение проверить давление в топливной системе при помощи манометра (подойдет шинный манометр). Чтобы замерить давления регулятора на холостом ходу, манометр подключается между топливным шлангом и штуцером, параллельно отсоединяется вакуумный шланг.
Замеры должны показать изменение давления в системе в определенном диапазоне. Давление горючего должно увеличиваться, находясь в рамках от 0.3 — 0.7 Бар. Если такого не произошло, тогда для начала можно попробовать осуществить замену вакуумного шланга, после чего повторить замеры. Чтобы проверить давление топлива на торцевой части рампы понадобится выполнить отворачивание пробки штуцера. В указанной пробке также имеется специальное кольцо для уплотнения. Указанное кольцо следует проверить на целостность, элемент должен оставаться эластичным. Если есть дефекты, тогда кольцо или всю пробку сразу также нужно поменять.
- После осмотра кольца можно вывернуть зонтик из штуцера. Многие водители для отворачивания пользуются металлическим колесным колпачком вентиля. Теперь шланг и подключенный к нему манометр нужно соединить со штуцером, после чего конструкция закрепляется дополнительно при помощи хомутов. Далее мотор можно запустить и произвести замеры. В норме показатели должны составлять около 2.9-3.3 кгс на см2. После можно отсоединить шланг от РДТ, наблюдая за показаниями манометра. Показатель давления должен увеличиться от 20 до 70 кПа.
- В том случае, если регулятор давления топлива по-прежнему выдает низкий или нулевой показатель, тогда можно задуматься о замене устройства. Поменять РДТ не является сложной задачей, то есть замену можно выполнить самому в условиях гаража. В начале процедуры нужно «стравить» давление в системе питания двигателя. Для решения задачи необходимо открутить гайку, при помощи которой крепится топливная трубка. Теперь можно открутить пару болтов, которыми регулятор обычно прикреплен к топливной рейке на большинстве инжекторных авто.
- Следующим шагом становится аккуратное извлечение штуцера регулятора из отверстия в топливной рейке и его окончательный демонтаж (топливную трубку нужно заранее полностью отсоединить). Завершающим этапом становится установка нового или заведомо исправного элемента в рампу, после чего осуществляется проверка работоспособности описанным выше способом при помощи манометра. Напоследок добавим, что также рекомендуется дополнительно смазывать бензином уплотнительные кольца перед установкой нового РДТ или в случае замены указанных колец.
Читайте также
-

Двигатель не тянет: возможные причины
Что делать, если машина стала хуже разгоняться, не набирает скорость, есть провалы при разгоне. Почему мотор не тянет, как найти причину снижения мощности.
krutimotor.ru


